Главная // Актуальные документы // ГОСТ (Государственный стандарт)СПРАВКА
Источник публикации
М.: ФГБУ "РСТ", 2021
Примечание к документу
Текст данного документа приведен с учетом
поправки, опубликованной в "ИУС", N 4, 2022.
Документ
введен в действие с 01.01.2022.
Название документа
"ГОСТ IEC 60754-3-2021. Межгосударственный стандарт. Испытания материалов конструкции кабелей при горении. Часть 3. Определение низкого уровня содержания галогенов с применением ионной хроматографии"
(введен в действие Приказом Росстандарта от 20.08.2021 N 735-ст)
"ГОСТ IEC 60754-3-2021. Межгосударственный стандарт. Испытания материалов конструкции кабелей при горении. Часть 3. Определение низкого уровня содержания галогенов с применением ионной хроматографии"
(введен в действие Приказом Росстандарта от 20.08.2021 N 735-ст)
агентства по техническому
регулированию и метрологии
от 20 августа 2021 г. N 735-ст
МЕЖГОСУДАРСТВЕННЫЙ СТАНДАРТ
ИСПЫТАНИЯ МАТЕРИАЛОВ КОНСТРУКЦИИ КАБЕЛЕЙ ПРИ ГОРЕНИИ
ЧАСТЬ 3
ОПРЕДЕЛЕНИЕ НИЗКОГО УРОВНЯ СОДЕРЖАНИЯ ГАЛОГЕНОВ
С ПРИМЕНЕНИЕМ ИОННОЙ ХРОМАТОГРАФИИ
Test on gases evolved during combustion of materials
from cables. Part 3. Measurement of low level of halogen
content by ion chromatography
(IEC 60754-3:2018, Test on gases evolved during combustion
of materials from cables - Part 3: Measurement of low level
of halogen content by ion chromatography, IDT)
ГОСТ IEC 60754-3-2021
Дата введения
1 января 2022 года
Цели, основные принципы и общие правила проведения работ по межгосударственной стандартизации установлены
ГОСТ 1.0 "Межгосударственная система стандартизации. Основные положения" и
ГОСТ 1.2 "Межгосударственная система стандартизации. Стандарты межгосударственные, правила и рекомендации по межгосударственной стандартизации. Правила разработки, принятия, обновления и отмены"
1 ПОДГОТОВЛЕН Открытым акционерным обществом "Всероссийский научно-исследовательский, проектно-конструкторский и технологический институт кабельной промышленности" (ОАО "ВНИИКП") на основе собственного перевода на русский язык англоязычной версии стандарта, указанного в
пункте 5
2 ВНЕСЕН Межгосударственным техническим комитетом по стандартизации МТК 46 "Кабельные изделия"
3 ПРИНЯТ Межгосударственным советом по стандартизации, метрологии и сертификации (протокол от 30 апреля 2021 г. N 139-П)
За принятие проголосовали:
Краткое наименование страны по МК (ИСО 3166) 004-97 | Код страны по МК (ИСО 3166) 004-97 | Сокращенное наименование национального органа по стандартизации |
Армения | AM | ЗАО "Национальный орган по стандартизации и метрологии" Республики Армения |
Беларусь | BY | Госстандарт Республики Беларусь |
Казахстан | KZ | Госстандарт Республики Казахстан |
Киргизия | KG | Кыргызстандарт |
Россия | RU | Росстандарт |
Таджикистан | TJ | Таджикстандарт |
Узбекистан | UZ | Узстандарт |
4
Приказом Федерального агентства по техническому регулированию и метрологии от 20 августа 2021 г. N 735-ст межгосударственный стандарт ГОСТ IEC 60754-3-2021 введен в действие в качестве национального стандарта Российской Федерации с 1 января 2022 г.
5 Настоящий стандарт идентичен международному стандарту IEC 60754-3:2018 "Испытания по газам, выделяемым при горении материалов конструкции кабелей. Часть 3. Определение низкого уровня содержания галогенов с применением ионной хроматографии" (IEC 60754-3:2018 "Test on gases evolved during combustion of materials from cables. Part 3. Measurement of low level of halogen content by ion chromatography", IDT).
Наименование настоящего стандарта изменено по отношению к международному стандарту для приведения в соответствие с ГОСТ 1.5
(подраздел 3.6).
Международный стандарт IEC 60754-3:2018 разработан Техническим комитетом ТС 20 "Электрические кабели" Международной электротехнической комиссии (IEC).
При применении настоящего стандарта рекомендуется использовать вместо ссылочных международных стандартов соответствующие им межгосударственные стандарты, сведения о которых приведены в дополнительном
приложении ДА
6 ВВЕДЕН ВПЕРВЫЕ
7 Некоторые элементы настоящего стандарта могут быть объектом патентного права. IEC не несет ответственности за установление подлинности каких-либо или всех таких патентных прав
Информация о введении в действие (прекращении действия) настоящего стандарта и изменений к нему на территории указанных выше государств публикуется в указателях национальных стандартов, издаваемых в этих государствах, а также в сети Интернет на сайтах соответствующих национальных органов по стандартизации.
В случае пересмотра, изменения или отмены настоящего стандарта соответствующая информация будет опубликована на официальном интернет-сайте Межгосударственного совета по стандартизации, метрологии и сертификации в каталоге "Межгосударственные стандарты"
Серия стандартов IEC 60754 под общим наименованием "Испытания материалов конструкции кабелей при горении" состоит из частей:
Часть 1 "Определение количества выделяемых газов галогенных кислот";
Часть 2 "Определение степени кислотности выделяемых газов измерением pH и удельной проводимости";
Часть 3 "Определение низкого уровня содержания галогенов с применением ионной хроматографии".
IEC 60754-1 и IEC 60754-2 были разработаны из-за обеспокоенности заказчиков кабелей количеством кислотных газов, выделяемых при горении изоляции, оболочки и других материалов некоторых кабелей, так как образующийся коррозийный поток может привести к значительным повреждениям электрических и электронных компонентов, которые не подвержены горению.
Примечание - Руководство по коррозионной активности потока пламени приведено в IEC 60695-5-1.
В IEC 60754-1 приведен метод для определения количества кислотных газов, выделяемых горящими компонентами кабеля, с целью определения предельного количества кислотных газов для установления их в технических условиях на кабели конкретных марок.
В IEC 60754-2 приведен метод для определения кислотности измерением pH и удельной проводимости водного раствора газов, возникающих при горении материалов, с целью определения их предельных значений для установления в технических условиях на кабели конкретных марок.
Метод, приведенный в IEC 60754-1 не дает возможности определить содержание фтористоводородной кислоты и, из соображений точности, его не рекомендуется применять для определения значений галогеновой кислоты при ее выделении в пропорции менее 5 мг/г от массы испытуемого образца, указываемых в отчете.
В настоящем стандарте приведен метод определения низкого уровня галогенов, содержащихся в газах, выделяемых при горении кабелей. Применение этого метода даст возможность проводить измерения с высокой точностью в диапазоне низких концентраций.
Используя ионохроматографическую систему можно проводить измерения с высокой точностью. Однако общая точность метода испытания ограничена другими факторами, приведенными в
приложении A.
Настоящий стандарт взаимосвязан с IEC 60754-2; в этих стандартах использована одинаковая процедура проведения испытания для получения абсорбирующего раствора.
Настоящий стандарт устанавливает метод определения уровня галогенов, выделяемых при горении материалов конструкции электрических и оптических кабелей, и состав применяемого оборудования.
Метод, приведенный в настоящем стандарте, используют при измерении содержания хлора (Cl), брома (Br), фтора (F) и йода (I) с использованием аналитического метода ионной хроматографии для анализа водного раствора газов, выделяемых при горении.
Процедура нагрева (горения), приведенная в настоящем стандарте, аналогична IEC 60754-2.
Данный метод используют для материалов с индивидуальным содержанием галогенов, не превышающим 10 мг/г.
Метод, приведенный в настоящем стандарте, используют при испытании отдельных компонентов, применяемых в конструкции кабеля. Использование настоящего метода позволяет осуществить проверку соответствующих требований для отдельных элементов или объединенных элементов конструкции кабеля, указанных в технических условиях на кабели конкретных марок.
Примечания
1 В технических условиях на кабели конкретных марок должны быть указаны элементы кабеля, которые следует подвергать испытанию.
2 Настоящий метод испытания допускается применять для испытания материалов, используемых при изготовлении кабеля.
Для достижения необходимой точности данный метод не рекомендуется использовать для определения галогенов, содержание которых составляет менее 0,1 мг/г массы испытуемого образца.
В настоящем стандарте использованы нормативные ссылки на следующие стандарты. Для датированных ссылок применяют только указанное издание ссылочного стандарта, для недатированных ссылок - последнее издание ссылочного стандарта (включая все изменения):
ISO 1042, Laboratory glassware - One mark volumetric flasks (Посуда лабораторная стеклянная. Мерные колбы с одной меткой)
ISO 3696
<*>, Water for analytical laboratory use; Specification and test methods (Вода для лабораторного анализа. Технические требования и методы испытаний)
--------------------------------
<*> В Российской Федерации действует
ГОСТ Р 52501-2005 (ИСО 3696:1987) "Вода для лабораторного анализа. Технические условия".
ISO 10304-1, Water quality - Determination of dissolved anions by liquid chromatography of ions - Part 1: Determination of bromide, chloride, fluoride, nitrate, phosphate and sulfate (Качество воды. Определение содержания растворенных анионов методом жидкостной ионообменной хроматографии. Часть 1. Определение содержания бромидов, хлоридов, фторидов, нитратов, нитритов, фосфатов и сульфатов)
Международная организация по стандартизации (ISO) и Международная электротехническая комиссия (IEC) ведут терминологические базы данных, используемые в стандартизации, которые находятся по следующим электронным адресам:
- Электропедия IEC: http://www.electropedia.org/;
- онлайновая браузерная платформа ISO: http://www.iso.org/obp.
В настоящем стандарте применены следующие термины с соответствующими определениями:
3.1 галоген (halogen): Элемент из 17-й группы периодической таблицы химических элементов, а именно, фтор, хлор, бром и йод.
3.2 содержание отдельного галогена (individual halogen content): Количество галогена в испытуемом образце, которое в газообразном выделении при горении испытуемого образца может быть преобразовано в водорастворимый галид.
Примечания
1 Галид-ионами являются фториды, хлориды, бромиды и иодиды.
2 Галоген в испытуемом образце может быть в форме органических или неорганических компаундов.
3 Содержание отдельного галогена выражают в миллиграммах галогена на грамм испытуемого образца.
4 Количество галид-ионов в любом твердом остатке, выделяемом в результате горения, который остается в лодочке для горения, не определяется при использовании данного метода испытаний.
4 Принцип метода испытания
Испытуемый материал нагревают в потоке сухого воздуха. Выделяемые газы собирают, пропуская их через промывочные сосуды с дистиллированной или деминерализованной водой.
Содержание каждого галогена в полученном растворе определяют с использованием ионной хроматографии (далее - IC).
Анализ с использованием метода ионной хроматографии допускается проводить автономно, и он не обязательно должен быть комплексным, т.е. проводиться в составе системы.
5 Испытательное устройство
Схемы испытательного устройства приведены на
рисунках 1 -
5.
1 - искусственный или сжатый воздух, отфильтрованный
и осушенный; 2 - стеклянная трубка; 3 - термопара;
4 - трубка из кварцевого стекла; 5 - испытуемый образец;
6 - стержневые магниты; 7 - платиновая проволока;
8 - лодочка для сжигания; 9 - стандартное притертое
соединение, размер которого соответствует диаметру
трубки из кварцевого стекла; 10 - печь
Рисунок 1 - Устройство для ввода лодочки для сжигания
и испытуемого образца в трубку
1 - магнитная мешалка; h - 100 - 120 мм
Рисунок 2 - Пример промывочного сосуда
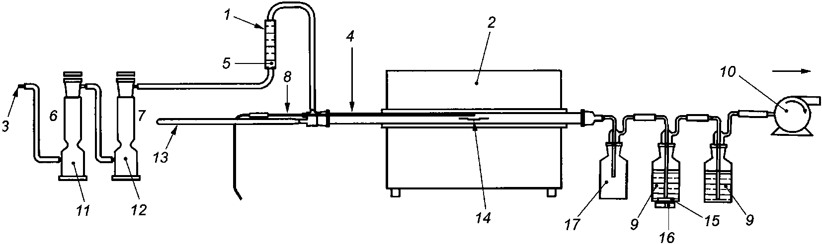
1 - редуктор; 2 - ротаметр; 3 - трубка из кварцевого
стекла; 4 - печь; 5 - игольчатый вентиль; 6 - термопара;
7 - промывочные сосуды; 8 - искусственный воздух;
9 - устройство для ввода лодочки для сжигания с испытуемым
образцом; 10 - лодочка для сжигания с испытуемым образцом;
11 - магнитная мешалка; 12 - стержень магнитной мешалки;
13 - пустой баллон для предотвращения обратного всасывания
воды в трубку из кварцевого стекла (по выбору)
Рисунок 3 - Испытательное устройство по
методу 1
с использованием искусственного или сжатого воздуха,
подаваемого из баллона
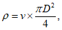
1 - редуктор; 2 - ротаметр; 3 - трубка из кварцевого стекла;
4 - печь; 5 - сжатый воздух; 6 - игольчатый вентиль;
7 - активированный уголь; 8 - силикагель; 9 - термопара;
10 - промывочные сосуды; 11 - воздушный фильтр;
12 - осушитель воздуха; 13 - устройство для ввода лодочки
для сжигания с испытуемым образцом; 14 - лодочка
для сжигания с испытуемым образцом; 15 - стержень
магнитной мешалки; 16 - магнитная мешалка; 17 - пустой
баллон для предотвращения обратного всасывания воды
в трубку из кварцевого стекла (по выбору)
Рисунок 4 - Испытательное устройство по
методу 2
с использованием сжатого воздуха из сосуда, подаваемого
из лабораторной установки
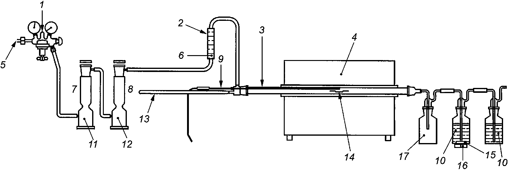
1 - ротаметр; 2 - печь; 3 - воздух окружающей среды;
4 - трубка из кварцевого стекла; 5 - игольчатый вентиль;
6 - активированный уголь; 7 - силикагель; 8 - термопара;
9 - промывочные сосуды; 10 - всасывающий насос;
11 - воздушный фильтр; 12 - осушитель воздуха;
13 - устройство для ввода лодочки для сжигания с испытуемым
образцом; 14 - лодочка для сжигания с испытуемым образцом;
15 - стержень магнитной мешалки; 16 - магнитная мешалка;
17 - пустой баллон для предотвращения обратного всасывания
воды в трубку из кварцевого стекла (по выбору)
Рисунок 5 - Испытательное устройство по
методу 3
с использованием атмосферного воздуха, подаваемого
всасывающим насосом
Все элементы испытательного устройства должны быть герметичными. Соединения между трубкой из кварцевого стекла и первым сосудом и между последующими сосудами должны быть как можно короче. Для этих соединений следует использовать трубки из кварцевого стекла или полипропиленовой резины, за исключением случая, когда требуется измерять и указывать в отчете содержание фтора; в этом случае допускается использовать стекло или кремнийорганическую резину.
На выходе из трубки, из кварцевого стекла, по возможности ближе к ее концу, допускается поместить пробку из кварцевой пряжи для сбора конденсата.
Третий пустой сосуд, одинакового размера с промывочным сосудом, размещаемый перед промывочным сосудом, допускается использовать для повышения безопасности, т.е. для предотвращения обратного всасывания воды в трубку из кварцевого стекла.
5.2 Трубчатая печь
Длина нагревательной зоны печи должна быть 480 - 620 мм, а ее внутренний диаметр - 38 - 62 мм. Печь должна иметь регулируемую электрическую нагревательную систему.
5.3 Трубка из кварцевого стекла
Для проведения испытания внутри трубчатой печи устанавливают трубку из кварцевого стекла. Трубку располагают приблизительно концентрично относительно печи. Трубка должна быть устойчивой к воздействию коррозионных газов.
Внутренний диаметр трубки должен быть 30 - 46 мм. Со стороны входа в печь конец трубки должен выступать на длину 60 - 200 мм, а со стороны выхода - на 60 - 100 мм. Допускается первоначальный зазор в соединениях для теплового расширения. При проведении измерений величины выступа конца трубки трубку следует рассматривать как часть постоянного диаметра.
Наружный диаметр трубки выбирают с учетом внутреннего диаметра трубчатой печи.
Перед проведением каждого испытания трубку очищают по всей длине прокаливанием при температуре около 950 °C.
Лодочка для сжигания должна быть изготовлена из фарфора, плавленого кварца или талькового камня; если данный метод применяют для определения и указания в отчете содержания фтора, то применяют лодочку для сжигания из кварцевого стекла. Размеры лодочки для сжигания должны быть следующие:
- 45 - 100 мм - для наружной длины;
- 12 - 30 мм - для наружной ширины;
- 5 - 10 мм - для внутренней глубины.
Размеры лодочки выбирают с учетом внутреннего диаметра кварцевой трубки.
Рекомендуемый способ ввода лодочки для сжигания в трубку из кварцевого стекла приведен на
рисунке 1.
Перед проведением каждого испытания лодочку для сжигания промывают и прокаливают в муфельной печи при температуре около 950 °C в течение 4 ч, после чего лодочку для сжигания помещают в сушильный шкаф и охлаждают до температуры окружающей среды. Затем лодочку для сжигания взвешивают с точностью до 0,1 мг до тех пор, пока не будут получены два одинаковых следующих друг за другом значения. Это значение массы m1 регистрируют.
5.5 Устройства для пропускания газов
После выхода из трубки из кварцевого стекла газы проходят через два промывочных сосуда (см.
рисунок 2), каждый из которых содержит приблизительно 450 мл дистиллированной или деминерализованной воды чистотой не ниже третьей степени в соответствии с ISO 3696.
Промывочные сосуды изготавливают из кварцевого стекла; если требуется измерить и указать в отчете содержание фтора, то промывочные сосуды допускается изготавливать из стекла.
Значение pH воды должно быть 5,5 - 7,5, а удельная проводимость - менее 0,5 мкСм/мм.
Для обеспечения турбулентного движения и лучшей абсорбции газов сгорания в первый промывочный сосуд помещают магнитную мешалку. Для лучшей абсорбции внутренний диаметр концов трубок в промывочных сосудах должен быть не более 5 мм.
Уровень жидкости над концом трубки в каждом сосуде должен быть (110 +/- 10) мм.
Для выполнения этого требования используют стандартный лабораторный стеклянный сосуд внутренним диаметром около 75 мм.
5.6 Система подачи воздуха
Для обеспечения горения используют воздух.
Расход воздуха,

, составляет

с допустимой погрешностью +/- 10%, где
D - внутренний диаметр кварцевой трубки.
Примеры
1 Если D = 30 мм,
, расход воздуха может составлять (12,7 - 15,5) л/ч.
2 Если D = 46 мм,
, расход воздуха может составлять (29,9 - 36,5) л/ч.
Примечание - Расчет расхода воздуха,

, для установленной скорости потока воздуха,
v, проводят по формуле

(1)
где D - внутренний диаметр трубки, мм;

- расход воздуха, мл/ч;
v - скорость потока воздуха, мл/мм2/ч.
Подачу воздуха регулируют с помощью игольчатого клапана, а расход воздуха контролируют соответствующим ротаметром.
Подачу воздуха осуществляют одним из трех методов:
Используют искусственный воздух или сжатый воздух из баллона. Воздух подают на впускную сторону трубки из кварцевого стекла (см.
рисунок 3).
Используют сжатый воздух, полученный в лаборатории. Воздух подают на впускную сторону трубки из кварцевого стекла. Перед подачей воздух фильтруют и просушивают (см.
рисунок 4).
Используют воздух, находящийся в лаборатории. Воздух фильтруют и просушивают. В этом случае смесь воздуха и газов сгорания прокачивают насосом (см.
рисунок 5).
5.7 Аналитические весы
Используют весы с точностью измерения не менее +/- 0,1 мг.
5.8 Лабораторное стеклянное оборудование
Используют одномерную колбу емкостью 1000 мл в соответствии с ISO 1042.
Колба должна быть изготовлена из кварцевого стекла или полипропилена; если требуется определить и указать в отчете содержание фтора, то применяют колбу, изготовленную из стекла.
5.9 Ионохроматографическая система
В общем случае ионохроматографическая система состоит из следующих элементов:
- резервуар для элюента;
- насос для элюента;
- устройство ввода пробы, включающее пробоотборный контур соответствующей емкости, например 0,02 мл, или устройство автоматической подачи проб;
- предколонка или защитная колонка;
- разделительная колонка;
- система подавления;
- детектор электропроводности.
6.1 Общие положения
Подготавливают два образца, каждый весом (1000 +/- 5) мг. Каждый образец отбирают от образца материала, предназначенного для испытаний. Каждый образец должен быть разрезан на некоторое число небольших кусочков.
Примечание - Кусочки, максимальный размер которых составляет 3 мм, считают подходящими для проведения испытания.
6.2 Кондиционирование образца
Подготовленный испытуемый образец кондиционируют в течение не менее 16 ч при температуре (23 +/- 2) °C и относительной влажности воздуха (50 +/- 5)%.
6.3 Масса образца
Лодочку для сжигания массой
m1 взвешивают с точностью до 0,1 мг (см.
5.4). Значение массы
m1 регистрируют.
После кондиционирования испытуемый образец помещают в лодочку для сжигания и равномерно располагают его на дне лодочки, затем взвешивают лодочку для сжигания вместе с помещенным в нее образцом массой m2, с точностью до 0,1 мг. Значение массы m2 регистрируют.
Массу испытуемого образца, m, рассчитывают по формуле
m = m2 - m1. (2)
7.1 Общие положения
Испытание проводят, используя испытательное устройство по
разделу 5.
После удовлетворительного проведения контрольного испытания (см.
7.2), данное испытание и определение содержания каждого отдельного галогена проводят для каждого испытуемого образца.
7.2 Контрольное испытание
Контрольное испытание без испытуемого образца в лодочке для сжигания проводят в тех же условиях, что и испытание, при проведении которого испытуемый образец находится в лодочке для сжигания.
Если результат данного контрольного испытания слишком велик в сравнении с предельными значениями измерений, необходимо удостовериться, что все элементы испытательного устройства были чистыми, особенно лодочка и трубка из кварцевого стекла. Контрольное испытание повторяют до получения удовлетворительных результатов.
7.3 Испытательное устройство и его расположение
Испытание, приведенное в настоящем разделе, проводят с использованием испытательного устройства по
разделу 5.
7.4 Процедура нагрева
Расход воздуха устанавливают с использованием игольчатого клапана на уровне, указанном в
5.6, и поддерживают постоянным в течение всего испытания.
Температуру измеряют с использованием термопары, имеющей соответствующую антикоррозийную защиту и расположенной внутри трубки из кварцевого стекла. Система нагрева должна быть отрегулирована таким образом, чтобы температура в указанном месте расположения лодочки для сжигания была не менее 935 °C и не более 965 °C. Температура в месте, удаленном от лодочки на 300 мм в направлении потока воздуха, должна быть не менее 900 °C.
Лодочку с испытуемым образцом быстро вводят в зону нагрева трубки и располагают в указанном положении, определяемом с использованием термопары, и включают секундомер. Лодочку для сжигания устанавливают таким образом, чтобы расстояние между лодочкой и входным концом рабочей зоны нагрева было не менее 300 мм. Рабочая зона нагрева - это зона, в которой температура, определяемая с помощью термопары, составляет не менее 900 °C.
Горение в печи при постоянной подаче воздуха должно продолжаться (30 +/- 1) мин.
Примечание - Оператор должен предпринимать меры предосторожности, например, использовать защиту для глаз и соответствующую защитную одежду, так как определенные материалы легко воспламеняются и могут вызвать обратный поток горячих газов. Следует также предпринять меры, чтобы не допустить избыточного давления в системе и обеспечить вытяжную вентиляцию для выходящих газов. Руководство о том, как избежать возникновения обратного потока горячих газов, приведено в
5.1.
7.5 Процедура промывки
После проведения процедуры нагрева все используемые промывочные сосуды разъединяют, а их содержимое сливают в колбу емкостью 1000 мл. Промывочные сосуды, соединительные трубки и, после охлаждения, выходную часть трубки из кварцевого стекла, включая кварцевую пряжу (если ее применяют), промывают водой, свойства которой приведены в
5.5, и после промывки ее сливают в колбу, содержимое которой доводят до 1000 мл.
7.6 Определение содержания галогенов
Полученный поглощающий раствор анализируют с использованием ионной хроматографии.
Ионохроматографический анализ проводят в соответствии с ISO 10304-1 следующим образом:
a) устанавливают IC-оборудование в соответствии с инструкциями изготовителя оборудования;
b) прогоняют элюент и ожидают стабилизации исходного уровня;
c) проводят калибровку;
d) проводят измерения проб.
Для целей данного испытания подготавливают пять калибровочных растворов с концентрациями анионов в диапазоне (0,1 - 1) мг/г.
Концентрация анионов в абсорбирующем растворе может превышать 1 мг/г. Следовательно, для проведения анализа раствор следует разбавить и ввести соответствующие поправки. Содержание отдельного галогена, выраженное в миллиграммах на грамм испытуемого образца, определяют для каждого галогена.
Если нет возможности прямого применения ионохроматографического анализа, абсорбирующий раствор следует хранить при температуре не ниже 6 °C в полипропиленовых контейнерах или в соответствии с рекомендациями IC-специалиста.
8 Оценка результатов испытания
Рассчитывают содержание отдельного галогена, мг/г, используя уравнение
Xi = (Ci·V)/m, (3)
где Xi - содержание отдельного галогена [i - хлор (Cl), бром (Br), йод (I) или фтор (F)];
Ci - концентрация элемента i в абсорбирующем растворе;
V - окончательный объем абсорбирующего раствора;
m - масса испытуемого образца.
Пример - Если концентрация хлорид-иона в абсорбирующем растворе, CCl составляет 1 мг/л, окончательный объем абсорбирующего раствора равен 1000 мл и масса испытуемого образца равна 1000 мг, то XCl равно (1 мг/л x 1000 мл/1000 мг) = (1 мг/л x 1 л/1 г) = 1 мг/г.
За содержание отдельного галогена принимают среднее значение от измерений на двух испытуемых образцах.
Если разница двух результатов превышает 0,1 мг/г или если отношение среднеквадратичного отклонения к среднему значению превышает 0,25, то результаты испытания отбраковывают и испытание повторяют.
Технические требования не приведены в настоящем стандарте.
При отсутствии какого-либо из технических требований в технических условиях на кабели конкретных марок рекомендуется выполнять требования, приведенные в
приложении A.
В отчете об испытании должны быть приведены:
a) полное описание испытуемого материала и кабеля, от которого он был отобран;
b) номер настоящего стандарта;
c) содержание отдельного галогена (фтора, хлора, брома и йода);
d) описание оборудования для проведения испытания методом ионной хроматографии.
Рисунок 6 - Схема ионного хроматографа
(справочное)
РЕКОМЕНДАЦИИ ПО ИСПОЛЬЗОВАНИЮ МЕТОДА ИСПЫТАНИЯ
И РЕКОМЕНДУЕМЫЕ ТЕХНИЧЕСКИЕ ТРЕБОВАНИЯ
A.1 Рекомендации по использованию
A.1.1 Общие положения
Метод испытания, приведенный в настоящем стандарте, используют для определения низких уровней галогенов в газах, выделяемых при горении материалов. Для целей настоящего стандарта материалы отбирают от электрических или оптических кабелей.
Для определения уровня галогенов в материале наиболее распространенным методом является сжигание образца материала, вследствие чего выделяются составляющие его элементы, потом эти элементы поглощаются абсорбционным раствором. Содержание элементов в абсорбционном растворе определяют методом ионной хроматографии.
Примечание - В изданном ТС 111 стандарте IEC 62321-3-2 приведен метод испытания, основанный на сжигании образца и последующем исследовании выделенных элементов с использованием метода ионной хроматографии с целью определения содержания галогенов в образце. Данное испытание проводят с целью оценки влияния галогенов на окружающую среду.
Данный метод применяют для анализа материалов или компаундов безгалогенных кабелей, при этом термин "безгалогенный" означает, что в газообразных выделениях, возникающих при сжигании материала или компаунда, содержание галогенов ниже определенного уровня (см.
раздел A.2).
Примечание - В соответствии с данным определением "безгалогенный" не подразумевает полное отсутствие галогенов в материале или компаунде.
Испытание проводят для измерения уровня галогенов в газообразных выделениях, возникающих при сжигании материалов как с низким так и с высоким уровнем содержания галогенов, но при высоком содержании галогенов данный метод не обеспечивает высокую точность измерения.
Метод, приведенный в IEC 60754-1, используют при измерении содержания хлора или брома в газах, выделяемых при сжигании материалов с содержанием газов галогеновой кислоты свыше 5 мг/г.
Метод ионной хроматографии обеспечивает высокую точность измерения. Однако в настоящем случае она ограничена измерениями уровня галид-ионов в растворе газов, выделяемых при сжигании испытуемого образца.
При применении данного метода в испытуемом материале измеряют содержание только части галогенов, обусловленное следующими условиями:
- в зависимости от состава испытуемого материала часть галогенов может оставаться в золе/остатках в лодочке для сжигания. Например, некоторые минеральные наполнители формируют твердые остатки галидов;
- опытным путем было установлено, что для некоторых компаундов с минеральными наполнителями использование данного метода позволяет обнаружить только (10 - 20)% галогенов;
- некоторые галогены в газах, выделяемых при горении испытуемых материалов, могут быть ковалентно связаны и, следовательно, не будут обнаружены при испытании;
- некоторые материалы, содержащие галиды, могут откладываться на частях оборудования, которые не омываются абсорбирующим раствором;
- при взаимодействии со многими материалами фтор может формировать нерастворимые компаунды (поэтому кварц и полипропилен используют при проведении испытания по определению содержания фтора).
A.1.2 Рекомендации по использованию IEC 60754-1, IEC 60754-2 и IEC 60754-3
В
таблице A.1 приведены области применения и рекомендации по применению методов испытаний, приведенных в стандартах серии IEC 60754.
Таблица A.1
Область применения и рекомендации по применению
IEC 60754-1, IEC 60754-2 и IEC 60754-3
Испытание | Область применения | Рекомендация по применению |
IEC 60754-1 | Измерение содержания галогеновых кислот в газах, выделяемых при горении материалов кабелей | Измерение содержания галогеновых кислот более 5 мг/г не обеспечивает достаточной точности при определении галогенов с низким уровнем содержания в испытуемом материале. Используют только для определения содержания хлора и брома. Для определения уровней галогенов данное испытание проводят совместно с другими испытаниями, например, с испытанием по IEC 60684-2 для определения уровня фтора |
IEC 60754-2 | Определение кислотности (измерением pH) и удельной проводимости водного раствора газов, выделяемых при горении материалов кабелей | Для косвенной оценки потенциальной коррозионной активности газов, выделяемых при горении |
IEC 60754-3 | Определение низких уровней галид-ионов в водном растворе газов, выделяемых при горении материалов кабелей | Для определения, путем проведения одного испытания, содержания галид-ионов в водном растворе в газах, выделяемых при горении материалов кабелей. Для определения характеристик "безгалогенных" материалов см. раздел A.2 |
Режим нагрева, используемый при проведении испытания, приведенного в настоящем стандарте, аналогичен IEC 60754-2, следовательно данное испытание целесообразно использовать для выбора материалов на этапе проектирования кабелей, так как содержание отдельных галогенов, кислотность и удельную проводимость определяют при проведении одной процедуры сжигания испытуемого материала.
A.2 Рекомендуемые технические требования для определения характеристик "безгалогенных" материалов
Содержание отдельных галогенов не должно превышать значений, указанных в
таблице A.2.
Таблица A.2
Рекомендуемые технические требования для определения
характеристик "безгалогенных" материалов
Галоген | Рекомендуемое техническое требование |
Хлор | <= 1,0 мг/г |
Фтор | <= 1,0 мг/г |
Бром | <= 1,0 мг/г |
Йод | <= 1,0 мг/г |
(справочное)
СВЕДЕНИЯ О СООТВЕТСТВИИ ССЫЛОЧНЫХ МЕЖДУНАРОДНЫХ СТАНДАРТОВ
МЕЖГОСУДАРСТВЕННЫМ СТАНДАРТАМ
Таблица ДА.1
Обозначение ссылочного международного стандарта | Степень соответствия | Обозначение и наименование соответствующего межгосударственного стандарта |
ISO 1042 | - | |
ISO 3696 | IDT | ГОСТ ISO 3696-2013 "Вода для лабораторного анализа. Технические требования и методы контроля" <1> |
ISO 10304-1 | IDT | ГОСТ ISO 10304-1-2016 "Качество воды. Определение содержания растворенных анионов методом жидкостной ионообменной хроматографии. Часть 1. Определение содержания бромидов, хлоридов, фторидов, нитратов, нитритов, фосфатов и сульфатов" |
<*> Соответствующий межгосударственный стандарт отсутствует. До его принятия рекомендуется использовать перевод на русский язык данного международного стандарта. Примечание - В настоящей таблице использовано следующее условное обозначение степени соответствия стандартов: - IDT - идентичные стандарты. |
--------------------------------
<1> В Российской Федерации действует
ГОСТ Р 52501-2005 (ИСО 3696:1987) "Вода для лабораторного анализа. Технические условия".
IEC 60684-2 | Flexible insulating sleeving - Part 2: Methods of test (Трубки электроизоляционные гибкие. Часть 2. Методы испытания) |
IEC 60695-5-1 | Fire hazard testing - Part 5-1: Corrosion damage effects of fire effluent - General guidance (Испытания на пожарную опасность. Часть 5-1. Коррозионные повреждающие воздействия выделений при пожаре. Общие положения) |
IEC 60754-1 | Test on gases evolved during combusition of materials from cables - Part 1: Determination of the halogen acid gas content (Испытания по газам, выделяемым при горении материалов конструкции кабелей. Часть 1. Определение количества газов галогенных кислот) |
IEC 60754-2 | Test on gases evolved during combustion of materials from cables - Part 2: Determination of acidtity (by pH measurement) and conductivity (Испытания по газам, выделяемым при горении материалов конструкции кабелей. Часть 2. Определение степени кислотности газов измерением pH и удельной проводимости) |
IEC 62321-3-2 | Determination of centain substances in electrotechnical products - Part 3-2: Screening - Total bromine in polymers and electronics by Combusition - Ion Cromatography (Определение некоторых веществ в электротехнической продукции. Часть 3-2. Экранирование. Общий бром в полимерах и электронике методом горения. Ионная хроматография) |
УДК 621.315.2.001.4:006.354 | | IDT |
Ключевые слова: испытание, материалы, кабель, аналитический метод ионной хроматографии |