Главная // Актуальные документы // ГОСТ (Государственный стандарт)СПРАВКА
Источник публикации
М.: ФГБУ "РСТ", 2022
Примечание к документу
Документ
введен в действие с 01.03.2023.
Название документа
"ГОСТ 6024-2022. Межгосударственный стандарт. Изделия огнеупорные динасовые и шамотные для кладки мартеновских печей. Форма и размеры"
(введен в действие Приказом Росстандарта от 29.08.2022 N 828-ст)
"ГОСТ 6024-2022. Межгосударственный стандарт. Изделия огнеупорные динасовые и шамотные для кладки мартеновских печей. Форма и размеры"
(введен в действие Приказом Росстандарта от 29.08.2022 N 828-ст)
Приказом Федерального
агентства по техническому
регулированию и метрологии
от 29 августа 2022 г. N 828-ст
МЕЖГОСУДАРСТВЕННЫЙ СТАНДАРТ
ИЗДЕЛИЯ ОГНЕУПОРНЫЕ ДИНАСОВЫЕ И ШАМОТНЫЕ
ДЛЯ КЛАДКИ МАРТЕНОВСКИХ ПЕЧЕЙ
ФОРМА И РАЗМЕРЫ
Refractory silica and fireclay articles for the open hearth
brickwork. Form and dimensions
ГОСТ 6024-2022
Дата введения
1 марта 2023 года
Цели, основные принципы и общие правила проведения работ по межгосударственной стандартизации установлены
ГОСТ 1.0 "Межгосударственная система стандартизации. Основные положения" и
ГОСТ 1.2 "Межгосударственная система стандартизации. Стандарты межгосударственные, правила и рекомендации по межгосударственной стандартизации. Правила разработки, принятия, обновления и отмены"
1 РАЗРАБОТАН Обществом с ограниченной ответственностью "Научно-технический центр "Огнеупоры" (ООО "НТЦ "Огнеупоры")
2 ВНЕСЕН Межгосударственным техническим комитетом по стандартизации МТК 9 "Огнеупоры"
3 ПРИНЯТ Межгосударственным советом по стандартизации, метрологии и сертификации (протокол от 14 июля 2022 г. N 61)
За принятие проголосовали:
Краткое наименование страны по МК (ИСО 3166) 004-97 | Код страны по МК (ИСО 3166) 004-97 | Сокращенное наименование национального органа по стандартизации |
Армения | AM | ЗАО "Национальный орган по стандартизации и метрологии" Республики Армения |
Беларусь | BY | Госстандарт Республики Беларусь |
Киргизия | KG | Кыргызстандарт |
Россия | RU | Росстандарт |
Узбекистан | UZ | Узстандарт |
4 Приказом Федерального агентства по техническому регулированию и метрологии от 29 августа 2022 г. N 828-ст межгосударственный стандарт ГОСТ 6024-2022 введен в действие в качестве национального стандарта Российской Федерации с 1 марта 2023 г.
Информация о введении в действие (прекращении действия) настоящего стандарта и изменений к нему на территории указанных выше государств публикуется в указателях национальных стандартов, издаваемых в этих государствах, а также в сети Интернет на сайтах соответствующих национальных органов по стандартизации.
В случае пересмотра, изменения или отмены настоящего стандарта соответствующая информация будет опубликована на официальном интернет-сайте Межгосударственного совета по стандартизации, метрологии и сертификации в каталоге "Межгосударственные стандарты"
Настоящий стандарт устанавливает форму и размеры динасовых и шамотных огнеупорных изделий (далее - изделия), предназначенных для кладки мартеновских печей.
В настоящем стандарте использованы нормативные ссылки на следующие межгосударственные стандарты:
ГОСТ 390 Изделия огнеупорные шамотные и полукислые общего назначения. Технические условия
ГОСТ 4157 Изделия огнеупорные динасовые. Технические условия
ГОСТ 8691 Изделия огнеупорные общего назначения. Форма и размеры
Примечание - При пользовании настоящим стандартом целесообразно проверить действие ссылочных стандартов и классификаторов на официальном интернет-сайте Межгосударственного совета по стандартизации, метрологии и сертификации (www.easc.by) или по указателям национальных стандартов, издаваемым в государствах, указанных в предисловии, или на официальных сайтах соответствующих национальных органов по стандартизации. Если на документ дана недатированная ссылка, то следует использовать документ, действующий на текущий момент, с учетом всех внесенных в него изменений. Если заменен ссылочный документ, на который дана датированная ссылка, то следует использовать указанную версию этого документа. Если после принятия настоящего стандарта в ссылочный документ, на который дана датированная ссылка, внесено изменение, затрагивающее положение, на которое дана ссылка, то это положение применяется без учета данного изменения. Если ссылочный документ отменен без замены, то положение, в котором дана ссылка на него, применяется в части, не затрагивающей эту ссылку.
Марка изделия | Наименование и характеристика марки |
ДМ | Динасовые изделия для кладки мартеновских печей |
ДМС | Динасовые изделия для кладки сводов мартеновских печей |
ШАКМ | Шамотные изделия с температурой применения не выше 1400 °C для кладки мартеновских печей |
ШАМ-I, ШБМ-I | Шамотные изделия с температурой применения не выше 1350 °C для кладки мартеновских печей I подгруппы |
ШАМ-II, ШБМ-II | Шамотные изделия с температурой применения не выше 1350 °C для кладки мартеновских печей II подгруппы |
ШВМ-I | Шамотные изделия с температурой применения не выше 1250 °C для кладки мартеновских печей I подгруппы |
4.2 Огнеупорные изделия по физико-химическим показателям и показателям внешнего вида должны соответствовать:
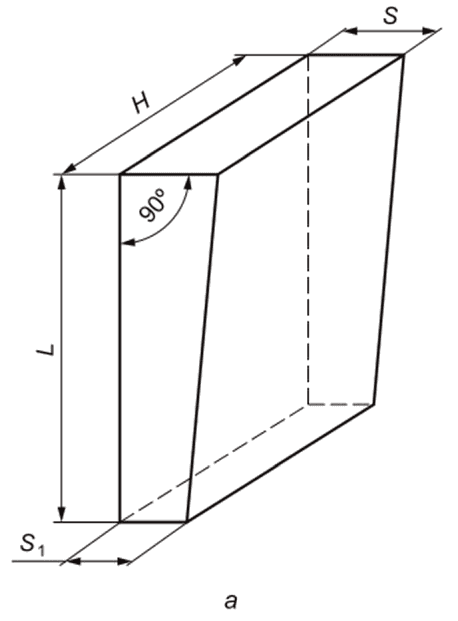
5.1 Форма и размеры изделий должны соответствовать указанным на
рисунках 1 -
11 и в
таблицах 2 -
12. Пределы допускаемых отклонений размеров устанавливают по соглашению сторон, рекомендуемые - по
ГОСТ 390 и
ГОСТ 4157.
Рисунок 1 - Прямой кирпич
Таблица 2
Размеры в миллиметрах
Номер изделия | L | H | S |
1 | 230 | 150 | 50 |
2 | 230 | 150 | 75 |
3 | 300 | 150 | 50 |
4 | 300 | 150 | 75 |
5 | 345 | 150 | 65 |
6 | 350 | 150 | 50 |
7 | 360 | 150 | 65 |
8 | 370 | 150 | 50 |
9 | 380 | 150 | 75 |
10 | 410 | 150 | 65 |
11 | 460 | 150 | 65 |
12 | 460 | 150 | 75 |
13 | 460 | 150 | 90 |
14 | 520 | 170 | 80 |
15 | 540 | 150 | 90 |
Рисунок 2 - Прямоугольный насадочный кирпич
для регенераторов
Таблица 3
Размеры прямоугольного насадочного кирпича для регенераторов
Размеры в миллиметрах
Номер изделия | L | H | S |
1а | 230 | 114 | 64 |
2а | 230 | 114 | 76 |
3а | 300 | 150 | 64 |
4а | 300 | 150 | 76 |
5а | 345 | 114 | 64 |
6а | 345 | 114 | 76 |
Рисунок 3 - Прямой полуторный кирпич
Таблица 4
Размеры прямого полуторного кирпича
Размеры в миллиметрах
Номер изделия | L | H | S |
16 | 380 | 225 | 75 |
17 | 460 | 225 | 75 |
18 | 460 | 225 | 90 |
| |
а - односторонний торцовый клин | б - двусторонний торцовый клин |
Рисунок 4 - Торцовый клин
Таблица 5
Размеры торцового (двустороннего и одностороннего) клина
Размеры в миллиметрах
Номер изделия | L | H | S | S1 |
19 | 300 | 150 | 75 | 68 |
20 | 380 | 150 | 75 | 67 |
21 | 460 | 150 | 78 | 70 |
22 | 460 | 150 | 88 | 80 |
23 | 540 | 150 | 90 | 80 |
| |
а - односторонний полуторный торцовый клин | б - двусторонний полуторный торцовый клин |
Рисунок 5 - Полуторный торцовый клин
Таблица 6
Размеры полуторного торцового (двустороннего
и одностороннего) клина
Размеры в миллиметрах
Номер изделия | L | H | S | S1 |
24 | 300 | 225 | 75 | 68 |
25 | 380 | 225 | 75 | 67 |
26 | 460 | 225 | 78 | 70 |
27 | 460 | 225 | 88 | 80 |
Рисунок 6 - Трапецеидальный (односторонний) клин
Таблица 7
Размеры трапецеидального (одностороннего) клина
Размеры в миллиметрах
Номер изделия | L | S | S1 | H |
28 | 300 | 150 | 135 | 65 |
29 | 380 | 100 | 50 | 75 |
Рисунок 7 - Ребровый (односторонний) клин
Таблица 8
Размеры ребрового (одностороннего) клина
Размеры в миллиметрах
Номер изделия | L | H | S | S1 |
30 | 230 | 114 | 65 | 50 |
31 | 300 | 150 | 65 | 50 |
32 | 300 | 150 | 65 | 55 |
Рисунок 8 - Пятовый кирпич
Таблица 9
Размеры пятового кирпича
Размеры в миллиметрах
Номер изделия | L | h | L1 | L3 | S | h1 |
33 | 225 | 75 | 300 | 257 | 75 | 40 |
34 | 265 | 75 | 369 | 326 | 75 | 40 |
35 | 330 | 100 | 438 | 380 | 75 | 40 |
36 | 370 | 100 | 508 | 450 | 75 | 40 |
Рисунок 9 - Т-образный насадочный и поднасадочный кирпич
Таблица 10
Размеры Т-образного насадочного и поднасадочного кирпича
Размеры в миллиметрах
Номер изделия | A | A1 | B | C | e | k |
37 | 230 | 150 | 114 | 50 | 40 | 25 |
38 | 230 | 150 | 114 | 65 | 40 | 25 |
39 | 230 | 150 | 114 | 75 | 40 | 25 |
40 | 230 | 100 | 150 | 75 | 65 | 25 |
41 | 260 | 180 | 114 | 75 | 40 | 73 |
42 | 270 | 196 | 114 | 75 | 37 | 30 |
43 | 270 | 196 | 120 | 75 | 37 | 30 |
44 | 300 | 140 | 150 | 75 | 80 | 25 |
45 | 300 | 220 | 114 | 75 | 40 | 56 |
46 | 330 | 250 | 114 | 75 | 40 | 56 |
47 | 350 | 230 | 114 | 75 | 60 | 56 |
Рисунок 10 - Поднасадочный пятовый кирпич
Таблица 11
Размеры поднасадочного пятового кирпича
Размеры в миллиметрах
Номер изделия | A | e | C |
48 | 326 | 400 | 75 |
49 | 326 | 400 | 90 |
50 | 326 | 400 | 114 |
51 | 385 | 459 | 75 |
52 | 385 | 459 | 90 |
53 | 385 | 459 | 114 |
Рисунок 11 - Поднасадочный распорный кирпич
Таблица 12
Размеры поднасадочного распорного кирпича
Размеры в миллиметрах
Номер изделия | A | A1 | C |
54 | 284 | 138 | 75 |
55 | 284 | 138 | 90 |
56 | 284 | 138 | 114 |
57 | 520 | 374 | 75 |
58 | 520 | 374 | 90 |
59 | 520 | 374 | 114 |
5.2 Расчетная масса и объем изделий не являются браковочным признаком и приведены в
приложениях А -
Д.
Средняя кажущаяся плотность для расчета массы приведена в
приложении Е.
(справочное)
РАСЧЕТНАЯ МАССА И ОБЪЕМ ПРЯМОГО КИРПИЧА
Таблица А.1
Номер изделия | Объем, см3 | Масса, кг, изделий марок |
ДМ, ДМС | ШАКМ, ШАМ-I | ШАМ-II, ШБМ-I | ШБМ-II, ШВМ-I |
1 | 1725 | - | 3,6 | 3,4 | 3,3 |
2 | 2590 | - | 5,4 | 5,2 | 4,9 |
3 | 2250 | - | 4,7 | 4,5 | 4,3 |
4 | 3375 | 6,4 | 7,1 | 6,7 | 6,4 |
5 | 3364 | - | 7,1 | 6,7 | 6,4 |
6 | 2625 | - | 5,5 | 5,2 | 5,0 |
7 | 3510 | - | 7,4 | 7,0 | 6,7 |
8 | 2775 | - | 5,8 | 5,5 | 5,3 |
9 | 4270 | 8,1 | 9,0 | 8,5 | 8,1 |
10 | 3997 | - | 8,4 | 8,0 | 7,6 |
11 | 4485 | - | 9,4 | 8,9 | 8,5 |
12 | 5175 | 9,8 | 10,9 | 10,3 | 9,8 |
13 | 6200 | 11,8 | - | - | - |
14 | 7072 | - | 14,8 | 14,1 | 13,4 |
15 | 7290 | 13,8 | - | - | - |
1а | 1678 | 3,2 | 3,4 | 3,4 | 3,2 |
2а | 1993 | 3,8 | 4,2 | 4,0 | 3,8 |
3а | 2880 | 5,5 | 6,0 | 5,8 | 5,5 |
4а | 3420 | 6,5 | 7,2 | 6,8 | 6,5 |
5а | 2517 | 4,8 | 5,3 | 5,0 | 4,8 |
6а | 2989 | 5,7 | 6,3 | 6,0 | 5,7 |
(справочное)
РАСЧЕТНАЯ МАССА И ОБЪЕМ ДИНАСОВЫХ ИЗДЕЛИЙ
Таблица Б.1
Номер изделия | Объем, см3 | Масса, кг, изделий марки ДМ |
Кирпич прямой полуторный |
16 | 6410 | 12,2 |
17 | 7762 | 14,7 |
18 | 9315 | 17,7 |
Клин торцовый (двусторонний и односторонний) |
19 | 3220 | 6,1 |
20 | 4050 | 7,7 |
21 | 5100 | 9,7 |
22 | 5800 | 11,0 |
23 | 6885 | 13,1 |
Клин торцовый полуторный (двусторонний и односторонний) |
24 | 4830 | 9,2 |
25 | 6070 | 11,5 |
26 | 7660 | 14,5 |
27 | 8690 | 16,5 |
Клин трапецеидальный (односторонний) |
28 | 2780 | 5,3 |
29 | 2140 | 4,1 |
(справочное)
РАСЧЕТНАЯ МАССА И ОБЪЕМ РЕБРОВОГО (ОДНОСТОРОННЕГО) КЛИНА
Таблица В.1
Номер изделия | Объем, см3 | Масса, кг, изделий марок |
ДМ, ДМС | ШАКМ, ШАМ-I | ШАМ-II, ШБМ-I | ШБМ-II, ШВМ-I |
30 | 1510 | - | 3,2 | 3,0 | 2,9 |
31 | 2590 | 4,9 | 5,4 | 5,2 | 4,9 |
32 | 2700 | 5,1 | 5,7 | 5,4 | 5,1 |
(справочное)
РАСЧЕТНАЯ МАССА И ОБЪЕМ ПЯТОВОГО КИРПИЧА
Таблица Г.1
Номер изделия | Объем, см3 | Масса, кг, для изделий марки ДМ |
33 | 3480 | 6,6 |
34 | 4870 | 9,2 |
35 | 7190 | 13,7 |
36 | 9160 | 17,4 |
(справочное)
РАСЧЕТНАЯ МАССА И ОБЪЕМ ИЗДЕЛИЙ N 37 - 59
Таблица Д.1
Номер изделия | Объем, см3 | Масса, кг, изделий марок |
ШАКМ, ШАМ-I | ШАМ-II, ШБМ-I | ШБМ-II, ШВМ-I |
Т-образный насадочный и поднасадочный кирпич |
37 | 1498 | 3,1 | 3,0 | 2,8 |
38 | 1948 | 4,1 | 3,9 | 3,7 |
39 | 2248 | 4,7 | 4,5 | 4,3 |
40 | 2775 | 5,8 | 5,5 | 5,3 |
41 | 2763 | 5,8 | 5,5 | 5,2 |
42 | 2749 | 5,7 | 5,5 | 5,2 |
43 | 2871 | 6,0 | 5,7 | 5,4 |
44 | 3637 | 7,6 | 7,2 | 6,9 |
45 | 3489 | 7,3 | 6,9 | 6,6 |
46 | 3871 | 8,1 | 7,7 | 7,3 |
47 | 3958 | 8,3 | 7,9 | 7,5 |
Поднасадочный пятовый кирпич |
48 | 10490 | 22,0 | 21,0 | 19,9 |
49 | 12580 | 26,4 | 25,2 | 23,9 |
50 | 15940 | 33,5 | 31,9 | 30,3 |
51 | 12224 | 25,8 | 24,4 | 23,2 |
52 | 14670 | 30,8 | 29,3 | 27,9 |
53 | 17581 | 36,9 | 35,2 | 33,4 |
Поднасадочный распорный кирпич |
54 | 4350 | 9,1 | 8,7 | 8,3 |
55 | 5220 | 11,0 | 10,4 | 9,9 |
56 | 6614 | 13,9 | 13,3 | 12,6 |
57 | 9220 | 19,4 | 18,4 | 17,5 |
58 | 11060 | 23,2 | 22,1 | 21,0 |
59 | 14000 | 29,4 | 28,0 | 26,6 |
(справочное)
СРЕДНЯЯ КАЖУЩАЯСЯ ПЛОТНОСТЬ ДЛЯ РАСЧЕТА МАССЫ ИЗДЕЛИЙ
Таблица Е.1
Марка изделия | Средняя кажущаяся плотность, г/см3 |
ДМ, ДМС, ШБМ-II, ШВМ-I | 1,9 |
ШАМ-II, ШБМ-I | 2,0 |
ШАКМ, ШАМ-I | 2,1 |
УДК 666.76(083.74):006.354 | |
Ключевые слова: изделия огнеупорные, изделия динасовые, изделия шамотные, кладка мартеновских печей, форма и размеры |