Главная // Актуальные документы // ГОСТ (Государственный стандарт)СПРАВКА
Источник публикации
М.: Стандартинформ, 2020
Примечание к документу
Документ включен в
Перечень документов в области стандартизации, в результате применения которых на добровольной основе обеспечивается соблюдение требований Федерального
закона от 30.12.2009 N 384-ФЗ "Технический регламент о безопасности зданий и сооружений" (
Приказ Росстандарта от 02.04.2020 N 687).
Текст данного документа приведен с учетом
поправки, опубликованной в "ИУС", N 7, 2023.
Документ
введен в действие с 01.06.2021.
Название документа
"ГОСТ 20276.6-2020. Межгосударственный стандарт. Грунты. Метод испытания лопастным прессиометром"
(введен в действие Приказом Росстандарта от 03.11.2020 N 1027-ст)
"ГОСТ 20276.6-2020. Межгосударственный стандарт. Грунты. Метод испытания лопастным прессиометром"
(введен в действие Приказом Росстандарта от 03.11.2020 N 1027-ст)
агентства по техническому
регулированию и метрологии
от 3 ноября 2020 г. N 1027-ст
МЕЖГОСУДАРСТВЕННЫЙ СТАНДАРТ
ГРУНТЫ
МЕТОД ИСПЫТАНИЯ ЛОПАСТНЫМ ПРЕССИОМЕТРОМ
Soils. Plate-type pressuremeter test procedure
ГОСТ 20276.6-2020
Дата введения
1 июня 2021 года
Цели, основные принципы и общие правила проведения работ по межгосударственной стандартизации установлены
ГОСТ 1.0 "Межгосударственная система стандартизации. Основные положения" и
ГОСТ 1.2 "Межгосударственная система стандартизации. Стандарты межгосударственные, правила и рекомендации по межгосударственной стандартизации. Правила разработки, принятия, обновления и отмены"
1 РАЗРАБОТАН Научно-исследовательским, проектно-изыскательским и конструкторско-технологическим институтом оснований и подземных сооружений им. Н.М. Герсеванова (НИИОСП им. Н.М. Герсеванова) - институтом АО "НИЦ "Строительство"
2 ВНЕСЕН Техническим комитетом по стандартизации ТК 465 "Строительство"
3 ПРИНЯТ Межгосударственным советом по стандартизации, метрологии и сертификации (протокол от 31 августа 2020 г. N 132-П)
За принятие проголосовали:
Краткое наименование страны по МК (ИСО 3166) 004-97 | Код страны по МК (ИСО 3166) 004-97 | Сокращенное наименование национального органа по стандартизации |
Азербайджан | AZ | Азстандарт |
Армения | AM | ЗАО "Национальный орган по стандартизации и метрологии" Республики Армения |
Беларусь | BY | Госстандарт Республики Беларусь |
Казахстан | KZ | Госстандарт Республики Казахстан |
Киргизия | KG | Кыргызстандарт |
Россия | RU | Росстандарт |
Таджикистан | TJ | Таджикстандарт |
Узбекистан | UZ | Узстандарт |
4
Приказом Федерального агентства по техническому регулированию и метрологии от 3 ноября 2020 г. N 1027-ст межгосударственный стандарт ГОСТ 20276.6-2020 введен в действие в качестве национального стандарта Российской Федерации с 1 июня 2021 г.
Информация о введении в действие (прекращении действия) настоящего стандарта и изменений к нему на территории указанных выше государств публикуется в указателях национальных стандартов, издаваемых в этих государствах, а также в сети Интернет на сайтах соответствующих национальных органов по стандартизации.
В случае пересмотра, изменения или отмены настоящего стандарта соответствующая информация будет опубликована на официальном интернет-сайте Межгосударственного совета по стандартизации, метрологии и сертификации в каталоге "Межгосударственные стандарты"
Настоящий стандарт устанавливает требования к методам испытания грунтов лопастным прессиометром для определения модуля деформации E при исследовании грунтов для строительства.
В настоящем стандарте использованы нормативные ссылки на следующие межгосударственные стандарты:
ГОСТ 27751 Надежность строительных конструкций и оснований. Основные положения
ГОСТ 30416 Грунты. Лабораторные испытания. Общие положения
ГОСТ 30672 Грунты. Полевые испытания. Общие положения
Примечание - При пользовании настоящим стандартом целесообразно проверить действие ссылочных стандартов и классификаторов в сети Интернет на официальном сайте Межгосударственного совета по стандартизации, метрологии и сертификации (www.easc.by) или в указателях национальных стандартов, издаваемых в государствах, указанных в предисловии, или на официальных сайтах соответствующих национальных органов по стандартизации. Если на документ дана недатированная ссылка, то следует использовать документ, действующий на текущий момент, с учетом всех внесенных в него изменений. Если заменен ссылочный документ, на который дана датированная ссылка, то следует использовать указанную версию этого документа. Если после принятия настоящего стандарта в ссылочный документ, на который дана датированная ссылка, внесено изменение, затрагивающее положение, на которое дана ссылка, то это положение применяется без учета данного изменения. Если ссылочный документ отменен без замены, то положение, в котором дана ссылка на него, применяется в части, не затрагивающей эту ссылку.
3.1 лопастной прессиометр: Прибор, воздействующий на грунт горизонтальной нагрузкой, которая передается плоскими вертикальными выдвижными стальными штампами, и предназначенный для определения деформационных свойств грунтов, залегающих в массиве и в стенках скважины.
3.2 природное сложение грунта: Сложение грунта, при котором сохраняется состояние грунта, сформированное в процессе образования и геологической истории грунта.
3.3 природное напряженное состояние грунта: Состояние грунта, обусловленное напряжениями, возникающими под действием приложенных к нему сил естественного или техногенного происхождения.
3.4
модуль деформации грунта: Характеристика сжимаемости грунта, представляющая собой коэффициент линейной связи между напряжением
p, прикладываемым к грунту, и вызываемыми им общими деформациями

(упругими и остаточными).
4.1 Настоящий стандарт устанавливает метод испытания грунтов лопастным прессиометром для полевого определения модуля деформации E песков, глинистых, органо-минеральных и органических грунтов.
Настоящий стандарт не устанавливает метод полевого определения модуля деформации крупнообломочных грунтов, грунтов в мерзлом состоянии, просадочных и набухающих грунтов при их испытаниях с замачиванием.
4.2 Модуль деформации грунтов определяют по результатам нагружения штампов-лопастей горизонтальной нагрузкой в скважине или массиве грунта с помощью специального нагрузочного устройства, расположенного на поверхности.
Результаты испытаний оформляют в виде графика зависимости перемещений штампов-лопастей от нагрузки.
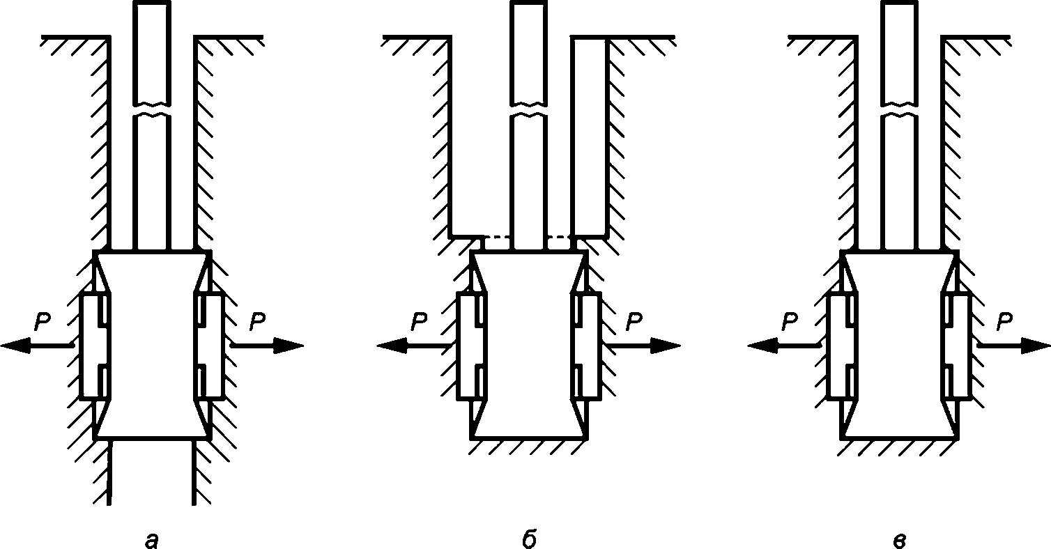
4.3 Испытания грунта лопастным прессиометром проводят в стенках буровых скважин, ниже забоя скважины и непосредственно в массиве грунта.
4.4 Испытания грунтов лопастным прессиометром осуществляют с помощью рабочего наконечника, состоящего из стального корпуса, имеющего в поперечном сечении форму двутавра, распорных жестких штампов-лопастей прямоугольной формы и цилиндрического редуктора, состоящего из приводной рейки, находящейся в зацеплении с блок-шестернями, выдвигающими направляющие рейки штампов. Схема испытаний лопастным прессиометром представлена на
рисунке А.1 приложения А.
4.5 На отметке испытания грунта должны быть отобраны образцы и в лабораторных условиях определены физические характеристики грунтов. Образцы грунта для определения его характеристик отбирают на расстоянии не более 3 м от оси выработки для проведения испытаний.
4.6 Результаты определений характеристик деформируемости по данным испытаний лопастным прессиометром должны сопровождаться сведениями о месте проведения испытаний, описанием грунтов и их физико-механическими характеристиками: гранулометрическим составом, влажностью, плотностью, плотностью частиц грунта, влажностью на границе раскатывания и текучести, углом внутреннего трения и сцеплением.
4.7 Минимальная толщина однородного слоя грунта при испытании лопастным прессиометром должна составлять не менее 1,5 длины штампа-лопасти прессиометра.
4.8 Способы проходки скважины и применяемое оборудование должны обеспечивать сохранение природного напряженного состояния грунта.
4.9 Для проходки скважин применяют следующие способы и оборудование:
- бурение скважин под защитой тяжелых растворов;
- проходку с помощью подвижной колонны обсадных труб участка скважины, на котором будут проводить испытания.
В грунтах, обеспечивающих устойчивость стенок скважины, допускается проведение испытаний без сохранения природного напряженного состояния грунта. При этом обязательным является сохранение природного сложения грунтов.
4.10 При проходке опытной скважины запрещается применение ударно-канатного, вибрационного и шнекового бурения, начиная с отметки на 1 м выше участка, на котором будут проводить испытание. На этом участке скважину следует проходить вращательным способом с помощью колонковой трубы, обуривающего грунтоноса или буровой ложки, частота вращения которых не должна превышать 60 об/мин, а осевая нагрузка на буровой наконечник - 0,5 кН.
4.11 При бурении скважин для испытания грунта ниже уровня подземных вод не допускается понижение уровня подземных вод в скважине.
4.12 При испытании грунта в стенках скважины отметки проведения испытаний должны быть на 1 - 3 м выше отметок забоя скважины.
4.13 При испытаниях в стенках скважин диаметр скважины должен быть менее расстояния между штампами-лопастями не менее чем на 2 см.
4.14 При испытаниях ниже забоя скважины минимальная глубина погружения наконечника от забоя скважины до верха штампа-лопасти должна быть не менее половины длины штампа-лопасти.
4.15 Перерыв во времени между окончанием бурения и началом испытания грунта выше уровня подземных вод не должен превышать 2 ч, ниже уровня подземных вод - 0,5 ч.
5.1 В состав установки для испытания грунта лопастным прессиометром должны входить:
- наконечник со штампами-лопастями и направляющим стаканом;
- устройство для создания и измерения давления на штампы-лопасти наконечника;
- устройство для измерения перемещений штампов-лопастей наконечника.
5.2 Конструкция установки должна обеспечивать:
- возможность создания давления на грунт ступенями по 0,01 - 0,1 МПа;
- постоянство давления на каждой ступени нагружения;
- возможность тарировки наконечника со штампами-лопастями.
5.3 Наконечник должен состоять из двух жестких штампов-лопастей прямоугольной формы, расположенных симметрично относительно оси наконечника. Площадь одного штампа-лопасти должна соответствовать значениям, указанным в таблице 1.
Таблица 1
Размеры площади штампа-лопасти в зависимости от вида
грунтов при испытаниях лопастными прессиометрами
Грунты | Положение прессиометра относительно уровня подземных вод | Глубина испытания, м | Место проведения испытания | Площадь штампа-лопасти, см2 |
Пылеватые и глинистые глины и суглинки с показателем текучести IL <= 0,25; супеси при IL < 0 | Выше уровня подземных вод | до 10 | В стенках скважины | 600 |
Песчаные (устойчивые в стенках скважины); пылеватые и глинистые - глины, суглинки с показателем текучести 0,25 < IL <= 0,75; супеси при 0 <= IL <= 1 |
Ниже 10 | 300 |
Песчаные - средней плотности и рыхлые (неустойчивые в стенках скважины); пылеватые и глинистые глины и суглинки с показателем текучести IL > 0,75; супеси при IL > 1 | Выше и ниже уровня подземных вод | До 10 | Ниже забоя скважины | 600 |
Ниже 10 | 300 |
Глинистые и органо-минеральные | По всей толще | В массиве без бурения скважины | 600 |
Органические | Выше уровня подземных вод | До 10 | В стенках скважины |
Выше и ниже уровня подземных вод | По всей толще | Ниже забоя скважины | 300 |
Примечание - Соотношение сторон штампа-лопасти должно быть не более 3:1. Расстояние между штампами-лопастями должно быть не менее 1,5 их ширины. |
5.4 Устройство для измерения давления на штампы-лопасти должно обеспечивать измерение давления с погрешностью не более 5% ступени давления.
5.5 Устройство для измерения перемещений штампов-лопастей в горизонтальном направлении должно обеспечивать измерение деформаций грунта с погрешностью не более 0,1 мм в пределах 50 мм и более перемещения штампа-лопасти при испытаниях органо-минеральных и органических грунтов и в пределах перемещения 20 мм - для остальных грунтов.
6 Подготовка к испытаниям
6.1 Установку наконечника со штампами-лопастями производят методом вдавливания так, чтобы середина наконечника была расположена на отметке испытания.
6.2 После установки наконечника на отметке испытания монтируют устройство для создания и измерения давления на штампы-лопасти и измерения их перемещения.
6.3 После монтажа всех устройств и измерительной системы устанавливают приборы и снимают показания. Показания записывают в журнал
(приложение Б) как исходные для проведения испытаний.
7.1 Передачу нагрузки на штампы-лопасти проводят ступенями, указанными в таблицах 2 -
4. Ступени необходимо назначать с учетом веса тарированных грузов, входящих в комплект прибора.
Таблица 2
Ступени давления и время условной стабилизации деформации
при испытаниях лопастным прессиометром песчаных грунтов
Грунт | Коэффициент водонасыщения | Ступень давления  , МПа, при плотности сложения грунтов | Время условной стабилизации деформации t, ч |
плотные | средней плотности | рыхлых |
Крупные пески | Sr <= 1,0 | 0,10 | 0,050 | 0,025 | 0,5 |
Пески средней крупности и мелкие | Sr <= 0,5 | 0,10 | 0,050 | 0,025 | 0,5 |
0,5 < Sr <1,0 | 0,10 | 0,050 | 0,025 | 1,0 |
Пылеватые пески | Sr <= 0,5 | 0,05 | 0,025 | 0,010 | 1,0 |
0,5 < Sr <= 1,0 | 0,05 | 0,025 | 0,010 | 2,0 |
Таблица 3
Ступени давления и время условной стабилизации деформации
при испытаниях лопастным прессиометром глинистых грунтов
Грунт | Ступень давления  , МПа, при коэффициенте пористости | Время условной стабилизации деформации t, ч |
e <= 0,5 | 0,5 < e <= 0,8 | 0,8 < e <= 1,1 | |
Глинистые с показателем текучести: | | | | | |
IL <= 0,25 | 0,10 | 0,100 | 0,050 | 0,050 | 1 |
0,25 < IL <= 0,75 | 0,10 | 0,050 | 0,050 | 0,025 | 2 |
0,75 < IL <= 1 | 0,05 | 0,025 | 0,025 | 0,010 | 2 |
IL > 1 | 0,05 | 0,025 | 0,010 | 0,010 | 3 |
<*> Время условной стабилизации увеличивается на 1 ч. |
Таблица 4
Ступени давления и время условной стабилизации деформации
органо-минеральных и органических грунтов с относительным
содержанием органического вещества Ir >= 0,30
при испытаниях лопастным прессиометром
Грунт | Ступень давления  , МПа | Время условной стабилизации деформации t, ч |
Просадочные природной влажности | 0,5 | 1 |
Органо-минеральные и органические | 0,005 - 0,010 | 4 |
В первую ступень давления рекомендуется включать вес внутренних стержней, применяемых при испытаниях грунта.
Общее число ступеней давления, свыше природного, должно быть не менее четырех.
7.2 Каждую ступень давления выдерживают до условной стабилизации деформации грунта.
За критерий условной стабилизации деформации принимают скорость перемещения штампа-лопасти, не превышающую 0,1 мм за время, указанное для медленного режима испытания в
таблицах 2 -
4, для быстрого - в таблице 5.
Таблица 5
Время условной стабилизации деформации грунта
при быстром режиме испытаний лопастным прессиометром
Грунт | Время условной стабилизации деформации t, мин |
Пески | 3 |
Глинистые | 6 |
Органо-минеральные и органические | 10 |
Примечание - При испытаниях искусственно уплотненных, насыпных и намывных грунтов время условной стабилизации деформации должно назначаться так же, как и для соответствующих типов песчаных и глинистых грунтов в зависимости от коэффициента водонасыщения и показателя текучести. При применении лопастных прессиометров с погрешностью измерения перемещений менее 0,1 мм время условной стабилизации деформации уменьшается пропорционально увеличению точности измерения перемещения стенки скважины. |
Время выдержки каждой последующей ступени давления должно быть не менее выдержки предыдущей ступени давления.
Перемещения штампа-лопасти необходимо измерять с точностью не менее 0,1 мм.
7.3 Для зданий и сооружений уровня ответственности I испытания грунтов лопастными прессиометрами следует проводить в медленном режиме. Допускается проводить испытания грунта лопастными прессиометрами в быстром режиме в тех случаях, когда выполнены сопоставительные испытания лопастными прессиометрами в медленном и быстром режимах не менее чем с двукратной повторяемостью для данной разновидности грунта на площадке проведения изысканий.
Для зданий и сооружений уровней ответственности II испытания лопастными прессиометрами допускается проводить в быстром режиме.
Примечание - Уровни ответственности зданий и сооружений приняты по
ГОСТ 27751.
7.4 Отсчеты по приборам для измерения перемещений штампов-лопастей на каждой ступени давления производят в соответствии с таблицей 6.
Таблица 6
Порядок снятия отсчетов деформаций
при прессиометрических испытаниях
Грунт | Режим испытания |
Медленный | Быстрый |
Пески | Через 10 мин в течение первого получаса, через 15 мин в течение второго получаса, далее - через 1 мин до условной стабилизации деформаций (7.2) | Через 1 мин в течение первых 3 мин, далее - через 3 мин до условной стабилизации деформаций (7.2) |
Глинистые | Через 15 мин в течение первого часа, через 30 мин в течение второго часа, далее - через 1 ч до условной стабилизации деформаций (7.2) | Через 2 мин в течение первых 6 мин, далее - через 6 мин до условной стабилизации деформаций (7.2) |
Органо-минеральные и органические | Через 2 мин в течение первых 10 мин, далее через 10 мин до условной стабилизации деформаций (7.2) |
7.5 По специальному заданию для определения модуля деформации по ветви повторного нагружения может быть проведена разгрузка грунта, а затем повторное нагружение. Последняя ступень разгрузки и начало повторного нагружения определены заданием. Повторное нагружение проводят в последовательности, аналогичной последовательности первого нагружения. Число ступеней при разгрузке допускается уменьшить.
7.6 Штампы лопастного прессиометра после проведения испытаний перед извлечением рабочего наконечника из грунта следует сложить с помощью фиксатора. После извлечения рабочий наконечник следует очистить от грунта.
7.7 Результаты испытаний заносят в журнал полевого испытания грунта лопастным прессиометром
(приложение Б).
8.1 По данным испытаний строят график зависимости перемещения штампа-лопасти от давления
u =
f(
p), откладывая по оси абсцисс значения
p, а по оси ординат условно стабилизированные значения
u (приложение В).
Через нанесенные на график четыре точки проводят осредняющую прямую методом наименьших квадратов или графическим методом. За начальные значения p0 и u0 (первая точка, включаемая в осреднение) принимают значения p и u, соответствующие бытовому давлению на отметке испытаний.
За конечные значения pn и un (предел пропорциональности) принимают значения p и u, соответствующие точке, ограничивающей линейный участок графика.
8.2 Модуль деформации грунта E, МПа, вычисляют для линейного участка графика u = f(p) по формуле

(1)
где KI - корректирующий коэффициент;

- коэффициент, принимаемый по
таблице 7 в зависимости от отношения длины штампа-лопасти к его ширине
l/
b;
v - коэффициент Пуассона;
b - ширина штампа-лопасти;

- приращение давления на штамп-лопасть между двумя точками, взятыми на осредняющей прямой, МПа;

- приращение перемещения штампа-лопасти, соответствующее

, см.
Примечание - При вычислении модуля деформации грунта необходимо учитывать определяемые по результатам тарировочных испытаний систематические погрешности измерений

и
u, вызванные собственными деформациями устройства для создания давления - наружных труб, внутренних стержней, рабочего наконечника и нагрузочного устройства прессиометра.
Таблица 7
Значения коэффициента в зависимости от отношения
длины l к ширине b штампа-лопасти прессиометра
l/b | 1 | 1,5 | 2 | 3 | 4 | 5 |
| 0,95 | 1,1 | 1,3 | 1,5 | 1,7 | 1,8 |
8.3 Коэффициент KI определяют по результатам сопоставительных испытаний грунта штампами типов I - IV и лопастным прессиометром, выполненных не менее чем с двукратной повторяемостью для данной разновидности грунта на площадке проведения изысканий.
8.4 Если часть испытаний проводят в медленном, а часть испытаний - в быстром режиме нагружения, то для определения модуля деформации по результатам испытаний, выполненных в быстром режиме, вводят дополнительный коэффициент KIt, определяемый по результатам испытаний лопастным прессиометром в разных режимах.
8.5 Для грунтов с выраженными анизотропными свойствами при определении модуля деформации грунтов
E по
формуле (1) и коэффициента вводят коэффициент анизотропии
Kа.
Значение Kа определяют по результатам лабораторных компрессионных испытаний грунтов по формуле

(2)
где Eoed - одометрический модуль деформации грунта, определяемый по результатам испытания образца, вырезанного в вертикальном направлении, МПа;
EoedH - одометрический модуль деформации грунта, определяемый по результатам испытания образца, вырезанного в горизонтальном направлении, МПа.
8.6 Результаты определения модуля деформации E выражают в целых числах с точностью до 0,5 МПа при E > 10 МПа; в дробных числах с точностью до 0,25 МПа при E = 2,0 - 10,0 МПа и с точностью до 0,1 МПа при E < 2,0 МПа, при этом указываются наименование вида грунта, а также значения характеристик его состояния по плотности сложения и влажности.
(справочное)
СХЕМА ИСПЫТАНИЙ ГРУНТА ЛОПАСТНЫМ ПРЕССИОМЕТРОМ
а - в стенках скважины; б - ниже забоя буровой скважины;
в - в массиве
(рекомендуемое)
ФОРМЫ ПЕРВОЙ И ПОСЛЕДУЮЩИХ СТРАНИЦ ЖУРНАЛА ИСПЫТАНИЙ
ГРУНТОВ ЛОПАСТНЫМ ПРЕССИОМЕТРОМ
(Первая страница журнала)
Организация _______________________________________________________________
ЖУРНАЛ N ____________
ПОЛЕВЫХ ИСПЫТАНИЙ ГРУНТОВ ЛОПАСТНЫМ ПРЕССИОМЕТРОМ
Объект (пункт) ____________________________________________________________
Сооружение ________________________________________________________________
Дата испытания: начало ____________________________________________________
окончание _________________________________________________
Выработка N __________________________ | | Абсолютные отметки: |
Сечение выработки ____________________ | | устья выработки _____________________ м |
(диаметр скважины) ___________________ | | уровня подземных вод ________________ м |
_____________________________________ | | подошвы штампа или |
Глубина ___________________________ м | | рабочего наконечника ________________ м |
Характеристика испытуемого грунта ________________________________________
Краткая характеристика установки для испытаний ____________________________
Приборы (тип и номер) для измерения:
нагрузки __________________________________________________________________
деформаций грунта _________________________________________________________
Примечание - На первой странице журнала приводят схему размещения установки для испытаний.
(Последующие страницы журнала)
Номер испытания ________________
Отметка испытания на глубине, м | Дата | Время | Интервал времени  , ч | Показания приборов для измерения давления, МПа | Тарировочная поправка, МПа | Давление на грунт, МПа | Показания приборов для измерения перемещения, мм | Поправка к показаниям приборов, мм | Исправленные показания приборов, мм | Среднее перемещение грунта, мм | Время выдержки  , ч | Примечание |
u1 | u2 | u1 | u2 | | |
1 | 2 | 3 | 4 | 5 | 6 | 7 | 8 | 9 | 10 | 11 | 12 | 13 | 14 | 15 | 16 |
| | | | | | | | | | | | | | | |
(рекомендуемое)
ОБРАЗЕЦ ГРАФИЧЕСКОГО ОФОРМЛЕНИЯ РЕЗУЛЬТАТОВ ИСПЫТАНИЙ
ГРУНТА ЛОПАСТНЫМ ПРЕССИОМЕТРОМ
Результаты испытания грунта оформляют в соответствии с рисунком В.1.
График u = f(p)
Масштаб графика принимают:
для p (по горизонтали): 0,1 МПа = 40 мм;
для u (по вертикали): 1 мм = 10 мм.
1 - линейная часть графика; 2 - осредняющая прямая
Рисунок В.1
УДК 624.131.001.4(083).74.006.354 | |
Ключевые слова: грунты, прочность, деформируемость, методы полевого определения, строительство |