Главная // Актуальные документы // ГОСТ Р (Государственный стандарт)
СПРАВКА
Источник публикации
М.: Стандартинформ, 2019
Примечание к документу
Текст данного документа приведен с учетом поправки, введенной в действие с 16.01.2022, опубликованной в "ИУС", N 2, 2022.

Документ введен в действие с 01.05.2020.

Название документа
"ГОСТ Р 58108-2019. Национальный стандарт Российской Федерации. Индивидуальные средства спасения на воде. Жилеты спасательные и страховочные. Общие технические условия"
(утв. и введен в действие Приказом Росстандарта от 01.10.2019 N 860-ст)


"ГОСТ Р 58108-2019. Национальный стандарт Российской Федерации. Индивидуальные средства спасения на воде. Жилеты спасательные и страховочные. Общие технические условия"
(утв. и введен в действие Приказом Росстандарта от 01.10.2019 N 860-ст)


Содержание


Утвержден и введен в действие
Приказом Федерального агентства
по техническому регулированию
и метрологии
от 1 октября 2019 г. N 860-ст
НАЦИОНАЛЬНЫЙ СТАНДАРТ РОССИЙСКОЙ ФЕДЕРАЦИИ
ИНДИВИДУАЛЬНЫЕ СРЕДСТВА СПАСЕНИЯ НА ВОДЕ
ЖИЛЕТЫ СПАСАТЕЛЬНЫЕ И СТРАХОВОЧНЫЕ
ОБЩИЕ ТЕХНИЧЕСКИЕ УСЛОВИЯ
Personal flotation devices. Life and insurance
vessels. General specifications
(ISO 12402-3:2006, NEQ)
(ISO 12402-4:2006, NEQ)
(ISO 12402-5:2006, NEQ)
(ISO 12402-6:2006, NEQ)
ГОСТ Р 58108-2019
ОКС 97.220.40
Дата введения
1 мая 2020 года
Предисловие
1 РАЗРАБОТАН Ассоциацией Саморегулируемой организацией "Отраслевое объединение национальных производителей в сфере физической культуры и спорта "Промспорт" (СРО "Промспорт")
2 ВНЕСЕН Техническим комитетом по стандартизации ТК 444 "Спортивные и туристские изделия, оборудование, инвентарь, физкультурные и спортивные услуги"
3 УТВЕРЖДЕН И ВВЕДЕН В ДЕЙСТВИЕ Приказом Федерального агентства по техническому регулированию и метрологии от 1 октября 2019 г. N 860-ст
4 В настоящем стандарте учтены основные нормативные положения следующих международных стандартов:
- ИСО 12402-3:2006 "Индивидуальные средства спасения на воде. Часть 3. Жилеты, уровень функциональности 150. Требования безопасности" (ISO 12402-3:2006, Personal flotation devices - Part 3: Lifejackets, performance level 150 - Safety requirements, NEQ);
- ИСО 12402-4:2006 "Индивидуальные средства спасения на воде. Часть 4. Жилеты, уровень функциональности 100. Требования безопасности" (ISO 12402-4:2006, Personal flotation devices - Part 4: Lifejackets, performance level 100 - Safety requirements, NEQ);
- ИСО 12402-5:2006 "Индивидуальные средства спасения на воде. Часть 5. Средства обеспечения плавучести, уровень функциональности 50 - Требования безопасности" (ISO 12402-5:2006, Personal flotation devices - Part 5: Buoyancy aids (level 50) - Safety requirements, NEQ);
- ИСО 12402-6:2006 "Индивидуальные средства спасения на воде. Часть 6. Спасательные жилеты и средства обеспечения плавучести специального назначения. Требования безопасности и дополнительные методы испытаний" (ISO 12402-6:2006, Personal flotation devices - Part 6: Special purpose lifejackets and buoyancy aids - Safety requirements and additional test methods, NEQ)
5 ВЗАМЕН ГОСТ Р 58108-2018
Правила применения настоящего стандарта установлены в статье 26 Федерального закона от 29 июня 2015 г. N 162-ФЗ "О стандартизации в Российской Федерации". Информация об изменениях к настоящему стандарту публикуется в ежегодном (по состоянию на 1 января текущего года) информационном указателе "Национальные стандарты", а официальный текст изменений и поправок - в ежемесячном информационном указателе "Национальные стандарты". В случае пересмотра (замены) или отмены настоящего стандарта соответствующее уведомление будет опубликовано в ближайшем выпуске ежемесячного информационного указателя "Национальные стандарты". Соответствующая информация, уведомление и тексты размещаются также в информационной системе общего пользования - на официальном сайте Федерального агентства по техническому регулированию и метрологии в сети Интернет (www.gost.ru)
1 Область применения
Настоящий стандарт устанавливает общие технические условия на спасательные и страховочные жилеты (далее - жилеты), используемые для водного туризма и занятий спортом на акваториях.
Настоящий стандарт не распространяется на судовые спасательные и рабоче-страховочные жилеты, требования к которым установлены ГОСТ Р 52638, ГОСТ Р 54613 и ГОСТ Р 55946.
2 Нормативные ссылки
В настоящем стандарте использованы нормативные ссылки на следующие стандарты:
ГОСТ 2405 Манометры, вакуумметры, мановакуумметры, напоромеры, тягомеры и тягонапоромеры. Общие технические условия
ГОСТ 32074 Световозвращающие элементы детской и подростковой одежды. Общие технические условия
ГОСТ Р 52638 Средства спасения экипажей инженерных сооружений, эксплуатируемых на акваториях. Общие технические требования
ГОСТ Р 54613 Воздушный транспорт. Индивидуальные и групповые спасательные плавсредства (плоты) воздушных судов гражданской авиации. Общие технические требования
ГОСТ Р 55946 Средства спасания экипажей инженерных сооружений, эксплуатируемых на акваториях, индивидуальные. Общие технические условия
Примечание - При пользовании настоящим стандартом целесообразно проверить действие ссылочных стандартов в информационной системе общего пользования - на официальном сайте Федерального агентства по техническому регулированию и метрологии в сети Интернет или по ежегодному информационному указателю "Национальные стандарты", который опубликован по состоянию на 1 января текущего года, и по выпускам ежемесячного информационного указателя "Национальные стандарты" за текущий год. Если заменен ссылочный стандарт, на который дана недатированная ссылка, то рекомендуется использовать действующую версию этого стандарта с учетом всех внесенных в данную версию изменений. Если заменен ссылочный стандарт, на который дана датированная ссылка, то рекомендуется использовать версию этого стандарта с указанным выше годом утверждения (принятия). Если после утверждения настоящего стандарта в ссылочный стандарт, на который дана датированная ссылка, внесено изменение, затрагивающее положение, на которое дана ссылка, то это положение рекомендуется применять без учета данного изменения. Если ссылочный стандарт отменен без замены, то положение, в котором дана ссылка на него, рекомендуется применять в части, не затрагивающей эту ссылку.
3 Термины и определения
В настоящем стандарте применены следующие термины с соответствующими определениями:
3.1 спасательный жилет: Средство, которое при соблюдении надлежащих условий эксплуатации, должно увеличить возможность выживания человека при его длительном нахождении в воде, за счет обеспечения дополнительной плавучести.
3.2 страховочный жилет: Элемент экипировки, предназначенный для пользователей, умеющих плавать, увеличивающий возможность выживания человека, используемый при удалении от берега или спасательного средства не более 500 м.
3.3 плавучесть: Способность жилета удерживать на плаву пользователя.
3.4 наполнитель жилета: Материал, обладающий собственной плавучестью, плотностью не менее (33 +/- 5) кг/м3 или газ (воздух), накачиваемый во внутреннюю воздухонепроницаемую полость жилета.
Примечания
1 В качестве материала наполнителя при производстве жилетов следует использовать трудновоспламеняемый материал, имеющий структуру замкнутых ячеек.
2 В качестве газа, накачиваемого в воздухонепроницаемую полость жилета, следует использовать невоспламеняемый газ (воздух).
3.5 аварийный световой сигнал (электроогонь поиска): Устройство, вырабатывающее свет с определенной яркостью и интенсивностью, предназначенное для обнаружения человека в воде.
3.6 подъемная петля: Элемент жилета, используемый при извлечении пользователя из воды.
3.7 свисток: Устройство, для подачи звукового сигнала (свист или писк) при продувании через него воздуха, предназначенное для обнаружения человека в воде.
3.8 защитное покрытие: Материал, предохраняющий от механических и температурных повреждений, зацепления жилетов за внешние предметы.
3.9 маломерное судно: Судно, длина которого не должна превышать 20 м и общее количество людей на котором не должно превышать 12.
3.10 живучесть маломерного судна: Способность судна противостоять аварийным повреждениям, сохраняя свою плавучесть, эксплуатационные и мореходные качества, обеспечивать безопасность находящихся на борту людей и сохранность груза.
3.11 самосброс: Широкая стропа, которую пропускают вокруг жилета, со специальной пряжкой, позволяющей быстро разъединить стропу и сбросить буксируемый груз.
Примечание - Предназначен для проведения спасательных работ, буксировки лодки, весла или других предметов.
3.12 бурная вода (бурное течение, белая вода): Турбулентное течение реки, в котором встречаются камни, сливы, пенные бочки и другие препятствия, усложняющие сплав на туристических и спортивных судах.
Примечание - Размер и мощность препятствий определяет категорию сложности реки.
3.13 категория сложности: Уровни сложности рек для сплава.
Примечание - Международная спортивная классификация выделяет шесть категорий: от первой - несложной и безопасной, до шестой - верхнего предела опасности и сложности.
3.14 заметность: Свойство объекта выделяться на окружающем фоне.
4 Классификация
Спасательные жилеты классифицируют следующим образом:
- по конструкционным классам;
- уровням плавучести;
- области применения.
4.1 Конструкционные классы
В зависимости от системы (материала, устройства), обеспечивающей плавучесть, жилеты подразделяют на следующие классы;
а) жилеты, при производстве которых применяют материал с собственной плавучестью.
б) жилеты, надуваемые для создания плавучести.
4.2 Уровни плавучести
В зависимости от особенностей водного объекта, удаления от берега и подготовки пользователя жилеты подразделяют на следующие уровни плавучести.
4.2.1 Уровень плавучести 150 и выше
Жилеты уровня плавучести 150 предназначены для умеющих и не умеющих плавать пользователей любого возраста и любой массы тела. Жилеты этого уровня предназначены для общего использования в море, на неограниченных по удаленности от берега акваториях, в том числе в тяжелых погодных условиях. Они переворачивают человека в бессознательном состоянии лицом вверх и удерживают в безопасном положении, чтобы рот человека находился выше уровня воды. Эффективность жилетов может быть снижена, если пользователь надевает тяжелую и/или водонепроницаемую одежду.
Жилеты уровня плавучести 150 изготавливают из материалов ярко-красного или оранжевого цвета, оснащают световозвращающими элементами общей площадью не менее 300 см2 и свистком.
Данные жилеты являются спасательными и предназначены для использования в текущих водах, на бурной воде и при ношении тяжелой и водонепроницаемой одежды, в случаях, когда пользователь не способен помочь себе из-за травмы или истощения.
4.2.2 Уровень плавучести 100
Жилеты уровня плавучести 100 предназначены для умеющих плавать пользователей любого возраста и любой массы тела. Жилеты этого уровня предназначены для использования в морских районах или внутренних водных бассейнах с высотой волны до 2,0 м и удалении от берега не более 12 морских миль, на реках со спокойным, не бурным течением и на реках с бурной водой до третьей категории сложности включительно.
Данные жилеты не поворачивают человека в бессознательном состоянии лицом вверх (особенно при ношении тяжелой одежды), их используют в случаях, когда может быть оказана помощь со стороны или, когда пользователь может помочь себе сам. Они должны быть удобны при длительном ношении.
Надводная часть должна быть окрашена в ярко-красный или оранжевый цвет.
Жилеты уровня плавучести 100 оснащают световозвращающими элементами общей площадью не менее 200 см2 на надводной части жилета и заметными на плаву с любого направления. Данные жилеты являются спасательными.
Жилеты уровня плавучести 100 не следует использовать в условиях, когда самостоятельное спасение и самостоятельная борьба экипажа за живучесть судна неэффективны.
4.2.3 Уровень плавучести 50
Жилеты уровня плавучести 50 предназначены только для хороших пловцов и могут быть использованы в морском районе или на водных объектах без бурного течения с высотой волны однопроцентной обеспеченностью до 0,25 м и удалении не более 500 м от берега либо от места убежища.
Данные жилеты требуют активных действий пользователя для спасения. Они не удерживают лицо человека, потерявшего сознание, над поверхностью воды и не имеют достаточной плавучести для спасения людей, которые не могут помочь себе сами.
Жилеты должны быть удобны при длительном ношении и пригодны в случаях, когда более громоздкие жилеты могут нанести вред пользователю или представляют угрозу его жизни. Жилеты уровня плавучести 50 имеют минимальную массу и объем, что ограничивает использование на бурной воде, в тяжелых погодных условиях и не обеспечивают безопасность пользователя в течение длительного периода времени.
Данные жилеты являются страховочными.
4.3 Области применения
В зависимости от особенностей судна и водного объекта, на котором используют жилеты, установлены следующие области применения:
а) жилеты для моря, озер и рек со спокойным, небурным течением;
б) жилеты для сплава по бурной воде;
в) жилеты водных видов спорта и подобных видов активности на воде.
5 Технические требования
5.1 Общие требования
5.1.1 Жилеты должны соответствовать требованиям настоящего стандарта.
Все материалы, используемые при производстве жилетов, должны быть стойкими к воздействию нефтепродуктов, ультрафиолетовых излучений и к гниению.
Жилеты должны быть удобными для продолжительного ношения в воде и других случаях.
Основными функциями жилетов являются:
- обеспечение дополнительной плавучести пользователя при нахождении в воде;
- обеспечение достаточного уровня поддержки пользователя на поверхности воды, с учетом необходимого расстояния от уровня поверхности воды до рта и носа человека;
- помощь в обнаружении пользователя на поверхности воды и его спасении;
- дополнительная термоизоляция тела пользователя при нахождении в воде.
5.1.2 Жилеты уровня плавучести 150:
- должны переворачивать человека в бессознательном состоянии лицом вверх и удерживать в безопасном положении, чтобы рот находился выше уровня воды. Эффективность может быть снижена, если пользователь надевает тяжелую и/или водонепроницаемую одежду;
- должен быть снабжен свистком, надежно прикрепленным к нему шнуром;
- оснащают сигнальным огнем белого цвета, который должен гореть непрерывно после попадания в воду с силой света не менее 0,75 кд во всех направлениях верхней полусферы и иметь источник энергии, обеспечивающий свечение в течение по меньшей мере 8 ч.
5.1.3 Жилеты уровня плавучести 100 и 50 должны быть удобны при длительном ношении. В них должно быть удобно плыть и забираться в спасательную шлюпку или иное спасательное средство.
5.1.4 В зависимости от уровня плавучести жилеты укомплектовывают аксессуарами в соответствии с таблицей 1.
Таблица 1
Аксессуары для жилетов
Аксессуар
Уровень 150
Уровень 100
Уровень 50
Аварийный световой сигнал (электроогонь)
В
В
-
Свисток
О
В
Подъемная петля
Световозвращающий материал
О
Защитные покрытия
В
В
Паховые ремни
О
О
Примечание - В настоящей таблице приведены следующие обозначения: О - обязательный; В - возможный.
5.2 Плавучесть
5.2.1 Материалы (наполнитель) или газ в камере жилета должны обеспечивать его плавучесть. Использовать сыпучие гранулированные материалы для обеспечения плавучести жилета не допускается.
Минимальные значения плавучести жилета в зависимости от массы пользователя, приведены в таблице 2.
Таблица 2
Минимальные значения плавучести жилета
Масса пользователя, кг
Минимальная плавучесть, Н
уровень 150
уровень 100
уровень 50
Ребенок:
до 15 включ.
45
30
Запрещен
св. 15 до 30 включ.
60
40
Запрещен
" 30 " 40 "
75
50
35
Взрослый:
св. 40 до 50 включ.
90
60
40
" 50 " 60 "
110
70
40
" 60 " 70 "
130
80
45
" 70
150
100
50
5.2.2 Материалы с собственной плавучестью, применяемые при изготовлении жилетов, должны выдерживать деформацию после надлежащего ношения, не теряя установленных значений плавучести.
5.2.3 Максимальная потеря плавучести при испытании трех образцов жилетов не должна превышать 5% в любом материале, обеспечивающем собственную плавучесть.
Фактическая плавучесть, должна быть не менее заявленной на маркировке жилета.
5.2.4 Жилеты, надуваемые газом, проверяют на соответствие требованиям надувания до проверки на плавучесть.
5.2.5 Жилеты, оснащенные надувными камерами, должны выдерживать внутреннее давление 70 кПа без разрыва или постоянной деформации во время испытания при температурах минус 5 °C и плюс 30 °C в течение 10 мин.
5.3 Прочность
Жилеты и элементы системы регулировочных ремней должны быть прочными и выдерживать нагрузку 1,05 кН, при этом не должно возникать повреждений, результатом которых будет функциональный отказ жилета. Кроме того, средства регулировки не должны иметь проскальзывание, превышающее 25 мм.
5.4 Заметность
5.4.1 Цвет
5.4.1.1 Для изготовления жилетов уровня плавучести 150 используют материал ярко-красного или оранжевого цвета (кроме застежек молний, лент и фурнитуры).
5.4.1.2 Для изготовления жилетов уровня плавучести 100 для деталей надводной части (кроме застежек молний, лент и фурнитуры) следует использовать материал ярко-красного или оранжевого цвета. Разрешено изготавливать детали нижней части жилетов из материалов других цветов.
5.4.1.3 Жилеты уровня плавучести 50 изготавливают из материалов любых цветов.
5.4.2 Световозвращающий материал
При изготовлении жилетов необходимо использовать световозвращающие материалы, соответствующие требованиям ГОСТ 32074.
К поверхности жилетов должны быть прикреплены полосы из светоотражающего материала площадью не менее 300 см2 для уровня плавучести 150, и не менее 200 см2 для уровня плавучести 100.
При поддержке человека в неподвижном состоянии в воде со всех направлений вокруг и сверху должно быть видно не менее 50% площади светоотражающего материала.
5.5 Эксплуатационные требования
5.5.1 Общие требования
Жилеты не должны быть громоздкими, тяжелыми или неудобными, ограничивать видимость, слышимость, свободу дыхания или движения пользователя при ношении, обеспечивая достаточный комфорт, чтобы не возникало желания его снять вследствие затруднений или дискомфорта. Жилеты не должны натирать подбородок, подмышки или другие части тела. Они должны обеспечивать простое затягивание и ослабление всех регулировок, на берегу и в воде. Конструкция жилетов должна обеспечивать прилегание к телу пользователя, защищая спину и грудь от свободно протекающей вдоль тела воды, исключать образование потоков воды, направленных к голове человека.
Жилеты должны обеспечивать надежную фиксацию на теле, не соскальзывать, не всплывать над пользователем, не снижать двигательные возможности, сохраняя способность плыть в жилете и самостоятельно выбираться из воды. Жилеты укомплектовывают паховыми стропами, системами крепления, исключающими разъединение, в том числе из-за случайного зацепления за какие-либо предметы, травмы, удушение пользователя, повреждение жилета.
Все пряжки, застежки, затяжки и прочие крепления жилета должны выдерживать длительную динамическую и статическую нагрузку без разрушений и расстегивания, не ослабевая фиксации крепления.
Жилеты должны быть подобраны в соответствии с условиями их применения.
5.5.2 Требования к надеванию, подгонке по фигуре и регулировке
Жилеты должны быть простыми для надевания, обеспечивать надлежащую подгонку по фигуре и регулирование.
Завязки и крепления должны быть немногочисленными и несложными.
Надевание должно быть нетрудным и понятным после ознакомления с краткой инструкцией, выполнимо без посторонней помощи. На надевание и снятие жилета не должны влиять неблагоприятные условия, такие как плохая освещенность, холод или влажность. Надевание жилета с застегиванием всех креплений должно занимать не более 1 мин.
Средства регулирования в заявленном диапазоне размеров должны обеспечивать надежную подгонку по фигуре.
Пользователь не должен выскальзывать из жилета.
5.5.3 Показатели работы в воде
Жилеты уровня плавучести 150 должны обеспечивать надежную поддержку головы над водой, удерживать рот расслабленного человека на расстоянии 120 мм от поверхности в спокойной воде, с корпусом тела, наклоненным назад от вертикали под углом не менее 30° и не более 80°, а плоскостью лица под углом не менее 40° и не более 80°.
Пользователь должен иметь возможность поддерживать устойчивое положение.
Жилеты уровня плавучести 100 и 50 должны обеспечивать возможность плыть на груди лицом вперед.
Жилеты всех уровней плавучести должны обеспечивать безопасность прыжков в воду без получения телесных повреждений, смещения или повреждения жилета или его оборудования с высоты не менее 4,5 м.
5.6 Требования к жилетам для сплава по бурным водам
5.6.1 Прочность жилета
Жилет должен выдерживать вертикальную нагрузку 0,7 кН. Подъемные петли, за которые осуществляется спасение, должны выдерживать вертикальную нагрузку 2,4 кН.
5.6.2 Система крепления пояса - самосброс с быстрым отцеплением
5.6.2.1 Общие положения
Для проведения спасательных работ в бурной воде необходима автономная система страховочных ремней. Основным элементом системы подвески с быстрым отцеплением является крепление пояса шириной не менее 40 мм вокруг жилета. Металлическое D-образное кольцо шириной не менее 40 мм должно быть расположено сзади. Частью крепления пояса является пряжка с быстрым отцеплением, расположенная впереди для того, чтобы освободить пояс и отцепить устройство крепления в случае аварийной необходимости.
Расположение крепления пояса должно позволять пользователю самостоятельно его расстегивать и застегивать.
5.6.2.2 Механизм быстрого отцепления
Механизм быстрого отцепления не должен открываться автоматически до достижения нагрузки 2500 Н, но должен обеспечивать открытие вручную при усилии не более 110 Н в течение 10 с при следующих статических нагрузках: 250, 500, 1500, 2500 Н.
Средства подгонки не должны проскальзывать более чем на 25 мм при проведении испытания. Места подгонки должны иметь соответствующее обозначение, например в точке прохода через пряжку.
5.6.3 Конструкция жилетов должна исключать возможность случайного зацепления за какую-либо часть жилета, например за поясные ремни.
Надувные жилеты должны иметь опорную прокладку, расположенную от верхней части плеч до нижней части грудной клетки. Толщина наполнителя опорной прокладки должна быть не менее 12 мм.
Воротники жилетов должны иметь высоту 150 мм, толщину 12 мм и полностью обхватывать шею.
Жилеты для сплава по рекам с бурной водой не предназначены для лиц, массой менее 30 кг, и не достигших возраста 10 лет.
5.6.4 Требование к снятию жилета в воде (в случае запутывания)
Среднее время снятия жилетов группой испытателей не более 10 с, при этом максимальное время снятия не должно превышать 30 с.
Среднее время снятия жилета с ребенка не должно превышать 15 с для группы испытателей, при этом максимальное время не должно превышать 30 с.
5.6.5 Жилеты должны обладать минимальной плавучестью уровня 100.
5.6.6 Требования к сопротивлению нагрузкам приведены в таблице 3.
Таблица 3
Нагрузки и периоды времени для испытания на растяжение
средств специального назначения в бурных водах
Тестируемая деталь или участок
Пользователь
Нагрузка, Н
Период времени, мин
Основные застегивающие ремни <1>
Взрослые и дети
2400
10
Вспомогательные застежки <2>
Взрослые и дети
550
5
Плечевая часть, паховый ремень
Взрослые
700
Дети
500
<1> Включают в себя любой опоясывающий ремень, который можно испытывать отдельно от жилета.
<2> Включают в себя перевязывающие ленты и грудные ремни. Не включают паховые ремни.
5.7 Жилеты для гидроциклов, воднолыжного спорта или подобных видов водного спорта на буксире
Жилеты, применяемые для гидроциклов, воднолыжного спорта или подобных видов водного спорта на буксире должны соответствовать общим и специальным требованиям, указанным в настоящем стандарте, используя минимальную плавучесть уровня 100.
Жилеты с разделяемой передней частью, предназначенные для гидроциклов, воднолыжного спорта или иных видов водного спорта с использованием буксира, имеют конструкцию с тремя и более передними застежками на опоясывающих нательных ремнях, два из которых расположены на уровне грудной клетки, а один - ниже грудной клетки.
Жилеты с цельной передней частью должны иметь опоясывающий ремень на уровне ниже грудной клетки.
5.8 Жилеты для виндсерфинга, SUP серфинга, кайтинга
Жилеты для виндсерфинга, SUP серфинга, кайтинга и других подобных видов водного спорта должны соответствовать общим и специальным требованиям, указанным в стандарте, минимальной плавучестью уровня 50.
Жилеты для виндсерфинга, SUP серфинга, кайтинга допускается не укомплектовывать паховыми ремнями.
6 Методы испытаний
6.1 Площадь светоотражающего материала, конструкцию жилетов проверяют на соответствие размерам, указанным в технической документации производителя с помощью измерительных инструментов, обеспечивающих необходимую точность.
6.2 Внешний вид жилетов, цвет, четкость и читаемость маркировок проверяют визуально.
6.3 Прочность жилетов
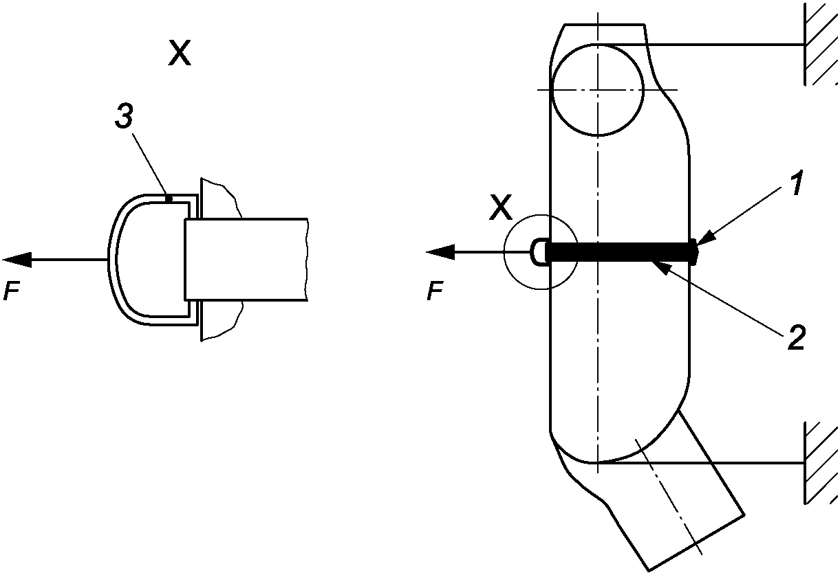
6.3.1 Застегивающее устройство (застегивающий механизм) жилетов, средства подгонки на проскальзывание на соответствие требованиям 5.3 и механизм быстрого отцепления на соответствие требованиям 5.6.2.2 испытывают на разрывной машине. Схема нагружения приведена на рисунке 1.
1 - пряжка; 2 - поясной ремень; 3 - D-образное кольцо;
F - нагрузка на D-образное кольцо
Рисунок 1 - Испытание застегивающего устройства
и средств подгонки
6.3.2 Испытание подъемной петли на прочность на соответствие требованиям 5.6.1
Жилет в застегнутом виде выдерживают в воде в течение 15 мин. К части жилета, которая удерживает его на теле пользователя, и к подъемной петле жилета прикладывают усилие на разрыв 2,4 кН в течение 10 мин.
6.3.3 Испытание жилета на прочность
К части жилета, которая удерживает его на теле пользователя, и к плечевой части жилета прикладывают усилие на разрыв в соответствии с требованиями 5.6.6.
6.4 Испытание надувных камер на соответствие требованиям 5.2.5 проводят манометром по ГОСТ 2405 для температур минус 5 °C и плюс 30 °C в течение 10 мин при внутреннем давлении 70 кПа.
6.5 Плавучесть жилетов
Примечание - Испытание на плавучесть проводят после испытания на прочность при подъемных нагрузках.
Испытания жилетов проводят в помещении с температурой окружающей среды (20 +/- 5) °C, при влажности воздуха (65 +/- 5)%. Перед испытаниями образцы выдерживают при температуре (20 +/- 5) °C не менее 12 ч.
Испытания жилетов проводят в емкости с пресной водой температурой (20 +/- 5) °C.
Определение значения плавучести жилетов проводят по следующей методике.
Испытуемый образец помещают в емкость без воды в кассету, прижимают планкой, наливают воду до отметки уровня жидкости, находящейся выше верхней точки кассеты на 50 мм. При этом, постукивая и обжимая образец, выпускают скопившийся в его полостях и под ним воздух.
Образец выдерживают в воде 15 мин, после чего приступают к снятию показаний с экрана динамометра.
Значение на экране динамометра обнуляется, фиксирующий стопор отпускают.
Получившееся значение выталкивающей силы Q1 на экране динамометра заносят в журнал первичных данных и оставляют образец в воде на 24 ч.
Через 24 ч записывают значение выталкивающей силы Q2.
Далее проводят обработку данных.
Жилеты считают удовлетворяющими требованиям 5.2.3, если разница значений выталкивающей силы Q1 при первом и Q2 при втором измерении будет отличаться не более чем на 5% и минимальное значение измерения будет не менее заявленной в паспорте на изделие.
Плавучесть жилетов проверяют с помощью испытательного стенда. На рисунке 2 приведен пример испытательного стенда.
1 - емкость с водой; 2 - кассета; 3 - испытуемый образец;
4 - рама; 5 - фиксатор; 6 - динамометр
Рисунок 2 - Испытательный стенд
6.6 Определение скорости снятия жилетов на соответствие требованиям 5.6.4
Испытателя помещают в глубокий плавательный бассейн на расстояние не менее 600 мм до бортика. По команде испытатель должен снять жилет согласно инструкции по эксплуатации как можно скорее. Фиксируют время с момента подачи команды до полного снятия жилета.
7 Маркировка
7.1 Общие сведения
На жилеты наносят маркировку стойкой краской, хорошо читаемую, на официальном языке(ах) страны назначения.
Предпочтительно приведение информации в виде пиктограмм или текста с пиктограммами. Допускается наличие только текста.
7.2 Требования к маркировке
Маркировка жилетов должна содержать следующую информацию:
- наименование изготовителя или его представителя и его адрес;
- уровень функциональности жилета;
- наименование, тип, размер жилета;
- квартал (или месяц) и год выпуска.
Примечание - Месяцы указывают арабскими цифрами (от 1 до 12), а кварталы указывают римскими цифрами (от I до IV) по порядку, начиная с 1 января;
- краткая инструкция по хранению, уходу и обслуживанию;
- краткая инструкция по применению;
- обозначение настоящего стандарта;
- максимальная масса потенциального пользователя;
- на воротнике жилетов для пользователей до 40 кг должна быть нанесена надпись буквами высотой не менее 25 мм "Для детей";
- пиктограммы или слова, указывающие возможные риски;
- фраза "Потренируйтесь в применении спасательного жилета";
- фраза "Обучите ребенка плавать в спасательном жилете".
Прикрепленная к жилету этикетка с информацией должна быть стойкой к воздействию соленой воды и выдерживать как минимум 10 стирок, выполняемых по инструкции изготовителя.
Специальные пиктограммы, показывающие конкретные рекомендации изготовителя для закрепления лент и регулировочных ремней, протаскиваемых через пряжку и фразу "Перед применением требуется тренировка с устройством" должны быть размещены на жилете и в сопроводительной документации.
8 Приемка
8.1 Для проверки соответствия жилетов требованиям настоящего стандарта устанавливают следующие категории испытаний: приемо-сдаточные и периодические.
8.2 Жилеты для приемки представляют партиями.
Партия должна состоять из жилетов одной модели, произведенной (изготовленной) одним изготовителем по одному нормативному документу, настоящему стандарту и/или иным документам изготовителя в определенный промежуток времени, снабженную товаросопроводительной документацией, обеспечивающей прослеживаемость продукции и составлять не более 1000 шт.
8.3 Жилеты проверяют на соответствие размерам, внешнему виду, площади светоотражающего материала, цвету, указанным в технической документации производителя, и требованиям 7.2. Для испытаний отбирают 2% партии, но не менее трех шт.
8.4 Если при приемке будут обнаружены жилеты, не соответствующие требованиям стандарта, то всю партию подвергают сплошному контролю. При неудовлетворительных результатах повторных испытаний всю партию жилетов бракуют и утилизируют.
8.5 Периодические испытания проводят не реже одного раза в два года на жилетах, прошедших приемо-сдаточные испытания. При периодических испытаниях жилеты проверяют на соответствие требованиям 5.4, 5.5 и 7.2.
8.6 Испытания образцов новых моделей жилетов проводят по программе и в объеме, установленном изготовителем.
9 Информация, предоставляемая изготовителем
Жилеты поставляют с руководством по эксплуатации, содержащим:
- требования 7.2;
- рекомендацию опробовать жилет перед применением;
- инструкции для надевания и применения регулировочных ремней;
- рекомендованные ограничения по применению, в том числе условия использования на море, температуре, эксплуатационный ресурс и информацию об ограничениях в применении;
- описание запасных частей и правила их замены, инструкции для обслуживания, эксплуатации и упаковки;
- рекомендации по уходу и применению жилета.
УДК 796.57:614.818.3:006.354
ОКС 97.220.40
Ключевые слова: жилеты спасательные, жилеты страховочные, плавучесть, живучесть маломерного судна, подъемная петля, самосброс, бурная вода