Главная // Актуальные документы // ГОСТ Р (Государственный стандарт)СПРАВКА
Источник публикации
М.: ФГБУ "РСТ", 2022
Примечание к документу
Документ
введен в действие с 01.03.2023.
Название документа
"ГОСТ Р ИСО 13975-2022. Национальный стандарт Российской Федерации. Пластмассы. Определение полного анаэробного биологического разложения пластмасс в регулируемых системах сбраживания шлама. Метод измерения продуцированного биогаза"
(утв. и введен в действие Приказом Росстандарта от 23.09.2022 N 988-ст)
"ГОСТ Р ИСО 13975-2022. Национальный стандарт Российской Федерации. Пластмассы. Определение полного анаэробного биологического разложения пластмасс в регулируемых системах сбраживания шлама. Метод измерения продуцированного биогаза"
(утв. и введен в действие Приказом Росстандарта от 23.09.2022 N 988-ст)
Утвержден и введен в действие
Приказом Федерального агентства
по техническому регулированию
и метрологии
от 23 сентября 2022 г. N 988-ст
НАЦИОНАЛЬНЫЙ СТАНДАРТ РОССИЙСКОЙ ФЕДЕРАЦИИ
ПЛАСТМАССЫ.
ОПРЕДЕЛЕНИЕ ПОЛНОГО АНАЭРОБНОГО БИОЛОГИЧЕСКОГО
РАЗЛОЖЕНИЯ ПЛАСТМАСС В РЕГУЛИРУЕМЫХ СИСТЕМАХ
СБРАЖИВАНИЯ ШЛАМА
МЕТОД ИЗМЕРЕНИЯ ПРОДУЦИРОВАННОГО БИОГАЗА
Plastics. Determination of the ultimate anaerobic
biodegradation of plastic materials in controlled
slurry digestion systems. Method by measurement
of biogas production
(ISO 13975:2019, IDT)
ГОСТ Р ИСО 13975-2022
Дата введения
1 марта 2023 года
1 ПОДГОТОВЛЕН Федеральным государственным бюджетным учреждением "Российский институт стандартизации" (ФГБУ "РСТ") на основе собственного перевода на русский язык англоязычной версии стандарта, указанного в
пункте 4
2 ВНЕСЕН Техническим комитетом по стандартизации ТК 230 "Пластмассы, полимерные материалы, методы их испытаний"
3 УТВЕРЖДЕН И ВВЕДЕН В ДЕЙСТВИЕ Приказом Федерального агентства по техническому регулированию и метрологии от 23 сентября 2022 г. N 988-ст
4 Настоящий стандарт идентичен международному стандарту ИСО 13975:2019 "Пластмассы. Определение полного анаэробного биологического разложения пластмасс в регулируемых системах сбраживания шлама. Метод измерения продуцированного биогаза" (ISO 13975:2019 "Plastics - Determination of the ultimate anaerobic biodegradation of plastic materials in controlled slurry digestion systems - Method by measurement of biogas production", IDT).
Международный стандарт разработан подкомитетом ПК 14 "Аспекты окружающей среды" Технического комитета ИСО/ТК 61 "Пластмассы" Международной организации по стандартизации (ИСО)
5 ВВЕДЕН ВПЕРВЫЕ
Правила применения настоящего стандарта установлены в статье 26 Федерального закона от 29 июня 2015 г. N 162-ФЗ "О стандартизации в Российской Федерации". Информация об изменениях к настоящему стандарту публикуется в ежегодном (по состоянию на 1 января текущего года) информационном указателе "Национальные стандарты", а официальный текст изменений и поправок - в ежемесячном информационном указателе "Национальные стандарты". В случае пересмотра (замены) или отмены настоящего стандарта соответствующее уведомление будет опубликовано в ближайшем выпуске ежемесячного информационного указателя "Национальные стандарты". Соответствующая информация, уведомление и тексты размещаются также в информационной системе общего пользования - на официальном сайте Федерального агентства по техническому регулированию и метрологии в сети Интернет (www.rst.gov.ru)
Биологическая переработка (биоутилизация) наряду с механической и химической переработками - практичное решение для вторичного использования пластмассовых отходов. В настоящем стандарте приведен метод оценки анаэробной биоразлагаемости таких отходов в контролируемой анаэробной суспензионной системе. Данный метод и система испытаний на анаэробное разложение являются типичными для биоразлагаемых пластмассовых отходов.
В анаэробных условиях, подходящих для роста термофильных или мезофильных микроорганизмов, наблюдается образование биогаза. Биогаз собирают в мешок при атмосферном давлении, и его объем измеряют шприцем или газовой бюреткой. Биоразлагаемость исследуемого материала оценивают как сумму количества диоксида углерода, растворенного в надосадочной жидкости (супернатанте), и общего количества выделившегося биогаза. В настоящем стандарте приведено описание метода испытания на биоразложение пластмассовых материалов в контролируемой анаэробной суспензионной системе. Настоящий стандарт отличается от ИСО 15985, в котором указаны условия анаэробного разложения с высоким содержанием твердых веществ, и от ИСО 14853, в котором представлена водная система в анаэробных условиях.
ПРЕДУПРЕЖДЕНИЕ - Осадок сточных вод и другие органические отходы могут содержать потенциально патогенные организмы. Поэтому при обращении с такими материалами следует принимать соответствующие меры предосторожности. При биологической переработке органических материалов образуются горючие газы, представляющие опасность пожара и взрыва. Эти газы также содержат значительные концентрации токсичных химических веществ, включая сероводород и аммиак. Должны быть приняты надлежащие меры безопасности, например использование вытяжной камеры, противогазов и/или тщательно вентилируемых лабораторных помещений. Токсичные испытуемые химические продукты и реагенты, свойства которых неизвестны, требуют осторожного обращения в соответствии с инструкциями по безопасности. Необходимо соблюдать осторожность при транспортировании и хранении большого количества органических веществ, подвергающихся биологической переработке.
Настоящий стандарт устанавливает метод оценки полного анаэробного биологического разложения пластмасс в регулируемых системах сбраживания шлама с концентрацией твердых веществ не более 15%, которые часто используют при обработке осадка сточных вод, фекалий домашнего скота или пищевых отходов. Метод испытания разработан с целью определения содержания, в процентах, и скорости превращения органического углерода в исследуемых материалах в диоксид углерода и метан, продуцируемых в виде биогаза. Метод применим к следующим материалам при условии, что они имеют известное содержание углерода:
- природные и/или синтетические полимеры, сополимеры или смеси;
- пластмассы, содержащие добавки, такие как пластификаторы, красители или другие соединения;
- водорастворимые полимеры.
Метод не применяется к материалам, проявляющим ингибирующее действие на испытуемые микроорганизмы в концентрации, выбранной для испытания.
Примечание - Эффекты ингибирования можно определить с помощью испытания на ингибирование (например, по ИСО 13641-1 или ИСО 13641-2).
В настоящем стандарте нормативные ссылки отсутствуют.
В настоящем стандарте применены следующие термины и определения.
ИСО и МЭК поддерживают терминологические базы данных, используемые в стандартизации, по следующим адресам:
- онлайн-платформа ИСО, доступная по адресу: https://www.iso.org/obp
- МЭК Electropedia, доступная по адресу: http:/www.electropedia.org/
3.1 полное анаэробное биологическое разложение (ultimate anaerobic biodegradation): Разложение органического соединения микроорганизмами при отсутствии кислорода на диоксид углерода, метан, воду и соли неорганических кислот других присутствующих элементов (минерализация) плюс новая биомасса.
3.2 сброженный осадок (созревший ил) (digested sludge): Смесь осветленных сточных вод и активного ила, которая культивирована в мезофильной или термофильной установке для анаэробного сбраживания для уменьшения биомассы и запаха, а также для улучшения способности к обезвоживанию ила.
Примечание - Сброженный осадок содержит совокупность анаэробных ферментативных и метаногенных микроорганизмов, продуцирующих диоксид углерода и метан.
3.3 шлам (шламообразная смесь) (slurry): Водная смесь нерастворимых веществ.
Примечание - Концентрация взвешенных веществ в шламе может достигать примерно 15%, но при этом шлам является текучим и пригодным для перекачивания.
3.4 растворенный неорганический углерод; DIC (dissolved inorganic carbon, DIC): Диоксид углерода, растворенный в воде или преобразованный в угольную кислоту, гидрокарбонат-ион и карбонат-ион.
3.5
общее количество сухих веществ (total dry solids): Количество твердых веществ, полученное путем отбора известного объема исследуемого материала или инокулята и высушивания при температуре примерно 105 °C до постоянной массы.
3.6
летучие твердые вещества (volatile solids): Количество твердых веществ, полученное вычитанием остатка известного объема исследуемого материала или инокулята после прокаливания при температуре приблизительно 550 °C из общего количества сухих веществ
(3.5) той же пробы.
Примечание - Содержание летучих твердых веществ является показателем количества присутствующего органического вещества.
3.7 теоретическое количество выделившегося биогаза; ThBiogas (theoretical amount of evolved biogas, ThBiogas): Максимальное теоретическое количество биогаза (CH4 + CO2), которое будет выделяться после полного биологического разложения органического соединения в анаэробных условиях.
Примечание - ThBiogas рассчитывают по молекулярной формуле, выраженной в кубических дециметрах биогаза, выделяющегося на грамм исследуемого материала при стандартных условиях.
3.8
индукционный период (фаза отставания) (lag phase): Время от начала испытания анаэробного ферментативного гидролиза до достижения адаптации и/или выделения разлагающих микроорганизмов и повышения степени биологического разложения химического соединения или органического вещества примерно до 10% от максимального уровня биологического разложения
(3.11).
Примечание - Измеряется в днях.
3.9
фаза биоразложения (biodegradation phase): Время от окончания индукционного периода
(3.8) испытания до достижения примерно 90% максимального уровня биологического разложения
(3.11).
Примечание - Измеряется в днях.
3.10
фаза плато (plateau phase): Время от окончания фазы биологического разложения
(3.9) до конца испытания.
Примечание - Измеряется в днях.
3.11
максимальный уровень биологического разложения (maximum level of biodegradation): Степень биологического разложения химического соединения или органического вещества в ходе испытания, выше которой во время испытания не происходит дальнейшего биологического разложения.
Примечание - Измеряется в процентах.
Данный метод испытаний разработан для определения способности пластмасс к биологическому разложению в анаэробных условиях в шламовой системе. Метаногенный инокулят получают из установки для анаэробного сбраживания, работающей на шламе сточных вод или, альтернативно, на органических отходах, таких как фекалии домашнего скота или пищевые отходы. Испытуемый материал, смешанный с инокулятом, инкубируют в анаэробных условиях в испытательном сосуде при заранее выбранной температуре в течение периода, обычно составляющего 60 дней. Период испытания может быть сокращен или продлен до тех пор, пока не будет достигнута фаза плато, но общий период не должен превышать 90 дней. Температура разложения должна составлять (55 +/- 5) °C для имитации термофильного анаэробного разложения. В качестве альтернативы температура разложения может быть установлена на уровне (35 +/- 3) °C для моделирования мезофильного анаэробного разложения.
Измеряют объем газов - диоксида углерода (CO2) и метана (CH4), образующихся в испытательном сосуде. Значительное количество CO2 в условиях испытания будет растворено в сброженном осадке или диссоциировано до гидрокарбонат-иона и карбонат-иона. Содержание растворенного неорганического углерода (DIC) измеряют в конце испытания. Количество продуцированного биогаза вычисляют по объему собранного биогаза и количеству образовавшегося DIC, превышающего значения для контрольной пробы.
Процент биоразложения вычисляют как отношение суммы чистого увеличения продуцированного биогаза и DIC к теоретическому количеству образующегося биогаза (ThBiogas). По кривой биоразложения можно проследить результаты промежуточных измерений образования биогаза.
5 Испытуемые и эталонные материалы
5.1 Испытуемый материал
Испытуемый материал обычно добавляют в виде твердых частиц для получения концентрации летучих твердых веществ в диапазоне от 7 до 10 г/дм3. Испытуемый материал предпочтительнее использовать в виде порошка или пленки.
5.2 Эталонный материал
Микрокристаллическая целлюлоза для тонкослойной хроматографии (TLC) с размером частиц не более 20 мкм для использования в качестве эталонного материала в положительном контроле.
Следует убедиться в том, что стеклянная посуда тщательно очищена и не содержит органических или токсичных веществ. Обычно используют лабораторное оборудование, приведенное ниже.
6.1 Сосуд для ферментации
Используют подходящие стеклянные колбы конической или другой формы с газонепроницаемыми соединителями и газонепроницаемыми трубками. Рекомендуемая вместимость - не менее 1,5 дм
3 с учетом требований
7.3.
6.2 Система измерения объема газа
Для сбора выделившегося биогаза используют мешок для отбора проб газа. Для измерения объема газа в мешке предпочтительнее использовать газонепроницаемый шприц или газовую бюретку. Вода, контактирующая с газом, должна иметь значение pH менее 2 для предотвращения потери CO2 из-за растворения в воде. Все соединители и трубки должны быть газостойкими и газонепроницаемыми.
6.3 Система измерения растворенного неорганического углерода
Используют подходящий анализатор углерода для прямого обнаружения растворенного неорганического углерода в надосадочной жидкости (супернатанте) в сосудах для разложения.
Например, измеряют количество выделяющегося CO
2 при добавлении избыточного количества разбавленной фосфорной кислоты (см.
приложение B).
6.4 Аппарат для анализа газа (по соглашению)
Для измерения концентрации метана и диоксида углерода в выделяемых газах используют газовый хроматограф или другое оборудование, оснащенное подходящими детектором и колонкой(ами).
6.5 Аналитический прибор (вспомогательный)
Аналитический прибор для определения летучих жирных кислот, а также общего азота по Кьельдалю, аммиачного азота, сухих твердых веществ (при температуре 105 °C) и летучих твердых веществ (при температуре 550 °C).
7.1 Основные положения
Принимают необходимые меры предосторожности для предотвращения контакта сброженного осадка с воздухом (кислородом), например продувают сосуды для разложения инертным газом.
7.2 Подготовка инокулята
Собирают сброженный осадок из реактора для ферментативного разложения на установке по переработке, предназначенной для очистки преимущественно бытовых сточных вод. В качестве альтернативы можно использовать сброженный осадок из реактора для ферментативного разложения, обрабатывающего фекалии домашнего скота или пищевые отходы. В любом случае следует убедиться в том, что сброженный осадок собирается из активированного реактора для ферментативного разложения. Отфильтровывают сброженный осадок через сито с отверстиями 2 мм. Используют бутылки с широким горлышком из полиэтилена высокой плотности или аналогичного газонепроницаемого, но расширяющегося (эластичного) материала. Из соображений безопасности не рекомендуется применять стеклянные бутылки. Заполняют бутылки до уровня 1 см от верха и плотно укупоривают. После транспортирования в лабораторию сброженный осадок расходуют непосредственно из бутылок или помещают его в лабораторный реактор для ферментативного разложения. Выпускают избыток биогаза для предотвращения повышения внутреннего давления.
В качестве альтернативного источника инокулята можно использовать выращенный в лаборатории анаэробный осадок.
Конечная концентрация общего количества сухих веществ в сброженном осадке в испытательных сосудах не должна превышать 150 г/дм3. Значение pH сброженного осадка должно быть от 7,5 до 8,5.
Рекомендуется рассмотреть возможность предварительной инкубации сброженного осадка для снижения фонового образования газа и уменьшения влияния контрольных проб. Показано, что предварительная инкубация в течение примерно 5 дней дает адекватное снижение выработки биогаза контрольной пробы без увеличения индукционного периода или фазы биологического разложения во время испытания.
Если термофильный сброженный осадок приготовлен из мезофильного сброженного осадка, его можно адаптировать, поэтапно повышая температуру культивирования с 35 °C до 55 °C в течение одного месяца. Рост термофильных метаногенов (метанопродуцентов) может быть подтвержден увеличением доли метана в биогазе.
Инокулят может быть предварительно кондиционирован, но обычно не следует использовать предварительно экспонированный инокулят, особенно в случае стандартных испытаний, имитирующих поведение при биологическом разложении в естественной среде. В зависимости от цели испытания можно также использовать предварительно экспонированный инокулят при условии, что это четко указано в отчете об испытании.
При необходимости добавляют питательные вещества в сброженный осадок во время предварительной инкубации (см. ИСО 14853 для микробиогенных веществ). В отчете об испытании указывают данные о проведении предварительной инкубации.
Устанавливают, как минимум, следующее число сосудов для разложения:
a) три сосуда для испытуемого материала (VT);
b) три сосуда для эталонного материала (VR);
c) три сосуда для контрольных образцов (VB).
Для целей скрининга (предварительной проверки) можно использовать две колбы вместо трех для испытуемого и эталонного материалов и контрольного образца.
Помещают 1,4 дм3 сброженного осадка (инокулята) в каждую емкость для разложения. Добавляют испытуемый или эталонный материал, содержащий от 10 до 15 г летучих твердых веществ, в каждый испытательный сосуд и продувают инертным газом в течение 10 мин. Аналогичным образом готовят две емкости для контрольного образца без испытуемого или эталонного материала.
Помещают сосуды в термостат или водяную баню и подсоединяют к мешкам для сбора газов. Используют газонепроницаемые трубки и газонепроницаемые соединители. Взвешивают и записывают массу сброженного осадка в каждом сосуде в конце периода сбраживания для оценки концентрации неорганического углерода. Устанавливают температуру разложения (55 +/- 5) °C для моделирования термофильного анаэробного разложения или (35 +/- 3) °C для моделирования мезофильного анаэробного разложения.
При необходимости перемешивают испытуемую смесь встряхиванием сосуда для разложения во время испытания.
Продуцированный биогаз собирают в мешок для сбора газа и измеряют объем газонепроницаемым шприцем или газовой бюреткой. Каждый день измеряют объем, давление и температуру газа для определения скорости продуцирования газа. На ранних стадиях может потребоваться проведение более частого измерения, а с течением времени - менее частого.
7.5 Продолжительность испытаний
Обычная продолжительность испытания - 60 дней. Испытание может быть сокращено или продлено до достижения фазы плато (см.
3.10), но общий период испытания не должен превышать 90 дней.
7.6 Измерение растворенного неорганического углерода (см. приложение B)
В конце испытания, после последнего измерения объема газа, дают сброженному осадку осесть в сосудах для разложения, затем открывают каждый сосуд для разложения и незамедлительно определяют концентрацию растворенного неорганического углерода DIC в надосадочной жидкости, дм3/дм3, при стандартных условиях. Для получения надосадочной жидкости содержимое не центрифугируют и не фильтруют (см. ниже). После измерения DIC записывают значение pH. Выполняют измерения DIC для контрольного опыта эталонного материала, используя эту же процедуру.
Центрифугирование или фильтрация может привести к неприемлемой (недопустимой) потере растворенного диоксида углерода. Если надосадочная жидкость не может быть проанализирована сразу, ее можно хранить не более 2 дней при температуре приблизительно 4 °C в подходящем герметичном сосуде без свободного пространства.
8 Вычисление и выражение результатов
8.1 Количество продуцированного биогаза
Сначала вычисляют объем биогаза, собранного в мешке для сбора газа из каждой емкости для разложения, при стандартных условиях температуры и давления (STP). Биогаз в мешке и сброженный осадок в сосуде находятся в равновесии, при этом биогаз в мешке содержит насыщенный водяной пар при температуре окружающей среды. Следовательно, вычитают давление водяного пара при температуре окружающей среды из атмосферного давления и вычисляют объем биогаза при стандартных условиях V0, дм3, температуры и давления по формуле
V0 = V·(273,15/T)·(p - pw)/1013,25, (1)
где V - объем биогаза, измеренный шприцем или газовой бюреткой, дм3;
T - температура окружающей среды, К;
p - давление, гПа;
pw - измеренное значение давления водяного пара, гПа (см.
таблицу давлений водяного пара в приложении D).
8.2 Количество растворенного неорганического углерода
Вычисляют объем растворенного неорганического углерода в жидкости в сосудах с испытуемым материалом при STP V0,L, дм3, по формуле
V0,L = V0,DIC·VL, (2)
где V0,DIC - объем растворенного неорганического углерода в сосуде с испытуемым материалом в конце испытания при STP, дм3/дм3;
VL - объем жидкости в сосуде, дм3.
8.3 Вычисление процента биологического разложения
Вычисляют процент биологического разложения по формуле

, (3)
где V0,g(test) - общий объем биогаза, выделившегося из сосуда с испытуемым материалом при STP, дм3;
V0,L(test) - объем растворенного неорганического углерода в жидкости в сосуде с испытуемым материалом при STP, дм3;

- среднее значение общего объема биогаза, выделившегося из сосуда с контрольной пробой при STP, дм
3;

- среднее значение объема растворенного неорганического углерода в жидкости в контрольном сосуде при STP, дм
3;
mC,i - количество углерода в испытуемом материале, г.
Примечание - Знаменатель в
формуле (3) соответствует продуцированию ThBiogas. Вычисление продуцированного ThBiogas приведено в ИСО 14853 (приложение F).
Для вычисления процента биоразложения эталонного материала также используют
формулу (3).
9 Выражение и интерпретация результатов
Составляют таблицы, содержащие измеренные и вычисленные данные по испытуемому и эталонному материалам и контрольному образцу.
Строят график зависимости суммарного количества биогаза, выделившегося из каждого сосуда для разложения (контрольной пробы, испытуемого и эталонного материалов) как функцию от времени. Строят кривую зависимости биоразложения (процент биоразложения от времени) для испытуемого и эталонного материалов (см.
приложение C). Используют средние значения, если разность между результатами отдельных измерений не более 20%. Если это не выполняется, строят кривые биоразложения для каждого сосуда отдельно.
Вычисляют среднее значение биоразложения, %, в конце испытания и указывают его как результат испытания.
10 Достоверность результатов
Результаты испытания считают достоверными, если:
a) процент биоразложения эталонного материала через 15 дней составляет более 70%;
b) разность значений биоразложения эталонного материала для разных сосудов в конце испытания не превышает 20%.
Протокол испытаний должен содержать, как минимум, следующую информацию:
a) ссылку на настоящий стандарт;
b) всю информацию, необходимую для идентификации испытуемых и эталонных материалов, включая содержание органического углерода, ThBiogas, химический состав и формулу (если известна), форму, физическое состояние и количество/концентрацию в испытуемых образцах;
c) концентрацию испытуемого материала в испытательных сосудах;
d) подробные сведения о способе измерения количества произведенного биогаза (например, тип системы, примененной для измерения объема) и анализатора углерода для измерения DIC;
e) информацию об использованном инокуляте, такую как источник, возраст, дату сбора, условия хранения, обращения, адаптацию к испытуемому материалу, предварительное термостатирование, общее количество сухих твердых веществ, летучих твердых веществ, значение pH суспензии, общее содержание азота и при необходимости летучих жирных кислот;
f) результаты, полученные для выделения биогаза и процент биоразложения для каждого сосуда и средние значения в табличной и графической формах, а также окончательный процент биоразложения для испытуемого и эталонного материалов и активность инокулята;
g) температуру инкубации;
h) значения pH и DIC испытуемых суспензий в конце испытания;
i) продолжительность индукционного периода и фазы разложения, а также продолжительность испытания;
j) причины отклонения результатов испытания.
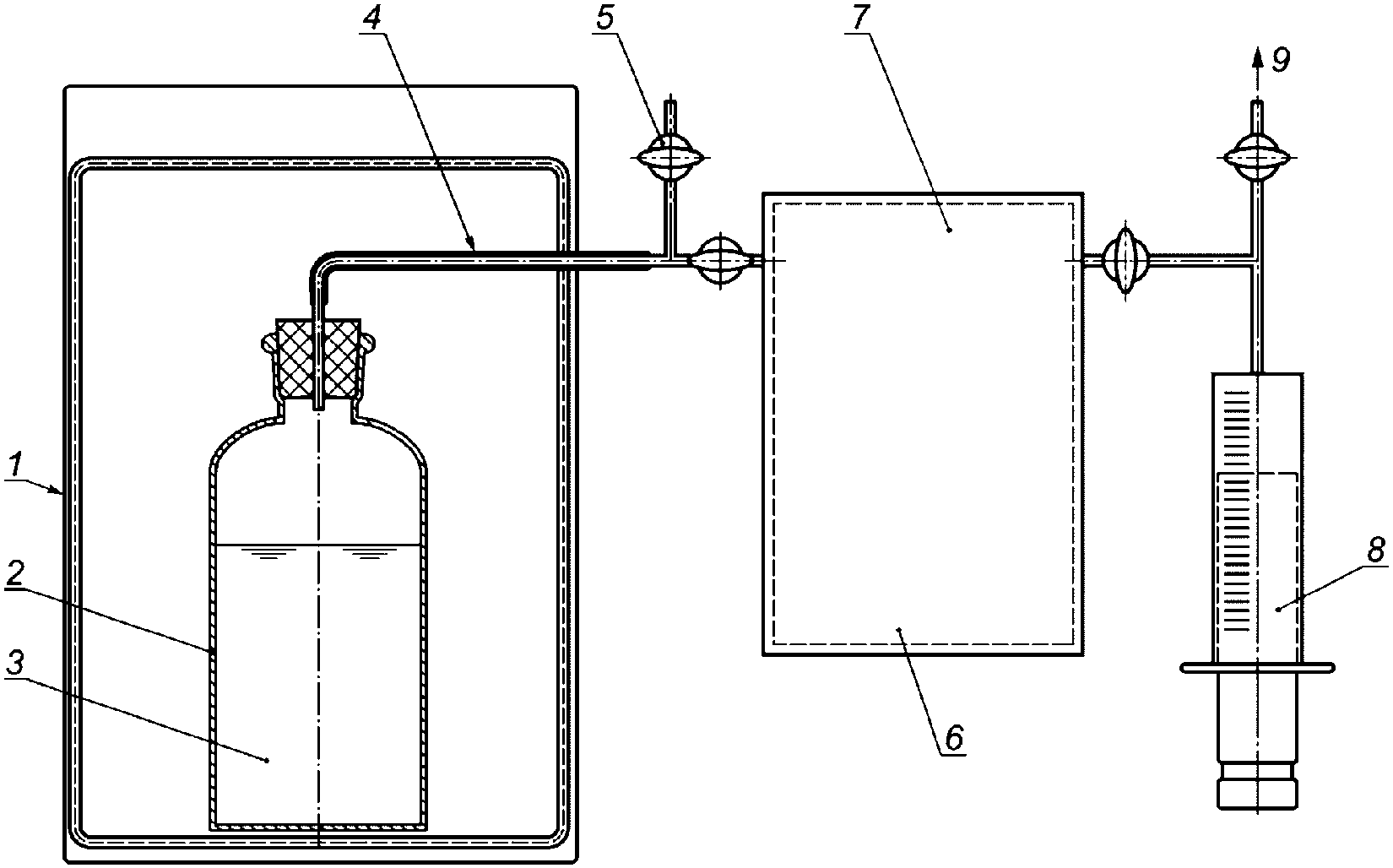
(справочное)
ПРИМЕРЫ ИСПЫТАТЕЛЬНЫХ СИСТЕМ
1 - инкубатор (термостат); 2 - сосуд для ферментативного
разложения; 3 - инокулят; 4 - газоотводная трубка;
5 - выпускной клапан; 6 - мешок для сбора газа;
7 - биогаз; 8 - шприц; 9 - выпускной клапан
Рисунок A.1 - Пример испытательной системы, использующей
шприц для измерения объема продуцированного биогаза
1 - термостатируемая баня; 2 - сосуд для ферментативного
разложения; 3 - клапан; 4 - подача газа N2; 5 - выход газа;
6 - выпуск газа N2; 7 - мешок для сбора газа;
8 - газовая бюретка; 9 - выпускной клапан
Рисунок A.2 - Пример испытательной системы, использующей
газовую бюретку для измерения объема
продуцированного биогаза
(справочное)
ПРИМЕР УСТРОЙСТВА ДЛЯ ИЗМЕРЕНИЯ БИОГАЗА,
РАСТВОРЕННОГО В ШЛАМООБРАЗНОЙ СМЕСИ
1 - делительная воронка; 2 - 1 М раствор H3PO4
(50 см3); 3 - коническая колба вместимостью 500 см3;
4 - шлам (100 г); 5 - выход газа; 6 - клапан; 7 - биогаз;
8 - мешок для сбора газа (2 дм3); 9 - выпускной клапан
Рисунок B.1 - Пример устройства для измерения количества
биогаза, растворенного в шламе при атмосферном давлении
(справочное)
ПРИМЕР КРИВОЙ БИОРАЗЛОЖЕНИЯ
1 - среднее значение для целлюлозы (n = 3); 2 - полимолочная
кислота (PLA-1); 3 - полимолочная кислота (PLA-2);
4 - полимолочная кислота (PLA-3); 5 - в конце испытания;
6 - концентрация растворенного неорганического углерода
(DIC) в надосадочной жидкости
Рисунок C.1 - Кривая биоразложения для анаэробного
расщепления полимолочной кислоты PLA и целлюлозы
в суспензионной системе при температуре 55 °C
(справочное)
ТАБЛИЦА ЗНАЧЕНИЙ ДАВЛЕНИЙ ВОДЯНОГО ПАРА
ПРИ РАЗНЫХ ЗНАЧЕНИЯХ ТЕМПЕРАТУРЫ
Таблица D.1
Давление водяного пара при разных значениях температуры
Температура T, °C | Давление p, кПа |
20 | 2,3388 |
21 | 2,4877 |
22 | 2,6447 |
23 | 2,8104 |
24 | 2,9850 |
25 | 3,1690 |
26 | 3,3629 |
27 | 3,5670 |
28 | 3,7818 |
29 | 4,0078 |
30 | 4,2455 |
31 | 4,4953 |
32 | 4,7578 |
33 | 5,0335 |
34 | 5,3229 |
35 | 5,6276 |
36 | 5,9453 |
37 | 6,2795 |
38 | 6,6298 |
39 | 6,9969 |
40 | 7,3814 |
41 | 7,7840 |
Данные взяты из CRC (Справочник по химии и физике)
[3].
Примечание - Зависимость между температурой, °C, и давлением водяного пара, кПа, применяя уравнение Клаузиуса-Клапейрона определяют по формуле
p = exp [- 5272,9/(273,15 + T) + 21,141]. (D.1)
[1] | Yamamoto K., Murakami A., Iwahori K. Biogas and Methane Yields from Paper Sludge by Anaerobic Digestion, Japanese Journal of Water Treatment Biology, Vol. 44, pp. 77 - 86 (2008) |
[2] | Yagi H., Ninomiya F., Funabashi M., Kunioka M. Anaerobic Biodegradation Tests of Poly(lactic acid) under Mesophilic and Thermophilic Conditions Using a New Evaluation System for Methane Fermentation in Anaerobic Sludge, Int. J. Mol. Sci., Vol. 10, pp. 3824 - 3835 (2009) |
| Lide D.R., & Frederikse H.P.R. (eds), CRC Handbook of Chemistry and Physics, 75th ed., CRC Press (1994-95) |
[4] | ISO 8245 | Water quality. Guidelines for the determination of total organic carbon (TOC) and dissolved organic carbon (DOC) |
[5] | ISO 13641-1 | Water quality. Determination of inhibition of gas production of anaerobic bacteria. Part 1. General test |
[6] | ISO 13641-2 | Water quality. Determination of inhibition of gas production of anaerobic bacteria. Part 2. Test for low biomass concentrations |
[7] | ISO 15985 | Plastics. Determination of the ultimate anaerobic biodegradation under high-solids anaerobic-digestion conditions. Method by analysis of released biogas |
[8] | ISO 14853:2016 | Plastics. Determination of the ultimate anaerobic biodegradation of plastic materials in an aqueous system. Method by measurement of biogas production |
УДК 678:691.175:006.354 | |
Ключевые слова: пластмассы, определение полного анаэробного биологического разложения пластмасс в регулируемых системах сбраживания шлама, метод измерения производства биогаза |