Главная // Актуальные документы // ГОСТ Р (Государственный стандарт)СПРАВКА
Источник публикации
М.: ФГБУ "Институт стандартизации", 2023
Примечание к документу
Документ
введен в действие с 01.03.2024.
Название документа
"ГОСТ Р 70896-2023. Национальный стандарт Российской Федерации. Элементы преобразования частоты лазерного излучения. Типы и основные параметры"
(утв. и введен в действие Приказом Росстандарта от 30.08.2023 N 761-ст)
"ГОСТ Р 70896-2023. Национальный стандарт Российской Федерации. Элементы преобразования частоты лазерного излучения. Типы и основные параметры"
(утв. и введен в действие Приказом Росстандарта от 30.08.2023 N 761-ст)
Утвержден и введен в действие
агентства по техническому
регулированию и метрологии
от 30 августа 2023 г. N 761-ст
НАЦИОНАЛЬНЫЙ СТАНДАРТ РОССИЙСКОЙ ФЕДЕРАЦИИ
ЭЛЕМЕНТЫ ПРЕОБРАЗОВАНИЯ ЧАСТОТЫ ЛАЗЕРНОГО ИЗЛУЧЕНИЯ
ТИПЫ И ОСНОВНЫЕ ПАРАМЕТРЫ
Nonlinear elements of harmonic generators.
Types and basic parameters
ГОСТ Р 70896-2023
Дата введения
1 марта 2024 года
1 РАЗРАБОТАН Акционерным обществом "Российский научно-исследовательский институт "Электронстандарт" (АО "РНИИ "Электронстандарт")
2 ВНЕСЕН Техническим комитетом по стандартизации ТК 303 "Электронная компонентная база, материалы и оборудование"
3 УТВЕРЖДЕН И ВВЕДЕН В ДЕЙСТВИЕ
Приказом Федерального агентства по техническому регулированию и метрологии от 30 августа 2023 г. N 761-ст
4 ВВЕДЕН ВПЕРВЫЕ
Правила применения настоящего стандарта установлены в статье 26 Федерального закона от 29 июня 2015 г. N 162-ФЗ "О стандартизации в Российской Федерации". Информация об изменениях к настоящему стандарту публикуется в ежегодном (по состоянию на 1 января текущего года) информационном указателе "Национальные стандарты", а официальный текст изменений и поправок - в ежемесячном информационном указателе "Национальные стандарты". В случае пересмотра (замены) или отмены настоящего стандарта соответствующее уведомление будет опубликовано в ближайшем выпуске ежемесячного информационного указателя "Национальные стандарты". Соответствующая информация, уведомление и тексты размещаются также в информационной системе общего пользования - на официальном сайте Федерального агентства по техническому регулированию и метрологии в сети Интернет (www.rst.gov.ru)
Настоящий стандарт распространяется на вновь разрабатываемые и модернизируемые элементы преобразования частоты лазерного излучения (далее - элементы) и устанавливает классификацию элементов по типам и основные параметры элементов, а также систему условных обозначений элементов.
Настоящий стандарт следует применять для выбора параметров при разработке технических заданий на научно-исследовательские и опытно-конструкторские работы, программ испытаний опытных образцов.
Настоящий стандарт предназначен для применения предприятиями, организациями и другими субъектами научной и хозяйственной деятельности независимо от форм собственности и подчинения, а также федеральными органами исполнительной власти Российской Федерации, участвующими в разработке, производстве, эксплуатации элементов в соответствии с действующим законодательством.
В настоящем стандарте использованы нормативные ссылки на следующие стандарты:
ГОСТ 15093 Лазеры и устройства управления лазерным излучением. Термины и определения
ГОСТ 19319 Лазеры твердотельные. Основные параметры
Примечание - При пользовании настоящим стандартом целесообразно проверить действие ссылочных стандартов в информационной системе общего пользования - на официальном сайте Федерального агентства по техническому регулированию и метрологии в сети Интернет или по ежегодному информационному указателю "Национальные стандарты", который опубликован по состоянию на 1 января текущего года, и по выпускам ежемесячного информационного указателя "Национальные стандарты" за текущий год. Если заменен ссылочный стандарт, на который дана недатированная ссылка, то рекомендуется использовать действующую версию этого стандарта с учетом всех внесенных в данную версию изменений. Если заменен ссылочный стандарт, на который дана датированная ссылка, то рекомендуется использовать версию этого стандарта с указанным выше годом утверждения (принятия). Если после утверждения настоящего стандарта в ссылочный стандарт, на который дана датированная ссылка, внесено изменение, затрагивающее положение, на которое дана ссылка, то это положение рекомендуется применять без учета данного изменения. Если ссылочный стандарт отменен без замены, то положение, в котором дана ссылка на него, рекомендуется применять в части, не затрагивающей эту ссылку.
В настоящем стандарте применены термины по ГОСТ 15093, а также следующие термины с соответствующими определениями:
3.1 апертура: Проекция оптического канала элемента, через который проходит пучок лазерного излучения, на плоскость перпендикулярную к направлению распространения лазерного пучка.
3.2 элемент преобразования частоты лазерного излучения: Оптическое изделие, выполненное из кристаллического материала, обладающего нелинейной поляризуемостью, оформленное конструктивно и технологически таким образом, что для его функционального использования (но не для эксплуатации по функциональному назначению) и измерения параметров не требуется дополнительных технологических или конструктивных доработок.
3.3 оптическое изделие: Часть заготовки, оформленная конструктивно и технологически таким образом, что для ее дальнейшего использования при создании элементов не требуется дополнительной оптико-механической обработки.
4.1 Элементы подразделяют на классификационные типы (в зависимости от материала оптического изделия элемента) в соответствии с таблицей 1.
Тип элемента | Обозначение типа |
Элемент из дигидрофосфата аммония | 1ФЧ |
Элемент из дигидрофосфата калия | 2ФЧ |
Элемент из ниобата лития | 3ФЧ |
Элемент из танталата лития | 4ФЧ |
Элемент из дигидроарсаната цезия | 5ФЧ |
Элемент из дидейтерофосфата калия | 6ФЧ |
Элемент из иодата лития | 7ФЧ |
Элемент из дигидрофосфата рубидия | 8ФЧ |
Элемент из барий-натрий ниобата | 9ФЧ |
Элемент из формиата лития | 10ФЧ |
Элемент из дидейтероарсената цезия | 11ФЧ |
Элемент из дидейтероарсената рубидия | 12ФЧ |
Элемент из калий-титания фосфата | 13ФЧ |
Элемент из бората бария | 14ФЧ |
4.2 Конструктивные исполнения элементов и их обозначения приведены в таблице 2.
Конструктивное исполнение элемента | Обозначение | Примечания |
В герметичном корпусе | Г | Крепление элемента при эксплуатации осуществляется за поверхность корпуса |
В негерметичном корпусе | К |
Без корпуса | Б | Крепление элемента при эксплуатации осуществляется за его поверхность |
4.3 Примеры конструктивных исполнений элементов и их обозначения приведены в
приложении А.
5.1 К основным параметрам элементов относят:
- длину волны лазерного излучения;
- апертуру;
- эффективность преобразования частоты излучения.
5.2 Длина волны преобразованного лазерного излучения определяется длинами(ой) волн (волны) преобразуемого лазерного излучения и соответствует сумме частот преобразованного лазерного излучения.
5.3 Апертура
5.3.1 Диаметр апертуры должен соответствовать одному из значений ряда, мм: 1, 2, 3, 4, 5, 6, 7, 8, 9, 10, 12, 15, 17, 20, 23, 25, 30, 32, 35, 45, 50, 60, 65.
5.3.2 Размеры большой и малой осей для апертуры в форме эллипса, а также размеры сторон для апертуры в форме прямоугольника выбирают из ряда, приведенного в
5.3.1.
5.3.3 В технически обоснованных случаях допускается устанавливать размер апертуры, отличающийся от значений указанного ряда.
5.3.4 Допустимые отклонения размеров апертуры от номинальных значений должно быть не более +/- 10%.
5.4 Эффективность преобразования частоты излучения
5.4.1 Номинальное значение эффективности преобразования частоты одномодового, с заданной плотностью и расходимостью лазерного излучения по энергии импульса (средней мощности) должно соответствовать одному из значений ряда: (10%; 12,5%; 16%; 25%; 31,5%; 40%; 50%; 63%; 80%) x 10n, где n от -1 до 1.
5.4.2 Допустимые отклонения эффективности преобразования частоты лазерного излучения по энергии импульса или средней мощности от номинальных значений должно быть не более 10%.
5.4.3 Номинальное значение энергии импульса и средней мощности преобразованного лазерного излучения должны соответствовать одному из номинальных значений, установленных в ГОСТ 19319.
5.4.4 В технически обоснованных случаях допускается устанавливать номинальное значение эффективности, отличающееся от значений указанных рядов.
6 Система условных обозначений элементов
6.1 Условное обозначение элементов должно содержать данные, необходимые для заказа элементов конкретного типа и записи ее в конструкторской документации другой продукции.
6.2 Условное обозначение элементов должно состоять из следующих элементов.
6.2.1 Элемент 1
Сочетание цифры и буквы, обозначающие тип элемента. Обозначение типа элемента должно соответствовать обозначениям, указанным в
таблице 1.
6.2.2 Элемент 2
Цифра, обозначающая длину волны преобразованного излучения в десятках нанометров.
Перед обозначением элемента 2 приводят разделительный знак "-".
6.2.3 Элемент 3
Буква, обозначающая физико-технические характеристики элемента:
П - для типа взаимодействия OO (EE);
Н - для типа взаимодействия OE (EO).
После обозначения элемента 3 ставят знак ".".
6.2.4 Элемент 4
Буква, обозначающая тип настройки на синхронизм:
Т - для температурного;
У - для углового;
Э - для электрического.
После обозначения элемента 4 ставят знак ".".
6.2.5 Элемент 5
Буква, обозначающая назначение элемента:
В - для внерезонаторного преобразования;
Р - для внутрирезонаторного преобразования.
6.2.6 Элемент 6
Буква, обозначающая конструктивное исполнение элемента. Обозначение конструктивного исполнения элемента должно соответствовать обозначениям, указанным в
таблице 2.
6.2.7 Элемент 7
Число, обозначающее размер апертуры элемента в миллиметрах:
- для апертуры в форме круга - диаметр;
- для апертуры в форме эллипса - дробь, в числителе которой размер большой, а в знаменателе размер малой осей эллипса;
- для апертуры в форме прямоугольника - размер сторон через знак "x".
Перед обозначением элемента 7 ставят разделительный знак "-".
6.2.8 Элемент 8
Число, обозначающее порядковый номер разработки, его обозначают цифрами из числового ряда от 1 до 99.
Перед обозначением элемента 8 ставят разделительный знак "-".
6.3 В обоснованных случаях допускается сокращенная запись условного обозначения с обязательным указанием обозначения типа элемента в соответствии с
таблицей 1 и порядкового номера разработки.
6.4 Примеры условных обозначений элементов
Элемент из дигидрофосфата калия (см.
таблицу 1 - 2ФЧ) для преобразования поляризованного излучения с

в

с угловой настройкой синхронизма для внерезонаторных схем генерации гармоник в герметичном корпусе с диаметром круглой апертуры 17 мм и номером разработки 08:
2ФЧ-53П.У.В - Г-17-08
Элемент из иодата лития (см.
таблицу 1 - 7ФЧ) с номером разработки 02:
7ФЧ-02
(справочное)
ПРИМЕРЫ КОНСТРУКТИВНЫХ ИСПОЛНЕНИЙ ЭЛЕМЕНТОВ
Пример 1
1 - оптическое изделие;
2 - оптическое покрытие (две рабочие поверхности)
Рисунок А.1
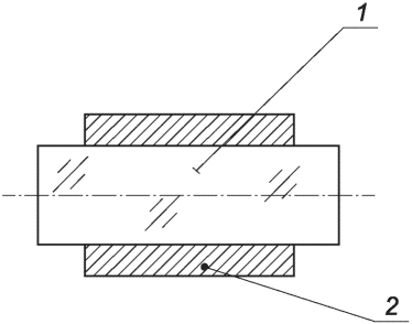
Пример 2
1 - оптическое изделие; 2 - корпус
Рисунок А.2
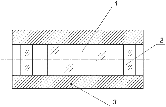
Пример 3
1 - оптическое изделие; 2 - защитная пластина
(две детали); 3 - геометрический корпус
Рисунок А.3
УДК 621.372.632.029.7:006.354 | |
Ключевые слова: элемент преобразования частоты лазерного излучения, типы, основные параметры |