Главная // Актуальные документы // ГОСТ Р (Государственный стандарт)СПРАВКА
Источник публикации
М.: ФГБУ "Институт стандартизации", 2024
Примечание к документу
Документ
введен в действие с 01.09.2024.
Название документа
"ГОСТ Р 71391-2024. Национальный стандарт Российской Федерации. Подкрепления судовых дверей и крышек аварийные. Типы, основные размеры составных частей и технические требования"
(утв. и введен в действие Приказом Росстандарта от 22.05.2024 N 628-ст)
"ГОСТ Р 71391-2024. Национальный стандарт Российской Федерации. Подкрепления судовых дверей и крышек аварийные. Типы, основные размеры составных частей и технические требования"
(утв. и введен в действие Приказом Росстандарта от 22.05.2024 N 628-ст)
Утвержден и введен в действие
Приказом Федерального агентства
по техническому регулированию
и метрологии
от 22 мая 2024 г. N 628-ст
НАЦИОНАЛЬНЫЙ СТАНДАРТ РОССИЙСКОЙ ФЕДЕРАЦИИ
ПОДКРЕПЛЕНИЯ СУДОВЫХ ДВЕРЕЙ И КРЫШЕК АВАРИЙНЫЕ
ТИПЫ, ОСНОВНЫЕ РАЗМЕРЫ СОСТАВНЫХ ЧАСТЕЙ
И ТЕХНИЧЕСКИЕ ТРЕБОВАНИЯ
Emergency reinforcements of ship doors and covers. Types,
basic dimensions of components and technical requirements
ГОСТ Р 71391-2024
Дата введения
1 сентября 2024 года
1 РАЗРАБОТАН Научно-исследовательским институтом стандартизации и сертификации "Лот" Федерального государственного унитарного предприятия "Крыловский государственный научный центр" (НИИ "Лот" ФГУП "Крыловский государственный научный центр")
2 ВНЕСЕН Техническим комитетом по стандартизации ТК 005 "Судостроение"
3 УТВЕРЖДЕН И ВВЕДЕН В ДЕЙСТВИЕ Приказом Федерального агентства по техническому регулированию и метрологии от 22 мая 2024 г. N 628-ст
4 ВВЕДЕН ВПЕРВЫЕ
Правила применения настоящего стандарта установлены в статье 26 Федерального закона от 29 июня 2015 г. N 162-ФЗ "О стандартизации в Российской Федерации". Информация об изменениях к настоящему стандарту публикуется в ежегодном (по состоянию на 1 января текущего года) информационном указателе "Национальные стандарты", а официальный текст изменений и поправок - в ежемесячном информационном указателе "Национальные стандарты". В случае пересмотра (замены) или отмены настоящего стандарта соответствующее уведомление будет опубликовано в ближайшем выпуске ежемесячного информационного указателя "Национальные стандарты". Соответствующая информация, уведомление и тексты размещаются также в информационной системе общего пользования - на официальном сайте Федерального агентства по техническому регулированию и метрологии в сети Интернет (www.rst.gov.ru)
Настоящий стандарт распространяется на подкрепления, предназначенные для установки на водогазонепроницаемые судовые двери (далее - двери) и крышки сходных и световых люков (далее - крышки) судов и плавучих сооружений (далее - суда) при аварии.
Стандарт не распространяется на подкрепления для высокоскоростных судов, в том числе с динамическими принципами поддержания.
В настоящем стандарте использованы нормативные ссылки на следующие стандарты:
ГОСТ 26.020 Шрифты для средств измерений и автоматизации. Начертания и основные размеры
ГОСТ 380 Сталь углеродистая обыкновенного качества. Марки
ГОСТ 1050 Металлопродукция из нелегированных конструкционных качественных и специальных сталей. Общие технические условия
ГОСТ 2695 Пиломатериалы лиственных пород. Технические условия
ГОСТ 8486 Пиломатериалы хвойных пород. Технические условия
ГОСТ 15150 Машины, приборы и другие технические изделия. Исполнения для различных климатических районов. Категории, условия эксплуатации, хранения и транспортирования в части воздействия климатических факторов внешней среды
ГОСТ 25309 Крышки судовых сходных люков. Технические условия
ГОСТ 25310 Крышки судовых световых люков. Технические условия
Примечание - При пользовании настоящим стандартом целесообразно проверить действие ссылочных стандартов в информационной системе общего пользования - на официальном сайте Федерального агентства по техническому регулированию и метрологии в сети Интернет или по ежегодному информационному указателю "Национальные стандарты", который опубликован по состоянию на 1 января текущего года, и по выпускам ежемесячного информационного указателя "Национальные стандарты" за текущий год. Если заменен ссылочный стандарт, на который дана недатированная ссылка, то рекомендуется использовать действующую версию этого стандарта с учетом всех внесенных в данную версию изменений. Если заменен ссылочный стандарт, на который дана датированная ссылка, то рекомендуется использовать версию этого стандарта с указанным выше годом утверждения (принятия). Если после утверждения настоящего стандарта в ссылочный стандарт, на который дана датированная ссылка, внесено изменение, затрагивающее положение, на которое дана ссылка, то это положение рекомендуется применять без учета данного изменения. Если ссылочный стандарт отменен без замены, то положение, в котором дана ссылка на него, рекомендуется применять в части, не затрагивающей эту ссылку.
В настоящем стандарте применены следующие термины с соответствующими определениями:
3.1 авария: Опасное происшествие на судне, представляющее угрозу здоровью и жизни людей, приводящее к повреждению корпуса судна или его оборудования, к потере мореходности или к повреждению судном берегового сооружения и загрязнению окружающей природной среды, для ликвидации или локализации которого требуется помощь специальных сил и средств.
3.2 подкрепление: Изделие, обеспечивающее фиксацию судовых дверей или крышек на судах при аварии.
3.3 балка: Швеллер стальной гнутый равнополочный, изготовляемый на профилегибочных станках из холоднокатаной и горячекатаной рулонной стали обыкновенного качества, углеродистой качественной конструкционной и низколегированной, имеющий прорези на концах стенки для заводки проставок, а также ручки для переноски к месту установки.
3.4 проставка: Конструкция, служащая для обеспечения связи балки с обухом и состоящая из вертлюга для крепления с балкой и крюка для крепления с обухом.
Примечание - Между вертлюгом и крюком может быть установлена цепная вставка, состоящая из одного и более звеньев цепи общего назначения.
3.5 обух: Дугообразная конструкция, привариваемая к палубе или стенке надстройки и служащая для заводки крюка проставки.
4 Типы и основные размеры
4.1 Проставки подразделяют на два типа:
- тип 1 - проставка без цепной вставки в соответствии с
рисунком 1;
- тип 2 - проставка с цепной вставкой в соответствии с
рисунком 2.
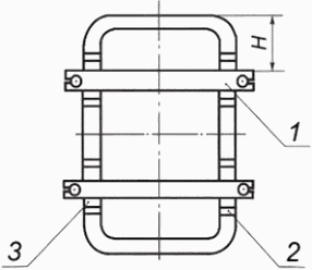
1 - балка; 2 - проставка - тип 1 (вертлюг и крюк); 3 - обух
Рисунок 1 - Подкрепление с проставкой (тип 1)
1 - балка; 2 - проставка - тип 2 (вертлюг, цепная
вставка и крюк); 3 - обух
Рисунок 2 - Подкрепление с проставкой (тип 2)
4.2 Основные размеры и параметры балок должны соответствовать
таблице 1.
Таблица 1
Основные размеры и параметры балок
Наименование | L, мм | L1, мм | Масса балки, кг |
Балка | 750 | 630 | 8,00 |
800 | 680 | 8,60 |
850 | 730 | 9,15 |
900 | 780 | 9,70 |
950 | 830 | 10,24 |
1000 | 880 | 10,76 |
1050 | 930 | 11,30 |
1100 | 980 | 11,80 |
1150 | 1030 | 12,40 |
1200 | 1080 | 12,90 |
1250 | 1130 | 13,50 |
4.3 Брусья подразделяют:
- на прямые - исполнение А (без выреза), исполнение Б (с прорезью);
- фасонные - исполнение А (с односторонним вырезом), исполнение Б (с односторонним вырезом и прорезью), исполнение В (с двусторонним вырезом).
Рисунок 3 - Брус прямой, исполнение А
Рисунок 4 - Брус прямой, исполнение Б
Таблица 2
Исполнения, основные размеры и параметры прямых брусьев
Исполнение | L, мм | Масса, кг, не более |
А | 400 | 2,2 |
750 | 4,1 |
Б | 500 | 2,6 |
650 | 3,5 |
750 | 4,0 |
4.5 Основные размеры и параметры фасонных брусьев должны соответствовать
рисункам 5 -
7 и
таблице 3.
Рисунок 5 - Брус фасонный, исполнение А
Рисунок 6 - Брус фасонный, исполнение Б
Рисунок 7 - Брус фасонный, исполнение В
Таблица 3
Исполнения, основные размеры и параметры фасонных брусьев
Исполнение | L, мм | Масса, кг, не более |
А | 500 | 6,4 |
650 | 8,2 |
750 | 9,6 |
Б | 500 | 6,0 |
650 | 7,8 |
750 | 9,2 |
В | 500 | 6,2 |
650 | 8,0 |
750 | 9,4 |
4.6 Примеры условных обозначений:
Балка длиной 750 мм:
| | ИС МЕГАНОРМ: примечание. Здесь и далее в официальном тексте документа, видимо, допущена опечатка: стандарт имеет номер ГОСТ Р 71391-2024, а не ГОСТ Р 713191. | |
Балка 750 ГОСТ Р 713191
Проставка типа 1 без цепной вставки:
Проставка 1 ГОСТ Р 713191
Проставка типа 2 с цепной вставкой:
Проставка 2 ГОСТ Р 713191
Прямой брус исполнения Б длиной 500 мм:
Брус ПБ-500 ГОСТ Р 713191
Фасонный брус исполнения А длиной 750 мм:
Брус ФА-750 ГОСТ Р 713191
5.1 Составные части подкреплений и обухи изготавливают в соответствии с требованиями настоящего стандарта по конструкторской документации, одобренной в установленном порядке.
5.2 Подкрепления комплектуют предприятия - проектанты судов и изготавливают предприятия - строители судов из составных частей.
Примечание - Предприятие-строитель по согласованию с предприятием-проектантом может изменять стандартные подкрепления под параметры нестандартных дверей и крышек.
5.3 Составные части подкреплений и обухи следует изготавливать из материалов, указанных в
таблице 4.
Таблица 4
Материалы для составных частей подкреплений
Наименование | Материал |
Брус | |
Клин | |
Балка | |
Крюк, обух | |
Цепная вставка | Цепь, некалиброванная по действующим нормативным документам (НД) |
5.4 Брусья могут быть изготовлены как из целой заготовки, так и из нескольких, склеенных между собой досок. Склеивание производят клеем для судостроения в соответствии с действующими НД.
5.5 Брусья и клинья должны быть подвергнуты огнезащитной обработке в соответствии с действующими НД.
5.6 Покрытия брусьев и балок должны соответствовать общеклиматическому морскому исполнению и категории размещения 1 по
ГОСТ 15150.
5.7 Маркировка должна быть нанесена в указанном на чертеже месте и содержать:
- обозначение чертежа;
- наименование и номер помещения;
- дату изготовления (месяц, год).
5.8 Маркировку балки и проставки производят ударным способом на глубину 0,5 мм.
5.9 Маркировку брусьев и клиньев наносят эмалью ПФ-115 черного цвета по
ГОСТ 6465, шрифтом Пр3 по
ГОСТ 26.020.
5.10 Полные средние сроки службы элементов подкреплений определяют в соответствии с действующими документами заказчиков, но не менее: металлических - 25 лет; деревянных - 10 лет; назначенный срок службы до среднего ремонта - 10 лет.
5.11 Рекомендуемые
схемы установки подкреплений на двери и крышки приведены в приложении А.
6 Указания по эксплуатации
6.1 Аварийную фиксацию дверей и крышек на судах производят в соответствии со схемами по монтажным чертежам предприятий - проектантов судов.
6.2 При монтаже дверей и крышек на судах следует устанавливать обухи на стенках надстройки, водонепроницаемых переборках, палубе или вертикальных переборках, в зависимости от размещения дверей и крышек, а также предусматривать усиление конструкций в районе установки обухов (при необходимости), обеспечив при этом возможность быстрой заводки в обухи крюков подкреплений.
6.3 Подкрепления размещают в непосредственной близости к дверям и крышкам, для которых они предназначены (или в пределах отсека), на штатных местах, обеспечив надежное их крепление и быстрое использование в случае необходимости.
(рекомендуемое)
СХЕМЫ УСТАНОВКИ ПОДКРЕПЛЕНИЙ НА ДВЕРИ И КРЫШКИ
А.1 Схема подкреплений на водогазонепроницаемые двери показана на
рисунке А.1, примеры подкреплений представлены в
таблице А.1.
1 - балка с проставками; 2 - брус прямой; 3 - клин
Таблица А.1
Примеры подкреплений для водогазонепроницаемых дверей
| H, мм | Позиция 1 | Позиция 2 | Позиция 3 |
Условное обозначение | Количество, шт. | Условное обозначение | Количество, шт. | Условное обозначение | Количество, шт. |
1000x500 | 120 | Балка 750 | 2 | Брус ПА-400 | 4 | Клин 60x100x400 | 8 |
Проставка тип 1 | 4 |
1400x600 | 300 | Балка 850 | 2 |
1600x600 | Проставка тип 1 | 4 |
1600x750 | 350 | Балка 100 | 2 |
1800x750 | 450 | Проставка тип 1 | 4 |
А.2 Схема подкреплений на крышки сходных люков размерами в свету 600 x 450 мм показана на
рисунке А.2, примеры подкреплений представлены в
таблице А.2.
1 - балка с проставками; 2 - брус; 3 - клин
Таблица А.2
Примеры подкреплений для крышек сходных люков
размерами в свету 600x450 мм
Вид крышки по ГОСТ 25309 | Позиция 1 | Позиция 2 | Позиция 3 |
Условное обозначение | Количество, шт. | Условное обозначение | Количество, шт. | Условное обозначение | Количество, шт. |
E | Балка 850 | 1 | Брус ФБ-500 | 2 | Клин 60x100x400 | 4 |
Проставка тип 2 | 2 |
G | Балка 850 | 1 | Брус ПБ-500 |
Проставка тип 1 | 2 |
F | Балка 850 | 1 | Брус ФА-500 |
Проставка тип 2 | 2 |
А.3 Схема подкреплений на квадратные крышки сходных люков показана на
рисунке А.3, примеры подкреплений представлены в
таблице А.3.
1 - балка с проставками; 2 - брус; 3 - клин
А.4 Схема подкреплений на прямоугольные крышки сходных люков показана на
рисунке А.4, примеры подкреплений представлены в
таблице А.3.
1 - балка с проставками; 2 - брус; 3 - клин
--------------------------------
<*> Аналогичным образом могут быть установлены подкрепления крышек световых люков, изготовленных по
ГОСТ 25310.
Таблица А.3
Примеры подкреплений для крышек сходных люков
Вид крышки по ГОСТ 25309 | Размер крышки в свету, мм | H, мм | Позиция 1 | Позиция 2 | Позиция 3 |
Условное обозначение | Количество, шт. | Условное обозначение | Количество, шт. | Условное обозначение | Количество, шт. |
E | 600x600 | 110 | Балка 850 | 2 | Брус ФБ-650 | 2 | Клин 60x100x400 | 8 |
Проставка тип 2 | 4 |
700x700 | Балка 950 | 2 | Брус ФБ-750 |
Проставка тип 2 | 4 |
800x800 | Балка 1050 | 2 |
Проставка тип 2 | 4 |
1200x800 | 300 | Балка 1050 | 2 | Брус ФА-500 | 4 |
Проставка тип 2 | 4 |
1400x1000 | Балка 1250 | 2 |
Проставка тип 2 | 4 |
F | 600x600 | 110 | Балка 850 | 2 | Брус ФА-650 | 2 | | |
Проставка тип 2 | 4 |
800x800 | Балка 1050 | 2 | Брус ФА-750 |
Проставка тип 2 | 4 |
1200x800 | 300 | Балка 1050 | 2 | Брус ФА-500 | 4 |
Проставка тип 2 | 4 |
1400x1000 | Балка 1250 | 2 |
Проставка тип 2 | 4 |
G | 600x600 | 110 | Балка 850 | 2 | Брус ПБ-650 | 2 |
Проставка тип 1 | 4 |
700x700 | Балка 1000 | 2 | Брус ПБ-750 |
Проставка тип 1 | 4 |
А.5 Схема подкреплений для крышек сходных люков, расположенных в подпалубном пространстве, показана на
рисунке А.5, примеры подкреплений представлены в
таблице А.4.
1 - брус; 2 - клин; 3 - брус; 4 - доска
Таблица А.4
Примеры подкреплений для крышек сходных
люков, расположенных в подпалубном пространстве
Вид крышки по ГОСТ 25309 | Размер крышки в свету, мм | Позиция 1 | Позиция 2 | | |
Условное обозначение | Количество, шт. | Условное обозначение | Количество, шт. | Условное обозначение | Количество, шт. | Условное обозначение | Количество, шт. |
E, F | 600x450 | Брус ФВ-500 | 1 | Клин 60x100x400 | 2 | Брус ПА-4000 | 1 | Доска 50x200x2500 | 1 |
600x600 |
700x700 | Брус ФВ-650 |
800x800 | Брус ФВ-750 |
G | 600x450 | Брус ПА-750 |
600x600 |
700x700 |
<*> Длины бруса и доски уточняются по месту. |
УДК [629.5.023.7/37:629.5.017.1]:006.354 | |
Ключевые слова: суда, судовые двери и крышки, аварийные подкрепления |