Главная // Актуальные документы // ГОСТ Р (Государственный стандарт)
СПРАВКА
Источник публикации
М.: ФГБУ "Институт стандартизации", 2024
Примечание к документу
Документ введен в действие с 01.07.2024.
Название документа
"ГОСТ Р 71212-2024. Национальный стандарт Российской Федерации. Сани спортивные. Технические условия"
(утв. и введен в действие Приказом Росстандарта от 24.01.2024 N 45-ст)


"ГОСТ Р 71212-2024. Национальный стандарт Российской Федерации. Сани спортивные. Технические условия"
(утв. и введен в действие Приказом Росстандарта от 24.01.2024 N 45-ст)


Содержание


Утвержден и введен в действие
Приказом Федерального агентства
по техническому регулированию
и метрологии
от 24 января 2024 г. N 45-ст
НАЦИОНАЛЬНЫЙ СТАНДАРТ РОССИЙСКОЙ ФЕДЕРАЦИИ
САНИ СПОРТИВНЫЕ
ТЕХНИЧЕСКИЕ УСЛОВИЯ
Sports sleigh. Specifications
ГОСТ Р 71212-2024
ОКС 97.220.40
Дата введения
1 июля 2024 года
Предисловие
1 РАЗРАБОТАН Ассоциацией Саморегулируемой организацией "Отраслевое объединение национальных производителей в сфере физической культуры и спорта "Промспорт" (СРО "Промспорт")
2 ВНЕСЕН Техническим комитетом по стандартизации ТК 444 "Спортивные и туристские изделия, оборудование, инвентарь, физкультурные и спортивные услуги"
3 УТВЕРЖДЕН И ВВЕДЕН В ДЕЙСТВИЕ Приказом Федерального агентства по техническому регулированию и метрологии от 24 января 2024 г. N 45-ст
4 ВВЕДЕН ВПЕРВЫЕ
Правила применения настоящего стандарта установлены в статье 26 Федерального закона от 29 июня 2015 г. N 162-ФЗ "О стандартизации в Российской Федерации". Информация об изменениях к настоящему стандарту публикуется в ежегодном (по состоянию на 1 января текущего года) информационном указателе "Национальные стандарты", а официальный текст изменений и поправок - в ежемесячном информационном указателе "Национальные стандарты". В случае пересмотра (замены) или отмены настоящего стандарта соответствующее уведомление будет опубликовано в ближайшем выпуске ежемесячного информационного указателя "Национальные стандарты". Соответствующая информация, уведомление и тексты размещаются также в информационной системе общего пользования - на официальном сайте Федерального агентства по техническому регулированию и метрологии в сети Интернет (www.rst.gov.ru)
1 Область применения
Настоящий стандарт распространяется на спортивные сани (далее - сани), предназначенные для специальной подготовки и соревнований по виду спорта "Санный спорт.
2 Нормативные ссылки
В настоящем стандарте использованы нормативные ссылки на следующие стандарты:
ГОСТ 9.032 Единая система защиты от коррозии и старения. Покрытия лакокрасочные. Группы, технические требования и обозначения
ГОСТ 9.301 Единая система защиты от коррозии и старения. Покрытия металлические и неметаллические неорганические. Общие требования
ГОСТ 9.302 (ИСО 1463-82, ИСО 2064-80, ИСО 2106-82) Единая система защиты от коррозии и старения. Покрытия металлические и неметаллические неорганические. Методы контроля
ГОСТ Р 56446 Оборудование гимнастическое. Общие требования безопасности и методы испытаний
Примечание - При пользовании настоящим стандартом целесообразно проверить действие ссылочных стандартов в информационной системе общего пользования - на официальном сайте Федерального агентства по техническому регулированию и метрологии в сети Интернет или по ежегодному информационному указателю "Национальные стандарты", который опубликован по состоянию на 1 января текущего года, и по выпускам ежемесячного информационного указателя "Национальные стандарты" за текущий год. Если заменен ссылочный стандарт, на который дана недатированная ссылка, то рекомендуется использовать действующую версию этого стандарта с учетом всех внесенных в данную версию изменений. Если заменен ссылочный стандарт, на который дана датированная ссылка, то рекомендуется использовать версию этого стандарта с указанным выше годом утверждения (принятия). Если после утверждения настоящего стандарта в ссылочный стандарт, на который дана датированная ссылка, внесено изменение, затрагивающее положение, на которое дана ссылка, то это положение рекомендуется применять без учета данного изменения. Если ссылочный стандарт отменен без замены, то положение, в котором дана ссылка на него, рекомендуется применять в части, не затрагивающей эту ссылку.
3 Виды саней
Сани подразделяют по количеству спортсменов: одноместные и двухместные.
4 Общие технические требования
Над поверхностью саней с внешней и внутренней сторон не должно быть выступающих частей крепежных элементов с острыми краями. Шероховатые поверхности не должны представлять опасности получения травмы при соприкосновении с незащищенной кожей пользователя. Все сварные швы должны быть гладкими. Выступающие резьбовые соединения во всех доступных частях оборудования должны быть постоянно закрыты.
Углы, края и выступающие части в пространстве, занимаемом пользователем, должны быть закругленными, если они выступают более чем на 5 мм и не покрыты смежными областями, расположенными не более чем на 25 мм от конца выступающей части. Радиус закругления должен быть не менее 3 мм.
При пользовании санями не допускаются застревание, захват и раздавливание в отверстиях, зазорах и/или местах сдвига деталей, которые могут представлять опасность для частей тела пользователя, его одежды или из-за деформации, или прогиба под нагрузкой, которые могут представлять опасность для пользователя.
Для предотвращения травм на элементах конструкции, имеющих прямой контакт с конечностями пользователя, запрещено наличие отверстий, превышающих в диаметре 5 мм.
Металлические части изготовляют из коррозийно-стойких материалов или защищают от коррозии в соответствии с требованиями ГОСТ 9.032, ГОСТ 9.301.
5 Требования для саней по виду спорта "натурбан"
5.1 Конструкция
Основными элементами саней являются:
- два полоза;
- два скользящих полоза;
- обтекатель;
- два кронштейна.
Управление санями осуществляют за счет взаимного перемещения вниз и вверх основных составляющих частей саней.
Управление двухместных саней может быть дополнено упорами для ступней ног второго спортсмена.
5.2 Основные параметры и размеры
5.2.1 Вес саней, включая дополнительное оборудование, указан в таблице 1.
Таблица 1
Вес саней в зависимости от вида и пользователей
Вид саней и пользователи
Вес саней, кг
не менее
не более
расчетный
Одноместные (мужчины, женщины)
21
25
23
Одноместные (юниоры, юниорки, юноши и девушки в возрасте от 16 до 17 лет)
21
25
23
Одноместные (юноши и девушки в возрасте от 14 до 15 лет)
-
16
-
Одноместные (юноши и девушки в возрасте от 12 до 13 лет)
-
14
-
Двухместные (мужчины и женщины)
25
30
27
Двухместные (юниоры, юниорки, юноши и девушки в возрасте от 16 до 17 лет)
25
30
27
Двухместные (юноши и девушки в возрасте от 14 до 15 лет)
-
24
-
5.2.2 Размеры саней
5.2.2.1 Обтекатель одноместных саней
Обтекатель не должен выступать назад за плечи и вперед за нижний край коленной чашечки спортсмена как показано на рисунке 1.
1 - длина обтекателя от плеч до нижнего края
коленной чашечки спортсмена
Рисунок 1 - Образец расположения спортсмена
в обтекателе одноместных саней
Максимальные размеры обтекателя одноместных саней показаны на рисунке 2.
Рисунок 2 - Размеры обтекателя одноместных саней
5.2.2.2 Обтекатель двухместных саней
Обтекатель двухместных саней не должен выступать назад за плечи второго номера и вперед за нижний край коленной чашечки первого номера при положении спортсменов одного за другим. Задний край сиденья первого спортсмена может быть до края его ягодиц. Пример расположения спортсменов показан на рисунке 3.
1 - длина обтекателя двухместных саней от нижнего края
коленной чашечки первого спортсмена до плеч второго
спортсмена; 2 - зона измерения максимальной высоты
обтекателя
Рисунок 3 - Образец расположения спортсменов
в обтекателе двухместных саней
Максимальные размеры обтекателя двухместных саней показаны на рисунке 4.
Рисунок 4 - Основные размеры обтекателя двухместных саней
5.2.2.3 Полоз
У двухместных саней опора для ноги второго спортсмена не может быть длиннее 300 мм. Высота полозьев в этой части не более 130 мм, ширина - не более 50 мм.
Расстояние между первым и последним болтами, скрепляющими полоз и скользящий полоз, - не более 200 мм от начала и от конца скользящего полоза.
Болты устанавливают на расстоянии не более 400 мм друг от друга.
Ширина полоза в зоне от середины переднего кронштейна до середины заднего кронштейна должна быть не менее 25 мм.
Полоз может состоять из двух и более частей, жестко скрепленных между собой, не двигающихся относительно друг друга.
Высота рога полоза не менее 270 мм.
Основные размеры полоза показаны на рисунке 5.
1 - опоры для ног двухместных саней; 2 - зона измерения
минимальной ширины полоза
Рисунок 5 - Основные размеры полоза
Размеры полоза вместе со скользящим полозом не должны превышать 50 мм в ширину и 80 мм в высоту.
5.2.2.4 Устройство стакана
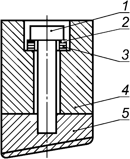
Резиновая втулка, опоясывающая ножку кронштейна, должна быть открыта с нижней стороны, для обеспечения свободного пространства между нижней гранью ножки кронштейна и дном стакана. Любое использование резины или пружин в этой области, кроме резиновой втулки опоясывающей ножку кронштейна, запрещено. Соединение элементов стакана показаны на рисунке 6.
1 - кронштейн; 2 - резиновая втулка; 3 - стакан;
4 - металлический радиальный подшипник или сквозное
отверстие; 5 - болт или винт; 6 - свободное
пространство; 7 - полоз; 8 - скользящий полоз
Рисунок 6 - Основные размеры стакана
5.2.2.5 Кронштейн
Кронштейн может состоять из двух и более частей только для изменения параллельности полозьев. Части кронштейна должны быть прочно соединены, так чтобы во время заезда они не изменяли взаимное положение по отношению друг к другу.
Вес верхней части саней (кронштейн и обтекатель) должен передаваться каждой ножкой кронштейна через болт или винт.
Подвижность четырех ножек кронштейна обеспечивают использованием металлического радиального сферического подшипника или сквозным отверстием.
Применение резиновых деталей или пружин в зоне крепления кронштейна, кроме резиновой втулки, опоясывающей ножку кронштейна в зоне примыкания к стакану полоза, запрещено.
Основной размер и устройство кронштейна показаны на рисунке 7.
Рисунок 7 - Основные размеры кронштейна
5.2.2.6 Скользящий полоз
Скользящий полоз скрепляют с полозом не менее чем четырьмя болтами. Скользящий полоз изготовляют из одной или нескольких частей. Если скользящий полоз состоит из нескольких частей, то они должны быть соединены склейкой, сваркой или клепкой.
Скользящий полоз должен сохранять прочность после сверления и фрезерования. Скользящий полоз не должен иметь поперечные надрезы.
Для фиксации скользящих полозов не допускается использование направляющих штифтов и полосок.
Для повышения безопасности внешний кант скользящего полоза и прокладки изготовляют радиусом не менее 5 мм или с безопасным скосом.
Основные размеры скользящего полоза показаны на рисунке 8.
Рисунок 8 - Основные размеры скользящего полоза
5.2.2.7 Зазор между полозом и скользящим полозом
Зазор между полозом и скользящим полозом должен быть менее 0,4 мм.
Соединение между полозом и скользящим полозом должно быть открыто, кроме 50 мм участка в начале и конце скользящего полоза.
Зона измерения зазора между полозом и скользящим полозом показаны на рисунке 9.
1 - зона измерения зазора
Рисунок 9 - Зона измерения зазора между полозом
и скользящим полозом
5.2.2.8 Прокладка для изменения угла наклона скользящего полоза
Между полозом и скользящим полозом для изменения угла наклона допускается использование непрерывной прокладки толщиной не более 1 мм и шириной не более 10 мм. Измерение этой прокладки проводят в зоне 50 мм от начала и 50 мм до конца скользящего полоза.
Вставки могут быть закреплены с помощью двухсторонней клейкой ленты, но толщина вместе с лентой не должна превышать 1 мм.
Зона измерения прокладки для изменения угла наклона скользящего полоза показана на рисунке 10.
1 - прокладка для изменения угла наклона скользящего полоза;
2 - длина прокладки; 3 - полоз; 4 - скользящий полоз
Рисунок 10 - Прокладка для изменения угла наклона
скользящего полоза
5.2.2.9 Соединение полоза и скользящего полоза
Крепление полоза и скользящего полоза выполняют с помощью болтового соединения.
Все шайбы для соединения полоза и скользящего полоза должны быть металлические. Допускается применение одной контргайки.
Использование деталей из резины или пружин в этом узле запрещено.
Узел соединения полоза и скользящего полоза показан на рисунке 11.
1 - болт, присоединяющий скользящий полоз; 2 - контршайба;
3 - шайба из металла; 4 - полоз; 5 - скользящий полоз
Рисунок 11 - Соединение полоза и скользящего полоза
6 Методы испытаний
6.1 Испытания саней проводят при температуре (20 +/- 2) °C, относительной влажности (65 +/- 2)%. Перед проведением испытаний сани выдерживают при заданных условиях не менее 24 ч.
6.2 Сани проверяют на соответствие размерам и весу, указанным в технической документации производителя и приведенным в разделе 5, с помощью средств измерений соответствующего класса точности.
6.3 Внешний вид саней, отсутствие повреждений, наличие элементов и приспособлений, четкость и читаемость маркировок проверяют визуально.
6.4 Определение общих показателей безопасности, указанных в разделе 4, проводят по ГОСТ Р 56446.
6.5 Определение прочности покрытий, защищающих от коррозии и старения, проводят по ГОСТ 9.302.
7 Маркировка и упаковка
7.1 На сани и индивидуальную упаковку наносят маркировку стойкой краской.
7.2 Требования к маркировке
Маркировка саней должна содержать следующую информацию:
- назначение;
- страна происхождения;
- обозначение настоящего стандарта.
7.3 Сани упаковывают в потребительскую (индивидуальную) тару, транспортную тару (короба), специализированные контейнеры.
7.4 К потребительской таре относят пакет из полиэтиленовой пленки или коробку.
8 Транспортирование и хранение
8.1 Упакованные сани следует транспортировать в соответствии с требованиями технической документации производителя.
8.2 Упакованные сани следует хранить в складских условиях грузоотправителя и грузополучателя, обеспечивающих сохранность изделий от механических воздействий, загрязнений, действия агрессивных сред и прямых солнечных лучей, на расстоянии не менее 1 м от нагревательных приборов при температуре от 5 °C до 30 °C и нормальной влажности воздуха.
УДК 796.323.2:006.354
ОКС 97.220.40
Ключевые слова: сани спортивные, натурбан, обтекатель, полоз, скользящий полоз