Главная // Актуальные документы // ГОСТ Р (Государственный стандарт)СПРАВКА
Источник публикации
М.: ИПК Издательство стандартов, 2000
Примечание к документу
Документ утратил силу с 1 января 2013 года в связи с изданием
Приказа Росстандарта от 13.12.2011 N 1436-ст. Взамен введен в действие
ГОСТ IEC 60754-1-2011.
Документ включен в
Перечень национальных стандартов, содержащих правила и методы исследований (испытаний) и измерений, в том числе правила отбора образцов, необходимых для применения и исполнения Федерального
закона от 22.07.2008 N 123-ФЗ и осуществления оценки соответствия (
Распоряжение Правительства РФ от 10.03.2009 N 304-р).
С 1 июля 2003 года до вступления в силу технических регламентов акты федеральных органов исполнительной власти в сфере технического регулирования носят рекомендательный характер и подлежат обязательному исполнению только в части, соответствующей целям, указанным в
пункте 1 статьи 46 Федерального закона от 27.12.2002 N 184-ФЗ.
Введен в действие с 1 июля 2000 года.
Название документа
"ГОСТ Р МЭК 60754-1-99. Испытания материалов конструкции кабелей при горении. Определение количества выделяемых газов галогенных кислот"
(принят и введен в действие Постановлением Госстандарта РФ от 03.11.1999 N 391-ст)
"ГОСТ Р МЭК 60754-1-99. Испытания материалов конструкции кабелей при горении. Определение количества выделяемых газов галогенных кислот"
(принят и введен в действие Постановлением Госстандарта РФ от 03.11.1999 N 391-ст)
Принят и введен в действие
от 3 ноября 1999 г. N 391-ст
ГОСУДАРСТВЕННЫЙ СТАНДАРТ РОССИЙСКОЙ ФЕДЕРАЦИИ
ИСПЫТАНИЯ МАТЕРИАЛОВ КОНСТРУКЦИИ КАБЕЛЕЙ ПРИ ГОРЕНИИ
ОПРЕДЕЛЕНИЕ КОЛИЧЕСТВА ВЫДЕЛЯЕМЫХ ГАЗОВ
ГАЛОГЕННЫХ КИСЛОТ
Tests of materials from cables during combustion.
Determination of the amount of evolved halogen acid gas
ГОСТ Р МЭК 60754-1-99
Дата введения
1 июля 2000 года
1. Разработан и внесен Техническим комитетом по стандартизации ТК 46 "Кабельные изделия" при ОАО Всероссийский научно-исследовательский, проектно-конструкторский и технологический институт кабельной промышленности" (ОАО ВНИИКП).
2. Принят и введен в действие
Постановлением Госстандарта России от 3 ноября 1999 г. N 391-ст.
3. Настоящий стандарт представляет собой аутентичный текст международного стандарта МЭК 60754-1-94 "Испытания по газам, выделяемым при горении материалов конструкции кабелей. Определение количества газов галогенных кислот".
4. Введен впервые.
1.1. Область применения
Настоящий стандарт устанавливает метод определения количества газов галогенных кислот, кроме фтористоводородной кислоты, выделяемых при горении компаундов на основе галогеносодержащих полимеров или имеющих галогеносодержащие добавки, отобранных от элементов конструкции кабеля (провода).
Настоящий метод не рекомендуется применять, если количество выделяющейся галогенной кислоты менее 5 мг на 1 г испытуемого образца.
Настоящий метод не распространяется на компаунды или материалы, относящиеся к "безгалогенным".
Для таких компаундов или материалов, имеющих эквивалент галогенных кислот менее 5 мг/г, рекомендуется использовать метод по
ГОСТ Р МЭК 60754-2.
В настоящем стандарте использована ссылка на следующий стандарт:
ГОСТ Р МЭК 60754-2-99. Испытания материалов конструкции кабелей при горении. Определение степени кислотности выделяемых газов измерением pH и удельной проводимости.
Метод, приведенный в настоящем стандарте, предназначен для типовых испытаний отдельных элементов конструкции кабеля. Применение этого метода позволяет установить требования к отдельным элементам конструкции кабеля в нормативной документации на конкретные кабельные изделия.
Настоящий стандарт не устанавливает требований по количественным показателям.
Испытуемый материал нагревают в потоке сухого воздуха, а выделяющиеся газы абсорбируют в 0,1 М
<*> растворе гидроксида натрия. Затем определяют количество галогенных кислот путем подкисления раствора азотной кислотой с добавлением измеренного количества 0,1 М раствора азотнокислого серебра и обратного титрования избытка 0,1 М тиоцианатом аммония, используя в качестве индикатора сернокислый аммоний, содержащий трехвалентное железо. Допускается проведение испытания другим равноценным методом, имеющим не меньшую точность получения результатов.
--------------------------------
<*> М - молярная концентрация, моль/дм3.
Для образца материала проводят два испытания, контрольную пробу проводят без образца.
За результат принимают среднее арифметическое значение результатов двух испытаний. Отдельные значения не должны отличаться от среднего более чем на +/- 10%.
5. Испытательное оборудование
Принципиальные схемы испытательного оборудования приведены на
рисунках A.1 -
A.5 Приложения A.
Все элементы испытательного оборудования должны быть герметичными. Соединения между трубкой и первым промывочным сосудом, между первым и вторым промывочными сосудами должны быть возможно короткими. Для этих соединений следует использовать трубки из стекла или кремнийорганической резины.
Примечание. На выходе из трубки, по возможности ближе к ее концу, допускается поместить пробку из кварцевой пряжи для сбора конденсата.
5.1. Трубчатая печь
Рабочая длина нагревательной зоны печи должна быть 500 - 600 мм, а ее внутренний диаметр - 40 - 60 мм. Печь должна иметь регулируемую электрическую нагревательную систему.
5.2. Трубка
Внутри печи установлена огнеупорная трубка, изготовленная из кварца, стойкого к воздействию коррозионно-активных газов. Трубку располагают приблизительно концентрично относительно печи.
Внутренний диаметр кварцевой трубки должен быть 32 - 45 мм. Со стороны входа в печь конец трубки выступает на длину 60 - 200 мм, со стороны выхода - на 60 - 100 мм.
Первоначальный зазор в соединениях допускается только для компенсации теплового расширения.
5.3. Лодочки для сжигания
Рекомендуется применение лодочек из фарфора, плавленого кварца или талькового камня размерами:
- длина 45 - 100 мм;
- ширина 12 - 39 мм;
- глубина 5 - 10 мм.
Рекомендуемый способ ввода лодочки в трубку приведен на
рисунке A.1. Каждую лодочку используют только три раза, после чего она должна быть прокалена или заменена.
5.4. Устройство для пропускания газов
После выхода из трубки газы проходят через два промывочных сосуда
(рисунок A.2), каждый из которых содержит не менее 220 см3 0,1 М раствора гидроксида натрия.
Для обеспечения турбулентного движения и лучшей абсорбции газов сгорания в первый сосуд помещают магнитную мешалку. Для лучшей абсорбции концы трубок в промывочных сосудах должны иметь внутренний диаметр не более 5 мм.
Уровень жидкости над концом трубки в каждом сосуде должен быть 100 - 120 мм.
Примечание. Уровень жидкости определяют с помощью стандартного лабораторного стеклянного сосуда внутренним диаметром около 50 мм.
5.5. Система подачи воздуха
Для обеспечения горения используют воздух.
Расход воздуха, вводимого в трубку, регулируют в зависимости от фактического внутреннего сечения трубки так, чтобы скорость потока воздуха, проходящего вдоль образца, составляла 20 см3/(мм2 x ч) +/- 10%.
Поскольку скорость потока воздуха нельзя измерить непосредственно, ее определяют через расход воздуха. Расход воздуха должен быть

.
Примечание. Расход воздуха

, см3/ч, необходимый для обеспечения установленной скорости потока воздуха, определяют по формуле

, (1)
где D - внутренний диаметр трубки, мм;
v - скорость потока воздуха, см3/(мм2 x ч).
Поскольку для скорости потока воздуха установлено допустимое отклонение +/- 10%, то оно относится также и к значению

(см.
раздел 8).
Подачу воздуха от источника воздуха высокой чистоты регулируют и контролируют с помощью игольчатого вентиля, а расход воздуха контролируют соответствующим ротаметром.
Возможны три способа.
Способ 1
Используют искусственный воздух (сжатый воздух, поставляемый в баллонах). Воздух подают в начале трубки сгорания
(рисунок A.3).
Способ 2
Используют сжатый воздух, полученный в лаборатории. Воздух подают в начале трубки сгорания после фильтрации
(рисунок A.4).
Способ 3
Используют воздух, находящийся в лаборатории, после соответствующей фильтрации. В этом случае смесь воздуха и газов сгорания прокачивают насосом
(рисунок A.5).
Примечание. При применении способов 1 - 3 оператор должен принять соответствующие меры безопасности, иметь защитные очки и одежду, так как при горении некоторых легковоспламеняющихся материалов может возникнуть обратный поток горячих газов. Следует также принять меры, чтобы не допустить избыточного давления в системе и обеспечить вытяжную вентиляцию для выходящих газов.
Образец материала для испытаний должен иметь массу 500 - 1000 мг. Образцы для испытаний отбирают от образцов материала, предназначенного для испытаний. Образец должен быть разрезан на небольшие кусочки.
7. Кондиционирование образцов
Образцы выдерживают не менее 16 ч при температуре (23 +/- 2) °C и относительной влажности воздуха (50 +/- 5)%.
Образец, взвешенный после кондиционирования с погрешностью до 0,1 мг, помещают в лодочку для сжигания, равномерно распределяя его по дну лодочки.
Лодочку помещают в трубку сгорания, находящуюся в трубчатой печи.
Расход воздуха устанавливают с помощью игольчатого вентиля на уровне

и поддерживают постоянным в течение всего испытания.
Затем температуру образца повышают с постоянной скоростью в течение (40 +/- 5) мин и поддерживают на уровне (800 +/- 10) °C в течение 20 мин. Скорость нагрева и температуру образца контролируют соответствующим методом.
Примечание. Необходимую скорость нагрева и температуру образца можно устанавливать, например, следующим методом.
Проводят предварительное контрольное испытание при указанном выше расходе воздуха, при этом термопары или другие аналогичные устройства для измерения температуры (соответственно защищенные от коррозии) помещают на место образца в пустую лодочку. По этому испытанию определяют режим нагрева, гарантирующий требуемую скорость и температуру нагрева образца при действительном испытании.
Промывочные сосуды разъединяют, а их содержимое сливают в колбу вместимостью 1000 см3. Промывочные сосуды, соединительные трубки и выходную часть трубки сгорания (после охлаждения) промывают дистиллированной или деминерализованной водой, которую после промывки сливают в колбу, содержимое которой доводят до 1000 см3.
После удаления лодочки трубку очищают по всей длине кальцинированием при температуре 950 °C.
9. Определение содержания галогенных кислот <*>
--------------------------------
<*> При применении этого метода выделяющиеся галогенные кислоты, кроме фтористоводородной кислоты, выражают через содержание соляной кислоты.
После охлаждения до комнатной температуры 200 см3 полученного раствора с помощью пипетки или бюретки отмеряют в колбу с последовательным добавлением 4 см3 концентрированной азотной кислоты, 20 см3 0,1 М раствора азотнокислого серебра и 3 см3 нитробензола. Содержимое колбы хорошо перемешивают для получения полного осадка хлористого серебра.
После этого добавляют 1 см3 40%-ного водного раствора сернокислого аммония, содержащего трехвалентное железо, и несколько капель 6 М азотной кислоты. Все это перемешивают. Затем раствор титруют 0,1 М раствором тиоцианата аммония с применением магнитной мешалки. Количество галогенных кислот выражают в миллиграммах соляной кислоты на грамм массы взятого образца:

, (2)
где A - объем 0,1 М раствора тиоцианата аммония, израсходованный при испытании, см3;
B - объем 0,1 М раствора тиоцианата аммония, израсходованный при контрольной пробе, см3;
m - масса образца, г;
M - молярная концентрация раствора тиоцианата аммония, моль/дм3.
Допускается применение других аналитических методов, имеющих не меньшую точность измерения.
(обязательное)
ИСПЫТАТЕЛЬНОЕ ОБОРУДОВАНИЕ
1 - стержневые магниты; 2 - стеклянная трубка;
3 - платиновая проволока; 4 - термопара;
5 - искусственный или сжатый воздух, отфильтрованный
и осушенный; 6 - стандартное притертое соединение,
размер которого соответствует диаметру трубки
из кварцевого стекла; 7 - образец; 8 - лодочка;
9 - трубка из кварцевого стекла; 10 - печь
Рисунок A.1. Устройство для ввода лодочки
с образцом в трубку
Рисунок A.2. Пример промывочного сосуда
1 - баллон с искусственным воздухом; 2 - редуктор;
3 - ротаметр; 4 - игольчатый вентиль; 5 - термопара;
6 - устройство для ввода лодочки с образцом;
7 - трубка из кварцевого стекла; 8 - печь;
9 - лодочка с образцом; 10 - магнитная мешалка;
11 - стержень магнитной мешалки; 12 - промывочные сосуды
Рисунок A.3. Оборудование для испытания по способу 1
с использованием искусственного воздуха
1 - сжатый воздух; 2 - редуктор;
3 - воздушный фильтр (активированный уголь);
4 - осушитель воздуха (селикагель);
5 - ротаметр; 6 - игольчатый вентиль; 7 - термопара;
8 - устройство для ввода лодочки с образцом;
9 - трубка из кварцевого стекла; 10 - печь;
11 - лодочка с образцом; 12 - магнитная мешалка;
13 - стержень магнитной мешалки; 14 - промывочные сосуды
Рисунок A.4. Оборудование для испытания по способу 2
с использованием сжатого воздуха
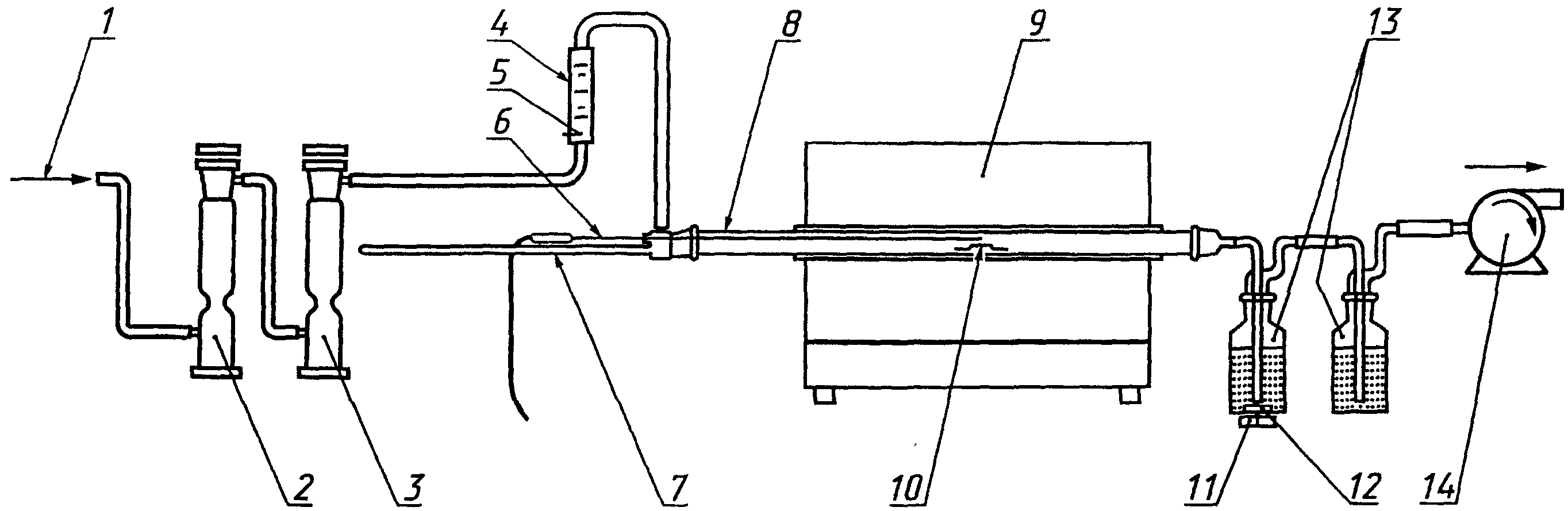
1 - воздух окружающей среды;
2 - воздушный фильтр (активированный уголь);
3 - осушитель воздуха (селикагель); 4 - ротаметр;
5 - игольчатый вентиль; 6 - термопара;
7 - устройство для ввода лодочки с образцом;
8 - трубка из кварцевого стекла; 9 - печь;
10 - лодочка с образцом; 11 - магнитная мешалка;
12 - стержень магнитной мешалки;
13 - промывочные сосуды; 14 - всасывающий насос
Рисунок A.5. Оборудование для испытания по способу 3
с использованием воздуха, прокачиваемого
всасывающим насосом