Главная // Актуальные документы // ГОСТ Р (Государственный стандарт)СПРАВКА
Источник публикации
М.: Стандартинформ, 2007
Примечание к документу
Документ утратил силу с 1 января 2013 года в связи с изданием Приказа Росстандарта от 13.12.2011 N 1173-ст. Взамен введен в действие
ГОСТ ISO 13706-2011.
Документ включен в
Перечень документов в области стандартизации, содержащих правила и методы исследований (испытаний) и измерений, в том числе правила отбора образцов, необходимые для применения и исполнения технического
регламента о безопасности машин и оборудования, а также для осуществления оценки соответствия (
Распоряжение Правительства РФ от 05.08.2010 N 1328-р).
Документ
введен в действие с 1 октября 2007 года.
Название документа
"ГОСТ Р ИСО 13706-2006. Национальный стандарт Российской Федерации. Аппараты с воздушным охлаждением. Общие технические требования"
(утв. Приказом Ростехрегулирования от 15.06.2007 N 139-ст)
"ГОСТ Р ИСО 13706-2006. Национальный стандарт Российской Федерации. Аппараты с воздушным охлаждением. Общие технические требования"
(утв. Приказом Ростехрегулирования от 15.06.2007 N 139-ст)
Утвержден и введен в действие
Приказом Ростехрегулирования
от 15 июня 2007 г. N 139-ст
НАЦИОНАЛЬНЫЙ СТАНДАРТ РОССИЙСКОЙ ФЕДЕРАЦИИ
АППАРАТЫ С ВОЗДУШНЫМ ОХЛАЖДЕНИЕМ
ОБЩИЕ ТЕХНИЧЕСКИЕ ТРЕБОВАНИЯ
Air-cooled apparatus. General technical requirements
ISO 13706:2000
Petroleum and natural gas industries.
Air-cooled heat exchangers
(IDT)
ГОСТ Р ИСО 13706-2006
Дата введения
1 октября 2007 года
Цели и принципы стандартизации в Российской Федерации установлены Федеральным
законом от 27 декабря 2002 г. N 184-ФЗ "О техническом регулировании", а правила применения национальных стандартов Российской Федерации -
ГОСТ Р 1.0-2004 "Стандартизация в Российской Федерации. Основные положения".
1. Подготовлен Федеральным государственным унитарным предприятием "Всероссийский научно-исследовательский институт стандартизации и сертификации в машиностроении" (ФГУП ВНИИНМАШ), Обществом с ограниченной ответственностью "Научно-исследовательский и проектно-конструкторский институт химического машиностроения" (ООО ЛЕННИИХИММАШ) на основе собственного аутентичного перевода стандарта, указанного в пункте 4.
2. Внесен Техническим комитетом по стандартизации ТК 260 "Оборудование химическое и нефтеперерабатывающее".
3. Утвержден и введен в действие Приказом Федерального агентства по техническому регулированию и метрологии от 15 июня 2007 г. N 139-ст.
4. Настоящий стандарт идентичен международному стандарту ИСО 13706:2000 "Нефтяная промышленность и промышленность природного газа. Теплообменники с воздушным охлаждением" (ISO 13706-2000 "Petroleum and natural gas industries - Air-cooled heat exchangers").
Наименование настоящего стандарта изменено относительно наименования идентичного ему международного стандарта для приведения в соответствие с ГОСТ Р 1.5-2004 (
пункт 3.5).
При применении настоящего стандарта рекомендуется использовать вместо ссылочных международных стандартов соответствующие им национальные стандарты Российской Федерации,
сведения о которых приведены в дополнительном Приложении D.
| | ИС МЕГАНОРМ: примечание. В официальном тексте документа, видимо, допущена опечатка: имеется в виду Федеральный закон N 116-ФЗ от 21 июля 1997 года, а не от 21 июня 1997 года. | |
5. В стандарте реализованы нормы Федеральных законов от 21 июня 1997 г.
N 116-ФЗ "О промышленной безопасности опасных производственных объектов" и от 27 декабря 2002 г.
N 184-ФЗ "О техническом регулировании".
6. Введен впервые.
Международный стандарт ИСО 13706:2000 основан на стандарте Американского нефтяного института (API) 661, четвертое издание, ноябрь 1997.
Пользователи международного стандарта ИСО 13706:2000 должны понимать, что в отдельных случаях применения могут быть необходимы дополнительные или отличающиеся требования.
Международный стандарт ИСО 13706:2000 не имеет целью запретить продавцу продавать или покупателю приобретать альтернативное оборудование или другие технические решения для конкретного случая применения.
Настоящий стандарт устанавливает требования и рекомендации по проектированию, материалам, изготовлению, контролю, испытаниям и подготовке к отгрузке аппаратов с воздушным охлаждением для использования в нефтяной и газовой промышленности.
Настоящий стандарт применим к аппаратам с воздушным охлаждением, предназначенным для охлаждения и конденсации различных сред с горизонтальными трубными пучками, но его основные требования допускается применять и к другим конфигурациям.
Нижеуказанные нормативные документы содержат положения, которые посредством ссылок в этом тексте составляют положения международного стандарта. Для датированных ссылок последующие поправки или пересмотры этих публикаций не применяются. Однако сторонам соглашений, базирующимся на международном стандарте, рекомендуется изучать возможности применения самых последних изданий нижеуказанных нормативных документов. Для недатированных ссылок необходимо использовать самое последнее издание нормативного документа, на который сделана ссылка. Комитеты - члены ISO и IEC ведут перечни действующих международных стандартов.
В настоящем стандарте использованы ссылки на следующие стандарты:
ИСО 76. Подшипники качения - Номинальные статические нагрузки
ИСО 281. Подшипники качения - Номинальные динамические нагрузки и номинальный срок службы
ИСО 286 (все части). Система допусков и посадок ИСО
ИСО 1081. Ременный привод - Клиновидные ремни, ремни с клиновидными ребрами и соответствующие шкивы с канавками - Словарь
ИСО 1459. Металлические покрытия - Защита от коррозии методом горячего цинкования - Руководящие принципы
ИСО 1461. Цинковые покрытия, полученные методом погружения в расплав, на изготовленных железных и стальных изделиях - Технические условия и методы испытаний
ИСО 2491. Тонкие параллельные шпонки и соответствующие шпоночные канавки (размеры в миллиметрах)
ИСО 3744. Акустика - Определение уровней мощности звука от источников шума с использованием звукового давления - Технический метод определения в свободном поле над отражающей плоскостью
ИСО 4183. Ременные приводы - Классические и узкие клиновидные ремни - Шкивы с канавками (система, основанная на ширине базы отсчета)
ИСО 4184. Ременные приводы - Классические и узкие клиновидные ремни - Длины в системе отсчета
ИСО 5287. Приводы с узкими клиновидными ремнями для автомобильной промышленности - Испытание на усталость
ИСО 5290. Ременные приводы - Шкивы с канавками для соединенных узких клиновидных ремней - Сечения канавок 9J, 15J, 20J и 25J (эффективная система)
ИСО 8501-1. Подготовка стальных поверхностей перед нанесением красок и родственных продуктов - Визуальная оценка чистоты поверхности - Часть 1: Степени коррозии и степени подготовки стальных поверхностей без покрытия и стальных поверхностей после полного удаления прежних покрытий
ИСО 9563. Ременные приводы - Электропроводность антистатических бесконечных синхронных ремней - Характеристики и метод испытаний
ИСО 10436. Нефтяная промышленность и промышленность природного газа - Паровые турбины общего назначения для обслуживания нефтеочистительных установок.
В настоящем стандарте применены следующие термины с соответствующими определениями:
3.1. Батарея (bank): одно или более изделий, организованных в непрерывную структуру.
3.2. Гладкая поверхность труб (bare tube surface): суммарная площадь наружных поверхностей труб на участках между внешними лицевыми поверхностями трубных досок коллектора.
3.3. Аппарат (bay): один или несколько трубных пучков, обслуживаемых одним или более вентиляторами, включая конструкции, воздухораспределительную камеру и другое сопутствующее оборудование.
Примечание. На
рисунке 1 показано типовое расположение аппаратов.
a - одинарный
b - сдвоенный
1 - трубный пучок
Рисунок 1. Типовое расположение аппаратов
3.4. Оребренная поверхность (трубы) (finned surface): общая площадь наружной поверхности, открытой для воздуха.
3.5. Теплообменник с нагнетательной тягой (forced-draught exchanger): теплообменник, спроектированный так, что трубные пучки расположены на нагнетательной стороне вентилятора.
3.6. Теплообменник с всасывающей тягой (induced-draught exchanger): теплообменник, спроектированный так, что трубные пучки расположены на всасывающей стороне вентилятора.
3.7. Изделие (item): один или несколько трубных пучков (теплообменных секций), предназначенных для самостоятельной работы.
3.8. Номер изделия (item number): идентификационный номер изделия, присвоенный покупателем.
3.9. Нормы и правила проектирования сосудов, работающих под давлением (pressure design code): признанный стандарт для сосудов, работающих под давлением, указанный покупателем или согласованный с ним.
Пример
ASME VIII
[1]: Стандарт Американского общества инженеров-механиков.
3.10. Конструкционные нормы и правила (structural code): признанный стандарт конструкций, указанный покупателем или согласованный с ним.
Примеры
AISC MO11
[2] и AISC S302
[3]: Стандарты Американского института стальных конструкций.
3.11. Трубный пучок (tube bundle): сборка коллекторов, труб и рам.
| | Применение на добровольной основе пункта 4.1 обеспечивает соблюдение требований технического регламента "О безопасности машин и оборудования", утв. Постановлением Правительства Российской Федерации от 15.09.2009 N 753 (Приказ Росстандарта от 20.08.2010 N 3108). | |

4.1. Нормы и правила проектирования сосудов, работающих под давлением, должны быть определены покупателем или согласованы с ним.
Элементы, работающие под давлением, должны соответствовать нормам и правилам проектирования сосудов, работающих под давлением, а также дополнительным требованиям, приведенным в настоящем стандарте.
Примечание. Круглый маркер (

) в начале подпункта обозначает требование к покупателю принять решение или предоставить информацию (см.
контрольный лист в Приложении B). Треугольный маркер (

) в начале подпункта означает, что эта информация включена в лист технических характеристик аппарата с воздушным охлаждением (см.
Приложение B).
4.2. Аппарат с воздушным охлаждением должен быть либо теплообменником с нагнетательной тягой, либо теплообменником с отсасывающей тягой и включать элементы, показанные на
рисунке 2, а также различные вспомогательные элементы, такие как лестницы, мостики и площадки.
a - нагнетательная тяга
b - всасывающая тяга
1 - трубный пучок; 2 - коллектор; 3 - патрубок;
4 - опорная колонна; 5 - воздухораспределительная камера;
6 - вентилятор; 7 - кольцо вентилятора;
8 - плита вентилятора; 9 - узел привода
Рисунок 2. Типичные элементы аппарата
с воздушным охлаждением
4.3.
Приложение A содержит для сведения некоторые рекомендуемые механические и конструктивные подробности.
Приложение A содержит также меры предосторожности, которые следует учитывать при определении некоторых аспектов проектирования, таких как температурные ограничения, тип нагреваемой поверхности, методы крепления труб, тип воздухоохлаждаемого теплообменника, материалы прокладок, а также эксплуатационные факторы, такие как доступ по мостикам для обслуживания.
4.4. В настоящем стандарте, где это целесообразно, в скобках для информации указаны принятые в США единицы измерения.
5.1. Продавец должен предоставить полный перечень характеристик изделия (см.
Приложение B).
5.2. Должен быть представлен чертеж с указанием основных размеров в плане и вертикальной проекции, а также размеров патрубков и их ориентации.
5.3. В заказе должно быть установлено расположение вала электродвигателя: вниз или вверх.
5.4. Для сварных соединений труб с трубной доской должны быть представлены процедура изготовления и процедура сварки.
5.5. В заказе должна полностью определяться степень заводской сборки; он должен также содержать общее описание элементов, сборка которых будет осуществляться на месте эксплуатации.
5.6. Любое предложение по заказу, полное описание которого не содержится в настоящем стандарте, должно содержать дополнительные чертежи, дающие достаточные сведения о подробностях конструкции.
5.7. Заказ должен содержать подробное описание всех исключений из предъявляемых требований.

5.8. Предложение должно содержать данные о шуме и
лист шумовых характеристик (см. Приложение B), если этого требует покупатель.

5.9. Предложение должно содержать кривые рабочих характеристик вентилятора, если этого требует покупатель.
5.10. Предложение должно содержать подробное описание метода, используемого для крепления концов ребер (
7.1.11.7).
5.11. Если продавец считает, что требования, указанные покупателем, противоречат предполагаемым целям или условиям нормальной работы оборудования или непригодны для них, то он должен информировать об этом покупателя.
6.1. Информация об утверждении

6.1.1. На каждый номер изделия продавец должен предоставить документы. Покупатель должен указать, какие документы следует предоставлять и какие из них подлежат утверждению. Документы должны содержать следующую информацию:
a) заводской номер изделия, назначение, наименование проекта и место расположения, номер заказа покупателя и заводского наряда продавца;
b) расчетное давление, максимально допустимое рабочее давление, испытательное давление, максимальную и минимальную расчетную температуру, припуск на коррозию;
c) используемые нормы и правила, а также технические условия;
d) технические условия на материалы и марки материала для всех деталей, работающих под давлением;
e) габаритные размеры;
f) размеры и места расположения опор и размеры крепежных болтов;
g) размеры патрубков, их пропускную способность, отделку поверхности, место расположения, значение, на которое они выступают за размеры коллектора, допустимые нагрузки (силы и моменты) и направление потока;
h) детали установки привода;
i) массы трубного пучка, теплообменника пустого и с водой, а также массу самого тяжелого элемента или комбинации элементов, которые, как предполагает продавец, будут подниматься за один раз;
j) значения реакций опор (стоек) на каждый вид нагрузки из перечисленных в
7.3.3;
k) требования к термообработке после сварки;
l) требования к радиографическому и другому неразрушающему контролю;
m) требования к подготовке поверхности и окраске;
n) расчетные температуры, которым могут подвергаться механические элементы и контрольно-измерительные приборы;
p) заводскую табличку и место ее расположения;
q) соединения труб с трубной доской и подготовку деталей соединений.
6.1.2. Продавец поставляет также подробные чертежи прокладок, чертежи сборки на месте эксплуатации, а также чертежи на все поставляемое вспомогательное оборудование и органы управления. На чертежах должны быть показаны электрические соединения и соединения систем управления, включая вентиляторы, исполнительные механизмы и системы подачи сигнального воздуха на пневматические приводы жалюзи или лопастей вентиляторов. Сведения о прокладках должны включать их тип и материал и быть представлены на отдельном чертеже.

6.1.3. Расчеты, которые требуют нормы проектирования сосудов, работающих под давлением, должны проводить при проектировании всех элементов, работающих под давлением, в том числе коллекторов, труб и трубных соединений. Кроме того, должна быть представлена достаточно подробная информация о нестандартных элементах, граничащих с элементами, работающими под давлением, таких как развальцованные переходные патрубки. Если это указано покупателем, расчеты должны быть предоставлены ему для утверждения.

6.1.4. Если это указано покупателем, ему должны быть предоставлены на утверждение до начала изготовления технологические карты сварки, все предлагаемые процедуры сварки и сертификации (включая результаты испытаний на ударную вязкость, если они применимы).

6.1.5. Дополнительная техническая информация, необходимая для монтажа, эксплуатации, технического обслуживания или контроля, которую должен предоставить продавец, является предметом согласования между покупателем и продавцом.
6.2. Окончательные записи
6.2.1. Продавец должен хранить записи, касающиеся использованных материалов и подробностей изготовления, в течение не менее 5 лет.

6.2.2. Покупатель должен указать, какие из следующих документов должны быть предоставлены, а также указать, должны ли какие-нибудь из них быть представлены на электронном носителе:
a) перечень технических характеристик, в том числе технические условия на материалы и марки материалов для всех деталей, работающих под давлением;
b) отчет изготовителя о технических характеристиках в соответствии с нормами и правилами для сосудов, работающих под давлением;
c) сертифицированные отчеты об испытаниях материалов для всех деталей, работающих под давлением;
d) данные о вентиляторах и их ступицах, в том числе размеры расточки вала и шпоночных канавок, а также данные о муфтах и эксцентриках;
e) схема автоматического регулирования шага лопаток вентилятора или регулирования жалюзи вентилятора, если регулирующее устройство поставляется продавцом;
f) инструкции по монтажу, эксплуатации и техническому обслуживанию, в том числе тип смазки, поставляемой для зубчатых колес и подшипников;
g) перечень деталей;
h) выданная аттестованной лабораторией сертифицированная карта шумовых характеристик аппарата с воздушным охлаждением при работе вентиляторов на номинальной скорости и в расчетных условиях;
i) кривые рабочих характеристик вентиляторов, где показана рабочая точка и потребление электроэнергии;
j) кривая рабочей характеристики жалюзи;
k) диаграммы самописца измерителя температуры, полученные при термообработке коллекторов после сварки.
| | Применение на добровольной основе раздела 7 обеспечивает соблюдение требований технического регламента "О безопасности машин и оборудования", утв. Постановлением Правительства Российской Федерации от 15.09.2009 N 753 (Приказ Росстандарта от 20.08.2010 N 3108). | |
7.1. Проектирование трубного пучка
7.1.1. Общие положения
7.1.1.1. Трубные пучки должны быть жесткими, автономными, спроектированными так, чтобы с ними можно было обращаться, как с комплектным узлом.
7.1.1.2. Продавец должен предусмотреть возможность бокового смещения трубных пучков теплообменника по меньшей мере на 6 мм (1/4") в обоих направлениях или по меньшей мере на 12 мм (1/2") в одном направлении, если покупатель и продавец не согласуют между собой большое смещение.
7.1.1.3. Необходимо предусмотреть тепловое расширение труб.
7.1.1.4. Все трубы должны быть закреплены на опорах так, чтобы не было провисания и зацепления или деформации ребер. Расстояние между опорами труб не должно превышать 1,8 м (6 футов) от центра до центра.
7.1.1.5. На каждой опоре трубы должен быть предусмотрен прижимной элемент (держатель трубы). Прижимные элементы должны быть прикреплены к боковым рамам болтами.
7.1.1.6. Трубы одноходовых конденсаторов должны иметь уклон вниз не менее 10 мм на метр (1/8" на фут) в направлении выходного коллектора.
7.1.1.7. Для труб многоходовых конденсаторов уклон не нужен.
7.1.1.8. По всей длине трубного пучка и секции должны быть предусмотрены дефлекторы, чтобы свести к минимуму утечку и обходной путь воздуха. Любой зазор шириной более 10 мм (3/8") должен быть закрыт.
7.1.1.9. Минимальная толщина металла, используемого для изготовления дефлектора, должна быть 2,5 мм (0,105") внутри боковой стенки пучка и 2,0 мм (0,075") за пределами боковой рамы пучка.
7.1.1.10. Болты для съемных дефлекторов должны иметь номинальный диаметр не менее 10 мм (3/8").

7.1.1.11. Подготовка аппарата к эксплуатации в зимний период должна соответствовать техническим условиям или должна быть согласована с покупателем. Следует использовать
Приложение C.

7.1.1.12. Аппарат должен быть спроектирован для работы с возможностью сброса пара при температуре, давлении и условиях работы, указанных покупателем.
7.1.2. Нагревательные змеевики
7.1.2.1. Нагревательные змеевики, предназначенные для защиты трубного пучка от замерзания, должны образовывать самостоятельное устройство, а не являться частью трубного пучка.
7.1.2.2. Нагревательные змеевики должны перекрывать всю ширину трубного пучка.
7.1.2.3. Шаг труб в нагревательном змеевике не должен больше чем вдвое превышать шаг труб трубного пучка.
7.1.2.4. Если в качестве нагревательной среды используют пар, то нагревательные змеевики должны быть одноходовыми, и трубы должны иметь уклон вниз не менее 10 мм на метр (1/8" на фут) в направлении выхода.
7.1.2.5. Для подачи пара допускается использовать коллекторы трубного типа с вварными трубами.
7.1.3. Расчетная температура трубных пучков

7.1.3.1. Максимальная и минимальная расчетные температуры для деталей, работающих под давлением, должны соответствовать техническим условиям покупателя или, если она не указана покупателем, максимальная расчетная температура должна быть равна, по крайней мере, указанной входной температуре технологической среды плюс 25 °C (50 °F).

7.1.3.2. Покупатель должен задать максимальную рабочую температуру, которая необходима для выбора типа оребрения (расчетная температура ребер). Расчетные температуры деталей, работающих под давлением, не предназначены для того, чтобы влиять на выбор типа оребрения или применяться для определения температур, воздействию которых будут подвергаться механические элементы или приборы.
7.1.4. Расчетное давление трубных пучков

Расчетное давление должно соответствовать указанному покупателем или, если оно не указано, превышать следующие значения:
a) давление на входе плюс 10%;
b) давление на входе плюс 170 кПа (25 фунтов на квадратный дюйм).
7.1.5. Припуск на коррозию

7.1.5.1. Припуск на коррозию должен соответствовать техническим условиям покупателя для всех поверхностей, соприкасающихся с технологической средой, исключая трубы, уплотнительные поверхности и прокладки, на которые припуск на коррозию не дается. Если значение припуска не указано, то для элементов из углеродистой и низколегированной стали должен быть предусмотрен минимальный припуск на коррозию 3 мм (1/8").
7.1.5.2. Припуск на коррозию должен быть предусмотрен на каждой стороне перегородок, разделяющих ходы, или элементов жесткости.
7.1.5.3. Толщина, равная глубине канавки в трубной доске, может считаться припуском на коррозию крышек и трубных досок.
7.1.6. Коллекторы
7.1.6.1. Общие требования

7.1.6.1.1. Коллекторы должны быть спроектированы так, чтобы исключать избыточное коробление трубных досок и/или утечку в соединениях труб. При анализе необходимо учитывать максимальную рабочую температуру и максимальное состояние охлаждения при минимальной температуре окружающего воздуха. Если это указано покупателем, при анализе следует учитывать альтернативные режимы работы, например низкий расход технологической среды при низкой температуре окружающего воздуха, замерзание сред в трубах, выделение пара, остановку вентиляторов при отказе электроснабжения, а также в условиях рециркуляции.
7.1.6.1.2. Если разность температур технологической среды на входе и выходе многоходового пучка превышает 110 °C (200 °F), следует применять U-образную конструкцию труб, разъемные коллекторы или другие методы снятия напряжений.
7.1.6.1.3. Необходимость снятия напряжений в одноходовых или многоходовых пучках необходимо исследовать независимо от разности температур среды на входе и выходе пучка. Проектант должен произвести расчеты, доказывающие удовлетворительность конструкции. В расчетах необходимо учитывать следующие комбинации напряжений:
a) для напряжений в трубах и/или трубных соединениях:
1) напряжение, вызванное давлением и температурой,
2) напряжение, вызванное силами и моментами на патрубках,
3) напряжение, вызванное различиями в тепловом расширении труб (в том числе вследствие накопления парафина или загрязнения) между рядами/ходами в секциях змеевика,
4) напряжение, вызванное боковым движением коллектора;
b) для напряжений на коллекторах и патрубках:
1) напряжение, вызванное давлением и температурой,
2) напряжение, вызванное силами и моментами на патрубках,
3) напряжение, вызванное боковым движением коллектора,
4) напряжение, вызванное различиями в тепловом расширении труб между рядами/ходами в секциях змеевика.
Примечание. На вышеуказанное может влиять метод крепления патрубков: насаженные или вставленные внутрь;
c) для опор и прикрепленных устройств коллектора (включая боковые рамы змеевика и конструкцию охладителя):
1) напряжение, вызванное массой коллектора и воды в нем,
2) напряжение, вызванное силами и моментами на патрубках,
3) напряжение, вызванное боковым движением коллектора,
4) напряжение, вызванное тепловым расширением труб.
Примечание. На трубный пучок могут действовать дополнительные нагрузки и напряжения, не указанные выше (например, сейсмические).
7.1.6.1.4. Коллекторы должны быть спроектированы так, чтобы площадь поперечного сечения потока в каждом проходе была не менее 100% площади сечения потока в соответствующем проходе трубы.
7.1.6.1.5. Скорость бокового движения в коллекторе не должна превышать скорости в патрубке. Для этого может быть применено несколько патрубков или увеличено поперечное сечение коллектора.
7.1.6.1.6. Минимальная номинальная толщина элементов коллектора должна соответствовать представленной в таблице 1.
Таблица 1
Минимальная номинальная толщина элементов коллектора
Элемент | Минимальная толщина, мм (дюйм) |
углеродистая или низколегированная сталь | высоколегированная сталь или другой материал |
Трубная доска | 20 (3/4) | 15 (5/8) |
Пластина с пробками | 20 (3/4) | 15 (5/8) |
Верхняя, нижняя и боковые пластины | 12 (1/2) | 10 (3/8) |
Съемные крышки | 25 (1) | 22 (7/8) |
Перегородки между проходами и распорные пластины | 12 (1/2) | 6 (1/4) |
Примечание. Толщина, указанная для любого элемента из углеродистой или низколегированной стали, включает припуск на коррозию до 3 мм (1/8"). Толщина, указанная для любого элемента из высоколегированной стали, не включает припуска на коррозию. Толщина указана с учетом развальцованного соединения с одной канавкой между трубой и трубной доской. |
7.1.6.1.7. Межходовые перегородки коллекторов и перегородки с пробками должны быть выполнены из цельного листа.
7.1.6.1.8. В качестве альтернативных конструкций могут быть использованы другие типы коллекторов в дополнение к указанным в 7.1.6.2 или
7.1.6.3 (см.
раздел 12).
7.1.6.2. Коллекторы со съемной крышкой и съемным колпаком
7.1.6.2.1. Конструкцией коллектора со съемной крышкой должна быть предусмотрена возможность снятия крышки, не нарушая трубных соединений коллектора. На
рисунке 3 представлена типовая конструкция трубных пучков с коллекторами со съемной крышкой.
a - коллектор со съемной крышкой
b - коллектор со съемным колпаком
1 - трубная доска; 2 - съемная крышка; 3 - съемный колпак;
4 - верхняя и нижняя пластины; 5 - труба; 6 - перегородка
между проходами; 7 - прокладка; 8 - патрубок; 9 - боковая
рама; 10 - трубная прокладка; 11 - опорная перекладина для
труб; 12 - держатель труб; 13 - воздушник; 14 - сток;
15 - соединение для контрольно-измерительного прибора
Рисунок 3. Типовая конструкция трубных пучков
с коллекторами со съемной крышкой и съемным колпаком
7.1.6.2.2. Конструкцией коллектора с колпаком должна быть предусмотрена возможность снятия колпака, лишь минимально демонтируя трубные соединения коллектора. На рисунке 3 представлена типовая конструкция трубных пучков с коллекторами со съемным колпаком.

7.1.6.2.3. Использование сквозных болтов или резьбовых шпилек для крепления крышек должно быть согласовано между покупателем и продавцом. Разъемные соединения должны быть спроектированы с кольцевыми прокладками или прокладками на всю поверхность.
Типовые конструкции показаны на
рисунке 4. В запросе покупателя должна быть указана требуемая конструкция.
a - конструкция на штифтах, ограниченная прокладка
b - фланцевая конструкция, ограниченная прокладка
c - фланцевая конструкция, прокладка на всю поверхность
Рисунок 4. Типовые соединения с ограниченной прокладкой
и прокладкой на всю поверхность
7.1.6.2.4. Уплотнительные поверхности прокладок на крышках, сопрягаемых с ними фланцах коллекторных коробок и трубных досках должны быть механически обработаны. Обработка поверхности должна соответствовать типу прокладки (
Приложение A).
7.1.6.2.5. Для облегчения снятия крышки на ее периметре необходимо предусмотреть либо винтовые домкраты, либо зазор не менее 5 мм (3/16").
7.1.6.2.6. Распорные болты использовать нельзя.
7.1.6.2.7. Необходимо принять меры (например, предусмотреть скользящие шпильки), чтобы избежать повреждения штифтов при подъеме и опускании крышки.
7.1.6.2.8. Минимальный номинальный диаметр резьбовых шпилек - 20 мм (3/4"). Минимальный номинальный диаметр сквозных болтов - 16 мм (5/8").
7.1.6.2.9. Максимальное расстояние между центрами болтов должно соответствовать нормам и правилам для сосудов, работающих под давлением.
7.1.6.2.10. Минимальное расстояние между центрами болтов должно соответствовать представленному в таблице 2.
Таблица 2
Минимальное расстояние между болтами на фланцах
В миллиметрах (дюймах)
┌─────────────────────────┬──────────────────────────────────────┐
│Номинальный диаметр болта│ Минимальное расстояние между болтами │
├─────────────────────────┼──────────────────────────────────────┤
│ 16 (5/8) │ 38 (1 1/2) │
│ 19 (3/4) │ 44 (1 3/4) │
│ 22 (7/8) │ 52 (2 1/16) │
│ 25 (1) │ 57 (2 1/4) │
│ 29 (1 1/8) │ 64 (2 1/2) │
│ 32 (1 1/4) │ 71 (2 13/16) │
│ 35 (1 3/8) │ 76 (3 1/16) │
│ 38 (1 1/2) │ 83 (3 1/4) │
│ 41 (1 5/8) │ 89 (3 1/2) │
│ 44 (1 3/4) │ 95 (3 3/4) │
│ 48 (1 7/8) │ 102 (4) │
│ 51 (2) │ 108 (4 1/4) │
└─────────────────────────┴──────────────────────────────────────┘
7.1.6.2.11. Расстояния между болтами, расположенными с двух сторон углов, должно быть таким, чтобы диагональное расстояние между болтами возле углов не превышало наименьшее из расстояний между болтами на сторонах или на торцах.
7.1.6.3. Коллекторы с пробками
7.1.6.3.1. Резьбовые отверстия для пробок должны быть предусмотрены напротив концов каждой трубы, чтобы обеспечивать доступ. Отверстия должны быть нарезаны на полную глубину пластины с пробками или на 50 мм (2") (берется меньшее значение). На
рисунке 5 показана типовая конструкция трубного пучка с коллектором с пробками.
1 - трубная доска; 2 - пластина с пробками; 3 - верхняя
и нижняя пластины; 4 - торцевая пластина; 5 - труба;
6 - перегородка между проходами; 7 - элемент жесткости;
8 - пробка; 9 - патрубок; 10 - боковая рама;
11 - трубная прокладка; 12 - опорная перекладина для труб;
13 - держатель труб; 14 - воздушник; 15 - сток;
16 - соединение для контрольно-измерительного прибора
Рисунок 5. Типовая конструкция трубного пучка
с коллектором с пробками
7.1.6.3.2. Диаметр отверстий под пробки должен быть равен номинальному наружному диаметру трубы плюс не менее 0,8 мм (1/32").
7.1.6.3.3. Контактные поверхности прокладок должны быть цекованными. На цекованных кромках не должно быть заусенцев.
7.1.7. Пробки для доступа к трубам
7.1.7.1. Пробки должны быть с фланцем и цилиндрической резьбой.
7.1.7.2. Полые пробки использовать нельзя.
7.1.7.3. Пробки должны иметь шестигранные головки. Минимальный поперечный размер плоских граней должен быть, по крайней мере, равен диаметру фланца пробки.
7.1.7.4. Герметизация давления должна обеспечиваться прокладкой между фланцем пробки и пластиной.
7.1.7.5. Должны быть обеспечены принудительные средства (например, самоцентрирующийся конус), чтобы обеспечивать правильную посадку прокладки в зенкованную выемку.
7.1.7.6. Пробки должны быть достаточно длинными, чтобы заполнять резьбу в пластине пробок, при допуске +/- 1,5 мм (1/16"), за исключением истирающихся материалов или если номинальная толщина пластины с пробками превышает 50 мм (2"); в этих случаях допускается использовать альтернативные конструкции по согласованию с покупателем. Дополнительными факторами, которые следует учитывать при выборе конструкции пробок, являются неправильное зацепление резьбы, эрозия, щелевая коррозия и сохранение рабочей среды в полостях.
7.1.7.7. Толщина головки пробки от ее поверхности, контактирующей с прокладкой, до верхушки должна составлять не менее 50% номинального наружного диаметра трубы. Может потребоваться и большая толщина, исходя из номинального давления и характеристик материала.
7.1.7.8. Резьба на пробках номинальным диаметром 30 мм (не более

) должна быть с резьбой мелких серий.
7.1.8. Прокладки
7.1.8.1. Прокладки пробок должны быть из сплошного металла или наполненные с двойной металлической облицовкой, из того же материала, что и пробки.
7.1.8.2. Прокладки пробок должны быть плоскими и не должны иметь заусенцев.
7.1.8.3. Минимальная толщина сплошных металлических прокладок пробок - 1,5 мм (0,060").
7.1.8.4. Для типа соединения A (см.
рисунок 4) прокладки крышки и колпака должны быть наполненного типа с двойной металлической облицовкой. Наполняющие материалы не должны содержать асбеста, они должны быть пригодны для уплотнения, стойки к рабочим средам и пожаробезопасны.
7.1.8.5. Для типа соединения B (см.
рисунок 4) должны применяться прокладки наполненного типа с двойной металлической облицовкой или (при расчетных давлениях 2100 кПа (избыт.) [300 фунтов на квадратный дюйм (избыт.)] или меньше) сжатые листовые композитные прокладки, пригодные для условий эксплуатации. Прокладки не должны содержать асбеста, они должны быть пригодны для уплотнения, стойки к рабочим средам и пожаробезопасны.
7.1.8.6. Для типа соединения C (см.
рисунок 4) при расчетных давлениях 2100 кПа (избыт.) [300 фунтов на квадратный дюйм (избыт.)] или меньше следует применять сжатые листовые композитные прокладки, пригодные для условий эксплуатации. Прокладки не должны содержать асбеста, они должны быть пригодны для уплотнения, стойки к рабочим средам и пожаробезопасны.
7.1.8.7. Ширина прокладок для съемной крышки и съемного колпака - не менее 9 мм (3/8").
7.1.8.8. Прокладки должны быть цельными.
| | ИС МЕГАНОРМ: примечание. В официальном тексте документа, видимо, допущена опечатка: имеется в виду пункт A.7, а не пункт A.8. | |
7.1.8.9. Сведения о прокладках приведены в
A.8 (Приложение A).
7.1.9. Патрубки и другие соединения
7.1.9.1. Фланцы должны соответствовать нормам и правилам для сосудов, работающих под давлением.
7.1.9.2. Соединения номинального диаметра DN 10 (номинальный трубный размер NPS

), DN 32 (NPS

), DN 65 (NPS

), DN 90 (NPS

) или DN 125 (NPS 5) использовать не разрешается.
7.1.9.3. Соединения DN 40 (NPS

) должны быть фланцевыми.
7.1.9.4. В водородных системах (т.е. если парциальное давление водорода свыше 700 кПа (абс.) [100 фунтов на квадратный дюйм (абс.)]) все соединения должны быть с фланцами; свободные фланцы использовать не следует.
7.1.9.5. Если расчетные условия требуют эквивалента номинального давления PN 150 (стандарт ANSI 900) или более высоких номинальных параметров для фланцев, то все соединения должны быть фланцевыми.
7.1.9.6. Минимальная толщина стенки патрубка, включая припуск на коррозию, для фланцевых соединений из углеродистой и низколегированной стали должна соответствовать указанной в таблице 3.
Таблица 3
Минимальная толщина шейки патрубка
В миллиметрах (дюймах)
┌───────────────────────────────┬────────────────────────────────┐
│Номинальный диаметр (нормальный│ Минимальная толщина стенки │
│ трубный размер) │ патрубка │
├───────────────────────────────┼────────────────────────────────┤
│ 15 (1/2) │ 4,78 (0,188) │
│ 20 (3/4) │ 5,56 (0,219) │
│ 25 (1) │ 6,35 (0,250) │
│ 40 (1 1/2) │ 7,14 (0,281) │
│ 50 (2) │ 8,74 (0,344) │
│ 80 (3) │ 11,13 (0,438) │
│ 100 (4) │ 13,49 (0,531) │
│ 150 (6) │ 10,97 (0,432) │
│ 200 (8) │ 12,70 (0,500) │
│ 250 (10) │ 15,09 (0,594) │
│ 300 (12) │ 17,48 (0,688) │
├───────────────────────────────┴────────────────────────────────┤
│ Примечание. Данные в этой таблице взяты из ASME B36.10M
[4]│
│с использованием таблицы 160 для размеров до номинального│
│диаметра DN 100 (нормальный трубный размер NPS 4) и таблицы 80│
│для больших размеров. │
└────────────────────────────────────────────────────────────────┘

7.1.9.7. Поверхность разъема технологических фланцев следует располагать в горизонтальной плоскости, если покупателем не указано иное расположение.
7.1.9.8. Фланцевые соединения из углеродистой стали должны быть одного из следующих типов:
a) кованая или отлитая центробежным литьем стенки под приварку с фланцем;
b) труба, приваренная к кованому или отлитому центробежным методом приварному фланцу с буртиком;
c) бесшовный переходник, прикрепленный к кованому или отлитому центробежным методом приварному фланцу с воротником;

d) литой или изготовленный другим методом переходник, если это разрешено покупателем;
e) труба или переходник, приваренные к кованому свободному фланцу.
7.1.9.9. Если используют переходник, то допускается использовать подпорки, большую толщину коллектора или большую толщину патрубка, чтобы обеспечивать достаточную механическую прочность.
7.1.9.10. За исключением систем, работающих с водородом (см.
7.1.9.4), на соединениях коллекторов допускается использовать кованые свободные фланцы из углеродистой стали при следующих ограничениях:
a) максимальное расчетное давление - 2100 кПа (избыт). [300 фунтов на квадратный дюйм (избыт.)];
b) максимальная расчетная температура 450 °C (850 °F);
c) максимальный припуск на коррозию при эксплуатации - 3 мм (1/8").
7.1.9.11. Размер резьбовых соединений - DN 25 (NPS 1), за исключением соединений манометров, которые должны быть DN 20 (NPS 3/4).
7.1.9.12. Резьбовые соединения должны быть одного из следующих типов и соответствовать нормам и правилам проектирования сосудов, работающих под давлением:
a) кованые стальные муфтовые соединения с резьбой только на одном конце, рассчитанные на соответствующую номинальную нагрузку (ASME B16.11
[5], класс 6000);
b) кованые стальные фитинги с встроенным усилением;
c) резьбовые отверстия для подключений воздушника и дренажа там, где это позволяет толщина пластины коллектора;
d) эквивалентные выступающие соединения.

7.1.9.13. Если требуется соединение для термогильзы, оно должно быть расположено внутри патрубка, за исключением случаев, когда номинальный диаметр патрубка меньше DN 100 (NPS 4); в этом случае соединение для термогильзы должно быть расположено на коллекторе рядом с патрубком.

7.1.9.14. Если требуется соединение для манометра, оно должно быть расположено на патрубке, за исключением случаев, когда номинальный диаметр патрубка меньше DN 80 (NPS 3); в этом случае соединение для манометра должно быть расположено на коллекторе рядом с патрубком.
7.1.9.15. Резьбы на трубах должны быть коническими трубными резьбами (например, по ASME B1.20.1
[6]) и соответствовать нормам и правилам для сосудов, работающих под давлением.


7.1.9.16. Размер, тип и расположение соединений для химической очистки должны быть указаны покупателем.
7.1.9.17. Если это указано, соединения для приборов должны быть расположены, по крайней мере, на одном входном и выходном патрубке каждого пучка, с тем исключением, что их не требуется в промежуточном патрубке многоярусных пучков.
7.1.9.18. Все резьбовые трубные соединения должны быть закрыты пробкой с цилиндрической головкой.
7.1.9.19. Вспомогательные фланцевые соединения, если они имеются, должны быть закрыты глухими фланцами. Материалы прокладок и болтов должны соответствовать указанным условиям эксплуатации.
7.1.9.20. На каждом коллекторе в высшей и низшей точках должны быть предусмотрены соединения для воздушников и дренажей соответственно. Патрубки коллектора, установленные в высшей и низшей точках, могут служить отверстиями для воздуха и для стока. Патрубки воздушника и дренажа не должны заходить за внутреннюю поверхность коллектора.
7.1.9.21. Если толщина коллектора не обеспечивает минимально необходимого зацепления резьбы пробок воздушника и дренажа, необходимо устанавливать или выполнять утолщения.
7.1.9.22. Необходимо, чтобы болты между соединительными патрубками пакетированных трубных пучков можно было удалять, не смещая пучков.
7.1.10. Максимальные допустимые моменты и силы, действующие на патрубки и коллектор
7.1.10.1. Каждый патрубок в состоянии расчетного коррозийного износа должен выдерживать мгновенное приложение моментов и сил, указанных на
рисунке 6 и в
таблице 4.
1 - оребренные трубы
Рисунок 6. Нагрузки на патрубки
Таблица 4
Максимальные допустимые нагрузки на патрубки
┌────────────┬─────────────────────────┬─────────────────────────┐
│Номинальный │ Момент, Н x м │ Сила (фунт-сила) │
│ диаметр │ (фут x фунт-сила) │ │
│(номинальный├────────┬────────┬───────┼───────┬────────┬────────┤
│ трубный │ M │ M │ M │ F │ F │ F │
│ размер), │ x │ y │ z │ x │ y │ z │
│ мм (дюйм) │ │ │ │ │ │ │
├────────────┼────────┼────────┼───────┼───────┼────────┼────────┤
│ 40 (1 1/2) │110 (80)│ 150 │ 110 │ 670 │ 1020 │ 670 │
│ │ │ (110) │ (80) │ (150) │ (230) │ (150) │
├────────────┼────────┼────────┼───────┼───────┼────────┼────────┤
│ 50 (2) │ 150 │ 240 │ 150 │ 1020 │ 1330 │ 1020 │
│ │ (110) │ (180) │ (110) │ (230) │ (300) │ (230) │
├────────────┼────────┼────────┼───────┼───────┼────────┼────────┤
│ 80 (3) │ 410 │ 610 │ 410 │ 2000 │ 1690 │ 2000 │
│ │ (300) │ (450) │ (300) │ (450) │ (380) │ (450) │
├────────────┼────────┼────────┼───────┼───────┼────────┼────────┤
│ 100 (4) │ 810 │ 1220 │ 810 │ 3340 │ 2670 │ 3340 │
│ │ (600) │ (900) │ (600) │ (750) │ (600) │ (750) │
├────────────┼────────┼────────┼───────┼───────┼────────┼────────┤
│ 150 (6) │ 2140 │ 3050 │ 1630 │ 4000 │ 5030 │ 5030 │
│ │ (1580) │ (2250) │(1200) │ (900) │ (1130) │ (1130) │
├────────────┼────────┼────────┼───────┼───────┼────────┼────────┤
│ 200 (8) │ 3050 │ 6100 │ 2240 │ 5690 │ 13340 │ 8010 │
│ │ (2250) │ (4500) │(1650) │(1280) │ (3000) │ (1800) │
├────────────┼────────┼────────┼───────┼───────┼────────┼────────┤
│ 250 (10) │ 4070 │ 6100 │ 2550 │ 6670 │ 13340 │ 10010 │
│ │ (3000) │ (4500) │(1880) │(1500) │ (3000) │ (2250) │
├────────────┼────────┼────────┼───────┼───────┼────────┼────────┤
│ 300 (12) │ 5080 │ 6100 │ 3050 │ 8360 │ 13340 │ 13340 │
│ │ (3750) │ (4500) │(2250) │(1880) │ (3000) │ (3000) │
├────────────┼────────┼────────┼───────┼───────┼────────┼────────┤
│ 350 (14) │ 6100 │ 7120 │ 3570 │ 10010 │ 16680 │ 16680 │
│ │ (4500) │ (5250) │(2630) │(2250) │ (3750) │ (3750) │
└────────────┴────────┴────────┴───────┴───────┴────────┴────────┘
7.1.10.2. Конструкцией каждого неподвижного или плавающего коллектора, соединений неподвижного коллектора с боковыми рамами, а также конструкцией других опорных элементов должна быть предусмотрена возможность обеспечения отсутствия повреждений при одновременном (суммарном) приложении всех нагрузок на патрубки на одном коллекторе. Составляющие нагрузок на патрубки на одном коллекторе не должны превышать:

6100 Н x м (4500 фут x фунт-сила);

8130 Н x м (6000 фут x фунт-сила);

4070 Н x м (3000 фут x фунт-сила);

10010 Н (2250 фунт-сила);

20020 Н (4500 фунт-сила);

16680 Н (3750 фунт-сила).
Примечание. Приложение моментов и сил, указанных в
таблице 4, вызывает перемещение, которое будет иметь тенденцию понижать нагрузки до приведенных здесь значений.
7.1.10.3. Сумма всех нагрузок на патрубки в одном аппарате не должна превышать трехкратное значение, допустимое для одного коллектора.
7.1.11. Трубы
7.1.11.1. Наружный диаметр цилиндрических труб - не менее 25 мм (1").

7.1.11.2. Максимальная длина трубы должна соответствовать техническим требованиям покупателя.

7.1.11.3. Толщина стенок труб наружным диаметром от 25 мм (1") до 38 мм (1 1/2") должна быть не менее указанной в таблице 5.
Таблица 5
Минимальная толщина стенок труб
Материал трубы | Минимальная толщина стенки, мм (дюйм) |
Углеродистая сталь или ферритная низколегированная сталь (макс. 9% хрома) | 2,0 (0,083) |
Высоколегированная [аустенитная, ферритная и аустенитно-ферритная (выплавленная дуплекс-процессом)] сталь | 1,6 (0,065) |
Цветной металл | 1,6 (0,065) |
Титан | 1,2 (0,049) |
Для труб с ребрами, заглубленными в канавку, толщину стенок труб следует измерять от низа канавки до внутренней стенки.
Примечание. При тяжелых условиях эксплуатации или определенных конфигурациях труб может потребоваться

толщина стенок.
7.1.11.4. Трубы следует поставлять на основе либо минимальной толщины стенки, либо средней толщины стенки при условии, что толщина стенки ни в одном месте не будет меньше указанной в
7.1.11.3.

7.1.11.5. Трубы могут быть оребренными или неоребренными.
7.1.11.6. Для оребренной трубы общая длина неоребренной части после сборки не должна превышать более чем в 1,5 раза толщину одной трубной доски.
7.1.11.7. Любая конструкция оребренных труб является предметом согласования между покупателем и продавцом. Продавец должен обосновать, что тип поставляемой конструкции пригоден для предполагаемых условий эксплуатации (с учетом таких факторов, как температура металла, циркуляция, потери охлаждения, воздействие окружающей среды и другие назначенные условия эксплуатации). Ниже приведены описания нескольких типов часто используемых конструкций оребренных труб:
a) с заглубленными ребрами - алюминиевое ребро прямоугольного поперечного сечения, навитое с натяжением и механически заглубленное в канавку глубиной (0,25 +/- 0,05) мм [(0,010 +/- 0,002)"], спирально прорезанную на внешней поверхности трубы. Толщину стенки трубы измеряют от дна канавки до внутреннего диаметра трубы. Конец ребра на каждом конце трубы должен быть закреплен во избежание ослабления или разматывания ребра; метод закрепления должен быть указан продавцом;
b) интегральные - алюминиевая внешняя труба, из которой методом экструзии сформированы ребра, механически прикрепленная к внутренней трубе или вкладышу;
c) с перекрывающимися лапками - L-образное алюминиевое ребро навито с натяжением на наружную поверхность трубы, причем труба полностью покрыта перекрывающимися лапками под ребрами и между ними. Конец ребра на каждом конце трубы должен быть закреплен во избежание ослабления или разматывания ребра; метод закрепления должен быть указан продавцом;
d) с лапками - L-образное алюминиевое ребро навито с натяжением на наружную поверхность трубы, причем труба полностью покрыта лапками между ребрами. Конец ребра на каждом конце трубы должен быть закреплен во избежание ослабления или разматывания ребра; метод закрепления должен быть указан продавцом;
e) прикрепленное снаружи - трубы, на которых ребра прикреплены к наружной поверхности методом горячего цинкования, пайки твердым припоем или сварки;
f) с лапками и накаткой - L-образное алюминиевое ребро навито с натяжением на наружную поверхность трубы, причем лапка ребра одновременно впрессована в ребристую внешнюю поверхность трубы. Конец ребра на каждом конце трубы должен быть закреплен во избежание ослабления или разматывания ребра; метод закрепления должен быть указан продавцом.
7.1.11.8. Для навитых с натяжением или заглубленных ребер минимальная толщина исходного материала должна быть следующей:
- для высоты ребра, не превышающей 12 мм (1/2"), минимальная толщина проката 0,35 мм (0,014");
- для высоты ребра, превышающей 12 мм (1/2"), минимальная толщина проката 0,40 мм (0,016").
7.1.11.9. Сплющивание на U-образных сгибах труб не должно превышать 10% номинального наружного диаметра трубы.
7.1.11.10. Минимальную толщину стенки на U-образных сгибах

, мм (дюйм), вычисляют по формуле

,
где t - толщина стенки трубы до сгибания, мм (дюйм);
OD - номинальный наружный диаметр трубы, мм (дюйм);

- средний радиус U-образного сгиба, мм (дюйм).
Вычисленная толщина

должна быть не меньше указанной в технических условиях минимальной толщины стенки.
7.1.11.11. Если U-образные сгибы формируются из материалов, относительно не подверженных наклепу и прошедших соответствующий отпуск, то утонение стенок трубы на сгибах не должно превышать номинала 17% первоначальной толщины стенки трубы.
7.1.11.12. Если U-образные сгибы формируются из материалов, имеющих низкую пластичность, или материалов, подверженных наклепу, они могут потребовать особых соображений при проектировании. Если холодный наклеп вызывает хрупкость или восприимчивость к коррозии под напряжением в некоторых материалах или средах, то следует рассмотреть вопрос о термообработке.

7.1.11.13. Допускается использовать эллиптические трубы, если это согласовано с покупателем. Дополнительное руководство относительно эллиптических труб см. в
A.1.4 (Приложение A).
7.2. Проектирование воздушной стороны
7.2.1. Общие положения

7.2.1.1. На рабочие характеристики воздушной стороны аппарата с воздушным охлаждением влияют такие факторы, как погода, местность, установка, окружающая среда и наличие примыкающих конструкций, зданий и оборудования. Покупатель должен передать продавцу все данные об окружающей среде, которые могут понадобиться при проектировании аппарата. Эти факторы необходимо учитывать при проектировании воздушной стороны.

7.2.1.2. Необходимость управления потоком воздуха определяет покупатель на основе конкретных требований технологического процесса, учитывая, в том числе, влияние погоды. Существуют различные методы управления потоком воздуха. Конечный выбор зависит от степени необходимого регулирования, типа привода и передачи, размещения оборудования, а также экономических соображений. Различные методы включают простое включение-выключение, ступенчатое включение-выключение (для аппаратов с несколькими приводами), управление двухскоростными двигателями, приводы с переменной скоростью, регулируемый шаг вентилятора, ручные или автоматические жалюзи, а также рециркуляцию воздуха.
7.2.1.3. Выбор вентилятора для расчетных параметров должен обеспечивать, чтобы он при номинальной скорости мог за счет увеличения угла лопаток увеличивать на 10% расход воздуха при соответствующем увеличении давления. Поскольку это требование предназначено для предотвращения срыва потока и неэффективной работы вентилятора, вытекающее повышенное требование к мощности не должно влиять на номинальную мощность привода.
7.2.1.4. Продавец должен определять расчетные температуры окружающей среды механических элементов посредством анализа конвекционной теплопередачи и передавать результаты на утверждение покупателю. В альтернативных вариантах эти температуры могут быть определены следующими методами:
a) расчетные температуры, воздействующие на механические и приборные компоненты, расположенные над трубным пучком, должны быть равными или больше следующих значений:
1) максимальная температура технологической среды на входе минус 60 °C (100 °F) (максимальная температура технологической среды на входе не является расчетной температурой для механических элементов),
2) максимальная температура на входе нагревательного змеевика минус 60 °C (100 °F) (температура на входе нагревательного змеевика не является расчетной температурой для механических элементов),
3) для аппаратов с жалюзи для выпускного воздуха, вентиляторов с автоматически регулируемым шагом или с двухскоростным двигателем - указанные выше температуры на входе минус 30 °C (50 °F).
Минимальная расчетная воздействующая температура ни в коем случае не должна быть ниже расчетной температуры по сухому термометру;
b) расчетные температуры, воздействующие на механические и приборные компоненты, расположенные ниже трубного пучка, должны быть не менее:
1) максимальная температура технологической среды на входе минус 120 °C (200 °F) (максимальная температура технологической среды на входе не является расчетной температурой для механических элементов),
2) максимальная температура на входе нагревательного змеевика минус 120 °C (200 °F) (температура на входе нагревательного змеевика не является расчетной температурой для механических элементов),
3) для аппаратов с жалюзи для выпускного воздуха, вентиляторов с автоматически регулируемым шагом или с двухскоростным двигателем - указанные выше температуры на входе минус 60 °C (100 °F).
Для изделий, где используют рециркуляцию воздуха, следует изучать расчетные температуры воздействия для каждого режима работы (пуска, нормальной работы, останова, перерыва в энергоснабжении, заторможенного воздушного потока, одного неработающего вентилятора и т.д.).
7.2.2. Контроль шума

7.2.2.1. Для аппарата, работающего в указанных условиях, с вентиляторами, работающими с проектной скоростью и шагом, покупатель должен задавать следующие пределы шума:
a) уровень звукового давления (УЗД) на один вентилятор в месте, указанном покупателем;
b) уровень мощности звука (УМЗ) на один вентилятор.
Примечание. Типичная карта характеристик шума приведена в
Приложении B.
Продавец должен предоставлять уровни звуковой мощности и звукового давления оборудования с учетом соответствующей информации, например формы входа (типа и размера диффузора или конфузора), препятствий и т.д. Относительно вентилятора необходимо учесть привод, редуктор скорости и т.д.
7.2.2.2. Порядок приоритетов для получения требуемых шумовых характеристик должен быть следующим:
a) фактическое испытание репрезентативной выборки аппаратов, установленных либо вдали от других источников шума (цеховые или полевые испытания), либо в работающей установке;
b) получение шумовых характеристик путем использования аналогичного оборудования и коррекции этих данных с учетом размера фактического оборудования и условий эксплуатации. Необходимо составлять отчет с приведением как результатов измерений, так и процедуры корректировки.
7.2.2.3. Процедура определения уровней шума должна соответствовать ИСО 3744 с применением метода полушарий для определения уровней звуковой мощности.
7.2.3. Вентиляторы и втулки вентиляторов

7.2.3.1. Для каждой секции необходимы два или более вентиляторов, находящихся на одной линии в направлении длины трубы, с тем исключением, что допускается использовать системы с одним вентилятором, если они одобрены покупателем.
7.2.3.2. Вентиляторы должны быть осевого типа.
7.2.3.3. Каждый вентилятор должен быть такого размера, чтобы площадь, занимаемая им, составляла не менее 40% площади лицевой поверхности пучка, обслуживаемого этим вентилятором.
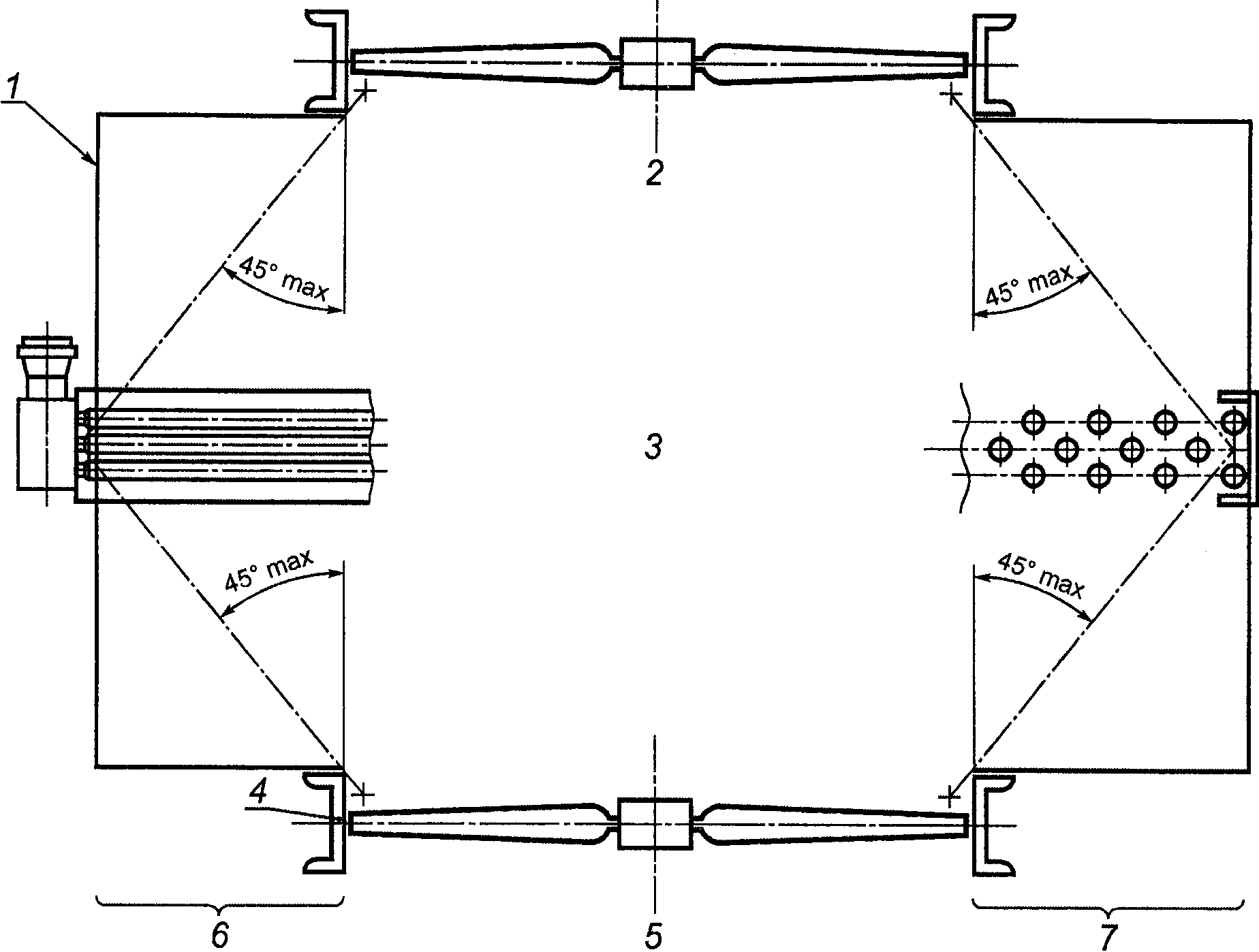
7.2.3.4. Каждый вентилятор должен быть расположен так, чтобы его угол рассеяния не превышал 45° на центральной оси пучка, как показано на
рисунке 7.
1 - воздухораспределительная камера; 2 - отсасывающая тяга;
3 - центральная ось пучка; 4 - кольцо вентилятора;
5 - нагнетательная тяга; 6 - боковая часть;
7 - передняя часть
Рисунок 7. Угол рассеяния вентилятора

7.2.3.5. Скорость конца лопатки вентилятора не должна превышать максимальную скорость, указанную изготовителем вентилятора для выбранного типа вентилятора. Скорость конца лопатки вентилятора не должна превышать 60 м/с (12000 футов в минуту), если иное не одобрено покупателем. Скорость конца лопатки вентилятора ни в коем случае не должна превышать 80 м/с (16000 футов в минуту). Вследствие ограничений по шуму могут потребоваться более низкие скорости.
7.2.3.6. Радиальный зазор между концами лопаток вентилятора и кольцом отверстия вентилятора должен соответствовать данным, приведенным в таблице 6.
Таблица 6
Радиальный зазор
┌──────────────────────────────┬─────────────────────────────────┐
│Диаметр вентилятора, м (футы) │ Радиальный зазор, мм (дюйм) │
│ ├────────────────┬────────────────┤
│ │ не менее │ не более │
├──────────────────────────────┼────────────────┼────────────────┤
│>= 1,0 и <= 3,0 (>= 3 и <= 9) │ 6 (1/4) │ 13 (1/2) │
│>3,0 и <= 3,5 (>9 и <= 11) │ 6 (1/4) │ 16 (5/8) │
│>3,5 (>11) │ 6 (1/4) │ 19 (3/4) │
└──────────────────────────────┴────────────────┴────────────────┘
7.2.3.7. Съемные лопатки вентилятора должны быть сбалансированы по моменту относительно базовой лопатки.
7.2.3.8. Каждое колесо вентилятора должно быть сбалансировано одним из следующих способов:
a) динамическая балансировка колеса в сборе;
b) динамическая балансировка втулки и статическая балансировка момента лопаток.
7.2.3.9. Колесо вентилятора должно быть спроектировано так, чтобы минимизировать обратный поток воздуха на втулке.

7.2.3.10. Для вентиляторов диаметром свыше 1,5 м (5 футов) лопатки вентилятора должны регулироваться вручную изменением угла установки. Использование автоматического управления для изменения угла наклона лопастей определяет покупатель.
7.2.3.11. Вентиляторы, в которых регулирование лопаток проводят пневматическим исполнительным механизмом с автоматическим управлением, должны соответствовать следующим требованиям:
a) если одно управляющее устройство управляет более чем одним исполнительным механизмом, покупатель должен устанавливать стопорный клапан на линии сигнала управления каждого исполнительного механизма, чтобы обеспечивать возможность технического обслуживания;
b) пневматический исполнительный механизм должен быть снабжен устройством позиционирования или реле с торможением;

c) устройство позиционирования или реле с торможением, если они имеются, должны срабатывать при пневматическом сигнале управления давлением от 20 до 100 кПа (избыт.) [от 3 до 15 фунтов на квадратный дюйм (избыт.)]. Рабочий диапазон устройства позиционирования должен быть отрегулирован так, чтобы максимальный достигаемый угол был равен выбранной проектной установке угла лопатки. Изготовитель вентилятора должен устанавливать предельные ограничители максимального и минимального шагов лопатки. Если покупателем не указано иное, при минимальном пределе шага лопатки воздушный поток должен быть практически нулевым;
d) продавец должен поставлять гибкое трубное соединение длиной приблизительно 300 мм (12") для подключения к линии воздуха пневматического управления покупателя. Номинальный диаметр концевого фитинга для подключения к линии пневматического управления покупателя - DN 8 (NPS 1/4"). Резьба должна быть конической трубной резьбой;

e) покупатель должен указывать направление изменения угла наклона лопаток вентилятора при потере давления в линии пневматического управления.
7.2.3.12. Узлы втулки и вентилятора с автоматическим управлением регулирования угла с использованием смазываемых соединений следует проектировать таким образом, чтобы свести к минимуму необходимость технического обслуживания со смазкой путем использования подшипников, не требующих периодической смазки.
7.2.3.13. Кривая рабочей характеристики вентилятора должна связывать статическое или общее давление, скорость потока, угол установки лопаток и мощность входного вала вентилятора при стандартных условиях сухого воздуха, указанных в таблице 7. На кривой рабочей характеристики вентилятора должны быть показаны рабочая точка и мощность для указанных расчетных условий работы.
Таблица 7
Стандартные условия сухого воздуха
┌───────────────────────────┬────────────────────────────────────┐
│ Температура по сухому │ 21,1 °C (70 °F) │
│ термометру │ │
├───────────────────────────┼────────────────────────────────────┤
│Давление │101,3 кПа (29,92" ртутного столба) │
├───────────────────────────┼────────────────────────────────────┤
│ │ 3 │
│Плотность │1,2 кг/м3 (0,075 фунта/фут ) │
└───────────────────────────┴────────────────────────────────────┘
7.2.3.14. Собственная частота вентилятора или элементов вентилятора не должна быть в пределах 10% частоты лопатки-прохода. Частота проходов лопатки (в проходах в секунду) равна числу лопаток, умноженному на скорость вентилятора (в оборотах в секунду). Проскальзывание приводных ремней, низкое напряжение питания или неравномерное действие управления скоростью вентилятора могут привести к тому, что скорость вентилятора станет ниже расчетной; если частота проходов лопатки превышает собственную частоту вентилятора или его элемента, необходимо оценивать последствия такой работы.
7.2.3.15. Лопатки, втулки и держатели втулок вентилятора не должны подвергаться воздействию температур, превышающих предел рабочей температуры, рекомендованный изготовителем, независимо от того, работает вентилятор или остановлен. Если этот предел превышает 105 °C (220 °F) для неметаллических элементов или 145 °C (290 °F) для металлических элементов, покупатель должен рассмотреть вопрос использования специальных материалов и/или конструктивных особенностей. Кроме того, элементы вентилятора с регулируемым шагом могут еще более ограничивать температуры, которым может подвергаться вентилятор; см. 7.2.3.16.
7.2.3.16. Для обычных эластомерных материалов, используемых для изготовления элементов вентилятора с регулируемым шагом, температуры воздействия ограничены максимумами, представленными в таблице 8.
Таблица 8
Максимальные температуры, которым могут подвергаться
эластомерные материалы
┌────────────────────────────────────────────────────────────────┐
│Для мембранных пневмоприводов 105 °C (220 °F) │
├────────────────────────────────────────────────────────────────┤
│Для пневматических устройств позиционирования 80 °C (180 °F) │
├────────────────────────────────────────────────────────────────┤
│Для вращающихся муфт 120 °C (250 °F) │
└────────────────────────────────────────────────────────────────┘
При более высоких воздействующих температурах требуются соответствующие материалы, а также одобрение покупателя.
7.2.4. Валы и подшипники вентиляторов
7.2.4.1. Антифрикционные подшипники валов должны иметь расчетный номинальный ресурс

, равный 50000 ч при максимальной нагрузке и скорости в соответствии с ИСО 281 и/или ИСО 76 (

- количество часов при номинальной нагрузке на подшипник и скорости, которое или больше которого проработают 90% группы идентичных подшипников до появления первого свидетельства неисправности).
7.2.4.2. В конструкции подшипников должны быть предусмотрены уплотнения, предотвращающие утечку смазки и попадание инородных веществ.
7.2.4.3. Диаметр вала вентилятора должен соответствовать подшипникам. Размеры подшипника в соответствии с
7.2.4.1.
7.2.4.4. Напряжения, воздействующие на вал вентилятора, не должны превышать значений, приведенных в AGMA 6001
[7].
7.2.4.5. Валы вентиляторов должны иметь шпоночные канавки и посадки в соответствии с ИСО 2491 и ИСО 286 (допуск N 8), а также ИСО/R775.
7.2.4.6. Если подшипники вентилятора могут подвергаться воздействию температур свыше 130 °C (260 °F), то требуются одна или несколько специальных конструктивных особенностей, таких как высокотемпературные уплотнения, термостабилизация, аккумуляторы тепла или измененные внутренние зазоры. Смазочные материалы должны быть пригодны для расчетной температуры внешнего воздействия плюс температура, обусловленная трением или нагрузкой.
7.2.5. Смазочные устройства
Необходимо предусмотреть соединения за пределами ограждающих сеток вентилятора для подачи консистентной смазки на подшипники вала вентилятора без отключения оборудования. Для линий смазки следует использовать трубку из коррозионно-стойкой стали наружным диаметром не менее 6 мм (1/4"). Соединения должны быть доступны с земли или площадки обслуживания. Длина смазочных линий должна быть минимальной.
7.2.6. Ограждающие сетки вентиляторов
7.2.6.1. На теплообменниках с принудительной тягой должны быть установлены съемные стальные ограждающие сетки вентиляторов.
7.2.6.2. Материалы лопаток вентиляторов и ограждающих сеток вентиляторов должны сочетаться так, чтобы исключать искрение.
7.2.6.3. Номинальный размер ячеек ограждающей сетки из просечно-вытяжного металла в плоском виде не должен превышать 50 мм (2").
7.2.6.4. Минимальная толщина сетки из просечно-вытяжного металла должна соответствовать указанной в таблице 9.
Таблица 9
Минимальная толщина сетки из просечно-вытяжного металла
для ограждения вентилятора
В миллиметрах (дюймах)
┌────────────────────────────────┬───────────────────────────────┐
│ Номинальный размер │ Минимальная толщина │
├────────────────────────────────┼───────────────────────────────┤
│ 40 (1 1/2) │ 2 (0,070) │
├────────────────────────────────┼───────────────────────────────┤
│ 50 (2) │ 3 (0,110) │
└────────────────────────────────┴───────────────────────────────┘
7.2.6.5. Отверстия в тканой или сварной сетке для ограждения вентиляторов не должны превышать среднюю площадь 2600 мм2

, если расстояние между проволоками в обоих направлениях превышает 25 мм (1").
7.2.6.6. Толщина проволоки для сварной или тканой сетки должна быть не менее 2,8 мм (0,019").
7.2.6.7. Ограждения вентиляторов необходимо проектировать с элементами жесткости, чтобы концентрированная нагрузка 1000 Н (200 фунтов) на любом участке площадью 0,1 м2 (

) не вызывала поломки крепежного элемента или прогиба элемента жесткости больше, чем на L/90 (L - длина пролета между точками опоры).
7.2.6.8. Расстояние от ограждения вентилятора до лопатки вентилятора при ее максимальном рабочем шаге должно быть не менее 150 мм (6") или в шесть раз больше меньшего из размеров отверстия, причем берется то значение, которое меньше.
7.2.6.9. Зазоры между ограждением вентилятора и оборудованием или между секциями ограждения вентилятора не должны превышать 13 мм (1/2").
7.2.7. Приводы
7.2.7.1. Общие положения

7.2.7.1.1. Покупатель должен указать тип приводной системы и объем поставки продавца.
7.2.7.1.2. Для приводов с электродвигателями номинальная располагаемая мощность на валу двигателя должна быть больше членов на правой стороне приводимых ниже уравнений. Для паротурбинных приводов номинальная мощность, передаваемая валом, на муфте турбинного вала должна быть равна большей из следующих величин:

;

,
где

- номинальная мощность на валу привода;

- мощность на валу вентилятора, работающего при указанной минимальной расчетной температуре с установкой угла лопаток для расчетной температуры по сухому термометру;

- механический КПД отдельных силовых передач;

- мощность на валу вентилятора, работающего при расчетной температуре по сухому термометру.
Эти требования относятся к вентиляторам с постоянным углом лопаток, с регулируемым углом и с регулируемой скоростью.
7.2.7.2. Электроприводы

7.2.7.2.1. Электродвигатели должны быть трехфазными, герметичными, с вентиляторным охлаждением, пригодными для работы в составе нефтехимических установок и способными к пуску под полным напряжением, полному опрокидыванию фазы, предназначенными для длительной работы и рассчитанными на повышение температуры на 80 °C (140 °F) по сравнению с температурой окружающего воздуха 40 °C (140 °F), указанной в данных на заводской табличке. Покупатель должен указывать напряжение и частоту, применимые технические условия на электродвигатель, класс опасности помещения, класс температуры и класс изоляции.
7.2.7.2.2. Изготовителю электродвигателя необходимо сообщать, что двигатель предназначен для аппарата с воздушным охлаждением и для работы вне помещения, без защиты от атмосферных воздействий. Если двигатель должен работать вертикально, изготовитель должен подтвердить в письменном виде, что двигатель пригоден для работы в вертикальном положении, валом вниз или валом вверх.
7.2.7.2.3. Если иное не согласовано с покупателем, рамы электродвигателей должны быть из литой стали или стойкого к коррозии литого чугуна, с опорными лапами, отлитыми как единое целое с рамой.
7.2.7.2.4. Расчетная нагрузка электродвигателя должна исключать допуск на эксплуатационный коэффициент.
7.2.7.2.5. Электродвигатели должны иметь подшипники, смазываемые консистентной смазкой и рассчитанные на ресурс

или не менее 40000 ч непрерывной работы при номинальной нагрузке и скорости (определение

см. в
7.2.4.1). Если двигатель будет установлен вертикально, то система смазки подшипников и уплотнения должны быть пригодны для вертикальной установки двигателя.
7.2.7.2.6. Если электродвигатель устанавливается в положении валом вверх, то ременный шкив должен быть спроектирован как защитный элемент, не позволяющий воде накапливаться и стекать вниз по валу двигателя, пока двигатель находится в холостом или рабочем режиме. В альтернативном варианте на вал можно устанавливать внешний конический защитный элемент, чтобы вода не попадала в корпус по валу.
7.2.7.2.7. Электродвигатели, устанавливаемые на аппарате с воздушным охлаждением, должны иметь дренажи в нижней точке рамы.
7.2.7.2.8. Стандартные электродвигатели предназначены для работы при температуре окружающего воздуха 40 °C (104 °F) и на высотах от уровня моря, не превышающих 1000 м (3280 футов). Для работы при более высоких температурах и/или высотах (на которых плотность воздуха ниже) может потребоваться улучшение изоляции или увеличение размера рамы двигателя. Если двигатель предназначен для работы в условиях более жестких, чем стандартные, об этом следует уведомлять изготовителя двигателя.
7.2.7.2.9. Если это указано покупателем, то следует устанавливать самосрабатывающее тормозное устройство, чтобы предотвращать обратное вращение выключенного вентилятора и соединенного с ним привода вследствие движения воздуха вниз.
7.2.7.3. Приводные системы с регулируемой скоростью
Требования к приводным системам с регулируемой скоростью должны быть согласованы между покупателем и продавцом.
7.2.7.4. Паротурбинные приводы
Паротурбинные приводы - по ИСО 10436.
7.2.8. Муфты и передачи
7.2.8.1. Общие положения
7.2.8.1.1. Втулки и муфты должны быть либо разрезными конусообразными, либо с цилиндрической посадкой; они должны иметь шпоночное крепление.
7.2.8.1.2. Элементы передач должны иметь номинальную мощность при непрерывной работе, по крайней мере, равную номинальной мощности фактического привода, умноженной на эксплуатационный коэффициент элемента.
7.2.8.1.3. Муфты вала вентилятора и вала передачи должны быть несмазываемого типа и иметь эксплуатационный коэффициент не менее 1,5.
7.2.8.1.4. Открытые движущиеся части должны иметь ограждения в соответствии с
7.2.8.4.
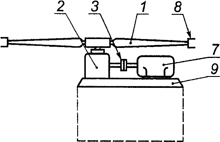
7.2.8.1.5. На
рисунке 8 показаны типовые устройства приводов.
a - привод с прямой ортогональной зубчатой передачей
b - ременный привод
c - прямой привод от электродвигателя
d - привод с ортогональной зубчатой передачей,
с опорой вентилятора
e - подвесной ременный привод, вал двигателя вниз
f - подвесной ременный привод, вал двигателя вверх
1 - вентилятор; 2 - коробка передач; 3 - муфта;
4 - подшипник; 5 - шкив; 6 - ременный привод;
7 - электродвигатель; 8 - кольцо вентилятора;
9 - опорная плита; 10 - опора вентилятора
Рисунок 8. Типовые устройства приводов
7.2.8.2. Ременные приводы
7.2.8.2.1. Приводные ремни должны быть либо обычными клиновидными ремнями, либо ремнями для передачи высокого крутящего момента.
7.2.8.2.2. В потоке нагретого воздуха (например, в устройствах, установленных наверху) ременные приводы использовать не следует, если это не будет одобрено покупателем. Если такое одобрение получено, то необходимо учесть максимальную температуру воздуха возле ремня (или максимальную температуру, до которой может нагреться ремень вследствие излучения) при всех условиях; при этом следует также учитывать снижение КПД вентилятора. Продавец должен указывать, как подвешен привод; привод не должен находиться в потоке нагретого воздуха (см. также
7.2.7.2.8 и
7.2.8.2.13).
7.2.8.2.3. Ременные приводы должны быть снабжены ограждениями в соответствии с
7.2.8.4.
7.2.8.2.4. Ременные приводы должны быть снабжены винтовыми домкратами или эквивалентными средствами для первоначального натяжения ремня и/или его последующего подтягивания.
7.2.8.2.5. Приводы с клиновидными ремнями должны соответствовать ИСО 1081, ИСО 4183, ИСО 4184, ИСО 5287, ИСО 5290 и/или ИСО 9563 в зависимости от того, какие стандарты применимы.
7.2.8.2.6. Клиновидные ремни должны быть либо подогнанными друг к другу комплектами отдельных ремней, либо многоэлементной системой, сформированной путем соединения подогнанных комплектов отдельных ремней.
7.2.8.2.7. Ременные жесткие передачи с высоким вращающим моментом могут быть с одним ремнем или парой подогнанных ремней.
7.2.8.2.8. Клиновидные ремни должны иметь минимальный эксплуатационный коэффициент 1,4, основанный на номинальной мощности привода.
7.2.8.2.9. Ременные жесткие передачи с высоким вращающим моментом должны иметь минимальный эксплуатационный коэффициент 1,8, основанный на номинальной мощности привода.
7.2.8.2.10. Приводные системы с клиновидными ремнями, подвешенными на конструктивном элементе, допускается использовать с приводами от электродвигателя номинальной мощностью не более 30 кВт (40 л.с.).
7.2.8.2.11. Системы ременных жестких передач с высоким вращающим моментом, подвешенных на конструктивном элементе, допускается использовать с приводами от электродвигателя номинальной мощностью не более 45 кВт (60 л.с.).
7.2.8.2.12. Рубашка приводного ремня должна быть маслостойкой.
7.2.8.2.13. Стандартные материалы для приводных ремней имеют ограничение по температуре эксплуатации 60 °C (140 °F).
7.2.8.3. Зубчатые передачи
7.2.8.3.1. С электродвигателями номинальной мощностью более 45 кВт (60 л.с.) необходимо использовать зубчатые передачи; с электродвигателями номинальной мощностью не более 45 кВт (60 л.с.) допускается использовать зубчатые передачи.
7.2.8.3.2. Зубчатые передачи для электродвигателей номинальной мощностью не более 45 кВт (60 л.с.) допускается подвешивать на конструктивных элементах.
7.2.8.3.3. С паротурбинными приводами необходимо использовать зубчатые передачи.
7.2.8.3.4. Зубчатые колеса должны быть спиральнозубого конического типа. Они должны иметь минимальный эксплуатационный коэффициент 2,0 в соответствии с AGMA 6010
[8].
7.2.8.3.5. Установленные сверху зубчатые передачи использовать нельзя.
7.2.8.3.6. Корпуса зубчатых передач должны быть снабжены внешним индикатором уровня масла, видимым с площадки обслуживания.
7.2.8.3.7. Продавец должен предоставить информацию относительно ожидаемой температуры смазочного масла передачи, вязкости масла, которым система заправляется первоначально, а также другие рекомендации по смазке.
7.2.8.4. Ограждения механических передач
7.2.8.4.1. Для движущихся элементов должны быть предусмотрены ограждения.
7.2.8.4.2. Ограждения должны быть спроектированы так, чтобы обеспечивать удобный доступ для технического обслуживания оборудования.
7.2.8.4.3. Зазоры между ограждениями и оборудованием не должны превышать 13 мм (1/2").
7.2.9. Вибровыключатели
7.2.9.1. Для каждого приводного узла вентилятора, если этого требует покупатель, должен быть обеспечен один легкодоступный перекидной двухконтактный выключатель при вибрации.
7.2.9.2. Выключатели должны быть легко приводимыми в исходное положение вручную без демонтажа выключателя для установки в исходное положение и иметь регулировку чувствительности.
7.2.10. Жалюзи
7.2.10.1. Толщина лопаток жалюзи, изготовленных из гладкого листа, должна быть не менее 1,5 мм (0,060") для углеродистой стали и 2,3 мм (0,090") для алюминия. Толщина экструдированных полых алюминиевых лопаток должна быть не менее 1,5 мм (0,060").
7.2.10.2. Толщина рамы из углеродистой стали - не менее 3 мм (0,135"); толщина алюминиевых рам - не менее 4 мм (0,160").
7.2.10.3. Длина лопаток жалюзи без опоры не должна превышать 2,1 м (7 футов).
7.2.10.4. Отклонения лопаток жалюзи и боковых рам не должны превышать значений, приведенных в таблице 10.
Таблица 10
Максимальное допустимое отклонение жалюзи
Элементы | Максимальное отклонение |
Лопатки жалюзи в закрытом положении при расчетной нагрузке 2000 Н/м2 (40 фунтов/фут2) | L/180 |
Боковые рамы жалюзи в закрытом положении при равномерной расчетной нагрузке 1000 Н/м2 (20 фунтов/фут2) | L/360 |
L - длина пролета между точками опоры. |
7.2.10.5. Отклонение лопаток и боковых рам жалюзи должно оцениваться при температуре металла не менее следующих значений:
a) максимальная температура технологической среды на входе ниже 30 °C (50 °F);
b) указанная в технических условиях температура воздуха на входе по сухому термометру.
7.2.10.6. Зазор между лопатками жалюзи и рамой на концах коллектора не должен превышать 6 мм (1/4").
7.2.10.7. Зазор между лопатками жалюзи и рамой на сторонах жалюзи не должен превышать 3 мм (1/8").
7.2.10.8. Оси шарниров лопаток жалюзи должны быть спроектированы в расчете на их нагрузку, но в любом случае должны иметь диаметр не менее 9 мм (3/8").
7.2.10.9. Во всех точках поворота, включая рычаг управления, вращающую штангу и оси шарниров лопаток, должны быть установлены подшипники, рассчитанные на работу при температуре, указанной в
7.2.1.4. Подшипники не должны требовать смазки. Подшипники из композитного материала на основе политетрафторэтилена (фторопласта ПТФЭ) в соответствии с
8.3.2 не следует подвергать воздействию температур свыше 150 °C (300 °F). Имеются материалы подшипников, выдерживающие более высокие температуры, но для их применения требуется одобрение покупателя.
7.2.10.10. Система передачи движения жалюзи должна быть сконструирована так, чтобы при изменении положения исполнительного механизма происходило равное движение всех лопаток жалюзи. Максимальное допустимое отклонение составляет 3 мм (1/8"); оно измеряется, как зазор между любыми двумя лопатками, когда исполнительный механизм находится в положении полного закрытия. Средства передачи усилия от исполнительного механизма жалюзи к лопаткам должны выдерживать без повреждений максимально возможное усилие, которое может приложить исполнительный механизм при любом положении лопаток и в любом направлении.
7.2.10.11. Крутящий момент, требующийся для привода секций жалюзи, должен быть не более 7 Н x м на каждый квадратный метр (работа 6 дюйм-фунтов на квадратный фут) лицевой площади для полного перемещения на всю длину хода. Сила, прилагаемая для ручного управления жалюзи, не должна превышать 250 Н (56 фунтов).
7.2.10.12. Ход лопаток жалюзи от полностью закрытого до полностью открытого состояния должен быть не менее 70°.
7.2.10.13. Все соединения валов должны крепиться в точках регулировки шпонками, шплинтами или эквивалентными принудительными методами. Соединения на установочных винтах использовать нельзя.

7.2.10.14. В случае автоматического управления исполнительные механизмы жалюзи должны быть рассчитаны на срабатывание при избыточном давлении пневматического сигнала управления от 20 до 100 кПа (3 - 15 фунтов на квадратный дюйм). Если на исполнительные механизмы подают расчетное давление движущего воздуха, они должны быть рассчитаны на подачу не менее 150% усилия, необходимого для полного хода лопаток жалюзи. Расчетное избыточное давление движущего воздуха должно быть 410 кПа (60 фунтов на квадратный дюйм).

7.2.10.15. Если не указано иное, каждый исполнительный механизм должен быть снабжен устройством позиционирования.
7.2.10.16. Если одно управляющее устройство управляет более чем одним исполнительным механизмом, покупатель должен устанавливать стопорный клапан на сигнальной линии каждого исполнительного механизма, чтобы обеспечивать возможность технического обслуживания.
7.2.10.17. Узел исполнительного механизма и позиционирующего устройства должен быть размещен так, чтобы не мешать доступу к коллектору, и оба они должны быть доступны для технического обслуживания с площадки обслуживания (если она имеется). Этот узел не должен находиться в потоке горячего воздуха, если температура выходного воздуха в каком-либо режиме превышает 70 °C (160 °F). Для более высоких температур нужно выбирать другие материалы.

7.2.10.18. Положение жалюзи в случае потери управляющего давления воздуха должен указать покупатель.
7.2.10.19. Все жалюзи, не имеющие автоматического или другого дистанционного управления, должны быть снабжены удлинителями или цепями, обеспечивающими возможность ручного управления с земли или площадки, с тем исключением, что удлинители или цепи должны быть не длиннее 6 м (20 футов). Рукоятки для ручного управления не должны выступать на мостики или проходы для обслуживания ни в каком рабочем положении.
7.2.10.20. Для ручных органов управления необходимо предусматривать запорное устройство, обеспечивающее сохранение положения жалюзи. Запорные устройства с установочным винтом или винтом с барашком не допускаются. Необходимы средства, показывающие закрыты жалюзи или открыты.
7.2.10.21. Кривая рабочей характеристики жалюзи должна показывать соотношение между процентом воздушного потока и углом раскрытия лопаток жалюзи.
7.2.10.22. Все требования относятся к жалюзи как параллельного, так и противоположного действия, если не указано иное.
7.2.10.23. Вследствие характера их конструкции жалюзи легко могут повредиться во время погрузочно-разгрузочных операций. Необходимо обеспечивать широкозахватные траверсы и процедуры, исключающие деформацию. На сборочном чертеже жалюзи должны быть приведены инструкции по погрузочно-разгрузочным работам. На жалюзи в одной точке подъема должна быть нанесена маркировка, указывающая процедуру подъема.
7.2.10.24. Для удержания рычагов ручного управления в установленном положении необходимо использовать фиксаторы штифтового типа; стопорные гайки с барашком не допускаются.
7.2.10.25. Все соединения рычажных передач жалюзи должны иметь сквозные болты или штифты; соединения фрикционного типа не допускаются. Установку болтов или штифтов осуществляют после окончательного регулирования передачи.
7.2.11. Экраны

Покупатель должен указывать, требуются ли экраны, и если требуются, то указывать тип (экраны для защиты от града, насекомых и/или пуха).
7.3. Проектирование конструкций
7.3.1. Общие требования

7.3.1.1. Нормы и правила проектирования конструкций должны быть оговорены покупателем или согласованы с ним. Проектирование, изготовление и монтаж стальных конструкций должны соответствовать конструкционным нормам и правилам.
7.3.1.2. Болты для несущих элементов следует проектировать и устанавливать в соответствии с конструкционными нормами и правилами.
7.3.1.3. Расчетное напряжение сварных соединений должно соответствовать конструкционным нормам и правилам.
7.3.1.4. Конструктивные элементы следует проектировать без необходимости сварки на строительной площадке.
7.3.1.5. В теплообменниках с отсасывающей тягой должна быть возможность съема трубных пучков без демонтажа площадок, если иное не указано покупателем. В теплообменниках с нагнетательной тягой трубные пучки должны сниматься без дополнительных опор для вентилятора, воздухораспределительной камеры, а также без нарушения структуры соседних секций.
7.3.1.6. Подвесные приводы следует прикреплять к конструкции сквозными болтами, чтобы обеспечивать возможность демонтажа.
7.3.2. Вибрационные испытания
7.3.2.1. Конструктивные элементы должны быть спроектированы так, чтобы свести к минимуму вибрацию. Максимальная амплитуда вибрации в проектном диапазоне скоростей вентилятора должна быть 0,15 мм (0,006") от пика до пика при измерении на основных конструктивных элементах и креплениях оборудования.

7.3.2.2. Покупатель должен указывать, требуются ли заводские испытания для определения уровня вибрации.
7.3.2.3. Скорость ветра при испытаниях не должна превышать 5 м/с (10 миль в час).
7.3.2.4. Действительная скорость вибрации (среднеквадратичная), измеренная на подшипниках перпендикулярно к оси вала вентилятора, не должна превышать 6,3 мм/с (1/4 дюйма/с) до 10 об/с и 3,0 мм/с (1/8 дюйма/с) свыше 10 об/с.
7.3.3. Нагрузки и силы, действующие на конструкции
7.3.3.1. Общие требования
При проектировании необходимо учитывать нагрузки и силы, определяемые в 7.3.3.2 -
7.3.3.13.
7.3.3.2. Постоянные нагрузки

Постоянные нагрузки состоят из общей массы оборудования, поставляемого продавцом, плюс масса системы предусмотренной противопожарной защиты. Если применяют противопожарную защиту, покупатель должен сообщить ее степень и массу.
7.3.3.3. Временные нагрузки
Временные нагрузки состоят из движущихся нагрузок (в том числе от персонала, передвижных машин, инструментов и оборудования) и рабочих нагрузок в оборудовании и трубопроводах. Расчетные временные нагрузки на площадки, колонны и мостики (исключая нагрузки от установленных трубопроводов и оборудования) должны соответствовать указанным в таблице 11.
Таблица 11
Временные нагрузки на площадки колонны и мостики
┌──────────────────────┬────────────────────┬────────────────────┐
│ Элементы │ Средняя нагрузка, │ Концентрированная │
│ │ 2 │нагрузка, Н (фунтов)│
│ │ Н/м2 (фунтов/фут ) │ │
├──────────────────────┼────────────────────┼────────────────────┤
│Плита или решетка пола│ 4900 (100) │ - │
├──────────────────────┼────────────────────┼────────────────────┤
│Рама пола │ 2450 (50) │ 2250 (500) │
├──────────────────────┼────────────────────┼────────────────────┤
│Колонны и кронштейны │ 1200 (25) │ 2250 (500) │
├──────────────────────┼────────────────────┼────────────────────┤
│Лестницы и трапы │ - │ 2250 (500) │
└──────────────────────┴────────────────────┴────────────────────┘
7.3.3.4. Динамические нагрузки
Расчетные вертикальные динамические нагрузки для подъемных устройств, представляемые продавцом, должны быть в 2,0 раза больше массы самой тяжелой единицы оборудования, которую нужно поднимать. Боковая динамическая нагрузка должна составлять 0,35 поднимаемой массы.
7.3.3.5. Тепловые нагрузки
Тепловые нагрузки включают силы, вызываемые частичным или полным креплением трубопровода или оборудования, трением скольжения или качения оборудования и тепловым расширением или сжатием конструкций. Допустимые тепловые нагрузки должны быть согласованы покупателем и продавцом.
7.3.3.6. Испытательная нагрузка
Испытательная нагрузка - это нагрузка, вызываемая заполнением оборудования водой для испытаний.
7.3.3.7. Ветровая нагрузка
Ветровая нагрузка должна соответствовать конструкционным нормам и правилам.
7.3.3.8. Сейсмические нагрузки
Расчеты сейсмостойкости следует производить в соответствии с Единым строительным кодексом ICBO
[9].
7.3.3.9. Нагрузки на патрубки
Нагрузки на патрубки включают все силы и моменты, действующие на поверхность разъема патрубка, в том числе собственную массу трубы, тепловые нагрузки, жидкость в трубопроводе и т.д. Общее значение и направление этих усилий и моментов должны соответствовать
7.1.10, если не указано иное.
7.3.3.10. Усилие, создаваемое вентилятором
Расчет усилия, создаваемого вентилятором, должен основываться на максимальном усилии. Если скоростной напор не включен, то напор вентилятора должен основываться на статическом давлении, указанном в технических характеристиках, умноженном на 1,25.
7.3.3.11. Снеговая нагрузка

Покупатель должен указывать снеговую нагрузку, которая будет воздействовать на весь участок, занимаемый аппаратом с воздушным охлаждением, если такая нагрузка будет.
7.3.3.12. Другие нагрузки

Покупатель должен задать другие нагрузки, усилия и моменты, кроме описанных в
7.3.3.3 - 7.3.3.11, которым будет подвергаться аппарат с воздушным охлаждением, указав точный тип, место, значение и направление. Например: особые нагрузки при транспортировке; вспомогательные опоры для труб, лестницы и мостики, поставляемые другими поставщиками; опоры временных лесов. Нагрузки на конструкции и патрубки, вызываемые движением конструкции или установки (например, плавучей добывающей платформы), на которой смонтирован аппарат, должен указывать покупатель с приведением данных об их точном типе, месте, значении и направлении (например, бортовая и килевая качка, рыскание, вертикальная качка, продольный снос и боковые перемещения).
7.3.3.13. Комбинации нагрузок
Все конструктивные элементы должны быть спроектированы так, чтобы выдерживать комбинации нагрузок и усилий, которым они могут подвергаться во время монтажа, испытаний или промывки оборудования, или во время нормальной эксплуатации. При проектировании стоек, тяг, анкерных болтов и фундаментов, а также при проверке устойчивости против опрокидывания необходимо учесть указанные ниже комбинации нагрузок. Однако всегда надо учитывать и нагрузки особого характера. (Все нагрузки и усилия складываются).
a) Монтаж:
1) собственная масса конструкции без системы противопожарной защиты;
2) большее значение из следующих:
i) собственная масса оборудования без труб,
ii) собственная масса оборудования без площадок, опирающихся на оборудование;
3) полная ветровая нагрузка или сейсмическая нагрузка, причем берут ту величину, которая больше.
b) Испытания или промывка оборудования:
1) собственная масса конструкции с системой противопожарной защиты;
2) собственная масса оборудования с площадками, опирающимися на оборудование;
3) нагрузки на патрубки;
4) испытательные нагрузки;
5) ветровая нагрузка 500 Н/м2 (

);
6) возможные временные нагрузки от площадок и мостиков, указанные в
7.3.3.3. Однако эти временные нагрузки не следует включать в расчет анкерных болтов или проверку устойчивости против ветра или землетрясения.
c) Нормальная эксплуатация:
1) собственная масса конструкции;
2) собственная масса оборудования, включая площадки, опирающиеся на оборудование;
3) нагрузки на патрубки;
4) масса рабочей среды в оборудовании;
5) несбалансированные силы от удара;
6) возможные временные нагрузки, указанные в
7.3.3.3. Однако эти временные нагрузки не следует включать в расчет анкерных болтов или проверку устойчивости против ветра или землетрясения;
7) полная ветровая нагрузка или сейсмическая нагрузка, причем берут ту величину, которая больше.
7.3.4. Воздухораспределительные камеры
7.3.4.1. На
рисунке 9 представлены типовые компоновки воздухораспределительных камер.
a - нагнетательная тяга - камера коробчатого типа
b - нагнетательная тяга - переходная камера
c - всасывающая тяга - камера коробчатого типа
d - всасывающая тяга - переходная камера
Рисунок 9. Типовые компоновки
воздухораспределительных камер
7.3.4.2. Камеры коробчатого типа панельной конструкции следует проектировать так, чтобы они образовывали неотъемлемую часть конструкции.
7.3.4.3. Блоки аппаратов, монтируемые на объекте, следует проектировать с общими стенками между соседними камерами.
7.3.4.4. Воздухораспределительные камеры между вентилятором и трубным пучком должны иметь перегородки, предотвращающие рециркуляцию воздуха от работающих вентиляторов через неработающие вентиляторы.
7.3.4.5. Требования к перегородкам воздухораспределительных камер для систем рециркуляции задаются покупателем или согласуются с ним.
7.3.4.6. Толщина стального листа для изготовления воздухораспределительных камер - не менее 2,0 мм (0,075") для гладкого листа или 1,5 мм (0,060") - для ребристого листа.
7.3.4.7. Минимальную высоту воздухораспределительной камеры определяют по
7.2.3.4.
7.3.4.8. Изготовленные заводским способом стальные платформы для вентиляторов должны быть рассчитаны на временную нагрузку 2500 Н/м2 (50 фунтов/фут

), но в любом случае толщина металла должна быть не менее 2,7 мм (0,105").
7.3.5. Механические устройства для доступа

7.3.5.1. Количество и местонахождение площадок для доступа к коллектору, соединительных мостиков и лестниц определяет покупатель.

7.3.5.2. Если это указано, должны быть предусмотрены площадки для обслуживания под каждым узлом привода, чтобы обеспечивать доступ для демонтажа и замены любых элементов привода. Должна быть предусмотрена свободная площадь такой площадки, простирающейся как минимум на 0,6 м (2 фута) в любом измерении в плане со всех сторон привода и элементов привода. Однако такие площадки не должны выходить за пределы секции в плане.
7.3.5.3. Площадки должны иметь ширину не менее 0,75 м (2 фута 6").
7.3.5.4. Пол мостиков, платформ и т.д. должен представлять собой сплошной настил с выпуклым рельефом с отверстиями для стока, просечно-вытяжной металлический лист или решетку. Если используют стальной лист с выпуклым рельефом, толщина должна быть не менее 6 мм (1/4"). Допускается использовать стеклопластик, если это указано покупателем или согласовано с ним.
7.3.5.5. Лестницы, перила, ограждающие бровки, защитные ограждения должны быть выполнены из стали, если это указано покупателем или согласовано с ним, из стеклопластика в соответствии с местными нормами. Применяются следующие правила:
a) защитные ограждения применяют для лестниц более 3 м (10 футов) высотой;
b) поперек выходов лестниц на площадки должны быть установлены цепи с крюками безопасности или калитки безопасности;
c) лестницы высотой более 2 м (6 футов) должны обеспечивать доступ на площадку с боковой ступеньки, если не указано иное.
7.3.5.6. Площадки у коллектора должны быть снабжены ограждающей бровкой со стороны теплообменника. Если зазор между площадкой и теплообменником больше 150 мм (6"), необходимо сделать ограждение до высоты колена.
7.3.5.7. Если перила из стальной трубы не оцинкованы, они должны иметь герметизирующие уплотнения во избежание внутренней коррозии.

7.3.5.8. Покупатель должен указывать требования, если они имеются, относящиеся к защите персонала от выходящего воздуха с высокой температурой и от горячих поверхностей.
7.3.6. Грузоподъемные устройства
7.3.6.1. На каждой боковой раме трубных пучков и на каждой боковой раме секции жалюзи должно быть предусмотрено не менее двух проушин для подъема. Подъемные проушины на боковых рамах соседних трубных пучков должны быть расположены так, чтобы не мешать при монтаже трубных пучков.
7.3.6.2. На каждой съемной крышке и каждом съемном колпаке должно быть по две подъемных проушины.
7.3.6.3. Проушины, используемые для боковых рам трубных пучков, боковых рам жалюзи, крышек и колпаков, должны быть цельноковаными или выполнены из пластин. Диаметр отверстия в проушине - не менее 40 мм (

).
7.3.6.4. На каждом приводе и зубчатом колесе должно быть достаточно подъемных рымов, чтобы обеспечивать их безопасный монтаж и демонтаж. Следует предусмотреть, чтобы они соответствовали подъемным инструментам.
7.3.6.5. Расчет проушины или рыма должен быть основан на полной нагрузке, равной удвоенной массе поднимаемого груза.
7.3.6.6. Конструктивные элементы должны быть снабжены точками приложения нагрузки при монтаже и демонтаже элементов приводов.
| | Применение на добровольной основе раздела 8 обеспечивает соблюдение требований технического регламента "О безопасности машин и оборудования", утв. Постановлением Правительства Российской Федерации от 15.09.2009 N 753 (Приказ Росстандарта от 20.08.2010 N 3108). | |
8.1.1. Материалы для элементов, работающих под давлением, должны соответствовать нормам для сосудов, работающих под давлением.
8.1.2. Использование чугуна для элементов, работающих под давлением в воспламеняющихся, опасных для жизни или токсичных средах, не допускается.
8.1.3. Конструктивные опоры, такие как боковые рамы и балки, которые являются частью трубного пучка и недоступны для технического обслуживания, должны быть оцинкованы, если не указано иное.
8.1.4. Оцинковывание конструкционной стали осуществляют в соответствии с ИСО 1459 и ИСО 1461.
8.1.5. На открытых элементах, работающих под давлением, из аустенитной коррозионно-стойкой стали или легированной стали с высоким содержанием никеля или непосредственно над ними нельзя применять оцинкованные материалы или содержащие цинк краски.
8.1.6. Сочетания конструкционных материалов должны быть совместимыми, чтобы свести к минимуму образование электролитических (гальванических) элементов.
8.2.1. Наружные несущие детали, приваренные к коллекторам, должны быть выполнены из материала, разрешенного нормами и правилами для сосудов, работающих под давлением.
8.2.2. Привариваемые перегородки ходов и элементы жесткости коллектора должны быть из материала той же спецификации, что и материал пластин корпуса коллектора, с тем исключением, что с одобрения покупателя в коллекторах из углеродистой стали сварные перегородки проходов или элементы жесткости могут быть выполнены из подходящей легированной стали, чтобы избежать слишком толстых сечений.
8.2.3. Материал пробки коллектора, служащей для доступа к трубам, должен быть совместим с материалом коллектора. Использование чугуна в качестве материала для пробок не допускается.
8.2.4. Пробки коллектора для доступа к трубам, выполненные из прутков углеродистой стали, или отдельные кованые пробки должны быть из материала, разрешенного нормами для сосудов, работающих под давлением.
8.2.5. Если материалом коллектора является сплошная коррозионно-стойкая сталь, следует принять меры во избежание коррозионного истирания между пробками и пластиной, куда устанавливают пробки.
8.3.1. Оси шарниров лопаток жалюзи должны быть выполнены из аустенитной коррозионно-стойкой стали или алюминиевого сплава.
8.3.2. Подшипники жалюзи должны быть либо из композитного материала на основе из политетрафторэтилена (фторопласт ПТФЭ), содержащей не менее 20% наполнителя, обеспечивающего выдерживание температур до 150 °C (300 °F), или из одобренного покупателем альтернативного материала, если это требуется для более высоких расчетных температур.
8.3.3. Стальные лопатки и рамы жалюзи должны быть оцинкованы. Если используют материал заводской оцинковки, все срезы и края отверстий должны быть защищены покрытием с высоким содержанием цинка.

8.4.1. Материалом для оребрения труб должен быть алюминий, если иное не указано покупателем или не согласовано с ним.

8.4.2. Лопатки вентилятора должны быть из алюминия или стеклопластика, если не указано иное.
8.4.3. Пробки для резьбовых штуцеров должны быть из материала с содержанием легирующих элементов не меньше, чем у штуцера.
8.4.4. Воздухораспределительные камеры, опорные плиты вентиляторов, перегородки, площадки и кольца вентиляторов должны быть выполнены из углеродистой стали, если не указано иное.
8.4.5. Материал металлических прокладок должен быть мягче, чем материал поверхности, с которой контактирует прокладка.
8.4.6. Сплошные металлические прокладки для пробок с плечиками должны иметь твердость по Бринеллю не более 120 HB для углеродистой стали или 160 HB для аустенитной коррозионно-стойкой стали и аустенитно-ферритной (выплавленной дуплекс-процессом) коррозионно-стойкой стали.
| | Применение на добровольной основе раздела 9 обеспечивает соблюдение требований технического регламента "О безопасности машин и оборудования", утв. Постановлением Правительства Российской Федерации от 15.09.2009 N 753 (Приказ Росстандарта от 20.08.2010 N 3108). | |
9. Изготовление трубного пучка
9.1.1. Общие требования
9.1.1.1. Сварочные процедуры должны быть сертифицированы, а сварщики аттестованы в соответствии с нормами для сосудов, работающих под давлением. Сварочные работы следует выполнять в соответствии с нормами для сосудов, работающих под давлением.
9.1.1.2. Все сварные соединения коллекторов, на которые будет воздействовать давление, должны иметь полное проплавление и полный провар. Все сварные соединения коллектора, кроме соединений коллектора со штуцерами, должны быть двусторонними, но если одна сторона на детали, работающей под давлением, недоступна, то допускается применять односторонние швы при условии полного проплавления.
9.1.1.3. Проход при заварке корня шва в односторонних сварных швах без подкладной планки необходимо выполнять методом дуговой сварки плавящимся электродом в среде защитного газа, дуговой сварки вольфрамовым электродом в среде защитного газа или дуговой сварки металлическим покрытым электродом с низким содержанием водорода.
9.1.1.4. Замкнутые пространства между любой приварной частью и коллектором должны вентилироваться посредством просверленных отверстий диаметром 3 мм (1/8").
9.1.2. Коллекторы с пробками
9.1.2.1. Перегородки должны быть герметично приварены к стенке коллектора, в которую они монтируются, причем швы должны быть выполнены с обеих сторон. При необходимости использовать приварку с полным проплавлением.
9.1.2.2. Если перегородки проходов используют также в качестве элементов жесткости, следует применять сварные швы с полным проплавлением.
9.1.3. Коллекторы со съемными крышками или съемными колпаками
9.1.3.1. Фланцы съемной крышки и фланцы съемного колпака следует приваривать сваркой с полным проплавлением.
9.1.3.2. Перегородки и элементы жесткости следует приваривать с обеих сторон по всей длине примыкания кромок.
9.2. Термообработка после сварки
9.2.1. Все коллекторы из углеродистой стали и низколегированной стали должны проходить термообработку после сварки. Сварные соединения между трубами и трубными досками термообработке после сварки не подвергаются.
9.2.2. Прокладки, выполненные из ферритных материалов с применением сварки, должны проходить полный отжиг после сварки.
9.3. Соединения труб с трубными досками
9.3.1. Диаметры отверстий под трубы и их допуски
9.3.1.1. Отверстия для труб в трубных досках должны быть выполнены в соответствии с таблицей 12, графы 2, 3.
Таблица 12
Диаметры отверстий под трубы и их допуски
В миллиметрах (дюймах)
┌───────────┬─────────────────────┬─────────────────────┬────────┐
│Номинальный│ Стандартная посадка │ Специальная тесная │Плюсовый│
│ наружный │ │ посадка │ допуск │
│ диаметр ├───────────┬─────────┼───────────┬─────────┤ │
│ трубы │номинальный│минусовый│номинальный│минусовый│ │
│ │ диаметр │ допуск │ диаметр │ допуск │ │
│ │ отверстия │ │ отверстия │ │ │
│ │ под трубу │ │ под трубу │ │ │
├───────────┼───────────┼─────────┼───────────┼─────────┼────────┤
│ 1 │ 2 │ 3 │ 4 │ 5 │ 6 │
├───────────┼───────────┼─────────┼───────────┼─────────┼────────┤
│ 19,05 │ 19,30 │ 0,10 │ 19,25 │ 0,05 │ 0,05 │
│ (3/4) │ (0,760) │ (0,004) │ (0,758) │ (0,002) │(0,002) │
├───────────┼───────────┼─────────┼───────────┼─────────┼────────┤
│ 25,40 │ 25,70 │ 0,10 │ 25,65 │ 0,05 │ 0,05 │
│ (1) │ (1,012) │ (0,004) │ (1,010) │ (0,002) │(0,002) │
├───────────┼───────────┼─────────┼───────────┼─────────┼────────┤
│ 31,75 │ 32,11 │ 0,15 │ 32,03 │ 0,08 │ 0,08 │
│ (1 1/4) │ (1,264) │ (0,006) │ (1,261) │ (0,003) │(0,003) │
├───────────┼───────────┼─────────┼───────────┼─────────┼────────┤
│ 38,10 │ 38,56 │ 0,18 │ 38,46 │ 0,08 │ 0,08 │
│ (1 1/2) │ (1,518) │ (0,007) │ (1,514) │ (0,003) │(0,003) │
├───────────┼───────────┼─────────┼───────────┼─────────┼────────┤
│ 50,80 │ 51,36 │ 0,18 │ 51,26 │ 0,08 │ 0,08 │
│ (2) │ (2,022) │ (0,007) │ (2,018) │ (0,003) │(0,003) │
└───────────┴───────────┴─────────┴───────────┴─────────┴────────┘

9.3.1.2. Для нагартовывающихся коррозионно-стойких материалов более тесная посадка между наружным диаметром трубы и внутренним диаметром отверстия для трубы может уменьшать наклеп (что может привести к потере коррозионной стойкости). Более тесная посадка, если ее требует покупатель, должна соответствовать
таблице 12, графы 4, 5.
9.3.1.3. Не более 4% общего количества отверстий под трубы в трубной доске могут превышать плюсовые допуски, указанные в
таблице 12, графа 6. Ни одно из отверстий под трубы не должно превышать номинальный диаметр отверстия для трубы, указанный в
таблице 12, более чем на 0,25 мм (0,01").
9.3.2. Канавки в отверстиях под трубы
9.3.2.1. Все отверстия для развальцованных соединений в трубных досках толщиной менее 25 мм (1") должны быть механически обработаны с образованием одной канавки шириной приблизительно 3 мм (1/8") и глубиной 0,4 мм (1/64"). В трубных досках толщиной не менее 25 мм (1") необходимо выполнять вторую канавку.
9.3.2.2. Канавки в отверстиях под трубы должны иметь квадратные края, быть концентричны и не должны иметь заусенцев.
9.3.2.3. Канавки должны быть расположены не менее чем в 3 мм (1/8") плюс допуск на коррозию от технологической поверхности трубной доски и не менее чем в 6 мм (1/4") от поверхности воздушной стороны трубной доски.
9.3.3. Развальцованные соединения труб с трубной доской
9.3.3.1. Трубы завальцовывают в трубную доску на длину, равную, по крайней мере, меньшей из следующих величин:
a) 50 мм (2");
b) толщина трубной доски минус 3 мм (1/8").
Развальцованная часть не должна выступать за поверхность воздушной стороны трубной доски.
9.3.3.2. Процедура развальцовки должна обеспечивать в основном равномерное расширение по всей развальцованной части трубы без резкого перехода к части, которая не развальцована.
9.3.3.3. Концы труб должны выступать не менее чем на 1,5 мм (1/16") и не более чем на 9 мм (3/8") за трубную доску.
9.3.4. Сварные соединения труб с трубной доской
9.3.4.1. При условии одобрения покупателем соединения труб с трубной доской могут быть сварными, если трубы и трубные доски (или покрытия трубных досок) выполнены из соответствующих материалов.
9.3.4.2. Если сварку осуществляют для герметизации соединения трубы с трубной доской и развальцованное соединение (герметизированное сваркой) несет обычные для трубы нагрузки, соединения должны соответствовать
9.3.1 -
9.3.3.
9.3.4.3. Если сварные соединения труб полностью заменяют развальцованные и усиленные сваркой соединения, то требования
9.3.1 -
9.3.3 могут быть изменены при условии согласования между продавцом и покупателем.
9.4. Уплотнительные поверхности прокладок
9.4.1. Окончательную механическую обработку уплотнительных поверхностей прокладок для съемных крышек следует производить после выполнения послесварочной термообработки.
9.4.2. Уплотнительные поверхности прокладок съемных колпаков коллекторов и съемных крышек коллекторов должны иметь плоскостность в пределах допуска 1 мм (1/32"). Плоскостность уплотнительных поверхностей прокладок трубных досок следует измерять после развальцовки или сварки соединений труб с трубными досками.
9.4.3. Уплотнительные поверхности прокладок под пробки должны быть механически обработаны до средней шероховатости от 3,2 до 6,3 мкм (от 125 до 250 микродюймов).

9.4.4. Специальную обработку, если она требуется, указывает покупатель.
9.5.1. Резьба пробок должна быть покрыта соответствующим смазочным материалом для резьбы.
9.5.2. Болты фланцев коллектора следует устанавливать с использованием смазочного материала для резьбы, пригодного для рабочей температуры.
9.6. Совмещение и допуски
9.6.1. Стандартные допуски на размеры аппаратов с воздушным охлаждением и места расположения патрубков показаны на
рисунке 10. Допуски относятся к теплообменникам как с нагнетательной, так и с отсасывающей тягой.
Примечание. 1 мм = 0,04".
1 - центральная ось коллектора; 2 - центральная ось
патрубка; 3 - линия отсчета; 4 - G допуск на отклонение
от плоскости
В миллиметрах (дюймах)
┌────────────────────────┬───────────────────────────────────────┐
│ Номинальный диаметр │ Максимальный допуск на отклонение │
│ патрубка │ от плоскости G │
├────────────────────────┼───────────────────────────────────────┤
│ 500 - 100 (2 - 4) │ 1,6 (1/16) │
├────────────────────────┼───────────────────────────────────────┤
│ 150 - 300 (6 - 12) │ 2,4 (3/32) │
├────────────────────────┼───────────────────────────────────────┤
│ >300 (>12) │ 4,8 (3/16) │
├────────────────────────┼───────────────────────────────────────┤
│ Многоярусные, все │ 0,8 (1/32) │
└────────────────────────┴───────────────────────────────────────┘
Рисунок 10. Стандартные допуски
9.6.2. Коробление коллектора не должно превышать 12 мм (1/2") или 5 мм/м (1/16"); берут ту величину, которая меньше.
9.6.3. Трубные пучки, которые при эксплуатации помещают один над другим, должны быть подвергнуты в заводских условиях контрольной сборке.
9.6.4. Производственные допуски должны быть такими, чтобы номинально идентичные части были взаимозаменяемыми.
Аппараты с воздушным охлаждением должны быть полностью собраны перед отгрузкой, но если полная сборка практически нецелесообразна, то их частично собирают на заводе в максимально крупные узлы, чтобы свести к минимуму сборочные работы на объекте. Полнота сборки перед отгрузкой должна быть согласована между продавцом и покупателем (см.
5.5).
10. Контроль, неразрушающий контроль и испытания

10.1.1. Если это указано в заказе, то материалы, изготовление, соответствие проекту, а также испытания аппаратов подлежат приемочному контролю со стороны покупателя или назначенного им представителя.
10.1.2. Контролеру, назначенному покупателем, разрешается допуск в цех продавца, в котором производятся работы, и в то время, когда они производятся. Продавец предоставляет контролеру необходимые средства, которые должны убедить его, что аппараты поставляются в соответствии с требованиями, указанными в заказе.
10.1.3. Покупателю должны быть предоставлены все сертифицирующие документы на материалы, данные заводских испытаний и тому подобные документы, подтверждающие, что технические требования удовлетворены.
10.1.4. Ни одно изделие не должно быть выпущено на отгрузку без одобрения покупателя или его представителя.
10.2.1. В элементах, подлежащих полному радиографическому контролю, но недоступных для такого контроля, согласно нормам для сосудов, работающих под давлением, проход при заварке корня шва и последний проход должны пройти полный контроль магнитопорошковым или капиллярным методом после окончательной зачистки или газопламенной строжки (если они применяются).
10.2.2. Если необходимость полного радиографического или ультразвукового контроля не указана в технических требованиях, то нужно выполнять по меньшей мере одно местное радиографическое или ультразвуковое обследование продольного внешнего шва, работающего под давлением, и шва закрытия торца на каждом коллекторе. Швы приварки технологических патрубков следует контролировать магнитопорошковым или капиллярным методом. Контролю подлежат проход заварки корня шва после зачистки или газопламенной строжки (если они применяются), а также готовый сварной шов.
10.2.3. Местный радиографический или ультразвуковой контроль должен включать каждое начало и конец шва, выполненного методом автоматической дуговой сварки под флюсом, а также места исправления прожогов.
10.2.4. Местный радиографический или ультразвуковой контроль должен охватывать либо длину не менее 250 мм (10"), либо полную длину, если шов короче 250 мм (10").
10.2.5. Для коррозионно-стойкой стали и ферритной легированной стали с содержанием хрома свыше 0,5% проход заварки корня шва и последний проход, не подлежащие полному радиографическому контролю, должны обследоваться магнитопорошковым или капиллярным методом.
10.2.6. Если пластины не полностью контролируют на расслоение ультразвуковым методом и если используются насаживаемые соединения, край отверстия в пластине, к которой осуществляют соединение, должен обследоваться на расслоение магнитопорошковым или капиллярным методом. Обнаруженные дефекты должны быть зачищены до сплошного металла, а затем подварены.
10.2.7. Неразрушающий контроль и критерии приемки должны соответствовать нормам для сосудов, работающих под давлением.
10.2.8. Испытания сварных швов на твердость следует проводить следующим образом.
a) Металл сварного шва и зоны термического воздействия сварных соединений элементов из углеродистой, Cr-Mo и 11%-ных, 13%-ных, 17%-ных хромистых сталей следует испытывать на твердость.
b) Испытания на твердость следует проводить по методу Виккерса или Роквелла.
c) Контроль следует проводить после каждой требующейся послесварочной термообработки.
d) Твердость не должна превышать 225 HB для углеродистой стали и Cr-Mo сталей с содержанием хрома до 1,25%; для других Cr-Mo сталей и 11%-ных, 13%-ных, 17%-ных хромистых сталей твердость не должна превышать 240 HB.
e) Необходимо проводить контроль репрезентативных сварных швов, в том числе швов соединения патрубков с коллектором. Необходимо проводить контроль одного продольного шва, одного шва закрытия торца и каждое соединение патрубков с коллектором, если оно имеет номинальный диаметр не менее DN 50 (номинальный трубный размер NPS 2). Необходимо контролировать по крайней мере один коллектор на изделие и каждый десятый коллектор.
10.2.9. Для труб с кольцевыми сварными швами продавец должен продемонстрировать посредством аттестационной процедуры, что усиление корня шва на внутреннем диаметре трубы не превышает 1,5 мм (1/16"). Использование постоянных подкладных колец не допускается.
10.2.10. Контроль труб с кольцевым сварным швом следует проводить следующим образом.
a) Радиографическому контролю подлежат не менее 10% сварных соединений, выбранных случайным образом. Для каждого соединения берут одну двустенную эллиптическую экспозицию для двустенного просмотра.
b) Выборку проводят постепенно в течение всего периода изготовления.
10.2.11. Прутковые заготовки пробок для доступа к трубам следует обследовать радиально ультразвуковым или радиографическим методом. Не должно быть линейных показаний, превышающих 9 мм (3/8").
10.2.12. Индивидуально кованые пробки горячей или холодной ковки для доступа в трубы не нуждаются в обследовании согласно 10.2.11.
10.3. Испытание давлением
10.3.1. Гидравлические испытания следует проводить в соответствии с нормами для сосудов, работающих под давлением.
10.3.2. Действие гидравлического давления при испытании должно быть не менее 1 ч.
10.3.3. Вода, используемая для гидравлических испытаний аппаратов, в которых воздействию испытательной среды будут подвергаться аустенитная коррозионно-стойкая сталь или Ni-Cu сплавы, должна содержать хлориды меньше 50 мг/кг (50 частей на миллион по массе).
10.3.4. Если иное не указано покупателем, на сварные швы допускается наносить лакокрасочные или другие покрытия до окончательного испытания давлением.
10.3.5. Соединения, разбираемые после испытаний на давление, затем следует собирать с новыми прокладками.

10.3.6. Необходимость других типов испытаний, например, испытаний галогенами, должна быть указана в технических требованиях покупателя.

Степень заводских обкаточных испытаний привода, системы передачи и вентилятора аппаратов заводской сборки является предметом согласования между покупателем и продавцом.
10.5.1. К входному коллектору каждого трубного пучка прикрепляют заводскую табличку из аустенитной коррозионно-стойкой стали, содержащую номер изделия, маркировку, которая требуется согласно нормам для сосудов, работающих под давлением, а также любую другую информацию, которую требует покупатель.
10.5.2. Заводская табличка должна быть постоянно установлена на кронштейне, приваренном к верху коллектора.
10.5.3. Следующие части должны иметь клеймо с заводским номером продавца:
a) коллектор;
b) фланец крышки у коллекторов с крышкой;
c) фланец трубной доски у коллекторов с колпаком.
11. Подготовка к отгрузке
11.1.1. Из аппаратов перед отгрузкой необходимо сливать все жидкости, использовавшиеся для очистки или испытаний.
11.1.2. В трубных пучках перед отгрузкой не должно быть инородных веществ.
11.1.3. Открытые фланцевые соединения должны быть защищены одним из следующих способов:
a) стальными крышками с прокладками, прикрепляемыми тем количеством болтов, которое больше, из следующих количеств:
1) 50% болтов, требующихся для болтового фланцевого соединения,
2) четыре болта;
b) пластиковыми крышками, специально предназначенными для защиты фланцев.

11.1.4. Способ установки на полозья, упаковки в ящики, клети, защиты или консервации для транспортирования указывается покупателем или согласовывается с ним.
11.1.5. Каждая деталь или узел должны быть защищены от возможных повреждений при транспортировании и погрузочно-разгрузочных работах.
11.2. Поверхности и отделка
11.2.1. Поверхности, подлежащие окраске, должны быть обезжирены и очищены проволочной щеткой или аналогичными средствами для удаления рыхлой окалины, грязи и других инородных веществ.
11.2.2. Механически обработанные поверхности, которые будут подвергаться атмосферным воздействиям во время транспортирования и последующего хранения, необходимо подвергать консервации с использованием легко удаляемого антикоррозионного покрытия.

11.2.3. Если не указано иное, коллекторы из углеродистой стали должны пройти дробеструйную очистку, а затем покрыты неорганическим грунтом с высоким содержанием цинка при толщине пленки в сухом виде не менее 50 мкм (0,002").
11.2.4. За исключением поверхностей труб на все открытые поверхности из черных металлов, не имеющие другого покрытия, необходимо перед отгрузкой наносить один слой покрытия из стандартного применяемого изготовителем грунта.
11.3. Идентификация, кондиционирование и уведомление
11.3.1. Все детали должны быть маркированы, идентифицированы и приведены в соответствующее состояние для транспортирования.
11.3.2. Продавец должен извещать покупателя в случае, если трубные пучки временно прикреплены к рамам пучков на время транспортирования. Транспортировочные и монтажные зажимы и крепления должны быть ясно обозначены на оборудовании и чертежах сборки на объекте, чтобы обеспечивать их снятие перед сдачей теплообменника в эксплуатацию.
12. Дополнительные требования

В данном разделе приведены дополнительные требования к проектированию, изготовлению и контролю, которые следует применять, если они указаны в технических условиях покупателя. В принципе, эти дополнительные требования следует принимать во внимание, если расчетное избыточное давление превышает 14000 кПа (2000 фунтов на квадратный дюйм), если толщина пластин коллектора коробчатого типа аппарата с воздушным охлаждением превышает 50 мм (2") или если аппарат выполняет ответственную функцию.
12.2.1. Для расчетных избыточных давлений свыше 20700 кПа (3000 фунтов на квадратный дюйм) могут быть предложены конструкции, альтернативные коллектору с пробками.
Примечание. Резьбы могут разрушаться.
12.2.2. Конструкцией угловых сварных соединений коллектора должна быть предусмотрена возможность обеспечения достоверности результатов контроля качества шва в соответствии с нормами проектирования сосудов, работающих под давлением. Продавец должен включать в свое предложение чертеж, где детально показана предлагаемая конструкция сварных соединений.
12.2.3. Все трубы, которые не крепятся к трубной доске прочным сварным швом, должны быть развальцованы и обварены для герметизации.
12.2.4. Если при соединении трубы с трубной доской используют заглубленные сварные швы (в отверстиях для труб), то может потребоваться дополнительная толщина трубной доски, чтобы обеспечивать целостность развальцованного соединения.
12.2.5. Соединения патрубков с коллекторами должны быть выполнены швами с полным проплавлением.
12.3. Неразрушающий контроль
12.3.1. Проводят ультразвуковой контроль пластин и поковок, привариваемых к другим элементам, если их толщина превышает 65 мм (

).
12.3.2. Проводят ультразвуковой контроль всех поковок толщиной более 100 мм (4"), за исключением крепящихся на болтах плоских крышек и стандартных фланцев.
12.3.3. Проводят ультразвуковой контроль сварных швов толщиной более 65 мм (

).
12.3.4. Проводят ультразвуковой контроль всех сварных швов крепления патрубков.
12.3.5. После проведения ультразвукового контроля пластин, поковок и сварных швов покупателю должен быть представлен отчет, содержащий схемы просканированных поверхностей, полученные показания, исправленные участки, характер исправленных дефектов и использовавшиеся процедуры исправления. Должна быть представлена следующая информация:
a) изготовитель аппарата, его модель и настройка регулятора затухания;
b) изготовитель поисковой головки, ее модель, размеры, а также вещество (например, масло или вода), использовавшееся для связи преобразователя с контролируемым материалом;
c) применявшаяся частота и угол контроля на поверхности элемента;
d) среда оптического клина для обследования лучом под углом.
12.3.6. Все сварные швы коллектора и швы приварки патрубков подлежат 100%-му радиографическому контролю. Проход заварки корня и последний проход шва контролируются магнитопорошковым или капиллярным методом. Для всех сварных швов, которые не проверяются радиографией, следует заменять ее ультразвуковым контролем.
12.3.7. Ультразвуковому контролю подлежат все исправленные сварные швы после термообработки, проводимой после сварки.
12.3.8. Перед сваркой необходимо провести магнитопорошковый или капиллярный контроль всех кромок и отверстий в пластинах, подготовленных к сварке. Обнаруженные дефекты должны быть зачищены до сплошного металла.
12.3.9. Магнитопорошковому или капиллярному контролю подлежат все сварные швы прикрепления элементов (например, опор).
12.3.10. Необходимо проводить магнитопорошковый или капиллярный контроль всех мест, откуда были удалены временные проушины; эти участки готовят к контролю шлифованием.
12.3.11. После гидростатических испытаний необходимо проводить капиллярный контроль всех внешних удерживающих давление сварных соединений, а также всех внутренних швов патрубков, которые доступны без разборки.
12.3.12. В коллекторах с конструкцией типа трубы с ответвлениями 100% радиографии подлежат все сварные соединения втулок с трубой и трубы с U-образным коленом. Сварные соединения втулки с коллектором контролируют с внешней стороны магнитопорошковым или капиллярным методом.
12.3.13. Неразрушающий контроль и критерии приемки должны соответствовать нормам для сосудов, работающих под давлением.
12.4.1. После приварки труб к трубным доскам и перед развальцовкой труб проводят заводское испытание воздухом под избыточным давлением 170 кПа (25 фунтов на квадратный дюйм). Соединения труб с трубными досками проверяют на утечку мыльным раствором.
12.4.2. После окончательного испытания давлением соединения пробок и все соединения с прокладками испытывают воздухом под избыточным давлением 170 кПа (25 фунтов на квадратный дюйм); для обнаружения утечек наносят мыльный раствор или полностью погружают узел в бак с водой.
(рекомендуемое)
РЕКОМЕНДУЕМЫЕ ПРАКТИЧЕСКИЕ МЕТОДЫ
A.1. Трубы и оребрение
A.1.1. Максимальная расчетная рабочая температура для различных типов крепления ребер должна соответствовать значениям, приведенным в таблице A.1.
Таблица A.1
Максимальная расчетная рабочая температура
для различных типов крепления ребер
Тип крепления ребер | Максимальная расчетная рабочая температура, °C (°F) |
Механически заглубленные ребра | 400 (750) |
Стальные ребра, оцинкованные горячим способом | 360 (680) |
Экструдированные ребра (алюминиевые ребра) | 300 (570) |
Ребра с лапками (L-образные с одной лапкой) и перекрывающиеся лапки (L-образные с двумя лапками) | 130 (270) |
Накатанное/алюминиевое ребро, L-образное с одной или двумя лапками | 200 (390) |
Ребра, приваренные методом лазерной сварки | >400 (750) (максимум должен быть согласован с покупателем) |
Примечание. Если не указано иное, указанные пределы даны для основной трубы из углеродистой стали и алюминиевых ребер; для других материалов основной трубы и/или ребер могут быть другие пределы температур. |
A.1.2. Зубчатые, секционированные и решетчатые ребра, а также ребра с распорными язычками имеют чуть более высокий коэффициент теплоотдачи на воздушной стороне. Однако их недостаток в том, что они больше подвержены загрязнению на воздушной стороне и их труднее очищать из-за острых краев на местах пазов в металле, поэтому их применение следует рассматривать только для случаев, где ожидается низкий уровень загрязнения.
A.1.3. Опоры труб следует проектировать так, чтобы механические нагрузки переносились на основную трубу.
A.1.4. Эллиптические трубы
Минимальная толщина стенки у эллиптических труб должна соответствовать указанной в
7.1.11.3.
Минимальные размеры используемой эллиптической трубы должны быть следующими: короткая ось 14 мм (9/16"), длинная ось 36 мм (17/16").
Максимальные допустимые температуры для типов крепления ребер должны соответствовать
A.1.1.
A.2. Вентиляторы и приводы
Для управления технологическим процессом допускается использовать вентиляторы с регулируемой скоростью (регулированием частоты вращения, РЧВ) и с автоматическим регулированием угла (АРУ).
Если существуют жесткие ограничения по уровню шума в ночное время и если расход воздуха в ночное время можно сокращать благодаря более низкой температуре поступающего воздуха, то следует использовать вентиляторы с регулируемой скоростью.
A.3. Мостики и площадки
Настил для обслуживания под входами вентиляторов следует делать из решетки, чтобы сокращать перепад давления на воздушной стороне. Если используют сплошной настил, следует учитывать эффект перепада давления на воздушной стороне. Чтобы сводить этот эффект к минимуму, может потребоваться увеличивать расстояние от настила для обслуживания до входа вентилятора.
A.4. Выбор типа коллектора
Типы коллектора следует выбирать в соответствии с таблицей A.2.
Таблица A.2
Выбор коллектора
Тип коллектора | Расчетное давление (избыт.), кПа (фунтов на квадратный дюйм) |
Коллекторы с пробками или коллекторы со съемными крышками | <3000 (435) |
Коллекторы с пробками | >= 3000 (435) |
Если потоки рабочих сред имеют сопротивление при накопленных отложениях больше 0,00034 м2 x К/Вт (0,00193 °F x ч/брит. тепл. ед.) или если ожидается, что слои отложений нельзя будет удалять химическими средствами, то трубный пучок должен быть доступен для механической очистки.
В теплообменниках, имеющих конденсирующую функцию, проходы для конденсированной фазы должны простираться на всю длину трубного пучка. В случае полной конденсации размер выходных патрубков должен быть таким, чтобы не могло произойти затопления нижних рядов труб.
A.5. Расчетная температура воздуха
При определении расчетной температуры воздуха для неответственных процессов можно брать более высокую из следующих температур:
- самая высокая температура воздуха, которая держится в течение 400 ч в год;
- самая высокая температура воздуха, которая держится в течение 40 ч в год, минус 4 °C (7 °F).
Для ответственных процессов расчетной температурой воздуха должна быть самая высокая температура воздуха, которая держится в течение 40 ч в год.
Для оптимального проектирования должны быть определены следующие температуры с учетом нестандартных условий технологического процесса, указанных в
7.1.6.1.1:
- минимальная расчетная температура металла;
- расчетная температура металла;
- минимальная окружающая температура;
- расчетная окружающая температура;
- температура для выбора ребер.
A.6. Смазка подшипников
Для обеспечения правильной смазки необходимо устанавливать разгрузочное устройство, которое позволяет новой смазке вытеснять максимальное количество старой смазки и автоматически выбрасывать все излишки наружу.
A.7. Прокладки для коллекторов с колпаком или крышкой
Типы прокладок приведены в таблице A.3, а требуемая отделка контактной поверхности прокладки приведена в
таблице A.4.
Таблица A.3
Типы прокладок
Размеры в миллиметрах (дюймах)
┌──────────────────────────────────────────┬─────────────────────┐
│ Описание │ Минимальная │
│ ├──────────┬──────────┤
│ │ ширина │ толщина │
├──────────────────────────────────────────┼──────────┼──────────┤
│ 1. Бутадиенакрилонитрильный масло- │9,5 (3/8) │ 2 (5/64) │
│и кислотостойкий каучук с наполнением │ │ │
│арамидным волокном │ │ │
├──────────────────────────────────────────┼──────────┼──────────┤
│ 2. Прессованный масло- и кислотостойкий │9,5 (3/8) │1,6 (1/16)│
│листовой состав │ │ │
├──────────────────────────────────────────┼──────────┼──────────┤
│ 3. Плоские прокладки с металлической │12,5 (1/2)│3,2 (1/8) │
│облицовкой из мягкого железа, │ │ │
│с заполнением │ │ │
├──────────────────────────────────────────┼──────────┼──────────┤
│ 4. Плоские прокладки с металлической │12,5 (1/2)│3,2 (1/8) │
│облицовкой из нержавеющей стали, │ │ │
│с заполнением │ │ │
├──────────────────────────────────────────┼──────────┼──────────┤
│ 5. Армированные металлом слои фторопласта│9,5 (3/8) │1,6 (1/16)│
│(ПТФЭ) │ │ │
├──────────────────────────────────────────┼──────────┼──────────┤
│ 6. Армированный металлом пористый графит │9,5 (3/8) │1,6 (1/16)│
├──────────────────────────────────────────┼──────────┼──────────┤
│ 7. Прокладки с бороздками, с графитовыми │ 12 (1/2) │ 6 (1/4) │
│слоями │ │ │
└──────────────────────────────────────────┴──────────┴──────────┘
Таблица A.4
Отделка контактной поверхности прокладок
┌───────────────────────┬────────────────────────────────────────┐
│ Тип прокладки │ Величина R , мкм (микродюймы) │
│ │ a │
├───────────────────────┼────────────────────────────────────────┤
│ 1, 2, 5, 6, 7 │ 3,2 - 6,3 (125 - 250) │
│ 3, 4 │ 0,8 - 1,6 (32 - 64) │
└───────────────────────┴────────────────────────────────────────┘
Прокладки не должны содержать асбеста.
Условия эксплуатации приводят в таблице A.5, а прокладки следует выбирать по
таблице A.6.
Таблица A.5
Условия эксплуатации
┌────────────┬───────────────────────────────────────────────────┐
│Тип условий │ Описание │
│эксплуатации│ │
├────────────┼───────────────────────────────────────────────────┤
│ I │ Некорродирующая или слабокорродирующая среда │
├────────────┼───────────────────────────────────────────────────┤
│ II │ Потоки углеводородов, содержащие соединения серы │
│ │и нафтеновые кислоты с кислотным числом, │
│ │превышающим 300 мг/кг KOH (массовая доля KOH │
│ │ -6 │
│ │300 x 10 ), максимальные рабочие температуры │
│ │свыше 230 °C (446 °F) │
├────────────┼───────────────────────────────────────────────────┤
│ III │ Потоки углеводородов, содержащие соединения серы │
│ │и нафтеновые кислоты с кислотным числом, не │
│ │превышающим 300 мг/кг KOH (массовая доля KOH │
│ │ -6 │
│ │300 x 10 ), максимальные рабочие температуры │
│ │свыше 330 °C (626 °F) │
├────────────┼───────────────────────────────────────────────────┤
│ IV │ Углеводороды, содержащие водород │
├────────────┼───────────────────────────────────────────────────┤
│ V │ Некорродирующая охлаждающая вода температурой │
│ │ниже 50 °C (122 °F) │
├────────────┼───────────────────────────────────────────────────┤
│ VI │ Слабокорродирующая охлаждающая вода температурой │
│ │ниже 50 °C (122 °F) │
├────────────┼───────────────────────────────────────────────────┤
│ VII │ Корродирующая охлаждающая вода температурой │
│ │ниже 50 °C (122 °F) │
├────────────┼───────────────────────────────────────────────────┤
│ VIII │ Частые изменения температуры и давления (например,│
│ │горячая промывка, удаление парафина, охлаждение) и │
│ │частая очистка (т.е. более двух раз в год при всех │
│ │условиях с
I до VII) │
└────────────┴───────────────────────────────────────────────────┘
Таблица A.6
┌───────────┬────────────┬──────────┬─────────────┬──────────────┐
│Тип условий│ Расчетная │Расчетное │Рекомендуемый│Альтернативный│
│эксплуата- │температура,│ давление │тип прокладки│тип прокладки │
│ции │ °C (°F) │(избыт.), │ │ │
│ │ │ кПа │ │ │
│ │ │(фунтов на│ │ │
│ │ │квадратный│ │ │
│ │ │ дюйм) │ │ │
├───────────┼────────────┼──────────┼─────────────┼──────────────┤
│
I │ -200 - 0 │3000 (435)│ 6 │ 4 │
│ │(-300 - 32) │ │ │ │
│ │ 0 - 150 │2000 (290)│ 1 │ 2, 5, 6 │
│ │ (32 - 300) │ │ │ │
│ │ 0 - 240 │3000 (435)│ 6 │ 3 │
│ │ (32 - 460) │ │ │ │
│ │ 240 - 450 │3000 (435)│ 6 │ 3 │
│ │(460 - 840) │ │ │ │
├───────────┼────────────┼──────────┼─────────────┼──────────────┤
│
II │ 0 - 150 │2000 (290)│ 1 │ 2, 5, 6 │
│ │ (32 - 300) │ │ │ │
│ │ 0 - 240 │3000 (435)│ 6 │ 3 │
│ │ (32 - 460) │ │ │ │
│ │ 240 - 450 │3000 (435)│ 6 │ 4 │
│ │(460 - 840) │ │ │ │
├───────────┼────────────┼──────────┼─────────────┼──────────────┤
│
III │ 330 - 450 │3000 (435)│ 6 │ │
│ │(630 - 840) │ │ │ │
├───────────┼────────────┼──────────┼─────────────┼──────────────┤
│
IV │ 0 - 450 │3000 (435)│ 6 │ │
│ │ (32 - 840) │ │ │ │
├───────────┼────────────┼──────────┼─────────────┼──────────────┤
│
V,
VI,
VII │ 0 - 50 │ │ 1 │ 2, 5, 6 │
│ │ (32 - 120) │ │ Толщина │ │
│ │ │ │3,2 мм (1/8")│ │
├───────────┼────────────┼──────────┼─────────────┼──────────────┤
│
VIII │ 0 - 450 │6000 (870)│ 4 │ │
│ │ (32 - 840) │ │ │ │
└───────────┴────────────┴──────────┴─────────────┴──────────────┘
A.8. Выбор всасывающей или нагнетательной тяги
Следует использовать нагнетательные вентиляторы; исключение составляют следующие ситуации, когда следует рассмотреть вопрос о применении всасывающих вентиляторов:
a) если важно регулирование температуры и внезапно выпавший дождь (т.е. избыточное охлаждение) может вызывать нарушения в работе;
b) для минимизации риска рециркуляции горячего воздуха, особенно в больших установках и в ситуациях, где требуется приближение температуры на выходе процесса к температуре входного воздуха;
c) на площадках, где существенную проблему составляет загрязнение воздушной стороны, вследствие чего приходится промывать трубные пучки;
d) для улучшения тепловых характеристик в случае отказа вентилятора (вследствие эффекта вытяжной трубы);
e) в условиях жаркого климата, когда воздухораспределительная камера экранирует трубный пучок от солнца.
(рекомендуемое)
КОНТРОЛЬНЫЙ ЛИСТ, ЛИСТЫ ТЕХНИЧЕСКИХ ХАРАКТЕРИСТИК
И ЭЛЕКТРОННЫЙ ОБМЕН ДАННЫМИ
B.1. Содержание и использование
В контрольном листе и листах технических характеристик приложения приведены данные, необходимые для описания и проектирования теплообменников с воздушным охлаждением для работы в нефтяной промышленности и промышленности природного газа.
Контрольный лист используют для того, чтобы указывать в нем конкретные требования покупателя в отношении пунктов и подпунктов настоящего стандарта, которые отмечены маркерами (

).
Ответственность за заполнение контрольного листа лежит на покупателе. Ответственность за заполнение листов технических характеристик несут совместно покупатель и продавец. Продавец отвечает за данные о технологическом процессе в этих листах.
Свойства сред указываются исходя из полного состава каждой из фаз (вода, пар, воздух, водород или другой постоянно присутствующий газ), если эти компоненты являются частями гомогенной фазы. Если жидкость содержит несмешивающиеся фазы, то необходимо отдельно и полностью указывать свойства жидкости для каждой фазы. Если в характеристике свойств не указаны вышеупомянутые элементы, хотя они присутствуют, то необходимо указать их концентрации в технологическом потоке.
Покупатель может представить контрольный лист и листы технических характеристик продавцу в иной форме, нежели указанная в этом приложении.
После изготовления теплообменника продавец заполняет листы технических характеристик, точно описывающих изготовленное оборудование.
В
пункте B.2 представлена и описана спецификация стандартизированного файла для электронного обмена данными.
┌─────────────┬──────────────────────────────────────────────────┐
│ КОНТРОЛЬНЫЙ │ Работа N ________ Изделие N ___________________│
│ЛИСТ АППАРАТА│ Стр. 1 из 2 Составил ____________________│
│ С ВОЗДУШНЫМ │ ─── ─────── Изменение ___________________│
│ ОХЛАЖДЕНИЕМ │ Дата ____________ Контракт N __________________│
│ │ Предложение N ___ Заказ N _____________________│
│ │ Запрос N ________ │
└─────────────┴──────────────────────────────────────────────────┘
┌───────────┐
│ Номер │
│ пункта │
├───────────┼────────────────────────────────┬─────────┬─────────┐
│
4.1 │ Свод норм и правил │ │ │
│ │проектирования сосудов, │ │ │
│ │работающих под давлением │ │ │
├───────────┼────────────────────────────────┼─────────┼─────────┤
│
4.4 │ Применяемые местные нормативные│ │ │
│ │документы │ │ │
├───────────┼────────────────────────────────┼─────────┼─────────┤
│
5.8 │ Требуется ли листок шумовых │Да │Нет │
│ │характеристик? │ │ │
├───────────┼────────────────────────────────┼─────────┼─────────┤
│
5.9 │ Требуются ли кривые рабочих │Да │Нет │
│ │характеристик вентилятора? │ │ │
├───────────┼────────────────────────────────┼─────────┼─────────┤
│
6.1.1 │ Какие документы необходимо │ │ │
│ │представить? │ │ │
│ │ Какие документы подлежат │ │ │
│ │утверждению со стороны │ │ │
│ │покупателя? │ │ │
├───────────┼────────────────────────────────┼─────────┼─────────┤
│
6.1.3 │ Нужно ли представлять расчеты │Да │Нет │
│ │на утверждение? │ │ │
├───────────┼────────────────────────────────┼─────────┼─────────┤
│
6.1.4 │ Нужно ли представлять данные │Да │Нет │
│ │о сварке на утверждение? │ │ │
├───────────┼────────────────────────────────┼─────────┼─────────┤
│
6.1.5 │ Требующаяся дополнительная │ │ │
│ │техническая информация │ │ │
├───────────┼────────────────────────────────┼─────────┼─────────┤
│
6.2.2 │ Протоколы и записи, которые │ │ │
│ │должны быть представлены, и │ │ │
│ │должны ли они быть в электронной│ │ │
│ │форме │ │ │
├───────────┼────────────────────────────────┼─────────┼─────────┤
│ │приспособления к эксплуатации │ │ │
│ │в зимний период │ │ │
├───────────┼────────────────────────────────┼─────────┼─────────┤
│
7.1.1.12 │ Температура, давление и условия│ │ │
│ │эксплуатации внутренней системы │ │ │
│ │выпуска пара │ │ │
├───────────┼────────────────────────────────┼─────────┼─────────┤
│
7.1.3.1 │ Максимальная расчетная │ │ │
│ │температура │ │ │
│ │ Минимальная расчетная │ │ │
│ │температура │ │ │
│ │ Минимальная расчетная │ │ │
│ │температура металла │ │ │
├───────────┼────────────────────────────────┼─────────┼─────────┤
│
7.1.3.2 │ Максимальная рабочая │ │ │
│ │температура для выбора оребрения│ │ │
├───────────┼────────────────────────────────┼─────────┼─────────┤
ИС МЕГАНОРМ: примечание.
В официальном тексте документа, видимо, допущена опечатка:
пункт 7.1.4.1 отсутствует. Возможно, имеется в виду пункт 7.1.4.
│
7.1.4.1 │ Расчетное давление трубного │ │ │
│ │пучка: │ │ │
├───────────┼────────────────────────────────┼─────────┼─────────┤
│ │альтернативных рабочих условий │ │ │
│ │при проектировании коллекторов? │ │ │
├───────────┼────────────────────────────────┼─────────┼─────────┤
│
7.1.6.2.3 │Тип болтового крепления крышки │Сквозные │Резьбовые│
│ │ │болты │шпильки │
├───────────┼────────────────────────────────┼─────────┼─────────┤
│
7.1.9.7 │ Плоскость технологических │ │ │
│ │фланцев, если они │ │ │
│ │не горизонтальны │ │ │
├───────────┼────────────────────────────────┼─────────┼─────────┤
│ │переходник? │ │ │
├───────────┼────────────────────────────────┼─────────┼─────────┤
│
7.1.9.16 │ Размер, тип и местонахождение │ │ │
│ │штуцера для химической очистки │ │ │
├───────────┼────────────────────────────────┼─────────┼─────────┤
│
7.1.11.2 │ Максимальная длина труб │ │ │
├───────────┼────────────────────────────────┼─────────┼─────────┤
│
7.1.11.13 │ Можно ли использовать │Да │Нет │
│ │эллиптические трубы │ │ │
├───────────┼────────────────────────────────┼─────────┼─────────┤
│
7.2.1.1 │ Особые факторы окружающей │ │ │
│ │среды, учитываемые при │ │ │
│ │проектировании воздушной стороны│ │ │
├───────────┼────────────────────────────────┼─────────┼─────────┤
│
7.2.2.1 │ Расположение величин уровня │ │ │
│ │шума │ │ │
├───────────┼────────────────────────────────┼─────────┼─────────┤
│
7.2.3.1 │ Допустимо ли использование │Да │Нет │
│ │одного вентилятора для каждой │ │ │
│ │секции? │ │ │
└───────────┴────────────────────────────────┴─────────┴─────────┘
┌─────────────┬──────────────────────────────────────────────────┐
│ КОНТРОЛЬНЫЙ │ Работа N ________ Изделие N ___________________│
│ЛИСТ АППАРАТА│ Стр. 2 из 2 Составил ____________________│
│ С ВОЗДУШНЫМ │ ─── ─────── Изменение ___________________│
│ ОХЛАЖДЕНИЕМ │ Дата ____________ Контракт N __________________│
│ │ Предложение N ___ Заказ N _____________________│
│ │ Запрос N ________ │
└─────────────┴──────────────────────────────────────────────────┘
┌────────────┐
│Номер пункта│
├────────────┼────────────────────────────────┬────────┬─────────┐
│
7.2.3.5 │ Допустима ли скорость концов │Да │Нет │
│ │лопаток вентилятора от 60 │ │ │
│ │до 80 м/с? │ │ │
│ │ Допустимая скорость │ │ │
├────────────┼────────────────────────────────┼────────┼─────────┤
│ │предельные ограничители шага │ │ │
│ │лопаток │ │ │
├────────────┼────────────────────────────────┼────────┼─────────┤
│
7.2.7.1.1 │ Тип приводной системы │Покупа- │Продавец │
│ │ Поставщик приводного │тель │ │
│ │оборудования │ │ │
├────────────┼────────────────────────────────┼────────┼─────────┤
│
7.2.7.2.1 │ Конструкция электродвигателя; │ │ │
│ │питание и классификация │ │ │
├────────────┼────────────────────────────────┼────────┼─────────┤
│
7.2.11 │ Требуются ли экраны? │Да │Нет │
│ │ Тип │ │ │
├────────────┼────────────────────────────────┼────────┼─────────┤
│
7.3.1.1 │ Конструкционные нормы и правила│ │ │
├────────────┼────────────────────────────────┼────────┼─────────┤
│
7.3.2.2 │ Требуется ли заводское │Да │Нет │
│ │испытание на вибрацию? │ │ │
├────────────┼────────────────────────────────┼────────┼─────────┤
ИС МЕГАНОРМ: примечание.
В официальном тексте документа, видимо, допущена опечатка:
имеется в виду пункт 7.3.3.2, а не пункт 7.3.3.1.
│
7.3.3.1 │ Степень и масса противопожарной│ │ │
│ │защиты │ │ │
├────────────┼────────────────────────────────┼────────┼─────────┤
ИС МЕГАНОРМ: примечание.
В официальном тексте документа, видимо, допущена опечатка:
имеется в виду пункт 7.3.3.11, а не пункт 7.3.3.10.
├────────────┼────────────────────────────────┼────────┼─────────┤
ИС МЕГАНОРМ: примечание.
В официальном тексте документа, видимо, допущена опечатка:
имеется в виду пункт 7.3.3.12, а не пункт 7.3.3.11.
│
7.3.3.11 │ Точный тип, расположение, │ │ │
│ │значение и направление других │ │ │
│ │проектных нагрузок │ │ │
├────────────┼────────────────────────────────┼────────┼─────────┤
│
7.3.4.5 │ Требования к перегородкам в │ │ │
│ │воздухораспределительной камере │ │ │
│ │для систем с рециркуляцией │ │ │
├────────────┼────────────────────────────────┼────────┼─────────┤
│
7.3.5.1 │ Количество и места │ │ │
│ │расположения площадок для │ │ │
│ │доступа к коллектору, │ │ │
│ │соединительных мостиков │ │ │
│ │и лестниц │ │ │
├────────────┼────────────────────────────────┼────────┼─────────┤
│
7.3.5.8 │ Существуют ли особые требования│Да │Нет │
│ │по защите персонала от высоких │ │ │
│ │температур выходного воздуха? │ │ │
│ │ Если да, указать │ │ │
├────────────┼────────────────────────────────┼────────┼─────────┤
│
9.3.1.2 │ Требуются ли специальные │Да │Нет │
│ │допуски для тесной посадки? │ │ │
├────────────┼────────────────────────────────┼────────┼─────────┤
│
9.4.4 │ Нужна ли специальная отделка │Да │Нет │
│ │для контактных поверхностей │ │ │
│ │прокладок? │ │ │
│ │ Если да, указать │ │ │
├────────────┼────────────────────────────────┼────────┼─────────┤
│
10.1.1 │ Уровень контроля покупателем │ │ │
├────────────┼────────────────────────────────┼────────┼─────────┤
│
10.3.6 │ Требуются ли специальные │Да │Нет │
│ │испытания? │ │ │
│ │ Подробные сведения │ │ │
├────────────┼────────────────────────────────┼────────┼─────────┤
│
10.4 │ Требуются ли заводские │Да │Нет │
│ │обкаточные испытания? │ │ │
│ │ Подробные сведения │ │ │
├────────────┼────────────────────────────────┼────────┼─────────┤
│
11.1.4 │ Установка на салазки, упаковка │ │ │
│ │в ящики, клети, защита или │ │ │
│ │консервация для отгрузки │ │ │
├────────────┼────────────────────────────────┼────────┼─────────┤
│
12.1 │ Дополнительные требования из │ │ │
└────────────┴────────────────────────────────┴────────┴─────────┘
┌─────────────────────────────┬───────────────────────────────────────────────────────────────────┐
│ ЛИСТ ТЕХНИЧЕСКИХ │ Работа N _______ Изделие N ____________ │
│ ХАРАКТЕРИСТИК АППАРАТА │ Стр. 1 из 2 Составил ____________ │
│ С ВОЗДУШНЫМ ОХЛАЖДЕНИЕМ │ ─────── Изменение ____________ │
│ЕДИНИЦЫ ВЕЛИЧИН ПО СИСТЕМЕ СИ│ Дата _______ Контракт N ____________ │
│ │ Предложение N _______ Заказ N ____________ │
│ │ Запрос N _______ │
├─────────────────────────────┴─────────────────────┬─────────────────────────────────────────────┤
│Изготовитель _____________________________ │Теплота обмена, кВт ______ │
│Модель N _____________________________ │Оребренная труба - │
│Заказчик _____________________________ │поверхность/изделие, м2 ______ │
│Место установки _____________________________ │Гладкая труба, м2 ______ │
│Функция _____________________________ │Средний перепад температур, эфф., °C ______ │
│Тип тяги Всасывающая Нагнетательная │Интенсивность теплопередачи - │
│Размер секции Количество секций/изделий ______ │оребренная, Вт/м2 x К │
│(ширина x │Гладкая труба, Вт/м2 x К ______ │
│диаметр), м ____ │Чистая, Вт/м2 x К ______ │
├───────────────────────────────────────────────────┴─────────────────────────────────────────────┤
│ Основные данные для проектирования │
├───────────────────────────────────────────────────┬─────────────────────────────────────────────┤
│Нормы проектирования сосудов, │Конструкционные нормы и правила │
│работающих под давлением ________________________ │_____________________________________________│
│Клеймо норм на трубном пучке Да Нет │Воспламеняющаяся среда Да Нет │
│Клеймо норм на нагревательном Да Нет │Смертельно опасная/ Да Нет │
│змеевике │токсичная среда │
├───────────────────────────────────────────────────┴─────────────────────────────────────────────┤
│ Рабочие характеристики. Трубная сторона │
├───────────────────────────────────────────────────┬─────────────────────────────────────────────┤
│Наименование среды ____________ │ Вход Выход │
│Общее поступление среды, кг/с ____________ │Температура, °C _____ _____ │
│Точка росы/начала кипения, °C ______/_____ │Общий расход (жидк./пара), кг/с __/__ __/__ │
│Точка застывания, °C ____________ │Вода/водяной пар, кг/с __/__ __/__ │
│Точка замерзания, °C ____________ │Неконденсируемые, кг/с __/__ __/__ │
│Скрытая теплота, кДж/К ____________ │Молекулярный вес (пара/неконд.) __/__ __/__ │
│Давление на входе, кПа (изб.), │Плотность (жидк./пара), кг/м3 __/__ __/__ │
│кПа (абс.) ____________ │Удельная теплоемкость │
│Перепад давления │(жидк./пара), кДж/кг x К __/__ __/__ │
│(допустимый/расчетн.), кПа ______/_____ │Теплопроводность │
│Скорость (допустимая/расчетная), м/с ______/_____ │(жидк./пара), Вт/м x К __/__ __/__ │
│Отложение загрязнений внутри, │Вязкость (жидк./пара), МПа x с __/__ __/__ │
│м2 x К/Вт ____________ │ │
├───────────────────────────────────────────────────┴─────────────────────────────────────────────┤
│ Рабочие характеристики. Воздушная сторона │
├───────────────────────────────────────────────────┬─────────────────────────────────────────────┤
│Температура воздуха на входе │Скорость на поверхности, м/с ________________│
│(расчетная, сухой термометр), °C _____________ │Минимальная расчетная │
│Расход воздуха/изделие (кг/с) (м3/с) _____________ │окружающая температура, °C ________________│
│Массовая скорость (свободная │Высота над уровнем моря, м ________________│
│рабочая площадь), кг/с x м2 _____________ │Статическое давление, кПа ________________│
│Температура воздуха на выходе, °C _____________ │ │
│Расход воздуха/вентилятор, м3/с _____________ │ │
├───────────────────────────────────────────────────┴─────────────────────────────────────────────┤
│ Проектирование, материалы и изготовление │
├───────────────────────────────────────────────────┬─────────────────────────────────────────────┤
│Расчетное давление, кПа (избыт.) ____________ │ Нагревательный змеевик │
│Испытательное давление, кПа (избыт.) ____________ │Количество труб ____ Наружный диаметр, мм____│
│Расчетная температура, °C ____________ │Материал труб _____________│
│Минимальная расчетная температура │Материал и тип оребрения _____________│
│металла, °C ____________ │ │
│ │Толщина, мм _____________│
│ Трубный пучок │Нормы для сосудов под давлением _____________│
│Размер (Ш x Д), м ________________________________ │Клеймо Да Нет │
│Количество/секция _____ Количество рядов труб ____ │Нагревающая среда _______ Расход, кг/с ______│
│Пучки параллельно _____ Последовательно __________ │Температура (вход/выход), °C ______/______│
│Монтаж Уровень Стеллаж Другое │Давление на входе, кПа (избыт.) _____________│
│конструкции земли для труб │Перепад давления │
│Балки трубного стеллажа │(допустимый/расчетный), кПа ______/______│
│(расстояние между центрами) ______________________ │Расчетная температура, °C/ │
│Лестницы, мостики, площадки Да Нет │расчетное давление, кПа (избыт.) _____/______│
│Подготовка поверхности конструкций/покрытие ______ │Входной/выходной патрубок, │
│Подготовка поверхности коллектора/покрытие ______ │номинальный диаметр _____/______│
│ Жалюзи │ Коллектор │
│Материал _________________________________________ │Тип __________________________________│
│Управление действием: Автоматическое Ручное │Материал __________________________________│
│Тип действия: Противоположное Параллельное│Припуск на коррозию, мм _____________________│
│ │Количество ходов <*> _____________________│
├───────────────────────────────────────────────────┴─────────────────────────────────────────────┤
│ <*> Указать количество труб каждого хода, если оно неодинаково. │
└─────────────────────────────────────────────────────────────────────────────────────────────────┘
┌─────────────────────────────┬───────────────────────────────────────────────────────────────────┐
│ ЛИСТ ТЕХНИЧЕСКИХ │ Работа N _______ Изделие N ____________ │
│ ХАРАКТЕРИСТИК АППАРАТА │ Стр. 2 из 2 Составил ____________ │
│ С ВОЗДУШНЫМ ОХЛАЖДЕНИЕМ │ ─────── Изменение ____________ │
│ЕДИНИЦЫ ВЕЛИЧИН ПО СИСТЕМЕ СИ│ Дата _______ Контракт N ____________ │
│ │ Предложение N _______ Заказ N ____________ │
│ │ Запрос N _______ │
├─────────────────────────────┴─────────────────────┬─────────────────────────────────────────────┤
│Коллектор (продолжение) │Количество/пучок ________ Длина, м _________ │
│Уклон, мм/м __________________________ │Шаг, мм ___________________________ │
│Материал пробок │Расположение ___________________________ │
│Материал прокладок │Оребрение │
│Патрубок N Размер, Номинальная │Тип ___________________________ │
│ номинальный производительность,│Материал ___________________________ │
│ диаметр тип разъема │Толщина проката, мм _________________ │
│Входной ___ ___________ __________________ │Температура для выбора, °C _________________ │
│Выходной ___ ___________ __________________ │Наружный диаметр, мм Количество/м ____ │
│Вентиляционный ___ ___________ __________________ │____________________ │
│Сток │ │
│ ___ ___________ __________________ │Технические требования заказчика ____________│
│Различные соединения TI _______ PI _______________ │_____________________________________________│
│Химическая очистка ______________________ │_____________________________________________│
│ Мин. толщина стенки, мм ______________________ │_____________________________________________│
│ Труба │_____________________________________________│
│Материал │___________________ │
│Наружный Минимальная толщина │ │
│диаметр, мм __________ стенки, мм _______________ │ │
├───────────────────────────────────────────────────┴─────────────────────────────────────────────┤
│ Механическое оборудование │
├───────────────────────────────────────────────────┬─────────────────────────────────────────────┤
│ Вентилятор │Скорость, об/мин ______ Эксплуатационный │
│Изготовитель, модель ________________________ │ коэффициент _____│
│Количество/секция _______ Скорость, об/мин _______ │Кожух ____________________________│
│Диаметр, мм _______ Кол-во лопаток _________ │Вольт _________ Фаз __________ Гц ___________│
│Угол ________________________________ │Уровень шума вентилятора │
│Регулировка Ручная Автоматическая │(допустимый/расчетный), дБА, │
│ │на расстояние, м _______/________│
│Материал лопатки _______ Материал втулки __________│ │
│кВт/вентилятор, при минимальной │ Понижающая передача │
│при расчетной окружающей │Тип _________________________________________│
│температуре ________ температуре ______________│Изготовитель, модель ________________________│
│ │Количество/секция __________________________│
│Макс. допустимая/расчетная скорость │Эксплуатационный Передаточное │
│конца лопатки, м/с _________________/____________ │коэффициент _________ отношение _____________│
│ │Опора: Конструкция Стойка │
│ Привод │Выключение Да Нет │
│Тип │при вибрации │
│ │Кожух _______________________________________│
│Изготовитель, модель ____________________________│ │
│Количество/секция _____ Мощность привода, кВт _____│ │
├───────────────────────────────────────────────────┴─────────────────────────────────────────────┤
│ Органы управления воздушной стороны │
├───────────────────────────────────────────────────┬─────────────────────────────────────────────┤
│Рециркуляция воздуха Нет Внутренняя Внешняя │Жалюзи: Вход Выход Обвод│
│Над Сторона Торец │Позиционирующее уст-во Да Нет │
│Регулировка выходной температуры технологической │Давление сигнального воздуха, кПа (изб.) │
│среды (максимальное охлаждение), +/- °C ____/____│от ________________ до ________________ │
│Действие после отказа сигнала управления __________│от ________________ до ________________ │
│Шаг Минимальный Максимальный Блокировка │ │
│вентилятора │Давление питающего воздуха, кПа (избыт.) │
│Жалюзи: Открыты Закрыты Блокировка │ │
│Подача воздуха на исполн. механизм ________________│Максимальное ________ Минимальное ___________│
│Вентилятор: Нет Позиционирующее Реле │Максимальное ________ Минимальное ___________│
│ устройство с торможением │ │
├───────────────────────────────────────────────────┴─────────────────────────────────────────────┤
│ Отгрузка │
├───────────────────────────────────────────────────┬─────────────────────────────────────────────┤
│Площадь участка (ширина x диаметр), м │Всего _____________________________│
│_____________________________________ │ │
│Масса пучка, кг _____________________________│Масса груза, кг _____________________________│
│Секция _____________________________│ │
└───────────────────────────────────────────────────┴─────────────────────────────────────────────┘
┌─────────────────────────────┬───────────────────────────────────────────────────────────────────┐
│ ЛИСТ ТЕХНИЧЕСКИХ │ Работа N _______ Изделие N ____________ │
│ ХАРАКТЕРИСТИК АППАРАТА │ Стр. 1 из 2 Составил ____________ │
│ С ВОЗДУШНЫМ ОХЛАЖДЕНИЕМ │ ─────── Изменение ____________ │
│ ЕДИНИЦЫ ВЕЛИЧИН ПО СИСТЕМЕ, │ Дата _______ Контракт N ____________ │
│ ПРИНЯТОЙ В США │ Предложение N _______ Заказ N ____________ │
│ │ Запрос N _______ │
├─────────────────────────────┴─────────────────────┬─────────────────────────────────────────────┤
│Изготовитель _____________________________ │Теплота обмена, Брит. тепл. ед./ч ______ │
│Модель N _____________________________ │Оребренная труба - │
│Заказчик _____________________________ │ 2 │
│Место установки _____________________________ │поверхность/изделие, фут ______ │
│Функция _____________________________ │ 2 │
│Тип тяги Всасывающая Нагнетательная │Гладкая труба, фут ______ │
│Размер секции Количество секций/ │Средний перепад температур, эфф., °F ______ │
│(ширина x диаметр), футы изделий ______________ │Интенсивность теплопередачи - │
│________________________ │ 2 │
│ │оребренная, БТЕ/(ч x фут x °F) ______ │
│ │ 2 │
│ │Гладкая труба, БТЕ/(ч x фут x °F) ______ │
│ │ 2 │
│ │Чистая, БТЕ/(ч x фут x °F) ______ │
├───────────────────────────────────────────────────┴─────────────────────────────────────────────┤
│ Основные данные для проектирования │
├───────────────────────────────────────────────────┬─────────────────────────────────────────────┤
│Нормы проектирования сосудов, │Конструкционные нормы и правила │
│работающих под давлением ________________________ │_____________________________________________│
│Клеймо норм на трубном пучке Да Нет │Воспламеняющаяся среда Да Нет │
│Клеймо норм на нагревательном Да Нет │Смертельно опасная/ Да Нет │
│змеевике │токсичная среда │
├───────────────────────────────────────────────────┴─────────────────────────────────────────────┤
│ Рабочие характеристики - Трубная сторона │
├───────────────────────────────────────────────────┬─────────────────────────────────────────────┤
│Наименование среды ________│ Вход Выход│
│Общее поступление среды, фунт/ч ________│Температура, °F _____ _____│
│Точка росы/начала кипения, °F ____/___│Общий расход (жидк./пара), фунт/ч __/__ __/__│
│Точка застывания, °F. Точка замерзания, °F ________│Вода/водяной пар, фунт/ч __/__ __/__│
│Скрытая теплота, БТЕ/фунт ________│Неконденсируемые, фунт/ч __/__ __/__│
│Давление на входе, фунт/квадратный фунт/квадратный│Молекулярный вес (пара/неконд.) __/__ __/__│
│ дюйм (избыт.) дюйм (абс.) │ 3 │
│Перепад давления │Плотность (жидк./пара), фунт/фут __/__ __/__│
│(допустимый/расчетный), фунт/кв. дюйм ___/____│Удельная теплоемкость │
│Скорость (допустимая/расчетная), фут/с ___/____│(жидк./пара), БТЕ/фунт x °F __/__ __/__│
│Отложение загрязнений внутри, │Теплопроводность │
│ 2 │(жидк./пара), БТЕ/ч x фут x °F __/__ __/__│
│ч x фут x °F/БТЕ ___/____│Вязкость (жидк./пара), сП __/__ __/__│
├───────────────────────────────────────────────────┴─────────────────────────────────────────────┤
│ Рабочие характеристики - Воздушная сторона │
├───────────────────────────────────────────────────┬─────────────────────────────────────────────┤
│Температура воздуха на входе │Скорость на поверхности, фут/мин ________│
│(расчетная, сухой термометр), °F _____________ │Минимальная расчетная │
│Расход воздуха/изделие (фунт/ч) │окружающая температура, °F ________│
│(куб. фут/м при станд. условиях) _____________ │Высота над уровнем моря, фут ________│
│Массовая скорость (свободная │Статическое давление, дюймы вод. ст. ________│
│ 2 │ │
│рабочая площадь), фунт/ч x фут _____________ │ │
│Температура воздуха на выходе, °F _____________ │ │
│Расход воздуха/вентилятор, │ │
│фактический кубический фут/м _____________ │ │
├───────────────────────────────────────────────────┴─────────────────────────────────────────────┤
│ Проектирование, материалы и изготовление │
├───────────────────────────────────────────────────┬─────────────────────────────────────────────┤
│Расчетное давление, │ Нагревательный змеевик │
│фунт/квадратный дюйм (избыт.) │Количество труб ____ Наружный диаметр, мм____│
│Испытательное давление, │Материал труб _____________│
│фунт/квадратный дюйм (избыт.) │Материал и тип оребрения _____________│
│Расчетная температура, °F ______________│Толщина, дюйм _____________│
│Минимальная расчетная температура металла, °F │Нормы для сосудов под давлением _____________│
│ Трубный пучок │Клеймо Да Нет │
│Размер (ширина x диаметр), фут ____________________│Нагревающая среда ______ Расход, фунт/ч _____│
│Количество/секция _____ Количество рядов труб _____│Температура (вход/выход), °F ______/______│
│Пучки параллельно _____ Последовательно ___________│Давление на входе, │
│Монтаж Уровень земли Стеллаж Другое │фунт/квадратный дюйм (избыт.) _____________│
│конструкции для труб │Перепад давления │
│Балки трубного стеллажа │(допустимый/расчетный), │
│(расстояние между центрами) _______________________│фунт/квадратный дюйм ______/______│
│Лестницы, мостики, площадки Да Нет │Расчетная температура, │
│Подготовка поверхности конструкций/покрытие _______│°F/ расчетное давление, │
│Подготовка поверхности коллектора/покрытие _______│фунт/квадратный дюйм (избыт.) ______/______│
│ Жалюзи │Входной/выходной патрубок, │
│Материал __________________________________________│нормальный трубный размер ______/______│
│Управление действием: Автоматическое Ручное │ Коллектор │
│Тип действия: Противоположное Параллельное│Тип __________________________________│
│ │Материал __________________________________│
│ │Припуск на коррозию, дюйм ___________________│
│ │Количество ходов <*> ___________________│
├───────────────────────────────────────────────────┴─────────────────────────────────────────────┤
│ <*> Указать количество труб каждого хода, если оно неодинаково. │
└─────────────────────────────────────────────────────────────────────────────────────────────────┘
┌─────────────────────────────┬───────────────────────────────────────────────────────────────────┐
│ ЛИСТ ТЕХНИЧЕСКИХ │ Работа N _______ Изделие N ____________ │
│ ХАРАКТЕРИСТИК АППАРАТА │ Стр. 2 из 2 Составил ____________ │
│ С ВОЗДУШНЫМ ОХЛАЖДЕНИЕМ │ ─────── Изменение ____________ │
│ ЕДИНИЦЫ ВЕЛИЧИН ПО СИСТЕМЕ, │ Дата _______ Контракт N ____________ │
│ ПРИНЯТОЙ В США │ Предложение N _______ Заказ N ____________ │
│ │ Запрос N _______ │
├─────────────────────────────┴─────────────────────┬─────────────────────────────────────────────┤
│Коллектор (продолжение) │Количество/пучок ________ Длина, мфут _______│
│Уклон, дюйм/дюйм __________________________ │Шаг, дюйм ____________________________│
│Материал пробок │Расположение ____________________________│
│Материал прокладок │Оребрение │
│Патрубок N Размер, Номинальная │Тип ____________________________│
│ нормальный производительность,│Материал ____________________________│
│ трубный тип разъема │Толщина проката, дюйм __________________│
│ размер │Температура для выбора, °F __________________│
│Входной ___ ___________ __________________ │Наружный диаметр, дюйм ___ Количество/дюйм __│
│Выходной ___ ___________ __________________ │ │
│Вентиляционный ___ ___________ __________________ │ │
│Сток ___ ___________ __________________ │Технические требования заказчика ____________│
│ │_____________________________________________│
│Различные соединения TI _______ PI _______________ │_____________________________________________│
│Химическая очистка ______________________ │_____________________________________________│
│Мин. толщина стенки, дюйм ______________________ │_____________________________________________│
│ Труба │___________________ │
│Материал _______________________________________ │ │
│Наружный Минимальная толщина │ │
│диаметр, дюйм __________ стенки, дюйм ____________│ │
├───────────────────────────────────────────────────┴─────────────────────────────────────────────┤
│ Механическое оборудование │
├───────────────────────────────────────────────────┬─────────────────────────────────────────────┤
│ Вентилятор │Скорость, об/мин ______ Эксплуатационный │
│Изготовитель, модель _________________________│ коэффициент _____│
│Количество/секция _______ Скорость, об/мин ________│Кожух ____________________________│
│Диаметр, фут _______ Кол-во лопаток __________│Вольт _________ Фаз __________ Герц _________│
│Угол _________________________________│Уровень шума вентилятора │
│Регулировка Ручная Автоматическая │(допустимый/расчетный), дБА, │
│ │на расст., фут _______/________│
│Материал лопатки _______ Материал втулки __________│ │
│кВт/вентилятор, при минимальной │ Понижающая передача │
│при расчетной окружающей │Тип _________________________________________│
│температуре ________ температуре ______________│Изготовитель, модель ________________________│
│ │Количество/секция __________________________│
│Макс. допустимая/расчетная скорость │Эксплуатационный Передаточное │
│конца лопатки, м/с ___________/_____________│коэффициент _________ отношение _____________│
│ │Опора: Конструкция Стойка │
│ Привод │Выключение Да Нет │
│Тип │при вибрации │
│ │Кожух _______________________________________│
│Изготовитель, модель ___________________________│ │
│Количество/секция _____ Мощность привода, л.с. ____│ │
├───────────────────────────────────────────────────┴─────────────────────────────────────────────┤
│ Органы управления воздушной стороны │
├───────────────────────────────────────────────────┬─────────────────────────────────────────────┤
│Рециркуляция воздуха Нет Внутренняя Внешняя │Жалюзи: Вход Выход Обвод│
│Над Сторона Торец │Позиционирующее Да Нет │
│Регулировка выходной температуры технологической │устройство │
│среды (максимальное охлаждение), +/- °F ____/____│Давление сигнального воздуха, кПа (изб.) │
│Действие после отказа сигнала управления __________│от ________________ до ________________ │
│Шаг Минимальный Максимальный Блокировка │от ________________ до ________________ │
│вентилятора │ │
│Жалюзи: Открыты Закрыты Блокировка │Давление питающего воздуха, │
│Подача воздуха на исполн. механизм ________________│фунт/квадратный дюйм (избыт.) │
│Вентилятор: Нет Позиционирующее Реле │Максимальное ________ Минимальное ___________│
│ устройство с торможением │Максимальное ________ Минимальное ___________│
├───────────────────────────────────────────────────┴─────────────────────────────────────────────┤
│ Отгрузка │
├───────────────────────────────────────────────────┬─────────────────────────────────────────────┤
│Площадь участка (ширина x диаметр), фут ___________│Всего ___________________________│
│Масса пучка, фунт _____________________________│ │
│Секция _____________________________│Масса груза, фунт ___________________________│
└───────────────────────────────────────────────────┴─────────────────────────────────────────────┘
┌──────────────────┬─────────────────────────────────────────────┐
│ ЛИСТ ШУМОВЫХ │ Работа N ______ Изделие N ________ │
│ ХАРАКТЕРИСТИК │ Стр. 1 из 1 Составил ________ │
│ АППАРАТА │ ───── ────── Изменение ________ │
│ С ВОЗДУШНЫМ │ Дата ______ Контракт N ________ │
│ ОХЛАЖДЕНИЕМ │ Предложение N ______ Заказ N ________ │
│ │ Запрос N ______ │
└──────────────────┴─────────────────────────────────────────────┘
┌──┬──────────────┬────────────┬───────────┬─────────┬───────────┐
│1 │Шумовые данные│Технические │Технические│Гарантия │ Гарантия │
│ │ │требования │требования │продавца │ продавца │
│ │ │покупателя │покупателя │ │ │
├──┼──────────────┼────────────┼───────────┼─────────┼───────────┤
│2 │Центр октавных│УЗД в │УМЗ на один│УЗД в │УМЗ на один│
│ │полос │указанном │вентилятор │указанном│вентилятор │
│ │ │месте │ │месте │ │
├──┼──────────────┼────────────┼───────────┼─────────┼───────────┤
│3 │63 │ │ │ │ │
├──┼──────────────┼────────────┼───────────┼─────────┼───────────┤
│4 │125 │ │ │ │ │
├──┼──────────────┼────────────┼───────────┼─────────┼───────────┤
│5 │250 │ │ │ │ │
├──┼──────────────┼────────────┼───────────┼─────────┼───────────┤
│6 │500 │ │ │ │ │
├──┼──────────────┼────────────┼───────────┼─────────┼───────────┤
│7 │1000 │ │ │ │ │
├──┼──────────────┼────────────┼───────────┼─────────┼───────────┤
│8 │2000 │ │ │ │ │
├──┼──────────────┼────────────┼───────────┼─────────┼───────────┤
│9 │4000 │ │ │ │ │
├──┼──────────────┼────────────┼───────────┼─────────┼───────────┤
│10│8000 │ │ │ │ │
├──┼──────────────┼────────────┼───────────┼─────────┼───────────┤
│11│дБ/А │ │ │ │ │
└──┴──────────────┴────────────┴───────────┴─────────┴───────────┘
┌──┬─────────────────────────────────────────────────────────────┐
│14│Примечание. Если не указано иное: │
│ │УЗД - уровень звукового давления, измеренный в дБА, опорный│
│ │ -5 │
│ │уровень 2 x 10 Н/м2; │
│ │УМЗ - уровень мощности звука, измеренный в дБА, опорный│
│ │ -12 │
│ │уровень 1 x 10 Н/м2; │
│ │для нагнетательных вентиляторов УЗД измеряют на центральной│
│ │оси вентилятора на 1 м ниже его входа; │
│ │для отсасывающих вентиляторов УЗД измеряют на 1 м ниже│
│ │трубных пучков; │
│ │шум оборудования должен включать шум понижающей передачи и│
│ │электродвигателя; │
│ │при присутствии тонального шума суммарные уровни шума должны│
│ │быть на 5 дБА более жесткими. │
├──┼─────────────────────────────────────────────────────────────┤
│15│Описание указанного места: │
├──┼─────────────────────────────────────────────────────────────┤
│16│Особые требования (с акустическими мерами или без них,│
│ │специальные малошумные вентиляторы): │
├──┼─────────────────────────────────────────────────────────────┤
│17│ │
├──┼─────────────────────────────────────────────────────────────┤
│18│ │
├──┼─────────────────────────────────────────────────────────────┤
│19│ │
├──┼─────────────────────────────────────────────────────────────┤
│20│ │
└──┴─────────────────────────────────────────────────────────────┘
B.2. Спецификация стандартизированного файла для электронного обмена данными
B.2.1. Область применения
В этом разделе описывается формат файла для хранения в электронном виде и передачи данных, содержащихся в листках технических характеристик. Этот стандартный формат носит также название формата нейтрального файла для обмена данными.
Формат нейтрального файла для обмена данными позволяет группам с различными операционными системами, программным обеспечением, аппаратной частью и формами листков технических характеристик осуществлять электронный обмен данными, содержащимися в листках технических характеристик. В отличие от печатных форм электронные данные можно импортировать в конструкторские программы или другие программные системы.
Покупателям и изготовителям предлагается шире применять данную спецификацию файла для передачи данных. В данной спецификации не рассматривается метод передачи данных - интернетовский протокол, электронная почта, "доска объявлений" и т.д. Стороны, обменивающиеся данными, должны согласовывать способ передачи между собой.
Юридические аспекты обмена данными в электронном виде зависят от политики, установившейся между обменивающимися сторонами. Стороны могут требовать также листы технических характеристик в бумажной форме в качестве юридических документов.
B.2.2. Формат файла
B.2.2.1. Нейтральный файл для обмена данными представляет собой текстовый файл ASCII
[10] (Американские стандартные коды для обмена информацией). В файле для обмена используются только десятичные коды ASCII
[10] с 0 по 127, поскольку эти коды являются общими для многих операционных систем компьютеров.
B.2.2.2. Данные, обмен которыми производится, приведены в
таблице B.1. Каждое поле данных отделяется комбинацией возврата каретки (код ASCII
[10] 13) и перевода строки (код ASCII
[10] 10). Если поле данных неизвестно, неприменимо или имеет нулевое значение, то коды возврата каретки и перевода строки, которые нормально должны последовать после него, должны быть включены в файл. Поэтому нейтральный файл для обмена данными имеет одну строку для каждого поля данных. Порядок хранения должен также соответствовать порядку данных, определенному в настоящей спецификации. Например, поле данных 20, определенное в настоящей спецификации как "Номер изделия", всегда будет 20-м полем или
строкой 20 во всех нейтральных файлах для обмена данными.
Таблица B.1
Спецификация нейтрального файла для обмена данными
┌──────┬────────────────────┬──────┬──────┬───────────────────────────────┐
│Номер │ Описание │Ширина│ Тип │ Единицы/содержание │
│данных│ │данных│данных│ │
├──────┼────────────────────┼──────┼──────┼───────────────────────────────┤
│ 1 │ 2 │ 3 │ 4 │ 5 │
├──────┼────────────────────┼──────┼──────┼───────────────────────────────┤
│ 1 │ Идентификатор файла│ 20 │ C │ Воздухоохлаждаемый │
│ │ │ │ │теплообменник │
│ 2 │ Номер версии │ 10 │ C │ V1.0 │
│ │формата нейтрального│ │ │ │
│ │файла │ │ │ │
│ 3 │ Система единиц │ 2 │ C │ СИ (США) │
│ 4 │ Наименование │ 30 │ C │ │
│ │продавца │ │ │ │
│ 5 │ Номер модели │ 30 │ C │ │
│ 6 │ Идентификатор │ 1 │ C │ Для базовых проектов это поле │
│ │альтернативного │ │ │остается пустым, его используют│
│ │проекта │ │ │только при передаче │
│ │ │ │ │альтернативного проекта, │
│ │ │ │ │например A, B или 1 │
│ 7 │ Наименование │ 100 │ C │ │
│ │покупателя │ │ │ │
│ 8 │ Номер работы │ 20 │ C │ │
│ │покупателя │ │ │ │
│ 9 │ Ссылочный номер │ 40 │ C │ │
│ │покупателя │ │ │ │
│ 10 │ Номер запроса │ 30 │ C │ │
│ │покупателя │ │ │ │
│ 11 │ Номер заказа │ 40 │ C │ │
│ │покупателя │ │ │ │
│ 12 │ Номер работы │ 20 │ C │ │
│ │продавца │ │ │ │
│ 13 │ Ссылочный номер │ 40 │ C │ │
│ │продавца │ │ │ │
│ 14 │ Номер предложения │ 30 │ C │ │
│ │продавца │ │ │ │
│ 15 │ Имя отправителя или│ 30 │ C │ │
│ │контактного лица │ │ │ │
│ 16 │ Место установки │ 60 │ C │ │
│ 17 │ Дата изменения │ 8 │ Д │ ГГГГММДД │
│ 18 │ Изменение │ 2 │ C │ │
│ 19 │ Функция аппарата │ 60 │ C │ │
│ 20 │ Номер изделия │ 50 │ C │ │
│ 21 │ Наименование среды │ 25 │ C │ │
│ │на трубной стороне │ │ │ │
│ 22 │ Общий расход на │ 13 │ N │ кг/с (фунт/ч) │
│ │трубной стороне │ │ │ │
│ 23 │ Расход паров │ 13 │ N │ кг/с (фунт/ч) │
│ │на входе трубной │ │ │ │
│ │стороны │ │ │ │
│ 24 │ Расход паров │ 13 │ N │ кг/с (фунт/ч) │
│ │на выходе трубной │ │ │ │
│ │стороны │ │ │ │
│ 25 │ Расход жидкости │ 13 │ N │ кг/с (фунт/ч) │
│ │на входе трубной │ │ │ │
│ │стороны │ │ │ │
│ 26 │ Расход жидкости │ 13 │ N │ кг/с (фунт/ч) │
│ │на выходе трубной │ │ │ │
│ │стороны │ │ │ │
│ 27 │ Расход водяного │ 13 │ N │ кг/с (фунт/ч) │
│ │пара на входе │ │ │ │
│ │трубной стороны │ │ │ │
│ 28 │ Расход водяного │ 13 │ N │ кг/с (фунт/ч) │
│ │пара на выходе │ │ │ │
│ │трубной стороны │ │ │ │
│ 29 │ Расход воды │ 13 │ N │ кг/с (фунт/ч) │
│ │на входе трубной │ │ │ │
│ │стороны │ │ │ │
│ 30 │ Расход воды на │ 13 │ N │ кг/с (фунт/ч) │
│ │выходе трубной │ │ │ │
│ │стороны │ │ │ │
│ 31 │ Расход │ 13 │ N │ кг/с (фунт/ч) │
│ │неконденсируемых │ │ │ │
│ │компонентов на входе│ │ │ │
│ │трубной стороны │ │ │ │
│ 32 │ Расход │ 13 │ N │ кг/с (фунт/ч) │
│ │неконденсируемых │ │ │ │
│ │компонентов на │ │ │ │
│ │выходе трубной │ │ │ │
│ │стороны │ │ │ │
│ 33 │ Температура │ 13 │ N │ °C (°F) │
│ │на входе трубной │ │ │ │
│ │стороны │ │ │ │
│ 34 │ Температура на │ 13 │ N │ °C (°F) │
│ │выходе трубной │ │ │ │
│ │стороны │ │ │ │
│ │ │ │ │ 3 │
│ 35 │ Плотность жидкости │ 13 │ N │ кг/м3 (фунт/фут ) │
│ │на входе трубной │ │ │ │
│ │стороны │ │ │ │
│ │ │ │ │ 3 │
│ 36 │ Плотность жидкости │ 13 │ N │ кг/м3 (фунт/фут ) │
│ │на выходе трубной │ │ │ │
│ │стороны │ │ │ │
│ │ │ │ │ 3 │
│ 37 │ Плотность паров │ 13 │ N │ кг/м3 (фунт/фут ) │
│ │на входе трубной │ │ │ │
│ │стороны │ │ │ │
│ │ │ │ │ 3 │
│ 38 │ Плотность паров │ 13 │ N │ кг/м3 (фунт/фут ) │
│ │на выходе трубной │ │ │ │
│ │стороны │ │ │ │
│ 39 │ Вязкость жидкости │ 13 │ N │ мПа x с (сП) │
│ │на входе трубной │ │ │ │
│ │стороны │ │ │ │
│ 40 │ Вязкость жидкости │ 13 │ N │ мПа x с (сП) │
│ │на выходе трубной │ │ │ │
│ │стороны │ │ │ │
│ 41 │ Вязкость паров │ 13 │ N │ мПа x с (сП) │
│ │на входе трубной │ │ │ │
│ │стороны │ │ │ │
│ 42 │ Вязкость паров │ 13 │ N │ мПа x с (сП) │
│ │на выходе трубной │ │ │ │
│ │стороны │ │ │ │
│ 43 │ Молекулярный вес │ 13 │ N │ │
│ │паров на входе │ │ │ │
│ │трубной стороны │ │ │ │
│ 44 │ Молекулярный вес │ 13 │ N │ │
│ │паров на выходе │ │ │ │
│ │трубной стороны │ │ │ │
│ 45 │ Молекулярный вес │ 13 │ N │ │
│ │неконденсируемых │ │ │ │
│ │компонентов на входе│ │ │ │
│ │трубной стороны │ │ │ │
│ 46 │ Молекулярный вес │ 13 │ N │ │
│ │неконденсируемых │ │ │ │
│ │компонентов на │ │ │ │
│ │выходе трубной │ │ │ │
│ │стороны │ │ │ │
│ 47 │ Удельная теплота │ 13 │ N │ кДж/кг x К │
│ │жидкости на входе │ │ │(Брит. тепл. ед./фунт x °F) │
│ │трубной стороны │ │ │ │
│ 48 │ Удельная теплота │ 13 │ N │ кДж/кг x К (БТЕ/фунт x °F) │
│ │жидкости на выходе │ │ │ │
│ │трубной стороны │ │ │ │
│ 49 │ Удельная теплота │ 13 │ N │ кДж/кг x К (БТЕ/фунт x °F) │
│ │паров на входе │ │ │ │
│ │трубной стороны │ │ │ │
│ 50 │ Удельная теплота │ 13 │ N │ кДж/кг x К (БТЕ/фунт x °F) │
│ │паров на выходе │ │ │ │
│ │трубной стороны │ │ │ │
│ 51 │ Теплопроводность │ 13 │ N │ Вт/м x К (БТЕ/ч x фут x °F) │
│ │жидкости на входе │ │ │ │
│ │трубной стороны │ │ │ │
│ 52 │ Теплопроводность │ 13 │ N │ Вт/м x К (БТЕ/ч x фут x °F) │
│ │жидкости на выходе │ │ │ │
│ │трубной стороны │ │ │ │
│ 53 │ Теплопроводность │ 13 │ N │ Вт/м x К (БТЕ/ч x фут x °F) │
│ │паров на входе │ │ │ │
│ │трубной стороны │ │ │ │
│ 54 │ Теплопроводность │ 13 │ N │ Вт/м x К (БТЕ/ч x фут x °F) │
│ │паров на выходе │ │ │ │
│ │трубной стороны │ │ │ │
│ 55 │ Скрытая теплота │ 13 │ N │ кДж/кг (БТЕ/фунт) │
│ │трубной стороны │ │ │ │
│ 56 │ Точка росы │ 13 │ N │ °C (°F) │
│ 57 │ Температура начала │ 13 │ N │ °C (°F) │
│ │кипения │ │ │ │
│ 58 │ Температура │ 13 │ N │ °C (°F) │
│ │застывания │ │ │ │
│ 59 │ Точка замерзания │ 13 │ N │ °C (°F) │
│ 60 │ Давление на входе │ 13 │ N │ кПа (избыт.) [фунт │
│ │трубной стороны │ │ │на квадратный дюйм (избыт.)] │
│ 61 │ Допустимая скорость│ 13 │ N │ м/с (фут/с) │
│ │на трубной стороне │ │ │ │
│ 62 │ Минимальная или │ 3 │ C │ min; max │
│ │максимальная │ │ │ │
│ │допустимая скорость │ │ │ │
│ 63 │ Расчетная скорость │ 13 │ N │ м/с (фут/с) │
│ │на трубной стороне │ │ │ │
│ 64 │ Допустимый перепад │ 13 │ N │ кПа (фунт на квадратный дюйм) │
│ │давления на трубной │ │ │ │
│ │стороне │ │ │ │
│ 65 │ Расчетный перепад │ 13 │ N │ кПа (фунт на квадратный дюйм) │
│ │давления на трубной │ │ │ │
│ │стороне │ │ │ │
│ │ │ │ │ 2 │
│ 66 │ Сопротивление │ 13 │ N │ м2 x К/Вт (ч x фут x °F/БТЕ) │
│ │загрязнению трубной │ │ │ │
│ │стороны │ │ │ │
│ 67 │ Массовый расход │ 13 │ N │ кг/с (фунт/ч) │
│ │воздуха на одно │ │ │ │
│ │изделие │ │ │ │
│ 68 │ Объемный расход │ 13 │ N │ м3/с (куб. фут/мин │
│ │воздуха на одно │ │ │при стандартных условиях) │
│ │изделие │ │ │ │
│ 69 │ Массовая скорость │ 13 │ N │ кг/с x м2 (фунт/фут x м2) │
│ │(свободная полезная │ │ │ │
│ │площадь) │ │ │ │
│ 70 │ Расход воздуха на │ 13 │ N │ м3/с (куб. фут/мин) │
│ │один вентилятор, при│ │ │ │
│ │фактических условиях│ │ │ │
│ 71 │ Скорость на лицевой│ 13 │ N │ м/с (фут/мин) │
│ │поверхности при │ │ │ │
│ │стандартных условиях│ │ │ │
│ 72 │ Температура воздуха│ 13 │ N │ °C (°F) │
│ │на входе │ │ │ │
│ 73 │ Температура воздуха│ 13 │ N │ °C (°F) │
│ │на выходе │ │ │ │
│ 74 │ Минимальная │ 13 │ N │ °C (°F) │
│ │расчетная │ │ │ │
│ │температура │ │ │ │
│ │окружающей среды │ │ │ │
│ 75 │ Высота над уровнем │ 13 │ N │ м (футов) │
│ │моря │ │ │ │
│ 76 │ Статическое │ 13 │ N │ кПа (дюймов вод. ст.) │
│ │давление │ │ │ │
│ │ │ │ │ 2 │
│ 77 │ Сопротивление │ 13 │ N │ м2 x К/Вт (ч x фут x °F/БТЕ) │
│ │загрязнения │ │ │ │
│ │воздушной стороны │ │ │ │
│ 78 │ Обмениваемая │ 13 │ N │ Вт (БТЕ/ч) │
│ │теплота │ │ │ │
│ 79 │ Средний перепад │ 13 │ N │ °C (°F) │
│ │температур │ │ │ │
│ 80 │ Тип перепада │ 4 │ C │ Скорректированный │
│ │температур: │ │ │ Взвешенный │
│ │скорректированный │ │ │ │
│ │или взвешенный │ │ │ │
│ │ │ │ │ 2 │
│ 81 │ Тепловой поток, │ 13 │ N │ Вт/м2 x К (БТЕ/ч x фут x °F) │
│ │оребренные │ │ │ │
│ │ │ │ │ 2 │
│ 82 │ Тепловой поток │ 13 │ N │ Вт/м2 x К (БТЕ/ч x фут x °F) │
│ │гладкой трубы, │ │ │ │
│ │при эксплуатации │ │ │ │
│ │ │ │ │ 2 │
│ 83 │ Тепловой поток │ 13 │ N │ Вт/м2 x К (БТЕ/ч x фут x °F) │
│ │гладкой трубы, │ │ │ │
│ │в чистом виде │ │ │ │
│ 84 │ Расчетное давление │ 13 │ N │ кПа (избыт.) │
│ │трубной стороны │ │ │[фунтов на кв. дюйм (избыт.)] │
│ 85 │ Вакуумное давление │ 13 │ N │ кПа (избыт.) │
│ │трубной стороны │ │ │[фунт на кв. дюйм (избыт.)] │
│ │(включая │ │ │ │
│ │отрицательный знак) │ │ │ │
│ 86 │ Испытательное │ 13 │ N │ кПа (избыт.) │
│ │давление трубной │ │ │[фунт на кв. дюйм (избыт.)] │
│ │стороны │ │ │ │
│ 87 │ Минимальная │ 13 │ N │ °C (°F) │
│ │расчетная │ │ │ │
│ │температура металла │ │ │ │
│ │трубной стороны │ │ │ │
│ 88 │ Максимальная │ 13 │ N │ °C (°F) │
│ │расчетная │ │ │ │
│ │температура трубной │ │ │ │
│ │стороны │ │ │ │
│ 89 │ Количество трубных │ 35 │ C │ Включая число труб каждого │
│ │ходов │ │ │хода, если оно неодинаково │
│ 90 │ Припуск на коррозию│ 13 │ N │ мм (дюйм) │
│ │трубной стороны │ │ │ │
│ 91 │ Количество входных │ 5 │ I │ │
│ │соединений трубной │ │ │ │
│ │стороны │ │ │ │
│ 92 │ Размер входных │ 13 │ N │ мм (дюйм) │
│ │соединений трубной │ │ │ │
│ │стороны │ │ │ │
│ 93 │ Номинал входных │ 5 │ I │ 150; 300; 600; 900; 1500; 2500│
│ │соединений трубной │ │ │ │
│ │стороны │ │ │ │
│ 94 │ Разъем входных │ 6 │ C │ RFWN (приварной фланец │
│ │соединений трубной │ │ │с выступающей уплотнительной │
│ │стороны │ │ │поверхностью с буртиком); │
│ │ │ │ │RFLWN; RFSO (надеваемый │
│ │ │ │ │на трубу приварной фланец │
│ │ │ │ │с приподнятой уплотнительной │
│ │ │ │ │поверхностью); │
│ │ │ │ │LJ (свободный фланец); RTJWN; │
│ │ │ │ │RTJLWN; BW; FFWN (плоский │
│ │ │ │ │приварной фланец); FFLWN; │
│ │ │ │ │"OTHER" (другое) │
│ 95 │ Количество выходных│ 5 │ I │ │
│ │соединений трубной │ │ │ │
│ │стороны │ │ │ │
│ 96 │ Размер выходных │ 13 │ N │ мм (дюйм) │
│ │соединений трубной │ │ │ │
│ │стороны │ │ │ │
│ 97 │ Номинал выходных │ 5 │ I │ 150; 300; 600; 900; 1500; 2500│
│ │соединений трубной │ │ │ │
│ │стороны │ │ │ │
│ 98 │ Разъем выходных │ 6 │ C │ RFWN (приварной фланец │
│ │соединений трубной │ │ │с выступающей уплотнительной │
│ │стороны │ │ │поверхностью с буртиком); │
│ │ │ │ │RFLWN; RFSO (надеваемый │
│ │ │ │ │на трубу приварной фланец │
│ │ │ │ │с приподнятой уплотнительной │
│ │ │ │ │поверхностью); LJ (свободный │
│ │ │ │ │фланец); RTJWN; RTJLWN; BW; │
│ │ │ │ │FFWN (плоский приварной │
│ │ │ │ │фланец); FFLWN; │
│ │ │ │ │"OTHER" (другое) │
│ 99 │ Количество │ 5 │ I │ │
│ │вентиляционных │ │ │ │
│ │соединений трубной │ │ │ │
│ │стороны │ │ │ │
│ 100 │ Размер │ 13 │ N │ мм (дюйм) │
│ │вентиляционных │ │ │ │
│ │соединений трубной │ │ │ │
│ │стороны │ │ │ │
│ 101 │ Номинал │ 5 │ I │ 150; 300; 600; 900; 1500; │
│ │вентиляционных │ │ │2500; 3000; 6000 │
│ │соединений трубной │ │ │ │
│ │стороны │ │ │ │
│ 102 │ Разъем │ 7 │ C │ RFWN (приварной фланец │
│ │вентиляционных │ │ │с выступающей уплотнительной │
│ │соединений трубной │ │ │поверхностью с буртиком); │
│ │стороны │ │ │RFLWN; RFSO (надеваемый │
│ │ │ │ │на трубу приварной фланец │
│ │ │ │ │с приподнятой уплотнительной │
│ │ │ │ │поверхностью); LJ (свободный │
│ │ │ │ │фланец); RTJWN; RTJLWN; BW; │
│ │ │ │ │FFWN (плоский приварной │
│ │ │ │ │фланец); FFLWN; CPLG (муфта); │
│ │ │ │ │THDOLET (резьбовой штуцер); │
│ │ │ │ │NPT (нормальная трубная │
│ │ │ │ │резьба); SCOLET; │
│ │ │ │ │DRL&TAP (сверление и нарезка); │
│ │ │ │ │WLDBOSS (приварное расширение);│
│ │ │ │ │"OTHER" (другое) │
│ 103 │ Количество │ 5 │ I │ │
│ │дренажных соединений│ │ │ │
│ │трубной стороны │ │ │ │
│ 104 │ Размер дренажных │ 13 │ N │ мм (дюймов) │
│ │соединений трубной │ │ │ │
│ │стороны │ │ │ │
│ 105 │ Номинал дренажных │ 5 │ │ │
│ │соединений трубной │ │ │ │
│ │стороны │ │ │ │
│ 106 │ Разъем дренажных │ 7 │ C │ RFWN (приварной фланец │
│ │соединений трубной │ │ │с выступающей уплотнительной │
│ │стороны │ │ │поверхностью с буртиком); │
│ │ │ │ │RFLWN; RFSO (надеваемый │
│ │ │ │ │на трубу приварной фланец │
│ │ │ │ │с приподнятой уплотнительной │
│ │ │ │ │поверхностью); LJ (свободный │
│ │ │ │ │фланец); RTJWN; RTJLWN; BW; │
│ │ │ │ │FFWN (плоский приварной │
│ │ │ │ │фланец); FFLWN; CPLG (муфта); │
│ │ │ │ │THDOLET (резьбовой штуцер); │
│ │ │ │ │NPT (нормальная трубная │
│ │ │ │ │резьба); SCOLET; │
│ │ │ │ │DRL&TAP (сверление и нарезка); │
│ │ │ │ │WLDBOSS (приварное расширение);│
│ │ │ │ │"OTHER" (другое) │
│ 107 │ Количество │ 5 │ I │ │
│ │соединений T.I. │ │ │ │
│ 108 │ Размер соединений │ 13 │ N │ мм (дюйм) │
│ │T.I. │ │ │ │
│ 109 │ Номинал соединений │ 5 │ I │ 150; 300; 600; 900; 1500; │
│ │T.I. │ │ │2500; 3000; 6000 │
│ 110 │ Разъем соединений │ 7 │ C │ RFWN (приварной фланец │
│ │T.I. │ │ │с выступающей уплотнительной │
│ │ │ │ │поверхностью с буртиком); │
│ │ │ │ │RFLWN; RFSO (надеваемый │
│ │ │ │ │на трубу приварной фланец │
│ │ │ │ │с приподнятой уплотнительной │
│ │ │ │ │поверхностью); LJ (свободный │
│ │ │ │ │фланец); RTJWN; RTJLWN; BW; │
│ │ │ │ │FFWN (плоский приварной │
│ │ │ │ │фланец); FFLWN; CPLG (муфта); │
│ │ │ │ │THDOLET (резьбовой штуцер); │
│ │ │ │ │NPT (нормальная трубная │
│ │ │ │ │резьба); SCOLET; │
│ │ │ │ │DRL&TAP (сверление и нарезка); │
│ │ │ │ │WLDBOSS (приварное расширение);│
│ │ │ │ │"OTHER" (другое) │
│ 111 │ Количество │ 5 │ I │ │
│ │соединений P.I. │ │ │ │
│ 112 │ Размер соединений │ 13 │ N │ мм (дюйм) │
│ │P.I. │ │ │ │
│ 113 │ Номинал соединений │ 5 │ I │ 150; 300; 600; 900; 1500; │
│ │P.I. │ │ │2500; 3000; 6000 │
│ 114 │ Разъем соединений │ 7 │ C │ RFWN (приварной фланец │
│ │P.I. │ │ │с выступающей уплотнительной │
│ │ │ │ │поверхностью с буртиком); │
│ │ │ │ │RFLWN; RFSO (надеваемый │
│ │ │ │ │на трубу приварной фланец │
│ │ │ │ │с приподнятой уплотнительной │
│ │ │ │ │поверхностью); LJ (свободный │
│ │ │ │ │фланец); RTJWN; RTJLWN; BW; │
│ │ │ │ │FFWN (плоский приварной │
│ │ │ │ │фланец); FFLWN; CPLG (муфта); │
│ │ │ │ │THDOLET (резьбовой штуцер); │
│ │ │ │ │NPT (нормальная трубная │
│ │ │ │ │резьба); SCOLET; │
│ │ │ │ │DRL&TAP (сверление и нарезка); │
│ │ │ │ │WLDBOSS (приварное расширение);│
│ │ │ │ │"OTHER" (другое) │
│ 115 │ Количество │ 5 │ I │ │
│ │соединений для │ │ │ │
│ │химической очистки │ │ │ │
│ 116 │ Размер соединений │ 13 │ N │ мм (дюйм) │
│ │для химической │ │ │ │
│ │очистки │ │ │ │
│ 117 │ Номинал соединений │ 5 │ I │ 150; 300; 600; 900; 1500; │
│ │для химической │ │ │2500; 3000; 6000 │
│ │очистки │ │ │ │
│ 118 │ Разъем соединений │ 7 │ C │ RFWN (приварной фланец │
│ │для химической │ │ │с выступающей уплотнительной │
│ │очистки │ │ │поверхностью с буртиком); │
│ │ │ │ │RFLWN; RFSO (надеваемый │
│ │ │ │ │на трубу приварной фланец │
│ │ │ │ │с приподнятой уплотнительной │
│ │ │ │ │поверхностью); LJ (свободный │
│ │ │ │ │фланец); RTJWN; RTJLWN; BW; │
│ │ │ │ │FFWN (плоский приварной │
│ │ │ │ │фланец); FFLWN; CPLG (муфта); │
│ │ │ │ │THDOLET (резьбовой штуцер); │
│ │ │ │ │NPT (нормальная трубная │
│ │ │ │ │резьба); SCOLET; │
│ │ │ │ │DRL&TAP (сверление и нарезка); │
│ │ │ │ │WLDBOSS (приварное расширение);│
│ │ │ │ │"OTHER" (другое) │
│ 119 │ Минимальная толщина│ 13 │ N │ мм (дюйм) │
│ │стенки, патрубок │ │ │ │
│ 120 │ Размер секции │ 20 │ C │ м (фут) │
│ │(ширина x длина) │ │ │ │
│ 121 │ Тип тяги │ 7 │ C │ Нагнетательная, отсасывающая │
│ 122 │ Количество │ 5 │ I │ │
│ │секций/изделие │ │ │ │
│ 123 │ Пучков на одну │ 5 │ I │ │
│ │секцию │ │ │ │
│ 124 │ Размер пучка │ 20 │ C │ м (фут) │
│ │(Ш x Д) │ │ │ │
│ 125 │ Количество пучков, │ 5 │ I │ │
│ │соединенных │ │ │ │
│ │параллельно │ │ │ │
│ 126 │ Количество пучков, │ 5 │ I │ │
│ │соединенных │ │ │ │
│ │последовательно │ │ │ │
│ │ │ │ │ 2 │
│ 127 │ Поверхность/изде- │ 13 │ N │ м2 (фут ) │
│ │лие, оребрение │ │ │ │
│ │ │ │ │ 2 │
│ 128 │ Поверхность/изде- │ 13 │ N │ м2 (фут ) │
│ │лие, гладкая │ │ │ │
│ 129 │ Количество │ 5 │ I │ │
│ │труб/пучок │ │ │ │
│ 130 │ Количество рядов │ 5 │ I │ │
│ │труб │ │ │ │
│ 131 │ Наружный диаметр │ 13 │ N │ мм (дюйм) │
│ │трубы │ │ │ │
│ 132 │ Толщина стенки │ 13 │ N │ мм (дюйм) │
│ │трубы │ │ │ │
│ 133 │ Типовая толщина │ 3 │ C │ Среднее │
│ │стенки трубы │ │ │ Минимальное │
│ 134 │ Длина трубы │ 13 │ N │ м (фут) │
│ 135 │ Шаг труб │ 13 │ N │ мм (дюйм) │
│ 136 │ Схема труб │ 10 │ C │ Треугольная, квадратная; │
│ │ │ │ │"OTHER" (другое) │
│ 137 │ Тип ребра │ 10 │ C │ Заглубленное; │
│ │ │ │ │экструдированное; │
│ │ │ │ │с перекрытием; на лапках; нет; │
│ │ │ │ │"OTHER" (другое) │
│ │ │ │ │ -1 │
│ 138 │ Количество ребер │ 13 │ N │ м (на дюйм) │
│ 139 │ Материал трубы │ 20 │ C │ │
│ 140 │ Соединение трубы │ 24 │ C │ Развальцованное; │
│ │с трубной доской │ │ │целиком развальцованное; │
│ │ │ │ │заваренное для герметизации │
│ │ │ │ │и развальцованное; прочное │
│ │ │ │ │сварное; прочное сварное │
│ │ │ │ │и вальцованное; │
│ │ │ │ │"OTHER" (другое) │
│ 141 │ Материал ребер │ 30 │ C │ │
│ 142 │ Толщина материала │ 13 │ N │ мм (дюйм) │
│ │ребер │ │ │ │
│ 143 │ Наружный диаметр │ 13 │ N │ мм (дюйм) │
│ │ребер │ │ │ │
│ 144 │ Температура для │ 13 │ N │ °C (°F) │
│ │выбора ребер │ │ │ │
│ 145 │ Тип коллектора │ 40 │ C │ │
│ 146 │ Материал коллектора│ 20 │ C │ │
│ 147 │ Материал пробок │ 20 │ C │ │
│ 148 │ Материал прокладок │ 20 │ C │ │
│ 149 │ Уклон пучка │ 13 │ N │ мм/м (дюйм/фут) │
│ 150 │ Балки трубного │ 15 │ C │ м (фут) │
│ │стеллажа, расстояние│ │ │ │
│ │от центра до центра │ │ │ │
│ 151 │ Монтаж конструкции │ 8 │ C │ Настил; трубный стеллаж; │
│ │ │ │ │"OTHER" (другое) │
│ 152 │ Лестницы, мостики, │ 3 │ C │ Да; нет │
│ │площадки │ │ │ │
│ 153 │ Подготовка │ 40 │ C │ │
│ │поверхностей │ │ │ │
│ │конструкций │ │ │ │
│ 154 │ Подготовка │ 40 │ C │ │
│ │поверхности │ │ │ │
│ │коллектора │ │ │ │
│ 155 │ Изготовитель и │ 50 │ C │ │
│ │модель вентилятора │ │ │ │
│ 156 │ Количество │ 5 │ I │ │
│ │вентиляторов/секция │ │ │ │
│ 157 │ Скорость вращения │ 13 │ N │ об/мин (об/мин) │
│ │вентилятора │ │ │ │
│ 158 │ Диаметр вентилятора│ 13 │ N │ м (фут) │
│ 159 │ Количество лопаток │ 5 │ I │ │
│ 160 │ Регулирование шага │ 6 │ C │ Ручное; автоматическое; │
│ │ │ │ │постоянным шагом; │
│ │ │ │ │"OTHER" (другое) │
│ 161 │ Процент │ 13 │ N │ % │
│ │автоматического │ │ │ │
│ │регулирования шага │ │ │ │
│ 162 │ Угол лопаток │ 13 │ N │ │
│ 163 │ Материал лопаток │ 20 │ C │ │
│ 164 │ Материал втулки │ 20 │ C │ │
│ 165 │ Мощность/вентилятор│ 13 │ N │ кВт (эфф. л.с.) │
│ │при расчетной │ │ │ │
│ │температуре │ │ │ │
│ 166 │ Мощность/вентилятор│ 13 │ N │ кВт (эфф. л.с.) │
│ │при минимальной │ │ │ │
│ │окружающей │ │ │ │
│ │температуре │ │ │ │
│ 167 │ Максимальная │ 13 │ N │ м/с (фут/мин) │
│ │допустимая скорость │ │ │ │
│ │конца лопатки │ │ │ │
│ 168 │ Расчетная скорость │ 13 │ N │ м/с (фут/мин) │
│ │конца лопатки │ │ │ │
│ 169 │ Допустимый уровень │ 100 │ C │ │
│ │шума вентилятора │ │ │ │
│ 170 │ Расчетный уровень │ 100 │ C │ │
│ │шума вентилятора │ │ │ │
│ 171 │ Тип привода │ 15 │ C │ Электродвигатель; │
│ │ │ │ │гидравлический двигатель; │
│ │ │ │ │паровая турбина; │
│ │ │ │ │ "OTHER" (другое) │
│ 172 │ Изготовитель и │ 40 │ C │ │
│ │модель привода │ │ │ │
│ 173 │ Количество │ 5 │ I │ │
│ │приводов/секция │ │ │ │
│ 174 │ Мощность привода │ 13 │ N │ кВт (эфф. л.с.) │
│ 175 │ Скорость вращения │ 13 │ N │ об/мин (об/мин) │
│ │привода │ │ │ │
│ 176 │ Эксплуатационный │ 13 │ N │ │
│ │коэффициент │ │ │ │
│ 177 │ Кожух │ 30 │ C │ │
│ 178 │ Напряжение │ 3 │ I │ В (вольт) │
│ 179 │ Число фаз │ 1 │ I │ │
│ 180 │ Частота │ 2 │ I │ Гц │
│ 181 │ Тип понижающей │ 16 │ C │ Клиновидный ремень; зубчатый │
│ │передачи │ │ │ремень; ортогональная зубчатая │
│ │ │ │ │передача; прямая передача; │
│ │ │ │ │ "OTHER" (другое) │
│ 182 │ Изготовитель │ 30 │ C │ │
│ │и модель │ │ │ │
│ 183 │ Понижающая │ 5 │ I │ │
│ │передача, │ │ │ │
│ │кол-во/секция │ │ │ │
│ 184 │ Эксплуатационный │ 13 │ N │ │
│ │коэффициент │ │ │ │
│ 185 │ Передаточное число │ 10 │ C │ │
│ 186 │ Опора понижающей │ 9 │ C │ Конструкция; стойка; другое │
│ │передачи │ │ │ │
│ 187 │ Выключатель │ 3 │ C │ Да; нет │
│ │при вибрации │ │ │ │
│ 188 │ Кожух выключателя │ 30 │ C │ │
│ │при вибрации │ │ │ │
│ 189 │ Материал жалюзи │ 20 │ C │ │
│ 190 │ Управление │ 6 │ C │ Ручное; автоматическое │
│ │действием жалюзи │ │ │ │
│ 191 │ Тип действия жалюзи│ 8 │ C │ Противоположный, параллельный │
│ 192 │ Нагревательный │ 5 │ I │ │
│ │змеевик, количество │ │ │ │
│ │труб │ │ │ │
│ 193 │ Наружный диаметр │ 13 │ N │ мм (дюйм) │
│ │труб │ │ │ │
│ 194 │ Материал труб │ 20 │ C │ │
│ 195 │ Материал и тип │ 30 │ C │ │
│ │оребрения │ │ │ │
│ 196 │ Толщина ребра │ 13 │ N │ мм (дюйм) │
│ 197 │ Нагревательный │ 3 │ C │ Да; нет │
│ │змеевик, клеймо │ │ │ │
│ │применения норм │ │ │ │
│ 198 │ Нагревающая среда │ 20 │ C │ │
│ 199 │ Расход нагревающей │ 13 │ N │ кг/с (фунт/ч) │
│ │среды │ │ │ │
│ 200 │ Температура │ 13 │ N │ °C (°F) │
│ │нагревающей среды │ │ │ │
│ │на входе │ │ │ │
│ 201 │ Температура │ 13 │ N │ °C (°F) │
│ │нагревающей среды │ │ │ │
│ │на выходе │ │ │ │
│ 202 │ Давление на входе │ 13 │ N │ кПа (избыт.) [фунтов │
│ │ │ │ │на квадратный дюйм (избыт.)] │
│ 203 │ Допустимый перепад │ 13 │ N │ кПа (фунтов на │
│ │давлений │ │ │квадратный дюйм) │
│ 204 │ Расчетный перепад │ 13 │ N │ кПа (фунтов на │
│ │давлений │ │ │квадратный дюйм) │
│ 205 │ Расчетная │ 13 │ N │ °C (°F) │
│ │температура │ │ │ │
│ │нагревательного │ │ │ │
│ │змеевика │ │ │ │
│ 206 │ Расчетное давление │ 13 │ N │ кПа (избыт.) [фунтов │
│ │нагревательного │ │ │на квадратный дюйм (избыт.)] │
│ │змеевика │ │ │ │
│ 207 │ Размер входного │ 13 │ N │ мм (дюйм) │
│ │патрубка │ │ │ │
│ 208 │ Размер выходного │ 13 │ N │ мм (дюйм) │
│ │патрубка │ │ │ │
│ 209 │ Рециркуляция │ 18 │ C │ Нет; внутри; │
│ │воздуха │ │ │снаружи над стороной; │
│ │ │ │ │снаружи над торцом; другие │
│ 210 │ Степень │ 13 │ N │ °C (°F) │
│ │регулирования │ │ │ │
│ │температуры на │ │ │ │
│ │выходе процесса (+) │ │ │ │
│ 211 │ Степень │ 13 │ N │ °C (°F) │
│ │регулирования │ │ │ │
│ │температуры на │ │ │ │
│ │выходе процесса (-) │ │ │ │
│ 212 │ Действие шага │ 7 │ C │ Минимум; максимум; блокировка │
│ │вентилятора на отказ│ │ │ │
│ │сигнала управления │ │ │ │
│ 213 │ Действие жалюзи │ 6 │ C │ Открытие; закрытие; блокировка│
│ │на отказ сигнала │ │ │ │
│ │управления │ │ │ │
│ 214 │ Подача воздуха │ 20 │ C │ │
│ │на исполнительный │ │ │ │
│ │механизм │ │ │ │
│ 215 │ Исполнительный │ 10 │ C │ Нет; позиционирование; реле │
│ │механизм вентилятора│ │ │торможения │
│ 216 │ Расположение жалюзи│ 6 │ C │ Вход; выход; обвод │
│ 217 │ Устройство │ 3 │ C │ Да; нет │
│ │позиционирования │ │ │ │
│ │жалюзи │ │ │ │
│ 218 │ Жалюзи: сигнальное │ 13 │ N │ кПа (избыт.) [фунтов │
│ │пневматическое │ │ │на квадратный дюйм (избыт.)] │
│ │давление от: │ │ │ │
│ 219 │ Жалюзи: сигнальное │ 13 │ N │ кПа (избыт.) [фунтов │
│ │пневматическое │ │ │на квадратный дюйм (избыт.)] │
│ │давление до: │ │ │ │
│ 220 │ Вентиляторы │ 13 │ N │ кПа (избыт.) [фунтов │
│ │с регулируемой │ │ │на квадратный дюйм (избыт.)] │
│ │скоростью: │ │ │ │
│ │сигнальное │ │ │ │
│ │пневматическое │ │ │ │
│ │давление от: │ │ │ │
│ 221 │ Вентиляторы │ 13 │ N │ кПа (избыт.) [фунтов │
│ │с регулируемой │ │ │на квадратный дюйм (избыт.)] │
│ │скоростью: │ │ │ │
│ │сигнальное │ │ │ │
│ │пневматическое │ │ │ │
│ │давление до: │ │ │ │
│ 222 │ Жалюзи: давление │ 13 │ N │ кПа (избыт.) [фунтов │
│ │приточного воздуха, │ │ │на квадратный дюйм (избыт.)] │
│ │максимальное │ │ │ │
│ 223 │ Жалюзи: давление │ 13 │ N │ кПа (избыт.) [фунтов │
│ │приточного воздуха, │ │ │на квадратный дюйм (избыт.)] │
│ │минимальное │ │ │ │
│ 224 │ Вентиляторы │ 13 │ N │ кПа (избыт.) [фунтов │
│ │с регулируемой │ │ │на квадратный дюйм (избыт.)] │
│ │скоростью: давление │ │ │ │
│ │приточного воздуха, │ │ │ │
│ │максимальное │ │ │ │
│ 225 │ Вентиляторы │ 13 │ N │ кПа (избыт.) [фунтов │
│ │с регулируемой │ │ │на квадратный дюйм (избыт.)] │
│ │скоростью: давление │ │ │ │
│ │приточного воздуха, │ │ │ │
│ │минимальное │ │ │ │
│ 226 │ Клеймо норм │ 3 │ C │ Да; нет │
│ │на трубном пучке │ │ │ │
│ 227 │ Площадь занимаемого│ 20 │ C │ м (фут) │
│ │участка │ │ │ │
│ │(ширина x длина) │ │ │ │
│ 228 │ Масса одной секции │ 13 │ N │ кг (фунт) │
│ 229 │ Масса одной секции,│ 13 │ N │ кг (фунт) │
│ │заполненной водой │ │ │ │
│ 230 │ Масса трубного │ 13 │ N │ кг (фунт) │
│ │пучка │ │ │ │
│ 231 │ Общая масса │ 13 │ N │ кг (фунт) │
│ 232 │ Масса при отгрузке │ 13 │ N │ кг (фунт) │
│ 233 │ Примечания │ 100 │ C │ │
│ 234 │ " │ 100 │ C │ │
│ 235 │ " │ 100 │ C │ │
│ 236 │ " │ 100 │ C │ │
│ 237 │ " │ 100 │ C │ │
│ 238 │ " │ 100 │ C │ │
│ 239 │ " │ 100 │ C │ │
│ 240 │ Технические │ 100 │ C │ │
│ │требования заказчика│ │ │ │
│ 241 │ Нормы │ 50 │ C │ │
│ │проектирования │ │ │ │
│ │сосудов, работающих │ │ │ │
│ │под давлением │ │ │ │
│ 242 │ Конструкционные │ 50 │ C │ │
│ │нормы и правила │ │ │ │
│ 243 │ Воспламеняющаяся │ 3 │ C │ Да; нет │
│ │среда │ │ │ │
│ 244 │ Смертельно │ 3 │ C │ Да; нет │
│ │опасная/токсичная │ │ │ │
│ │среда │ │ │ │
└──────┴────────────────────┴──────┴──────┴───────────────────────────────┘
B.2.2.3. В
таблице B.1 указана максимальная длина для каждого поля данных. Данные, превышающие указанную максимальную длину, не могут быть правильно обработаны программой получателя.
B.2.2.4. Каждое поле данных в настоящей спецификации характеризует, как числовое поле, поле целого числа, поле даты или знаков, чтобы облегчать обработку данных программой получателя. Типы полей приведены в
таблице B.1, графа 4:
a) C - поле знаков. Его содержимым являются знаки ASCII
[10] от 0 до 127.
b) D - поле даты. Даты представляются в форме YYYYMMDD (YYYY обозначает год, MM - месяц, а DD - день. Например, 1 апреля 1996 г. обозначается как 19960401).
c) I - поле целых чисел.
d) N - числовое поле. Его содержимым являются числовые значения, выраженные целым числом, плавающей десятичной запятой или в экспоненциальной форме.
Данные, не подходящие под указанные типы, не могут быть правильно обработаны программой получателя.
B.2.2.5. Единицами измерения для числовых данных являются единицы системы СИ (единицы, принятые в США, даны в скобках), которые приведены в графе 5
таблицы B.1. Нейтральный файл должен соответствовать одной из этих двух систем мер.
Данные под номером 3, "Система единиц", определяют систему мер, используемую в нейтральном файле.
B.2.2.6. Данные о типе знаков, которые имеют хорошо определенные опции, должны соответствовать общей номенклатуре, чтобы их легко могла обработать программа получателя. В графе 5
таблицы B.1 приведена номенклатура этих полей данных. Каждая опция в этой графе отделена знаком точки с запятой (";"). Например, приварной фланец с выступающей уплотнительной поверхностью в листке технических характеристик можно обозначать множеством различных способов. Чтобы облегчить правильную интерпретацию программой получателя, отправитель может использовать в нейтральном файле обмена данными терминологию "RFWN" - по первым буквам английского названия приварного фланца с выступающей уплотнительной поверхностью с буртиком (
номер поля справочных данных 94). Если данные отправителя не соответствуют ни одной из указанных опций, содержание поля нужно установить на "OTHER" (другое) и вывести описание в одно из полей для примечаний.
B.2.2.7. Каждый номер изделия или листок технических характеристик имеет свой собственный нейтральный файл для обмена данными.
B.2.2.8. Использование стандартных условных обозначений для имен файлов минимизирует возможность дублирования имен файлов и облегчает идентификацию содержания файлов. Правила условных обозначений имен для нейтральных файлов обмена данными должны быть согласованы сторонами, которые обмениваются данными. Однако рекомендуются нижеприведенные правила условных обозначений, поскольку они поддерживаются многими операционными системами. Правила условных обозначений основаны на правилах DOS, которые допускают имена длиной до восьми знаков с трехзначным расширением:
a) от 1 до 6 знаков для номера изделия. Если номер длиннее, используют последние 6 знаков, исключая дефисы, запятые и др.;
b) +1 знак для номера изменения;
c) +1 знак для порядкового номера, например идентификатора альтернативного проекта. Если такого порядкового номера нет, ставят 0 (ноль);
d) +".";
e) +3-значное мнемоническое расширение, обозначающее имя отправителя.
Например, если производственная компания ABC посылает нейтральный файл обмена данными компании X и он содержит данные по изделию 20-E-43089, изменение листка технических характеристик B, то имя файла будет E43089B0.ABC. Если компания ABC посылает также номер альтернативного проекта 1 для того же номера изделия и изменения, то номер файла для него будет E43089B1.ABC.
B.2.3. Изменения формата нейтрального файла для обмена данными
В настоящей спецификации определена версия 1.0 формата нейтрального файла для обмена данными. В
поле данных номер 2 "Номер версии формата файла" в настоящее время указывается V1.0. Каждое изменение настоящей спецификации будет иметь собственный уникальный номер версии формата файла. Ответственность за поддержание совместимости с последней версией формата несут стороны, обменивающиеся данными.
(рекомендуемое)
ПОДГОТОВКА АППАРАТОВ С ВОЗДУШНЫМ ОХЛАЖДЕНИЕМ
К ЭКСПЛУАТАЦИИ В ЗИМНИЙ ПЕРИОД
C.1. Общие положения
C.1.1. Область применения
В настоящем приложении представлены конструктивные особенности и другие факторы, которые вносят свой вклад в удовлетворительное функционирование аппаратов с воздушным охлаждением, эксплуатируемых при низкой температуре входного воздуха. Данные, относящиеся к конструкционным материалам и мерам безопасности, связанным с накоплением снега и льда, сюда не включены.
C.1.2. Термины и определения
Используемые для информации в настоящем приложении термины приведены в пунктах C.1.2.1 -
C.1.2.10.
C.1.2.1. Подготовка к эксплуатации в зимний период: обеспечение конструктивных особенностей, процедур или систем для аппаратов с воздушным охлаждением, направленных на устранение нарушений, связанных с технологической средой и появляющихся в результате низкой температуры входного воздуха. Проблемы, связанные с низкой температурой входного воздуха, включают замерзание среды, охлаждение ее до точки застывания, образование парафина, образование гидратов, ламинарный поток, а также конденсацию в точке росы (что может инициировать коррозию).
C.1.2.2. Входной воздух: атмосферный или окружающий воздух, который поступает в теплообменник с воздушным охлаждением.
C.1.2.3. Выходной воздух: воздух, выходящий из теплообменника с воздушным охлаждением в атмосферу.
C.1.2.4. Рециркуляционный воздух: воздух, который прошел через трубный пучок и направляется для смешивания с входным воздухом для его подогрева.
C.1.2.5. Внешняя рециркуляция: процесс, в котором используют внешний воздуховод, проводящий рециркуляционный воздух для смешивания с входным воздухом и его подогрева.
C.1.2.6. Внутренняя рециркуляция: процесс, в котором используются вентиляторы (возможно, с жалюзи) для рециркуляции воздуха от одной части технологического трубного пучка к другой части.
C.1.2.7. Минимальная расчетная температура воздуха: указанная температура входного воздуха, на основе которой будет производиться приспособление к эксплуатации в зимний период.
C.1.2.8. Критические температуры технологического процесса: температуры, связанные с важными физическими свойствами потока технологической жидкости, такие как температура замерзания, температура застывания, температура помутнения, температура образования гидратов и точка росы.
C.1.2.9. Указанная минимальная температура стенки трубы: критическая температура технологического процесса плюс запас надежности.
C.1.2.10. Защитный экран: вертикальный барьер, расположенный выше или ниже аппарата с воздушным охлаждением и минимизирующий эффект воздействия ветра.
C.2. Проблемные области подготовки к эксплуатации в зимний период
C.2.1. Общие положения
Цели этого пункта следующие:
a) определить причины необходимости приспособления теплообменников с воздушным охлаждением к эксплуатации в зимний период;
b) наметить общие требования к проектным данным по приспособлению к эксплуатации в зимний период и рекомендации по обеспечению таких данных;
c) проанализировать тепловые потери и общие проблемные области;
d) установить категории технологических процессов, которые могут потребовать приспособления к эксплуатации в зимний период, а также установить запасы надежности для каждой категории.
C.2.2. Причины подготовки к эксплуатации в зимний период
Подготовка оборудования к эксплуатации в зимний период направлена на то, чтобы поддерживать температуру стенок труб на заданном минимальном уровне или выше для предотвращения нарушений в ходе эксплуатации. Заданная минимальная температура стенок труб - это точка, в которой температура стенок труб приближается к критической температуре технологической среды. Критические температуры технологического процесса включают температуру замерзания, застывания, парафинизации, образования гидратов, точку росы (если конденсация вызывает коррозию), а также любую другую температуру, при которой возникают эксплуатационные трудности.
C.2.3. Общие требования к исходным данным для проектирования
Проектировщику должны быть предоставлены и определены следующие данные:
a) заданная минимальная температура стенки трубы, которая должна включать запас надежности (см.
C.2.7);
b) минимальная расчетная температура воздуха;
c) все альтернативные параметры процесса, в том числе работа со сниженным расходом (при неполной нагрузке);
d) расчетная скорость ветра и преобладающее направление ветра;
e) наличие пара или другого источника тепла для пуска в холодную погоду. (Если имеется пар, необходимо указать давление пара).
C.2.4. Тепловые потери
При определении требований к нагревательному змеевику следует учитывать влияние тепловых потерь (вследствие теплопроводности и конвекции, утечки через жалюзи и естественной тяги) на температуру стенок труб во время пуска, останова и в резервном режиме.
C.2.5. Общие проблемные области
Выходная температура среды для любого ряда любого хода может быть не равна средней выходной температуре среды для данного хода. Во избежание возникновения проблем во время эксплуатации при определении минимальной температуры стенок трубы выходную температуру для каждого ряда следует рассчитывать отдельно.
Для ответственных применений может быть желательным постоянно контролировать температуру стенок труб в самой холодной зоне. Для этого можно в критических точках установить термопары.
Неправильное распределение технологической среды или воздушного потока также может вызывать проблемы, которые следует учитывать при проектировании оборудования.
C.2.6.1. Общие положения
Большинство проблем, связанных с приспособлением к эксплуатации в зимний период, относится к одной из следующих категорий:
a) категория 1 - вода и разбавленные водой растворы;
b) категория 2 - проблемы с конденсаторами пара полной конденсации;
c) категория 3 - проблемы с конденсаторами пара частичной конденсации;
d) категория 4 - проблемы с конденсацией технологических сред, которые содержат водяной пар с неконденсирующимися компонентами или без них;
e) категория 5 - проблемы с вязкими средами и средами с высокими температурами застывания;
f) категория 6 - проблемы, возникающие вследствие замерзания, образования гидратов, а также коррозии, вызываемой конденсатом.
Эти категории и связанные с ними типичные случаи, возникающие при эксплуатации, описываются в пунктах C.2.6.2 -
C.2.6.7.
C.2.6.2. Категория 1 - вода и разбавленные водой растворы
Вода и разбавленные водой растворы в трубах имеют высокие коэффициенты теплопередачи, что приводит к сравнительно высоким температурам металла стенок труб. Когда присутствуют эти жидкости, можно использовать простые системы приспособления к эксплуатации в зимний период, такие как системы регулирования воздушного потока. Пуск и останов при экстремально низких температурах могут потребовать дополнительных мер.
C.2.6.3. Категория 2 - конденсаторы пара полной конденсации
В одноходовых конденсаторах пара полной конденсации может возникать обратный поток пара от выходного конца верхних (более горячих) рядов труб в выходной конец нижних (более холодных) рядов труб. Это обычно приводит к тому, что неконденсируемые загрязняющие вещества собираются возле выходного конца более холодных труб. Присутствие неконденсируемых веществ приводит к ухудшению эффективности, а также к переохлаждению и возможному замерзанию конденсата в более холодных трубах. Может также происходить коррозия.
В некоторых установках конкретный набор условий вызывает образование свищей стенок труб. Коррозия происходит возле выходного конца нижних (более холодных) рядов труб. В таких случаях всегда присутствует повторяющийся стук или щелкающий шум, так называемые гидравлические удары. Неполадки, которые происходят во многих местах, имеют следующие общие характеристики установок:
a) один ход с четырьмя или более рядами труб наружным диаметром 25,4 мм (1 дюйм) и длиной от 11 до 16 м (36 - 52 фута);
b) давление пара на входе от 0 до 170 кПа (избыточное) (0 - 25 фунтов на квадратный дюйм).
Коррозия происходит очень быстро, в течение первых суток эксплуатации, в трубах с толщиной стенок 0,89 мм (0,035") и медленно, примерно через три месяца, в трубах с толщиной стенок 2,11 мм (0,083"). Скорость корродирования, как представляется, связана с силой гидравлического удара.
Меры для предотвращения такого типа неисправностей направлены на снижение или исключение обратного потока пара в более холодные трубы. Например, в четырехрядном одноходовом конденсаторе достаточным представляется ограничение длины труб величиной, в 360 раз превышающей диаметр [например, длина 9 м (30 футов) для труб наружным диаметром 25,4 мм (1")]. Альтернативный метод заключается в разделении заднего коллектора на четыре несообщающихся отсека, причем каждый отсек должен иметь свой дренаж. Еще одним методом является использование дроссельных шайб на входах в трубы; однако эта мера может быть эффективной не при всех значениях расхода.
C.2.6.4. Категория 3 - конденсаторы пара частичной конденсации
В технологических потоках категории 3 количество выходного пара достаточно велико, чтобы не вызывать обратного потока, и пар непрерывно выходит из выходных концов всех рядов труб. Количество выходного пара обычно составляет от 10% до 30% массовых от полного входного расхода. Выходные количества ниже 10% массовых характерны для конденсаторов категории 2. Точное количество выходного пара устанавливают путем расчетов с учетом режима работы при минимальной окружающей температуре. Если расчеты показывают, что обратного потока не будет, то можно использовать простые системы приспособления к эксплуатации в зимний период, такие как регулирование воздушного потока. Если расчеты показывают, что обратный поток будет возникать, необходимы системы защиты от систем умеренной стоимости до дорогих.
C.2.6.5. Категория 4 - конденсация технологических сред, содержащих пар с неконденсирующимися компонентами или без них
Категория 4 является продолжением категории 3. В категории 4 особое внимание обращено на влияние других конденсируемых веществ на температуру стенок труб. Для точной оценки температур стенок труб и технологической среды существенно важно прогнозирование режима потока на трубной стороне. Рассмотрим, например, поток, содержащий пар, конденсирующиеся углеводороды и неконденсирующиеся компоненты. На входе конденсатора может существовать кольцевой поток, т.е. на холодной стенке трубы формируется кольцо углеводородов, которое окружает текущий по центру газ. На выходе конденсатора может образовываться слоистый поток, где вода и жидкие углеводороды вытекают из нижней части трубы, а пар конденсируется на ее верхней части. При таких условиях обычно рекомендуются простые системы приспособления к эксплуатации в зимний период.
C.2.6.6. Категория 5 - вязкие среды и среды с высокой температурой застывания
Когда вязкая жидкость течет через несколько параллельных ходов, локальные неравномерности охлаждения могут вызывать резкое снижение скорости в некоторых из ходов, по которым идет поток. Это явление называется нестационарный поток. Нестационарный поток возникает, когда при определенных условиях объемной вязкости у стенок и перепад давления, увеличение перепада давления, вызванное более высокой вязкостью (вследствие дополнительного охлаждения, которое становится возможным при более низкой скорости), компенсируют уменьшение перепада давления, вызываемое понижением скорости. Это может происходить только при ламинарном потоке среды.
При возникновении нестационарного потока скорости в параллельных трубах одного хода могут отличаться друг от друга в соотношении до 5:1. В результате общий перепад давления на трубной стороне теплообменника может повышаться до 100%, а теплоотвод может уменьшиться до менее чем 50% того, который был бы возможен при равномерном распределении среды между трубными ходами. Это неправильное распределение потока является основным фактором во многих случаях ухудшения рабочих характеристик охладителей вязких сред и сред с высокой температурой застывания.
В настоящее время существуют лишь общие рекомендации, как избежать такого неправильного распределения. Эти рекомендации следующие:
a) объемная вязкость технологической среды при температуре, имеющей место на выходе, не должна превышать 50 мПа x с (50 сП);
b) отношение вязкости у стенок к объемной вязкости не должно превышать 3:1.
Особое внимание как при проектировании, так и при изготовлении оборудования для такого типа сред следует обратить на следующие дополнительные факторы:
a) распределения потока и температур на воздушной стороне должны быть как можно более равномерными. Внешняя рециркуляция только по одной стороне может вызывать неравномерность воздушного потока и температуры воздуха, подаваемого на трубные пучки;
b) необходимо минимизировать количество воздуха, идущего в обход пучка между боковыми рамами и трубами, придерживаясь максимального зазора 10 мм (3/8"), как указано в
7.1.1.8;
c) допустимый перепад давлений технологической среды должен быть высоким. Обычными являются перепады давлений 275 кПа (40 фунтов на квадратный дюйм) или выше;
d) поток на трубной стороне должен быть равномерно распределен в коллекторах. Это может потребовать дополнительных патрубков и/или внешней изоляции патрубков.
Могут быть случаи, когда можно добиться успешной работы, не соблюдая этих рекомендаций. Однако если такой успешный опыт отсутствует, то игнорировать их рискованно. Альтернативные конструкции, которые можно рассмотреть, включают непрямые системы и воздухоохлаждаемые теплообменники с серпантинными змеевиками.
C.2.6.7. Категория 6 - температура замерзания, температура образования гидратов и точка росы
Технологические потоки категории 6 характеризуются дискретной критической температурой процесса. Для таких потоков расчет температур стенок и технологической среды обычно ведется прямыми методами. В зависимости от проектных условий рекомендуемые системы приспособления к эксплуатации в зимний период включают все методы, описанные в
C.3.
В технологических потоках (см.
C.2.6.2 -
C.2.6.7) существует столько переменных, что трудно устанавливать твердое значение запаса надежности (температура стенки трубы минус критическая температура процесса).
При отсутствии более конкретной информации для определения требующейся минимальной температуры стенок труб к критической температуре процесса следует прибавлять значения запаса надежности.
Таблица C.1
Запасы надежности для различных категорий процессов
┌──────────────────────────────┬─────────────────────────────────┐
│ Категория │ Запас надежности, °C (°F) │
├──────────────────────────────┼─────────────────────────────────┤
├──────────────────────────────┼─────────────────────────────────┤
├──────────────────────────────┼─────────────────────────────────┤
├──────────────────────────────┼─────────────────────────────────┤
├──────────────────────────────┼─────────────────────────────────┤
├──────────────────────────────┼─────────────────────────────────┤
├──────────────────────────────┴─────────────────────────────────┤
│ Примечание. Описание категорий см. в
C.2.6. │
└────────────────────────────────────────────────────────────────┘
C.3. Методы подготовки к эксплуатации в зимний период
C.3.1. Системы регулирования воздушного потока и температуры воздуха
C.3.1.1. Система A - регулирование воздушного потока
В системе A для регулирования воздушного потока обычно используются автоматически управляемые вентиляторы с регулируемым шагом, как показано на
рисунке C.1, и/или жалюзи с автоматическим или ручным управлением, как показано на
рисунке C.2.
1 - вход технологической среды; 2 - выход технологической
среды; 3 - контроллер с индикацией температуры
Примечание. Воздухоохлаждаемый теплообменник может быть с нагнетательной или отсасывающей тягой.
Рисунок C.1. Система A - регулирование воздушного потока
с помощью автоматически управляемых вентиляторов
с регулируемым шагом
1 - вход технологической среды; 2 - выход технологической
среды; 3 - контроллер с индикацией температуры
Примечание. Воздухоохлаждаемый теплообменник может быть с нагнетательной или отсасывающей тягой.
Рисунок C.2. Система A - регулирование воздушного потока
с помощью автоматически управляемых выходных жалюзи
и вентиляторов с постоянным шагом
Автоматически управляемые вентиляторы с регулируемым шагом имеют следующие преимущества по сравнению с жалюзи:
a) лучшее регулирование потока воздуха, обеспечивающее более чувствительное регулирование температур технологического процесса с поддержанием их на уровне или вблизи расчетных температур;
b) более низкие требования к мощности при пониженных температурах окружающего воздуха.
Автоматически управляемые вентиляторы с регулируемым шагом имеют следующие недостатки:
a) менее точное регулирование воздушного потока, если требуемый расход воздуха составляет менее 30% полного расхода воздуха;
b) повышенная чувствительность к воздействию ветра при низких расходах воздуха.
Жалюзи имеют следующие преимущества по сравнению с автоматически управляемыми вентиляторами с регулируемым шагом:
| | ИС МЕГАНОРМ: примечание. Обозначения пунктов даны в соответствии с официальным текстом документа. | |
f) более точное регулирование воздушного потока, если требуемый расход воздуха составляет менее 30% полного расхода воздуха;
b) меньшая чувствительность к воздействию ветра;
c) возможность полного закрытия для утепления аппарата при пуске и останове.
Жалюзи имеют следующие недостатки:
a) менее точное регулирование воздушного потока, если требуемый расход воздуха составляет более 30% полного расхода воздуха;
b) потенциальная возможность отказов рычажных передач вследствие накопления снега, льда, коррозии или износа.
Помимо систем, показанных на
рисунках C.1 и
C.2, воздушный поток можно регулировать с помощью приводов с регулируемой скоростью. Регулирование воздушного потока производят, главным образом, для регулирования температур процесса, что дает наименьшую защиту от зимних условий.
C.3.1.2. Система B - регулирование воздушного потока с регулированием температуры воздуха и использованием открытой системы внутренней рециркуляции
В системе B автоматически управляемый вентилятор с регулируемым шагом, расположенный возле выхода технологической среды, изменяет направление воздушного потока на обратное при низкой температуре входящего воздуха. Воздух, нагревшийся от потока, идущего через трубы, поступает в зону под трубным пучком, которая несколько защищена от воздействия ветра выступающими вниз ветровыми юбками. Часть нагретого воздуха затем смешивается с входящим воздухом, как показано на
рисунках C.3 и
C.4. В этой системе имеется возможность неравномерного смешивания воздуха под трубным пучком, и она не обеспечивает надежно действующего метода регулирования температуры смешанного воздуха на входе. Кроме того, ветер может оказывать неблагоприятное влияние на циркуляцию горячего воздуха. Следует весьма тщательно выбирать механическое оборудование, устанавливаемое под вентилятором нисходящего потока, так как температура воздуха в этом случае более высока. Данная система не является рекомендацией для всех случаев, но она успешно использовалась в теплообменниках, требующих умеренной защиты от воздействия зимних условий.

1 - выключатель по температуре окружающего воздуха;
2 - реле верхнего предела; 3 - реверсирующее реле;
4 - реле нижнего предела; 5 - трехходовой электромагнитный
переключатель; 6 - ветровой экран; 7 - контроллер
с индикацией температуры
Примечание. Все вентиляторы с регулируемым шагом могут быть автоматически управляемыми.
Рисунок C.3. Система B - отсасывающая тяга
с открытой внутренней рециркуляцией воздуха
1 - выключатель по температуре окружающего воздуха;
2 - реле верхнего предела; 3 - реверсирующее реле;
4 - реле нижнего предела; 5 - трехходовой электромагнитный
переключатель; 6 - ветровой экран; 7 - контроллер
с индикацией температуры
Примечание. Все вентиляторы с регулируемым шагом могут быть автоматически управляемыми.
Рисунок C.4. Система B - нагнетательная тяга с открытой
внутренней рециркуляцией воздуха
C.3.1.3. Система C - регулирование воздушного потока с регулированием температуры воздуха и использованием закрытой системы внутренней рециркуляции
В системе C автоматически управляемый вентилятор с регулируемым шагом, расположенный возле выхода технологической среды, изменяет направление на обратное при низкой температуре входящего воздуха, направляя воздушный поток вниз, когда выходные жалюзи частично закрыты, как показано на
рисунке C.5. Одновременно вертикальные обводные жалюзи над трубным пучком открыты и перенаправляют часть выходного воздуха по длине трубного пучка. Этот воздух над стороной нижней тяги трубного пучка смешивается с поступающим атмосферным воздухом. Через обводные жалюзи направляется количество воздуха, достаточное лишь для того, чтобы температура смешанного воздуха над вентилятором нисходящего потока была выше заданного уровня. В некоторых случаях могут потребоваться ветровые юбки, расположенные под трубным пучком. Недостаток этой системы заключается в том, что некоторые участки трубного пучка могут подвергаться действию низких температур воздуха в результате неравномерного перемешивания воздуха. Следует весьма тщательно выбирать механическое оборудование, устанавливаемое на вентиляторе нисходящего потока и под ним, так как температура воздуха в этом случае более высокая. Эта система обеспечивает дополнительную степень защиты от зимних условий по сравнению с системами, описанными в
C.3.1.1 и
C.3.1.2.

1 - выключатель по температуре окружающего воздуха;
2 - реле верхнего предела; 3 - реверсирующее реле; 4 - реле
нижнего предела; 5 - трехходовой электромагнитный
переключатель; 6 - чувствительная к температуре капиллярная
трубка; 7 - селектор низкого или высокого давления;
8 - ветровой экран (по желанию заказчика); 9 - контроллер
с индикацией температуры
Рисунок C.5. Система C - типовой аппарат с воздушным
охлаждением с нагнетательной тягой, с закрытой
внутренней рециркуляцией воздуха
C.3.1.4. Система D - регулирование воздушного потока с регулированием температуры воздуха и использованием системы наружной рециркуляции
В системе D горячий выходной воздух рециркулирует по внешнему рециркуляционному воздуховоду и смешивается с входящим воздухом, имеющим низкую температуру. Количество рециркуляционного воздуха и температура смешанного потока регулируются частичным закрытием выходных жалюзи при регулировании входных и обводных жалюзи. Эта система обычно включает пол как ограждающую часть, так что аппарат получается полностью закрытым, что обеспечивает надежное регулирование входящего воздушного потока. Хотя температуру технологической жидкости можно регулировать одним лишь действием жалюзи, допускается использовать также автоматически управляемые вентиляторы с регулируемым шагом для более точного регулирования температуры технологической среды. Автоматически управляемые вентиляторы с регулируемым шагом позволяют также снижать мощность вентиляторов при работе при низких температурах окружающего воздуха.
На
рисунке C.6 показана рециркуляция по обеим сторонам аппарата. Некоторые аппараты могут иметь рециркуляционный воздуховод только на одной стороне. В альтернативном варианте рециркуляционный воздуховод может быть размещен на одном или обоих торцах аппарата, чтобы минимизировать ширину секции или чтобы обеспечивать закрытую нагреваемую зону для коллекторов и мостиков для обслуживания коллекторов. Кроме того, допускается использовать различные комбинации и места расположения входных жалюзи, чтобы обеспечивать максимальное перемешивание горячего и холодного воздушных потоков.
1 - входные жалюзи; 2 - обводные жалюзи;
3 - выходные жалюзи; 4 - чувствительная к температуре
капиллярная трубка; 5 - селекторный переключатель низкого
или высокого давления; 6 - контроллер с индикацией
температуры; 7 - вход технологической среды; 8 - выход
технологической среды; 9 - плита пола или настила
Примечание. От 50% до 100% вентиляторов должны быть автоматически управляемыми с регулируемым шагом.
Рисунок C.6. Система D - типовой аппарат с воздушным
охлаждением с нагнетательной тягой, с наружной
рециркуляцией воздуха
Эта система обеспечивает максимальную защиту от зимних условий по сравнению с системами, описанными в
C.3.1.1 -
C.3.1.3.
C.3.2. Прямоточные системы
В прямоточных системах охлаждение технологической среды начинается с нижнего ряда труб, который находится под действием входящего воздуха, и затем поступает в верхний ряд, который омывается теплым воздухом. Таким образом, самая холодная среда обменивается теплом с самым теплым воздухом, что приводит к более высоким температурам стенок, чем в противоточной системе. Это позволяет делать конструкцию аппарата с воздушным охлаждением простой без системы рециркуляции, если температура стенок труб поддерживается на уровне выше заданного минимума.
Основным недостатком прямоточных систем является то, что требуется дополнительная площадь поверхности, так как уменьшается средний перепад температур между технологической средой и охлаждающим воздухом.
C.3.3. Гладкие трубы или уменьшенная частота ребер
Для вязких жидкостей и других жидкостей, имеющих низкие коэффициенты теплопередачи на трубной стороне, температуру стенок труб можно увеличивать, если уменьшать количество ребер или использовать гладкие трубы. Если таким образом удается удерживать температуру стенок труб на уровне заданного минимума или выше, то дополнительных мер для защиты от зимних условий не требуется.
C.3.4. Изменение поверхности теплопередачи
Отвод тепла от технологической жидкости можно регулировать, выводя трубные пучки из работы, обычно с помощью клапанов, при падении температуры окружающего воздуха. Такая система минимизирует тепловые потери и поддерживает высокую скорость среды в работающих пучках. Более высокая скорость среды в трубе приводит к более высокой температуре стенок трубы.
Эффективность этой системы зависит от того, приводит ли снижение площади активной поверхности к поддержанию температуры стенок труб выше заданного минимума. Следует проверить производительность насоса и убедиться, что она достаточна для появляющегося дополнительного перепада давления.
Возможно, придется прочистить неработающие пучки труб или удалить их содержимое. Ступенчатый характер работы такой системы может ограничивать ее применение.
C.3.5. Серпантинные змеевики
В серпантинной конструкции змеевика используют один или ограниченное число непрерывных путей протока от входа к выходу. Вследствие ограниченного числа путей протока используют трубы большого диаметра [обычно от 50 до 150 мм (от 2" до 6")]. Трубы могут быть оребренными или гладкими в зависимости от экономических соображений и заданной минимальной температуры стенок труб, которую нужно выдерживать.
Эта система обычно требует больших перепадов давления, но такая конструкция часто бывает выгодной для вязких жидкостей, поскольку здесь мала или отсутствует возможность неправильного распределения.
C.3.6. Косвенное охлаждение
В обычной конструкции системы косвенного охлаждения (с замкнутым контуром и промежуточной водой) для охлаждения технологической среды используют рециркуляционную воду в обычном кожухотрубном теплообменнике. Рециркуляционная вода, в свою очередь, охлаждается до регулируемой температуры в теплообменнике с воздушным охлаждением, в котором используется довольно простая форма регулирования воздушного потока (автоматически управляемые вентиляторы с регулируемым шагом или жалюзи), но без специальных мер защиты от зимних условий. Для окружающих температур свыше 0 °C (32 °F) допускается использовать обычный конденсат или очищенную воду. Для окружающих температур ниже или равных 0 °C (32 °F) воду следует смешать с некоторым количеством антифриза, например, этиленгликоля, достаточным для снижения точки замерзания раствора до самой низкой прогнозируемой температуры воздуха.
Эту систему обычно применяют для сред с высокой вязкостью или высокой температурой застывания. Система имеет ряд преимуществ при работе с такими средами:
a) лучше регулируется температура процесса;
b) меньше вероятность неправильного распределения технологической среды;
c) лучше общая работоспособность;
d) низкие эксплуатационные затраты.
Однако необходимо провести экономическое сравнение. Пример такого сравнения дается в
C.10.
При этом подходе тепловой цикл разделяют на два отдельных блока. Промежуточную температуру между блоками выбирают таким образом, чтобы температура стенок труб в верхнем блоке была выше заданной минимальной температуры стенок труб для всего диапазона температур окружающего воздуха. Верхний по потоку блок не требует утепления; меры защиты от зимних условий принимают только для нижнего по потоку блока.
C.3.8. Комбинации
В зависимости от минимальных температур воздуха и заданных температур стенок труб могут оказаться экономически привлекательными различные комбинации методов защиты, описанных в
C.3.1 -
C.3.7. Вот примеры комбинаций защитных методов:
a) комбинация прямоточных и противоточных пучков;
b) прямоточные пучки гладких труб;
c) разделение цикла с различной частотой ребер в следующих трубных пучках, расположенных последовательно.
C.3.9. Контрольно-измерительные приборы и автоматика
C.3.9.1. Общие положения
На
рисунках C.1 -
C.6 показаны типичные схемы оснащения контрольно-измерительными приборами и автоматикой систем, описанных в
C.3.1.1 -
C.3.1.4. Представленные схемы носят лишь рекомендательный характер.
C.3.9.2. Система A
Типичное оснащение контрольно-измерительными приборами и автоматикой для системы A (см.
рисунки C.1 и
C.2) состоит из датчика температуры в потоке среды на выходе и контроллера, который принимает сигнал от датчика и посылает сигналы на одно или более устройств, которые управляют воздушным потоком. Эти устройства могут представлять собой выходные жалюзи с исполнительным механизмом, втулки автоматически управляемых вентиляторов с регулируемым шагом или приводы вентиляторов с регулируемой скоростью.
Наиболее часто используемые схемы включают один или более из следующих компонентов:
a) жалюзи с пневматическими приводными устройствами, включая позиционирующие устройства клапанов;
b) автоматически управляемые вентиляторы с регулируемым шагом, реагирующие на пневматический сигнал;
c) пневматические контроллеры, имеющие по меньшей мере свойства пропорционального регулирования и возврата в исходное положение. Весьма желательна комбинация ручной/автоматической установки задания.
Вместо пневматических контроллеров допускается использовать электронные контроллеры и датчики. Для этого обычно требуется электронно-пневматическое преобразование на втулке вентилятора или приводе жалюзи.
C.3.9.3. Системы
C.3.9.3.1. Отсасывающая тяга
В системах с отсасывающей тягой обычно применяется несколько из компонентов, упомянутых в C.3.9.2 [
перечисления b) и
c)]. Однако при использовании автоматически управляемых вентиляторов с регулируемым шагом обычно бывает необходимо использовать половину диапазона сигнала от контроллера для восходящего потока и половину для нисходящего. Необходимо также производить реверсирование части диапазона сигнала, предназначенной либо для восходящего, либо для нисходящего потока. Простым способом реверсирования сигнала является применение реверсирующего реле в сочетании с реле нижнего предела, как показано на
рисунке C.3. Поскольку система должна работать в двух режимах (восходящего и нисходящего потока), для выбора режима обычно используются датчик температуры окружающего воздуха и селекторный клапан. Для обеспечения работы с разделенным диапазоном необходимо также реле верхнего предела, показанное на
рисунке C.3. Выходной конец последнего хода обычно наиболее уязвим для зимних условий, и его следует располагать под вентилятором нисходящего потока в самом теплом воздухе.
C.3.9.3.2. Нагнетательная тяга
В системе с нагнетательной тягой, показанной на
рисунке C.4, применяются те же компоненты, что и в
C.3.9.3.1.
C.3.9.4. Система C
Типичное оснащение контрольно-измерительными приборами и автоматикой для системы C (
рисунок C.5) состоит из датчика температуры в выходном потоке среды, контроллера, который принимает сигнал от датчика и посылает сигналы на выходные жалюзи, и одного или нескольких автоматически управляемых вентиляторов с регулируемым шагом. Еще один температурный датчик (обычно длинный усредняющий термочувствительный патрон) помещают в воздушный поток над участком трубного пучка, наиболее уязвимого для замерзания или возникновения других проблем. Второй контроллер принимает сигнал от этого датчика и посылает сигнал к перегораживающим жалюзи и выходным жалюзи. Выходные жалюзи, таким образом, получают два сигнала управления и реагируют на тот из них, который требует более закрытого положения. Для определения, какой сигнал дойдет до выходных жалюзи, обычно используют селекторное реле высокого или низкого давления. Не рекомендуется исключать перегораживающие жалюзи или отдельный исполнительный механизм для перегораживающих жалюзи. Устранение перегораживающих жалюзи приводит к возникновению поперечного потока при всех условиях и ухудшает теплопередачу в некоторых рабочих диапазонах, при этом затраты снижаются очень мало.
Элементы управления между контроллером и автоматически управляемым вентилятором с регулируемым шагом те же, что в
C.3.9.3.1, и функционируют таким же образом.
C.3.9.5. Система D
Типичное оснащение контрольно-измерительными приборами и автоматикой для системы D состоит из датчика температуры в потоке среды на выходе и контроллера, который принимает сигнал от датчика и посылает сигналы на автоматически управляемые вентиляторы с регулируемым шагом и, возможно, также на выходные жалюзи. Второй температурный датчик (обычно длинный усредняющий термочувствительный патрон) помещают в воздушный поток под участком трубного пучка, наиболее уязвимого для замерзания или возникновения других проблем. Второй контроллер принимает сигнал от этого датчика и посылает сигнал к выходным жалюзи, обводным жалюзи (если они имеют отдельный исполнительный механизм) и входным жалюзи. Некоторые из входных жалюзи могут управляться вручную.
C.4. Критические температуры технологического процесса
C.4.1. Температуры застывания жидких смесей углеводородов
Аппараты с воздушным охлаждением, которые работают с газойлем или остаточными фракциями, могут потребовать приспособления к зимним условиям. Температуры застывания этих жидких углеводородных смесей колеблются от минус 51 °C до плюс 63 °C (от минус 60 °F до плюс 145 °F).
Температуру застывания фракции, состоящей из жидкого погона углеводородов с известной температурой застывания, нельзя предсказать математически. Единственным реалистичным методом определения точки застывания такой фракции является измерение в соответствии с ASTM D 97
[11].
Точку застывания смеси из двух погонов углеводородов с известными точками застывания можно приблизительно определять путем вычислений. Однако вследствие неточности таких расчетов, если фактическую точку застывания смеси измерять нельзя, то к прогнозируемому значению необходимо добавлять запас надежности, учитывающий последствия замерзания аппарата с воздушным охлаждением.
C.4.2. Точки замерзания углеводородов и других чистых жидких органических соединений
В таблице C.2 приведены точки замерзания часто встречающихся в нефтеперегонке углеводородов и чистых жидких органических соединений. Аппараты с воздушным охлаждением, которые работают с такими жидкостями, могут потребовать приспособления к зимним условиям.
Таблица C.2
Точки замерзания часто встречающихся
чистых жидких компонентов
Соединение | Молекулярный вес | Точка замерзания |
°C | (°F) |
Вода | 18,0 | 0,0 | (32,0) |
Бензол | 78,1 | 5,6 | (42,0) |
Ортоксилол | 106,2 | -25,2 | (-13,3) |
Параксилол | 106,2 | 13,3 | (55,9) |
Циклогексан | 84,1 | 6,6 | (43,8) |
Стирол | 104,1 | -30,6 | (-23,1) |
Фенол | 93,1 | 40,9 | (105,6) |
Моноэтаноламин | 61,1 | 10,3 | (50,5) |
Диэтаноламин | 105,1 | 25,1 | (77,2) |
Глицерин | 92,1 | 18,3 | (65,0) |
Этиленгликоль | 62,1 | -13,0 | (8,6) |
Нафталин | 128,2 | 80,3 | (176,5) |
C.4.3. Водные растворы органических соединений
Водные растворы некоторых органических соединений, приведенных в
таблице C.2, также подвержены замерзанию в аппаратах с воздушным охлаждением. Соотношения концентраций для точек замерзания этих материалов справедливы только для очень разбавленных растворов. На рисунках C.7 -
C.9 даны измеренные значения точек замерзания по всему диапазону концентраций.
Рисунок C.7. Точка замерзания водных растворов фенола
Рисунок C.8. Точка замерзания водных растворов этаноламина
Рисунок C.9. Точка замерзания водных растворов глицерина
C.4.4. Бисульфид аммония
Твердый бисульфид аммония (

) может осаждаться из потоков газов или паров, когда произведение парциальных давлений аммиака (

) и сероводорода (

) превышает константу диссоциации

при интересующей нас температуре и отсутствии жидкой воды.
На
рисунке C.10 представлен график

в зависимости от температуры. Осаждение не является проблемой для потоков, полностью состоящих из углеводородов, поскольку растворимость

в углеводородах пренебрежимо мала.
Рисунок C.10. Константа диссоциации бисульфида
аммония (

)
C.4.5. Газы под высоким давлением
Некоторые газы под высоким давлением, в том числе олефины и парафины

, сероводород и углекислый газ, могут образовывать гидраты при насыщении водой при температурах выше точки замерзания воды. Эти гидраты представляют собой твердые кристаллы, которые могут накапливаться в трубах охлаждаемых воздухом теплообменников и закупоривать их. На
рисунке C.11 представлены условия образования гидратов для этих чистых газов. Полуэмпирические методы прогнозирования образования гидратов в смесях газов описаны в
[12].
Примечания. 1. Кривые на рисунке показывают области давления-температуры, благоприятные для образования гидратов газов (выше и слева от соответствующей кривой).
2. На рисунке показаны условия равновесия; однако поскольку системы гидратов обычно демонстрируют тенденции к метастабильности, метастабильные фазы гидратов могут существовать далеко за пределами области гидратов. Кроме того, образование гидратов не всегда происходит в области, где условия наиболее благоприятны для их образования.
3. На рисунке показаны условия равновесия гидратов с точностью 2% давления.
4. Прерывности линий соответствуют фазовым изменениям в фазах негидратов. Для многокомпонентных систем условия образования гидратов следует определять согласно процедурам, описанным в
[12]. Следует отметить, что небольшие количества примесей могут оказывать весьма существенное влияние на условия образования гидратов.
5. Источники данных по равновесию гидратов для этих графиков перечислены в
[12].
6. Этот график и примечания к нему взяты из
[12].
Рисунок C.11. Равновесия давления-температуры
при образовании гидратов, лист 1
Примечания. 1. Кривые на рисунке показывают области давления-температуры, благоприятные для образования гидратов газов (выше и слева от соответствующей кривой).
2. На рисунке показаны условия равновесия; однако, поскольку системы гидратов обычно демонстрируют тенденции к метастабильности, метастабильные фазы гидратов могут существовать далеко за пределами области гидратов. Кроме того, образование гидратов не всегда происходит в области, где условия наиболее благоприятны для их образования.
3. На рисунке показаны условия равновесия гидратов с точностью в пределах 2% давления.
4. Прерывности линий соответствуют фазовым изменениям в фазах негидратов. Для многокомпонентных систем условия образования гидратов следует определять согласно процедурам, описанным в
[12]. Следует отметить, что небольшие количества примесей могут оказывать весьма существенное влияние на условия образования гидратов.
5. Источники данных по равновесию гидратов для этих графиков перечислены в
[12].
6. Этот график и примечания к нему взяты из
[12].
Рисунок C.11, лист 2
C.5. Расчеты температуры стенок труб
C.5.1. Общие положения
C.5.1.1. Необходимость приспособления воздухоохлаждаемых теплообменников к эксплуатации в зимних условиях зависит от температуры стенок труб, которая, в свою очередь, зависит от температуры входного воздуха и критической температуры технологической среды. Для точного прогнозирования температуры стенок труб следует учитывать тип конструкции, рабочие режимы, а также режим потока среды.
C.5.1.2. В трубных пучках воздухоохлаждаемого противоточного теплообменника с перекрестным потоком наихудшие условия обычно имеют место на выходе нижнего ряда труб. В этом месте воздух, который контактирует с трубой, имеет самую низкую температуру, и среда на трубной стороне также имеет самую низкую из возможных температур. Это обычно самое критическое место, но необходимо учитывать также и другие места. Вентиляторы с осевым потоком не обеспечивают полностью равномерного распределения воздушного потока. Конструктор должен добавить по крайней мере 20% к интенсивности теплопередачи на воздушной стороне, чтобы учесть области с сильным потоком воздуха (см. коэффициент

в C.5.2). Конструктор должен также обеспечить хорошее распределение потока трубной стороны в трубном пучке.
Для расчета температуры стенок труб необходимо определить сопротивления на воздушной стороне и трубной стороне в каждом рассматриваемом месте. Такую информацию можно получить у изготовителя оборудования или из другого источника.
C.5.2. Условные обозначения
A - общая площадь наружной поверхности нижнего слоя труб, м2 (

);

- площадь наружной поверхности гладкой трубы на единицу длины, м2/м (

);

- площадь поверхности ребер на единицу длины трубы, м2/м (

);

- площадь внутренней поверхности трубы на единицу длины, м2/м (

);

- площадь наружной поверхности оребренной трубы на единицу длины, м2/м (

);

- коэффициент теплопередачи воздушной стороны для учета неравномерности распределения воздушного потока (рекомендованное минимальное значение 1,2);
r - локальное общее тепловое сопротивление, м2 x К/Вт (

);

- локальное общее тепловое сопротивление в чистом состоянии, м2 x К/Вт (

);

- сопротивление воздушной стороны в загрязненном состоянии, м2 x К/Вт (

);

- сопротивление трубной стороны в загрязненном состоянии, м2 x К/Вт (

);

- локальное сопротивление воздушной стороны, м2 x К/Вт (

);

- локальное сопротивление трубной стороны, м2 x К/Вт (

);

- общее сопротивление металла трубы, м2 x К/Вт (

);

- сопротивление металла ребер, м2 x К/Вт (

);

- сопротивление металла трубы, основанное на площади внутренней поверхности трубы, м2 x К/Вт (

).
Примечание. Для точного расчета

необходимо, чтобы сопротивление металла трубы было основано на логарифмическом среднем площади поверхности трубы; однако сравнительно незначительная ошибка, возникающая при использовании сопротивления металла трубы, основанного на площади внутренней поверхности трубы, не оправдывает сложности расчетов с использованием логарифмического среднего площади поверхности;

- средняя температура массы среды на трубной стороне в месте, где нужно рассчитать температуру стенки, °C (°F);

- средняя температура массы воздуха в месте, где нужно рассчитать температуру стенки, °C (°F);

- температура стенки трубы, °C (°F);
U - локальный общий коэффициент теплопередачи, относящийся к наружной поверхности, Вт/м2 x К (

);

- эффективность ребра;

- эффективность оребренной поверхности трубы.
C.5.3. Вычисления
C.5.3.1. Когда различные сопротивления определены, можно спрогнозировать температуру стенок, пропорционально распределив сопротивления относительно температуры на выходе или в других важных областях. Это можно сделать с помощью следующих уравнений:
U = 1/r, (C.1)

. (C.2)
C.5.3.2. Ребра не покрывают всю поверхность трубы, и поскольку можно считать, что открытая гладкая поверхность трубы имеет эффективность 1,00, то эффективность оребренной поверхности трубы всегда выше, чем одних только ребер. Таким образом,

. (C.3)
C.5.3.2.1. Расчет эффективности ребер достаточно сложен. Его можно, однако, заменить эквивалентным сопротивлением металла ребер

. Это сопротивление металла достигает постоянного максимального значения для наружного сопротивления выше некоторого значения, определяемого высотой, толщиной и теплопроводностью ребра. Для стандартных алюминиевых ребер 90% этой величины достигается при локальных сопротивлениях воздушной стороны

, которые ниже обычно встречающихся. Сопротивление металла ребра для этих расчетов можно считать постоянным с ничтожно малой погрешностью.
Следовательно, общее уравнение сопротивления можно переписать следующим образом:

, (C.4)
где

;

.
C.5.3.2.2. В
таблицах C.6 и
C.7 даны значения

для труб из нескольких обычно применяемых материалов наружным диаметром 25,4 мм (1") с алюминиевыми ребрами толщиной 0,4 мм (0,016") и высотой 15,9 мм (5/8"). Для других размеров и материалов ребер требуется расчет эффективности

, чтобы определять

для данной комбинации. Построение кривых эффективности ребер можно найти в учебниках, таких как
[13],
[14],
[15].
C.5.3.3. Для начала предполагаем, что аппарат чистый. Загрязнение трубной стороны увеличивает температуру поверхности, так как среда контактирует тогда с поверхностью загрязняющего вещества. Основное уравнение сопротивления переписываем в следующем виде:

. (C.5)
Уравнения для теплообменников с гладкими трубами такие же с тем исключением, что

= 1, а

- наружная поверхность гладкой трубы, т.е.

. Поскольку рабочие характеристики теплообменников с гладкими трубами весьма чувствительны к уровню шага, конструктор при вычислении коэффициента теплопередачи на воздушной стороне должен обращаться к корреляциям для гладких труб, например, описанным в
[16].
Поэтому общее сопротивление для гладких труб вычисляем по формуле

. (C.6)
Для аппарата с чистыми гладкими трубами это уравнение сводится к следующему:

. (C.7)
C.5.3.4. Температуру стенок труб можно вычислять исходя из пропорциональной части общего сопротивления для чистых труб:

. (C.8)
Образец расчетов приведен в
C.11.
C.5.3.5. Одноходовые многорядные теплообменники с воздушным охлаждением более подвержены возникновению проблем в связи с точками замерзания и застывания вследствие колебаний среднего перепада температур от слоя к слою, причем в нижнем ряду теплообмен интенсивнее, чем в верхних рядах. Это означает, что нельзя с уверенностью использовать температуру смешанной выходной среды; вместо нее для каждого ряда труб, вызывающего сомнения, необходимо вычислять среднемассовую температуру среды на выходе трубной стороны.
Среды, состоящие из двух фаз и протекающие по одному ходу с множеством рядов, требуют более полного анализа с учетом разделения фаз в коллекторе. Проблема становится более сложной, если аппараты спроектированы не с равными площадями сечения потока в каждом ходе. Если среды вязкие, возникает проблема крайне неравномерного распределения потока. Его трудно рассчитать, поэтому аппараты для таких сред должны иметь как можно меньше параллельных ходов. Идеальным решением является один непрерывный серпантинный змеевик.
C.5.3.6. Когда рассчитана температура стенок труб, следует рассматривать следующие вопросы эксплуатации:
a) насколько меньше будет необходимый для удаления тепла поток при низких температурах?
b) должен ли аппарат работать с выключенными или включенными вентиляторами?
c) имеет ли аппарат жалюзи?
d) предусмотрен ли автоматически управляемый вентилятор с регулируемым шагом или другие средства уменьшения воздушного потока?
e) будет ли аппарат работать с частичной нагрузкой, так что условия потока на трубной стороне будут влиять на температуру стенок?
C.6. Тепловые потери
C.6.1. Общие положения
C.6.1.1. В аппаратах с воздушным охлаждением обычно используют большое количество единиц оборудования, которые плохо работают, когда заключены в кожух. Если воздушный поток нужно ограничивать или регулировать, обычно используют жалюзи или панели из листового металла. Следует обеспечивать условия для отключения, запуска или выдерживания в резервном режиме такого оборудования в периоды с минимальной температурой воздуха. В такие периоды технологическая среда может остыть до уровня ниже своей критической для процесса температуры, если воздушный поток через трубный пучок не будет почти прекращен и не будет предусмотрен дополнительный источник тепла.
C.6.1.2. Если не определять количество тепла, теряемого вследствие утечки через жалюзи и теплопроводности через закрывающие панели, то нельзя быть уверенным, что вспомогательные средства добавляют достаточное количество тепла. Таким образом, решение задачи оценки вспомогательного источника тепла нужно начинать с определения, сколько тепла может быть потеряно при конкретном наборе обстоятельств. Примеры расчетов тепловых потерь даются в
C.12.
C.6.1.3. Наиболее важным случаем, который следует рассматривать, является случай с отсутствием протекания технологической среды, с выключенными вентиляторами, минимальной температурой воздуха и высокой скоростью ветра. Следует допускать, что необходимо поддерживать температуру трубного пучка по крайней мере на 11 °C - 17 °C (20 °F - 30 °F) выше критической температуры технологического процесса.
C.6.1.4. Менее важным случаем являются кратковременные тепловые потери в условиях отсутствия протекания технологической среды при включенных вентиляторах, минимальной температуре воздуха и высокой скорости ветра. Эти условия возникают только в период перехода от рабочего состояния к выключенному или наоборот, так что пример этого случая не дан в
C.12. Пример уравнений для выключенных вентиляторов можно использовать, чтобы определять утечку через жалюзи, используя перепад давлений, который существовал бы при включенных вентиляторах, вместо перепада давлений, вызываемого эффектом столба горячего воздуха.
C.6.1.5. Если устанавливается вспомогательный источник тепла, упомянутый в
C.6.1.1 и
C.6.1.2, то необходимо рассматривать несколько факторов. Следует выбирать теплоноситель, который будут использовать (обычно это пар, но иногда раствор антифриза). Следует также решать вопрос о размещении источника тепла. Отдельный змеевик глубиной в один ряд обычно помещают непосредственно под трубным пучком; однако особые соображения могут диктовать и менее эффективное размещение, например внутри канала рециркуляции.
C.6.2. Утечка через жалюзи
Жалюзи стандартного исполнения, поддерживаемые в хорошем состоянии, имеют, когда они закрыты, площадь утечки не более 2% площади лицевой поверхности. Это значение можно сокращать до не более 1%, если использовать специальные более дорогие конструкции. Для обоих случаев можно рассчитывать скорость утечки воздуха (простой расчет см. в
C.12.1.3 или
C.12.2.3). Испытания на стандартных жалюзи показывают, что средние жалюзи имеют лишь половину площади утечки, которая прогнозируется при максимальных допусках.
C.6.3. Тепловые потери через поверхности
Тепловые потери от панелей из листового металла, в которые заключен аппарат, зависят от скорости воздуха внутри и снаружи, а также от перепада температур между внутренним воздухом и окружающим воздухом (общий коэффициент теплопередачи для этой поверхности рассчитан в
C.12.1.4 и
C.12.2.4 для диапазона скоростей ветра). Расчеты этого типа можно использовать также для определения тепловых потерь от горячего воздуха, рециркулирующего через рециркуляционный воздуховод во время нормальной работы. Расчет тепловых потерь для воздуховода можно использовать для того, чтобы убедиться, что требуемая температура воздуха, поступающего на трубный пучок, будет выдерживаться при смешивании рециркулирующего воздуха с входящим холодным воздухом.
C.7. Руководящие принципы
C.7.1. Общие положения
Аппараты с воздушным охлаждением обычно проектируют таким образом, чтобы рассеивать заданную тепловую нагрузку в летних условиях и такую же (или более высокую) тепловую нагрузку в зимних условиях. Для обеспечения нормальной работы в период минимальных температур воздуха принимают дополнительные меры. Эти меры включают рециркуляцию части воздуха, которая затем смешивается с поступающим холодным воздухом и подогревает его. Чтобы направлять рециркулирующий поток, требуются воздуховоды и жалюзи.
Меры, требующиеся для обеспечения хорошего перемешивания рециркулирующего воздуха с поступающим холодным воздухом, являются недопустимо дорогостоящими. Задаваемое значение средней температуры этого смешанного воздушного потока должно быть выше критической температуры процесса. Например, уставка для вакуумных конденсаторов пара обычно составляет 1,5 °C - 4,5 °C (35 °F - 40 °F). Важно измерять среднюю температуру воздуха в таких системах усредняющим термопатроном длиной от 4 до 6 м (12 - 20 футов), который измеряет температуру по всему воздушному потоку, а не датчиком, который делает измерения только в одной точке.
C.7.2. Методы проектирования
C.7.2.1. Система C - закрытая внутренняя циркуляция
Система C (см.
рисунок C.5) работает в двух режимах: летнем и зимнем. В летнем режиме оба вентилятора перемещают воздух вверх, и рециркуляции воздуха не происходит. В зимнем режиме один вентилятор (обычно на выходном конце аппарата) перемещает воздух вниз. Это заставляет часть воздуха, движущегося вверх через трубный пучок (на конце, противоположном выходу), протекать горизонтально через верх пучка сквозь обводные жалюзи и затем вниз через пучок. По этому маршруту идет лишь часть воздуха, достаточная для того, чтобы средняя температура смешанного воздуха, поступающего к пучку, для пересечения его внизу удовлетворяла заданному значению. Воздуховод над трубным пучком должен иметь размер, достаточный для максимального количества воздуха, которое должно идти по этому пути. Консервативное правило проектирования состоит в том, чтобы определять размер поперечного сечения воздуховода исходя из линейной скорости воздуха 305 м/мин (1000 футов/мин) и используя количество воздуха, которое проходит через обводные жалюзи. Поперечное сечение воздуховода ни в коем случае не должно быть больше того значения, которое требуется для рециркуляции 100%-ного нагретого воздуха.
Альтернативный метод, который доказал свою адекватность, заключается в том, чтобы делать высоту пространства воздуховода над верхом боковой рамы, равной одной десятой длины трубы, округленной до ближайших 0,15 м (0,5 фута). Это значит, что для трубных пучков длиной 12 м (40 футов) потребуется высота 1,2 м (4 фута), а для трубных пучков длиной 11 м (36 футов) - высота 1,1 м (3,5 фута).
C.7.2.2. Система D - внешняя рециркуляция
Система D (см.
рисунок C.6) работает только в одном режиме. Это означает, что движение воздуха через трубный пучок всегда происходит вверх. Однако, когда температура входящего воздуха достаточно низка, часть этого воздуха выходит из пучка и возвращается на вход вентилятора, проходя через боковую сторону или торец пучка через воздуховод с обводными жалюзи.
Размеры этого воздуховода внешней рециркуляции допускается проектировать по тем же правилам, что и для воздуховода внутренней рециркуляции, описанного в
C.7.2.1. Результатом применения этих правил обычно является воздуховод с площадью поперечного сечения, равной от 20% до 30% площади лицевой поверхности трубного пучка. Однако, если необходимо рециркулировать более 75% нагретого воздуха, размер воздуховода может приближаться к 40% площади лицевой поверхности трубного пучка.
C.8. Механическое оборудование
C.8.1. Общие положения
Если механическое оборудование должно работать в очень холодной или горячей окружающей среде, при его проектировании должны быть заложены минимальные или максимальные значения температур, которым оно может подвергаться. Возможно, что при проектировании двух расположенных рядом аппаратов придется по-разному учитывать температурные факторы, если один из аппаратов имеет только регулирование воздушного потока, а другой снабжен системой внешней рециркуляции.
C.8.2. Расчетные температуры
C.8.2.1. Если не согласовано иное, то минимальной расчетной температурой для механического оборудования должна быть минимальная расчетная температура воздуха.
C.8.2.2. Если не согласовано иное, то максимальная расчетная температура для механического оборудования, находящегося в воздушном потоке, выходящем из аппарата, должна быть равна максимальной температуре технологической среды или среды вспомогательного нагревания. Максимальная температура воздуха может иметь место, когда вентиляторы не работают, а жалюзи закрыты.
C.8.2.3. Максимальная расчетная температура для механического оборудования, расположенного во входном или рециркуляционном воздушном потоке, зависит от типа системы, защищающей от зимних условий (см. C.8.2.3.1 -
C.8.2.3.3). Необходимо исследовать каждый режим эксплуатации (пуск, нормальную работу, останов), чтобы определять, какую расчетную температуру использовать.
C.8.2.3.1. В системе управления воздушным потоком (см.
рисунки C.1 и
C.2) максимальной расчетной температурой для оборудования, расположенного во входном воздушном потоке, является расчетная температура воздуха по сухому термометру.
C.8.2.3.2. В системе с открытой или закрытой внутренней рециркуляцией (см.
рисунки C.3,
C.4 и
C.5) максимальной расчетной температурой для оборудования, установленного во входном воздушном потоке, должна быть температура воздуха, выходящего из вентилятора с реверсированным воздушным потоком во время рециркуляции, плюс запас надежности 14 °C (25 °F).
C.8.2.3.3. Поскольку в системе с внешней рециркуляцией (см.
рисунок C.6) воздух перемешивается неполностью, следует очень внимательно выбирать расчетную температуру для оборудования, установленного во входном воздушном потоке. Опасность заключается в том, что это оборудование может подвергаться воздействию горячих слоев воздуха, который не смешался с более холодным входным воздухом. Эта проблема особенно остро стоит во время пуска.
C.8.3. Диапазон расчетных температур
Большинство механического оборудования удовлетворительно работает при температурах воздуха от минус 29 °C (минус 20 °F) до плюс 40 °C (плюс 104 °F) без каких-либо модификаций. Однако, поскольку выбор материалов и методы проектирования для большинства компонентов механического оборудования нестандартизированы, стандартные рабочие диапазоны у различных изготовителей могут быть различны.
C.8.4. Типичные характеристики и диапазоны рабочих температур стандартного механического оборудования
C.8.4.1. Общие положения
Характеристики и диапазоны температур воздуха, приводимые в этом разделе, не рассчитаны на то, чтобы ограничивать применение какого-либо оборудования. Пригодность конкретной единицы оборудования для непрерывной работы при определенной расчетной температуре следует подтверждать, проконсультировавшись у изготовителя.
C.8.4.2. Вентиляторы с ручным регулированием шага в условиях непрерывной работы [от минус 54 °C до плюс 121 °C (от минус 65 °F до плюс 250 °F)]
Для получения наилучших результатов в условиях холодной погоды вентиляторы с регулируемым вручную шагом должны быть снабжены втулкой из пластичной стали, алюминия или другого материала с хорошей пластичностью. Материал лопаток должен иметь аналогичные характеристики.
C.8.4.3. Вентиляторы с автоматическим регулированием переменного шага в условиях непрерывной работы [от минус 32 °C до плюс 121 °C (от минус 25 °F до плюс 250 °F)]
Критерии, приведенные в
C.8.4.2 для втулок и лопаток вентиляторов с ручным регулированием шага, применяют также и к автоматически управляемым вентиляторам с регулируемым шагом. Поскольку автоматические устройства регулирования шага у разных изготовителей различны, фактический диапазон рабочих температур и рекомендации по расширению этого диапазона следует узнавать у изготовителя.
C.8.4.4. Электродвигатели [от минус 30 °C до плюс 40 °C (от минус 22 °F до 240 °F)]
Верхний предел рабочих температур для электродвигателей можно повышать, если заменять систему изоляции и смазочный материал подшипников на материалы, рассчитанные на более высокие температуры. В большинстве случаев использования в холодную погоду двигатели снабжают обогревателями, чтобы поддерживать температуру воздуха внутри их выше точки росы.
C.8.4.5. Клиновидные ремни [от минус 40 °C до плюс 60 °C (от минус 40 °F до 140 °F)] и ремни принудительной передачи с высоким крутящим моментом [от минус 34 °C до плюс 85 °C (от минус 30 °F до плюс 185 °F)]
Если ремни эксплуатируют за пределами вышеуказанных температурных диапазонов, их срок службы сокращается. Имеются специальные ремни, предназначенные для эксплуатации выше и ниже этих диапазонов. Ожидаемая долговечность специальных ремней может быть ниже, чем у стандартных.
C.8.4.6. Зубчатые передачи [от минус 18 °C до плюс 77 °C (от минус 0 °F до плюс 170 °F)]
Для эксплуатации зубчатых передач при температурах ниже указанного диапазона необходимо заменять смазочные материалы на пригодный для данной температуры и, возможно, добавлять маслоподогреватель. Фактические диапазоны рабочих температур и рекомендации по расширению этих диапазонов следует получать у изготовителя зубчатой передачи.
C.8.4.7. Подшипники [от минус 45 °C до плюс 121 °C (от минус 50 °F до плюс 250 °F)]
Указанный выше диапазон рабочих температур подшипников можно расширять, заменив смазочный материал на пригодный для требующегося температурного диапазона.
C.8.4.8. Стальные или алюминиевые жалюзи [от минус 40 °C до плюс 121 °C (от минус 40 °F до плюс 250 °F)]
Жалюзи должны быть рассчитаны на нагрузки, ожидаемые во время работы при низких температурах. Для этого необходимо выбирать более пластичный материал. При проектировании следует учитывать нагрузки от снега и льда, а также воздействие льда на конструкцию и работу рычажной передачи. Диапазон температур можно расширять, если выбирать другие материалы подшипников.
C.8.4.9. Мембранные пневмоприводы [от минус 40 °C до плюс 82 °C (от минус 40 °F до плюс 180 °F)], поршневые пневмоприводы [от минус 34 °C до плюс 79 °C (от минус 30 °F до плюс 175 °F)] и пневматические позиционирующие устройства [от минус 40 °C до плюс 71 °C (от минус 40 °F до плюс 160 °F)]
Вышеуказанный температурный диапазон для пневмоприводов и позиционирующих устройств можно расширять, заменив материалы некоторых компонентов, в том числе мембран и уплотнительных колец.
C.8.5. Вспомогательное нагревательное оборудование
C.8.5.1. Если в какой-либо системе защиты от зимних условий используют паровые нагревательные змеевики, то максимальную расчетную температуру находящегося под их воздействием механического оборудования можно определять по температуре насыщения пара. Эффект излучения от парового змеевика ничтожен, и его можно не учитывать при определении расчетных температур механического оборудования, расположенного под змеевиком. Паровые змеевики обычно используют во время пуска и отключения, но не при обычной работе. Для предотвращения замерзания парового змеевика следует использовать пароотделитель.
C.8.5.2. Успешно используют также другие типы вспомогательного нагревательного оборудования, такие как змеевики со смесью гликоля и воды, с жидким теплоносителем, электрические нагреватели и пространственные обогреватели.
C.9. Процедуры пуска и отключения
C.9.1. Общие положения
Описанные в этом разделе процедуры предназначены для того, чтобы дополнять процедуры, принятые у потребителя, а не заменять их. Эти процедуры применяют только к аппаратам с воздушным охлаждением с некоторой степенью защиты от зимних условий, от простейшей степени (только от регулирования воздушного потока) до наиболее сложных степеней (до полной рециркуляции внешнего воздуха). Данные процедуры относят только к пуску и отключению в холодную погоду.
C.9.2. Процедуры пуска
C.9.2.1. Перед пуском удаляют снег, лед или защитные покрытия, которые могут помешать работе жалюзи или вентиляторов. В зависимости от конкретных погодных условий снег и лед иногда допускается удалять, включив пусковой нагревательный змеевик. Следует действовать осторожно, чтобы не допускать повреждения верхних жалюзи. Рабочие не должны ходить по жалюзи.
C.9.2.2. Проверяют систему подачи воздуха на приборы и убеждаются, что она работает и в ней нет воды.
C.9.2.3. Проверяют работу контрольно-измерительных приборов и клапанов системы управления.
C.9.2.4. Проверяют работу всех жалюзи, их рычажных передач, а также автоматически регулируемых вентиляторов с переменным шагом (если они используются).
C.9.2.5. Жалюзи закрывают. Включают пусковой нагревательный змеевик (если он еще не включен). Если нагревательной системой является паровой змеевик, проверяют пароотделитель и убеждаются, что он функционирует удовлетворительно. Перед пуском трубного пучка в работу его температура и температура окружающего его воздуха должны быть выше критической температуры технологического процесса.
C.9.2.6. Для систем с внутренней циркуляцией (см.
рисунки C.3,
C.4 и
C.5) проверяют, находится ли система управления в зимнем режиме, а именно, вентилятор, расположенный ближе к выходу технологической среды, должен иметь такой угол установки, чтобы была возможность подавать воздух вниз через трубный пучок, а второй вентилятор мог подавать воздух вверх через пучок. Оба вентилятора должны быть установлены в положение максимального воздушного потока.
C.9.2.7. Для систем с внешней рециркуляцией (см.
рисунок C.6) проверяют:
a) работают ли обводные жалюзи, как следует, если имеется рычажная передача между верхними жалюзи и обводными жалюзи;
b) работу и средства привода входных жалюзи;
c) кожух теплообменника и убеждаются, что в нем нет больших отверстий, впускающих холодный воздух внутрь.
C.9.2.8. Пуск аппарата осуществляют в соответствии с обычными процедурами, однако при некоторых условиях процесса могут возникнуть особые требования. Например, паровые конденсаторы или охладители вязких жидкостей при умеренных температурах обычно требуют введения технологического потока с полным или близким к полному расходом. Напротив, технологические потоки с высокими температурами вводят в теплообменник постепенно, чтобы минимизировать высокие термические напряжения, которые могут привести к механическим неисправностям.
C.9.2.9. Включают вентиляторы, ставят жалюзи и автоматически управляемые вентиляторы с переменным шагом на автоматическое управление, и после достижения нормальных рабочих параметров отключают нагревательный змеевик.
C.9.3. Процедуры отключения
C.9.3.1. Перед отключением выключают вентиляторы, закрывают жалюзи и включают нагревательный змеевик, если он имеется.
C.9.3.2. Необходимо соблюдать нормальную процедуру отключения аппарата.
C.9.3.3. Если необходима прочистка паром, следует убедиться в полном стоке конденсата.
C.9.3.4. Далее отключают нагревательный змеевик.
C.9.3.5. Для защиты оборудования в период простоя соблюдают нормальные предусмотренные для него процедуры.
C.10. Пример экономического сравнения косвенного (с промежуточной водой) и прямого воздушного охлаждения для систем, требующих подготовки к эксплуатации в зимних условиях
C.10.1. Общие положения
Перед тем, как проводить экономическое сравнение систем с прямым и косвенным воздушным охлаждением, требующих подготовки к эксплуатации в зимних условиях, выбирают рабочие температуры для промежуточной воды. Это является важным фактором для экономики системы. Температура на выходе аппарата с воздушным охлаждением

(см.
рисунок C.12) является функцией расчетной температуры воздуха по сухому термометру и критических температур технологической среды и трубных стенок в кожухотрубном теплообменнике. Температура

должна быть выше критической температуры технологической среды. Температурный диапазон

влияет на размер аппарата с воздушным охлаждением с промежуточной водой, кожухотрубного теплообменника и мощность циркуляционного насоса и определяет количество корпусов в последовательности. Температурный диапазон следует выбирать так, чтобы оптимизировать компоненты конкретной системы.
1 - циркуляционный насос; 2 - водоохладитель;
3 - технологическая среда; 4 - охладитель
технологической среды
Рисунок C.12. Система с промежуточной водой
Выводы из примера, приведенного в C.10.2 и
C.10.3, справедливы только для этого конкретного случая. Каждый случай применения необходимо исследовать отдельно.
C.10.2. Пример (единицы СИ)
Охладитель "нефтяного остатка" предназначен для охлаждения 363000 кг/ч продукта при атмосферном давлении и температуре от 171 °C до 93 °C. Расчетная температура по сухому термометру должна быть 49 °C, минимальная расчетная температура воздуха должна быть 0 °C. Температура застывания остатка должна быть 35 °C, вязкость на входе и выходе 6,0 и 48,0 сП соответственно. Входная и выходная температуры циркуляционной воды были выбраны 57 °C и 123 °C при расходе 227000 кг/ч. Обратите внимание, что для примера выбрана система с водой под давлением. В
таблице C.3 характеризуются обе системы, а в
таблице C.5 сравнивается их стоимость.
Примечание. Система теплообменника с прямым воздушным охлаждением, описанная в этом разделе, хотя и является случаем практического применения, но не может быть оптимальной. Кроме того, данные о стоимости оборудования, приводимые в данном примере, относятся к 1981 году и взяты исключительно для иллюстрации; при реальном экономическом сравнении следует использовать действующие цены.
Таблица C.3
Описание косвенной и прямой систем воздушного охлаждения
(единицы СИ)
┌──────────────────────────────────────────┬─────────────────────┐
│ Наименование показателя │ Значение показателя │
│ ├──────────┬──────────┤
│ │косвенная │ прямая │
│ │ система │ система │
│ │охлаждения│воздушного│
│ │ │охлаждения│
├──────────────────────────────────────────┼──────────┼──────────┤
│ Площадь, м2: │ │ │
│ - кожухотрубного теплообменника │ 1486 │ - │
│ - аппарата с воздушным охлаждением │ 1208 │ - │
│ Технологическая нагрузка: │ │ │
│ - пропускная способность насоса, м3/ч │ 227 │ - │
│ - номинальный диаметр трубной обвязки/ │ 150/1,89 │ - │
│вместимость уравнительного бака, м3 │ │ │
│ Коэффициенты стоимости монтажа
<**>: │ │ │
│ - кожухотрубного теплообменника │ 2,7 │ - │
│ - аппарата с воздушным охлаждением │ 1,8 │ - │
│ - теплообменника с воздушным охлаждением,│ 1,8 │ - │
│приспособленного к зимним условиям
<*> │ │ │
│ - насоса │ 2,5 │ - │
│ - трубной обвязки/и уравнительного бака │ 2,5 │ - │
│ Мощность привода, кВт: │ │ │
│ - вентилятора аппарата с воздушным │ 111,9 │ - │
│охлаждением │ │ │
│ - насоса │ 18,6 │ - │
│ - теплообменника с воздушным охлаждением,│ 160,3 │ │
│приспособленного к зимним условиям <*> │ │ │
├──────────────────────────────────────────┴──────────┴──────────┤
│ <*> Технологическая нагрузка аппарата с воздушным│
│охлаждением, приспособленного к зимним условиям, делится на две│
│функции, причем они выполняются теплообменниками разной│
│конфигурации. Обе конфигурации имеют полную внешнюю рециркуляцию│
│и паровые змеевики. Для охлаждения от 171,11 °C до 126,67 °C│
│конфигурация состоит из двух секций шириной 5,79 м и длиной│
│9,14 м с двумя трубными пучками в каждой секции. Каждый пучок│
│имеет пять рядов и 12 проходов. Трубы имеют наружный диаметр│
│50,8 мм и 394 алюминиевых ребра (высотой 15,88 мм) на метр.│
│Трубы расположены равносторонним треугольником и имеют шаг│
│101,6 мм. Общая площадь поверхности составляет 12,289 м2│
│(площадь поверхности гладких труб 806 м2). Для охлаждения от│
│226,67 °C до 93,33 °C конфигурация состоит из трех параллельных│
│секций шириной 4,88 м и длиной 9,14 м с шестью трубными пучками│
│в каждой секции. Они расположены в две параллельные нитки по три│
│пучка последовательно. Каждый пучок имеет шесть рядов и три│
│хода. Трубы гладкие наружным диаметром 25,4 мм и толщиной стенки│
│2,77 мм. Трубы расположены равносторонним треугольником и имеют│
│поперечный шаг 44,45 мм. Площадь поверхности составляет 4133 м2.│
│ <**> Коэффициенты стоимости монтажа могут зависеть от места,│
│стоимости рабочей силы и т.п. │
└────────────────────────────────────────────────────────────────┘
C.10.3. Пример (единицы, принятые в США)
Охладитель "нефтяного остатка" предназначен для охлаждения 800000 фунтов/ч остатка при атмосферном давлении с 340 °F до 200 °F. Расчетная температура по сухому термометру должна быть 120 °F, минимальная расчетная температура воздуха должна быть 32 °F. Температура застывания остатка должна быть 95 °F, вязкость на входе и выходе 6,0 и 48,0 сП соответственно. Входная и выходная температуры циркуляционной воды были выбраны 135 °F и 254 °F при расходе 500000 фунтов/ч. Для примера выбрана система с водой под давлением. В
таблице C.4 характеризуются обе системы, а в
таблице C.5 сравнивается их стоимость.
Примечание. Система теплообменника с прямым воздушным охлаждением, описанная в этом разделе, хотя и является случаем практического применения, но не может быть оптимальной. Кроме того, данные о стоимости оборудования, приводимые в данном примере, относятся к 1981 году и взяты исключительно для иллюстрации; при настоящем экономическом сравнении следует использовать действующие цены.
Таблица C.4
Описание косвенной и прямой систем воздушного охлаждения
(единицы, принятые в США)
┌──────────────────────────────────────────┬─────────────────────┐
│ Наименование показателя │ Значение показателя │
│ ├──────────┬──────────┤
│ │косвенная │ прямая │
│ │ система │ система │
│ │охлаждения│воздушного│
│ │ │охлаждения│
├──────────────────────────────────────────┼──────────┼──────────┤
│ 2 │ │ │
│ Площадь, фут : │ │ │
│ - кожухотрубного теплообменника │ 16000 │ - │
│ - аппарата с воздушным охлаждением │ 13000 │ - │
│ Технологическая нагрузка: │ │ │
│ - пропускная способность насоса, │ 1000 │ - │
│галлонов/мин │ │ │
│ - номинальный диаметр трубной обвязки/ │HTP 6/500 │ - │
│вместимость уравнительного бака, галлонов │ │ │
│ Коэффициенты стоимости монтажа
<**>: │ │ │
│ - кожухотрубного теплообменника │ 2,7 │ - │
│ - аппарата с воздушным охлаждением │ 1,8 │ - │
│ - теплообменника с воздушным охлаждением,│ 1,8 │ - │
│приспособленного к зимним условиям
<*> │ │ │
│ - насоса │ 2,5 │ - │
│ - трубной обвязки/и уравнительного бака │ 2,5 │ - │
│ Мощность привода, эфф. л.с.: │ │ │
│ - вентилятора аппарата с воздушным │ 150 │ - │
│охлаждением │ │ │
│ - насоса │ 25 │ - │
│ - теплообменника с воздушным охлаждением,│ 215 │ │
│приспособленного к зимним условиям <*> │ │ │
├──────────────────────────────────────────┴──────────┴──────────┤
│ <*> Технологическая нагрузка аппарата с воздушным│
│охлаждением, приспособленного к зимним условиям, делится на две│
│функции, причем они выполняются теплообменниками разной│
│конфигурации. Обе конфигурации имеют полную внешнюю рециркуляцию│
│и паровые змеевики. Для охлаждения от 340 °F до 260 °F│
│конфигурация состоит из двух секций шириной 19 футов и длиной│
│30 футов с двумя трубными пучками в каждой секции. Каждый пучок│
│имеет пять рядов и 12 проходов. Трубы имеют наружный диаметр 2"│
│и 10 алюминиевых ребер на дюйм; высота ребер 5/8". Трубы│
│расположены равносторонним треугольником с поперечным шагом 1".│
│Общая площадь поверхности составляет 142800 кв. футов (площадь│
│поверхности гладких труб 8671 кв. футов). Для охлаждения от│
│260 °F до 200 °F конфигурация состоит из трех параллельных│
│секций шириной 16 футов и длиной 30 футов, с шестью трубными│
│пучками в каждой секции. Они расположены в две параллельные│
│нитки по три пучка последовательно. Каждый пучок имеет шесть│
│рядов и три хода. Трубы гладкие наружным диаметром 1" и толщиной│
│стенки 0,109". Трубы расположены равносторонним треугольником и │
│имеют поперечный шаг 1 3/4". Площадь поверхности составляет│
│44485 кв. футов. │
│ <**> Коэффициенты стоимости монтажа могут зависеть от места,│
│стоимости рабочей силы и т.п. │
└────────────────────────────────────────────────────────────────┘
Таблица C.5
Сравнение стоимости систем с косвенным и прямым охлаждением
┌──────────────────────────────────────┬──────────┬──────────────┐
│ Наименование показателя │Косвенная │Прямая система│
│ │ система │ воздушного │
│ │охлаждения│ охлаждения │
├──────────────────────────────────────┼──────────┼──────────────┤
│ Стоимость оборудования
<1>, доллары │ │ │
│США: │ │ │
│ - кожухотрубного теплообменника │ 150000 │ - │
│ - аппарата с воздушным охлаждением │ 287000 │ - │
│ - теплообменника с воздушным │ 11360000 │ 1136000 │
│охлаждением, приспособленного к зимним│ │ │
│условиям │ │ │
│ - насоса │ 10000 │ - │
│ - трубной обвязки/уравнительного бака│ 20000 │ - │
│ Стоимость в смонтированном виде
<2>, │ │ │
│доллары США │ │ │
│ - кожухотрубного теплообменника │ 405000 │ - │
│ - аппарата с воздушным охлаждением │ 516000 │ - │
│ - теплообменника с воздушным │ 2045000 │ - │
│охлаждением, приспособленного к зимним│ │ │
│условиям │ │ │
│ - насоса │ 25000 │ - │
│ - трубной обвязки/уравнительного бака│ 50000 │ - │
│ Стоимость энергии
<3>, доллары США │ │ │
│ - вентиляторов аппарата с воздушным │ 225000 │ - │
│охлаждением │ │ │
│ - теплообменника с воздушным │ 322000 │ - │
│охлаждением, приспособленного к зимним│ │ │
│условиям │ │ │
│ - насоса │ 37000 │ - │
│ Оценка полной стоимости
<4> │ │ │
│ Система │ 1258000 │ 2367000 │
├──────────────────────────────────────┴──────────┴──────────────┤
│ <1> Стоимость оборудования приведена по данным 1981 г. │
│ <2> Стоимость в смонтированном виде получают, умножив│
│коэффициент стоимости монтажа на закупочную цену оборудования, о│
│котором идет речь. Стоимость в смонтированном виде включает в│
│себя стоимость подвода трубопроводов, земляных работ, бетонных│
│работ, конструкционной стали, электромонтажных работ, установки│
│контрольно-измерительных приборов, окраски и изоляции. │
│ <3> Для расчета стоимости энергии была взята цена│
│1500 долларов США за эффективную лошадиную силу (2011 долларов│
│США за киловатт). │
│ <4> Полная стоимость равна сумме стоимости в установленном│
│виде и затрат на энергию. │
└────────────────────────────────────────────────────────────────┘
C.11. Расчет минимальной температуры стенок труб
C.11.1. Пример расчета минимальной температуры стенок труб для оребренных труб (единицы, принятые в США)
Проектируется аппарат с нагнетательной тягой, описанный в
C.11.1.2, предназначенный для охлаждения 116000 фунтов/ч газойля (с плотностью 21,4° Американского нефтяного института и показателем К по системе Universal Oil Products 11,5) с 290 °F до 160 °F при температуре воздуха на входе 90 °F. Необходимо рассчитать минимальную температуру стенок труб на выходе нижнего ряда труб для температуры воздуха на входе 10 °F и минимальном расходе воздуха 147000 фунтов/ч, которая требуется для поддержания необходимой выходной температуры проектируемого процесса. Температура застывания газойля 50 °F.
C.11.1.2. Описание аппарата
Аппарат состоит из одной секции, содержащей один трубный пучок шириной 9,5 футов и длиной 30 футов, с семью рядами и семью проходами. Пучок содержит 319 труб из углеродистой стали с наружным диаметром 1" и толщиной стенки 0,109", расположенных в виде равностороннего треугольника, с шагом

. Трубы имеют 10 алюминиевых ребер на дюйм; высота ребра 5/8", толщина 0,016".
C.11.1.3. Данные
Переменные, значения которых приведены ниже, определены в
C.5.2.

;

;

;

;

;

,

= 0,0389(5,5/0,2047) + 0,025 + (0,3367/1,2),

;

;

;

,

= 160 - (0,0389/1,351)(5,5/0,2047)(160 - 10),

= 44 °F.
Таблица C.6
Значения

для полной площади наружной поверхности трубы
наружным диаметром 1", с алюминиевыми ребрами высотой 5/8"
и толщиной 0,016"
┌────────────┬─────┬──────┬───────────────────────────────────────────────┐
│ Материал │Теп- │Кол-во│ Толщина стенки трубы, дюйм │
│ трубы │ло- │ребер ├───────┬───────┬───────┬───────┬───────┬───────┤
│ │про- │ на │ 0,035 │ 0,049 │ 0,065 │ 0,083 │ 0,109 │ 0,134 │
│ │вод- │ дюйм ├───────┴───────┴───────┴───────┴───────┴───────┤
│ │ность│ │ 2 │
│ │k
<*>│ │ r (°F фут x ч/БТЕ) │
│ │ │ │ m │
├────────────┼─────┼──────┼───────┬───────┬───────┬───────┬───────┬───────┤
│ Адмиралтей-│ 70 │ 7 │0,01677│0,01708│0,01745│0,01787│0,01852│0,01918│
│ская латунь │ │ 8 │0,01700│0,01735│0,01777│0,01825│0,01898│0,01943│
│ │ │ 9 │0,01720│0,01760│0,01806│0,01860│0,01942│0,02025│
│ │ │ 10 │0,01739│0,01782│0,01833│0,01893│0,01984│0,02076│
│ │ │ 11 │0,01755│0,01803│0,01859│0,01925│0,02024│0,02125│
│ Алюминий │ 90 │ 7 │0,01655│0,01677│0,01702│0,01732│0,01778│0,01824│
│ │ │ 8 │0,01675│0,01700│0,01729│0,01763│0,01814│0,01866│
│ │ │ 9 │0,01692│0,01720│0,01752│0,01790│0,01848│0,01906│
│ │ │ 10 │0,01708│0,01738│0,01774│0,01816│0,1879 │0,01944│
│ │ │ 11 │0,01722│0,01755│0,01794│0,01840│0,01909│0,01980│
│ Углеродис- │ 26 │ 7 │0,01789│0,01867│0,01959│0,02067│0,02230│0,02396│
│тая сталь │ │ 8 │0,01827│0,01916│0,02020│0,02142│0,02327│0,02515│
│ │ │ 9 │0,01862│0,01961│0,02078│0,02214│0,02421│0,02631│
│ │ │ 10 │0,01896│0,02005│0,02134│0,02285│0,02513│0,02745│
│ │ │ 11 │0,01927│0,02047│0,02188│0,02353│0,02603│0,02858│
│ Нержавеющая│ 9,3 │ 7 │0,02068│0,02263│0,02493│0,02762│0,03169│0,03584│
│(коррозион- │ │ 8 │0,02143│0,02364│0,02625│0,02930│0,03392│0,03862│
│но-стойкая) │ │ 9 │0,02215│0,02463│0,02755│0,03095│0,03611│0,04137│
│сталь (марки│ │ 10 │0,02286│0,02559│0,02882│0,03258│0,03829│0,04409│
│302, 304, │ │ 11 │0,02355│0,02654│0,03008│0,03420│0,04045│0,04681│
│316, 321 │ │ │ │ │ │ │ │ │
│и 347) │ │ │ │ │ │ │ │ │
├────────────┴─────┴──────┴───────┴───────┴───────┴───────┴───────┴───────┤
│ <*> k - теплопроводность в Британских тепловых единицах│
│(час) x (квадратный фут) x (градус Фаренгейта) на один фут. │
│ │
│ Примечание. Приведенные в таблице значения исходят из допущения│
│максимального сопротивления воздушной стороны (r или r + r ),│
│ fs fs ds │
│равного 0,15. Эффективность ребер допускается фи = 1. │
└─────────────────────────────────────────────────────────────────────────┘
Вычисленная температура стенок труб намного ниже рекомендуемой температуры 75 °F (50 °F плюс 25 °F как запас надежности). Следовательно, конструктор должен рассмотреть метод подготовки к зимним условиям, адекватно защищающий данную систему от проблем с температурой застывания. В этой ситуации возможными решениями могут стать системы C или D, которые следует рассмотреть; однако конструктор решает устранить эту проблему другим способом, который описан в C.11.2.
C.11.2. Пример расчета минимальной температуры стенок гладких труб (единицы, принятые в США)
C.11.2.1. Общие сведения
Конструктор решает спроектировать аппарат с использованием как оребренных, так и гладких труб. В новой конструкции трубный пучок имеет верхние ряды оребренных труб и нижние ряды гладких труб. Количество воздуха температурой 10 °F, требующееся, чтобы получить расчетную выходную температуру технологической среды 160 °F, такое же, как и в конструкции, описанной в
C.11.1.1. Теперь конструктор рассчитывает минимальную температуру стенок труб на выходе нижнего ряда гладких труб.
C.11.2.2. Описание аппарата
Аппарат состоит из одной секции, содержащей один трубный пучок шириной 9,5 футов и длиной 30 футов, с восемью рядами и восемью проходами. Верхние шесть рядов пучка содержат 273 трубы из углеродистой стали наружным диаметром 1" и толщиной стенки 0,109", расположенные в виде равностороннего треугольника с шагом

. Трубы имеют 10 алюминиевых ребер на один дюйм; высота ребра 5/8", толщина 0,016". Кроме того, пучок содержит 166 труб из углеродистой стали в двух нижних рядах. Эти трубы также имеют наружный диаметр 1" и толщину стенки 0,109" и расположены в виде равностороннего треугольника с шагом

.
C.11.2.3. Данные
Данные для нижнего ряда гладких труб:

;

;

;

;

;

,

= 0,058(0,2618/0,2047) + 0,0004 + (0,153/1,2),

;

,

= 160 - (0,058/0,202)(0,2618/0,2047)(160-10),

= 105 °F.
Рассчитанная температура стенок труб на выходе нижнего ряда гладких труб много выше 75 °F, поэтому замерзания газойля не ожидается. Чтобы удостовериться, что оребренная часть пучка также защищена, конструктор решает рассчитать температуру стенок труб на выходе шестого прохода (ряд оребренных труб непосредственно над гладкими трубами). В результате тепловых расчетов конструктор получает следующие данные:

;

;

,

= 0,0236(5,5/0,2047) + 0,0251 + (0,3356/1,2),

;

- 31,3 °F (температура воздуха,
выходящего из участка гладких труб);

- 173,4 °F (температура газойля,
выходящего из шестого прохода);

,

= 173,4 - (0,0236/0,939)(5,5/0,2047) x (173,4 - 31,3),

= 77,4 °F (>75 °F).
Представляется, что эта конструкция надежна с точки зрения потенциального замерзания при непрерывной работе. Однако, как и во всех охладителях для вязких жидкостей, рекомендуется использовать вспомогательный нагревательный змеевик для пуска в холодную погоду.
C.11.3. Пример расчета минимальной температуры стенок труб для оребренных труб (единицы СИ)
Проектируется аппарат с нагнетательной тягой, описанный в
C.11.3.2, предназначенный для охлаждения 52618 кг/ч газойля (с плотностью 21,4° Американского нефтяного института и показателем К по Universal Oil Products 11,5) с 143 °C до 71 °C при температуре воздуха на входе 32 °C. Конструктор желает рассчитать минимальную температуру стенок труб на выходе нижнего ряда труб для температуры воздуха на входе минус 12 °C и минимальном расходе воздуха 66679 кг/ч, которая требуется для поддержания необходимой выходной температуры проектируемого процесса. Температура застывания газойля должна быть 10 °C.
C.11.3.2. Описание аппарата
Аппарат состоит из одной секции, содержащей один трубный пучок длиной 2,90 м, с семью рядами и семью проходами. Пучок содержит 319 труб из углеродистой стали наружным диаметром 25,4 мм и толщиной стенки 2,77 мм, расположенных в виде равностороннего треугольника с шагом 63,5 мм. Трубы имеют 394 алюминиевых ребра на метр; высота ребра 15,9 мм, толщина - 0,4 мм.
C.11.3.3. Данные
Переменные, значения которых приводятся ниже, определены в
C.5.2.

- 0,0624 м2/м;

- 1,68 м2/м;

;

- 0,0593 м2 x К/Вт;

- 0,00685 м2 x К/Вт;

,

= 0,00685(1,68/0,0624) + 0,00443 + (0,0593/1,2),

= 0,238 м2 x К/Вт;

- минус 12 °C,

- 71 °C;

,

= 71 - (0,00685/0,238)(1,68/0,0624)[71 - (-12)],

= 6,7 °C.
Таблица C.7
Значения

для полной площади наружной поверхности трубы
наружным диаметром 25,4 мм, с алюминиевыми ребрами высотой
15,9 мм и толщиной 0,4 мм
┌────────────┬─────┬──────┬───────────────────────────────────────────────┐
│ Материал │Теп- │Кол-во│ Толщина стенки трубы, мм │
│ трубы │ло- │ребер ├───────┬───────┬───────┬───────┬───────┬───────┤
│ │про- │ на │ 0,89 │ 1,24 │ 1,65 │ 2,10 │ 2,77 │ 3,40 │
│ │вод- │ дюйм ├───────┴───────┴───────┴───────┴───────┴───────┤
│ │ность│ │ r (м2 x К/Вт) │
├────────────┼─────┼──────┼───────┬───────┬───────┬───────┬───────┬───────┤
│ Адмиралтей-│ 121 │ 276 │0,00295│0,00301│0,00307│0,00315│0,00326│0,00338│
│ская латунь │ │ 315 │0,00299│0,00306│0,00313│0,00321│0,00334│0,00342│
│ │ │ 354 │0,00303│0,00310│0,00318│0,00328│0,00342│0,00357│
│ │ │ 394 │0,00306│0,00314│0,00323│0,00333│0,00349│0,00366│
│ │ │ 433 │0,00309│0,00318│0,00327│0,00339│0,00356│0,00374│
│ Алюминий │155,6│ 276 │0,00291│0,00295│0,00300│0,00305│0,00313│0,00321│
│ │ │ 315 │0,00295│0,00299│0,00304│0,00310│0,00319│0,00329│
│ │ │ 354 │0,00298│0,00303│0,00309│0,00315│0,00325│0,00336│
│ │ │ 394 │0,00301│0,00306│0,0012 │0,00320│0,00331│0,00342│
│ │ │ 433 │0,00303│0,00309│0,00316│0,00324│0,00336│0,00349│
│ Углеродис- │45,0 │ 276 │0,00315│0,00329│0,00345│0,00364│0,00393│0,00422│
│тая сталь │ │ 315 │0,00322│0,00337│0,00356│0,00377│0,00410│0,00443│
│ │ │ 354 │0,00328│0,00345│0,00366│0,00390│0,00426│0,00463│
│ │ │ 394 │0,00334│0,00353│0,00376│0,00402│0,00443│0,00483│
│ │ │ 433 │0,00339│0,00360│0,00385│0,00414│0,00458│0,00503│
│ Нержавеющая│16,08│ 276 │0,00364│0,00399│0,00439│0,00486│0,00558│0,00631│
│сталь (марки│ │ 315 │0,00377│0,00416│0,00462│0,00516│0,00597│0,00680│
│302, 304, │ │ 354 │0,00390│0,00434│0,00485│0,00545│0,00636│0,00729│
│316, 321 │ │ 394 │0,00403│0,00451│0,00508│0,00574│0,00674│0,00676│
│и 347) │ │ 433 │0,00415│0,00467│0,00530│0,00602│0,00712│0,00824│
├────────────┴─────┴──────┴───────┴───────┴───────┴───────┴───────┴───────┤
│ <*> k - теплопроводность, Вт/(м x К). │
│ │
│ Примечание. Приведенные в таблице значения исходят из допущения│
│максимального сопротивления воздушной стороны (r или r + r ),│
│ fs fs ds │
│равного 0,0264. Эффективность ребер допускается фи = 1. │
└─────────────────────────────────────────────────────────────────────────┘
Вычисленная температура стенок труб намного ниже рекомендуемой температуры 23,9 °C (10 °C плюс 13,9 °C как запас надежности). Следовательно, конструктор должен рассмотреть метод приспособления к зимним условиям, адекватно защищающий данную систему от проблем с температурой застывания. В этой ситуации возможными решениями могут стать системы C или D, которые следует рассмотреть; однако конструктор решает устранить эту проблему другим способом, который описан в C.11.4.
C.11.4. Пример расчета минимальной температуры стенок гладких труб (единицы СИ)
C.11.4.1. Общие сведения
Конструктор решает спроектировать аппарат с использованием как оребренных, так и гладких труб. В новой конструкции трубный пучок имеет верхние ряды оребренных труб и нижние ряды гладких труб. Количество воздуха температурой минус 12 °C, требующееся, чтобы получить расчетную выходную температуру технологической среды 71 °C, такое же, как и в конструкции, описанной в
C.11.3.1. Теперь конструктор рассчитывает минимальную температуру стенок труб на выходе нижнего ряда гладких труб.
C.11.4.2. Описание аппарата
Аппарат состоит из одной секции, содержащей один трубный пучок шириной 2,90 м и длиной 9,14 м, с восемью рядами и восемью проходами. Верхние шесть рядов пучка содержат 273 трубы из углеродистой стали наружным диаметром 25,4 мм и толщиной стенки 2,77 мм, расположенные в виде равностороннего треугольника с шагом 63,5 мм. Эти трубы имеют 394 алюминиевых ребра на метр; высота ребра 15,9 мм, толщина 0,4 мм. Кроме того, пучок содержит 166 труб из углеродистой стали в двух нижних рядах. Эти трубы также имеют наружный диаметр 25,4 мм и толщину стенки 2,77 мм и расположены в виде равностороннего треугольника с шагом 34,9 мм.
C.11.4.3. Данные
Данные для нижнего ряда гладких труб:

- 0,0798 м2/м;

- 0,0624 м2/м;

- 0,0629 м2 x К/Вт;

- 0,0102 м2 x К/Вт;

- 0,000070 м2 x К/Вт;

;

= 0,0102(0,0798/0,0624) + 0,000070 + (0,0269/1,2),

= 0,0355 м2 x К/Вт;

,

= 71 - (0,0102/0,0355)(0,0798/0,0624)[71 - (-12)],

= 40,5 °C.
Рассчитанная температура стенок труб на выходе нижнего ряда гладких труб много выше 23,9 °C, поэтому замерзания газойля не ожидается. Чтобы удостовериться, что оребренная часть пучка также защищена, конструктор решает рассчитать температуру стенок труб на выходе шестого прохода (ряд оребренных труб непосредственно над гладкими трубами). В результате тепловых расчетов конструктор получает следующие данные:

- 0,059 м2 x К/Вт;

- 0,00415 м2 x К/Вт;

,

= 0,00415(1,68/0,0624) + 0,0044 + (0,059/1,2),

= 0,1653 м2 x К/Вт;

- минус 0,4 °C (температура воздуха,
выходящего из участка гладких труб);

- 78,5 °C (температура газойля,
выходящего из шестого прохода);

,

= 78,5 - (0,00415/0,1653)(1,68/0,0624)[78,5 - (-0,4)],

= 25,2 °C (>23,9 °C).
Представляется, что эта конструкция надежна с точки зрения потенциального замерзания при непрерывной работе. Однако, как и во всех охладителях для вязких жидкостей, рекомендуется использовать вспомогательный нагревательный змеевик для пуска в холодную погоду.
C.12. Пример расчета тепловых потерь
C.12.1. Пример расчета тепловых потерь (единицы, принятые в США)
C.12.1.1. Общие сведения
В примерах, приведенных в этом разделе, необходимо устанавливать перепад температур между окружающим воздухом и воздухом внутри аппарата. В расчете для определения минимального количества подводимого тепла, которое требуется от вспомогательного нагревательного змеевика, температурой воздуха, заключенного в объеме, окружающем технологический змеевик, должна быть температура, до которой желательно нагревать технологический трубный пучок.
Внутри нагреваемого объема воздух вверху будет горячее, чем воздух внизу. Значения температуры внутреннего воздуха как для верха, так и для низа объема являются допущенными. Это не рекомендованные температуры воздуха, а просто взятые в качестве допущения для иллюстрации процедуры расчетов.
Обратите внимание, что здесь допускается, что площадь жалюзи такая же, как и лицевая площадь трубного пучка, - это не всегда бывает так.
C.12.1.2. Номенклатура
C.12.1.2.1. Обозначения

- площадь утечки жалюзи в квадратных футах. (В приводимых ниже расчетах допускается, что

составляет 2% лицевой площади трубного пучка.);

- средняя удельная теплоемкость в британских тепловых единицах на (фунт) x (градус Фаренгейта). (Для воздуха берется значение 0,24.);

- давление, стимулирующее утечку, в футах столба среды;

- давление эффективное, стимулирующее утечку, в футах столба среды;
g - ускорение силы тяжести, равное 32,17 футов/с2;
h - высота столба горячего воздуха в футах;
K - локальный коэффициент теплопередачи в британских тепловых единицах на (час) x (квадратный фут) x (градус Фаренгейта);

- тепловые потери в единицу времени, в британских тепловых единицах в час;
T - температура в градусах Фаренгейта;
U - коэффициент теплового пропускания в британских тепловых единицах на (час) x (квадратный фут) x (градус Фаренгейта);
v - скорость в футах в секунду;

- расход в единицу времени, в фунтах в час;

- плотность воздуха в фунтах на кубический фут.
C.12.1.2.2. Подстрочные индексы
o - относится к условиям снаружи теплообменника с воздушным охлаждением;
i - относится к условиям внутри теплообменника с воздушным охлаждением.
C.12.1.3. Утечка через жалюзи
C.12.1.3.1. Находящийся в негерметичном кожухе воздух температурой теплее, чем у окружающего воздуха, стремится подниматься внутри кожуха и оказывает давление на верхнюю поверхность. Если верхняя поверхность состоит из не закрытых герметично лопаток жалюзи, то это вызывает утечку. Давление, стимулирующее утечку, можно выражать следующим образом:

. (C.9)
Скорость протекания через области утечки (при допущении потери в 1,5 скоростных напора) составляет:

. (C.10)
Расход, с которым теплый воздух утекает через жалюзи, равен:

. (C.11)
Интенсивность тепловых потерь вследствие утечки через жалюзи равна:

. (C.12)
Пример расчета тепловых потерь вследствие утечки через жалюзи представлен в C.12.1.3.2.
C.12.1.3.2. Допускаем следующие условия: полностью заключенный в кожух аппарат с воздушным охлаждением имеет ширину 14 футов, длину 36 футов, высоту 8 футов. Температура внутреннего воздуха

равна 100 °F, а температура наружного воздуха

равна 0 °F. Если допустить, что действуют законы идеального газа, плотность воздуха можно определить из уравнения (C.13):

, (C.13)
где M - молекулярный вес воздуха, равный 28,96;
p - абсолютное давление в фунтах на квадратный дюйм;
R - газовая постоянная, равная 10,73 (кубических футов) x (фунтов на квадратный дюйм, абсолютное) на (фунт-моль) x (градусы Ренкина);
T - температура наружного воздуха в градусах Ренкина.
Следовательно, плотность наружного воздуха составляет:

.
Плотность внутреннего воздуха составляет:

.
Давление, стимулирующее утечку через жалюзи, определяют с помощью
уравнения (C.9):

=
= 1,738 футов воздушного столба.
Скорость протекания через площадь утечки жалюзи, вытекающая из этого давления, вычисляют с помощью
уравнения (C.10):

= 8,63 футов/с.

= 22203 фунта/ч.
| | ИС МЕГАНОРМ: примечание. В официальном тексте документа, видимо, допущена опечатка: имеется в виду уравнение (C.12), а не уравнение (C.11). | |
Интенсивность тепловых потерь вследствие утечки через жалюзи вычисляют с помощью
уравнения (C.11):

= 532900 БТЕ/ч.
C.12.1.4. Тепловые потери через поверхности
C.12.1.4.1. Теплота, теряемая вследствие конвекции от внешних поверхностей замкнутого объема, является функцией перепада температур, скорости ветра и площади поверхности. Для скоростей ниже 16 футов/с рекомендуется следующее уравнение из ссылки
[13] для определения коэффициента теплопередачи K для воздушного потока, параллельного плоским поверхностям:
K = 0,99 + 0,21v. (C.14)
Примечание. Это уравнение выведено для вертикальных поверхностей; однако для простоты его используют здесь для всех поверхностей, поскольку большинство из них вертикальны.
Для скоростей не менее 16 футов/с рекомендуется следующее уравнение:

. (C.15)
| | ИС МЕГАНОРМ: примечание. В официальном тексте документа, видимо, допущена опечатка: пункт C.1.4.2 отсутствует. | |
Образец расчета тепловых потерь за счет конвекции для воздухоохлаждаемого теплообменника представлен в C.1.4.2.
C.12.1.4.2. Допускаем следующие условия: полностью заключенный в кожух аппарат с воздушным охлаждением имеет ширину 18 футов, длину 36 футов, высоту 16 футов (от уровня основания до верха жалюзи). Температура внутреннего воздуха изменяется линейно от 100 °F вверху до 50 °F внизу. Температура наружного воздуха равна 0 °F. Скорость внутреннего воздуха - 2 фута/с. Скорость ветра снаружи - 30 футов/с.
Коэффициент теплового пропускания U вычисляют следующим образом:

.

.

.
Полную интенсивность тепловых потерь через поверхность определяют следующим образом:

;

;

= 227400 БТЕ/ч.
C.12.1.5. Расчет полных тепловых потерь
C.12.1.5.1. Нагнетательная тяга с внешней рециркуляцией
Допускаем, что кожух имеет ширину 18 футов, длину 36 футов и высоту 18 футов. Размеры верхних жалюзи 14 x 36 футов. Жалюзи входного воздуха расположены на боковых сторонах внизу. Между нагревательным змеевиком и верхними жалюзи имеется столб горячего воздуха высотой 9 футов. Допускаем, что температура наружного воздуха равна 0 °F, а температура внутреннего воздуха изменяется линейно от 100 °F над нагревательным змеевиком до 50 °F в низу кожуха.
Тепловые потери через верхние жалюзи вычисляют следующим образом:

;

.
Давление, стимулирующее утечку и возникающее вследствие столба горячего воздуха над нагревательным змеевиком, определяют следующим образом:

=
= 1,95 фута воздушного столба.
Плотность воздуха при средней температуре под нагревательным змеевиком составляет

=
=

.
Стимулирующее утечку давление ниже нагревательного змеевика определяют следующим образом:

=
= 1,47 фута воздушного столба.
Полное стимулирующее утечку давление является суммой давлений выше и ниже нагревательного змеевика:

= 1,95 + 1,47 = 3,42 фута воздушного столба.
Этот перепад давлений, однако, не предполагает ограничения воздуха, входящего в теплообменник. Поскольку весь аппарат заключен в кожух, поступающий воздух должен проходить через входные жалюзи. Количество входящего воздуха должно равняться количеству выходящего воздуха. Можно допустить, что эффективное стимулирующее утечку давление

будет поровну поделено между входными и выходными жалюзи. Следовательно:

= 3,42/2 = 1,71 фута воздушного столба.
Скорость протекания через площадь утечки жалюзи составляет:

= 8,56 футов/с.
Тогда интенсивность тепловых потерь вследствие утечки через жалюзи будет:

=
= [(3600)(8,56)(0,0709)][(0,02)(14)(36)][(0,24)(100 - 0)] =
= 528600 БТЕ/ч.
Коэффициент теплового пропускания U равен 1,176

. Тепловые потери через поверхности составляют:

= 1,176(9)(18 + 18 + 36 + 36)(100 - 0)] +
+ 1,176((9)(18 + 18 + 36 + 36) x [(100 + 50)/2 - 0]) +
+ 1,176 [(18)(36)(100 - 0)] = 276200 БТЕ/ч.
C.12.1.5.2. Нагнетательная тяга без жалюзи
Этот случай обсуждается для того, чтобы показать, что без верхних жалюзи тепловые потери в четыре-восемь раз больше, чем при их наличии. Такие потери вызываются не встречающей препятствий естественной тягой воздуха через трубный пучок. В таких условиях разумно будет принимать скорость воздуха на лицевой поверхности трубного пучка, равной 50 футам/мин. Геометрия аппарата с воздушным охлаждением допускается такой же, как и в примере
C.12.1.3: полностью закрытый аппарат с воздушным охлаждением имеет ширину 14 футов, длину 36 футов и высоту 8 футов. Допускается также, что воздух нагревается с 0 °F до 100 °F.
Тепловые потери вычисляют следующим образом. Потери теплого воздуха при прохождении через трубный пучок составляют:

= (3600)(50/60)(0,0709)[(14)(36)] = 107200 фунтов/ч.
Это приводит к следующим тепловым потерям:

= (107200)(0,24)(100 - 0) = 2572800 БТЕ/ч.
Для других конструкций, анализ которых может потребоваться, рекомендуется применять принципы, использованные в этих примерах.
C.12.2. Пример расчета тепловых потерь (единицы СИ)
C.12.2.1. Общие сведения
В примерах, приведенных в этом разделе, необходимо устанавливать перепад температур между окружающим воздухом и воздухом внутри аппарата. В расчете для определения минимального количества подводимого тепла, которое требуется от вспомогательного нагревательного змеевика, температурой воздуха, заключенного в объеме, окружающем технологический змеевик, должна быть температура, до которой желательно нагреть технологический трубный пучок.
Внутри нагреваемого объема воздух вверху будет горячее, чем воздух внизу. Значения температуры внутреннего воздуха как для верха, так и для низа объема являются допущенными. Это не рекомендованные температуры воздуха, а просто взятые в качестве допущения для иллюстрации процедуры расчетов.
Обратите внимание, что здесь допускается, что площадь жалюзи такая же, как и лицевая площадь трубного пучка, - это не всегда бывает так.
C.12.2.2. Номенклатура
C.12.2.2.1. Обозначения

- площадь утечки жалюзи, м2. (В приводимых ниже расчетах допускается, что

составляет 2% лицевой площади трубного пучка.);

- средняя удельная теплоемкость в кДж/(кг x К) (Для воздуха берется значение 1,005);

- давление, стимулирующее утечку, в футах столба среды;
g - ускорение силы тяжести, равное 9,807 м/с2;
h - высота столба горячего воздуха, м;
K - локальный коэффициент теплопередачи, Вт/(м2 x К);

- тепловые потери в единицу времени, Вт;
T - температура, °C;
U - коэффициент теплового пропускания, Вт/(м2 x К);
v - скорость, м/с;

- расход в единицу времени, кг/ч;

- плотность воздуха, кг/м3.
C.12.2.2.2. Подстрочные индексы
o - относится к условиям снаружи теплообменника с воздушным охлаждением;
i - относится к условиям внутри теплообменника с воздушным охлаждением.
C.12.2.3. Утечка через жалюзи
C.12.2.3.1. Воздух с температурой выше, чем у окружающего воздуха, находящийся в негерметичном кожухе, стремится подниматься внутри кожуха и оказывает давление на верхнюю поверхность. Если верхняя поверхность состоит из не закрытых герметично лопаток жалюзи, то это вызывает утечку. Давление, стимулирующее утечку, можно выразить следующим образом:

. (C.16)
Скорость протекания через области утечки (при допущении потери в 1,5 скоростных напора) составляет:

. (C.17)
Расход, с которым теплый воздух утекает через жалюзи, равен:

. (C.18)
Интенсивность тепловых потерь вследствие утечки через жалюзи равна:

. (C.19)
Пример расчета тепловых потерь вследствие утечки через жалюзи представлен в C.12.2.3.2.
C.12.2.3.2. Допускаем следующие условия: полностью заключенный в кожух аппарат с воздушным охлаждением имеет ширину 4,27 м, длину 10,97 м, высоту 2,44 м. Температура внутреннего воздуха

равна 37,78 °C, а температура наружного воздуха

равна минус 17,78 °C. Если допустить, что действуют законы идеального газа, плотность воздуха можно определять из уравнения:

, (C.20)
где M - молекулярный вес воздуха, равный 28,96;
p - абсолютное давление, кПа;
R - газовая постоянная, равная 8,31 Дж/моль x К;
T - температура наружного воздуха, К.
Следовательно, плотность наружного воздуха составляет:

= [(28,96)(101,33)]/[(8,31)(-17,78 + 273,15)] =
= 1,383 кг/м3.
Плотность внутреннего воздуха составляет:

= [(28,96)(101,33)]/[(8,31)(37,78 + 273,15)] =
= 1,136 кг/м3.
Давление, стимулирующее утечку через жалюзи, определяют с помощью
уравнения (C.16):

= [2,44(1,383 - 1,136)]/1,136 =
= 0,531 метра воздушного столба.
Скорость протекания через площадь утечки жалюзи, вытекающую из этого давления, вычисляют с помощью
уравнения (C.17):

= 2,63 м/с.

= (3600)(2,63)(1,136)[(0,02)(4,27)(10,97)] = 10076 кг/ч.
Интенсивность тепловых потерь вследствие утечки через жалюзи определяют с помощью
уравнения (C.19):

= (10076)[(1,005)(100/3600)][37,78 - (-17,78)] =
= 156284 Вт.
C.12.2.4. Тепловые потери через поверхности
C.12.2.4.1. Теплота, теряемая вследствие конвекции от внешних поверхностей замкнутого объема, является функцией перепада температур, скорости ветра и площади поверхности. Для скоростей ниже 4,88 м/с рекомендуется следующее уравнение
[13] для определения коэффициента теплопередачи K для воздушного потока, параллельного плоским поверхностям:
K = 7,88 + 0,21v. (C.21)
Примечание. Это уравнение выведено для вертикальных поверхностей; однако для простоты его используют здесь для всех поверхностей, поскольку большинство из них вертикальны.
Для скоростей не менее 4,88 м/с рекомендуется следующее уравнение:

. (C.22)
Образец расчета тепловых потерь за счет конвекции для аппарата с воздушным охлаждением представлен в C.12.2.4.2.
C.12.2.4.2. Допускаем следующие условия: полностью заключенный в кожух аппарат с воздушным охлаждением имеет ширину 5,49 м, длину 10,97 м, высоту 4,88 м (от уровня основания до верха жалюзи). Температура внутреннего воздуха изменяется линейно от 37,78 °C вверху до 10,0 °C внизу. Температура наружного воздуха равна минус 17,78 °C. Скорость внутреннего воздуха - 0,61 м/с. Скорость ветра снаружи - 9,14 м/с.
Коэффициент теплового пропускания U вычисляют следующим образом:

= 7,88 + (0,21)(0,61) = 8,01 Вт/м2 x К.

= 40,26 Вт/м2 x К.

= 1/[1/(8,01) + (1/40,26)] =
= 6,68 Вт/м2 x К.
Полную интенсивность тепловых потерь через поверхность определяют следующим образом:

= 6,68([(5,49)(10,97)][37,78 - (-17,78)] +
+ [(4,88) x (5,49 + 5,49 + 10,97 + 10,97)] x
x [(37,78 + 10)/2 - (-17,78)]) = 67000 Вт.
C.12.2.5. Расчет полных тепловых потерь
C.12.2.5.1. Нагнетательная тяга с внешней рециркуляцией
Допускаем, что кожух имеет ширину 5,49 м, длину 10,97 м и высоту 5,49 м. Размеры верхних жалюзи 4,27 x 10,97 м. Жалюзи входного воздуха расположены на боковых сторонах внизу. Между нагревательным змеевиком и верхними жалюзи имеется столб горячего воздуха высотой 2,74 м. Допускаем, что температура наружного воздуха равна минус 17,78 °C, а температура внутреннего воздуха изменяется линейно от 37,78 °C над нагревательным змеевиком до 10,0 °C в низу кожуха.
Тепловые потери через верхние жалюзи вычисляют следующим образом:

= 1,383 кг/м3,

= 1,136 кг/м3.
Давление, стимулирующее утечку и возникающее вследствие столба горячего воздуха над нагревательным змеевиком, определяют следующим образом:

= [2,74(1,383 - 1,136)]/1,136 =
= 0,596 метра воздушного столба.
Плотность воздуха при средней температуре под нагревательным змеевиком составляет:

= [(28,96)(101,33)]/((37,78 + 10,0)/2 + 273,15]) =
= 1,189 кг/м3.
Стимулирующее утечку давление ниже нагревательного змеевика определяют следующим образом:

= [2,74(1,383 - 1,189)]/1,189 =
= 0,447 метра воздушного столба.
Полное стимулирующее утечку давление является суммой давлений выше и ниже нагревательного змеевика:

= 0,596 + 0,447 = 1,043 метра воздушного столба.
Этот перепад давлений, однако, не ограничивает подачу воздуха, входящего в аппарат. Поскольку весь аппарат заключен в кожух, поступающий воздух должен проходить через входные жалюзи. Количество входящего воздуха должно равняться количеству выходящего воздуха. Можно допустить, что эффективное стимулирующее утечку давление

будет поровну поделено между входными и выходными жалюзи. Следовательно:

= 1,043/2 = 0,522 метра воздушного столба.
Скорость протекания через площадь утечки жалюзи составляет:

= 2,61 м/с.
Тогда интенсивность тепловых потерь вследствие утечки через жалюзи будет:

= [(3600)(2,61)(1,136)][(0,02)(4,27)(10,97)] x
x [(1,005)(1000/3600)][37,78 - (-17,78)] = 155100 Вт.
Коэффициент теплового пропускания U равен 6,68 Вт/мт2 x К. Тепловые потери через поверхности составляют:

= 6,68(2,74)(5,49 + 5,49 + 10,97)[37,78 -
- (-17,78)] + 6,68(2,74)(5,49 + 5,49 + 10,97 + 10,97) x
x [(37,78 + 10,0)/2 - (-17,78)] + 6,68[(5,49)(10,97)] x
x [37,78 - (-17,78)] = 80900 Вт.
C.12.2.5.2. Нагнетательная тяга без жалюзи
Этот случай рассматривается для того, чтобы показать, что без верхних жалюзи тепловые потери в четыре-восемь раз больше, чем при их наличии. Такие потери вызываются не встречающей препятствий естественной тягой воздуха через трубный пучок. В таких условиях разумно будет принимать скорость воздуха на лицевой поверхности трубного пучка, равной 15,24 м/мин. Геометрия аппарата с воздушным охлаждением допускается такой же, как и в примере
C.2.3: полностью закрытый аппарат с воздушным охлаждением имеет ширину 4,27 м, 10,97 м и высоту 2,44 м. Допускается также, что воздух нагревается с минус 17,78 °C до плюс 37,78 °C.
Тепловые потери рассчитывают следующим образом:
Интенсивность потерь теплого воздуха при прохождении через трубный пучок составляет:

= (3600)(15,24/60)(1,136)[(4,27)(10,97)] =
= 48700 кг/ч.
Это приводит к следующим тепловым потерям:

= (48700)[(1,005)(1000/3600)][(37,78 - (-17,78)] =
= 754700 Вт.
Для других конструкций, анализ которых может потребоваться, рекомендуется применять принципы, использованные в этих примерах.
(справочное)
СВЕДЕНИЯ О СООТВЕТСТВИИ НАЦИОНАЛЬНЫХ СТАНДАРТОВ
РОССИЙСКОЙ ФЕДЕРАЦИИ ССЫЛОЧНЫМ МЕЖДУНАРОДНЫМ СТАНДАРТАМ
Таблица D.1
┌──────────────┬────────────────────────┬────────────────────────┐
│ Обозначение │Наименование ссылочного │ Обозначение │
│ ссылочного │международного стандарта│ и наименование │
│международного│ │ соответствующего │
│ стандарта │ │национального стандарта │
├──────────────┼────────────────────────┼────────────────────────┤
ИС МЕГАНОРМ: примечание.
Приказом Росстандарта от 13.12.2011 N 817-ст ГОСТ 18854-94
признавался утрачивающим силу на территории Российской Федерации
с 1 января 2013 года в связи с введением в действие
ГОСТ Р 54660-2011. Однако, Приказом Росстандарта от 18.07.2012
N 193-ст приостановлено введение в действие с 1 января 2013 года
ГОСТ Р 54660-2011 до разработки межгосударственного стандарта
взамен ГОСТ 18854-94.
│ ИСО 76 │ Подшипники качения - │ ГОСТ 18854-94 │
│ │Номинальные статические │(ИСО 76-87). Подшипники │
│ │нагрузки │качения. Статическая │
│ │ │грузоподъемность │
├──────────────┼────────────────────────┼────────────────────────┤
│ ИСО 281 │ Подшипники качения - │ ГОСТ 18855-94 │
│ │Номинальные динамические│(ИСО 281-89). Подшипники│
│ │нагрузки и номинальный │качения. Динамическая │
│ │срок службы │расчетная │
│ │ │грузоподъемность │
│ │ │и расчетный ресурс │
│ │ │(долговечность) │
├──────────────┼────────────────────────┼────────────────────────┤
│части) │и посадок ISO │(ИСО 2768-1-89). │
│ │ │Основные нормы │
│ │ │взаимозаменяемости. │
│ │ │Общие допуски. │
│ │ │Предельные отклонения │
│ │ │линейных и угловых │
│ │ │размеров с неуказанными │
│ │ │допусками │
├──────────────┼────────────────────────┼────────────────────────┤
│ │Клиновидные ремни, ремни│(ИСО 1081-95). Ремни │
│ │с клиновидными ребрами │приводные клиновые │
│ │и соответствующие шкивы │нормальных сечений. │
│ │с канавками - Словарь │Технические условия │
├──────────────┼────────────────────────┼────────────────────────┤
│ │полученные методом │система защиты от │
│ │погружения в расплав, на│коррозии и старения │
│ │изготовленных железных и│материалов и изделий. │
│ │стальных изделиях - │Покрытия цинковые │
│ │Технические условия и │горячие. Общие │
│ │методы испытаний │требования и методы │
│ │ │контроля │
├──────────────┼────────────────────────┼────────────────────────┤
│ ИСО 2491 │ Тонкие параллельные │ ГОСТ 29175-91 │
│ │шпонки и соответствующие│(ИСО 2491-74). Основные │
│ │шпоночные канавки │нормы взаимозаменяемос- │
│ │(размеры в миллиметрах) │ти. Шпонки призматичес- │
│ │ │кие низкие и шпоночные │
│ │ │пазы. Размеры и допуски │
├──────────────┼────────────────────────┼────────────────────────┤
│ │уровней мощности звука │(ИСО 3744-94). Шум │
│ │от источников шума с │машин. Определение уров-│
│ │использованием звукового│ней звуковой мощности │
│ │давления - Технический │источников шума по │
│ │метод определения в │звуковому давлению. │
│ │свободном поле над │Технический метод в │
│ │отражающей плоскостью │существенно свободном │
│ │ │звуковом поле над звуко-│
│ │ │отражающей плоскостью │
├──────────────┼────────────────────────┼────────────────────────┤
│ │Классические и узкие │(ИСО 1081-80, │
│ │клиновидные ремни - │ИСО 4183-80, │
│ │Шкивы с канавками │ИСО 4184-80). Ремни │
│ │(система, основанная │приводные клиновые нор- │
│ │на ширине базы отсчета) │мальных сечений. Техни- │
│ │ │ческие условия │
│ │ │ ГОСТ Р 50641-94 │
│ │ │(ИСО 4183-89). Шкивы с │
│ │ │канавками для обычных и │
│ │ │узких клиновых ремней. │
│ │ │Система, основанная на │
│ │ │исходной ширине │
├──────────────┼────────────────────────┼────────────────────────┤
│ │Классические и узкие │(ИСО 1081-80, │
│ │клиновидные ремни - │ИСО 4183-80, │
│ │Длины в системе отсчета │ИСО 4184-80). Ремни │
│ │ │приводные клиновые │
│ │ │нормальных сечений. │
│ │ │Технические условия │
├──────────────┼────────────────────────┼────────────────────────┤
│ ИСО 5287 │ Приводы с узкими │
<*> │
│ │клиновидными ремнями для│ │
│ │автомобильной │ │
│ │промышленности - │ │
│ │Испытание на усталость │ │
├──────────────┼────────────────────────┼────────────────────────┤
│ ИСО 5290 │ Ременные приводы - │
<*> │
│ │Шкивы с канавками для │ │
│ │соединенных узких │ │
│ │клиновидных ремней - │ │
│ │Сечения канавок 9J, 15J,│ │
│ │20J и 25J (эффективная │ │
│ │система) │ │
├──────────────┼────────────────────────┼────────────────────────┤
│ │поверхностей перед │система защиты от │
│ │нанесением красок и │коррозии и старения │
│ │родственных продуктов - │материалов и изделий. │
│ │Визуальная оценка │Покрытия лакокрасочные. │
│ │чистоты поверхности - │Подготовка металлических│
│ │Часть 1: Степени │поверхностей │
│ │коррозии и степени │к окрашиванию │
│ │подготовки стальных │ │
│ │поверхностей без │ │
│ │покрытия и стальных │ │
│ │поверхностей после │ │
│ │полного удаления прежних│ │
│ │покрытий │ │
├──────────────┼────────────────────────┼────────────────────────┤
│ ИСО 9563 │ Ременные приводы - │
<*> │
│ │Электропроводность │ │
│ │антистатических │ │
│ │бесконечных синхронных │ │
│ │ремней - Характеристики │ │
│ │и метод испытаний │ │
├──────────────┼────────────────────────┼────────────────────────┤
│ ИСО 10436
<*>│ Нефтяная промышленность│ ГОСТ 4.424-86. СПКП. │
│ │и промышленность │Турбины паровые │
│ │природного газа - │стационарные. │
│ │Паровые турбины общего │Номенклатура показателей│
│ │назначения для │ ГОСТ 20689-80. Турбины │
│ │обслуживания │паровые стационарные для│
│ │нефтеочистительных │привода компрессоров │
│ │установок │и нагнетателей. Типы, │
│ │ │основные параметры │
│ │ │и общие технические │
│ │ │требования │
├──────────────┼────────────────────────┼────────────────────────┤
│ AGMA 6001
<1>│ Проектирование и выбор │
<*> │
│ │элементов для закрытых │ │
│ │зубчатых передач │ │
├──────────────┼────────────────────────┼────────────────────────┤
│ AGMA 6010-E │ Практический метод │
<*> │
│ │создания устройств │ │
│ │повышения или понижения │ │
│ │скорости с использовани-│ │
│ │ем прямозубых цилиндри- │ │
│ │ческих, геликоидальных, │ │
│ │шевронных и спиральнозу-│ │
│ │бых конических зубчатых │ │
│ │колес │ │
├──────────────┼────────────────────────┼────────────────────────┤
│ ICBO
<2> │ Единый строительный │
<*> │
│ │кодекс │ │
├──────────────┴────────────────────────┴────────────────────────┤
│ <*> Соответствующий национальный стандарт отсутствует. До│
│его утверждения рекомендуется использовать перевод на русский│
│язык данного международного стандарта. Перевод данного│
│международного стандарта находится в Федеральном информационном│
│фонде технических регламентов и стандартов. │
└────────────────────────────────────────────────────────────────┘
--------------------------------
<1> Американская ассоциация производителей зубчатых передач, 1500 King Street, Suite 201, Alexandria, VA 22314, USA.
<2> Международная конференция должностных лиц, занимающихся строительством, 5360 South Workman Mill Road, Whittier, CA 90601, USA.
[1] ASME VIII. ASME Boiler and Pressure Vessel Code, Section VIII, Rules for construction of pressure vessels, Division 1
[2] AISC MO11. Manual of steel construction - Specification for the design, fabrication and erection of structural steel for buildings
[3] AISC S302. Code of standard practice for steel buildings and bridges. American Institute of Steel Construction, 400N, Michigan Avenue, Chicago, IL 60611, USA
[4] ASME B36.10M. Welded and seamless wrought steel pipe
[5] ASME B16.11. Forged fittings, socket-welding and threaded
[6] ASME B1.20.1. Pipe threads, general purpose (inch)
[7] AGMA 6001 <*>. Проектирование и выбор элементов для закрытых зубчатых передач
[8] AGMA 6010. Практический метод создания устройств повышения или понижения скорости с использованием прямозубых цилиндрических, геликоидальных, шевронных и спиральнозубых конических зубчатых колес
[9] ICBO <**>. Единый строительный кодекс
--------------------------------
<*> Американская ассоциация производителей зубчатых передач, 1500 King Street, Suite 201, Alexandria, VA 22314, USA.
<**> Международная конференция должностных лиц, занимающихся строительством, 5360 South Workman Mill Road, Whittier, CA 90601, USA.
[10] ASME II. ASME Boiler and Pressure Vessel Code, Section II, Materials
[11] ASTM D 97. Test methods for pour point of petroleum oils
[12] Reid, E.B., Allen, H.I., Estimating Pour Points of Petroleum Distillate Blends, Petroleum Refiner, 1951, 30, No. 5, pp. 93 - 95
[13] Index Predicts Cloud, Pour, and Flash Points of Distillate Fuel Blends, Oil and Gas Journal, November, 9, 1970, 68, No. 45, pp. 66 - 69
[14] Nelson, W.L., Is There a Practical Pour-Point Correlation? Oil and Gas Journal, May, 14,1973, 71, No. 20, p. 108
[15] Phase Equilibria in Systems Containing Water, Chapter 9, Technical Data Book-Petroleum Refining, 4th edn., American Petroleum Institute, Washington, D.C., 1983, pp. 9-23 - 9-43
[16] McAdams, W.H., Heat Transmission, 3rd edn., McGraw-Hill, New York, 1954, pp. 268 - 271.