Главная // Актуальные документы // ГОСТ Р (Государственный стандарт)СПРАВКА
Источник публикации
М.: ИПК Издательство стандартов, 2004
Примечание к документу
Утратил силу с 1 января 2013 года в связи с изданием
Приказа Росстандарта от 13.12.2011 N 1060-ст. Взамен введен в действие
ГОСТ 8.600-2011.
С 1 июля 2003 года до вступления в силу технических регламентов акты федеральных органов исполнительной власти в сфере технического регулирования носят рекомендательный характер и подлежат обязательному исполнению только в части, соответствующей целям, указанным в
пункте 1 статьи 46 Федерального закона от 27.12.2002 N 184-ФЗ.
Введен в действие с 1 января 1999 года.
Взамен Инструкции 36-55.
Название документа
"ГОСТ Р 8.569-98. Государственный стандарт Российской Федерации. Государственная система обеспечения единства измерений. Автоцистерны для жидких нефтепродуктов. Методика поверки"
(принят и введен в действие Постановлением Госстандарта РФ от 23.07.1998 N 299)
(ред. от 01.10.2000)
"ГОСТ Р 8.569-98. Государственный стандарт Российской Федерации. Государственная система обеспечения единства измерений. Автоцистерны для жидких нефтепродуктов. Методика поверки"
(принят и введен в действие Постановлением Госстандарта РФ от 23.07.1998 N 299)
(ред. от 01.10.2000)
Принят и введен в действие
Постановлением Госстандарта РФ
от 23 июля 1998 г. N 299
ГОСУДАРСТВЕННЫЙ СТАНДАРТ РОССИЙСКОЙ ФЕДЕРАЦИИ
ГОСУДАРСТВЕННАЯ СИСТЕМА ОБЕСПЕЧЕНИЯ ЕДИНСТВА ИЗМЕРЕНИЙ
АВТОЦИСТЕРНЫ ДЛЯ ЖИДКИХ НЕФТЕПРОДУКТОВ
МЕТОДИКА ПОВЕРКИ
State system for ensuring the uniformity
of measurements. Vehicle tanks for oil product liquids.
Methods of verification
ГОСТ Р 8.569-98
| | Список изменяющих документов (в ред. Изменения N 1, принятого в октябре 2000 г.) | |
Группа Т88.3
Дата введения
1 января 1999 года
1. Разработан Государственным научным метрологическим центром (ГНМЦ) - Всероссийским научно-исследовательским институтом расходометрии (ВНИИР).
2. Внесен Управлением метрологии Госстандарта России.
3. Принят и введен в действие Постановлением Госстандарта России от 23 июля 1998 г. N 299.
4. Взамен Инструкции 36-55.
5. Издание (февраль 2004 г.) с Изменением N 1, принятым в октябре 2000 г. (ИУС 12-2000).
Настоящий стандарт распространяется на автоцистерны, прицепы-цистерны и полуприцепы-цистерны по
ГОСТ Р 50913 для жидких нефтепродуктов (бензин, топливо для реактивных двигателей, дизельное топливо, моторное масло), являющиеся транспортными мерами полной вместимости (далее - ТМ) и служащие для измерения объема нефтепродуктов с погрешностью, не превышающей значения, указанного в эксплуатационной документации на ТМ, и устанавливает методику их поверки.
(Измененная редакция, Изм. N 1).
В настоящем стандарте использованы ссылки на следующие стандарты:
ГОСТ 8.400-80. Государственная система обеспечения единства измерений. Мерники металлические образцовые. Методика поверки
ГОСТ 12.0.004-90. Система стандартов безопасности труда. Организация обучения безопасности труда. Общие положения
ГОСТ 12.1.005-88. Система стандартов безопасности труда. Общие санитарно-гигиенические требования к воздуху рабочей зоны
ГОСТ 12.4.099-80. Комбинезоны женские для защиты от нетоксичной пыли, механических воздействий и общих производственных загрязнений. Технические условия
ГОСТ 12.4.100-80. Комбинезоны мужские для защиты от нетоксичной пыли, механических воздействий и общих производственных загрязнений. Технические условия
ГОСТ 1770-74. Посуда мерная лабораторная стеклянная. Цилиндры, мензурки, колбы, пробирки. Общие технические условия
ГОСТ 9392-89. Уровни рамные и брусковые. Технические условия
ГОСТ 13844-68. Мерники металлические технические. Методы и средства поверки
ГОСТ 25570-82. Крышки люков цистерн для нефтепродуктов. Типы, основные параметры и размеры
ГОСТ 28066-89. Счетчики жидкости камерные ГСП. Общие технические условия
ГОСТ 28498-90. Термометры жидкостные стеклянные. Общие технические требования. Методы испытаний
ГОСТ 29329-92. Весы для статического взвешивания. Общие технические требования
ГОСТ Р 50913-96. Автомобильные транспортные средства для транспортирования и заправки нефтепродуктов. Типы, параметры и общие технические требования
ГОСТ Р 51232-98. Вода питьевая. Общие требования к организации и методам контроля качества
| | ИС МЕГАНОРМ: примечание. Взамен ОСТ 37.001.269-87 Приказом Минтранса России от 28.02.1996 N 2 введен в действие ОСТ 37.001.269-96. | |
ОСТ 37.001.269-87. Транспортные средства. Маркировка.
В настоящем стандарте применены следующие термины с соответствующими определениями.
3.1. Вместимость ТМ - внутренний объем ТМ, который может быть наполнен нефтепродуктом до уровня, соответствующего указателю уровня налива, устроенному в горловине ТМ.
3.2. Номинальная вместимость ТМ - вместимость ТМ, установленная при ее проектировании нормативными документами для ТМ данного типа и указанная на маркировочной табличке ТМ в соответствии с
ОСТ 37.001.269.
3.1, 3.2. (Измененная редакция, Изм. N 1).
3.3. Действительная вместимость ТМ, установленная при поверке, - вместимость ТМ, установленная по результатам первичной или периодической поверки.
3.4. Действительная вместимость ТМ, указанная на маркировочной табличке ТМ, - вместимость ТМ, установленная по результатам первичной или периодической поверки и указанная в свидетельстве о поверке и на маркировочной табличке ТМ по
ГОСТ Р 50913 (табличке вместимости, укрепленной на горловине ТМ, - для ТМ, находящихся в эксплуатации).
3.5. Объемный метод измерения вместимости ТМ - метод, основанный на результатах измерения объема поверочной жидкости с применением мер вместимости (мерников) или счетчиков жидкости.
3.6. Поверочная жидкость - жидкость, применяемая при поверке ТМ.
3.7. Массовый метод измерения вместимости ТМ взвешиванием ТМ на весах - метод, основанный на результатах взвешивания на весах ТМ, наполненной поверочной жидкостью до указателя уровня налива, и ненаполненной ТМ.
3.8. Массовый метод измерения вместимости ТМ взвешиванием вспомогательной тары при сливе поверочной жидкости из ТМ во вспомогательную тару - метод, основанный на результатах взвешивания вспомогательной тары с поверочной жидкостью, слитой из ТМ, наполненной поверочной жидкостью до указателя уровня налива, во вспомогательную тару отдельными дозами, и ненаполненной вспомогательной тары.
3.9. Массовый метод измерения вместимости ТМ взвешиванием вспомогательной тары при сливе поверочной жидкости из вспомогательной тары в ТМ - метод, основанный на результатах взвешивания вспомогательной тары с поверочной жидкостью, наливаемой после взвешивания в ТМ отдельными дозами до указателя уровня налива, и ненаполненной вспомогательной тары.
3.10. Рабочая зона - пространство, ограниченное по высоте 2 м над уровнем пола или площадки, на которой находятся места постоянного или непостоянного (временного) пребывания поверителей при поверке ТМ.
(Измененная редакция, Изм. N 1).
3.11. Относительная погрешность ТМ - погрешность ТМ, выраженная отношением абсолютной разности между значением действительной вместимости ТМ, установленным при поверке, и значением действительной вместимости ТМ, указанным в свидетельстве о поверке и на маркировочной табличке ТМ, умноженным на 100, к значению действительной вместимости ТМ, установленному при поверке.
4. Требования к нормам погрешности измерений,
безопасности и к квалификации поверителей
4.1. Требования к нормам погрешности измерений
4.1.1. При поверке ТМ определяют ее действительную вместимость.
4.1.2. Разность между номинальной вместимостью ТМ и ее действительной вместимостью, установленной при поверке, должна находиться в пределах, %:
+/- 3,0 для ТМ номинальной вместимостью до 2 м3;
+/- 2,5 " " " " от 2 до 5 м3;
+/- 2,0 " " " " от 5 до 10 м3;
+/- 1,5 " " " " более 10 м3.
Примечание. При отсутствии данных о номинальной вместимости секции ТМ за номинальную вместимость секции принимают действительную вместимость секции, установленную при первичной поверке ТМ.
4.1.1, 4.1.2. (Измененная редакция, Изм. N 1).
4.1.3. Вместимость ТМ при первичной поверке измеряют два раза. За значение действительной вместимости ТМ принимают среднее арифметическое значение результатов двух измерений, округленное до 1 дм3. При этом расхождение между результатами двух измерений не должно превышать +/- 0,1% номинальной вместимости ТМ.
При невыполнении этого условия проводят третье измерение вместимости ТМ и определяют среднее арифметическое значение результатов двух измерений, разность между которыми не превышает +/- 0,1% номинальной вместимости ТМ.
4.1.4. Вместимость ТМ при периодической поверке измеряют один раз. При этом значение относительной погрешности ТМ должно находиться в пределах +/- 0,4%.
При невыполнении этого требования должно быть определено новое значение действительной вместимости ТМ в соответствии с
4.1.3.
4.1.5. Основные технические и метрологические требования к горловине ТМ приведены в
Приложении А.
4.2. Требования безопасности
4.2.1. К поверке должны быть допущены лица, изучившие описание и инструкции по эксплуатации ТМ, средств измерений, применяемых при поверке ТМ, а также прошедшие обучение и инструктаж по технике безопасности труда в соответствии с
ГОСТ 12.0.004.
4.2.3. Перед началом поверки ТМ необходимо проверить исправность:
- лестниц или подножек и площадок обслуживания;
- заземления ТМ.
4.2.4. Содержание паров нефтепродуктов в воздухе рабочей зоны не должно быть более предельно допускаемой концентрации (ПДК) их по
ГОСТ 12.1.005.
4.3. Требования к квалификации поверителей
4.3.1. Поверку должны проводить органы Государственной метрологической службы или право поверки может быть предоставлено аккредитованным метрологическим службам юридических лиц.
4.3.2. Поверку проводит физическое лицо, аттестованное в качестве поверителя органом Государственной метрологической службы.
(Измененная редакция, Изм. N 1).
5.1. Вместимость ТМ при поверке измеряют объемным или массовым методом.
5.2. При поверке должны быть выполнены операции, указанные в таблице 1.
Таблица 1
┌─────────────────────────────────────────────┬───────────────────────────┐
│ Наименование операции (номер │ Необходимость проведения │
│ пункта настоящего стандарта) │ операции при поверке │
│ ├─────────────┬─────────────┤
│ │ первичной │периодической│
├─────────────────────────────────────────────┼─────────────┼─────────────┤
│ Внешний осмотр
(8.1) │ Да │ Да │
│ Измерение вместимости ТМ объемным методом: │ │ │
│ - с применением мерников
(8.2) │ Да │ Да │
│ - с применением счетчиков жидкости
(8.3) │ Да │ Да │
│ Измерение вместимости ТМ массовым методом: │ │ │
│ - взвешиванием ТМ на весах
(8.4) │ Да │ Да │
│ - взвешиванием вспомогательной тары при │ │ │
│сливе поверочной жидкости из ТМ во │ │ │
│вспомогательную тару
(8.5) │ Да │ Да │
│ - взвешиванием вспомогательной тары при │ │ │
│сливе поверочной жидкости из вспомогательной │ │ │
│тары в ТМ
(8.6) │ Да │ Да │
│ Проверка работоспособности воздухоотводящего│ Да │ Да │
│ Проверка полноты слива жидкости самотеком из│ Да │ Нет │
│ Проверка работоспособности ограничителя │ Да │ Да │
│наполнения ТМ и системы отключения подачи │ │ │
│жидкости ТМ (при наличии)
(8.9) │ │ │
└─────────────────────────────────────────────┴─────────────┴─────────────┘
(Измененная редакция, Изм. N 1).
6.1. Основные средства поверки ТМ следующие.
6.1.1. При измерении вместимости ТМ объемным методом с применением мер вместимости (мерников):
- эталонные мерники 2-го разряда вместимостью 200; 500; 1000; 2000 и 5000 дм3 по ГОСТ 8.400;
- шкальный мерник 1-го класса вместимостью 100 или 200 дм3, ценой деления шкалы 0,5 дм3 по
ГОСТ 13844;
- эталонные стеклянные колбы 2-го разряда, измерительные цилиндры по
ГОСТ 1770.
6.1.2. При измерении вместимости ТМ объемным методом с применением счетчиков жидкости:
- счетчик жидкости (шестеренчатый, лопастной, турбинный и др.) с непосредственным отсчетом объема воды в кубических дециметрах или с импульсным выходом по
ГОСТ 28066. Основная погрешность не более +/- 0,15%;
- манометр, пределы допускаемой погрешности которого не более +/- 0,4%;
- эталонный мерник 2-го разряда вместимостью не менее 500 или 1000 дм3 по ГОСТ 8.400;
- трубопоршневая установка 1-го разряда, основная погрешность которой не более +/- 0,065% по
[1].
Примечания. 1. Эталонный мерник или трубопоршневую установку (далее - ТПУ) применяют для определения расхода поверочной жидкости.
2. Счетчики жидкости перед применением должны быть отградуированы и поверены в соответствии с
[1] или
[6].
6.1.1, 6.1.2. (Измененная редакция, Изм. N 1).
6.1.3. При измерении вместимости ТМ массовым методом:
- весы для статического взвешивания по
ГОСТ 29329, пределы допускаемой погрешности измерения которых составляют не более +/- 0,1% действительного значения измеряемой массы.
6.1.4. Вспомогательные средства поверки и устройства, применяемые при измерении вместимости ТМ:
- термометр ценой деления шкалы не более 0,5 °C и диапазоном измерений температуры 0 - плюс 50 °C по
ГОСТ 28498;
- секундомер 3-го класса ценой деления шкалы 0,2 с по
[2];
- воронка;
- вспомогательная тара;
- поверочная жидкость. В качестве поверочной жидкости применяют воду по
ГОСТ Р 51232;
- микрокалькулятор типа "Электроника";
- ровная горизонтальная площадка (бетонная, деревянная или металлическая) с углом наклона не более 1°;
- ровная наклонная площадка (бетонная, деревянная или металлическая) с углом наклона 3° или подъемные устройства, обеспечивающие угол наклона 3° в обе стороны.
Примечание. Допускается применение переносной наклонной площадки с углом наклона 3°.
(Измененная редакция, Изм. N 1).
6.2. (Исключен, Изм. N 1).
6.3. Средства измерений, применяемые при измерении вместимости ТМ и подлежащие поверке органами Государственной метрологической службы, должны быть поверены этими органами, а средства измерений, не поверяемые ими, должны быть поверены государственными научными метрологическими центрами.
Весы для статического взвешивания, применяемые при измерении вместимости ТМ, следует поверять не реже одного раза в квартал.
6.4. Допускается применение других средств измерений, прошедших поверку в органах Государственной метрологической службы или государственных научных метрологических центрах и удовлетворяющих по точности требованиям настоящего стандарта.
7. Условия поверки и подготовка к ней
7.1. При поверке должны быть соблюдены следующие условия.
7.1.1. Значение температуры поверочной жидкости и окружающей среды - (20 +/- 10) °C.
7.1.2. Значение изменения температуры поверочной жидкости в ТМ и эталонных мерниках во время поверки должно быть не более 2 °C.
7.1.3. Температуру поверочной жидкости измеряют в горловине эталонного мерника и в ТМ на глубине 1/2 высоты ТМ через ее горловину после выдержки термометра на этой глубине и в горловине мерника в течение 1 - 3 мин. При этом показания термометра снимают, удерживая нижнюю часть термометра в поверочной жидкости.
7.1.2, 7.1.3. (Измененная редакция, Изм. 1).
7.1.4. При поверке ТМ с применением счетчика жидкости значение расхода поверочной жидкости должно быть равно значению номинального расхода счетчика, указанному в его паспорте. Допускается отклонение значения расхода поверочной жидкости от значения номинального расхода счетчика не более чем на +/- 2%.
7.1.5. Вместимость ТМ должна быть измерена при поверке с учетом вместимости ее отстойника (при наличии).
(Измененная редакция, Изм. N 1).
7.1.6. Вместимость образцовых мерников должна составлять не менее 1/25 вместимости поверяемой ТМ.
7.1.7. При наличии в ТМ отдельных секций каждую из них поверяют как отдельную меру вместимости.
7.1.8. ТМ при поверке должна быть установлена на ровную горизонтальную площадку с углом наклона не более 1°.
7.2. Перед проведением поверки выполняют следующие подготовительные работы.
7.2.1. Подготовляют ровную горизонтальную площадку (бетонную, деревянную или металлическую) с углом наклона не более 1° и размерами, достаточными для установки ТМ при поверке.
7.2.2. Устанавливают ТМ на горизонтальную площадку по 7.2.1.
7.2.3. Подготовляют ТМ к осмотру ее внутренней поверхности.
7.2.4. Проверяют визуально чистоту внутренней поверхности ТМ, она должна быть чистой, без осадков грязи, остатков нефтепродуктов и масел. В случае необходимости ее промывают поверочной жидкостью (водой).
(Измененная редакция, Изм. N 1).
7.2.5. Подготовляют средства поверки к работе согласно технической документации на них, утвержденной в установленном порядке.
(Измененная редакция, Изм. N 1).
8.1.2. При периодической поверке ТМ, находящейся в эксплуатации, устанавливают:
- наличие маркировочной таблички в соответствии с
3.2 и
3.11, а также места нанесения поверительного клейма;
- отсутствие вмятин и выпучин на стенках и горловине ТМ;
- отсутствие неслитой жидкости и посторонних предметов в ТМ;
- чистоту внутренней поверхности ТМ (визуально);
- исправность резьбовых соединений и уплотнительных прокладок;
- отсутствие повреждений лакокрасочных покрытий.
8.1.3. Проверяют герметичность ТМ.
8.1.3.1. ТМ наполняют поверочной жидкостью до указателя уровня налива и выдерживают в таком состоянии в течение 15 мин.
8.1.3.2. После выполнения операции по 8.1.3.1 визуально осматривают места соединений, уплотнений и наружную поверхность ТМ.
8.1.3.3. ТМ считают герметичной, если при визуальном осмотре не будет обнаружено в местах соединений, уплотнений и на поверхности ТМ наличие течи (каплепадений), влаги.
8.1.3.4. Сливают поверочную жидкость из ТМ (в том числе из ее отстойника) и после слива поверочной жидкости сплошной струей выдерживают краны открытыми в течение 1,5 мин на слив капель со стенок ТМ.
Примечания. 1. Если процесс наполнения ТМ длился более 30 мин, то выдерживать ее с поверочной жидкостью не обязательно.
2. Герметичность ТМ допускается проверять при выполнении операций по
8.2 -
8.6.
3. Если проверку герметичности совмещают с выполнением операций по
8.2 -
8.6, то необходимо смочить внутреннюю поверхность ТМ поверочной жидкостью и слить поверочную жидкость из ТМ в соответствии с
8.1.3.4.
8.2. Измерение вместимости ТМ объемным методом с применением мерников
8.2.1. Вместимость ТМ измеряют с помощью эталонных мерников 2-го разряда в последовательности
(рисунок Б.1):
а) проверяют, закрыты ли сливной кран 6 и кран отстойника 7;
б) при отсутствии патрубка подачи нефтепродукта опускают шланг 4 вовнутрь ТМ;
в) заполняют эталонные мерники (далее - мерники) 2, 3 и шкальный мерник 1 поверочной жидкостью;
г) измеряют температуру поверочной жидкости в мернике 2 и (или) 3 в соответствии с
7.1.3. За начальную температуру поверочной жидкости в ТМ принимают температуру поверочной жидкости в мернике 2 или 3 при наливе в ТМ первой дозы поверочной жидкости;
д) сливают поверочную жидкость из мерников 2 и (или) 3 в ТМ 5;
е) выдерживают открытыми сливные краны мерников 2 и (или) 3 на слив капель в течение 1,5 мин;
ж) операцию по наполнению мерников 2 и (или) 3 поверочной жидкостью и сливу ее в ТМ повторяют до тех пор, пока уровень поверочной жидкости в ТМ (или секции ТМ) не будет близок к указателю уровня налива;
з) выдерживают ТМ с поверочной жидкостью в течение 5 мин;
и) проверяют уровень поверочной жидкости в горловине ТМ. Если уровень поверочной жидкости будет ниже указателя уровня налива, то с помощью шкального мерника (или эталонных стеклянных колб, или измерительных цилиндров) доливают поверочную жидкость до верхней плоскости полки указателя уровня налива в горловине (далее - до указателя уровня налива).
Действительную вместимость ТМ, установленную при поверке

, дм3, вычисляют по формуле

, (1)
где

,

,

,...,

- объемы поверочной жидкости, измеренные с помощью эталонных и шкальных мерников или эталонных колб и измерительных цилиндров, дм3;
к) измеряют температуру поверочной жидкости в ТМ в соответствии с
7.1.3. При этом разность температур поверочной жидкости, измеренных в мерниках 2 и (или) 3 и ТМ, не должна превышать 2 °C;
л) сливают поверочную жидкость из ТМ (в том числе из ее отстойника).
Результаты измерений вместимости ТМ по
8.2.1 (перечисление и) и температуры поверочной жидкости по 8.2.1 (перечисление к) вносят в
протокол (Приложение В).
(Измененная редакция, Изм. N 1).
8.2.2. Значение действительной вместимости ТМ, установленное при поверке по
8.2.1, должно находиться в пределах, указанных в
4.1.2. При этом разность между номинальной и действительной вместимостями ТМ

в процентах номинальной ее вместимости вычисляют по формуле

, (2)
где

- действительная вместимость ТМ, установленная при поверке по
8.2.1, дм3;

- номинальная вместимость ТМ, указанная на маркировочной табличке ТМ по
3.2, дм3.
8.2.3. Относительную погрешность ТМ

, %, вычисляют по формуле

, (3)
где

- действительная вместимость ТМ, указанная на маркировочной табличке ТМ в соответствии с
3.4, дм3;

- действительная вместимость ТМ, установленная при поверке по
8.2.1, дм3.
Полученное значение относительной погрешности ТМ не должно превышать указанного в
4.1.4.
8.2.4. Если эталонные мерники и ТМ изготовлены из разных материалов и температура в ТМ при поверке отличается от температуры 20 °C, то вместимость ТМ, приведенную к вместимости при температуре при 20 °C

, дм3, вычисляют по формуле

, (4)
где

- коэффициент, учитывающий изменение вместимости ТМ в зависимости от температуры и вычисляемый по формуле

; (5)

- коэффициент, учитывающий изменение вместимости эталонных мерников в зависимости от температуры и вычисляемый по формуле

, (6)
где

,

- коэффициенты объемного расширения материалов ТМ и эталонных мерников, 1/°C.
(Измененная редакция, Изм. N 1).
8.2.5. Относительную погрешность ТМ

, %, действительная вместимость которой приведена к вместимости при температуре 20 °C в соответствии с
8.2.4, вычисляют по формуле

. (7)
Полученное значение относительной погрешности ТМ не должно превышать значения, указанного в
4.1.4.
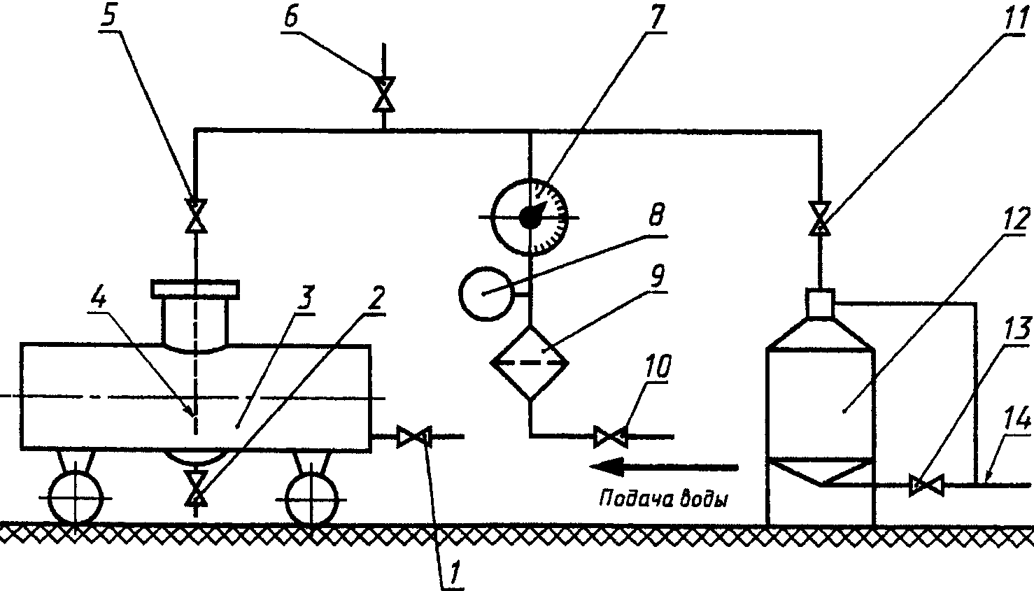
8.3. Измерение вместимости ТМ объемным методом с применением счетчиков жидкости
8.3.1. Вместимость ТМ при ее поверке измеряют с помощью счетчика жидкости
(рисунок Б.2).
8.3.2. Перед поверкой проводят следующие подготовительные работы:
а) проверяют положение кранов 2, 5, 6, 11 и вентиля 10. Они должны быть закрыты;
б) ТМ подготовляют к поверке в соответствии с
7.2, а счетчик жидкости 7 и эталонный мерник 12 - в соответствии с техническими документами на них, утвержденными в установленном порядке;
в) систему измерения наполняют поверочной жидкостью, промывают и испытывают ее на герметичность под рабочим давлением. Контроль за ее наполнением осуществляют с помощью воздушного крана 6, установленного на возвышенном месте системы.
Систему измерения считают герметичной, если при визуальном осмотре не будет обнаружено в местах соединений трубопроводов и шлангов течи (каплепадений);
г) определяют расход поверочной жидкости в соответствии с
Приложением Д.
(Измененная редакция, Изм. N 1).
8.3.3. Вместимость ТМ измеряют в последовательности
(рисунок Б.2):
а) проверяют, закрыты ли кран 1 и кран отстойника 2, предназначенные для слива жидкости из ТМ;
в) записывают показание счетчика жидкости 7

или

;
г) открывают кран 5;
д) наполняют ТМ поверочной жидкостью до указателя уровня налива;
е) закрывают кран 5;
ж) записывают вторично показание счетчика жидкости 7

или

;
з) записывают показание манометра 8

;
и) измеряют температуру поверочной жидкости в ТМ в соответствии с
7.1.3.
Показания счетчика жидкости и манометра в соответствии с 8.3.3 (
перечисления в, ж, з) вносят в
протокол (Приложение Е).
8.3.4. Действительную вместимость ТМ, установленную при поверке

, дм3, вычисляют по формуле

, (8)
или

, (9)
где

- коэффициент преобразования счетчика жидкости, имп./дм3.
(Измененная редакция, Изм. N 1).
8.3.5. Значение действительной вместимости ТМ, вычисленное по
формуле (8) или (9), должно находиться в пределах, указанных в
4.1.2. При этом разность между номинальной и действительной вместимостями ТМ

в процентах номинальной ее вместимости вычисляют по формуле

, (10)
где

- действительная вместимость ТМ, установленная при поверке по
8.3.4, дм3;

- номинальная вместимость ТМ, дм3.
8.3.6. Относительную погрешность ТМ

, %, вычисляют по формуле

, (11)
где

- действительная вместимость ТМ, указанная на маркировочной табличке ТМ.
Полученное значение относительной погрешности ТМ не должно превышать значения, указанного в
4.1.4.
8.3.7. Если температура поверочной жидкости в ТМ отличается от температуры 20 °C, то вместимость ТМ, приведенную к температуре 20 °C

, дм3, вычисляют по формуле

, (12)
где

- коэффициент, учитывающий изменение вместимости ТМ в зависимости от температуры.
8.3.8. Относительную погрешность ТМ

, %, вычисляют по формуле

. (13)
Полученное значение относительной погрешности ТМ не должно превышать значения, указанного в
4.1.4.
8.4. Измерение вместимости ТМ массовым методом - взвешиванием ТМ на весах
8.4.1. Вместимость ТМ измеряют в последовательности:
а) устанавливают весы на горизонтальную площадку, подготовленную в соответствии с
7.2.1;
б) устанавливают ТМ на платформу весов так, чтобы передняя и задняя оси ТМ находились примерно на одинаковом расстоянии от концов платформы;
г) проверяют герметичность ТМ в соответствии с
8.1.3;
д) взвешивают ненаполненную ТМ;
е) наполняют ТМ поверочной жидкостью до указателя уровня налива;
ж) взвешивают ТМ, наполненную поверочной жидкостью;
з) измеряют температуру поверочной жидкости в ТМ в соответствии с
7.1.3;
и) открывают кран 1
(рисунок Б.2), сливают сплошной струей поверочную жидкость из ТМ (в том числе из ее отстойника, открывая кран 2), после чего выдерживают краны открытыми в течение 1,5 мин на слив капель со стенок ТМ;
к) закрывают краны 1 и 2.
Результаты измерений массы ненаполненной и наполненной поверочной жидкостью ТМ и температуры поверочной жидкости в ТМ в соответствии с 8.4.1 (
перечисления д, ж, з) вносят в
протокол (Приложение Ж).
8.4.2. Действительную вместимость ТМ, установленную при поверке

, дм3, вычисляют по формуле

, (14)
где A - коэффициент, учитывающий значение плотности поверочной жидкости в зависимости от температуры. Значения этого коэффициента для поверочной жидкости указаны в
Приложении И;
m - масса ТМ с поверочной жидкостью, кг;

- масса ненаполненной ТМ, кг.
8.4.3. Значение действительной вместимости ТМ, вычисленное по
формуле (14), должно находиться в пределах, указанных в
4.1.2. При этом разность между номинальной и действительной вместимостями ТМ

, %, вычисляют по формуле

. (15)
8.4.4. Относительную погрешность ТМ

, %, вычисляют по формуле

, (16)
где

- действительная вместимость ТМ, указанная на маркировочной табличке ТМ, дм3.
8.4.5. Если температура поверочной жидкости в ТМ отличается от температуры 20 °C, то вместимость ТМ, приведенную к температуре 20°

, дм3, вычисляют по формуле

, (17)
где

- коэффициент, значения которого указаны в
Приложении Г.
8.4.6. Относительную погрешность ТМ

, %, вычисляют по формуле

. (18)
8.4.7. Значение относительной погрешности ТМ, определенное по
формуле (16) или
(18), не должно превышать значения, указанного в
4.1.4.
8.5. Измерение вместимости ТМ массовым методом - взвешиванием вспомогательной тары при сливе поверочной жидкости из ТМ во вспомогательную тару
8.5.1. Вместимость вспомогательной тары, в которую сливают поверочную жидкость из ТМ при поверке, должна быть не менее 1/25 номинальной вместимости ТМ.
8.5.2. Вместимость ТМ измеряют в последовательности
(рисунок К.1):
а) устанавливают ТМ на эстакаду 1, которая должна иметь угол наклона не более 1°;
в) открывают кран 2, наполняют поверочной жидкостью ТМ до указателя уровня налива;
г) подсоединяют шланг 6 к сливному крану 5 и свободный конец шланга опускают во вспомогательную тару 7;
д) проверяют герметичность ТМ в соответствии с
8.1.3;
е) смачивают вспомогательную тару следующим образом: сливают поверочную жидкость из вспомогательной тары сплошной струей, после чего выдерживают кран 9 открытым в течение 1,5 мин на слив капель;
ж) взвешивают ненаполненную вспомогательную тару на весах 8;
з) наполняют ТМ поверочной жидкостью до указателя уровня налива;
и) измеряют температуру поверочной жидкости в ТМ в соответствии с
7.1.3;
к) открывают кран 5, сливают поверочную жидкость из ТМ во вспомогательную тару в количестве, соответствующем верхнему пределу взвешивания весов 8;
л) закрывают кран 5;
м) взвешивают вспомогательную тару, наполненную поверочной жидкостью;
н) сливают поверочную жидкость из вспомогательной тары, открыв кран 9 в трубопроводе 10;
п) закрывают кран 9 и взвешивают ненаполненную вспомогательную тару на весах;
р) открывают кран 5 и сливают вторую дозу поверочной жидкости из ТМ во вспомогательную тару;
с) закрывают кран 5;
т) взвешивают вспомогательную тару, наполненную поверочной жидкостью;
у) сливают поверочную жидкость из вспомогательной тары, открыв кран 9, и смачивают вспомогательную тару в соответствии с
перечислением е. Повторяя операции перечислений п, р, с, т, у, измеряют массу третьей, четвертой и т.д. доз поверочной жидкости до полного опорожнения ТМ и ее отстойника.
Результаты измерений массы ненаполненной и наполненной вспомогательной тары и температуры поверочной жидкости в ТМ в соответствии с 8.5.2 (
перечисления ж,
и,
м,
н, т, у...) вносят в
протокол (Приложение Л).
8.5.3. Действительную вместимость ТМ, установленную при поверке

, дм3, вычисляют по формуле

, (19)
где

- масса вспомогательной тары, наполненной поверочной жидкостью, при i-м измерении, кг;

- масса ненаполненной вспомогательной тары при j-м измерении, кг;
k - число измерений;
8.5.4. Значение действительной вместимости ТМ, вычисленное по
формуле (19), должно находиться в пределах, указанных в
4.1.2. При этом разность между номинальной и действительной вместимостями ТМ

в процентах номинальной ее вместимости вычисляют по формуле

. (20)
8.5.5. Относительную погрешность ТМ

, %, вычисляют по формуле

, (21)
где

- действительная вместимость ТМ, указанная на маркировочной табличке ТМ, дм3.
8.5.6. Если температура поверочной жидкости в ТМ отличается от температуры 20 °C, то вместимость ТМ, приведенную к температуре 20 °C

, дм3, вычисляют по формуле

, (22)
где

- коэффициент, значения которого указаны в
Приложении Г.
8.5.7. Относительную погрешность ТМ

, %, вычисляют по формуле

. (23)
8.5.8. Значения относительной погрешности ТМ, определенные по
формулам (21) и (23), должны удовлетворять требованию
4.1.4.
8.6. Измерение вместимости ТМ массовым методом - взвешиванием вспомогательной тары при сливе поверочной жидкости из вспомогательной тары в ТМ
8.6.1. Вместимость вспомогательной тары должна удовлетворять требованию
8.5.1.
8.6.2. Вместимость ТМ измеряют в последовательности
(рисунок К.2):
а) устанавливают ТМ 8 на горизонтальную площадку и подготовляют ее к поверке в соответствии с
7.2. При этом горловина ТМ должна находиться против сливного крана 6 вспомогательной тары 5;
в) смачивают ТМ и вспомогательную тару:
- открывают краны 3 и 6;
- наполняют поверочной жидкостью ТМ до указателя уровня налива и вспомогательную тару до ее полной вместимости;
- закрывают краны 3 и 6 и проверяют ТМ в соответствии с
8.1.3.1 -
8.1.3.3;
- открывают кран 9, сливают поверочную жидкость из ТМ и вспомогательной тары в трубопровод 10. Сливают поверочную жидкость также из отстойника ТМ, открыв его кран 11;
- выдерживают кран 9 и кран отстойника 11 в открытом положении на слив капель в течение 1,5 мин;
- закрывают краны 6, 9, 11;
г) взвешивают ненаполненную вспомогательную тару;
д) открывают кран 3, наполняют вспомогательную тару поверочной жидкостью в количестве, соответствующем верхнему пределу взвешивания весов 2;
е) закрывают кран 3;
ж) взвешивают вспомогательную тару, наполненную поверочной жидкостью;
з) измеряют температуру поверочной жидкости во вспомогательной таре;
и) открывают кран 6, сливают поверочную жидкость из вспомогательной тары в ТМ, выдерживают кран 6 в открытом положении на слив капель в течение 1,5 мин;
к) закрывают кран 6;
л) выполняя операции перечислений г, д, е, ж, з, и, к, наливают вторую, третью и т.д. дозу поверочной жидкости из вспомогательной тары в ТМ до указателя ее уровня налива;
м) измеряют температуру поверочной жидкости в ТМ.
При этом значение разности температур поверочной жидкости (воды), измеренных во вспомогательной таре (первой дозы) и ТМ, должно быть не более 2 °C;
н) открывают кран 9, сливают поверочную жидкость в трубопровод 10.
Результаты измерений массы ненаполненной и наполненной вспомогательной тары и температуры поверочной жидкости в ТМ и вспомогательной таре в соответствии с 8.6.2 (
перечисления г,
ж,
з,
м) вносят в
протокол (Приложение Л).
8.6.2. Значение вместимости ТМ, вычисленное по
формуле (19), должно находиться в пределах, указанных в
4.1.2, а значение относительной погрешности ТМ, вычисленное по
формуле (21) или
(23), должно удовлетворять требованию
4.1.4.
8.7. Проверка работоспособности воздухоотводящего устройства
Работоспособность воздухоотводящего устройства проверяют в последовательности, приведенной ниже.
8.7.1. Устанавливают ненаполненную ТМ на площадке (или на подъемных устройствах, обеспечивающих угол наклона 3° в обе стороны) с углом наклона 3°. Угол наклона проверяют с помощью уровня по
ГОСТ 9392 или нивелира с рейкой по
ГОСТ 10528.
8.7.2. Наполняют ТМ, находящуюся на площадке под углом 3° по 8.7.1, поверочной жидкостью до указателя уровня налива.
8.7.3. Устанавливают ТМ, наполненную поверочной жидкостью в соответствии с 8.7.2, на горизонтальную площадку по
7.2.1, выдерживают ТМ в течение 5 мин и проверяют уровень поверочной жидкости в горловине ТМ.
Значение изменения уровня поверочной жидкости в горловине ТМ

, мм, не должно превышать результата вычисления по формулам:
а) для горловин цилиндрической формы

; (24)
б) для горловин прямоугольной (квадратной) формы

, (25)
где

- диаметр цилиндрической горловины, мм;

- длина стороны прямоугольной горловины, направленной вдоль продольной оси ТМ, мм.
8.7.4. Совершают автопробег по дороге с плохим покрытием в течение 5 мин или проводят три-четыре резких торможения при скорости ТМ 10 - 15 км/ч в течение 5 мин. Устанавливают ТМ на горизонтальную плоскость с углом наклона не более 1° и выдерживают ТМ в течение 5 мин. Проверяют уровень поверочной жидкости в горловине ТМ. Объем поверочной жидкости, соответствующий снижению ее уровня относительно указателя уровня, должен быть не более 0,1% номинальной вместимости ТМ.
При этом объем поверочной жидкости, доливаемый до указателя уровня, определяют с помощью стеклянных эталонных колб или измерительных цилиндров.
8.7.3, 8.7.4. (Измененная редакция, Изм. N 1).
8.8. Проверка полноты слива жидкости самотеком из ТМ
Полноту слива жидкости самотеком из ТМ проверяют в последовательности, приведенной ниже.
8.8.1. Устанавливают ТМ, наполненную поверочной жидкостью до указателя уровня налива, на горизонтальную площадку с углом наклона не более 1°. Открывают сливной кран 6 (например,
рисунок Б.1) и сливают поверочную жидкость из ТМ, в том числе из ее отстойника, открыв кран отстойника 7.
8.8.2. Закрывают краны 6 и 7.
8.8.3. Устанавливают ТМ на площадке с углом наклона 3° или на подъемных устройствах, обеспечивающих угол наклона 3°.
8.8.4. Открывают краны 6 и 7, сливают остаток поверочной жидкости из ТМ (в том числе из отстойника) и измеряют объем этого остатка.
Значение объема остатка поверочной жидкости, слитого из ТМ

, дм3, не должно превышать результата вычисления по формуле

,
где

- номинальная вместимость ТМ, дм3.
8.9. Проверка работоспособности ограничителя наполнения ТМ и системы отключения подачи жидкости в ТМ (при наличии)
Работоспособность ограничителя наполнения ТМ и системы отключения подачи жидкости в ТМ (секции) при ее наполнении проверяют в последовательности:
- устанавливают ненаполненную ТМ на площадку с углом наклона не более 1°;
- включают в работу систему для автоматической подачи жидкости;
- наполняют ТМ (секции) поверочной жидкостью до уровня, соответствующего действительной вместимости, установленной при поверке.
При достижении уровня, соответствующего действительной вместимости, установленной при поверке, должны сработать ограничитель наполнения ТМ (секции) и система автоматического отключения подачи жидкости в ТМ (секции).
Значение изменения уровня поверочной жидкости (недолива или перелива) относительно указателя уровня налива в горловине ТМ

, мм, не должно превышать результата вычисления по формуле

, (26)
где

- номинальная вместимость ТМ, дм3;

- диаметр горловины ТМ, мм.
8.8.4, 8.9. (Измененная редакция, Изм. N 1).
9. Оформление результатов поверки
9.1. Результаты поверки ТМ оформляют записью в протоколе (
Приложения В,
Е,
Ж,
Л). При этом значение действительной вместимости ТМ, установленное при ее поверке объемным методом, округляют до 1 дм3 и значение массы поверочной жидкости, определенное при поверке ТМ массовым методом, - до 1 кг.
9.2. На ТМ, прошедшую поверку с положительными результатами (при выполнении требований
4.1.2,
4.1.4,
8.7 -
8.9) в соответствии с
[3], выдают свидетельство о поверке (
форма свидетельства о поверке приведена в Приложении М), а также наносят поверительное клеймо в соответствии с
[4] на маркировочной табличке ТМ.
9.3. Если расхождение между вместимостью ТМ, установленной при поверке,
и вместимостью ТМ, указанной в свидетельстве о поверке, не превышает
относительную погрешность ТМ (+/- 0,4%), то значение вместимости, указанное
на маркировочной табличке ТМ и в свидетельстве о поверке, не изменяют. В
этом случае на ранее выданном свидетельстве делают надпись: "Автоцистерна
(прицеп) N ________ поверена ___________________. Вместимость соответствует
число, месяц, год
указанной в свидетельстве о поверке и равна ________ дм3, в том числе (при
необходимости): 1-я секция ________ дм3, 2-я секция _____________ дм3, ...,
n-я секция ____________ дм3 (где n - число секций)", - которую заверяет
руководитель отдела (группы) органа Государственной метрологической службы
или метрологической службы юридического лица, аккредитованной на право
поверки ТМ, и ставят печать, предназначенную для свидетельств.
На маркировочную табличку ТМ наносят новое поверительное клеймо.
9.4. Если при поверке ТМ установлено, что значение действительной вместимости ее отличается от значения действительной вместимости, указанного на маркировочной табличке ТМ и в свидетельстве о поверке, более чем на +/- 0,4%, то обозначение вместимости, нанесенное на маркировочной табличке, удаляют и в соответствии с
4.1.3,
4.1.4 определяют новое значение действительной вместимости ТМ.
На маркировочной табличке набивают новое обозначение действительной вместимости ТМ, ставят новое поверительное клеймо и выдают новое свидетельство о поверке.
9.5. Межповерочный интервал установлен не более двух лет.
(Измененная редакция, Изм. N 1).
(обязательное)
ОСНОВНЫЕ ТЕХНИЧЕСКИЕ И МЕТРОЛОГИЧЕСКИЕ
ТРЕБОВАНИЯ К ГОРЛОВИНЕ ТМ
А.1. В горловине ТМ (рисунок А.1) должен быть установлен указатель уровня налива, изготовленный из стального угольника размерами 50 x 50 мм. К горизонтальной полке угольника, заподлицо с краем полки, должна быть прикреплена накладная алюминиевая пластинка. Угольник должен быть приварен к горловине и скреплен со стенкой горловины с помощью заклепки из цветного металла. Заклепка должна проходить через полку угольника и стенку горловины и быть приспособленной для нанесения поверительного клейма.
1 - верхняя образующая ТМ; 2 - горловина ТМ; 3 - указатель
уровня налива; 4 - колпак горловины; 5 - крышка колпака
Рисунок А.1. Схема горловины ТМ с колпаком
А.2. Значение расстояния по вертикали между верхней образующей ТМ до места установки указателя уровня налива в горловине

(рисунок А.1) должно быть не менее результата вычисления по формуле

, (А.1)
где l - расстояние от угольника до дальнего днища ТМ, мм;
0,0524 - число, полученное из условия наклона ТМ на 3°.
А.3. Определение предельно допускаемых значений диаметра цилиндрической и сторон прямоугольной горловин
(Измененная редакция, Изм. N 1).
А.3.1. Значение диаметра цилиндрической горловины ТМ

, мм, не должно превышать результата вычисления по формуле

, (А.2)
где

- номинальная вместимость ТМ, м3.
А.3.2. Значение длины стороны прямоугольной горловины, направленной вдоль продольной оси ТМ

, мм, не должно превышать результата вычисления по формуле

, (А.2а)
где

- ширина прямоугольной горловины, м;

- номинальная вместимость ТМ, м3.
В формуле (А.2а) значение ширины горловины

задают произвольно, но из условия оптимального соотношения длины и ширины горловины.
А.3.1, А.3.2. (Введены дополнительно, Изм. N 1).
А.4. Высоту части горловины над указателем уровня налива
(рисунок А.1), мм, рассчитывают по формуле

, (А.3)
где

- номинальная вместимость ТМ, м3;
S - площадь поперечного сечения горловины ТМ, мм2.
А.5. В горловине над указателем уровня налива должен быть предусмотрен дополнительный объем, достаточный для того, чтобы нефтепродукт при его расширении вследствие повышения температуры на 20 °C оставался в пределах горловины. Для уменьшения высоты горловины к ней может быть приварен колпак
(рисунок А.1).
Вместо колпака может быть применен расширительный отсек прямоугольного и круглого сечения, смонтированный на верхней части ТМ и соединенный трубами с внутренней полостью горловины выше указателя уровня и сливным патрубком ТМ.
А.6. Суммарная вместимость, включающая в себя вместимости частей горловины над указателем уровня налива и колпака, необходимая для температурного расширения нефтепродуктов в ТМ, должна составлять не менее 2% номинальной вместимости ТМ. что соответствует изменению температуры нефтепродукта на 20 °C.
На основании этого условия определяют:
а) диаметр колпака цилиндрической горловины

, мм, по формуле

; (А.4)
б) площадь поперечного сечения прямоугольного колпака

, мм2, по формуле

, (А.4а)
где

- номинальная вместимость ТМ, м3;

- высота колпака, м. Ее значение задают произвольно, но из условия оптимального соотношения диаметра или площади поперечного сечения колпака от высоты колпака.
Значения диаметров горловины и колпака, вычисляемые по
формулам (А.2) и
(А.4), должны быть выбраны в соответствии с ГОСТ 25570 из ряда: 600; 650; 710; 775; 900; 950; 1000; 1120; 1320; 1400; 1500 мм.
Значение площади горловины, длину и ширину которой определяют по
формуле (А.2а), выбирают из ряда: 282700; 311800; 395900; 471700; 636200; 708800; 785400; 985200; 1368500; 1539400; 1767100 мм2.
А.7. В соответствии с
ГОСТ Р 50913 на уровне указателя уровня налива должно быть расположено смотровое окно для контроля полноты налива нефтепродукта. Высота смотрового окна должна быть в пределах изменения уровня налива. Допускается установка стекла "клинкер" вместо указателя уровня налива в горловине и смотрового окна.
А.8. Требования, изложенные в
А.1 -
А.7, распространяются только на вновь изготовляемые ТМ и не распространяются на ТМ, выпускаемые по сертификату до окончания его срока действия.
А.4 - А.8. (Измененная редакция, Изм. N 1).
А.9. (Исключен, Изм. N 1).
(рекомендуемое)
ИЗМЕРЕНИЕ ВМЕСТИМОСТИ ТМ ОБЪЕМНЫМ МЕТОДОМ
1 - шкальный мерник вместимостью 100 дм3; 2, 3 - эталонные
мерники 2-го разряда вместимостью 200 или 500 дм3;
4 - шланг; 5 - ТМ; 6 - сливной кран; 7 - кран отстойника
Рисунок Б.1. Схема измерения вместимости ТМ
при поверке объемным методом с применением мерников
1, 5, 6, 11, 13 - краны; 2 - кран отстойника;
3 - ТМ; 4 - шланг; 7 - счетчик жидкости;
8 - манометр; 9 - фильтр; 10 - вентиль;
12 - эталонный мерник; 14 - сливной трубопровод
Рисунок Б.2. Схема измерения вместимости ТМ при поверке
объемным методом с применением счетчиков жидкости
Приложение Б. (Измененная редакция, Изм. N 1).
(обязательное)
ФОРМА ПРОТОКОЛА ПОВЕРКИ ТМ С ПРИМЕНЕНИЕМ МЕРНИКОВ
поверки __________________________, изготовленной ________________________,
наименование, номер ТМ дата изготовления,
________________________, принадлежащей __________________________________.
завод-изготовитель
Номер шасси автомобиля ___________________________________. Государственный
номерной знак автомобиля _________________________________________________.
┌───────┬───────────┬───────────┬─────────────────────────┬─────────────┬─────────────┐
│ Дата │Температура│Вместимость│ Относительная │ Заключение │ Номер │
│поверки│ воды в ТМ │ ТМ, дм3 │ погрешность, % │ (годна, │ выданного │
│ │при поверке├───┬───┬───┼────────┬────────────────┤забракована -│свидетельства│
│ │ t, °C │V │V │V │дельта │дельта (дельта )│ указать │ о поверке │
│ │ │ д │ д │ т │ т │ 1 2 │ причину) │ │
│ │ │ 1│ │ 1│ 1│ │ │ │
├───────┼───────────┼───┼───┼───┼────────┼────────────────┼─────────────┼─────────────┤
│ 1 │ 2 │ 3 │ 4 │ 5 │ 6 │ 7 │ 8 │ 9 │
├───────┼───────────┼───┼───┼───┼────────┼────────────────┼─────────────┼─────────────┤
│ │ │ │ │ │ │ │ │ │
├───────┴───────────┴───┴───┴───┴────────┴────────────────┴─────────────┴─────────────┤
│ Примечания. 1. Значение V (графа 3) определяют по
формуле (1). │
│ д │
│ 1 │
│ │
│ т │
│ 1 │
│ │
│ 3. Значение дельта (графа 6) определяют по
формуле (2). │
│ т │
│ 1 │
│ │
│ 4. Значение дельта , дельта (графа 7) определяют по
формулам (3) и │
│ 1 2 │
└─────────────────────────────────────────────────────────────────────────────────────┘
Поверитель __________________________ __________________________
подпись инициалы, фамилия
(справочное)
ЗНАЧЕНИЯ КОЭФФИЦИЕНТОВ

,

,
УЧИТЫВАЮЩИХ ОБЪЕМНЫЕ РАСШИРЕНИЯ ТМ И ЭТАЛОННЫХ
МЕРНИКОВ В ЗАВИСИМОСТИ ОТ ТЕМПЕРАТУРЫ
┌───────────────┬───────────────┬─────────────────────────────────────────┐
│ Температура │ Значение N │ Значение N для эталонных мерников из │
│воды в ТМ t, °C│ т │ о │
│ │для ТМ из стали├─────────────┬─────────────┬─────────────┤
│ │ │ стали │ меди │ алюминия │
├───────────────┼───────────────┼─────────────┼─────────────┼─────────────┤
│ 10 │ 1,0003 │ 0,9997 │ 0,9995 │ 0,9993 │
│ 11 │ 1,0003 │ 0,9997 │ 0,9996 │ 0,9994 │
│ 12 │ 1,0003 │ 0,9997 │ 0,9996 │ 0,9994 │
│ 13 │ 1,0002 │ 0,9998 │ 0,9997 │ 0,9995 │
│ 14 │ 1,0002 │ 0,9998 │ 0,9997 │ 0,9996 │
│ 15 │ 1,0002 │ 0,9998 │ 0,9998 │ 0,9997 │
│ 16 │ 1,0001 │ 0,9999 │ 0,9998 │ 0,9997 │
│ 17 │ 1,0001 │ 0,9999 │ 0,9999 │ 0,9998 │
│ 18 │ 1,0001 │ 0,9999 │ 0,9999 │ 0,9999 │
│ 19 │ 1,0000 │ 1,0000 │ 1,0000 │ 0,9999 │
│ 20 │ 1,0000 │ 1,0000 │ 1,0000 │ 1,0000 │
│ 21 │ 1,0000 │ 1,0000 │ 1,0001 │ 1,0001 │
│ 22 │ 0,9999 │ 1,0001 │ 1,0001 │ 1,0001 │
│ 23 │ 0,9999 │ 1,0001 │ 1,0002 │ 1,0002 │
│ 24 │ 0,9999 │ 1,0001 │ 1,0002 │ 1,0003 │
│ 25 │ 0,9998 │ 1,0002 │ 1,0003 │ 1,0004 │
│ 26 │ 0,9998 │ 1,0002 │ 1,0003 │ 1,0004 │
│ 27 │ 0,9998 │ 1,0002 │ 1,0004 │ 1,0005 │
│ 28 │ 0,9997 │ 1,0003 │ 1,0004 │ 1,0006 │
│ 29 │ 0,9997 │ 1,0003 │ 1,0005 │ 1,0006 │
│ 30 │ 0,9997 │ 1,0003 │ 1,0005 │ 1,0007 │
└───────────────┴───────────────┴─────────────┴─────────────┴─────────────┘
(рекомендуемое)
ОПРЕДЕЛЕНИЕ РАСХОДА ПОВЕРОЧНОЙ ЖИДКОСТИ
Д.1. Объем поверочной жидкости, проходящий через счетчик жидкости при определении ее расхода, может быть измерен эталонным мерником
(рисунок Б.2) или ТПУ (рисунок Д.1).
1 - сливной трубопровод; 2, 6 - краны;
3 - счетчик жидкости; 4, 17 - датчики температуры;
5, 18 - манометры; 7 - расширитель; 8, 20 - пары
сигнализаторов; 9 - нормированный участок ТПУ;
10 - кран-манипулятор; 11 - электропривод; 12 - блок
управления; 13 - пускатель; 14 - пост управления;
15 - вентиль; 16 - фильтр; 19 - тройник
Рисунок Д.1. Схема трубопоршневой установки
- открывают вентиль 10 и краны 11, 13, пропускают поверочную жидкость через эталонный мерник 12 и сливают в трубопровод 14;
- одновременно с помощью секундомера измеряют время, в течение которого стрелка указателя счетчика жидкости сделает не менее одного оборота (ролик счетного механизма счетчика с непосредственным отсчетом объема поверочной жидкости в кубических дециметрах поворачивается на один оборот), или число импульсов, зарегистрированное счетным механизмом, составит не менее 1000 импульсов (для счетчиков жидкости с импульсным выходом);
- выдерживают открытым кран 13 на слив капель в течение 1,5 мин и после этого кран 13 закрывают.
- ТПУ включают в работу, настраивают и проверяют на герметичность в соответствии с техническим описанием и инструкцией по эксплуатации на нее;
- открывают кран 2 и вентиль 15 и пропускают поверочную жидкость через ТПУ и счетчик жидкости 3 в сливной трубопровод 1;
- одновременно с помощью секундомера измеряют время, в течение которого число импульсов, зарегистрированное счетным механизмом счетчика жидкости, составит не менее 1000 импульсов;
- закрывают кран 2 и вентиль 15.
Д.4. Расход поверочной жидкости Q, дм3/с, вычисляют по формулам:
а) в случае применения счетчика жидкости, выходным сигналом которого является объем поверочной жидкости,

; (Д.1)
б) в случае применения счетчика жидкости с импульсным выходом

, (Д.2)
где

,

- показания счетчика жидкости, соответствующие концу отсчета времени, дм3, имп.;

,

- показания счетчика жидкости, соответствующие началу отсчета времени, дм3, имп.;
t - время, определенное по секундомеру, с;

- коэффициент преобразования счетчика жидкости. Его значение должно быть указано на шкале счетного механизма конкретного счетчика жидкости.
При этом значение расхода поверочной жидкости, определенное по
формуле (Д.1) или
(Д.2), должно удовлетворять условию
7.1.4. Если это условие не выполнено, то с помощью вентиля 10
(рисунок Б.2) или вентиля 15
(рисунок Д.1) изменяют значение расхода поверочной жидкости и, повторяя операции, изложенные выше, устанавливают требуемое значение расхода.
(обязательное)
ФОРМА ПРОТОКОЛА ПОВЕРКИ ТМ С ПРИМЕНЕНИЕМ СЧЕТЧИКОВ ЖИДКОСТИ
поверки __________________________, изготовленной ________________________,
наименование, номер ТМ дата изготовления,
________________________, принадлежащей __________________________________.
завод-изготовитель
Номер шасси автомобиля ___________________________________. Государственный
номерной знак автомобиля _________________________________________________.
┌───────┬─────────────────────────────┬──────────────────────────────────┬─────────────┬─────────────┐
│ Дата │ Результат измерения │ Результат расчета │ Заключение │ Номер │
│поверки├───┬───┬────┬────┬───┬───┬───┼──────┬─────────┬─────────────────┤ (годна, │ выданного │
│ │q ,│q ,│N , │N , │p ,│p ,│t, │ V , │дельта ,│дельта (дельта ),│забракована -│свидетельства│
│ │ н │ к │ н │ к │ с │ т │°C │ д │ т │ 3 4 │ указать │ о поверке │
│ │дм3│дм3│имп.│имп.│МПа│МПа│ │ 2 │ 2 │ │ причину) │ │
│ │ │ │ │ │ │ │ │ дм3 │ % │ % │ │ │
├───────┼───┼───┼────┼────┼───┼───┼───┼──────┼─────────┼─────────────────┼─────────────┼─────────────┤
│ 1 │ 2 │ 3 │ 4 │ 5 │ 6 │ 7 │ 8 │11 <*>│ 12 │ 13 │ 14 │ 15 │
├───────┼───┼───┼────┼────┼───┼───┼───┼──────┼─────────┼─────────────────┼─────────────┼─────────────┤
│ │ │ │ │ │ │ │ │ │ │ │ │ │
├───────┴───┴───┴────┴────┴───┴───┴───┴──────┴─────────┴─────────────────┴─────────────┴─────────────┤
│ <*> Графы 9, 10 (Исключены, Изм. N 1). │
│ │
│ Примечания. 1. (Исключено, Изм. N 1). │
│ д │
│ 2 │
│ │
│ 3. Значение дельта (графа 12) определяют по
формуле (10). │
│ т │
│ 2 │
│ │
│ 4. Значения дельта , дельта (графа 13) определяют по
формулам (11) и │
│ 3 4 │
└────────────────────────────────────────────────────────────────────────────────────────────────────┘
Поверитель __________________________ __________________________
подпись инициалы, фамилия
Приложения Г - Е (Измененная редакция, Изм. N 1).
(обязательное)
ФОРМА ПРОТОКОЛА ПОВЕРКИ ТМ ВЗВЕШИВАНИЕМ ТМ НА ВЕСАХ
поверки __________________________, изготовленной ________________________,
наименование, номер ТМ дата изготовления,
________________________, принадлежащей __________________________________.
завод-изготовитель
Номер шасси автомобиля ___________________________________. Государственный
номерной знак автомобиля _________________________________________________.
┌───────┬───────────┬───────┬───────────┬─────────────────────────┬─────────────┬─────────────┐
│ Дата │Температура│ Масса │Вместимость│ Относительная │ Заключение │ Номер │
│поверки│ воды в ТМ │ТМ, кг │ ТМ, дм3 │ погрешность, % │ (годна, │ выданного │
│ │при поверке├───┬───┼───┬───┬───┼────────┬────────────────┤забракована -│свидетельства│
│ │ t, °C │m │ m │V │V │V │дельта │дельта (дельта )│ указать │ о поверке │
│ │ │ о │ │ д │ т │ д │ т │ 5 6 │ причину) │ │
│ │ │ │ │ 3│ 3│ │ 3│ │ │ │
├───────┼───────────┼───┼───┼───┼───┼───┼────────┼────────────────┼─────────────┼─────────────┤
│ 1 │ 2 │ 3 │ 4 │ 5 │ 6 │ 7 │ 8 │ 9 │ 10 │ 11 │
├───────┼───────────┼───┼───┼───┼───┼───┼────────┼────────────────┼─────────────┼─────────────┤
│ │ │ │ │ │ │ │ │ │ │ │
├───────┴───────────┴───┴───┴───┴───┴───┴────────┴────────────────┴─────────────┴─────────────┤
│ Примечания. 1. Значения V , V (графы 5, 6) определяют по формулам │
│ д т │
│ 3 3 │
│ 2. Значение дельта (графа 8) определяют по
формуле (15). │
│ т │
│ 3 │
│ │
│ 3. Значения дельта , дельта (графа 9) определяют по
формулам (16) и │
│ 5 6 │
└─────────────────────────────────────────────────────────────────────────────────────────────┘
Поверитель __________________________ __________________________
подпись инициалы, фамилия
(обязательное)
ЗНАЧЕНИЯ КОЭФФИЦИЕНТА A И ПРИМЕР РАСЧЕТА ВМЕСТИМОСТИ ТМ
Таблица И.1
┌──────────────────┬─────────────────┬──────────────────┬─────────────────┐
│ Температура, °C │ Коэффициент A │ Температура, °C │ Коэффициент A │
├──────────────────┼─────────────────┼──────────────────┼─────────────────┤
│ 10 │ 1,0013 │ 21 │ 1,0030 │
│ 11 │ 1,0014 │ 22 │ 1,0033 │
│ 12 │ 1,0015 │ 23 │ 1,0035 │
│ 13 │ 1,0016 │ 24 │ 1,0037 │
│ 14 │ 1,0018 │ 25 │ 1,0040 │
│ 15 │ 1,0019 │ 26 │ 1,0042 │
│ 16 │ 1,0021 │ 27 │ 1,0045 │
│ 17 │ 1,0023 │ 28 │ 1,0048 │
│ 18 │ 1,0024 │ 29 │ 1,0051 │
│ 19 │ 1,0028 │ 30 │ 1,0054 │
│ 20 │ 1,0028 │ │ │
└──────────────────┴─────────────────┴──────────────────┴─────────────────┘
Пример.
Масса поверочной жидкости (воды) в ТМ, измеренная на весах при температуре 25 °C, равна 3982 кг.
Вместимость ТМ при температуре 25 °C равна 3982 x 1,004 = 3998 дм3.
Вместимость ТМ, приведенная к температуре 20 °C, равна 3998 x 0,9998 = 3997,2 = 3997 дм3.
(рекомендуемое)
ИЗМЕРЕНИЕ ВМЕСТИМОСТИ ТМ МАССОВЫМ МЕТОДОМ
1 - эстакада; 2 - наливной кран; 3 - шланг;
4 - ТМ; 5, 9 - сливные краны; 6 - сливной
шланг; 7 - вспомогательная тара; 8 - весы;
10 - сливной трубопровод; 11 - кран отстойника
Рисунок К.1. Схема измерения вместимости ТМ
при поверке массовым методом - взвешиванием
вспомогательной тары при сливе поверочной
жидкости (воды) из ТМ во вспомогательную тару
1 - эстакада; 2 - весы; 3 - наливной кран;
4 - наливной трубопровод; 5 - вспомогательная тара;
6, 9 - сливные краны; 7 - сливной шланг; 8 - ТМ;
10 - сливной трубопровод; 11 - кран отстойника
Рисунок К.2. Схема измерения вместимости ТМ
при поверке массовым методом - взвешиванием
вспомогательной тары при сливе поверочной
жидкости (воды) из вспомогательной тары в ТМ
(обязательное)
ФОРМА ПРОТОКОЛА ПОВЕРКИ ТМ ВЗВЕШИВАНИЕМ
ВСПОМОГАТЕЛЬНОЙ ТАРЫ НА ВЕСАХ
поверки __________________________, изготовленной ________________________,
наименование, номер ТМ дата изготовления,
________________________, принадлежащей __________________________________.
завод-изготовитель
Номер шасси автомобиля ___________________________________. Государственный
номерной знак автомобиля _________________________________________________.
┌───────┬───────────┬───────────────┬───────────┬─────────────────────────┬─────────────┬─────────────┐
│ Дата │Температура│ Масса │Вместимость│ Относительная │ Заключение │ Номер │
│поверки│ воды в ТМ │вспомогательной│ ТМ, дм3 │ погрешность, % │ (годна, │ выданного │
│ │при поверке│ тары, кг │ │ │забракована -│свидетельства│
│ │ t, °C ├───────┬───────┼───┬───┬───┼────────┬────────────────┤ указать │ о поверке │
│ │ │ m │ m │V │V │V │дельта │дельта , дельта │ причину) │ │
│ │ │ оj │ i │ д │ т │ д │ т │ 7 8│ │ │
│ │ │ │ │ 4│ 4│ │ 4│ │ │ │
├───────┼───────────┼───────┼───────┼───┼───┼───┼────────┼────────────────┼─────────────┼─────────────┤
│ 1 │ 2 │ 3 │ 4 │ 5 │ 6 │ 7 │ 8 │ 9 │ 10 │ 11 │
├───────┼───────────┼───────┼───────┼───┼───┼───┼────────┼────────────────┼─────────────┼─────────────┤
│ │ │ │ │ │ │ │ │ │ │ │
├───────┴───────────┴───────┴───────┴───┴───┴───┴────────┴────────────────┴─────────────┴─────────────┤
│ Примечания. 1. Значение V (графа 5) определяют по
формуле (19). │
│ д │
│ 4 │
│ │
│ т │
│ 4 │
│ │
│ 3. Значение дельта (графа 8) определяют по
формуле (20). │
│ т │
│ 4 │
│ │
│ 4. Значение дельта , дельта (графа 9) определяют по
формулам (21), │
│ 7 8 │
└─────────────────────────────────────────────────────────────────────────────────────────────────────┘
Поверитель __________________________ __________________________
подпись инициалы, фамилия
(обязательное)
ФОРМА СВИДЕТЕЛЬСТВА О ПОВЕРКЕ ТМ
ГЕРБ РОССИЙСКОЙ ФЕДЕРАЦИИ
___________________________________________________________________________
наименование органа Государственной метрологической
___________________________________________________________________________
службы или метрологической службы юридического лица
О ПОВЕРКЕ
Автоцистерна (прицеп-цистерна, полуприцеп-цистерна)
_______________________________________________________________________
тип ___________________________________________________________________
номер ________________________________________________________________,
принадлежащая ________________________________________________________.
На основании результатов первичной (периодической) поверки признана
годной и допущена к применению.
Оттиск Дата следующей поверки
поверительного клейма (срок действия свидетельства)
или печати (штампа)
Руководитель отдела
(группы) _________________ ___________________
подпись инициалы, фамилия
Поверитель _________________ ___________________
подпись инициалы, фамилия
"_____" ____________________________ 199___ г.
Руководитель
________________________________
наименование юридического лица
Физическое лицо _________________ ___________________
подпись инициалы, фамилия
Обратная сторона
РЕЗУЛЬТАТЫ ПОВЕРКИ
Вместимость автоцистерны (прицепа-цистерны, полуприцепа-цистерны)
измерена _________________ методом и равна ____________________________ дм3
прописью
В том числе:
1-я секция ___________________________ дм3 ________________________ дм3
прописью цифры
2-я секция ___________________________ дм3 ________________________ дм3
прописью цифры
...
i-я секция ___________________________ дм3 ________________________ дм3
прописью цифры
начиная от кабины водителя.
Поверитель ________________________ ________________________
подпись инициалы, фамилия
Дата поверки _______________________
число, месяц, год
(справочное)
БИБЛИОГРАФИЯ
[1] МИ 1974-95. Государственная система обеспечения единства измерений. Преобразователи расхода турбинные. Методика поверки
[2] ТУ 25-1819.0021-90. Секундомеры
[3]
ПР 50.2.006-94. Государственная система обеспечения единства измерений. Порядок проведения поверки средств измерений
[4]
ПР 50.2.007-94. Государственная система обеспечения единства измерений. Поверительные клейма
[5] С.И. Гаузнер, С.С. Кивилис, А.П. Осокина, А.Н. Павловский. Измерение массы, объема, плотности. - М.: Изд-во стандартов, 1982. - 403 с.
[6] МИ 583-84. Преобразователи расхода роторные образцовые. Методика поверки.
Приложения М, Н. (Измененная редакция, Изм. N 1).