Главная // Актуальные документы // ГОСТ Р (Государственный стандарт)
СПРАВКА
Источник публикации
М.: Стандартинформ, 2006
Примечание к документу
Документ утратил силу с 1 ноября 2014 года в связи с изданием Приказа Росстандарта от 17.12.2013 N 2295-ст. Взамен введен в действие ГОСТ 32489-2013.

Документ включен в Перечень национальных стандартов, в результате применения которых на добровольной основе обеспечивается соблюдение требований Федерального закона от 30.12.2009 N 384-ФЗ "Технический регламент о безопасности зданий и сооружений" (Приказ Ростехрегулирования от 01.06.2010 N 2079).

С 1 июля 2003 года до вступления в силу технических регламентов акты федеральных органов исполнительной власти в сфере технического регулирования носят рекомендательный характер и подлежат обязательному исполнению только в части, соответствующей целям, указанным в пункте 1 статьи 46 Федерального закона от 27.12.2002 N 184-ФЗ.

Введен в действие с 1 сентября 1995 года.
Название документа
"ГОСТ Р 50849-96. Пояса предохранительные строительные. Общие технические условия. Методы испытаний"
(утв. Постановлением Минстроя России от 20.06.1995 N 18-59)
(ред. от 01.01.2000)


"ГОСТ Р 50849-96. Пояса предохранительные строительные. Общие технические условия. Методы испытаний"
(утв. Постановлением Минстроя России от 20.06.1995 N 18-59)
(ред. от 01.01.2000)


Содержание


Утвержден и введен в действие
Постановлением Минстроя России
от 20 июня 1995 г. N 18-59
ГОСУДАРСТВЕННЫЙ СТАНДАРТ РОССИЙСКОЙ ФЕДЕРАЦИИ
ПОЯСА ПРЕДОХРАНИТЕЛЬНЫЕ СТРОИТЕЛЬНЫЕ
ОБЩИЕ ТЕХНИЧЕСКИЕ УСЛОВИЯ
МЕТОДЫ ИСПЫТАНИЙ
ГОСТ Р 50849-96
Список изменяющих документов
(в ред. Изменения N 1, принятого Постановлением
Госстроя РФ от 18.01.2000 N 2)
Дата введения
1 сентября 1995 года
Предисловие
1. Разработан Акционерным обществом открытого типа Промстальконструкция.
Внесен Главным управлением технического нормирования, стандартизации и сертификации Минстроя России.
2. Утвержден и введен в действие Постановлением Минстроя России от 20 июня 1995 г. N 18-59.
3. Введен впервые.
4. Издание (декабрь 2005 г.) с Изменением N 1, принятым в январе 2000 г. (ИУС 6-2000).
1. Область применения
1.1. Настоящий стандарт распространяется на предохранительные пояса (далее - пояса), применяемые в строительстве для предотвращения падения человека с высоты или его эвакуации из опасных зон (замкнутые пространства, траншеи, котлованы и т.п.) при производстве строительно-монтажных, ремонтно-восстановительных или других видов работ, и устанавливает технические требования, методы испытаний, маркировку, упаковку и правила их эксплуатации.
1.2. Основные требования к качеству поясов, подлежащие проверке при сертификации, изложены в пп. 3.1, 3.2, 4.1, 4.2.2 - 4.2.6, 4.2.8, 4.3.5 - 4.3.14, 4.4, 4.5.1 - 4.5.4, 4.6.2, 4.6.3 - 4.6.7, 4.8, 6.1.4, 8.4.
(Измененная редакция, Изм. N 1).
2. Определения
В настоящем стандарте применяют следующие термины.
2.1. Предохранительный пояс: средство индивидуальной защиты, закрепляемое на теле человека и применяемое автономно или совместно с другими средствами защиты для предотвращения падения человека с высоты или эвакуации его из опасных зон.
2.2. Безлямочный пояс: предохранительный пояс, включающий в себя: несущий ремень, охватывающий талию или грудную клетку человека, имеющий уширенную опору в спинной части (далее - кушак), строп с карабином или ловитель для закрепления к опорам.
2.3. Лямочный пояс с наплечными лямками: предохранительный пояс, включающий в себя: несущий ремень, охватывающий талию или грудную клетку человека и имеющий наплечные лямки, строп или фал.
2.4. Лямочный пояс с наплечными и набедренными лямками: предохранительный пояс, включающий в себя: несущий ремень, охватывающий талию человека, имеющий наплечные и набедренные лямки, строп или фал.
2.5. Энергопоглощающее устройство (амортизатор): устройство, снижающее до безопасной величины динамическую нагрузку, действующую на тело человека при защитном действии пояса.
2.6. Карабин: элемент пояса, являющийся частью стропа и используемый для непосредственного закрепления стропа.
2.7. Фал: гибкий элемент пояса, соединяющий систему пояса с карабином.
2.8. Опора: элемент конструкции, специальные приспособления, страховочные канаты и др., к которым закрепляется человек карабином пояса.
2.9. Строп: неразъемный элемент пояса, состоящий из фала и одного карабина, жестко закрепленного на его конце, или фала и двух карабинов, закрепленных на обоих его концах, служащий для непосредственного (или через соединительный элемент) закрепления человека к опоре.
2.10. Несущие элементы пояса: детали пояса, воспринимающие статическую или динамическую нагрузку в процессе эксплуатации или защитном действии пояса.
2.11. Кушак: элемент, устанавливаемый на несущем ремне пояса в спинной части тела человека, имеющий ширину больше, чем ширина ремня.
2.12. Система застежки пояса: элементы пояса, обеспечивающие фиксацию несущего ремня на талии человека: пряжка, противоположный к месту установки пряжки конец несущего ремня и шлевки.
2.13. Зев карабина: просвет между несущим нагрузку крюком карабина и предохранительным устройством в состоянии "открыто".
2.14. Удлинитель стропа пояса: соединительный элемент (канат, лента, цепь или металлические профили и др.), имеющий определенную длину и прочность и располагаемый между опорой и карабином стропа пояса.
2.15. Страховочный канат: канат, прочно закрепленный на опорах, установленный вертикально, горизонтально или с наклоном к горизонтальной плоскости, выполняющий функцию опоры при закреплении за него карабином стропа пояса в процессе выполнения трудовых операций на высоте.
2.16. Полуавтоматическое верхолазное устройство (ПВУ): специальное устройство с тормозным барабаном, на который намотан стальной канат, к которому прикрепляют карабин пояса. В процессе движения человека канат постепенно сматывается с барабана, позволяя человеку отходить от места закрепления на определенное расстояние, а в случае его падения при рывке канат блокируется и автоматически останавливает дальнейшее падение человека.
2.17. Ловитель: устройство, мгновенно останавливающее падение сорвавшегося с высоты человека.
2.18. Специальные приспособления, вводимые в элементы конструкций здания, сооружения или в средства подмащивания: устройства в виде шайб, полушайб, отверстий, гнутых профилей и др., прикрепляемые в определенных местах к указанным элементам для обеспечения удобного закрепления карабином пояса при выполнении работ на высоте.
2.19. Свободное падение человека с высоты: падение человека в свободном пространстве без касания (зацепления) каких-либо элементов конструкций, предметов, опор и т.п.
3. Классификация и назначение
3.1. В зависимости от конструкции пояса классифицируют на безлямочные и лямочные, а также на пояса с энергопоглощающим устройством (далее - амортизатором) или без него.
В таблице 1 приведены классификация, условные обозначения и назначение поясов, а на рисунках 1 - 6 даны принципиальные схемы конструкций поясов.
Таблица 1
┌──────────────────┬──────────────────────┬───────────────────────────────┐
│ Наименование │Обозначение типа пояса│ Назначение │
│ ├───────────┬──────────┤ │
│ │без амор- │с амор- │ │
│ │тизатора │тизатором │ │
├──────────────────┼───────────┼──────────┼───────────────────────────────┤
│ Безлямочный пояс │ А │ Аа │ Для предотвращения падения │
│(рисунок 1) │ │ │работающего с высоты в процессе│
│ │ │ │производства рабочих операций с│
│ │ │ │перемещением в любых направ- │
│ │ │ │лениях в пространстве, когда │
│ │ │ │работающие обеспечены специаль-│
│ │ │ │ными сумками для переноса │
│ │ │ │инструмента или инструмент для │
│ │ │ │работы не требуется; │
│ Безлямочный пояс │ Б │ Ба │ Для предотвращения падения │
│со специальными │ │ │работающего с высоты в процессе│
│приспособлениями │ │ │производства рабочих операций с│
│для ношения │ │ │перемещением в любых направ- │
│инструмента и │ │ │лениях в пространстве, когда │
│односторонней │ │ │работающие не обеспечены специ-│
│лямкой (рисунок 2)│ │ │альными сумками для переноса │
│ │ │ │инструмента, а перенос инстру- │
│ │ │ │мента с одного места работы на │
│ │ │ │другое осуществляется вручную │
│ Лямочный пояс с │ В │ Ва │ Для предотвращения падения │
│наплечными лямками│ │ │работающего с высоты в процессе│
│(рисунок 3) │ │ │производства рабочих операций с│
│ │ │ │перемещением по горизонтальной │
│ │ │ │или с небольшим уклоном поверх-│
│ │ │ │ности, а также при работе в ус-│
│ │ │ │ловиях, когда может возникнуть │
│ │ │ │необходимость для страховки и │
│ │ │ │экстренной эвакуации работающе-│
│ │ │ │го при возникновении опасности │
│ Лямочный пояс с │ Г │ - │ Для страховки и экстренной │
│наплечными лямками│ │ │эвакуации человека, работающего│
│(рисунок 4) │ │ │в траншеях, колодцах, емкостях │
│ │ │ │или других замкнутых простран- │
│ │ │ │ствах, в случаях отравления │
│ │ │ │газом, возгорания, взрыва. │
│ │ │ │ Эти пояса не могут быть │
│ │ │ │использованы как средства │
│ │ │ │защиты от падения с высоты │
│ Лямочный пояс │ Д │ Да │ Для предотвращения падения │
│с наплечными и │ │ │работающего с высоты в процессе│
│набедренными │ │ │производства рабочих операций, │
│лямками, с рас- │ │ │при необходимости страховки │
│положением точки │ │ │человека в процессе спуска │
│закрепления стропа│ │ │(подъема) по вертикальным │
│со стороны спинной│ │ │навесным лестницам, скобам или │
│части тела чело- │ │ │опорам линий связи и электро- │
│века (рисунок 5) │ │ │передачи, а также при работах │
│ │ │ │в условиях, когда может возник-│
│ │ │ │нуть необходимость для стра- │
│ │ │ │ховки и экстренной эвакуации │
│ │ │ │работающего при возникновении │
│ │ │ │опасности │
│ Лямочный пояс │ Е │ Еа │ Для предотвращения падения │
│с наплечными и │ │ │работающего с высоты в процессе│
│набедренными │ │ │производства рабочих операций │
│лямками с распо- │ │ │по вертикальной или с наклоном │
│ложением точки │ │ │более 75° к горизонтальной │
│закрепления стропа│ │ │плоскости, при необходимости │
│со стороны груд- │ │ │выполнения работы с механизи- │
│ного отдела тела │ │ │рованными или другими инстру- │
│человека и приме- │ │ │ментами в течение длительного │
│няемый в комбина- │ │ │(более 20 мин) периода в │
│ции с подъемными │ │ │подвесной системе │
│или спускающими │ │ │ │
│устройствами и │ │ │ │
│сиденьем для │ │ │ │
│работающего │ │ │ │
│(рисунок 6) │ │ │ │
└──────────────────┴───────────┴──────────┴───────────────────────────────┘
(Измененная редакция, Изм. N 1).
Рисунок 1. Безлямочный пояс, тип А
1 - пряжка; 2 - ремень; 3 - боковое кольцо;
4 - кушак; 5 - карабин; 6 - строп
Рисунок 2. Безлямочный пояс, тип Б
1 - пряжка; 2 - ремень; 3 - боковое кольцо; 4 - кушак;
5 - лямка наплечная; 6 - подкладка лямки; 7 - пряжка лямки;
8 - карабин; 9 - строп; 10 - сумки для инструмента;
11 - гнезда для монтажных ключей
Рисунок 3. Лямочный пояс, тип В
1 - ремень; 2 - кушак; 3 - пряжка ремня; 4 - пряжка лямки;
5 - лямка наплечная; 6 - лямка нагрудная; 7 - строп;
8 - распределительное кольцо; 9 - боковое кольцо;
Рисунок 4. Лямочный пояс, тип Г
1 - ремень; 2 - кушак; 3 - пряжка ремня; 4 - пряжка лямки;
5 - лямка наплечная; 6 - лямка нагрудная; 7 - фал;
8 - распределительное кольцо
Рисунок 5. Лямочный пояс, тип Д
1 - ремень; 2 - кушак; 3 - пряжка ремня; 4 - пряжка лямки;
5 - лямка наплечная; 6 - лямка нагрудная;
7 - распределительное кольцо; 8 - строп;
9 - набедренная лямка
Рисунок 6. Лямочный пояс, тип Е
1 - ремень; 2 - кушак; 3 - пряжка ремня; 4 - пряжка лямки;
5 - лямка наплечная; 6 - лямка нагрудная; 7 - строп;
8 - распределительное кольцо; 9 - лямка набедренная
3.2. Пояса должны быть регулируемыми по длине и выпускаться трех размеров в соответствии с таблицей 2.
Таблица 2
┌─────────────┬─────────────────┬────────────────────────────────┐
│ Размер │ Обозначение │ Диапазон регулировки длины │
│ │ │ ремня по объему талии, мм │
├─────────────┼─────────────────┼────────────────────────────────┤
│Короткий │ S │ От 740 до 1040 │
│Средний │ М │ " 940 " 1240 │
│Длинный │ L │ " 1140 " 1440 │
└─────────────┴─────────────────┴────────────────────────────────┘
Наряду с приведенными в таблице 2 размерами поясов, по заказу потребителей должны выпускаться пояса для особо малых объемов талии XS и для особо больших объемов талии XL с диапазоном регулирования длины 300 мм.
Не допускается выпуск пояса, охватывающего одновременно все размеры.
4. Технические требования
4.1. Пояса должны соответствовать требованиям настоящего стандарта и техническим условиям на пояса конкретных конструкций. В технических условиях должны быть разработаны в дополнение к требованиям настоящего стандарта необходимые технические требования, обеспечивающие возможность разработки, изготовления и эксплуатации поясов, конкретные методы испытаний и указания по эксплуатации поясов.
4.2. Требования эргономики
4.2.1. Конструкция пояса должна обеспечивать максимальное удобство и комфортность его эксплуатации. Элементы и детали пояса должны быть взаиморасположены и соединены таким образом, чтобы исключалась возможность причинения боли или различных неудобств человеку.
Металлические детали пояса не должны непосредственно соприкасаться с телом (кроме рук) человека в спецодежде.
4.2.2. Система застежки должна обеспечивать возможность быстрого и удобного (не более 10 с) застегивания, расстегивания и регулировки длины пояса или лямок двумя руками в рабочих перчатках.
Не допускается применение системы застежки, требующей для регулировки длины ремня (лямок) необходимости снятия пояса с человека.
4.2.3. Конструкция пояса должна предохранять мышцы спины от травмирования при подъеме и переноске тяжестей или выполнении работ в неудобных рабочих позах. Для этого система застежки в поясах, предназначенных для защиты при падении с высоты, и в поясах типа Г должна состоять из металлической пряжки со шпеньком, а конец ремня должен иметь отверстия с установленными на них металлическими люверсами, проектное положение которых фиксируется подкладкой из шорно-седельной кожи толщиной не менее 2,5 мм. Не допускается применение другой системы застежки.
(Измененная редакция, Изм. N 1).
4.2.4. Кушак должен быть изготовлен из материалов, обладающих согревающим и гигроскопическим свойствами; конструкция кушака должна способствовать равномерному распределению нагрузки по всей его ширине, для этого жесткость кушака в поперечном направлении должна быть значительно больше, чем в продольном.
Запрещается для изготовления кушака использовать искусственные полимерные материалы.
4.2.5. Конструкция карабина должна обеспечивать быстрое и надежное закрепление и открепление одной рукой при надетой рабочей перчатке и исключать возможность защемления и травмирования пальцев руки при манипуляциях с карабином.
Продолжительность цикла "закрепление-открепление" не должна быть более 3 с.
Конструкция карабина для поясов, предназначенных для предотвращения падения работающего с высоты, должна выдерживать расчетные нагрузки без участия внутренней рукоятки, закрывающей зев карабина. Этот параметр проверяется статическим испытанием согласно 6.1.6, рисунок 8а.
(Измененная редакция, Изм. N 1).
4.2.6. Карабин должен иметь предохранительное устройство, исключающее случайное открытие зева после его закрепления к опоре.
Зев карабина должен закрываться автоматически.
4.2.7. Под несущие нагрузку наплечные лямки (у пояса, оснащенного специальными приспособлениями для ношения инструмента), оказывающие давление на тело человека в процессе эксплуатации пояса, следует предусмотреть специальные подкладки шириной не менее 60 мм.
4.2.8. Строп пояса должен быть снабжен специальным приспособлением, обеспечивающим возможность закрепления за него карабином при страховке на высоте способом обхвата стропом элемента конструкции или других опор.
Допускается использовать для этой цели в поясах со стропом из каната регулируемой длины устройство для регулировки длины стропа, а у поясов со стропом из стальной цепи - звено цепи.
4.3. Конструктивные требования
4.3.1. Пояса, предназначенные для предотвращения падения работающего с высоты и применяемые автономно, должны изготавливаться с амортизатором.
ИС МЕГАНОРМ: примечание.
В официальном тексте документа, видимо, допущена опечатка: имеется в виду ГОСТ 15.001-88, а не ГОСТ Р 15.001.
Без амортизаторов допускается изготавливать пояса, предназначенные для страховки и эвакуации людей из опасных зон (типы Г и Д), а также пояса типов АБВЕ для предотвращения падения работающего с высоты, при условии их поставки в комплекте с ловителями, страховочными канатами (горизонтальными, вертикальными или наклонными) из полиэфирных или полиамидных веревок (канатов) или другими устройствами, разработанными в соответствии с ГОСТ Р 15.001, прошедшими производственные испытания и обеспечивающими возможность закрепления карабина пояса таким образом, чтобы высота падения человека не превышала 0,5 м. (Измененная редакция, Изм. N 1).
4.3.2. Амортизатор может быть составной неотъемлемой частью пояса или отдельно изготовленным элементом, присоединяемым к стропу пояса в необходимых случаях.
4.3.3. (Исключен, Изм. N 1).
4.3.4. Пояса могут быть с одним или двумя стропами, строп может быть съемным или жестко закрепленным в системе пояса, регулируемым или нерегулируемым по длине.
4.3.5. Карабин (карабины) должен быть неразъемно закреплен к фалу.
4.3.6. Величина зева карабина должна быть от 14 до 25 мм.
4.3.7. Металлические детали пояса не должны иметь острых кромок и неровностей и должны иметь антикоррозионное покрытие толщиной не менее 9 мкм.
4.3.8. Лямки пояса (наплечные, набедренные, нагрудные) должны быть регулируемыми по длине с расположением регулировочных элементов спереди.
4.3.9. Длина кушака устанавливается в технических условиях на пояса конкретных конструкций, но должна быть не менее 300 мм.
4.3.10. Ширина кушака для безлямочных поясов должна быть не менее (100+/-5) мм в местах расположения подвздошных костей тела человека, а также с вентральной стороны ширина кушака может быть снижена до 70 мм. Ширина кушака для лямочных поясов может быть от 60 до 80 мм.
4.3.11. Ширина несущих нагрузку тканых элементов пояса (ремня, лямки и т.п.) определяется исходя из требуемой прочности и должна быть указана в технических условиях на пояса конкретных конструкций.
4.3.12. Длина фала пояса должна быть от 1200 до 2000 мм. При длине фала более 1600 мм следует предусмотреть возможность его регулировки.
4.3.13. Цветовая окраска несущих нагрузку синтетических лент пояса и прошивных ниток должна быть разной, чтобы обеспечить возможность визуальной проверки качества строчек несущих соединительных узлов закрепления элементов пояса.
4.3.14. Масса пояса должна быть минимальной и не должна превышать для безлямочных поясов 2,1 кг, для лямочных - 3 кг.
4.4. Климатические условия
Пояса должны сохранять свои прочностные и эксплуатационные свойства при воздействии температур от минус 40 °С до плюс 50 °С.
По требованию потребителя пояса должны выпускаться также для условий эксплуатации до минус 50 °С.
4.5. Требования к надежности и прочности
4.5.1. Пояса должны выдерживать динамическую нагрузку, возникающую при падении груза массой (100+/-1) кг с высоты, равной двум максимальным длинам стропа.
4.5.2. Пояс без амортизатора должен выдерживать статическую нагрузку не менее 10 кН (1000 кгс), с амортизатором - 7 кН (700 кгс).
4.5.3. Несущие элементы пояса, кроме пояса типа Г, должны выдерживать статические нагрузки не менее приведенных ниже:
- фал из синтетических канатов или лент .... 23 кН (2300 кгс),
- фал из стального каната или цепи ......... 11 кН (1100 кгс),
- ремень и лента амортизатора .............. 18 кН (1800 кгс),
- наплечные и набедренные лямки .............. 8 кН (800 кгс),
- пряжка ремня, карабин и соединительные
кольца, прикрепленные к фалу из
синтетических материалов ................. 10 кН (1000 кгс),
- пряжка, соединительные кольца,
карабины, используемые для
соединения или регулировки длины
наплечных или набедренных лямок ............ 5 кН (500 кгс),
- несущие нагрузку элементы и детали
пояса типа Г, кроме наплечных нагрудных
лямок, прочность которых устанавливается
в технических условиях на пояса
конкретных конструкций ..................... 3 кН (300 кгс).
4.5.4. Пояса типов Аа и Ба с амортизатором должны снижать динамическую нагрузку, действующую на тело человека при защитном действии пояса до 4000 Н (400 кгс), а пояса типов Ва, Да и Еа - до 6000 Н (600 кгс).
4.5.5. Пояс должен сохранять свои защитные и эксплуатационные свойства, определяемые их назначением, при воздействии факторов производственной среды в течение установленного гарантийного срока.
4.5.6. Прочность несущих нагрузку узлов соединений элементов пояса должна быть не ниже прочности наиболее слабого из соединяемых элементов.
4.6 Требования к материалам
4.6.1. Материалы, применяемые при изготовлении пояса, должны быть безвредными для организма человека.
4.6.2. Фал стропа в поясах, предназначенных для защиты при падении с высоты, должен быть изготовлен из металлических цепей, полиамидных или полиэфирных веревок (канатов).
Не допускается изготовление фала для этих типов поясов из любых видов лент и стальных канатов.
(Измененная редакция, Изм. N 1).
4.6.3. Несущие нагрузку ремни и лямки поясов типов А, Б, В, Д и Е должны быть изготовлены из синтетических или полусинтетических лент, а пояса типа Г, применяемые в условиях возможности действия высоких температур (более 200 °С) в результате взрыва или возгорания газа, - из лент, выполненных из натуральных волокон (типа ЛРТ) или других трудносгораемых лент.
4.6.4. Не допускается изготовление несущих нагрузку деталей пояса из кожи.
4.6.5. Диаметр проволоки, используемой для изготовления цепи для фала пояса, учитывая психологический фактор, не должен быть менее 5 мм.
4.6.6. Для закрепления узлов пояса, воспринимающих нагрузку, должны быть использованы синтетические нитки.
4.6.7. Металлические детали пояса, воспринимающие нагрузку, должны быть изготовлены из сталей, не обладающих хладноломкостью и обеспечивающих надежность пояса согласно 4.5.1 при воздействии климатических факторов по 4.4.
4.6.8. Тканые материалы, используемые для изготовления деталей и элементов пояса, должны быть подобраны с учетом сохранения своих эксплуатационных качеств (4.5.3) при воздействии низких температур и агрессивных производственных факторов.
4.7. Комплектность
Каждый пояс должен поставляться потребителю в комплекте с паспортом и инструкцией по эксплуатации. По согласованию с заказчиком допускается поставка паспорта и инструкций по эксплуатации в количестве одного экземпляра на партию поясов. Величина партии согласовывается между поставщиком и потребителем.
4.8. Маркировка
На каждом поясе на видном месте должны быть нанесены:
- знак соответствия;
- товарный знак предприятия-изготовителя;
- тип, размер пояса и дата изготовления;
- клеймо ОТК;
- обозначение стандарта или технических условий.
4.9. Упаковка
Пояса должны поставляться в деревянных ящиках, картонных коробках, мешках и т.п., обеспечивающих сохранность поясов, упаковками массой не более 50 кг.
Технические требования к таре и ее маркировке разрабатываются в технических условиях на пояса конкретных конструкций.
5. Правила приемки
5.1. Пояса должны подвергаться приемосдаточным, периодическим и типовым испытаниям, которые проводятся в составе и объеме согласно таблице 3.
Дополнительный состав и объем испытаний на пояса конкретных конструкций устанавливаются в технических условиях, разработанных и утвержденных в установленном порядке.
Таблица 3
┌──────────────────┬──────────────────┬───────────────────────────┐
│ Вид испытаний │Пункты технических│Число поясов при испытаниях│
│ │ требований ├────────┬───────┬──────────┤
│ │ │приемо- │перио- │ типовых │
│ │ │сдаточ- │дичес- │ │
│ │ │ных │ких │ │
├──────────────────┼──────────────────┼────────┼───────┼──────────┤
│ 1. Внешний осмотр│4.2.6 - 4.2.8, │ Все │ 6 │ 18 │
│ │4.3.8, 4.3.13, 4.8│ пояса │ │ │
│ 2. Проверка │3.2, 4.3.9, │ 3 │ 6 │ 18 │
│основных размеров │4.3.11, 4.3.12 │ │ │ │
│ 3. Определение │4.3.14 │ 3 │ 6 │ 18 │
│массы │ │ │ │ │
│ 4. Статические │ │ │ │ │
│испытания: │ │ │ │ │
│ - пояс в целом │4.5.2 │ 3 <*> │ 3 <*> │ 3 <*> │
│ - строп из │6.1.4 │ Все │ - │ 18 │
│ стальной цепи │ │ пояса │ │ │
│ - элементы пояса │4.5.3 │ - │ 3 <*> │ 3 <*> │
│ 5. Динамические │ │ │ │ │
│испытания: │ │ │ │ │
│ - без регистрации│4.5.1 │ 3 <*> │ - │ 3 <*> │
│ силы │ │ │ │ │
│ - с регистрацией │4.5.4 │ - │ 3 <*> │ 3 <*> │
│ силы │ │ │ │ │
│ 6. Проверка │4.2.2, 4.2.5 │ - │ 3 │ 3 │
│эргономических │ │ │ │ │
│требований │ │ │ │ │
├──────────────────┴──────────────────┴────────┴───────┴──────────┤
│ Испытания по пункту 5 с регистрацией силы проводят также при│
│квалификационных испытаниях первой промышленной партии. │
│ <*> Пояса, подвергшиеся испытаниям, отправке потребителю не│
│подлежат. │
└─────────────────────────────────────────────────────────────────┘
5.2. Приемосдаточные испытания проводит предприятие-изготовитель по мере выпуска партий поясов. Объем партии должен быть не менее 100, но не более 5000 поясов.
В состав партии должны входить пояса одной конструкции, изготовленные по одной технологии из материалов одного вида.
5.3. Периодические испытания проводит предприятие-изготовитель или специализированная лаборатория на образцах пояса одной конструкции, отобранных случайным порядком из партий, прошедших приемосдаточные испытания, не реже одного раза в год.
5.4. Типовые испытания проводит предприятие-изготовитель при изменении конструкции или технологии их изготовления, а также при замене материалов для изготовления несущих нагрузку деталей пояса.
При этом пояса проверяют по всем показателям технических требований настоящего стандарта и технических требований на пояса конкретных конструкций.
5.5. При получении неудовлетворительных результатов по одному из требований хотя бы на одном поясе проводят повторные испытания удвоенного количества поясов, отобранных из той же партии.
Если при повторных испытаниях получены неудовлетворительные результаты, партию поясов бракуют.
5.6. Результаты приемки должны быть оформлены документом о качестве или клеймом.
6. Методы контроля
6.1. При приемосдаточных, периодических и типовых испытаниях в общем случае следует проводить:
- внешний осмотр;
- проверку основных размеров;
- проверку массы пояса;
- статические и динамические испытания пояса в полном соответствии с требованиями технических условий на пояса конкретных конструкций и требованиями настоящего стандарта.
При этом необходимо учесть нижеприведенные требования и правила.
6.1.1. При статических испытаниях скорость приложения усилия к испытуемому элементу должна быть не более 100 мм/мин, время испытания - не менее 1 мин.
6.1.2. Для проведения динамических испытаний пояса в качестве груза могут быть использованы: мешки с сухим песком (для типов А и Б), манекены, имитирующие верхнюю часть туловища человека (для типов В и Г) или туловище человека (для типов Д и Е). Требования к конструкции и свойствам манекенов должны быть разработаны в нормативно-технической документации, утвержденной в установленном порядке.
Масса груза (мешка, манекена) должна быть (100+/-1) кг.
6.1.3. При проведении контроля качества поясов должны применяться средства и методики измерений, обеспечивающие точность измерений контролируемых параметров с погрешностью +/-2%.
6.1.4. Перед установкой на пояс строп из цепи должен быть испытан предприятием-изготовителем статическим усилием, равным 7 кН (700 кгс).
6.1.5. Испытания пояса на соответствие его требованиям 4.4, 4.5.1 - 4.5.4 должно проводить предприятие-изготовитель в процессе постановки пояса на производство. Для испытания пояса по 4.4 следует использовать климатические камеры или установки, обеспечивающие изменения температуры воздуха от минус 50 °С до плюс 50 °С.
Допускается проведение испытаний на открытой площадке в районах Российской Федерации, где температура воздуха достигает указанных значений.
6.1.6. Испытания пояса статической нагрузкой на соответствие 4.5.2 проводят путем проверки пояса в целом согласно рисунку 7, а испытания элементов пояса на соответствие 4.5.3 - согласно рисункам 8 и .
Рисунок 7. Схема испытания пояса в целом
статической нагрузкой
1 - жесткая опора; 2 - измеритель усилия;
3 - цилиндр диаметром 300 мм; 4 - пояс;
5 - пряжка пояса; 6 - боковое кольцо пояса;
7 - строп; 8 - растягивающее усилие
Рисунок 8. Схема испытания элементов пояса
статической нагрузкой
1 - жесткая опора; 2 - измеритель усилия;
3 - строп или другой элемент пояса;
4 - растягивающее усилие
Рисунок 8а. Схема испытания карабина статической нагрузкой
1 - основной крюк карабина; 2 - неподвижная опора;
3 - внутренняя рукоятка карабина;
4 - проволока диаметром 1,0 - 1,5 мм
для закрепления рукоятки в указанном положении;
5 - растягивающее усилие (500+/-1) кгс;
Х - расстояние между наружной поверхностью носка
крюка карабина и наружной поверхностью тыльной стороны
крюка карабина; L - длина карабина,
измеренная по оси приложения нагрузки
Пояс или элемент пояса считают выдержавшим испытания, если разрушение или разрыв одного из несущих нагрузку элементов произошли при усилиях не ниже приведенных в 4.5.2 и 4.5.3.
Карабин считают выдержавшим испытание, если после приложения нагрузки, равной (500+/-1) кгс, в течение не менее 2 мин величины X и L не увеличились более чем на 1,0 мм и после снятия проволоки рукоятка 3 заняла проектное положение.
(Измененная редакция, Изм. N 1).
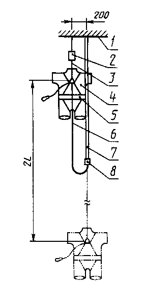
6.1.7. Испытания пояса динамической нагрузкой на соответствие требованиям 4.5.1 проводят согласно схеме на рисунках 9 и 10. При этом высота свободного падения манекена должна быть принята равной двум длинам стропа.
Рисунок 9. Схема испытания безлямочных поясов
типа А и Б динамической нагрузкой
1 - жесткая опора; 2 - сбрасыватель;
3 - соединительное устройство; 4 - пояс безлямочный;
5 - пряжка; 6 - боковое кольцо;
7 - манекен (мешок с песком); 8 - штанга;
9 - строп; 10 - серьга штанги
L - максимальная длина стропа
Рисунок 10. Схема испытания лямочных поясов
типа В, Д и Е динамической нагрузкой
1 - жесткая опора; 2 - сбрасыватель;
3 - соединительное устройство; 4 - манекен;
5 - пояс лямочный; 6 - строп; 7 - штанга;
8 - серьга штанги
Пояс считают выдержавшим испытания, если ни одна из его деталей полностью не разрушилась (кроме тех, разрушение которых предусмотрено защитным действием пояса) и манекен не упал на землю или перекрытие, а остался висеть на опоре.
6.1.8. Испытания пояса на соответствие требованиям 4.5.4 осуществляют по методике, изложенной в 6.1.7. При этом величину динамического усилия (численно равного динамической нагрузке), возникающего в стропе, измеряют специальными датчиками и аппаратурой. Место и способы расположения и установки датчиков или аппаратуры устанавливают в технических условиях на пояса конкретных конструкций.
Высота падения манекена при испытаниях должна равняться одной длине стропа.
Пояс считают выдержавшим испытания, если величина усилия, зарегистрированная датчиком, не превышает значения, приведенного в 4.5.4.
7. Транспортирование и хранение
7.1. Пояса должны перевозиться в соответствии с правилами перевозки, действующими на транспорте.
7.2. При транспортировке поясов следует предусмотреть их защиту от воздействия атмосферных факторов (дождя, снега и т.п.), а также факторов, указанных в 7.4.
7.3. Пояса должны храниться в проветриваемых помещениях в подвешенном состоянии или разложенными на полках в один ряд. Помещение должно быть сухим (влажность не более 70%) и защищенным от прямого попадания солнечных лучей.
7.4. Запрещается хранение поясов рядом с тепловыделяющими приборами, а также кислотами, щелочами, растворителями, бензином и маслами.
8. Указания по эксплуатации
8.1. Пояс следует применять как средство обеспечения безопасности работ на высоте и предупреждения падения человека в случаях, когда для организации рабочего места установка средств подмащивания или ограждений невозможна, затруднена или нецелесообразна (работа выполняется в течение короткого промежутка времени до 30 мин).
8.2. В случаях, когда для страховки поясом длина стропа недостаточна, необходимо применять совместно с поясом дополнительные средства защиты, к которым относятся: удлинители стропа пояса, страховочные канаты, полуавтоматические верхолазные устройства, ловители, специальные приспособления, вводимые в элементы конструкций или средств подмащивания, разработанные в установленном порядке и удовлетворяющие требованиям действующих нормативных документов.
8.3. Для выполнения огневых работ следует применять пояса со стропом из цепи или стального каната.
8.4. На пояс должна быть разработана и согласована в установленном порядке инструкция по его безопасной эксплуатации. Инструкция должна быть написана простым и доходчивым языком и содержать методику испытания пояса конкретной конструкции с указанием схемы испытаний, необходимые правила, разъяснения, обеспечивающие правильность его эксплуатации.
8.5. В дополнение к специальным требованиям, разрабатываемым предприятием-изготовителем, инструкция должна содержать нижеприведенные обязательные требования.
8.5.1. Перед выдачей в эксплуатацию и через каждые 6 мес в процессе эксплуатации потребителю следует испытать статической нагрузкой:
- строп пояса без амортизатора - грузом массой 700 кг;
- строп пояса с амортизатором - грузом массой 400 кг (при этом амортизатор испытанию не подвергают);
- пряжку с ремнем - грузом массой 300 кг.
8.5.2. Запрещается:
- закрепление карабином ниже уровня опирания ступней ног при выполнении рабочих операций в положении стоя;
- выполнение огневых работ, опираясь на строп пояса, т.е. в условиях его натяжения;
- сбивать остатки электродов из зева электродержателя путем удара о строп;
- внесение каких-либо изменений в конструкцию пояса без согласования с изготовителем;
- использование пояса не по назначению.
8.5.3. Способы закрепления стропом пояса должны быть такими, чтобы величина свободного падения человека с высоты не превышала одной максимальной длины стропа. (Измененная редакция, Изм. N 1).
8.5.4. В процессе эксплуатации пояса на высоте не допускается производить закрепление карабином непосредственно за фал после обхвата им элементов конструкций или других опор. В этих случаях необходимо закрепляться за специальное приспособление в соответствии с 4.2.8.
8.5.5. При работе на высоте менее 3 м от земли или перекрытия точка закрепления карабином должна быть расположена не менее чем на 1,5 м выше уровня опирания ступней ног.
8.5.6. Опора, к которой закрепляют карабин пояса (или элементы, выполняющие ее функцию), должна иметь прочность не менее 15 кН (1500 кгс).
9. Гарантии изготовителя
9.1. Предприятие-изготовитель должно гарантировать соответствие выпускаемого пояса требованиям настоящего стандарта при соблюдении потребителем условий эксплуатации и хранения, установленных в технических условиях или стандартах на пояса конкретных конструкций.
9.2. Гарантийный срок хранения и эксплуатации пояса - не менее двух лет со дня изготовления.
9.3. Условия и правила эксплуатации пояса после истечения гарантийного срока устанавливаются предприятием-изготовителем и должны быть указаны в инструкции по эксплуатации на пояс конкретной конструкции.