Главная // Актуальные документы // ГОСТ Р (Государственный стандарт)СПРАВКА
Источник публикации
М.: Стандартинформ, 2011
Примечание к документу
Документ утратил силу с 1 июля 2018 года в связи с изданием
Приказа Росстандарта от 23.05.2017 N 394-ст. Взамен введен в действие
ГОСТ IEC 60269-1-2016.
Документ включен в
Перечень стандартов, в результате применения которых на добровольной основе обеспечивается соблюдение требований технического
регламента Таможенного союза "О безопасности низковольтного оборудования" (ТР ТС 004/2011) и в
Перечень стандартов, содержащих правила и методы исследований (испытаний) и измерений, в том числе правила отбора образцов, необходимые для применения и исполнения требований технического
регламента Таможенного союза "О безопасности низковольтного оборудования" (ТР ТС 004/2011) и осуществления оценки соответствия объектов технического регулирования (
Решение Комиссии Таможенного союза от 16.08.2011 N 768).
Документ
введен в действие с 1 июня 2012 года.
Название документа
"ГОСТ Р МЭК 60269-1-2010. Национальный стандарт Российской Федерации. Предохранители низковольтные плавкие. Часть 1. Общие требования"
(утв. и введен в действие Приказом Росстандарта от 12.11.2010 N 459-ст)
"ГОСТ Р МЭК 60269-1-2010. Национальный стандарт Российской Федерации. Предохранители низковольтные плавкие. Часть 1. Общие требования"
(утв. и введен в действие Приказом Росстандарта от 12.11.2010 N 459-ст)
Утвержден и введен в действие
Приказом Федерального
агентства по техническому
регулированию и метрологии
от 12 ноября 2010 г. N 459-ст
НАЦИОНАЛЬНЫЙ СТАНДАРТ РОССИЙСКОЙ ФЕДЕРАЦИИ
ПРЕДОХРАНИТЕЛИ НИЗКОВОЛЬТНЫЕ ПЛАВКИЕ
ЧАСТЬ 1
ОБЩИЕ ТРЕБОВАНИЯ
Low-voltage fuses. Part 1. General requirements
IEC 60269-1:2006
Low-voltage fuses - Part 1:
General requirements
(IDT)
ГОСТ Р МЭК 60269-1-2010
Дата введения
1 июня 2012 года
Цели и принципы стандартизации в Российской Федерации установлены Федеральным
законом от 27 декабря 2002 г. N 184-ФЗ "О техническом регулировании", а правила применения национальных стандартов Российской Федерации -
ГОСТ Р 1.0-2004 "Стандартизация в Российской Федерации. Основные положения".
1. Подготовлен Техническим комитетом по стандартизации ТК 303 "Изделия электронной техники, материалы и оборудование" на основе собственного аутентичного перевода на русский язык стандарта, указанного в пункте 4.
2. Внесен Техническим комитетом по стандартизации ТК 303 "Изделия электронной техники, материалы и оборудование".
3. Утвержден и введен в действие Приказом Федерального агентства по техническому регулированию и метрологии от 12 ноября 2010 г. N 459-ст.
4. Настоящий стандарт идентичен международному стандарту МЭК 60269-1:2006 "Предохранители низковольтные плавкие. Часть 1. Общие требования" (IEC 60269-1:2006 "Low-voltage fuses - Part 1: General requirements").
| | ИС МЕГАНОРМ: примечание. Текст изменения 1, выделенный двойной вертикальной линией в официальном тексте документа, в электронной версии документа отмечен знаком "#". | |
Текст изменения 1 выделен двойной вертикальной линией, расположенной слева от текста на полях.
Наименование настоящего стандарта изменено относительно наименования указанного международного стандарта для приведения в соответствие с ГОСТ Р 1.5-2004
(пункт 3.5).
При применении настоящего стандарта рекомендуется использовать вместо ссылочных международных стандартов соответствующие им национальные стандарты Российской Федерации, сведения о которых приведены в дополнительном
Приложении ДА.
Информация об изменениях к настоящему стандарту публикуется в ежегодно издаваемом информационном указателе "Национальные стандарты", а текст изменений и поправок - в ежемесячно издаваемых информационных указателях "Национальные стандарты". В случае пересмотра (замены) или отмены настоящего стандарта соответствующее уведомление будет опубликовано в ежемесячно издаваемом информационном указателе "Национальные стандарты". Соответствующая информация, уведомление и тексты размещаются также в информационной системе общего пользования - на официальном сайте Федерального агентства по техническому регулированию и метрологии в сети Интернет.
Международный стандарт МЭК 60269 включает в себя следующие части под общим наименованием "Низковольтные плавкие предохранители":
- часть 1. Общие требования;
Примечание. Часть 1 включает в себя МЭК 60269-1 (третье издание 1998 г.), МЭК 60269-2 (второе издание 1986 г.) и МЭК 60269-3 (второе издание 1987 г.).
- часть 2. Дополнительные требования к плавким предохранителям для эксплуатации квалифицированным персоналом (плавкие предохранители промышленного назначения) - Примеры стандартизированных серий плавких предохранителей от A до I;
Примечание. Часть 2 включает в себя МЭК 60269-2 (второе издание 1986 г.) и полностью МЭК 60269-2-1 (четвертое издание 2004 г.).
- часть 3. Дополнительные требования к плавким предохранителям для эксплуатации неквалифицированным персоналом (плавкие предохранители бытового и аналогичного назначения) - Примеры стандартизированных серий плавких предохранителей от A до F;
Примечание. Часть 3 включает в себя МЭК 60269-3 (второе издание 1987 г.) и полностью МЭК 60269-3-1 (второе издание 2004 г.).
- часть 4. Дополнительные требования к плавким вставкам для защиты полупроводниковых устройств;
Примечание. Данная часть включает в себя МЭК 60269-4 (третье издание 1986 г.) и МЭК 60269-4-1 (первое издание 2002 г.).
- часть 5. Руководство по применению низковольтных плавких предохранителей.
Примечание. В настоящее время применяют МЭК/ТО 61818:2003.
1.1. Область применения и цель
Настоящий стандарт распространяется на плавкие предохранители, оснащенные токоограничивающими закрытыми плавкими вставками с номинальной отключающей способностью не ниже 6 кА, предназначенные для защиты цепей переменного тока промышленной частоты с номинальным напряжением не выше 1000 В или цепей постоянного тока с номинальным напряжением не выше 1500 В.
Стандарты серии, на которые в настоящем стандарте имеются ссылки, содержат дополнительные требования к плавким предохранителям, предназначенным для особых условий эксплуатации.
Плавкие вставки, предназначенные для включения в состав плавкого предохранителя-переключателя, соответствующие требованиям МЭК 60947-3, должны соответствовать требованиям настоящего стандарта.
Примечание 1. Особенности плавких вставок "a" (см.
2.2.4) в цепях постоянного тока должны быть согласованы с потребителем и изготовителем.
Примечание 2. Дополнительные требования к плавким предохранителям для частных случаев применения, например, для моторных электрических вагонов или высокочастотных цепей, могут быть приведены при необходимости в отдельных стандартах.
Примечание 3. Настоящий стандарт не распространяется на миниатюрные плавкие предохранители по МЭК 60127.
Целью настоящего стандарта является установление характеристик плавких предохранителей или их частей (оснований, держателей, плавких вставок) для возможности замены другими плавкими предохранителями или их частями с аналогичными характеристиками при условии их взаимозаменяемости, поскольку их размеры взаимосвязаны. Поэтому настоящий стандарт, в частности, распространяется на:
1) характеристики плавких предохранителей:
- номинальные значения,
- изоляцию,
- температуру перегрева в нормальных условиях эксплуатации,
- потери мощности и рассеиваемую мощность,
- времятоковые характеристики,
- отключающую способность,
- характеристики пропускаемого тока и

;
2) типовые испытания для проверки характеристик плавких предохранителей;
3) маркировку плавких предохранителей.
В настоящем стандарте использованы нормативные ссылки на следующие международные стандарты. Для датированных документов используют только указанное издание. Для недатированных документов используют самое последнее издание ссылочного документа (с учетом всех изменений).
МЭК 60038:1983. Напряжения стандартные по МЭК (IEC 60038:1983, IEC standard voltages) <1>
--------------------------------
<1> Заменен, действует МЭК 60038:2009.
МЭК 60050(441):1984. Международный электротехнический словарь (МЭС) - Глава 441: Коммутационная аппаратура, аппаратура управления и предохранители. Изменение 1 (2000) (IEC 60050(441):1984, International Electrotechnical Vocabulary (IEV) - Chapter 441: Switchgear, controlgear and fuses Amendment 1 (2000)
МЭК 60269-2. Предохранители плавкие низковольтные - Часть 2: Дополнительные требования к плавким предохранителям для использования квалифицированным персоналом (плавкие предохранители промышленного назначения) - Примеры стандартизованных серий плавких предохранителей от A до I (IEC 60269-2, Low-voltage fuses - Part 2: Supplementary requirements for fuses for use by authorized persons (fuses mainly for industrial application) - Examples of standardized systems of fuses A to I)
МЭК 60269-3. Предохранители плавкие низковольтные - Часть 2: Дополнительные требования к плавким предохранителям для использования неквалифицированным персоналом (плавкие предохранители бытового и аналогичного назначения) - Примеры стандартизованных серий плавких предохранителей от A до F (IEC 60269-3, Low-voltage fuses - Part 3: Supplementary requirements for fuses for use by authorized persons (fuses mainly for household or similar application) - Examples of standardized systems of fuses A to F)
МЭК 60269-4. Предохранители плавкие низковольтные - Часть 4: Дополнительные требования к плавким вставкам для защиты полупроводниковых устройств (IEC 60269-4, Low-voltage fuses - Part 4: Supplementary requirements for fuse-links for the protection of semiconductor devices)
МЭК 60269-5. Предохранители плавкие низковольтные - Часть 5: Руководство по применению низковольтных плавких предохранителей (IEC 60269-5, Low-voltage fuses - Part 5: Guidance for the application of low-voltage fuses)
МЭК 60364-3:1993. Электрические установки зданий - Часть 3: Оценка основных характеристик (IEC 60364-3:1993, Electrical installations of buildings - Part 3: Assessment of general characteristics) <2>
--------------------------------
<2> Действуют МЭК 60364-1:2005, МЭК 60364-5-51:2005, МЭК 60364-5-55:2001, МЭК 60364-5-56:2009.
МЭК 60364-5-52:2001. Электрические установки зданий - Часть 5-52: Отбор и монтаж электрооборудования - Системы проводки (IEC 60364-5-52:2001, Electrical installations of buildings - Part 5-52: Selection and erection of electrical equipment - Wiring system) <3>
--------------------------------
<3> Заменен на МЭК 60364-5-52:2009.
МЭК 60529:1989. Классификация степеней защиты электрооборудования оболочками (Код IP) (IEC 60529:1989, Degrees of protection provided by enclosures (Code IP)
МЭК 60584-1:1995. Термопары - Часть 1: Стандартные таблицы (IEC 60584-1:1995, Thermocouples - Part 1: Reference tables)
МЭК 60617. Графические обозначения для схем (IEC 60617, Graphical symbols for diagrams)
МЭК 60664-1:2002. Координация изоляции для оборудования в низковольтных системах - Часть 1: Принципы, требования и испытания (IEC 60664-1:2002, Insulation coordination for equipment within low-voltage systems - Part 1: Principles, requirements and tests) <4>
--------------------------------
<4> Заменен на МЭК 60664-1:2007.
#МЭК 60695-2-10:2000. Испытания на пожароопасность - Часть 2-10: Методы испытаний раскаленной/горячей проволокой. Устройство с раскаленной проволокой и общая методика испытания (IEC 60695-2-10:2000, Fire hazard testing. Part 2-10. Glowing/hot-wire based test methods. Glow-wire apparatus and common test procedure)#
#МЭК 60695-2-11:2000. Испытания на пожароопасность - Часть 2-11: Методы испытаний раскаленной/горячей проволокой. Метод испытания конечной продукции на воспламеняемость под действием раскаленной проволоки (IEC 60695-2-11:2000, Fire hazard testing. Part 2-11. Glowing/hot-wire based test methods. Glow-wire flammability test method for end-products)#
#МЭК 60695-2-12:2000. Испытания на пожароопасность - Часть 2-12: Методы испытаний раскаленной/горячей проволокой. Метод испытания материалов на воспламеняемость под действием раскаленной проволоки (IEC 60695-2-12:2000, Fire hazard testing. Part 2-12. Glowing/hot-wire based test methods. Glow-wire flammability test method for materials) <5>#
--------------------------------
<5> Заменен на МЭК 60695-2-12:2010.
МЭК 60695-2-13:2000. Испытания на пожароопасность - Часть 2-13: Методы испытаний раскаленной/горячей проволокой. Метод испытания материалов на возгораемость под действием раскаленной проволоки (IEC 60695-2-13:2000, Fire hazard testing. Part 2-13. Glowing/hot-wire based test methods. Glow-wire ignitability test method for materials) <1>
--------------------------------
<1> Заменен на МЭК 60695-2-13:2010.
ИСО 3:1973. Предпочтительные числа - Ряды предпочтительных чисел (ISO 3:1973, Preferred numbers - Series of preferred numbers)
ИСО 478:1974. Бумага - Размеры промышленных форматов - серии ИСО-А - Основной диапазон ИСО (ISO 478:1974, Paper - Untrimmed stock sizes for the ISO-A series - ISO primary range) <2>
--------------------------------
<2> Заменен на ИСО 217:2008.
ИСО 593:1974. Бумага - Размеры промышленных форматов - серии ИСО-А - Дополнительный диапазон ИСО (ISO 593:1974, Paper - Untrimmed stock sizes for the ISO-A series - ISO supplementary range)
ИСО 4046:1978. Бумага, картон, целлюлоза и соответствующие термины - Словарь - Двуязычное издание (ISO 4046:1978, Paper, board, pulp and related terms - Vocabulary - Bilingual edition) <3>.
--------------------------------
<3> Заменен на ИСО 4046-1 - 4046-5:2002.
В настоящем стандарте применены термины по МЭК 60050-441, а также следующие термины с соответствующими определениями:
2.1. Плавкие предохранители и их части
2.1.1. Плавкий предохранитель (fuse): устройство, которое за счет расплавления одного или нескольких своих элементов, имеющих определенную конструкцию и размеры, размыкает цепь, в которую оно включено, отключая ток, превышающий заданное значение в течение определенного времени. В состав плавкого предохранителя входят все элементы, образующие готовое устройство.
[МЭС 441-18-01]
2.1.2. Держатель плавкого предохранителя (fuse-holder): узел, состоящий из основания плавкого предохранителя и держателя плавкой вставки.
Примечание. При применении в настоящем стандарте термина "держатель плавкого предохранителя" под ним подразумевают (если не требуется четкого различия) основание плавкого предохранителя и/или держатель плавкой вставки.
[МЭС 441-18-14]
2.1.2.1. Основание плавкого предохранителя (крепление плавкого предохранителя) [fuse-base (fuse-mount)]: несъемная часть плавкого предохранителя, содержащая контакты и выводы для подсоединения к электрической цепи.
[МЭС 441-18-02]
Примечание. Если необходимы оболочки, их считают частью основания плавкого предохранителя.
2.1.2.2. Держатель плавкой вставки (fuse-carrier): съемная часть плавкого предохранителя, предназначенная для установки плавкой вставки.
[МЭС 441-18-13]
2.1.3. Плавкая вставка (fuse-link): часть плавкого предохранителя, содержащая плавкий элемент (элементы), предназначенная для замены после срабатывания плавкого предохранителя.
[МЭС 441-18-09]
2.1.4. Контакт плавкого предохранителя (fuse-contact): две или несколько токопроводящих частей, предназначенные для обеспечения непрерывности цепи между плавкой вставкой и соответствующим держателем.
2.1.5. Плавкий элемент (fuse-element): часть плавкой вставки, предназначенная для расплавления при срабатывании плавкого предохранителя.
[МЭС 441-18-08]
Примечание. В плавкой вставке может быть несколько параллельных плавких элементов.
2.1.6. Указатель срабатывания (индикатор) [indicating device (indicator)]: часть плавкого предохранителя, предназначенная для указания срабатывания плавкого предохранителя.
[МЭС 441-18-17]
2.1.7. Боек (striker): механическое устройство, составляющее часть плавкой вставки, которое при срабатывании плавкого предохранителя освобождает энергию, необходимую для срабатывания других предохранителей или индикаторов для обеспечения внутренней блокировки.
[МЭС 441-18-18]
2.1.8. Вывод (terminal): токоведущая часть плавкого предохранителя, предназначенная для электрического присоединения к внешним цепям.
Примечание. Выводы различают по роду цепи, для которой они предназначены (например, главный вывод, заземляющий вывод и т.п.), и по конструкции (например, резьбовой вывод, вставной вывод и т.п.).
2.1.9. Макетная плавкая вставка (dummy fuse-link): испытательная плавкая вставка с установленными значениями потерь мощности и размеров.
2.1.10. Испытательное основание (test rig): испытательное основание плавкого предохранителя установленного образца.
2.1.11. Калибровочная втулка (gauge-piece): дополнительная часть основания плавкого предохранителя, предназначенная для достижения определенной степени невзаимозаменяемости.
#2.1.12. Неразделяемый держатель плавкой вставки (linked fuse-carrier): держатель плавкой вставки, механически присоединенный к основанию плавкого предохранителя и передающий заданное движение вставления и изъятия плавкой вставки.#
[Данное определение приведено в МЭК 60269-2-1, пункт 2.1.12, который был изъят]
2.2.1. Закрытая плавкая вставка (enclosed fuse-link): плавкая вставка, один или несколько элементов которой полностью закрыты, чтобы при срабатывании в пределах ее номинальных характеристик была исключена возможность причинения ущерба, например, из-за возникновения дуги, выделения газов или выбросов пламени или металлических частиц.
[МЭС 441-18-12]
2.2.2. Токоограничивающая плавкая вставка (current-limiting fuse-link): плавкая вставка, которая в процессе и в результате своего срабатывания в установленном диапазоне токов ограничивает ток до значительно более низкого значения, чем пиковое значение ожидаемого тока.
[МЭС 441-18-10]
2.2.3. Плавкая вставка "g" (плавкая вставка с прерывающей способностью во всем диапазоне, ранее - плавкая вставка для обычных целей) ["g" fuse-link (full-range breaking-capacity fuse-link, formerly general purpose fuse-link)]: токоограничивающая плавкая вставка, способная в установленных условиях отключать все токи, вызывающие расплавление плавкого элемента вплоть до номинальной отключающей способности.
2.2.4. Плавкая вставка "a" (плавкая вставка с отключающей способностью в части диапазона; ранее - возвращающая плавкая вставка) ["a" fuse-link (partial-range breaking-capacity fuse-link, formerly back-up fuse-link)]: токоограничивающая плавкая вставка, способная в установленных условиях отключать все токи в интервале между наименьшим током, показанным на его времятоковой характеристике отключения (см.

на
рисунке 2), и номинальной отключающей способностью.
Примечание. Плавкие вставки типа "a" обычно применяют для защиты от короткого замыкания. Если требуется защита от токовых перегрузок, не превышающих

(см.
рисунок 2), то их применяют вместе с другим необходимым переключающим устройством, предохраняющим от таких небольших токовых перегрузок.
2.2.5.1. Температура окружающего воздуха

(ambient air temperature

): температура воздуха, окружающего плавкий предохранитель (на расстоянии около 1 м от него или его оболочки, при ее наличии).
2.2.5.2. Температура окружающей жидкой среды

(fluid environment temperature

): температура жидкой среды, охлаждающей части плавкого предохранителя (контакт, вывод и т.п.), равная сумме температуры окружающего воздуха

и температуры перегрева

относительно температуры внутренней жидкой среды, соприкасающейся с частями плавкого предохранителя (контактом, выводом и т.п.), находящимися в оболочке. При отсутствии оболочки предполагается, что температурное значение

равно

.
2.2.5.3. Температура части плавкого предохранителя T (fuse-component temperature T): температура T соответствующей части плавкого предохранителя (контакта, вывода и т.п.).
2.2.6. Селективность при сверхтоке (overcurrent discrimination): координация соответствующих характеристик двух или нескольких устройств для защиты от сверхтоков с таким расчетом, чтобы при появлении сверхтоков в установленных пределах срабатывало устройство, рассчитанное для этих пределов, в то время как другое(ие) устройство(а) не срабатывало(и).
2.2.7. Серия плавких предохранителей (fuse system): совокупность плавких предохранителей, основанная на одинаковых физических принципах относительно формы плавких вставок, типа контактов и т.п.
2.2.8. Типоразмер (size): установленный ряд размеров плавких предохранителей в пределах серии. Каждый отдельный типоразмер охватывает определенный диапазон номинальных токов, для которых установленные размеры плавких предохранителей остаются неизменными.
2.2.9. Однородная серия плавких вставок (homogeneous series of fuse-links): ряд плавких вставок в пределах данного типоразмера, отличающихся одна от другой лишь тем, что испытания одной плавкой вставки этого ряда или ограниченного числа таких плавких вставок можно считать достаточным для всех плавких вставок этого ряда.
Примечание. Характеристики, по которым можно различать плавкие вставки одной серии, и характерные особенности для испытания этих плавких вставок указывают для соответствующих испытаний (см.
таблицы 12 и
13).
[МЭС 441-18-34 с изменением]
2.2.10. Категория применения (плавкой вставки) [utilization category (of a fuse-link)]: совокупность требований, предъявляемых к условиям, в которых плавкая вставка выполняет свое назначение, и выбранных с целью отражения определенной группы случаев практического применения (см.
5.7.1).
2.2.11. Плавкие предохранители для эксплуатации квалифицированным персоналом (ранее - плавкие предохранители промышленного назначения) [fuses for use by authorized persons (formerly called fuses for industrial application)]: плавкие предохранители, предназначенные для установок, в которых плавкие вставки доступны только для уполномоченного квалифицированного персонала и должны заменяться только им.
Примечание 1. Нет необходимости гарантировать особенностями конструкции невзаимозаменяемость и защиту персонала от случайного соприкосновения с токоведущими частями.
Примечание 2. Квалифицированный персонал должен соответствовать определениям "обученный" <1> для категории BA 4 и "высококвалифицированный" <2> для категории BA 5 по МЭК 60364-5.
--------------------------------
<1> "Обученный" - персонал, соответствующим образом обученный или работающий под надзором квалифицированного персонала во избежание поражения электрическим током (ремонтный или эксплуатационный персонал).
<2> "Высококвалифицированный" - персонал, имеющий технические знания или достаточный практический опыт, чтобы избежать поражения электрическим током (инженеры и техники).
2.2.12. Плавкие предохранители для эксплуатации неквалифицированным персоналом (ранее - плавкие предохранители для бытового и аналогичного назначений) [fuses for use by unskilled persons (formerly called fuses for domestic and similar applications)]: плавкие предохранители, предназначенные для установок, в которых плавкие вставки доступны и могут быть заменены неквалифицированным персоналом.
Примечание. Для таких плавких предохранителей рекомендуется защита от непосредственного контакта персонала с токоведущими частями и может потребоваться, при необходимости, невзаимозаменяемость вставок.
2.2.13. Невзаимозаменяемость (non-interchangeability): ограничения по форме и/или размерам во избежание случайной установки в данное основание плавких вставок, отличающихся по электрическим характеристикам от обеспечивающих предусмотренный уровень защиты.
[МЭС 441-18-33]
2.3. Характеристики и параметры
2.3.1. Номинальное значение (rating): общий термин, обозначающий значения параметров, которые в совокупности определяют рабочие условия, в соответствии с которыми проводят испытания и на которые рассчитано оборудование.
[МЭС 441-18-36]
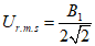
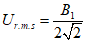
Примечание. Для низковольтных плавких предохранителей обычно указывают номинальные значения напряжения, тока, отключающей способности, потерь мощности, рассеиваемой мощности и частоты (при необходимости).
Для переменного напряжения номинальное напряжение и номинальный ток задают в виде действующих симметричных значений. Для постоянного напряжения при наличии пульсации номинальное напряжение задают в виде среднего значения, номинальный ток - в виде действующего значения. Это относится ко всем значениям напряжения и тока, если не оговорено иное.
2.3.2. Ожидаемый ток цепи (относительно плавкого предохранителя) (prospective current [of a circuit and with respect to a fuse)]: ток в цепи в случае, если включенный в нее плавкий предохранитель был бы заменен проводником, полным сопротивлением которого можно пренебречь.
Для переменного тока ожидаемый ток выражают действующим значением переменной составляющей.
Примечание. Обычно отключающую способность и характеристики плавкого предохранителя, например,

и характеристики пропускаемого тока (см.
8.5.7), задают при определенном значении ожидаемого тока.
[МЭС 441-17-01, с изменением]
2.3.3. Разброс (gates): предельные значения, между которыми находятся характеристики, например, времятоковые.
2.3.4. Отключающая способность плавкого предохранителя (breaking capacity of a fuse): значение ожидаемого тока, способного отключить плавкий предохранитель при установленном напряжении в установленных условиях эксплуатации и обслуживания.
[МЭС 441-17-08, с изменением]
2.3.5. Диапазон отключения (breaking range): диапазон ожидаемых токов, внутри которого обеспечивается отключающая способность плавкой вставки.
2.3.6. Пропускаемый ток (cut-off current): максимальное мгновенное значение, достигаемое током в процессе отключения, когда плавкая вставка своим срабатыванием предотвращает достижение током максимально возможного в других условиях значения.
2.3.7. Характеристика пропускаемого тока (cut-off current characteristic; let-through current characteristic): зависимость пропускаемого тока от ожидаемого тока в установленных условиях срабатывания.
Примечание. Для переменного тока значения пропускаемого тока - это максимальные значения, независимые от степени асимметрии.
Для постоянного тока значения пропускаемого тока - это максимальные значения, достигнутые при установленной постоянной времени.
[МЭС 441-17-14]
2.3.8. Пиковый выдерживаемый ток (держателя плавкого предохранителя) [peak withstand current (of a fuse-holder)]: значение пропускаемого тока, которое держатель плавкого предохранителя может выдержать.
Примечание. Значение пикового выдерживаемого тока должно быть не менее максимального значения пропускаемого тока любой плавкой вставки, для которой предназначен присоединяемый держатель плавкого предохранителя.
2.3.9. Преддуговое время, время расплавления (pre-arcing time; melting time): время между появлением тока, достаточного для расплавления плавкого(их) элемента(ов), и моментом возникновения дуги.
[МЭС 441-18-21]
2.3.10. Время дуги плавкого предохранителя (arcing time of a fuse): время между моментом возникновения дуги и моментом ее окончательного погасания.
[МЭС 441-17-37, с изменением]
2.3.11. Время отключения, полное время очищения (operating time; total clearing time): сумма преддугового времени и времени дуги.
[МЭС 441-18-22]
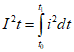
2.3.12.

(интеграл Джоуля) (

; Joule integral): интеграл квадрата тока за определенный период времени

.
Примечание 1. Преддуговой

- это интеграл

за преддуговое время плавкого предохранителя.
Примечание 2.

отключения - это интеграл

за время отключения плавкого предохранителя.
Примечание 3. Энергия в джоулях, выделяемая в резисторе 1 Ом в цепи, защищаемой плавким предохранителем, равна значению

отключения

.
[МЭС 441-18-23]
2.3.13. Характеристика

(

characteristic): кривая зависимости значения

(преддугового и/или отключения) от ожидаемого тока в установленных условиях срабатывания.
2.3.14. Зона

(

zone): область, ограниченная минимальной характеристикой преддугового

и максимальной характеристикой

отключения в установленных условиях.
2.3.15. Номинальный ток плавкой вставки

(rated current of a fuse-link

): значение тока, который плавкая вставка может длительно проводить в установленных условиях без повреждений.
2.3.16. Времятоковая характеристика (time-current characteristic): кривая зависимости преддугового времени или времени отключения от ожидаемого тока в установленных условиях срабатывания.
[МЭС 441-17-13]
Примечание. Для времени свыше 0,1 с можно практически пренебречь разницей между преддуговым временем и временем отключения.
2.3.17. Времятоковая зона (time-current zone): область, ограниченная минимальным значением преддуговой времятоковой характеристики и максимальным значением времятоковой характеристики отключения в установленных условиях.
2.3.18. Условный ток неплавления

(conventional non-fusing current

): установленное значение тока, который плавкая вставка способна пропускать в течение установленного (условного) времени, не расплавляясь.
[МЭС 441-18-27]
2.3.19. Условный ток плавления

(conventional fusing current

): установленное значение тока, вызывающее срабатывание плавкой вставки в течение установленного (условного) времени.
[МЭС 441-18-28]
2.3.20. Перегрузочная характеристика плавкой вставки типа "a" (overload curve of an "a" fuse-link): кривая зависимости времени, в течение которого плавкая вставка типа "a" должна быть способна проводить ток, не повреждаясь от него (см.
8.4.3.4 и
рисунок 2).
2.3.21. Потери мощности (в плавкой вставке) (power dissipation (in a fuse-link): энергия, которая выделяется в плавкой вставке, проводящей номинальный ток в установленных условиях.
Примечание. Предписываемые условия эксплуатации и обслуживания обычно включают в себя постоянное действующее значение электрического тока после достижения установившегося температурного режима.
[МЭС 441-18-38, с изменением]
2.3.22. Рассеиваемая мощность (основания или держателя плавкого предохранителя) [acceptable power dissipation (of a fuse-base or a fuse-holder)]: максимальное значение выделяемой в плавкой вставке энергии, на которое рассчитаны основание или держатель плавкого предохранителя в установленных условиях эксплуатации и обслуживания.
[МЭС 441-18-39]
2.3.23. Восстанавливающееся напряжение (recovery voltage): напряжение, появляющееся на выводах плавкого предохранителя после отключения тока.
Примечание. Это напряжение можно рассматривать в двух последовательных интервалах времени: первый - когда имеется переходное напряжение (см. 2.3.23.1), за которым следует второй - когда имеется только восстанавливающееся напряжение либо промышленной частоты, либо постоянного тока (см.
2.3.23.2).
[МЭС 441-17-25, с изменением]
2.3.23.1. Переходное восстанавливающееся напряжение ПВН (transient recovery voltage - abbreviation TRV): восстанавливающееся напряжение в период, когда оно имеет в значительной степени переходный характер.
Примечание 1. Переходное напряжение может быть колебательным или неколебательным в зависимости от характеристик цепи плавкого предохранителя. При этом учитывают сдвиг нейтрали многофазной цепи.
Примечание 2. В трехфазных цепях при отсутствии других указаний под переходным восстанавливающимся напряжением подразумевают напряжение, появляющееся на выводах первого отключаемого полюса, поскольку оно, как правило, выше, чем на выводах каждого из двух других полюсов.
[МЭС 441-17-26]
2.3.23.2. Возвращающееся напряжение (power-frequency of d. c. recovery voltage): восстанавливающееся напряжение после затухания переходных процессов.
[МЭС 441-17-27, с изменением]
Примечание. Возвращающееся напряжение может быть выражено в процентах номинального напряжения.
2.3.24. Напряжение дуги плавкого предохранителя (arc voltage of a fuse): мгновенное значение напряжения, появляющегося на выводах плавкого предохранителя в период горения дуги.
[МЭС 441-18-30]
2.3.25. Изолирующее расстояние (для плавкого предохранителя) [isolating distance (for a fuse)]: наименьшее расстояние между контактами основания плавкого предохранителя или любыми проводящими частями, присоединенными к ним, измеряемое на плавком предохранителе без плавкой вставки или держателя.
[МЭС 441-18-06]
3. Условия срабатывания при эксплуатации
Плавкие предохранители, соответствующие требованиям настоящего стандарта, считают способными удовлетворительно работать без дополнительной проверки в соответствии с перечисленными ниже условиями. В этих же условиях проводят испытания, за исключением указанных в
разделе 8.
3.1. Температура окружающего воздуха

Температура окружающего воздуха

(см.
2.2.5.1) не должна превышать 40 °C, ее среднее значение, измеренное в течение 24 ч, не должно превышать 35 °C, а измеренное в течение года - должно быть ниже 35 °C.
Минимальное значение температуры окружающего воздуха - минус 5 °C.
Примечание 1. Времятоковые характеристики должны быть действительными при температуре окружающего воздуха 20 °C. Эти времятоковые характеристики приемлемы также при температуре 30 °C.
Примечание 2. При температурах, значительно отличающихся от указанных, это следует учитывать с точки зрения срабатывания плавкого предохранителя, превышения температуры и т.п. (см.
Приложение D).
3.2. Высота над уровнем моря
Плавкие предохранители устанавливают на высоте не более 2000 м над уровнем моря.
Воздух должен быть чистым, а его относительная влажность - не выше 50% при максимальной температуре 40 °C.
При более низких температурах допускается повышенная относительная влажность, например, 90% при 20 °C.
В этих условиях возможна умеренная конденсация из-за колебаний температуры.
Примечание. Если плавкие предохранители должны быть использованы в условиях, отличающихся от перечисленных в
3.1 -
3.3, в частности на открытом воздухе без защиты, то необходимо согласование с изготовителем. Согласование с изготовителем необходимо также в случаях возможного образования отложений морской соли или аномальных отложений промышленного происхождения.
Максимальное напряжение в системе не должно превышать 110%-ного номинального напряжения плавкого предохранителя. При постоянном напряжении, полученном выпрямлением переменного напряжения, пульсация не должна вызывать колебаний более чем на 5% выше или на 9% ниже среднего значения 110%-ного номинального напряжения.
Для плавких предохранителей с номинальным напряжением 690 В максимальное напряжение для серии не должно превышать 105%-ного номинального напряжения плавкого предохранителя.
Примечание. Следует иметь в виду, что при напряжении значительно ниже номинального может не сработать указатель срабатывания или боек плавкого предохранителя (см.
8.4.3.6).
Значения проводимых и отключаемых токов не должны выходить за пределы диапазонов, указанных в
7.4 и
7.5.
3.6. Частота, коэффициент мощности и постоянная времени
3.6.1. Частота
При переменном напряжении - это номинальная частота плавкой вставки.
3.6.2. Коэффициент мощности
При переменном напряжении коэффициент мощности должен быть не ниже указанного в
таблице 20 при соответствующем значении ожидаемого тока.
3.6.3. Постоянная времени
При постоянном напряжении постоянная времени должна соответствовать указанной в
таблице 21.
Возможны условия эксплуатации, в которых постоянная времени превышает пределы, установленные в
таблице 21. Для таких случаев применения плавкую вставку испытывают при требуемой постоянной времени и соответственно маркируют.
Плавкий предохранитель устанавливают в соответствии с инструкцией изготовителя.
Если предполагается, что в процессе эксплуатации плавкий предохранитель будет подвергаться аномальной вибрации или ударам, то требуется согласование с изготовителем.
3.8. Категория применения
Категорию применения (например, "gG") определяют в соответствии с
5.7.1.
3.9. Селективность плавких вставок
Пределы селективности продолжительностью более 0,1 с приведены в
таблицах 2 и
3.
Для плавких предохранителей типов "gG" и "aM" значения преддугового

приведены в
таблице 7, а отключающие значения

- в следующих частях МЭК 60269. Значения других диапазонов отключения и категории применения указаны в следующих частях МЭК 60269.
Классификация плавких предохранителей - в соответствии с разделом 5 и следующими частями МЭК 60269.
5. Характеристики плавких предохранителей
5.1. Перечень характеристик
В качестве характеристик плавких предохранителей должны быть использованы следующие характеристики (если применимо):
5.1.1. Держатели плавких предохранителей
a) Номинальное напряжение (см.
5.2).
b) Номинальный ток (см.
5.3.2).
c) Род тока и номинальная частота (при наличии) (см.
5.4).
d) Номинальная рассеиваемая мощность (см.
5.5).
e) Размеры или типоразмер.
f) Число полюсов, если их более одного.
g) Пиковый выдерживаемый ток.
a) Номинальное напряжение (см.
5.2).
b) Номинальный ток (см.
5.3.1).
c) Род тока и номинальная частота (при наличии) (см.
5.4).
d) Номинальные потери мощности (см.
5.5).
e) Времятоковые характеристики (см.
5.6).
f) Диапазон отключения (см.
5.7.1).
g) Номинальная отключающая способность (см.
5.7.2).
h) Характеристики пропускаемого тока (см.
5.8.1).
i) Характеристики

(см.
5.8.2).
k) Размеры или типоразмер.
5.1.3. Плавкие предохранители в комплекте
Степень защиты в соответствии с МЭК 60529.
5.2. Номинальное напряжение
Стандартные значения номинального переменного напряжения приведены в таблице 1.
Таблица 1
Стандартные значения номинального переменного напряжения
для плавких предохранителей
┌─────────────────────────────────────────────────────────────────────────┐
│ Номинальное переменное напряжение, В │
├────────────────────────────────────┬────────────────────────────────────┤
│ Ряд I │ Ряд II │
├────────────────────────────────────┼────────────────────────────────────┤
│ │ 120* │
│ │ 208 │
│ 230* │ 240 │
│ │ 277* │
│ 400* │ 415* │
│ 500 │ 480* │
│ 690* │ 600 │
└────────────────────────────────────┴────────────────────────────────────┘
Значения, отмеченные звездочкой, - в соответствии с МЭК 60038. Одновременно допускается использовать другие значения, приведенные в
таблице 1.
Предпочтительными значениями номинального постоянного напряжения являются значения: 110*; 125*; 220*; 250*; 440*; 460; 500; 600*; 750 В.
Примечание. Номинальное напряжение плавкой вставки может отличаться от номинального напряжения держателя плавкого предохранителя, для которого предназначена плавкая вставка. Номинальное напряжение плавкого предохранителя - наименьшее из номинальных напряжений всех его частей (держателя, плавкой вставки).
5.3.1. Номинальный ток плавкой вставки
Номинальный ток плавкой вставки следует выбирать из следующих значений: 2; 4; 6; 8; 10; 12; 16; 20; 25; 32; 40; 60; 63; 80; 100; 125; 160; 200; 250; 315; 400; 500; 630; 800; 1000; 1250 А.
Примечание 1. Если требуются более высокие или более низкие значения, их следует выбирать из ряда R10 по ИСО 3.
Примечание 2. Если, в исключительных случаях, необходимо промежуточное значение, его следует выбирать из ряда R20 по ИСО 3.
5.3.2. Номинальный ток держателя плавкого предохранителя
Номинальный ток держателя следует выбирать из ряда номинальных токов плавких вставок, если в следующих частях не оговорено иное. Для плавких предохранителей типов "gG" и "aM" номинальный ток держателя - это наибольший номинальный ток плавкой вставки, в сочетании с которой предполагается его использовать.
5.4. Номинальная частота (см.
6.1 и
6.2)
Отсутствие какого-либо маркированного значения номинальной частоты означает, что плавкий предохранитель соответствует требованиям настоящего стандарта, только для частот в интервале от 45 до 62 Гц.
5.5. Номинальные потери мощности плавкой вставки и номинальная рассеиваемая мощность держателя плавкого предохранителя
Номинальные потери мощности плавкой вставки устанавливает изготовитель, если в следующих частях не оговорено иное. Потери не должны превышать значения, указанного для установленных условий испытаний.
Номинальную рассеиваемую мощность держателя плавкого предохранителя устанавливает изготовитель, если в следующих частях МЭК 60269 не оговорено иное. Значение рассеиваемой мощности должно быть равно максимальным потерям мощности, которые способен выдержать держатель плавкого предохранителя в установленных условиях испытаний, не выходя за пределы заданного превышения температуры.
5.6. Пределы времятоковых характеристик
Пределы времятоковых характеристик зависят от температуры окружающего воздуха

, равной 20 °C.
5.6.1. Времятоковые характеристики, времятоковые зоны
Времятоковые характеристики, времятоковые зоны зависят от конструкции плавкой вставки и для данной плавкой вставки - от температуры окружающего воздуха и условий охлаждения.
Примечание. При температуре окружающего воздуха, отличающейся от диапазона температур, приведенного в
3.1, необходимо согласование с изготовителем.
Для плавких вставок, не соответствующих стандартным времятоковым зонам, указанным в следующих частях МЭК 60269, изготовитель должен указывать времятоковые характеристики (с их допусками): времятоковые характеристики преддугового времени и времени отключения или времятоковую зону.
Примечание. Для преддугового времени менее 0,1 с изготовитель должен представить соответствующие характеристики

с их допусками (см.
5.8.2).
Если времятоковые характеристики представлены для преддугового времени более 0,1 с, то на графике ток следует приводить по оси абсцисс и время по оси ординат. Для обеих осей координат используют логарифмическую шкалу.
Соотношение основ логарифмической шкалы (размеры одного десятичного разряда) должно быть 2:1 с более длинными размерами по оси абсцисс. Однако вследствие установившейся практики в Соединенных Штатах Америки в качестве альтернативы признано отношение 1:1. Времятоковая характеристика должна быть представлена на листах формата А3 или А4 в соответствии с ИСО 478 или ИСО 593.
Размеры десятичных разрядов выбирают из следующих рядов: 2; 4; 8; 16 см и 2,8; 5,6; 11,2 см.
Примечание. Рекомендуется использовать, по мере возможности, предпочтительные значения 2,8 см (по ординате) и 5,6 см (по абсциссе).
5.6.2. Условные время и токи
Значения условных времени и токов плавких вставок приведены в таблице 2. Для плавких вставок типов "gD" и "gN" условные время и токи приведены в МЭК 60269-2 для серии плавких предохранителей H.
Таблица 2
Условные время и токи для плавких вставок "gG" и "gM"
┌─────────────────────────────────────────────────┬────────┬──────────────┐
│ Номинальный ток I для "gG", │Условное│ Условный ток │
│ n │ время, ├───────┬──────┤
│ Характеристический ток I для "gM"
<b>, А │ ч │ I │ I │
│ ch │ │ nt │ f │
├─────────────────────────────────────────────────┼────────┼───────┼──────┤
│ n │ │ │ │
│ 16 <= I <= 63 │ 1 │ │ │
│ n │ │ │ │
│ 63 <= I <= 160 │ 2 │1,25I │1,6I │
│ n │ │ n │ n │
│ 160 < I <= 400 │ 3 │ │ │
│ n │ │ │ │
│ 400 < I │ 4 │ │ │
│ n │ │ │ │
├─────────────────────────────────────────────────┴────────┴───────┴──────┤
│ #<a> Значения для плавких вставок с номинальным током менее 16 А│
│приведены в следующих частях МЭК 60269.# │
│ <b> Для плавких вставок "gM" см.
5.7.1. │
└─────────────────────────────────────────────────────────────────────────┘
5.6.3. Разбросы
Для плавких вставок "gG" и "gM" разбросы установленного преддугового времени приведены в таблице 3.
Таблица 3
Разбросы установленного преддугового времени
для плавких вставок "gG" и "gM"
<a>
┌──────────────┬──────────────┬─────────────┬──────────────┬──────────────┐
│ 1 │ 2 │ 3 │ 4 │ 5 │
├──────────────┼──────────────┼─────────────┼──────────────┼──────────────┤
│ I для "gG", │ I (10 с) │ I (5 с) │ I (0,1 с) │ I (0,1 с) │
│ n │ min │ max │ min │ max │
│ ch │ │ │ │ │
├──────────────┼──────────────┼─────────────┼──────────────┼──────────────┤
│ 16 │ 33 │ 65 │ 85 │ 150 │
│ 20 │ 42 │ 65 │ 110 │ 200 │
│ 25 │ 52 │ 110 │ 150 │ 260 │
├──────────────┼──────────────┼─────────────┼──────────────┼──────────────┤
│ 32 │ 75 │ 150 │ 200 │ 350 │
│ 40 │ 95 │ 190 │ 260 │ 450 │
│ 50 │ 125 │ 250 │ 350 │ 610 │
│ 63 │ 160 │ 320 │ 450 │ 820 │
│ 80 │ 215 │ 425 │ 610 │ 1100 │
├──────────────┼──────────────┼─────────────┼──────────────┼──────────────┤
│ 100 │ 290 │ 580 │ 820 │ 1450 │
│ 125 │ 355 │ 715 │ 1100 │ 1910 │
│ 160 │ 460 │ 950 │ 1450 │ 2590 │
│ 200 │ 610 │ 1250 │ 1910 │ 3420 │
│ 250 │ 750 │ 1650 │ 2590 │ 4500 │
├──────────────┼──────────────┼─────────────┼──────────────┼──────────────┤
│ 315 │ 1050 │ 2200 │ 3420 │ 6000 │
│ 400 │ 1420 │ 2840 │ 4500 │ 8060 │
│ 500 │ 1760 │ 3800 │ 6000 │ 10600 │
│ 630 │ 2200 │ 5100 │ 8060 │ 14140 │
│ 800 │ 3060 │ 7000 │ 10600 │ 19000 │
├──────────────┼──────────────┼─────────────┼──────────────┼──────────────┤
│ 1000 │ 4000 │ 9500 │ 14140 │ 24000 │
│ 1250 │ 5000 │ 13000 │ 19000 │ 35000 │
├──────────────┴──────────────┴─────────────┴──────────────┴──────────────┤
│ #<a> Значения для плавких предохранителей с номинальным током менее│
│16 А приведены в следующих частях МЭК 60269.# │
│ <b> Для плавких вставок "gM" см.
5.7.1. │
│ <c> I (10 с) - минимальное значение тока, при котором преддуговое│
│ min │
│время не менее 10 с. │
└─────────────────────────────────────────────────────────────────────────┘
Разбросы времятоковых характеристик относительно эталонной температуры окружающего воздуха 20 °C для плавких предохранителей типа "aM" приведены в таблице 4 и на
рисунке 3. Стандартными k-факторами являются

,

и

.
Таблица 4
Разбросы времятоковых характеристик для плавких вставок
типа "aM" (для всех номинальных токов)
Ранее - таблица A в редакции 2 МЭК 60269-2 для плавких предохранителей серии H.
┌─────────────┬─────────┬─────────┬─────────┬─────────┬─────────┬─────────┐
│ │ 4I │ 6,3I │ 8I │ 10I │ 12,5I │ 19I │
│ │ n │ n │ n │ n │ n │ n │
├─────────────┼─────────┼─────────┼─────────┼─────────┼─────────┼─────────┤
│t │ - │ 60 │ - │ - │ 0,5 │ 0,10 │
│ срабатывания│ │ │ │ │ │ │
├─────────────┼─────────┼─────────┼─────────┼─────────┼─────────┼─────────┤
│t │ 60 │ - │ 0,5 │ 0,2 │ - │ - │
│ преддуговое │ │ │ │ │ │ │
└─────────────┴─────────┴─────────┴─────────┴─────────┴─────────┴─────────┘
Разбросы времятоковых характеристик для плавких вставок "gG" и "gN" приведены в МЭК 60269-2 для плавких предохранителей серии H.
5.7. Диапазон отключения и отключающая способность
5.7.1. Диапазон отключения и категория применения
Первая буква в обозначении типа плавкой вставки указывает на диапазон отключения:
g - плавкие вставки с отключающей способностью во всем диапазоне;
a - плавкие вставки с отключающей способностью в части диапазона.
Вторая буква в обозначении типа плавкой вставки указывает на категорию применения; она точно определяет времятоковые характеристики, условные время и ток, значения разбросов.
Примеры:
"gG" - плавкие вставки общего назначения с отключающей способностью во всем диапазоне;
"gM" - плавкие вставки для защиты цепей двигателей с отключающей способностью во всем диапазоне;
"aM" - плавкие вставки для защиты цепей двигателей с отключающей способностью в части диапазона;
"gD" - плавкие вставки с задержкой времени с отключающей способностью во всем диапазоне;
"gN" - плавкие вставки без задержки времени с отключающей способностью во всем диапазоне.
Примечание 1. В настоящее время плавкие вставки типа "gG" зачастую используют для защиты цепей двигателей, что возможно, если по своим характеристикам они способны выдерживать пусковой ток двигателя.
Примечание 2. Плавкие вставки типа "gM" с двойной номинальной характеристикой рассчитаны на два значения тока. Первое из них

означает номинальный ток плавкой вставки и номинальный ток держателя плавкого предохранителя, второе значение

- времятоковая характеристика плавкой вставки в соответствии со значениями разбросов, определяемыми по
таблицам 2,
3 и
7.
Эти характеристики разделяют буквой, указывающей на область применения плавкой вставки.
Например,

- плавкий предохранитель, предназначенный для защиты цепей двигателей с характеристикой G. Первое значение

соответствует максимальному установившемуся току всего плавкого предохранителя, второе

- характеристике G плавкой вставки.
Примечание 3. Плавкая вставка "aM" характеризуется одним значением тока

и времятоковой характеристикой в соответствии с
8.4.3.3.1 и
рисунком 2.
5.7.2. Номинальная отключающая способность
Номинальную отключающую способность плавкой вставки указывает изготовитель в соответствии с номинальным напряжением. Значения номинальной отключающей способности приводят в следующих частях.
5.8. Характеристики пропускаемого тока и

Значения характеристик пропускаемого тока и

должны учитывать технологические допуски и должны быть соотнесены с условиями эксплуатации в соответствии с следующими частями МЭК 60269, например, со значениями напряжения, частоты и коэффициента мощности.
5.8.1. Характеристики пропускаемого тока
Характеристиками пропускаемого тока должны представлять собой максимальные мгновенные значения тока, которые можно ожидать при эксплуатации (см.
8.6.1 и
Приложение C).
Если требуются характеристики пропускаемого тока, не указанные в следующих частях МЭК 60269, то они должны быть приведены изготовителем в двойном логарифмическом масштабе с ожидаемым током по оси абсцисс в соответствии с примером, приведенном на
рисунке 4.
5.8.2. Характеристики

Характеристики преддугового

для преддугового времени менее 0,1 с, соответствующие номинальной отключающей способности, должен приводить изготовитель. Эти характеристики представляют в виде зависимости наименьших значений, возможных при эксплуатации, от ожидаемого тока.
Характеристики

отключения с установленными в качестве параметра значениями напряжения для преддугового времени менее 0,1 с должен приводить изготовитель. Эти характеристики представляют в виде зависимости наибольших значений, ожидаемых при эксплуатации, от ожидаемого тока.
При представлении в виде графиков характеристики

следует приводить по оси абсцисс ожидаемый ток, а по оси ординат - значения

. Для обеих осей координат используют логарифмическую шкалу (о применении логарифмической шкалы см.
5.6.1).
Маркировка должна быть четкой и разборчивой. Соответствие данному требованию проверяют внешним осмотром и следующим испытанием.
#Маркировку протирают вручную в течение 5 с кусочком ткани, смоченным водой, и еще раз в течение 5 с - кусочком ткани, смоченным петролеумным спиртом.
Примечание. Рекомендуется использовать петролеумный спирт, состоящий из раствора гексана с ароматическим содержанием не более 0,1 процента по объему, значением каурибутанола около 29, первоначальной температурой точки кипения около 65 °C, температурой точки высыхания около 69 °C и плотностью около 0,68 г/см3.#
6.1. Маркировка держателей плавких предохранителей
Маркировка держателей должна содержать:
- наименование изготовителя или товарный знак, по которому его легко идентифицировать;
- данные об изготовителе, по которым можно определить все характеристики, перечисленные в
5.1.1;
- номинальное напряжение;
- номинальный ток;
- род тока и, если требуется, номинальную частоту.
Примечание. Держатель плавкого предохранителя, маркированный характеристиками переменного тока, допускается использовать и для постоянного тока. Если держатель оснащен съемным основанием плавкого предохранителя и съемным держателем плавкой вставки, их следует маркировать отдельно для идентификации.
6.2. Маркировка плавких вставок
Маркировка плавких вставок, за исключением малогабаритных, т.е. там, где это неосуществимо, должна содержать:
- наименование изготовителя или товарный знак, по которому его легко идентифицировать;
- данные об изготовителе, по которым можно определить все характеристики, перечисленные в
5.1.2;
- номинальное напряжение;
- номинальный ток (для вставки типа "gM" см.
5.7.1);
- диапазон отключения и категорию применения (буквенное обозначение), при необходимости (см.
5.7.1);
- род тока и (при необходимости) номинальную частоту (см.
5.4).
Примечание. Если плавкая вставка предназначена для переменного и постоянного токов, ее следует маркировать раздельно по переменному и постоянному току.
На малогабаритных плавких вставках в случае, если не помещается вся установленная в настоящем разделе информация, маркируют товарный знак, обозначение каталога изготовителя, номинальное напряжение и номинальный ток.
6.3. Условные обозначения
Род тока и частоту обозначают символами по МЭК 60417.
Примечание. Номинальный ток и номинальное напряжение возможно, например, маркировать так: 10 А, 500 В или

, или 10/500.
7. Типовые требования к конструкции
7.1.1. Замена плавких вставок
Плавкая вставка должна обладать соответствующей механической прочностью, и ее контакты должны быть надежно закреплены. Замена плавких вставок должна быть удобной и безопасной.
7.1.2. Соединения, в том числе выводы
Для стационарных соединений в условиях эксплуатации и срабатывания следует поддерживать необходимое контактное нажатие.
Контактное нажатие, воздействующее на соединения, не следует передавать через изолирующий материал, за исключением керамики или другого материала с подходящими характеристиками, если металлические части не обладают достаточной упругостью, чтобы компенсировать любую возможную усадку или другую деформацию изолирующего материала. Необходимые испытания приведены в следующих частях МЭК 60269.
Конструкция выводов должна быть такой, чтобы при затягивании соединительных винтов они не могли быть провернуты или смещены и проводники не были сдвинуты. Части, зажимающие проводники, должны быть изготовлены из металла, и их форма должна быть такой, чтобы чрезмерно не повреждать проводники.
Выводы должны располагаться так, чтобы быть легкодоступными [после удаления крышек (при их наличии)] в предполагаемых условиях монтажа.
#Примечание. Требования к выводам без резьбы приведены в
Приложении E.#
7.1.3. Контакты плавкого предохранителя
Контакты плавкого предохранителя должны быть изготовлены с таким расчетом, чтобы в условиях эксплуатации и срабатывания, соответствующих, в частности,
7.5, поддерживалось необходимое контактное нажатие.
Контакт должен быть осуществлен таким образом, чтобы электромагнитные силы, возникающие при срабатывании по
7.5, не повреждали электрические соединения между:
a) основанием плавкого предохранителя и держателем плавкой вставки;
b) держателем плавкой вставки и плавкой вставкой;
c) плавкой вставкой и основанием плавкого предохранителя или (если применимо) любой другой опорой.
Кроме того, контакты плавких предохранителей должны быть сконструированы таким образом и из такого материала, чтобы при правильной установке предохранителя и в нормальных условиях поддерживался нормальный контакт:
a) после повторной установки и извлечения;
b) после продолжительной непрерывной эксплуатации (см.
8.10).
На контактах из медного сплава не должно появляться трещин в результате старения.
Данные требования проверяют испытаниями по
8.10,
8.11.2.1 и в соответствии с
разделом 8 следующих частей МЭК 60269.
7.1.4. Конструкция калибровочной втулки
Конструкция калибровочной втулки (при ее наличии) должна выдерживать нормальные напряжения, появляющиеся во время эксплуатации.
7.1.5. Механическая прочность плавкой вставки
Плавкая вставка должна иметь соответствующую прочность, и ее контакты должны быть надежно закреплены.
7.2. Изоляционные свойства и способность к разъединению
#Плавкие предохранители не должны терять своих изоляционных свойств при напряжениях, которым их подвергают в условиях нормальной эксплуатации. Плавкий предохранитель подходит для разъединения, если он находится в нормальном открытом состоянии с плавкой вставкой, находящейся внутри держателя плавкой вставки, или при удаленной плавкой вставке и (если применимо) удаленном держателе плавкой вставки.# Применяемая категория перенапряжения указана в следующих частях МЭК 60269.
Плавкий предохранитель считают соответствующим данному требованию, если он выдерживает испытание по проверке изоляционных свойств в соответствии с
8.2.
Минимальные пути утечки, зазоры и расстояния по изоляционному материалу или герметизирующему компаунду должны соответствовать значениям, установленным в следующих частях МЭК 60269.
7.3. Температура перегрева, потери мощности плавкой вставки и рассеиваемая мощность держателя плавкого предохранителя
Держатель плавкого предохранителя должен быть спроектирован и рассчитан так, чтобы он в нормальных условиях эксплуатации проводил номинальный ток плавкой вставки, которой он оснащен, без превышения температуры перегрева, приведенной в таблице 5, при номинальной рассеиваемой мощности держателя плавкого предохранителя, как указано изготовителем или установлено в следующих частях МЭК 60269.
Таблица 5
Пределы температуры перегрева

для контактов и зажимов
Ранее - таблица 4 в редакции 3.
┌───────────────────────────────────────┬─────────────────────────────────┐
│ Вид контакта и зажима │ Температура перегрева T, К │
│ ├────────────────┬────────────────┤
│ │без оболочки
<a>│ в оболочке
<b> │
├───────────────────────────────────────┼────────────────┼────────────────┤
│- пружинные: │ │ │
│медные без покрытия │40 │45 │
│латунные без покрытия │45 │50 │
├───────────────────────────────────────┼────────────────┼────────────────┤
│- резьбовые: │ │ │
│медные без покрытия │55 │65 │
│латунные без покрытия │60 │65 │
├───────────────────────────────────────┼────────────────┼────────────────┤
│Зажимы: │ │ │
│- медные без покрытия │55 │65 │
│- латунные без покрытия │60 │65 │
│- луженые │65 │65 │
│- посеребренные или никелированные │70
<d> │70
<d> │
├───────────────────────────────────────┴────────────────┴────────────────┤
│ <a> В случае T = T (см.
2.2.5). │
│ e a │
│ <b> Действительно при значениях Дельта T от 10 до 30 К│
│ e │
│(10 К <= Дельта T <= 30 К) и температуре окружающего воздуха T не выше│
│ e a │
│40 °C. │
│ <c> Ограничивается только необходимостью предотвратить повреждение│
│соседних частей. │
│ <d> Этот предел температуры перегрева обуславливается применением│
│проводников с поливинилхлоридной изоляцией. │
│ <e> Приведенные значения не относятся к сериям плавких│
│предохранителей, площадь поперечного сечения которых и материал контактов│
│указаны в следующих частях. │
│ <f> Эти пределы могут быть превышены, если проверка подтвердит, что│
│воздействие фактической температуры во время испытания на целостность│
│контактов не приводит к повреждению контакта. │
│ <g> Значения, содержащиеся в настоящей таблице, не распространяются│
│на некоторые малогабаритные плавкие предохранители, температуру которых│
│невозможно измерить с достаточной точностью. Поэтому целостность│
│контактов проверяют испытанием по
8.10. │
│ <h> При использовании никелированных контактов из-за их сравнительно│
│высокого электрического сопротивления необходимы некоторые меры│
│предосторожности при проектировании контакта, в том числе применение│
│сравнительно высокого контактного нажатия. │
│ <i> Испытание на целостность контактов установлено в
8.10. │
└─────────────────────────────────────────────────────────────────────────┘
Плавкая вставка должна быть спроектирована и рассчитана так, чтобы в нормальных условиях эксплуатации могла непрерывно проводить номинальный ток без превышения номинальных потерь мощности плавкой вставки, как указано изготовителем или установлено в следующих частях МЭК 60269.
В частности, не допускается превышение температур перегрева, приведенных в
таблице 5, в случаях, если номинальный ток плавкой вставки равен номинальному току держателя плавкого предохранителя, предназначенного для установки этой плавкой вставки, и если потери мощности плавкой вставки равны номинальной рассеиваемой мощности держателя плавкого предохранителя.
Данные требования проверяют испытаниями по
8.3.
Плавкая вставка должна быть спроектирована и рассчитана так, чтобы при испытаниях с номинальной частотой и температурой окружающего воздуха (20 +/- 5) °C в соответствующем ей устройстве она была способна:
- непрерывно проводить любой ток, не превышающий ее номинального тока;
- выдерживать перегрузки, возможные в нормальных условиях эксплуатации (см.
8.4.3.4).
Для плавкой вставки "g" это означает, что в пределах условного времени:
#- плавкая вставка не срабатывает при проведении тока, не превышающего условный ток неплавления

;#
- она срабатывает при проведении тока, равного или превышающего ток плавления

.
Примечание. Следует учитывать времятоковые зоны в случае их наличия.
Для плавкой вставки "a" это означает, что:
#- плавкая вставка не срабатывает при проведении тока, не превышающего к

в течение соответствующего времени, показанного на кривой перегрузки (см.
рисунок 2);#
- при проведении тока в интервале от

до

плавкий элемент может расплавляться при условии, что преддуговое время превышает значение, указанное на преддуговой времятоковой характеристике;
- плавкая вставка срабатывает при проведении тока более

в пределах своей времятоковой зоны с учетом времени дуги.
Времятоковые значения, измеренные по
8.4.3.3, должны находиться во времятоковой зоне, указанной изготовителем.
Плавкую вставку считают соответствующей этим требованиям, если она выдерживает испытания по
8.4.
7.5. Отключающая способность
Плавкий предохранитель должен быть способен отключать любую цепь при номинальной частоте и напряжении, не превышающем восстанавливающееся напряжение согласно
8.5, для которой ожидаемый ток составляет: от

- для плавких вставок типа "g" или

- для плавких вставок типа "a" до номинальной отключающей способности при коэффициентах мощности не ниже указанных в
таблице 20 соответственно значению ожидаемого переменного тока или номинальной отключающей способности при постоянных времени, не выходящих за пределы, указанные в
таблице 21, соответственно значению ожидаемого постоянного тока.
В момент срабатывания плавкой вставки в испытательной цепи, соответствующей
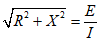
8.5, напряжение дуги не должно превышать значений, приведенных в таблице 6.
Примечание. Если плавкие вставки используют в цепях, сетевое напряжение которых ниже диапазона номинальных напряжений этих плавких вставок, следует принять меры, чтобы напряжение дуги не превышало значения, соответствующего данному сетевому напряжению по таблице 6.
Таблица 6
Максимальное напряжение дуги
Ранее - таблица 5 в редакции 3.
┌───────────────────────┬────────────────────────┬────────────────────────┐
│ Род тока │ Номинальное напряжение │ Максимальное (пиковое) │
│ │ плавкой вставки │ напряжение дуги │
├───────────────────────┼────────────────────────┼────────────────────────┤
│Переменный и постоянный│ До 60 включ. │ 1000 │
│ │ 61 - 300 │ 2000 │
│ │ 301 - 660 │ 2500 │
│ │ 661 - 800 │ 3000 │
│ │ 801 - 1000 │ 3500 │
├───────────────────────┼────────────────────────┼────────────────────────┤
│Постоянный │ 1001 - 1200 │ 3500 │
│ │ 1201 - 1500 │ 5000 │
├───────────────────────┴────────────────────────┴────────────────────────┤
│ Примечание. Для плавких вставок на минимальные токи менее 16 А│
│максимальное напряжение дуги в настоящем стандарте не указано (находится│
│в стадии обсуждения). │
└─────────────────────────────────────────────────────────────────────────┘
Плавкий предохранитель считают соответствующим этим требованиям, если он выдерживает испытания, установленные в
8.5.
7.6. Характеристика пропускаемого тока
При отсутствии иных указаний в следующих частях значения пропускаемого тока, измеренные по
8.6, должны быть не выше значений, соответствующих характеристике пропускаемого тока, указанной изготовителем (см.
5.8.1).
Примечание. Зависимость характеристик пропускаемого тока от фактического преддугового времени приведена в
Приложении C.
7.7. Характеристики

Значения преддугового

, проверяемые по
8.7, должны быть не ниже характеристик, указанных изготовителем в соответствии с
5.8.2, и не выходить за пределы, установленные в таблице 7 для плавких вставок типов "gG" и "gM". Для преддугового времени менее 0,01 с пределы устанавливают в следующих частях МЭК 60269 (при необходимости). Значения для плавких вставок типов "gD" и "gN" приведены в МЭК 60269-2 для серии плавких предохранителей H.
Таблица 7
Значения преддугового

за 0,01 с
для плавких вставок типов "gG" и "gM"
Ранее - таблица 6 в редакции 3.
┌──────────────────────────┬───────────────────────┬──────────────────────┐
│ │ 2 3 2 │ 2 3 2 │
│ I для типа "gG", │ I t , 10 (А x с) │ I t , 10 (А x с) │
│ n │ min │ max │
│ I для типа "gM"
<a>, А │ │ │
│ ch │ │ │
├──────────────────────────┼───────────────────────┼──────────────────────┤
│ 16 │ 0,3 │ 1,0 │
│ 20 │ 0,5 │ 1,8 │
│ 25 │ 1,0 │ 3,0 │
│ 32 │ 1,8 │ 5,0 │
│ 40 │ 3,0 │ 9,0 │
│ 50 │ 5,0 │ 16,0 │
│ 63 │ 9,0 │ 27,0 │
│ 80 │ 16,0 │ 46,0 │
│ 100 │ 27,0 │ 86,0 │
│ 125 │ 46,0 │ 140,0 │
│ 160 │ 86,0 │ 250,0 │
│ 200 │ 140,0 │ 400,0 │
│ 250 │ 250,0 │ 760,0 │
│ 315 │ 400,0 │ 1300,0 │
│ 400 │ 760,0 │ 2250,0 │
│ 500 │ 1300,0 │ 3800,0 │
│ 630 │ 2250,0 │ 7500,0 │
│ 800 │ 3800,0 │ 13600,0 │
│ 1000 │ 7840,0 │ 25000,0 │
│ 1250 │ 13700,0 │ 47000,0 │
├──────────────────────────┴───────────────────────┴──────────────────────┤
│ <a> Для плавких вставок типа "gM" см.
5.7.1. │
└─────────────────────────────────────────────────────────────────────────┘
Значения

отключения, проверяемые по
8.7, не должны превышать характеристик, установленных изготовителем в соответствии с
5.8.2 или приведенных в следующих частях МЭК 60269.
7.8. Селективность при сверхтоках плавких вставок
Требования к селективности при сверхтоках зависят от серии плавких предохранителей, номинального напряжения и назначения плавкого предохранителя и могут быть изложены в следующих частях МЭК 60269.
7.9. Защита от электрического удара
При защите от электрического удара следует различать три состояния плавкого предохранителя:
- укомплектованный плавкий предохранитель правильно установлен и соединен с основанием, оснащен плавкой вставкой и, в случае необходимости, калибровочной втулкой, держателем и оболочкой, являющимися частями этого плавкого предохранителя (в нормальных условиях эксплуатации);
- во время замены плавкой вставки;
- удалены плавкая вставка и (при наличии) держатель.
Номинальное импульсное выдерживаемое напряжение, соответствующее номинальному напряжению, и категория перенапряжения плавкого предохранителя, которую указывают в следующих частях МЭК 60269, приведены в таблице 8.
Таблица 8
Номинальное импульсное выдерживаемое напряжение
Ранее - таблица 13 в изменении 1 к редакции 3.
┌─────────────────────────────┬───────────────────────────────────────────┐
│ Номинальное напряжение │ Номинальное импульсное выдерживаемое │
│ плавкого предохранителя │ напряжение U (1,2/50 мкс), кВ, │
│ до указанного значения │ imp │
│ включительно, В │ для категорий перенапряжения │
│ ├──────────┬──────────┬──────────┬──────────┤
│ │ IV │ III │ II │ I │
├─────────────────────────────┼──────────┼──────────┼──────────┼──────────┤
│ 230 │ 4 │ 2,5 │ 1,5 │ 0,8 │
├─────────────────────────────┼──────────┼──────────┼──────────┼──────────┤
│ 400 │ 6 │ 4 │ 2,5 │ 1,5 │
├─────────────────────────────┼──────────┼──────────┼──────────┼──────────┤
│ 690 │ 8 │ 6 │ 4 │ 2,5 │
├─────────────────────────────┼──────────┼──────────┼──────────┼──────────┤
│ 1000 │ 12 │ 8 │ 6 │ 4 │
└─────────────────────────────┴──────────┴──────────┴──────────┴──────────┘
Эти требования приведены в следующих частях МЭК 60269 (см. также
8.8).
7.9.1. Зазоры и пути утечки
Воздушные зазоры должны быть не менее приведенных в таблице 9 для снижения риска разрушающего разряда из-за перенапряжения.
Таблица 9
Минимальные воздушные зазоры
Ранее - таблица 14 в изменении 1 к редакции 3.
┌────────────────────────────────────┬────────────────────────────────────┐
│Номинальное импульсное выдерживаемое│ Минимальные зазоры, мм, │
│ напряжение U , кВ │ для неоднородных условий │
│ imp │ эксплуатации │
├────────────────────────────────────┼────────────────────────────────────┤
│ 0,8 │ 0,8 │
├────────────────────────────────────┼────────────────────────────────────┤
│ 1,5 │ 0,8 │
├────────────────────────────────────┼────────────────────────────────────┤
│ 2,5 │ 1,5 │
├────────────────────────────────────┼────────────────────────────────────┤
│ 4,0 │ 3,0 │
├────────────────────────────────────┼────────────────────────────────────┤
│ 6,0 │ 5,5 │
├────────────────────────────────────┼────────────────────────────────────┤
│ 8,0 │ 8,0 │
├────────────────────────────────────┼────────────────────────────────────┤
│ 12,0 │ 14,0 │
├────────────────────────────────────┴────────────────────────────────────┤
│ Примечание. Значения минимальных воздушных зазоров основаны│
│на импульсном напряжении 1,2/50 мкс при барометрическом давлении 80 кПа,│
│эквивалентном нормальному атмосферному давлению на высоте 2000 м над│
│уровнем моря. │
└─────────────────────────────────────────────────────────────────────────┘
Зазоры должны соответствовать группе материалов по 2.7.1.3 МЭК 60664-1 при соответствующем номинальном напряжении, приведенном в таблице 10.
Таблица 10
Ранее - таблица 15 в изменении 1 к редакции 3.
Номинальное напряжение плавкого предохранителя, В (включ.) | Зазоры для оборудования, подвергаемого длительной нагрузке, мм, для группы материалов |
I | II | III |
230 | 3,2 | 3,6 | 4 |
400 | 5 | 5,6 | 6,3 |
600 | 8 | 9 | 10 |
1000 | 12,5 | 14 | 16 |
#7.9.2. Токи утечки плавких предохранителей, пригодных для разделения#
Для плавких предохранителей, пригодных для разделения, номинальным напряжением свыше 50 В ток утечки следует измерять на каждом полюсе с контактами в открытом положении.
Ток утечки при напряжении, превышающем в 1,1 раза номинальное напряжение, не должен превышать:
0,5 мА - на полюс для плавких предохранителей в новых условиях;
2 мА - на полюс для плавких предохранителей, подвергаемых испытаниям по
8.5.
#7.9.3. Дополнительные требования к конструкции плавких предохранителей с неразделяемыми держателями плавких вставок, пригодных для разделения#
Держатель плавкого предохранителя следует маркировать обозначением по МЭК 60617-S00369.
Примечание 1. Графическое обозначение по МЭК 60617-S00369 (DB:2001-07) (ранее - графическое обозначение 07-21-08 МЭК 60617-7).
В случае, если плавкий предохранитель находится в открытом положении с плавкой вставкой, остающейся внутри держателя плавкой вставки, должно быть обеспечено изолирующее расстояние между контактами плавкого предохранителя в соответствии с функцией разделения. Индикация этого положения должна обеспечиваться положением держателя плавкой вставки.
Данное требование проверяется по
8.2.
При наличии средств блокирования, устанавливаемых изготовителем для блокирования плавких предохранителей в секциях, блокирование должно быть возможно только в этом положении. Плавкие предохранители следует проектировать так, чтобы держатель плавкой вставки оставался присоединенным к основанию плавкого предохранителя, обеспечивая правильную индикацию открытого положения и блокирования (при ее наличии).
Примечание 2. В отдельных случаях допускается блокирование в замкнутом положении.
Для плавких предохранителей, включающих в себя электронные схемы, присоединяемые к полюсам цепи, во время проверки диэлектрических свойств допускается отсоединение электронной схемы (электронных схем).
Все детали плавкого предохранителя должны быть достаточно стойкими к действию тепла, которое может выделяться в нормальных условиях эксплуатации.
При отсутствии иных указаний в следующих частях МЭК 60269 данное требование считают выполненным в случае получения положительных результатов испытаний по
8.9 и
8.10.
7.11. Механическая прочность
Все детали плавкого предохранителя должны быть достаточно стойкими к механическим нагрузкам, которые могут возникнуть в нормальных условиях эксплуатации.
При отсутствии иных указаний в следующих частях это требование считают выполненным в случае получения положительных результатов в ходе испытаний по
8.3 -
8.5 и
8.11.1.
7.12. Коррозионная стойкость
Все металлические детали плавкого предохранителя должны быть стойкими к коррозионным воздействиям, возможным в нормальных условиях эксплуатации.
7.12.1. Стойкость против ржавчины
Детали из черных металлов должны быть защищены так, чтобы выдержать соответствующие испытания.
При отсутствии иных указаний в следующих частях МЭК 60269 это требование считают выполненным при получении положительных результатов испытаний по
8.2.2.3.2 и
8.11.2.3.
7.12.2. Стойкость против внутренних напряжений
Токоведущие части должны быть стойкими к внутренним напряжениям. Соответствующие испытания приведены в
8.2.2.3.2 и
8.11.2.1.
7.13. Стойкость к аномальному перегреву и огню
Все детали плавкого предохранителя должны быть стойкими к аномальному перегреву и огню. Соответствующее испытание установлено в
8.11.2.2.
7.14. Электромагнитная совместимость
Плавкие предохранители должны быть нечувствительными к обычным электромагнитным помехам, поэтому проверку их помехоустойчивости не проводят.
Значительная электромагнитная помеха, создаваемая плавким предохранителем, действует только в момент его срабатывания. Если максимальные напряжения дуги во время срабатывания при типовых испытаниях соответствуют требованиям
7.5, то считают, что требования к электромагнитной совместимости соответствует требованиям настоящего стандарта.
8.1.1. Виды испытаний
Испытания, описываемые в настоящем пункте, являются типовыми и проводятся изготовителем.
Если в случае отказа после проведения одного из испытаний изготовитель может представить доказательства, что такой отказ не характерен для плавких предохранителей данного типа, а обуславливается индивидуальным дефектом испытуемого образца, соответствующее испытание повторяют. Данное требование неприменимо к испытанию на отключающую способность.
Если приемочные испытания согласованы потребителем и изготовителем, то испытание выбирают из типовых испытаний.
Типовые испытания проводят, чтобы доказать, что плавкие предохранители конкретного типа или однородной серии (см.
8.1.5.2) соответствуют установленным характеристикам и удовлетворительно работают в нормальных условиях эксплуатации или конкретных установленных условиях.
Если конкретный плавкий предохранитель выдерживает типовое испытание, то считают, что все плавкие предохранители аналогичной конструкции соответствуют требованиям настоящего стандарта.
#Если какую-то часть плавкого предохранителя модифицируют так, что это может отрицательно повлиять на результаты уже выполненных типовых испытаний, то данные типовые испытания повторяют.#
8.1.2. Температура окружающего воздуха

Температуру окружающего воздуха

измеряют приборами, защищенными от сквозняков и теплового излучения, установленными на уровне середины плавкого предохранителя на расстоянии около 1 м от него. В начале каждого испытания температура плавкого предохранителя должна приблизительно соответствовать температуре окружающего воздуха.
8.1.3. Состояние плавкого предохранителя
Испытаниям подвергают плавкие предохранители в чистом и сухом состоянии.
8.1.4. Монтаж и размеры плавкого предохранителя
Для всех испытаний, кроме проверки степени защиты (см.
8.8), плавкий предохранитель следует устанавливать на открытом воздухе в месте, защищенном от сквозняков, в нормальном рабочем положении, например, в вертикальном, и, при отсутствии других указаний, на опоре из изолирующего материала достаточной жесткости, чтобы выдерживать воздействие сил, возникающих без приложения к испытуемому предохранителю внешних усилий.
Плавкую вставку монтируют в нормальных условиях эксплуатации либо в держателе плавкого предохранителя, для которого она предназначена, либо в испытательном основании в соответствии с указаниями, приводимыми в следующих частях МЭК 60269.
Перед началом испытаний следует измерять установленные внешние размеры и сравнивать с размерами, указанными в спецификациях изготовителей или следующих частях МЭК 60269.
8.1.5. Испытание плавких вставок
Плавкие вставки необходимо испытывать током такого рода и, если ток переменный, такой частоты, на которые они рассчитаны, если в следующих частях МЭК 60269 не оговорено иное.
8.1.5.1. Полные испытания
Перед началом испытаний измеряют внутреннее сопротивление R всех образцов измерительным током не более

при температуре окружающего воздуха (20 +/- 5) °C. Значение R приводят в протоколе испытаний.
Состав испытаний приведен в таблице 11.
Таблица 11
Испытания плавких вставок
и число испытуемых плавких вставок
Ранее - таблица 7A в редакции 3.
┌────────┬──────────────┬─────────────────────────────────────────────────┐
│Под- │ Испытание │ Число испытуемых плавких вставок типа │
│раздел, │ ├─────────────────────────────┬───────────────────┤
│пункт, │ │ "g" │ "a" │
│подпункт│ ├─┬─┬─┬─┬─┬─┬─┬─┬─┬─┬─┬─┬─┬─┬─┼─┬─┬─┬─┬─┬─┬─┬─┬─┬─┤
│настоя- │ │1│1│1│1│1│1│3│3│1│3│1│1│1│1│3│1│1│1│1│3│3│1│4│3│3│
│щего │ │ │ │ │ │ │ │ │ │ │ │ │ │ │ │ │ │ │ │ │ │ │ │ │ │ │
│стан- │ │ │ │ │ │ │ │ │ │ │ │ │ │ │ │ │ │ │ │ │ │ │ │ │ │ │
│дарта │ │ │ │ │ │ │ │ │ │ │ │ │ │ │ │ │ │ │ │ │ │ │ │ │ │ │
├────────┼──────────────┼─┼─┼─┼─┼─┼─┼─┼─┼─┼─┼─┼─┼─┼─┼─┼─┼─┼─┼─┼─┼─┼─┼─┼─┼─┤
│
8.1.4 │Размеры │X│X│X│ │ │ │ │ │ │ │ │ │ │ │ │X│X│X│ │ │ │ │ │ │ │
├────────┼──────────────┼─┼─┼─┼─┼─┼─┼─┼─┼─┼─┼─┼─┼─┼─┼─┼─┼─┼─┼─┼─┼─┼─┼─┼─┼─┤
│
8.1.5.1 │Сопротивление │X│X│X│X│X│X│X│X│X│X│X│X│X│X│X│X│X│X│X│X│X│X│X│X│X│
├────────┼──────────────┼─┼─┼─┼─┼─┼─┼─┼─┼─┼─┼─┼─┼─┼─┼─┼─┼─┼─┼─┼─┼─┼─┼─┼─┼─┤
│
8.3 │Температура │X│ │ │ │ │ │ │ │ │ │ │ │ │ │ │X│ │ │ │ │ │ │ │ │ │
│ │перегрева, │ │ │ │ │ │ │ │ │ │ │ │ │ │ │ │ │ │ │ │ │ │ │ │ │ │
│ │потери │ │ │ │ │ │ │ │ │ │ │ │ │ │ │ │ │ │ │ │ │ │ │ │ │ │
│ │мощности │ │ │ │ │ │ │ │ │ │ │ │ │ │ │ │ │ │ │ │ │ │ │ │ │ │
├────────┼──────────────┼─┼─┼─┼─┼─┼─┼─┼─┼─┼─┼─┼─┼─┼─┼─┼─┼─┼─┼─┼─┼─┼─┼─┼─┼─┤
│8.4.3.1,│Условный ток │X│ │ │ │ │ │ │ │ │ │ │ │ │ │ │ │ │ │ │ │ │ │ │ │ │
│пере- │неплавления │ │ │ │ │ │ │ │ │ │ │ │ │ │ │ │ │ │ │ │ │ │ │ │ │ │
│числе- │ │ │ │ │ │ │ │ │ │ │ │ │ │ │ │ │ │ │ │ │ │ │ │ │ │ │
│ние
a) │ │ │ │ │ │ │ │ │ │ │ │ │ │ │ │ │ │ │ │ │ │ │ │ │ │ │
├────────┼──────────────┼─┼─┼─┼─┼─┼─┼─┼─┼─┼─┼─┼─┼─┼─┼─┼─┼─┼─┼─┼─┼─┼─┼─┼─┼─┤
│8.4.3.1,│Условный ток │X│ │ │ │ │ │ │ │ │ │ │ │ │ │ │ │ │ │ │ │ │ │ │ │ │
│пере- │плавления │ │ │ │ │ │ │ │ │ │ │ │ │ │ │ │ │ │ │ │ │ │ │ │ │ │
│числе- │ │ │ │ │ │ │ │ │ │ │ │ │ │ │ │ │ │ │ │ │ │ │ │ │ │ │
│ние
b) │ │ │ │ │ │ │ │ │ │ │ │ │ │ │ │ │ │ │ │ │ │ │ │ │ │ │
├────────┼──────────────┼─┼─┼─┼─┼─┼─┼─┼─┼─┼─┼─┼─┼─┼─┼─┼─┼─┼─┼─┼─┼─┼─┼─┼─┼─┤
│
8.4.3.2 │Номинальный │ │X│ │ │ │ │ │ │ │ │ │ │ │ │ │ │ │ │ │ │ │ │ │ │ │
│ │ток │ │ │ │ │ │ │ │ │ │ │ │ │ │ │ │ │ │ │ │ │ │ │ │ │ │
├────────┼──────────────┼─┼─┼─┼─┼─┼─┼─┼─┼─┼─┼─┼─┼─┼─┼─┼─┼─┼─┼─┼─┼─┼─┼─┼─┼─┤
│
8.4.3.3 │Времятоковые │ │ │ │ │ │ │ │ │ │ │ │ │ │ │ │ │ │ │ │ │ │ │ │ │ │
│ │характери- │ │ │ │ │ │ │ │ │ │ │ │ │ │ │ │ │ │ │ │ │ │ │ │ │ │
│ │стики, │ │ │ │ │ │ │ │ │ │ │ │ │ │ │ │ │ │ │ │ │ │ │ │ │ │
│ │значения │ │ │ │ │ │ │ │ │ │ │ │ │ │ │ │ │ │ │ │ │ │ │ │ │ │
│ │разбросов: │ │ │ │ │ │ │ │ │ │ │ │ │ │ │ │ │ │ │ │ │ │ │ │ │ │
│ │- для плавких │ │ │ │ │ │ │ │ │ │ │ │ │ │ │ │ │ │ │ │ │ │ │ │ │ │
│ │вставок "g" │ │ │ │ │ │ │ │ │ │ │ │ │ │ │ │ │ │ │ │ │ │ │ │ │ │
│ │ a) I │ │ │ │ │ │ │ │ │ │ │X│ │ │ │ │ │ │ │ │ │ │ │ │ │ │
│ │ min │ │ │ │ │ │ │ │ │ │ │ │ │ │ │ │ │ │ │ │ │ │ │ │ │ │
│ │(10 с) │ │ │ │ │ │ │ │ │ │ │ │ │ │ │ │ │ │ │ │ │ │ │ │ │ │
│ │ b) I (5 с)│ │ │ │ │ │ │ │ │ │ │ │X│ │ │ │ │ │ │ │ │ │ │ │ │ │
│ │ max │ │ │ │ │ │ │ │ │ │ │ │ │ │ │ │ │ │ │ │ │ │ │ │ │ │
│ │ c) I │ │ │ │ │ │ │ │ │ │ │ │ │X│ │ │ │ │ │ │ │ │ │ │ │ │
│ │ min │ │ │ │ │ │ │ │ │ │ │ │ │ │ │ │ │ │ │ │ │ │ │ │ │ │
│ │(0,1 с) │ │ │ │ │ │ │ │ │ │ │ │ │ │ │ │ │ │ │ │ │ │ │ │ │ │
│ │ d) I │ │ │ │ │ │ │ │ │ │ │ │ │ │X│ │ │ │ │ │ │ │ │ │ │ │
│ │ max │ │ │ │ │ │ │ │ │ │ │ │ │ │ │ │ │ │ │ │ │ │ │ │ │ │
│ │(0,1 с) │ │ │ │ │ │ │ │ │ │ │ │ │ │ │ │ │ │ │ │ │ │ │ │ │ │
│ │- для плавких │ │ │ │ │ │ │ │ │ │ │ │ │ │ │ │ │ │ │ │ │ │ │X│ │ │
│ │вставок "a" │ │ │ │ │ │ │ │ │ │ │ │ │ │ │ │ │ │ │ │ │ │ │ │ │ │
├────────┼──────────────┼─┼─┼─┼─┼─┼─┼─┼─┼─┼─┼─┼─┼─┼─┼─┼─┼─┼─┼─┼─┼─┼─┼─┼─┼─┤
│
8.4.3.4 │Перегрузка │ │ │ │ │ │ │ │ │ │X│ │ │ │ │ │ │ │ │ │ │ │ │ │ │X│
├────────┼──────────────┼─┼─┼─┼─┼─┼─┼─┼─┼─┼─┼─┼─┼─┼─┼─┼─┼─┼─┼─┼─┼─┼─┼─┼─┼─┤
│
8.4.3.5 │Условная │ │ │ │ │ │ │ │ │X│ │ │ │ │ │ │ │ │ │ │ │ │ │ │ │ │
│ │защита кабеля │ │ │ │ │ │ │ │ │ │ │ │ │ │ │ │ │ │ │ │ │ │ │ │ │ │
│ │от перегрузок │ │ │ │ │ │ │ │ │ │ │ │ │ │ │ │ │ │ │ │ │ │ │ │ │ │
├────────┼──────────────┼─┼─┼─┼─┼─┼─┼─┼─┼─┼─┼─┼─┼─┼─┼─┼─┼─┼─┼─┼─┼─┼─┼─┼─┼─┤
│
8.4.3.6 │Указатель │ │ │ │X│X│X│X│X│ │ │ │ │ │ │ │ │X│X│X│X│X│ │ │ │ │
│ │срабатывания │ │ │ │ │ │ │ │ │ │ │ │ │ │ │ │ │ │ │ │ │ │ │ │ │ │
│ │
<c> │ │ │ │ │ │ │ │ │ │ │ │ │ │ │ │ │ │ │ │ │ │ │ │ │ │
│ │Боек
<c> │ │ │X│X│X│X│X│X│ │ │ │ │ │ │ │ │X│X│X│X│X│X│ │ │ │
├────────┼──────────────┼─┼─┼─┼─┼─┼─┼─┼─┼─┼─┼─┼─┼─┼─┼─┼─┼─┼─┼─┼─┼─┼─┼─┼─┼─┤
│
8.5 │Отключающая │ │ │ │ │ │ │ │ │ │ │ │ │ │ │ │ │ │ │ │ │ │ │ │ │ │
│ │способность │ │ │ │ │ │ │ │ │ │ │ │ │ │ │ │ │ │ │ │ │ │ │ │ │ │
│ │
<a>: │ │ │ │ │ │ │ │ │ │ │ │ │ │ │ │ │ │ │ │ │ │ │ │ │ │
│ │- испытание │ │ │ │X│ │ │ │ │ │ │ │ │ │ │ │ │X│ │ │ │ │ │ │ │ │
│ │N 5 │ │ │ │ │ │ │ │ │ │ │ │ │ │ │ │ │ │ │ │ │ │ │ │ │ │
│ │- испытание │ │ │ │ │X│ │ │ │ │ │ │ │ │ │ │ │ │X│ │ │ │ │ │ │ │
│ │N 4 │ │ │ │ │ │ │ │ │ │ │ │ │ │ │ │ │ │ │ │ │ │ │ │ │ │
│ │- испытание │ │ │ │ │ │X│ │ │ │ │ │ │ │ │ │ │ │ │X│ │ │ │ │ │ │
│ │N 3 │ │ │ │ │ │ │ │ │ │ │ │ │ │ │ │ │ │ │ │ │ │ │ │ │ │
│ │Отключающая │ │ │ │ │ │ │ │ │ │ │ │ │ │ │ │ │ │ │ │ │ │ │ │ │ │
│ │способность │ │ │ │ │ │ │ │ │ │ │ │ │ │ │ │ │ │ │ │ │ │ │ │ │ │
│ │
<b>: │ │ │ │ │ │ │ │ │ │ │ │ │ │ │ │ │ │ │ │ │ │ │ │ │ │
│ │- испытание │ │ │ │ │ │ │X│ │ │ │ │ │ │ │ │ │ │ │ │X│ │ │ │ │ │
│ │N 2 │ │ │ │ │ │ │ │ │ │ │ │ │ │ │ │ │ │ │ │ │ │ │ │ │ │
│ │- испытание │ │ │ │ │ │ │ │X│ │ │ │ │ │ │ │ │ │ │ │ │X│ │ │ │ │
│ │N 1 │ │ │ │ │ │ │ │ │ │ │ │ │ │ │ │ │ │ │ │ │ │ │ │ │ │
├────────┼──────────────┼─┼─┼─┼─┼─┼─┼─┼─┼─┼─┼─┼─┼─┼─┼─┼─┼─┼─┼─┼─┼─┼─┼─┼─┼─┤
│
8.6 │Характеристика│ │ │ │ │ │ │ │ │ │ │ │ │ │ │ │ │ │ │ │ │ │ │ │ │ │
│ │пропускаемого │ │ │ │ │ │ │ │ │ │ │ │ │ │ │ │ │ │ │ │ │ │ │ │ │ │
│ │тока
<d> │ │ │ │ │ │ │ │ │ │ │ │ │ │ │ │ │ │ │ │ │ │ │ │ │ │
├────────┼──────────────┼─┼─┼─┼─┼─┼─┼─┼─┼─┼─┼─┼─┼─┼─┼─┼─┼─┼─┼─┼─┼─┼─┼─┼─┼─┤
│
8.7 │Характеристика│ │ │ │ │ │ │ │ │ │ │ │ │ │ │ │ │ │ │ │ │ │ │ │ │ │
│ │ 2 │ │ │ │ │ │ │ │ │ │ │ │ │ │ │ │ │ │ │ │ │ │ │ │ │ │
│ │I t
<d> │ │ │ │ │ │ │ │ │ │ │ │ │ │ │ │ │ │ │ │ │ │ │ │ │ │
├────────┼──────────────┼─┼─┼─┼─┼─┼─┼─┼─┼─┼─┼─┼─┼─┼─┼─┼─┼─┼─┼─┼─┼─┼─┼─┼─┼─┤
│
8.8 │Степень защиты│ │ │ │ │ │ │ │ │ │ │ │ │ │ │ │ │ │ │ │ │ │ │ │ │ │
│ │
<d> │ │ │ │ │ │ │ │ │ │ │ │ │ │ │ │ │ │ │ │ │ │ │ │ │ │
├────────┼──────────────┼─┼─┼─┼─┼─┼─┼─┼─┼─┼─┼─┼─┼─┼─┼─┼─┼─┼─┼─┼─┼─┼─┼─┼─┼─┤
│
8.9 │Теплостойкость│ │ │ │ │ │ │ │ │ │ │ │ │ │ │ │ │ │ │ │ │ │ │ │ │ │
│ │
<d> │ │ │ │ │ │ │ │ │ │ │ │ │ │ │ │ │ │ │ │ │ │ │ │ │ │
├────────┼──────────────┼─┼─┼─┼─┼─┼─┼─┼─┼─┼─┼─┼─┼─┼─┼─┼─┼─┼─┼─┼─┼─┼─┼─┼─┼─┤
│
8.10 │Целостность │ │ │ │ │ │ │ │ │ │ │ │ │ │ │ │ │ │ │ │ │ │ │ │ │ │
│ │контактов
<d> │ │ │ │ │ │ │ │ │ │ │ │ │ │ │ │ │ │ │ │ │ │ │ │ │ │
├────────┼──────────────┼─┼─┼─┼─┼─┼─┼─┼─┼─┼─┼─┼─┼─┼─┼─┼─┼─┼─┼─┼─┼─┼─┼─┼─┼─┤
│
8.11.1 │Механическая │ │ │ │ │ │ │ │ │ │ │ │ │ │ │ │ │ │ │ │ │ │ │ │ │ │
│ │прочность
<d> │ │ │ │ │ │ │ │ │ │ │ │ │ │ │ │ │ │ │ │ │ │ │ │ │ │
├────────┼──────────────┼─┼─┼─┼─┼─┼─┼─┼─┼─┼─┼─┼─┼─┼─┼─┼─┼─┼─┼─┼─┼─┼─┼─┼─┼─┤
│
8.11.2.1│Отсутствие │ │ │ │ │ │ │ │ │ │ │ │ │ │ │ │ │ │ │ │ │ │ │ │ │ │
│ │внутренних │ │ │ │ │ │ │ │ │ │ │ │ │ │ │ │ │ │ │ │ │ │ │ │ │ │
│ │напряжений │ │ │ │ │ │ │ │ │ │ │ │ │ │ │ │ │ │ │ │ │ │ │ │ │ │
│ │
<d>,
<e> │ │ │ │ │ │ │ │ │ │ │ │ │ │ │ │ │ │ │ │ │ │ │ │ │ │
├────────┼──────────────┼─┼─┼─┼─┼─┼─┼─┼─┼─┼─┼─┼─┼─┼─┼─┼─┼─┼─┼─┼─┼─┼─┼─┼─┼─┤
│
8.11.2.2│Стойкость │ │ │ │ │ │ │ │ │ │ │ │ │ │ │X│ │ │ │ │ │ │ │ │X│ │
│ │к аномальному │ │ │ │ │ │ │ │ │ │ │ │ │ │ │ │ │ │ │ │ │ │ │ │ │ │
│ │перегреву │ │ │ │ │ │ │ │ │ │ │ │ │ │ │ │ │ │ │ │ │ │ │ │ │ │
│ │и огню
<d> │ │ │ │ │ │ │ │ │ │ │ │ │ │ │ │ │ │ │ │ │ │ │ │ │ │
├────────┼──────────────┼─┼─┼─┼─┼─┼─┼─┼─┼─┼─┼─┼─┼─┼─┼─┼─┼─┼─┼─┼─┼─┼─┼─┼─┼─┤
│
8.11.2.3│Стойкость │ │ │ │ │ │ │ │ │ │ │ │ │ │ │ │ │ │ │ │ │ │ │ │ │ │
│ │к коррозии
<d>│ │ │ │ │ │ │ │ │ │ │ │ │ │ │ │ │ │ │ │ │ │ │ │ │ │
├────────┴──────────────┴─┴─┴─┴─┴─┴─┴─┴─┴─┴─┴─┴─┴─┴─┴─┴─┴─┴─┴─┴─┴─┴─┴─┴─┴─┤
│ #<a> Действительно также для времятоковой характеристики, если│
│температура окружающего воздуха от 15 °C до 25 °C (см.
8.4.3.3). При│
│проверке плавких вставок в испытательных основаниях допускается│
│проводить испытания 3a, 4a и 5a по
8.4.3.3.# │
│ <b> Действительно также для характеристик пропускаемого тока│
│ 2 │
│и характеристик I t (см.
8.6 и
8.7). │
│ <c> Только для плавких вставок с указателем срабатывания или бойком. │
│ <d> Допускается проведение испытаний по
8.6 -
8.11, относящихся│
│к сериям плавких предохранителей, рассматриваемых следующими частями│
│МЭК 60269. Число испытуемых образцов зависит от серии и материала│
│вставок. │
│ <e> Для плавких вставок токоведущие части которых изготовлены из│
│катаного медного сплава, содержащего менее 83% меди. │
│ │
│ Примечание. знак "X" означает, что испытания проводят. │
└─────────────────────────────────────────────────────────────────────────┘
8.1.5.2. Испытание плавких вставок однородной серии
Плавкие вставки с различными номинальными токами считают образующими однородную серию, если:
- их оболочки идентичны по форме, конструкции и, за исключением плавких элементов, по размерам. Данное условие соблюдается также, если различаются только контакты плавких вставок; в этом случае для испытаний выбирают плавкую вставку с контактами, результаты испытаний которых должны, по-видимому, оказаться наихудшими;
- в них имеется одинаковая среда для гашения дуги с одинаковой полнотой заполнения;
- их плавкие элементы могут быть изготовлены из идентичных материалов, являющихся одинаковыми по длине и имеющими ту же форму;
Примечание. Например, они могут быть изготовлены одинаковыми инструментами из материала разной толщины.
- размеры поперечного сечения, которые могут изменяться по длине плавких элементов, и число плавких элементов не превышают размеров поперечного сечения и числа плавких элементов для плавких вставок с наибольшим номинальным током;
- минимальные расстояния между соседними плавкими элементами и между плавкими элементами и внутренней поверхностью держателя не меньше, чем в плавкой вставке с наибольшим номинальным током;
- они пригодны для использования с данным держателем плавкого предохранителя или предназначены для эксплуатации без держателя, но в конструкции, одинаковой для всех плавких вставок однородной серии со всеми номинальными токами;
- при испытании на температуру перегрева произведение

не превышает соответствующего значения для плавкой вставки однородной серии с наибольшим номинальным током. Сопротивление плавкой вставки R измеряют согласно
8.1.5.1;
- при испытании на отключающую способность номинальная отключающая способность не больше, чем у плавкой вставки с наибольшим номинальным током однородной серии. В противном случае плавкую вставку с наибольшим номинальным током среди имеющих более высокую отключающую способность подвергают испытаниям N 1 и N 2.
Плавкие вставки однородной серии испытывают:
- вставки с наибольшим номинальным током - по
таблице 11;
- вставки с наименьшим номинальным током - по таблице 12;
- вставки с номинальными токами в диапазоне между наибольшим и наименьшим значениями - по
таблице 13.
Таблица 12
Испытания плавких вставок на наименьший номинальный ток
в однородной серии и число испытуемых плавких вставок
Ранее - таблица 7B в редакции 3.
┌──────────┬──────────────────────┬───────────────────────────────────────┐
│Подраздел,│ Испытание │ Число испытуемых плавких вставок типа │
│ пункт, │ ├─────────────────────────┬─────────────┤
│ подпункт │ │ "g" │ "a" │
│настоящего│ ├─┬─┬─┬─┬─┬─┬─┬─┬─┬─┬─┬─┬─┼─┬─┬─┬─┬─┬─┬─┤
│стандарта │ │1│1│1│1│1│3│1│1│3│1│1│1│1│1│1│1│3│1│3│4│
├──────────┼──────────────────────┼─┼─┼─┼─┼─┼─┼─┼─┼─┼─┼─┼─┼─┼─┼─┼─┼─┼─┼─┼─┤
│
8.1.4 │Размеры │X│X│X│ │ │ │ │ │ │ │ │ │ │X│X│X│ │ │ │ │
├──────────┼──────────────────────┼─┼─┼─┼─┼─┼─┼─┼─┼─┼─┼─┼─┼─┼─┼─┼─┼─┼─┼─┼─┤
│
8.1.5.1 │Сопротивление │X│X│X│X│X│X│X│X│X│X│X│X│X│X│X│X│X│X│X│X│
├──────────┼──────────────────────┼─┼─┼─┼─┼─┼─┼─┼─┼─┼─┼─┼─┼─┼─┼─┼─┼─┼─┼─┼─┤
│8.4.3.1, │Условный ток │ │ │ │ │X│ │ │ │ │ │ │ │ │ │ │ │ │ │ │ │
│перечис- │неплавления │ │ │ │ │ │ │ │ │ │ │ │ │ │ │ │ │ │ │ │ │
│ление
a) │ │ │ │ │ │ │ │ │ │ │ │ │ │ │ │ │ │ │ │ │ │
├──────────┼──────────────────────┼─┼─┼─┼─┼─┼─┼─┼─┼─┼─┼─┼─┼─┼─┼─┼─┼─┼─┼─┼─┤
│8.4.3.1, │Условный ток плавления│ │ │ │ │X│ │ │ │ │ │ │ │ │ │ │ │ │ │ │ │
│перечис- │ │ │ │ │ │ │ │ │ │ │ │ │ │ │ │ │ │ │ │ │ │
│ление
b) │ │ │ │ │ │ │ │ │ │ │ │ │ │ │ │ │ │ │ │ │ │
├──────────┼──────────────────────┼─┼─┼─┼─┼─┼─┼─┼─┼─┼─┼─┼─┼─┼─┼─┼─┼─┼─┼─┼─┤
│
8.4.3.2 │Номинальный ток │ │ │ │X│ │ │ │ │ │ │ │ │ │ │ │ │ │ │ │ │
├──────────┼──────────────────────┼─┼─┼─┼─┼─┼─┼─┼─┼─┼─┼─┼─┼─┼─┼─┼─┼─┼─┼─┼─┤
│
8.4.3.3.1 │Времятоковые │ │ │ │ │ │ │ │ │ │ │ │ │ │ │ │ │ │ │ │ │
│ │характеристики: │ │ │ │ │ │ │ │ │ │ │ │ │ │ │ │ │ │ │ │ │
│ │- испытание N 3a
<d> │X│ │ │ │ │ │ │ │ │ │ │ │ │X│ │ │ │ │ │ │
│ │- испытание N 4a
<d> │ │X│ │ │ │ │ │ │ │ │ │ │ │ │X│ │ │ │ │ │
│ │- испытание N 5a
<d> │ │ │X│ │ │ │ │ │ │ │ │ │ │ │ │X│ │ │ │ │
├──────────┼──────────────────────┼─┼─┼─┼─┼─┼─┼─┼─┼─┼─┼─┼─┼─┼─┼─┼─┼─┼─┼─┼─┤
│
8.4.3.3.2 │Значение разбросов: │ │ │ │ │ │ │ │ │ │ │ │ │ │ │ │ │ │ │ │ │
│ │- для плавких вставок │ │ │ │ │ │ │ │ │ │ │ │ │ │ │ │ │ │ │ │ │
│ │"g": │ │ │ │ │ │ │ │ │ │ │ │ │ │ │ │ │ │ │ │ │
│ │ a) I (10 с) │ │ │ │ │ │ │ │ │ │X│ │ │ │ │ │ │ │ │ │ │
│ │ min │ │ │ │ │ │ │ │ │ │ │ │ │ │ │ │ │ │ │ │ │
│ │ b) I (5 с) │ │ │ │ │ │ │ │ │ │ │X│ │ │ │ │ │ │ │ │ │
│ │ max │ │ │ │ │ │ │ │ │ │ │ │ │ │ │ │ │ │ │ │ │
│ │ c) I (0,1 с) │ │ │ │ │ │ │ │ │ │ │ │X│ │ │ │ │ │ │ │ │
│ │ min │ │ │ │ │ │ │ │ │ │ │ │ │ │ │ │ │ │ │ │ │
│ │ d) I (0,1 с) │ │ │ │ │ │ │ │ │ │ │ │ │X│ │ │ │ │ │ │ │
│ │ max │ │ │ │ │ │ │ │ │ │ │ │ │ │ │ │ │ │ │ │ │
│ │- для плавких вставок │ │ │ │ │ │ │ │ │ │ │ │ │ │ │ │ │ │ │ │X│
│ │"a" │ │ │ │ │ │ │ │ │ │ │ │ │ │ │ │ │ │ │ │ │
├──────────┼──────────────────────┼─┼─┼─┼─┼─┼─┼─┼─┼─┼─┼─┼─┼─┼─┼─┼─┼─┼─┼─┼─┤
│
8.4.3.4 │Перегрузка │ │ │ │ │ │ │ │ │X│ │ │ │ │ │ │ │ │ │X│ │
├──────────┼──────────────────────┼─┼─┼─┼─┼─┼─┼─┼─┼─┼─┼─┼─┼─┼─┼─┼─┼─┼─┼─┼─┤
│
8.4.3.5 │Условная защита кабеля│ │ │ │ │ │ │ │X│ │ │ │ │ │ │ │ │ │ │ │ │
│ │от перегрузок │ │ │ │ │ │ │ │ │ │ │ │ │ │ │ │ │ │ │ │ │
│ │ │ │ │ │ │ │ │ │ │ │ │ │ │ │ │ │ │ │ │ │ │
├──────────┼──────────────────────┼─┼─┼─┼─┼─┼─┼─┼─┼─┼─┼─┼─┼─┼─┼─┼─┼─┼─┼─┼─┤
│
8.4.3.6 │Указатель срабатывания│ │ │ │ │ │X│ │ │ │ │ │ │ │ │ │ │X│ │ │ │
│ │
<c> │ │ │ │ │ │ │ │ │ │ │ │ │ │ │ │ │ │ │ │ │
│ │Боек
<c> │ │ │ │ │ │X│X│ │ │ │ │ │ │ │ │ │X│X│ │ │
├──────────┼──────────────────────┼─┼─┼─┼─┼─┼─┼─┼─┼─┼─┼─┼─┼─┼─┼─┼─┼─┼─┼─┼─┤
│
8.5 │Отключающая │ │ │ │ │ │ │ │ │ │ │ │ │ │ │ │ │ │ │ │ │
│ │способность
<a>: │ │ │ │ │ │ │ │ │ │ │ │ │ │ │ │ │ │ │ │ │
│ │- испытание N 1 │ │ │ │ │ │X│ │ │ │ │ │ │ │ │ │ │X│ │ │ │
├──────────┼──────────────────────┼─┼─┼─┼─┼─┼─┼─┼─┼─┼─┼─┼─┼─┼─┼─┼─┼─┼─┼─┼─┤
│
8.6 │Характеристика │ │ │ │ │ │ │ │ │ │ │ │ │ │ │ │ │ │ │ │ │
│ │пропускаемого тока
<b>│ │ │ │ │ │ │ │ │ │ │ │ │ │ │ │ │ │ │ │ │
├──────────┼──────────────────────┼─┼─┼─┼─┼─┼─┼─┼─┼─┼─┼─┼─┼─┼─┼─┼─┼─┼─┼─┼─┤
│ │ 2 │ │ │ │ │ │ │ │ │ │ │ │ │ │ │ │ │ │ │ │ │
│
8.7 │Характеристика I t
<b>│ │ │ │ │ │ │ │ │ │ │ │ │ │ │ │ │ │ │ │ │
├──────────┼──────────────────────┼─┼─┼─┼─┼─┼─┼─┼─┼─┼─┼─┼─┼─┼─┼─┼─┼─┼─┼─┼─┤
│
8.8 │Степень защиты
<b> │ │ │ │ │ │ │ │ │ │ │ │ │ │ │ │ │ │ │ │ │
├──────────┼──────────────────────┼─┼─┼─┼─┼─┼─┼─┼─┼─┼─┼─┼─┼─┼─┼─┼─┼─┼─┼─┼─┤
│
8.9 │Теплостойкость
<b> │ │ │ │ │ │ │ │ │ │ │ │ │ │ │ │ │ │ │ │ │
├──────────┼──────────────────────┼─┼─┼─┼─┼─┼─┼─┼─┼─┼─┼─┼─┼─┼─┼─┼─┼─┼─┼─┼─┤
│
8.10 │Целостность контактов │ │ │ │ │ │ │ │ │ │ │ │ │ │ │ │ │ │ │ │ │
│ │
<b> │ │ │ │ │ │ │ │ │ │ │ │ │ │ │ │ │ │ │ │ │
├──────────┼──────────────────────┼─┼─┼─┼─┼─┼─┼─┼─┼─┼─┼─┼─┼─┼─┼─┼─┼─┼─┼─┼─┤
│#
8.11.1 │Механическая прочность│ │ │ │ │ │ │ │ │ │ │ │ │ │ │ │ │ │ │ │ │
│ │
<d># │ │ │ │ │ │ │ │ │ │ │ │ │ │ │ │ │ │ │ │ │
├──────────┼──────────────────────┼─┼─┼─┼─┼─┼─┼─┼─┼─┼─┼─┼─┼─┼─┼─┼─┼─┼─┼─┼─┤
│
8.11.2.2 │Стойкость к │ │ │ │ │ │ │ │ │ │ │ │ │ │ │ │ │ │ │ │ │
│ │аномальному перегреву │ │ │ │ │ │ │ │ │ │ │ │ │ │ │ │ │ │ │ │ │
│ │и огню
<b> │ │ │ │ │ │ │ │ │ │ │ │ │ │ │ │ │ │ │ │ │
├──────────┼──────────────────────┼─┼─┼─┼─┼─┼─┼─┼─┼─┼─┼─┼─┼─┼─┼─┼─┼─┼─┼─┼─┤
│
8.11.2.3 │Стойкость к коррозии │ │ │ │ │ │ │ │ │ │ │ │ │ │ │ │ │ │ │ │ │
│ │<b> │ │ │ │ │ │ │ │ │ │ │ │ │ │ │ │ │ │ │ │ │
├──────────┴──────────────────────┴─┴─┴─┴─┴─┴─┴─┴─┴─┴─┴─┴─┴─┴─┴─┴─┴─┴─┴─┴─┤
│ <a> Действительно также для характеристик пропускаемого тока│
│ 2 │
│и характеристик I t (см.
8.6 и
8.7). │
│ <b> Допускается проведение испытаний по
8.6 -
8.11, относящихся к│
│сериям плавких предохранителей, рассматриваемых следующими частями│
│МЭК 60269. Число испытуемых образцов зависит от серии и материала. │
│ <c> Только для плавких вставок с указателем срабатывания или бойком. │
│ <d> За исключением плавких вставок "gD", "gG" и "g/M", так как│
│соответствующие испытания проводят при проверке разбросов (см.│
│ │
│ Примечание. Знак "X" означает, что испытания проводят. │
└─────────────────────────────────────────────────────────────────────────┘
Таблица 13
Перечень испытаний плавких вставок
на промежуточные значения номинального тока
в однородной серии испытуемых вставок
Ранее - таблица 7C в редакции 3.
┌──────────┬────────────────────────────────┬─────────────────────────────┐
│ #Пункт, │ Испытание │ Число испытуемых плавких │
│ подпункт │ │ вставок │
│настоящего│ ├────────────────────┬────────┤
│стандарта │ │ "g" │ "a" │
│ │ ├──┬──┬──┬──┬──┬──┬──┼──┬──┬──┤
│ │ │1 │1 │1 │1 │1 │1 │1 │1 │2 │2 │
├──────────┼────────────────────────────────┼──┼──┼──┼──┼──┼──┼──┼──┼──┼──┤
│
8.1.4 │Размеры │X │X │ │ │ │ │ │X │ │X │
├──────────┼────────────────────────────────┼──┼──┼──┼──┼──┼──┼──┼──┼──┼──┤
│
8.1.5.1 │Сопротивление │X │X │X │X │X │X │X │X │X │X │
├──────────┼────────────────────────────────┼──┼──┼──┼──┼──┼──┼──┼──┼──┼──┤
│8.4.3.1, │Условный ток неплавления │X │ │ │ │ │ │ │ │ │ │
│перечис- │ │ │ │ │ │ │ │ │ │ │ │
│ление
a) │ │ │ │ │ │ │ │ │ │ │ │
├──────────┼────────────────────────────────┼──┼──┼──┼──┼──┼──┼──┼──┼──┼──┤
│
8.4.3.2 │Номинальный ток │X │ │ │ │ │ │ │ │ │ │
├──────────┼────────────────────────────────┼──┼──┼──┼──┼──┼──┼──┼──┼──┼──┤
│
8.4.3.3.1 │Времятоковые характеристики: │ │X │ │ │ │ │ │X │ │ │
│ │- испытание N 4a
<a> │ │ │ │ │ │ │ │ │ │ │
├──────────┼────────────────────────────────┼──┼──┼──┼──┼──┼──┼──┼──┼──┼──┤
│
8.4.3.3.2 │Значение разбросов: │ │ │ │ │ │ │ │ │ │ │
│ │- для плавких вставок "g": │ │ │ │ │ │ │ │ │ │ │
│ │ a) I (10 с) │ │ │ │X │ │ │ │ │ │ │
│ │ min │ │ │ │ │ │ │ │ │ │ │
│ │ b) I (5 с) │ │ │ │ │X │ │ │ │ │ │
│ │ max │ │ │ │ │ │ │ │ │ │ │
│ │ c) I (0,1 с) │ │ │ │ │ │X │ │ │ │ │
│ │ min │ │ │ │ │ │ │ │ │ │ │
│ │ d) I (0,1 с) │ │ │ │ │ │ │X │ │ │ │
│ │ max │ │ │ │ │ │ │ │ │ │ │
│ │- для плавких вставок "a" │ │ │ │ │ │ │ │ │X │X │
├──────────┼────────────────────────────────┼──┼──┼──┼──┼──┼──┼──┼──┼──┼──┤
│
8.4.3.5 │Условная защита кабеля от │ │ │X#│ │ │ │ │ │ │ │
│ │перегрузок │ │ │ │ │ │ │ │ │ │ │
├──────────┴────────────────────────────────┴──┴──┴──┴──┴──┴──┴──┴──┴──┴──┤
│ <a> За исключением плавких вставок типа "gD", "gG" и "gM", так как│
│соответствующие испытания выполняют при проверке разбросов (см.│
│ │
│ Примечание. Испытания допускается проводить при пониженных│
│напряжениях. Знак "X" означает, что испытания проводят. │
└─────────────────────────────────────────────────────────────────────────┘
8.1.6. Испытания держателей плавких предохранителей
Испытания держателей плавких предохранителей проводят в соответствии с таблицей 14.
Таблица 14
Полный перечень испытаний держателей
плавких предохранителей и количество испытуемых держателей
Ранее - таблица 8 в редакции 3.
Подраздел, пункт, подпункт настоящего стандарта | Испытание | Число испытуемых держателей |
1 | 1 | 3 | 3 |
| Размеры | X | | X | X |
| Изоляционные свойства | X# | | | |
| Температура перегрева и потери мощности | | X | | |
| Пиковый выдерживаемый ток | | X | | |
| Степень защиты | X | | | |
| Теплостойкость | | X | | |
| Целостность контактов | | | | X |
| Механическая прочность | X | X | X | X |
| Отсутствие внутренних напряжений | | | X | |
| Стойкость к аномальному перегреву и огню | X | | | |
| Стойкость к коррозии | | X | | |
<a> Для держателей плавких предохранителей, токоведущие части которых изготовлены из катаного медного сплава, содержащего менее 83% меди. Примечание. Могут потребоваться дополнительные испытания для специальных серий плавких предохранителей, включенных в следующие части МЭК 60269. Число испытуемых образцов зависит от серии и материала. Знак "X" означает, что испытания проводят. |
8.2. Проверка изоляционных свойств и пригодности для разделения
8.2.1. Установка держателя плавкого предохранителя
Дополнительно к условиям
8.1.4 держатель должен быть оснащен плавкими вставками наибольших размеров, предусматриваемых для держателей данного типа.
Если основание плавкого предохранителя зависит от изоляции, то металлические части следует помещать в точках крепления согласно условиям монтажа плавких предохранителей, указанным изготовителем, и рассматривать их как входящие в состав корпуса аппарата. При отсутствии других указаний изготовителя основание прикрепляют к металлической плите.
Если предусмотрена возможность замены плавкой вставки под напряжением, поверхности этой вставки, устройства для ее замены или замены ее держателя (при наличии), которых можно коснуться в ходе правильной замены, рассматривают как составную часть плавкого предохранителя. Следовательно, данные поверхности, выполненные из изолирующего материала, должны быть снабжены металлическими накладками, присоединяемыми на время испытаний к корпусу аппарата, из металла - должны присоединяться непосредственно к этому корпусу.
Если изготовителем предусмотрена дополнительная изоляция, например, изоляционные перегородки, их следует устанавливать на время проведения испытаний.
#Для проверки пригодности для разделения плавкий предохранитель должен находиться в нормальном открытом состоянии сплавкой вставкой, остающейся внутри держателя плавкого предохранителя или держателя плавкой вставки, и, где применимо, изъятым держателем плавкого предохранителя.#
8.2.2. Проверка изоляционных свойств
8.2.2.1. Точки приложения испытательного напряжения
Испытательное напряжение для проверки изоляционных свойств прикладывают:
a) между токоведущими частями и корпусом с установкой на место плавкой вставки и устройства для замены ее или держателя (при его наличии);
b) между выводами, если плавкий предохранитель находится в нормальном открытом состоянии, плавкая вставка находится внутри держателя плавкой вставки или если плавкая вставка и устройство для ее замены или держатель плавкой вставки (при наличии) удалены;
c) между токоведущими частями различной полярности в многополюсном держателе плавкого предохранителя с установкой на место плавких вставок максимальных размеров, предназначенных для этого держателя, и одного или нескольких устройств для замены плавких вставок или держателей плавких вставок (при наличии);
d) между токоведущими частями, потенциалы которых после срабатывания плавкой вставки в многополюсном держателе плавкого предохранителя могут быть различными, с установкой на место только одного (нескольких) держателя(ей) плавкой вставки или одного устройства (нескольких устройств) для замены плавких вставок (без самих вставок).
8.2.2.2. Значение испытательного напряжения
#Значения испытательного напряжения промышленной частоты в зависимости от номинального напряжения держателя плавкого предохранителя приведены в таблице 15.#
Таблица 15
Ранее - таблица 9 в редакции 3.
┌─────────────────────────────────────────────┬─────────────┬─────────────┐
│ Номинальное напряжение U держателя │ Переменное │ Постоянное │
│ n │ напряжение │напряжение, В│
│ предохранителя, В │(действующее │ │
│ │значение), В │ │
├───────────────────────┬─────────────────────┼─────────────┼─────────────┤
│Переменное и постоянное│ До 60 включ. │ 1000 │ 1415 │
│ │ 61 - 300 │ 1500 │ 2120 │
│ │ 301 - 690 │ 1890 │ 2670 │
│ │ 691 - 800 │ 2000 │ 2830 │
│ │ 801 - 1000 │ 2200 │ 3110 │
├───────────────────────┼─────────────────────┼─────────────┼─────────────┤
│Постоянное │ 1001 - 1500 │ - │ 3820 │
└───────────────────────┴─────────────────────┴─────────────┴─────────────┘
8.2.2.3. Методика испытания
8.2.2.3.1. Испытательное напряжение следует подавать плавно и поддерживать его значение в соответствии с
таблицей 15 в течение 1 мин.
Примечание. Ток короткого замыкания источника испытательного напряжения не должен быть менее 0,1 А при напряжении, соответствующем испытательному напряжению разомкнутой цепи.
8.2.2.3.2. Держатель плавкого предохранителя выдерживают во влажных атмосферных условиях.
Выдержку во влаге проводят в камере влаги с относительной влажностью воздуха от 91% до 95%.
Температуру воздуха в месте расположения образца поддерживают в пределах 2 К от любого подходящего значения T (от 20 °C до 30 °C).
Перед помещением в камеру влаги образец должен находиться при температуре, отличающейся от упомянутого выше значения T не более чем на 2 К.
Образец необходимо выдерживать в камере в течение 48 ч.
Сразу же после выдержки в камере влаги после высыхания всех капель воды, которая сконденсировалась на образце, необходимо измерить сопротивление изоляции, подавая между точками, указанными в
8.2.2.1, постоянное напряжение около 500 В.
8.2.3. Проверка пригодности для разделения
#Зазоры и пути утечки следует проверять, измеряя размеры или подавая испытательное напряжение.#
8.2.3.1. Точки приложения испытательного напряжения
Испытательное напряжение для проверки пригодности для разделения прикладывают между выводами, если плавкая вставка и устройство для ее замены или держатель плавкой вставки (при наличии) удалены или плавкий предохранитель находится в разомкнутом состоянии с плавкой вставкой, находящейся внутри держателя плавкой вставки.
8.2.3.2. Значения испытательного напряжения
Испытательное напряжение для проверки номинального импульсного выдерживаемого напряжения приведено в таблице 16.
Таблица 16
Испытательное напряжение на полюсах
при проверке пригодности для разделения
Ранее - таблица 16 изменения 1 к редакции 3.
┌───────────────────────┬─────────────────────────────────────────────────┐
│Номинальное импульсное │ Испытательное напряжение U , кВ, │
│ выдерживаемое │ 1,2/50 │
│ напряжение U , кВ │ соответствующая высота над уровнем моря │
│ imp ├────────────┬─────────┬────────┬────────┬────────┤
│ │Уровень моря│ 200 м │ 500 м │ 1000 м │ 2000 м │
├───────────────────────┼────────────┼─────────┼────────┼────────┼────────┤
│ 0,8 │ 1,8 │ 1,7 │ 1,7 │ 1,6 │ 1,5 │
├───────────────────────┼────────────┼─────────┼────────┼────────┼────────┤
│ 1,5 │ 2,3 │ 2,3 │ 2,2 │ 2,2 │ 2 │
├───────────────────────┼────────────┼─────────┼────────┼────────┼────────┤
│ 2,5 │ 3,5 │ 3,5 │ 3,4 │ 3,2 │ 3 │
├───────────────────────┼────────────┼─────────┼────────┼────────┼────────┤
│ 4,0 │ 6,2 │ 6,0 │ 5,8 │ 5,6 │ 5 │
├───────────────────────┼────────────┼─────────┼────────┼────────┼────────┤
│ 6,0 │ 9,8 │ 9,6 │ 9,3 │ 9,0 │ 8 │
├───────────────────────┼────────────┼─────────┼────────┼────────┼────────┤
│ 8,0 │ 12,3 │ 12,1 │ 11,7 │ 11,1 │ 10 │
├───────────────────────┼────────────┼─────────┼────────┼────────┼────────┤
│ 12,0 │ 18,5 │ 18,1 │ 17,5 │ 16,7 │ 15 │
└───────────────────────┴────────────┴─────────┴────────┴────────┴────────┘
8.2.3.3. Методика испытания
Подают импульсное напряжение 1,2/50 мкс, соответствующее значениям, приведенным в
таблице 16, пять раз для каждой полярности через интервалы не менее 1 с.
8.2.4. Результаты испытания
8.2.4.1. При подаче испытательного напряжения, соответствующего приведенному в
таблице 15, не должно происходить пробоя изоляции или поверхностного разряда. Небольшими разрядами, не сопровождаемыми падением напряжения, можно пренебречь.
Во время этого испытания импульсным напряжением не должно быть разрушающего разряда.
8.2.4.2. Сопротивление изоляции, измеренное по
8.2.2.3.2, не должно быть менее 1 МОм.
8.3. Проверка температуры перегрева и потерь мощности
8.3.1. Установка плавкого предохранителя
В отсутствие других указаний изготовителя для проверки используют один плавкий предохранитель.
Предохранитель устанавливают на открытом воздухе согласно
8.1.4, с тем чтобы гарантировать, что результаты испытания не подвержены влиянию конкретных условий монтажа.
Испытание проводят при температуре (20 +/- 5) °C окружающего воздуха.
Длина соединений с каждой стороны предохранителя должна быть не менее 1 м. При испытании более одного предохранителя их следует соединять последовательно. При этом общая длина соединения между выводами двух последовательно соединенных предохранителей должна быть около 2 м. Кабель должен быть по возможности прямым.
Если в следующих частях МЭК 60269 не оговорено иное, площадь поперечного сечения выбирают по
таблице 17. Для номинальных токов до 400 А включительно в качестве соединений используют одножильный кабель с медным проводником с поливинилхлоридной изоляцией черного цвета. Для номинальных токов от 500 до 800 А допускается применять либо одножильные медные проводники с поливинилхлоридной изоляцией, либо медные шины без покрытия. При еще более высоких значениях номинальных токов используют только медные шины, окрашенные в матовый черный цвет. Крутящие моменты для винтов, соединяющих кабели с выводами, приведены в следующих частях МЭК 60269.
Таблица 17
Поперечное сечение медных проводников
Ранее - таблица 10 в редакции 3.
┌────────────────────────────────────┬────────────────────────────────────┐
│ Номинальный ток, А │ Площадь поперечного сечения, │
│ │ мм2 или мм x мм │
├────────────────────────────────────┼────────────────────────────────────┤
│ 2 │ 1 │
│ 4 │ 1 │
│ 6 │ 1 │
│ 8 │ 1,5 │
│ 10 │ 1,5 │
│ 12 │ 1,5 │
│ 16 │ 2,5 │
│ 20 │ 2,5 │
│ 25 │ 4 │
│ 32 │ 6 │
│ 40 │ 10 │
│ 50 │ 10 │
│ 63 │ 16 │
│ 80 │ 25 │
│ 100 │ 35 │
│ 125 │ 50 │
│ 160 │ 70 │
│ 200 │ 95 │
│ 250 │ 120 │
│ 315 │ 185 │
│ 400 │ 240 │
│ 500 │ 2 x 150 или 2 x (30 x 5) <a> │
│ 630 │ 2 x 185 или 2 x (40 x 5) <a> │
│ 800 │ 2 x 240 или 2 x (50 x 5) <a> │
│ 1000 │ 2 x (60 x 5) <a> │
│ 1250 │ 2 x (80 x 5) <a> │
├────────────────────────────────────┴────────────────────────────────────┤
│ <a> Рекомендуемые площади поперечного сечения плавких предохранителей│
│рассчитаны для присоединения к медным шинам. В протоколе испытаний│
│следует указывать тип и расположение используемых соединений. Для шин│
│матового черного цвета расстояние между двумя параллельными шинами│
│одинаковой полярности должно быть около 5 мм. │
└─────────────────────────────────────────────────────────────────────────┘
Примечание. Значения, приведенные в
таблице 10, также как и пределы температуры перегрева, приведенные в
таблице 4, следует считать условными; они действительны для проверки температуры перегрева по
8.3.4. Плавкий предохранитель, используемый или испытуемый в условиях, соответствующих определенному монтажу, может быть снабжен соединениями, тип, характер и компоновка которых отличаются от принятых для этих испытаний. В результате могут быть получены или приняты другие пределы температуры перегрева.
8.3.2. Измерение температуры перегрева
Значения температуры перегрева, приведенные в
таблице 5 для контактов и выводов плавкого предохранителя, следует определять измерительными приборами, которые являются наиболее пригодными для измерения, при условии, что приборы не могут заметно повлиять на температуру данной части предохранителя. Используемый метод измерения приводят в протоколе испытания.
8.3.3. Измерение потерь мощности плавкой вставки
Плавкую вставку устанавливают в держатель плавкого предохранителя или испытательное основание, как указано в следующих частях МЭК 60269. Испытательное устройство должно соответствовать
8.3.1.
Потери мощности измеряют в ваттах, точки, между которыми проводится измерение, выбирают на плавкой вставке так, чтобы получить максимальное значение. Точки для измерения указаны в следующих частях МЭК 60269.
8.3.4. Методика испытания
Испытания (см. 8.3.4.1 и
8.3.4.2) продолжают до тех пор, пока не станет очевидным, что температура перегрева не превышает установленных пределов, если испытания продолжают до достижения установившейся температуры. Температуру считают установившейся, если ее изменение не превышает 1 К/ч. Измерение проводят в последнюю четверть часа испытания. Допускается проводить испытание при пониженном напряжении.
8.3.4.1. Температура перегрева держателя плавкого предохранителя
Испытание на температуру перегрева проводят при переменном напряжении, используя плавкую вставку, потери мощности которой при номинальном токе держателя плавкого предохранителя эквивалентны номинальным допустимым потерям мощности держателя плавкого предохранителя, или макетную плавкую вставку согласно указаниям, приведенным в следующих частях МЭК 60269. Подаваемый ток должен быть равен номинальному току держателя плавкого предохранителя.
8.3.4.2. Потери мощности плавкой вставки
Данное испытание проводят переменным напряжением при номинальном токе плавкой вставки.
8.3.5. Результаты испытаний
Температура перегрева не должна превышать пределы, указанные в
таблице 5.
Потери мощности плавкой вставки не должны превышать номинальных потерь мощности или значения, указанного в следующих частях МЭК 60269. Рассеиваемая мощность держателя плавкого предохранителя не должна быть менее номинальных потерь мощности плавких вставок, предназначенных для этого держателя плавкого предохранителя, или значений, указанных в следующих частях МЭК 60269.
После испытания плавкий предохранитель должен быть в удовлетворительном состоянии. В частности, изолирующие части держателей плавких предохранителей должны выдерживать испытательное напряжение по
8.2 после охлаждения до температуры среды (см.
таблицу 15); кроме того, не должно быть никакой деформации, способной помешать их правильному функционированию.
8.4. Проверка срабатывания
8.4.1. Установка плавкого предохранителя
Испытательное устройство должно соответствовать требованиям
8.1.4.
Длина и площадь поперечного сечения проводников должны соответствовать указанным в
8.3.1 и должны быть выбраны согласно номинальному току плавкой вставки (см.
таблицу 17).
8.4.2. Температура окружающего воздуха
Температура окружающего воздуха во время этих испытаний должна быть (20 +/- 5) °C.
8.4.3. Методика и результаты испытания
8.4.3.1. Проверка условного тока неплавления и плавления
При пониженном напряжении допускается проводить следующие испытания:
a) через плавкую вставку пропускают условный ток неплавления

в течение условного времени, указанного в
таблице 2. В течение этого времени она не должна срабатывать;
b) после охлаждения до комнатной температуры через плавкую вставку пропускают условный ток плавления

. Она должна сработать в течение условного времени, указанного в
таблице 2.
8.4.3.2. Проверка номинального тока плавких вставок типа "g"
Для проверки номинального тока плавкой вставки проводят следующие испытания. Плавкий предохранитель устанавливают в соответствии с
8.4.1. Допускается проводить испытания при пониженном напряжении.
Одну из плавких вставок подвергают циклическому испытанию в течение 100 ч. Каждый цикл испытания состоит из периода включения тока, равного условному времени, и периода отключения тока, равного 0,1 условного времени, испытательным током, составляющим 1,05 номинального тока плавкой вставки. После испытания характеристики плавкой вставки не должны изменяться.
8.4.3.3. Проверка времятоковых характеристик и значений разбросов
8.4.3.3.1. Времятоковые характеристики
Времятоковые характеристики допускается проверять путем оценки осциллограмм, полученных в ходе испытаний по
8.5.
Определяют следующие периоды:
1) от момента замыкания цепи до момента, когда измерение напряжения свидетельствует об возникновении дуги;
2) от момента замыкания цепи до момента ее окончательного разрыва.
Определенные таким образом преддуговое время и время отключения, отнесенные к абсциссе, соответствующей значению ожидаемого тока, должны находиться во времятоковой зоне, указанной изготовителем, или быть заданы в следующих частях МЭК 60269.
Если из плавких вставок однородной серии (см.
8.1.5.2) полному испытанию по
8.5 подлежит только плавкая вставка с наибольшим номинальным током, то при меньших номинальных токах достаточно проверять только преддуговое время. В этом случае допускается проводить испытания при температуре окружающего воздуха (20 +/- 5) °C и только при следующей кратности значений ожидаемого тока номинальному току вставки:
- для плавких вставок "g", за исключением "gD", "gG" и "gM", поскольку соответствующие испытания проведены совместно с проверкой разбросов (см.
8.4.3.3.2):
испытание 3a - 10 - 20 раз,
испытание 3a - 5 - 8 раз,
испытание 3a - 12,5 - 4 раза;
- для плавких вставок "a":
испытание

,
испытание

,
Эти дополнительные испытания допускается проводить при пониженном напряжении. В этом случае при преддуговом времени более 0,02 за ожидаемый ток принимают ток, измеренный во время испытания.
8.4.3.3.2. Проверка значений разбросов
Следующие испытания допускается выполнять при пониженном напряжении. Дополнительно к приведенным выше испытаниям для плавких вставок "gG" и "gM" проводят следующее действие:
a) через плавкую вставку в течение 10 с пропускают ток в соответствии с графой 2
таблицы 3. Вставка не должна срабатывать;
b) через плавкую вставку пропускают ток в соответствии с графой 3
таблицы 3. Вставка должна срабатывать в течение 5 с;
c) через плавкую вставку в течение 0,1 с пропускают ток в соответствии с графой 4
таблицы 3. Вставка не должна срабатывать;
d) через плавкую вставку пропускают ток в соответствии с графой 5
таблицы 3. Вставка должна срабатывать в течение 0,1 с.
Дополнительно к испытаниям по
8.4.3.3.1 плавкие вставки "aM" должны выдержать следующие испытания, которые допускается проводить при пониженном напряжении:
e) через плавкую вставку в течение 60 с пропускают ток в соответствии с графой 2
таблицы 4. Вставка не должна срабатывать;
f) через плавкую вставку пропускают ток в соответствии с графой 3
таблицы 4. Вставка должна срабатывать в течение 60 с;
g) через плавкую вставку в течение 0,2 с пропускают ток в соответствии с графой 5
таблицы 4. Вставка не должна срабатывать;
h) через плавкую вставку пропускают ток в соответствии с графой 7
таблицы 4. Вставка должна срабатывать в течение 0,1 с.
Примечание. Испытания по перечислениям f) и g) можно проверять испытаниями на отключающую способность N 4 и N 5 соответственно.
Эти испытания для плавких предохранителей "aM" проводят при площади поперечного сечения проводника, указанной в таблице 18.
Таблица 18
Площадь поперечного сечения медных проводников
при испытании плавких предохранителей "aM"
Ранее - таблица D изменения 2 к МЭК 60269-2.
┌────────────────────────────────────┬────────────────────────────────────┐
│ Номинальный ток, А │ Площадь поперечного сечения, мм2 │
│ │ или мм x мм │
├────────────────────────────────────┼────────────────────────────────────┤
│ 2 │ 1,5 │
│ 4 │ 1,5 │
│ 6 │ 1,5 │
│ 8 │ 2,5 │
│ 10 │ 2,5 │
│ 12 │ 2,5 │
│ 16 │ 4 │
│ 20 │ 6 │
│ 25 │ 10 │
│ 32 │ 16 │
│ 40 │ 25 │
│ 50 │ 25 │
│ 63 │ 35 │
│ 80 │ 50 │
│ 100 │ 70 │
│ 125 │ 95 │
│ 160 │ 120 │
│ 200 │ 185 │
│ 250 │ 240 │
│ 315 │ 2 x 150 или 2 x (30 x 5) │
│ 400 │ 2 x 185 или 2 x (40 x 5) │
│ 500 │ 2 x 240 или 2 x (50 x 5) │
│ 630 │ 2 x (60 x 5) │
│ 800 │ 2 x (80 x 5) │
│ 1000 │ 2 x (100 x 5) │
│ 1250 │ 2 x (100 x 5) │
└────────────────────────────────────┴────────────────────────────────────┘
Испытательная схема должна быть такой же, как при испытаниях на температуру перегрева (см.
8.3.1). На три плавкие вставки подают 50 импульсов одинаковой продолжительности с одним значением испытательного тока.
Для плавких вставок "g" испытательный ток должен составлять 0,8 тока, определенного по полученным от изготовителя времятоковым характеристикам для минимального преддугового времени 5 с. Длительность каждого импульса должна быть 5 с, а интервал времени между импульсами должен составлять 20% условного времени, указанного в
таблице 2.
Для плавких вставок "a" испытательный ток должен быть

. Продолжительность импульса должна соответствовать указанной на кривой перегрузки для

по данным изготовителя. Интервалы времени между импульсами должны превышать длительность импульса в 30 раз.
Данное испытание допускается выполнять при пониженном напряжении.
Примечание. С согласия изготовителя интервал между импульсами может быть уменьшен.
После охлаждения до температуры окружающего воздуха через плавкие вставки необходимо пропустить ток, равный используемому при испытании на перегрузку. Преддуговое время при прохождении этого тока должно находиться во времятоковой зоне, указанной изготовителем.
#8.4.3.5. Обычная защита кабеля от перегрузок (только для плавких вставок типа "gG").#
Для проверки способности плавких вставок к защите кабелей от перегрузок одну плавкую вставку подвергают следующему испытанию. Плавкую вставку устанавливают в соответствующий держатель плавкого предохранителя или испытательное основание по
8.4.1, но снабжают медными проводниками в поливинилхлоридной изоляции с площадью поперечного сечения в соответствии с таблицей 19. Плавкий предохранитель и присоединенный к нему проводник предварительно нагревают номинальным током плавкой вставки в течение времени, равного условному.
Затем испытательный ток повышают до значения, равного

(значение

указано в таблице 19). Плавкая вставка должна сработать до истечения условного времени.
Таблица 19
Ранее - таблица 11 в редакции 3.
┌────────────────────────┬─────────────────────────┬──────────────────────┐
│ I плавкой вставки, А │ Номинальная площадь │ Допустимый ток I , │
│ n │ поперечного сечения │ z │
│ │ медных проводников, мм2 │
<a>, А │
├────────────────────────┼─────────────────────────┼──────────────────────┤
│ 12 │ 1 │ 15 │
│ 16 │ 1,5 │ 19,5 │
│ 20 и 25 │ 2,5 │ 27 │
│ 32 │ 4 │ 36 │
│ 40 │ 6 │ 46 │
│ 50 и 63 │ 10 │ 63 │
│ 80 │ 16 │ 85 │
│ 100 │ 25 │ 112 │
│ 125 │ 35 │ 138 │
│ 160 │ 50 │ 168 │
│ 200 │ 70 │ 213 │
│ 250 │ 120 │ 299 │
│ 315 │ 185 │ 392 │
│ 400 │ 240 │ 461 │
├────────────────────────┴─────────────────────────┴──────────────────────┤
│ <a> Допустимые токи I для двух нагруженных проводников (см. таблицу│
│ z │
│A.52-2 приложения A МЭК 60364 5-52). │
└─────────────────────────────────────────────────────────────────────────┘
Это испытание допускается выполнять при пониженном напряжении.
#Примечание. Данное испытание не является обязательным, если значение

больше условного тока плавления.#
8.4.3.6. Срабатывание указателей и бойков (при их наличии)
Правильное срабатывание указателей проверяют в ходе испытания на отключающую способность (см.
8.5.5).
Для проверки срабатывания бойков (при их наличии) испытывают дополнительный образец при токе:

для плавких вставок "a" (см.
рисунок 2) и при восстанавливающемся напряжении:
20 В - для номинальных напряжениях не выше 500 В,

- для номинальных напряжениях свыше 500 В.
Допускается превышение восстанавливающегося напряжения на 10%.
Боек должен срабатывать при всех испытаниях при восстанавливающемся напряжении не менее 20 В.
В случае отказа указателя срабатывания или бойка при одном из этих испытаний результаты нельзя считать отрицательными, если изготовитель может представить доказательства того, что такой отказ не характерен для плавких предохранителей данного типа, а обусловлен дефектом отдельного испытуемого образца.
8.5. Проверка отключающей способности
8.5.1. Установка плавкого предохранителя
Испытательная схема - в соответствии с
8.1.4.
Проводники должны иметь длину около 0,2 м по обе стороны от укомплектованного предохранителя в плоскости соединительного устройства и в направлении линии, соединяющей выводы предохранителя. На этом расстоянии для них требуются жесткие опоры. За опорами выводы следует загнуть назад под прямым углом. Считают, что эти требования соблюдены при использовании испытательных оснований, которые указаны в следующих частях МЭК 60269.
8.5.2. Характеристики испытательной цепи
Схема испытательной цепи приведена на
рисунке 5.
Испытательная цепь должна быть однополюсной, т.е. испытывают один плавкий предохранитель при напряжении, зависящем от его номинального напряжения.
Примечание. Предполагается, что однофазная цепь дает достаточно данных, применимых к трехфазным цепям.
Источник питания испытательной цепи должен быть достаточно мощным для оценки установленных характеристик, которые необходимо подтвердить.
Для защиты этого источника питания требуется автоматический выключатель или другое аналогичное устройство D; регулируемый резистор R, соединенный последовательно с регулируемой катушкой индуктивности L, должен обеспечивать возможность регулирования характеристик испытательной цепи. Цепь должно замыкать устройство C.
Необходимые значения параметров приведены в таблицах 20 и
21.
Таблица 20
Параметры испытаний на отключающую способность
плавких предохранителей переменного тока
Ранее - таблица 12A в редакции 3.
┌──────────────┬──────────────────────────────────────────────────────────┐
│ Параметр │ Испытание по
8.5.5.1 │
│ испытания ├──────────┬─────────┬────────────┬────────────┬───────────┤
│ │ N 1 │ N 2 │ N 3 │ N 4 │ N 5 │
├──────────────┼──────────┴─────────┴────────────┴────────────┴───────────┤
│Возвращающееся│ +5 │
│напряжение │105 % номинального напряжения для номинального │
│промышленной │ 0 │
│частоты │напряжения 690 В
<a>; │
│ │ +5 │
│ │110 % номинального напряжения для других номинальных │
│ │ 0 │
├──────────────┼──────────┬─────────┬────────────┬────────────┬───────────┤
│Ожидаемый │ │ │ │ │ │
│испытательный │ │ │ │ │ │
│ток плавких │ │ │ │ │ │
│вставок: │ │ │ │ │ │
│ "g" │ I │ I │I = 3,2I │I = 2,0I │I = 1,25I │
│ │ 1 │ 2 │ 3 f │ 4 f │ 5 f│
│ │ │ │ │ │ │
│ "a" │ │ │I = 2,5k I │I = 1,6k I │I = k I │
│ │ │ │ 3 2 n│ 4 2 n│ 5 2 n │
├──────────────┼──────────┼─────────┼────────────┼────────────┴───────────┤
│ │+10 │ │ │ +20 │
│Допуск по току│ %
<a> │Не приме-│ +/- 20% │ % │
│ │-0 │няют │ │ -0 │
├──────────────┼──────────┴─────────┼────────────┴────────────────────────┤
│Коэффициент │0,2 - 0,3 при │ 0,3 - 0,5
<b> │
│мощности │ожидаемом токе │ │
│ │до 20 кА │ │
│ │включительно. │ │
│ │0,1 - 0,2 при │ │
│ │ожидаемом токе │ │
│ │более 20 кА │ │
├──────────────┼──────────┬─────────┼─────────────────────────────────────┤
│ │ │ +20 │ │
│Угол включения│Не приме- │(0 )° │ Не указывают │
│после нулевого│няют │ -0 │ │
│напряжения │ │ │ │
├──────────────┼──────────┼─────────┼─────────────────────────────────────┤
│Возникновение │Для одного│Не приме-│ Не применяют │
│дуги после │испытания │няют │ │
│нулевого │40° - 65°.│ │ │
│напряжения
<c>│Для двух │ │ │
│ │и более │ │ │
│ │испытаний │ │ │
│ │65° - 90° │ │ │
├──────────────┴──────────┴─────────┴─────────────────────────────────────┤
│ <a> С согласия изготовителя этот допуск может быть превышен. │
│ <b> С согласия изготовителя допускается коэффициент мощности ниже│
│0,3. │
│ <c> Если требование к образованию дуги от 45° до 65° после│
│прохождения напряжения через нуль удовлетворить трудно, то необходимо│
│ +10 │
│провести испытание с углом включения (0 )°. │
│ -0 │
│ Если при этом испытании дуга образуется при угле более 65° после│
│прохождения через нуль, то это испытание проводят вместо испытания на│
│соответствие требованиям к возникновению дуги в интервале от 45° до 65°.│
│Однако необходимо, чтобы дуга возникала при угле менее 40° после│
│прохождения напряжения через нуль, затем проводят три испытания,│
│указанные в настоящей таблице. │
│ I - ток, используемый при определении номинальной отключающей│
│ 1 │
│способности (см.
5.7). │
│ I - ток, выбираемый с таким расчетом, чтобы условия испытания│
│ 2 │
│приближались к тем, которые обеспечивают максимальную энергию дуги. │
│ Примечание. Можно считать требование удовлетворительным, если│
│мгновенное значение тока в момент начала возникновения дуги достигает│
│уровня ожидаемого тока (симметричное действующее значение переменной│
│ _ _ │
│составляющей) с коэффициентом от 0,60\/2 до 0,75\/2. На практике│
│значение тока I может превышать в 3 - 4 раза значение этого тока│
│ 2 │
│(симметричное действующее значение), соответствующее преддуговому времени│
│одного полупериода. │
│ │
│ I , I и I - токи, при которых проводят испытания, предназначенные│
│ 3 4 5 │
│для проверки способности данного плавкого предохранителя срабатывать│
│в диапазоне малых сверхтоков. │
│ #I - условный ток плавления (см.
8.4.3.1) за условное время,│
│ f │
│ 2 │
└─────────────────────────────────────────────────────────────────────────┘
Таблица 21
Параметры испытаний на отключающую способность
плавких предохранителей постоянного тока
Ранее - таблица 12B в редакции 3.
┌──────────────┬──────────────────────────────────────────────────────────┐
│ Параметр │ Испытание по
8.5.5.1 │
│ испытания │ │
│ ├──────────┬─────────┬────────────┬────────────┬───────────┤
│ │ N 1 │ N 2 │ N 3 │ N 4 │ N 5 │
├──────────────┼──────────┴─────────┴────────────┴────────────┴───────────┤
│ │ -5 │
│Среднее │ (115 )% номинального напряжения
<b> │
│значение │ -9 │
│восстанавли- │ │
│вающегося │ │
├──────────────┼──────────┬─────────┬────────────┬────────────┬───────────┤
│Ожидаемый │ I │ I │ I = 3,2I │ I = 2,0I │I = 1,25I │
│испытательный │ 1 │ 2 │ 3 f │ 4 f │ 5 f│
│ток │ │ │ │ │ │
├──────────────┼──────────┼─────────┼────────────┼────────────┴───────────┤
│ │ +10 │ │ │ +20 │
│Допуски │ %
<b> │Не приме-│ +/- 20% │ % │
│по току │ -0 │няют │ │ -0 │
├──────────────┼──────────┴─────────┴────────────┴────────────────────────┤
│#Постоянная │При ожидаемом токе больше 20 кА: 15 - 20 мс. │
│ │При ожидаемом токе, равном или менее 20 кА: 0,5(I) │
│ │ +20 │
│ │с допуском % (значение I, А)# │
│ │ 0 │
├──────────────┴──────────────────────────────────────────────────────────┤
│ <a> Этот допуск учитывает пульсацию. │
│ <b> С согласия изготовителя это значение может быть превышено. │
│ I - ток, используемый при определении номинальной отключающей│
│ 1 │
│способности (см.
5.7). │
│ I - ток, выбираемый с таким расчетом, чтобы условия испытания│
│ 2 │
│приближались к тем, которые обеспечивают максимальную энергию дуги. │
│ │
│ Примечание. Условие можно считать удовлетворительным, если ток в│
│момент возникновения дуги достигает 0,5 - 0,8 значения ожидаемого тока. │
│ I , I и I - токи, при которых проводят испытания, предназначенные│
│ 3 4 5 │
│для проверки способности данного плавкого предохранителя срабатывать в│
│диапазоне малых сверхтоков. │
│ I - условный ток плавления (см.
8.4.3.1) за условное время,│
│ f │
└─────────────────────────────────────────────────────────────────────────┘
Для переменного тока:
если номинальная частота плавкого предохранителя составляет 50 или 60 Гц или не указана (см.
5.4), то испытание следует проводить при частоте сети от 45 до 62 Гц. Если указаны другие частоты, испытание следует проводить на этих частотах с допуском +/- 20%.
Для испытаний N 1 и N 2 требуется катушка индуктивности L с воздушным сердечником.
Пиковое значение возвращающегося напряжения промышленной частоты в течение первого полупериода после отключения тока и пять последующих пиковых значений должны соответствовать пику для действующего значения, приведенного в
таблице 20.
Для постоянного тока:
для проверки отключающей способности при постоянном токе используют индуктивную цепь с последовательно подсоединенными резисторами для регулировки ожидаемого тока. Индуктивность можно обеспечить путем последовательного и параллельного соединений соответствующих катушек индуктивности. У катушек могут быть железные сердечники, если во время испытаний они не насыщаются.
Постоянная времени не должна выходить за пределы, указанные в
таблице 21.
Среднее значение возвращающегося напряжения через 100 мс после окончательного гашения дуги должно быть не менее значения по
таблице 21.
8.5.3. Измерительные приборы
Кривая изменения тока должна быть зафиксирована одной из измерительных цепей

осциллографа, присоединенного к выводам соответствующего измерительного прибора. Другая измерительная цепь

осциллографа должна быть подключена через резистор или трансформатор напряжения (в зависимости от обстоятельств) к выводам источника энергии при калибровочных испытаниях и выводам плавкого предохранителя во время его испытания.
Напряжение дуги во время испытаний N 1 и N 2 определяют с помощью измерительной цепи (в которую входят датчик, передающий прибор и самописец), обладающей достаточной чувствительностью и частотной реакцией. Допускается использовать осциллограф, если он соответствует этим требованиям.
8.5.4. Калибровка испытательной цепи
Для калибровки испытательной цепи заменяют подлежащий испытанию плавкий предохранитель временным соединением A, полное сопротивление которого ничтожно по сравнению с полным сопротивлением испытательной цепи (см.
рисунок 5) в месте испытания предохранителя.
Сопротивление R и катушку индуктивности L необходимо отрегулировать так, чтобы в нужный момент обеспечить заданное значение тока и:
- при работе на переменном токе - требуемый коэффициент мощности при возвращающемся напряжении, равном

номинального напряжения плавкого предохранителя на 690 В и

номинального напряжения для всех других плавких предохранителей. Коэффициент мощности определяют одним из методов, приведенных в
Приложении A, или другими более точными методами;
- при работе на постоянном токе - требуемую постоянную времени для среднего значения восстанавливающегося напряжения

номинального напряжения испытуемого плавкого предохранителя.
Считают, что значение постоянной времени соответствует абсциссе ОА (см.
рисунок 7 a) точки кривой, соответствующей 0,632I.
При использовании катушек индуктивности с железными сердечниками результаты приведенного выше метода могут оказаться ошибочными из-за остаточного магнетизма сердечника. В таких случаях допускается возбуждение катушки индуктивности установленным испытательным током через последовательно подключенный резистор и катушку индуктивности, короткозамкнутую через испытательную цепь для измерения времени снижения тока до 0,368I. Питающую цепь следует немедленно отсоединять после закорачивания катушки индуктивности.
Испытательную цепь можно калибровать при пониженном напряжении, если выдерживается заданное соотношение между напряжением и током в испытательной цепи.
Эту цепь следует подготовить к испытанию, включив аппарат D, выдержка времени которого отрегулирована так, что позволяет до размыкания достичь приблизительно установившегося тока, затем следует включить аппарат C и зафиксировать изменения тока с помощью измерительной цепи

, а изменения напряжения до включения аппарата C и после отключения аппарата D - с помощью измерительной цепи

.
Данное значение тока следует рассчитывать по осциллограмме, приведенной в качестве примера, как указано в
Приложении A.
8.5.5.1. Для проверки соответствия плавкой вставки требованиям
7.5 проводят описанные ниже испытания N 1 - N 5 при значениях параметров, установленных в
таблице 20 для переменного тока и
таблице 21 - для постоянного тока (см.
8.5.2), если иное не оговорено в следующих частях МЭК 60269.
Испытания N 1 и N 2:
Для каждого из этих испытаний требуемые образцы испытывают последовательно.
На переменном токе, если во время испытания N 1 один или несколько раз удовлетворяются требования испытания N 2, то в ходе испытания N 2 эти испытания можно не повторять.
На постоянном токе, если во время испытания N 1 образование дуги начинается при токе не менее

, нет необходимости в испытании N 2.
Если при испытаниях на переменном токе ожидаемый ток, необходимый в соответствии с требованиями к испытанию N 2, больше номинальной отключающей способности, то испытания N 1 и N 2 необходимо заменить испытанием при токе

шести образцов с шестью углами включения, различающимися в каждых двух последовательных испытаниях приблизительно на 30°.
Для проверки пикового выдерживаемого тока держателя плавкого предохранителя подвергают испытанию N 1 весь комплект, состоящий из основания и плавкой вставки (см.
8.1.6) с держателем (при наличии). В ходе этих испытаний дуга должна возникать при значениях угла от 65° до 90° после прохождения напряжения через нуль.
Испытания N 3 - N 5:
Во время каждого из этих испытаний при работе на переменном токе замыкание цепи может происходить в любой момент прохождения напряжения через нуль.
Если в испытательной схеме невозможно поддерживать ток при полном напряжении в течение всего требуемого времени, плавкий предохранитель допускается предварительно нагреть, пропуская при пониженном напряжении, подавая ток, приблизительно равный испытательному. В этом случае переключение на испытательную цепь, соответствующую
8.5.2, должно происходить до начала образования дуги, а время переключения (при отсутствии тока в цепи) должно быть не более 2 с. Интервал между возобновлением подачи тока и образованием дуги не должен быть менее

.
8.5.5.2. В одном из трех испытаний N 2 и испытании N 4 восстанавливающееся напряжение поддерживают на уровне:

для предохранителей с номинальным напряжением 690 В и

- для всех других предохранителей;

номинального напряжения при постоянном токе в течение не менее:
30 с после срабатывания плавких вставок, в корпусе или наполнителе которых не содержатся органические вещества,
5 мин после срабатывания плавких вставок во всех прочих случаях, причем через 15 с допускается переключение на другой источник питания, если время переключения (при отсутствии в цепи напряжения) не превышает 0,1 с.
При всех других испытаниях восстанавливающееся напряжение поддерживают на том же уровне в течение 15 с после срабатывания плавкого предохранителя.
В течение времени не менее 6 мин и не более 10 мин после срабатывания (с согласия изготовителя возможно сокращение этого времени, если корпус или наполнитель плавкой вставки не содержит органических веществ) измеряют сопротивление между контактами плавкой вставки (см.
8.5.8) и регистрируют.
8.5.6. Температура окружающего воздуха
Если результаты испытания используют также для проверки времятоковых характеристик (см.
8.4.3.3), то испытания на отключающую способность проводят при температуре окружающего воздуха (20 +/- 5) °C.
Если соблюдение этих условий невозможно, допускается проводить испытания на отключающую способность при температуре окружающего воздуха от минус 5 °C до плюс 40 °C. Однако в этом случае повторяют испытания N 4 и N 5 в соответствии с
таблицами 20 и
21 при температуре окружающего воздуха (20 +/- 5) °C при пониженном напряжении для подтверждения преддуговых времятоковых характеристик.
8.5.7. Расшифровка осциллограмм
Способы расшифровки осциллограмм для различных случаев приведены на
рисунках 6 и
7.
Восстанавливающееся напряжение определяют по осциллограмме, соответствующей испытуемому плавкому предохранителю, и оценивают согласно
рисункам 6 b и
6 c для переменного тока и
7 b и
7 c - для постоянного тока.
Восстанавливающееся переменное напряжение измеряют между пиком второй неограниченной полуволны и прямой, соединяющей пики предшествующей и последующей полуволн.
Восстанавливающееся постоянное напряжение измеряют как среднее значение в течение 100 мс после окончательного погасания дуги.
Для определения ожидаемого тока сравнивают кривые тока, построенные во время калибровки цепи (см.
рисунок 6 a для переменного и
рисунок 7 a - для постоянного тока), с кривыми, полученными при проверке разрыва (
рисунки 6 b и
6 c для переменного тока и
7 b и
7 c - для постоянного тока).
На переменном токе за ожидаемый ток принимают действующее значение переменной составляющей калибровочной кривой, соответствующее моменту начала образования дуги.
Если интервал времени между моментом замыкания цепи и началом образования дуги короче полупериода, то значение ожидаемого тока измеряют по истечении времени, равного полупериоду.
На постоянном токе при отсутствии токоограничения значение ожидаемого тока измеряют по калибровочной осциллограмме в начальный момент образования дуги. В случае вибрации строят кривую действующего значения и считают ожидаемым током значение на этой кривой, соответствующее моменту образования дуги.
В условиях токоограничения за ожидаемый ток принимают максимальное установившееся значение, найденное по калибровочной осциллограмме. При наличии вибрации строят кривую действующих значений и максимум на этой кривой рассматривают как ожидаемый ток.
8.5.8. Результаты испытаний
Напряжение дуги в период срабатывания плавкой вставки при испытаниях N 1 и N 2 не должно превышать значений, установленных в 7.5
(таблица 6).
При срабатывании плавкой вставки не должно наблюдаться внешних эффектов или повреждений частей комплекта плавкого предохранителя, помимо оговоренных ниже:
Не должно быть дуги большой длительности, перекрытий или выбросов пламени, способных принести ущерб.
После срабатывания части плавкого предохранителя, кроме предназначенных для замены после каждого срабатывания, не должны иметь повреждений, способных помешать их дальнейшему использованию.
Плавкие вставки не должны быть настолько повреждены, чтобы их замена оказалась затруднительной и опасной для оператора. Допускается изменение цвета или растрескивание плавких вставок или их частей при условии, что перед извлечением из держателя или испытательного основания плавкая вставка остается неповрежденной.
Сопротивление между контактами плавкой вставки, измеренное после каждого испытания (см.
8.5.5.2) при постоянном напряжении около 500 В, должно быть не менее:
50000 Ом - при номинальном напряжении плавкой вставки не более 250 В;
100000 Ом - во всех других случаях.
8.6. Проверка времятоковых характеристик
8.6.1. Методика испытания
Характеристику пропускаемого тока, указанную изготовителем, проверяют на ожидаемом токе в соответствии с испытанием N 1 (см.
8.5) и по осциллограмме вычисляют соответствующее значение.
8.6.2. Результаты испытаний
Измеренные значения не должны превышать значений, указанных изготовителем (см.
5.8.1).
8.7. Проверка характеристик

и селективности при сверхтоках
8.7.1. Методика испытания
Характеристики

, указанные изготовителем, проверяют по результатам испытаний на отключающую способность или рассчитывают по измеренным значениям с учетом условий эксплуатации (см.
Приложение B).
8.7.2. Результаты испытаний
Измеренные значения

отключения не должны превышать указанных изготовителем или приведенных в следующих частях МЭК 60269. Значения преддугового

должны быть не менее минимальных значений, указанных изготовителем, или находиться в пределах, указанных в
таблице 7 (см.
5.8.2 и
Приложение B).
Значения

отключения, полученные по испытаниям на отключающую способность, допускается использовать для вычисления значений для других напряжений по формуле, приведенной в
B.3 Приложения B.
8.7.3. Проверка плавких вставок в течение 0,01 с
Соответствие
таблице 7 определяют по значениям преддугового

, полученным при испытаниях

, и значениям преддугового

за 0,1 с.
Значения преддугового

при испытаниях

для наименьших номинальных токов в однородной серии можно вычислять по формуле, приведенной в
Приложении B.
8.7.4. Проверка селективности по сверхтокам
Селективность плавких вставок проверяют по времятоковым характеристикам и значениям преддугового

и

отключения.
Примечание. В большинстве случаев селективность плавких предохранителей типов "gG" и "gM" проявляется на ожидаемых токах в случае, когда преддуговое время более 0,01 с. Считают, что соответствие значений преддугового

, приведенных в
таблице 7, обеспечивает селективность при такой продолжительности, когда соотношение номинальных токов 1,6:1.
8.8. Проверка степени защиты оболочек
Если плавкий предохранитель смонтирован в оболочке, то степень защиты по
5.1.3 проверяют в условиях, установленных в МЭК 60529.
8.9. Проверка теплостойкости
Если в следующих частях МЭК 60269 не оговорено иное, теплостойкость оценивают по результатам всех испытаний на работоспособность, в частности по
8.3 -
8.5 и 8.10.
8.10. Проверка целостности контактов
С помощью испытания, имитирующего жесткие условия эксплуатации, проверяют целостность контактов, не эксплуатируемых длительное время.
8.10.1. Установка плавкого предохранителя
Этому испытанию подвергают три образца. Испытуемые образцы располагают в испытательной схеме, чтобы исключить их взаимное влияние. Испытательная схема и макетные плавкие вставки должны быть такими же, как и при проверке температуры перегрева и потерь мощности (см.
8.1.4,
8.3.1 и
8.3.4.1).
Образцы оснащают стандартными макетными плавкими вставками с максимальными номинальными токами из предусмотренных для данного держателя плавкого предохранителя (см. следующие части МЭК 60269).
8.10.2. Метод испытания
Испытательный цикл включает в себя период нагрузки и период без нагрузки, отнесенные к условному времени. Испытательные токи для обоих периодов указаны в следующих частях МЭК 60269.
Сначала выполняют испытание из 250 циклов. Если результаты удовлетворительны, то испытание прекращают. Если же результаты испытаний выходят за установленные пределы, испытание продолжают до 750 циклов.
До начала этих циклических испытаний, как установлено в следующих частях МЭК 60269, при достижении установившегося режима измеряют при номинальном токе температуру перегрева и/или падение напряжения на контактах. Это измерение следует повторить после 250 циклов и, при необходимости, после 750 циклов.
Если плавкие предохранители настолько малы, что надежные измерения на контактах невозможны, то в качестве критериев допускается использовать результаты измерений на выводах.
8.10.3. Результаты испытаний
Значения, измеренные после 250 циклов и, при необходимости, после 750 циклов, не должны выходить за пределы, установленные в следующих частях МЭК 60269.
8.11. Механические и прочие испытания
8.11.1. Механическая прочность
Если в следующих частях МЭК 60269 не оговорено иное, механические свойства плавкого предохранителя и его частей оценивают по соблюдению нормальных условий обслуживания и монтажа, а также по результатам, полученным при испытаниях на отключающую способность (см.
8.5).
8.11.2. Прочие испытания
8.11.2.1. Проверка на отсутствие внутренних напряжений
Испытание предназначено для проверки на отсутствие внутренних напряжений токопроводящих частей, изготовленных из катаного медного сплава с содержанием меди менее 83%.
Три образца полностью обезжиривают, погружая на 10 мин в соответствующий раствор. Плавкие вставки испытывают отдельно, а держатели плавких предохранителей - только в составе укомплектованного плавкого предохранителя.
Образцы на 4 ч помещают в испытательную камеру температурой (30 +/- 10) °C.
Затем образцы в течение 8 ч выдерживают в испытательной камере, дно которой покрыто раствором хлористого аммония с pH 10 - 11.
Для получения 1 дм3 раствора хлористого аммония с нужным значением pH 107 г хлористого аммония (

, ч.д.а.) смешивают с 0,75 дм3 дистиллированной воды и доводят до 1 дм3 30%-ным гидроксидом натрия (приготовленным из NaOH, ч.д.а., и дистиллированной воды). Значение pH не меняется; измерять его следует с помощью стеклянного электрода.
Соотношение объемов испытательной камеры и раствора должно составлять 20:1.
На образцах не должно быть трещин, видимых невооруженным глазом после удаления с них голубоватой пленки с помощью сухой тряпки. Должна быть исключена возможность удаления вручную контактных колпачков плавких вставок.
8.11.2.2. Проверка стойкости к аномальному перегреву и огню
Если в следующих частях МЭК 60269 не оговорено иное, то проводят следующее испытание:
Части из изолирующих материалов, за исключением керамических, не являющиеся необходимыми для закрепления на месте токопроводящих частей, даже если они с ними соприкасаются, испытывают по
8.11.2.2.5, перечисление a).
Примечание. Оболочки, являющиеся частью плавкого предохранителя, испытывают так же, как и плавкий предохранитель. В других случаях оболочку испытывают в соответствии с МЭК 60529.
Части из изолирующих материалов, кроме керамических, необходимые для закрепления на месте токопроводящих частей и частей цепи заземления (при их наличии), на месте эксплуатации испытывают по
8.11.2.2.5, перечисление b).
8.11.2.2.1. Общее описание испытания
Данное испытание должно подтверждать, что специально изготовленная из проволоки петля с определенным сопротивлением, нагреваемая электрическим током до температуры, указанной для конкретного оборудования, не вызывает воспламенения частей, выполненных из изолирующего материала, или часть, выполненная из изолирующего материала и в определенных условиях воспламененная испытательной проволокой, горит непродолжительное время и без распространения огня в виде пламени, в виде капель или раскаленных частиц, падающих с образца.
Испытанию подвергают один образец. Если результаты испытания вызывают сомнение, то испытывают два дополнительных образца.
8.11.2.2.2. Описание испытательной установки
Приспособление изготавливают в виде петли из никель-хромового сплава (80%/20%), при изготовлении петли следует принимать меры предосторожности во избежание появления на ее кончике мелких трещин.
Для измерения температуры раскаленной петли применяют термопару из тонкой проволоки наружным диаметром 0,5 мм, покрытую оболочкой. Термопару выполняют из хромеля и алюмеля. Спай расположен внутри оболочки.
Петля из проволоки с термопарой показана на
рисунке 8.
Оболочка термопары должна быть изготовлена из металла, стойкого к температуре не ниже 960 °C. Термопару помещают в отверстие диаметром 0,6 мм, просверленное в конце петли (см. вид Z на
рисунке 8). Электродвижущая сила термопары должна соответствовать требованиям МЭК 60584-1; характеристики, приведенные в данном стандарте, практически линейные. Холодный спай следует держать в тающем льду, если необходимая температура не может быть достигнута другими способами, например, с помощью компенсационной коробки. Для измерения электродвижущей силы рекомендуется прибор класса 0,5.
Петлю нагревают электрическим током; для нагрева кончика петли до температуры 960 °C необходим ток 120 - 150 А.
Испытательная установка должна быть спроектирована с таким расчетом, чтобы раскаляемая петля лежала в горизонтальной плоскости и к образцу прилагалось усилие 1 Н, поддерживаемое на этом уровне так же и тогда, когда петля и образец сдвигаются навстречу друг другу в горизонтальной плоскости до расстояния не менее 7 мм.
На расстоянии 200 мм ниже точки соприкосновения раскаляемой петли и образца укладывают белую сосновую доску толщиной около 10 мм, покрытую одним слоем папиросной бумаги.
Папиросная бумага должна соответствовать требованиям 6.8.6 ИСО 4046, она должна быть тонкой, мягкой по сравнению с грубой, применяемой обычно для упаковки хрупких изделий, ее плотность - от 12 до 30 г/м2.
Пример испытательной установки приведен на
рисунке 9.
8.11.2.2.3. Предварительная обработка
До начала испытания образец выдерживают 24 ч при температуре от 15 °C до 35 °C и относительной влажности от 35% до 75%.
8.11.2.2.4. Метод испытания
Испытательную установку помещают в темную комнату без сквозняков, чтобы было видно пламя, возникающее во время испытания.
До начала испытания термопару калибруют при температуре 960 °C, которую получают нагреванием фольги из серебра чистотой 99,8% в виде квадратика со стороной 2 и толщиной 0,06 мм, прикрепляемого на кончик раскаленной проволоки сверху.
Петлю нагревают до температуры 960 °C, при которой серебряная фольга плавится. Через некоторое время калибровку повторяют с целью компенсации изменений характеристик термопары и соединений. Следует принять меры, не препятствующие смещению термопары вместе с концом раскаленной проволоки при ее расширении в результате нагрева.
Для этого испытания образец устанавливают так, чтобы поверхность, соприкасающаяся с концом раскаленной проволоки, заняла вертикальное положение. Конец раскаленной проволоки прикладывают к той части поверхности образца, которая должна испытывать термические нагрузки в нормальных условиях эксплуатации.
Концом раскаленной проволоки прикасаются к участкам с самым тонким сечением, но не далее 15 мм от верхнего края образца. Это требование относится к случаям, когда участки, испытывающие термические нагрузки в процессе нормальной эксплуатации установки, точно не определены.
По возможности, раскаленный кончик петли прикладывают к плоским поверхностям, а не к пазам, выбитым диафрагмам, узким углублениям или острым ребрам.
Проволочную петлю нагревают электрическим током до установленной температуры, измеряемой с помощью калиброванной термопары. Необходимо принять меры, чтобы до начала испытания температура и ток нагрева поддерживались на постоянном уровне не менее 60 с и тепловое излучение при калибровке не повлияло на образец, обеспечив, например, достаточное расстояние или защитив образец соответствующим экраном.
Затем раскаленный кончик петли прижимают к образцу. При этом ток нагрева поддерживают на постоянном уровне. Затем конец раскаленной проволоки медленно отделяют от образца во избежание его дальнейшего нагрева и любого движения воздуха вокруг него, которые могли бы повлиять на результаты испытания.
Раскаленная проволока, прижимаемая к образцу, благодаря механическим ограничениям, должна входить в него на глубину не более чем на 7 мм.
После каждого испытания необходимо очищать конец раскаленной проволоки, например, щеткой, от остатков изолирующего материала.
8.11.2.2.5. Степени жесткости
a) Температура конца раскаленной проволоки и длительность его прикосновения к образцу должны быть (650 +/- 10) °C и (30 +/- 1) с соответственно.
b) Температура конца раскаленной проволоки и длительность его прикосновения к образцу должны быть (960 +/- 10) °C и (30 +/- 1) с соответственно.
В следующих частях МЭК 60269 указаны другие температуры испытания.
#Примечание. Числовые значения следует выбирать из таблиц "Степени жесткости" в соответствии с МЭК 60695-2-10 - МЭК 60695-2-13.#
8.11.2.2.6. Наблюдения и измерения
Во время прикладывания раскаленной проволоки и в последующие 30 с наблюдают за образцом, окружающими его частями и помещенным под ним слоем папиросной бумаги.
Фиксируют момент воспламенения образца и время гашения пламени в период или после приложения раскаленной проволоки.
Измеряют и регистрируют максимальную высоту пламени, не учитывая начало воспламенения, когда пламя может оказываться высоким в течение приблизительно 1 с.
Под высотой пламени подразумевают измеренное расстояние по вертикали между верхним краем раскаленного кончика, приложенного к образцу, и видимой верхушки пламени.
Образец считают выдержавшим испытание раскаленной проволокой, если:
- отсутствует видимое пламя и длительное свечение или
- происходит погасание пламени или свечения через 30 с после удаления раскаленной проволоки.
Папиросная бумага должна загораться, а сосновая доска - обугливаться.
8.11.2.3. Проверка на коррозионную стойкость
Подлежащие испытанию части предохранителя полностью обезжиривают путем погружения на 10 мин в соответствующее обезжиривающее вещество. Затем испытуемые части погружают на 10 мин в 10%-ный раствор хлористого аммония в воде при температуре (20 +/- 10) °C.
Без сушки, но стряхнув капли, эти части помещают на 10 мин в емкость, содержащую насыщенный влагой воздух при температуре (20 +/- 5) °C.
После просушивания в течение 10 мин в камере тепла при температуре (100 +/- 5) °C на поверхности частей не должно быть заметно никаких признаков коррозии.
Следами ржавчины на острых кромках и желтоватой пленкой, которые можно стереть, пренебрегают.
Мелкие пружины и недоступные части, подвергающиеся абразивному износу, можно в достаточной степени защитить от коррозии слоем смазки. Такие части подлежат испытанию только в случае возникновения сомнений в эффективности смазки, в этом случае испытание проводят без предварительного обезжиривания.
Рисунок 1. Пример диаграммы проверки
времятоковой характеристики по результатам испытаний
при "пороговых" токах
Перегрузочная характеристика между

и

соответствует постоянному значению

Рисунок 2. Перегрузочная и времятоковая характеристики
плавких вставок "a"
#Рисунок 3. Времятоковая зона плавких предохранителей "aM"
(Ранее - рисунок 1 в редакции 2 МЭК 60269-2)#

,

,

- номинальные токи плавких вставок;

- максимальное значение пропускаемого тока;
n - коэффициент, зависящий от коэффициента мощности;
nI - асимметричное короткое замыкание
Рисунок 4. Общее изображение характеристик
пропускаемого тока для серии плавких вставок
переменного тока (логарифмическая шкала)
(Ранее - рисунок 3 в редакции 3)
A - съемное соединение, применяемое при калибровке;
C - устройство, замыкающее цепь; D - автоматический
выключатель или другое устройство для защиты источника
питания; F - испытуемый плавкий предохранитель;
L - регулируемая катушка индуктивности;

- измерительная
цепь для регистрации тока;

- измерительная цепь
для регистрации напряжений во время испытаний;

- измерительная цепь для регистрации напряжений
во время калибровки; R - регулируемый резистор;
S - источник питания
Рисунок 5. Типовая схема цепи, используемой для испытаний
на отключающую способность (см.
8.5)
(Ранее - рисунок 4 в редакции 3)
Напряжение калибровки

a) Осциллограмма при калибровке цепи
Ток

Восстанавливающееся напряжение

Испытательное напряжение

b) Осциллограмма отключения при образовании дуги
после 180° с момента включения
Ток

Восстанавливающееся напряжение

Испытательное напряжение

c) Осциллограмма отключения при образовании дуги
до 180° с момента включения
Рисунок 6. Расшифровка осциллограмм,
полученных во время испытаний на отключающую способность
на переменном токе (см.
8.5.7)
(Ранее - рисунок 5 в редакции 3)
Примечание. При наличии пульсации измеряют значения, соответствующие 0,632I,

и

на кривой действующих значений.
a) Осциллограмма при калибровке цепи
Примечание. Ток

при напряжении

. Если напряжение не достигло установившегося значения, измеряют среднее значение за период 100 мс после окончательного погасания дуги.
b) Осциллограмма отключения в начале образования дуги
после прохождения током максимального значения
Примечание. Ток

при напряжении

. Если напряжение не достигло установившегося значения, измеряют среднее значение за период 100 мс после окончательного погасания дуги.
c) Осциллограмма отключения в начале образования дуги
после прохождения током максимального значения
Рисунок 7. Расшифровка осциллограмм,
полученных во время испытаний на отключающую способность
на постоянном токе (см.
8.5.7)
(Ранее - рисунок 6 в редакции 3)
1 - раскаленная проволока, припаянная в точке 3;
2 - термопара; 3 - штифт
Рисунок 8. Раскаленная проволока и положение термопары
(Ранее - рисунок 7 в редакции 3)
1 - опора для образца; 2 - тележка;
3 - натяжной канат; 4 - плита основания; 5 - груз;
6 - регулируемый упор; 7 - линейка для измерения пламени;
8 - линейка для измерения проникновения; 9 - раскаленная
проволока (см.
рисунок 8); 10 - отверстие в фундаментной
плите для частиц, падающих с образца
Рисунок 9. Пример испытательной установки
(Ранее - рисунок 8 в редакции 3)
(справочное)
ОПРЕДЕЛЕНИЕ КОЭФФИЦИЕНТА МОЩНОСТИ ПРИ КОРОТКОМ ЗАМЫКАНИИ
Точно определить коэффициент мощности короткого замыкания невозможно, но для целей настоящего стандарта достаточно точности определения коэффициента мощности для испытательной цепи любым из описанных ниже методов.
Метод I: расчет по постоянным цепи
Коэффициент мощности можно вычислить как косинус угла

, где

, причем X и R - реактивное и активное сопротивления испытательной цепи во время короткого замыкания соответственно.
Вследствие переходного характера этого явления точно определить X и R невозможно, но в настоящем стандарте их значения можно определить следующим образом.
Значение R измеряют в самой испытательной цепи на постоянном токе; если в состав цепи входит трансформатор, сопротивление

первичной цепи и

вторичной цепи измеряют раздельно, а искомое значение R вычисляют по формуле

,
где r - коэффициент трансформации трансформатора.
Затем вычисляют X по формуле

,
где отношение

(полное сопротивление цепи) определяют по осциллограмме на рисунке A.1.
Рисунок A.1. Определение полного сопротивления цепи
для расчета коэффициента мощности методом I
Метод II: определение по постоянной составляющей
Угол

можно определить по кривой постоянной составляющей асимметричного тока за время между возникновением короткого замыкания и возникновением дуги следующим образом:
1. Постоянную составляющую вычисляют по формуле

,
где

- мгновенное значение постоянной составляющей;

- начальное значение постоянной составляющей;
L/R - постоянная времени цепи, с;
t - интервал между

и

, с;
e - основание натурального логарифма.
По данной формуле можно определить постоянную времени L/R следующим образом:
a) измеряют значение

в момент короткого замыкания и значение

в любой другой момент t до начала образования дуги;
b) определяют значение

, разделив

на

;
c) по таблице значений

определяют значение x, соответствующее отношению

;
d) найденное значение x представляет собой Rt/L, по которому можно определить R/L, разделив x на t, и получаем таким образом L/R.
2. Угол

вычисляют по формуле

, где

в

раз больше действительной частоты.
Данный метод неприменим при измерении токов токовыми трансформаторами.
Метод III: определение с помощью задающего генератора
В том случае, если задающий генератор находится на одном валу с испытательным, его напряжение на осциллограмме можно сопоставить по фазе сначала с напряжением испытательного генератора, а затем - с его током.
Разность фазовых углов между напряжениями задающего и главного генераторов с одной стороны и напряжением задающего генератора и током испытательного генератора с другой стороны равна фазовому углу между напряжением и током испытательного генератора, по которому можно определить коэффициент мощности.
| | ИС МЕГАНОРМ: примечание. Текст дан в соответствии с официальным текстом документа. | |
Полное сопротивление

, В, определяют по формуле

,
где E - ЭДС в начальный момент образования дуги, равная

;
I - ток отключения, равный

, А;
A - удвоенное пиковое значение напряжения до включения, В;
C - удвоенное пиковое значение периодической составляющей волны тока в начале короткого замыкания, А;
F - длительность полупериода волны напряжения до включения, с;
G - длительность полупериода волны тока в момент образования дуги.
(справочное)
ВЫЧИСЛЕНИЕ ПРЕДДУГОВОГО

ДЛЯ ПЛАВКИХ ВСТАВОК
"gG", "gM", "gD" И "gN" И

ОТКЛЮЧЕНИЯ
ПРИ ПОНИЖЕННОМ НАПРЯЖЕНИИ
B.1. Оценка преддугового

за 0,01 с
Приблизительная оценка преддугового

за 0,01 с в качестве функции преддугового

за 0,1 с и значений, измеренных при испытании N 2, возможна по формуле

.
F = 0,7 для плавких вставок "gG" и "gM";
F = 0,6 для плавких вставок "gD";
F = 1,0 для плавких вставок "gN".
F - поправочный коэффициент для излома времятоковой характеристики в этом интервале времени.
B.2. Вычисление значения преддугового

в условиях испытания N 2
Для плавких предохранителей с меньшими номинальными значениями однородной серии, если в технических условиях не предусмотрено никаких прямых испытаний, оценка значения преддугового

в условиях испытания N 2 возможна по формуле

,
где

- преддуговой

в условиях испытания N 2 для плавких предохранителей с меньшими номинальными токами;

- преддуговой

в условиях испытания N 2 для плавких предохранителей с наибольшим номинальным током, измеренным при проверке отключающей способности;

- минимальная площадь поперечного сечения элемента с меньшим номинальным током;

- минимальная площадь поперечного сечения элемента с наибольшим номинальным током.
Вычисленное значение можно использовать для оценки значения

за 0,01 с (см.
B.1).
B.3. Вычисление

отключения при пониженном напряжении
Значения

отключения можно определять при более низких напряжениях, чем измеренное во время испытаний N 1 и N 2 по
таблице 20 по формуле
(справочное)
РАСЧЕТ ВРЕМЯТОКОВОЙ ХАРАКТЕРИСТИКИ ПРОПУСКАЕМОГО ТОКА
Подраздел 7.6 настоящего стандарта устанавливает зависимость характеристики пропускаемого тока от ожидаемого тока.
Ниже изложен метод расчета характеристики пропускаемого тока как функции фактического преддугового времени.
Для всех плавких вставок получают различные результаты и поэтому для полной взаимозаменяемости проводят вычисления при максимальных значениях

, допустимых по требованиям настоящего стандарта. Следует также отметить, что данный метод позволяет рассчитать пиковый ток за преддуговой период, в то время как во многих плавких предохранителях (особенно предназначенных для защиты полупроводников) ток во время дуги продолжает нарастать и, следовательно, результат оказывается несколько заниженным в зависимости от состояния цепи.
Однако метод обеспечивает достаточную точность, дающую возможность потребителю в случае необходимости построить эти кривые (например, для исследования свариваемости контактов).
C.1. Введение
Зависимость характеристики пропускаемого тока от ожидаемого тока определена в
2.3.7; эта характеристика описана в
5.8.1 и представлена на
рисунке 3; испытания проводят по
8.6.
Указание этой характеристики необязательно.
К тому же информация, которая в ней содержится, особенно относящаяся к началу токоограничения (преддуговое время около 5 мс для симметричного тока и до 10 мс включительно - для асимметричного), в принципе неточна.
Потребителям, нуждающимся в защите приборов (например, контакторов), с трудом выдерживающих кратковременные токи с большой амплитудой (например, пропускаемые плавкими предохранителями перед отключением короткого замыкания), необходимо точно знать максимальное мгновенное значение, достигаемое током в период отключения, чтобы обеспечить наиболее экономичную комбинацию прибора с плавким предохранителем.
Наиболее полезную информацию для этих целей несет характеристика, определяющая зависимость пропускаемого тока как функцию фактического преддугового времени.
C.2. Определение
Характеристика пропускаемого тока как функция фактического преддугового времени - кривая, показывающая значение пропускаемого тока в фактическое преддуговое время в симметричном режиме.
C.3. Характеристика
Если пропускаемый ток характеризуется как функция фактического преддугового времени, эту характеристику следует оценивать для симметричного тока включения и строить в соответствии с примером, приведенным на
рисунке C.1, в двойном логарифмическом масштабе со значением тока по оси абсцисс и времени - по оси ординат.
Рисунок C.1. Зависимость пропускаемого тока
от фактического преддугового времени
C.4. Условия испытания
Пропускаемый ток, соответствующий данному преддуговому времени, зависит от степени асимметричности короткого замыкания и, поскольку характеристики так же многочисленны, как и условия включения, потребовалось бы бесконечное число испытаний.
Для данной плавкой вставки в данном диапазоне рабочего времени при любом значении пропускаемого тока значение

практически не зависит от степени асимметрии тока короткого замыкания.
Эта особенность позволяет:
1) измерить характеристику пропускаемого тока при симметричном токе короткого замыкания в виде зависимости от фактического преддугового времени при симметричном срабатывании;
2) рассчитать характеристику пропускаемого тока, соответствующего любой степени асимметрии.
C.5. Расчет по измеренным значениям
Характеристика, построенная по результатам экспериментов в периодическом режиме, отражает зависимость пропускаемого тока от преддугового времени.
Поскольку короткое замыкание симметрично, то по полученным значениям легко рассчитать пропускаемый ток короткого замыкания и интеграл Джоуля.
Условные обозначения:

- пульсация в сети;

- ожидаемый ток короткого замыкания:

- в симметричном режиме,

- в асимметричном режиме;

- пропускаемый ток;

- сдвиг фазы тока относительно напряжения;

- угол появления тока короткого замыкания относительно естественного прохождения напряжения через нуль;
R, L - сопротивление и индуктивность при симметричном токе;

- преддуговое время при симметричном токе;

- преддуговое время при асимметричном токе.
При симметричном токе

; (1)

. (2)
По определению

.
Значения R, L,

для расчета не требуются.
При асимметричном токе

; (3)

. (4)
Если предположить, что пропускаемый ток и интеграл Джоуля при симметричном и асимметричном токах равны:

;

,
то можно рассчитать любые два параметра, если известны семь остальных.
В частности, на основании измеренных и расчетных значений пропускаемого тока и интеграла Джоуля можно рассчитать преддуговое время и ожидаемый ток короткого замыкания в данных условиях асимметрии.
Это допущение в общем действительно для преддугового времени от 1 до 5 мс.
Если преддуговое время менее 1 мс, то точную информацию можно получить по характеристике пропускаемого тока как функции ожидаемого тока короткого замыкания.
(справочное)
ВЛИЯНИЕ ТЕМПЕРАТУРЫ ОКРУЖАЮЩЕЙ СРЕДЫ И УСЛОВИЙ МОНТАЖА
НА РАБОТОСПОСОБНОСТЬ ПЛАВКИХ ВСТАВОК
D.1. Влияние повышения температуры окружающего воздуха
D.1.1. Номинальный ток
Если плавкие вставки предназначены для длительной работы с полной нагрузкой при средней температуре окружающей среды выше значения, приведенного в
3.1, может потребоваться снижение их номинального тока. Коэффициент снижения должен быть согласован изготовителем с потребителем с учетом всех условий эксплуатации.
D.1.2. Температура перегрева
Повышение средней температуры окружающей среды приводит к сравнительно небольшому увеличению температуры перегрева.
D.1.3. Условные токи плавления и неплавления

Повышение средней температуры окружающей среды приводит обычно к незначительному уменьшению условных токов плавления и неплавления

.
D.1.4. Условия пуска двигателей
При повышении средней температуры окружающей среды, вызванном пуском двигателя, следует снижать ток плавкой вставки.
D.2. Влияние снижения температуры окружающего воздуха
Падение температуры окружающего воздуха ниже уровня, указанного в
3.1, позволяет увеличивать номинальный ток, но может также привести к увеличению условных токов плавления и неплавления и продлению преддугового времени при меньших сверхтоках. Степень этого увеличения зависит от фактической температуры и конструкции плавкой вставки. В этом случае необходимо проконсультироваться с изготовителем.
D.3. Влияние условий монтажа
На рабочие условия могут влиять различные условия монтажа, которые необходимо учитывать, например:
a) установку в распределительном устройстве или на открытом воздухе;
b) характер монтажной поверхности;
c) число плавких предохранителей, смонтированных в одном распределительном устройстве;
d) поперечное сечение и изоляцию соединений.
(обязательное)
К ОСНОВАНИЯМ ПЛАВКИХ ПРЕДОХРАНИТЕЛЕЙ С БЕЗВИНТОВЫМИ
ЗАЖИМАМИ ДЛЯ ВНЕШНИХ МЕДНЫХ ПРОВОДНИКОВ
E.1. Область применения
Требования настоящего приложения распространяются на основания плавких предохранителей, входящих в область применения согласно
1.1, с безвинтовыми зажимами, рассчитанными на токи не более 63 А и в основном предназначенными для присоединения неподготовленных медных проводников (см.
E.2.6) с поперечным сечением площадью не более 16 мм2.
В настоящем приложении безвинтовые зажимы (далее - зажимы), а медные проводники (далее - проводники).
E.2. Термины и определения
В дополнение к
разделу 2 применяют следующие термины с соответствующими определениями:
E.2.1. Фиксирующий элемент (clamping unit): часть (части) зажима, необходимая(ые) для механической фиксации и электрического соединения проводников, включая часть (части), необходимую(ые) для обеспечения соответствующего контактного давления.
E.2.2. Безвинтовой зажим (screwless-type terminal): зажим, обеспечивающий присоединение и последующее отсоединение проводника посредством фиксирующего элемента непосредственно или с применением пружин, клиньев или подобными способами.
E.2.3. Универсальный зажим (universal terminal): зажим для присоединения и отсоединения всех видов проводников (жестких и гибких).
E.2.4. Неуниверсальный зажим (non-universal terminal): зажим для присоединения и отсоединения только определенного вида проводника (например, только жесткого одножильного проводника или только жестких одножильных и многожильных проводников).
E.2.5. Зажимная клемма (push-wire terminal): неуниверсальный зажим, в котором соединение осуществляется посредством проталкивания в него жестких (одножильных или многожильных) проводников.
E.2.6. Неподготовленный проводник (unprepared conductor): отрезанный проводник с удаленной на определенную длину изоляцией для введения в зажим.
Примечание 1. Проводник, форма которого подходит для введения в зажим или жилы которого могут быть скручены на конце, считают неподготовленным проводником.
Примечание 2. Термин "неподготовленный проводник" означает, что проводник не подготовлен с помощью пайки, применения кабельных наконечников, образованием контактных площадок и др., но проведена формовка его окончания перед введением в зажим или, в случае гибкого вывода, скручивание на конце.
E.6. Маркировка
Дополнительно к
разделу 6 применяют следующие требования:
- универсальные зажимы:
не маркируют;
- неуниверсальные зажимы:
зажимы для жестких одножильных проводников должны быть маркированы буквами "s" или "sol",
зажимы для жестких (одножильных или многожильных скрученных) проводников должны быть маркированы буквой "r",
зажимы для гибких проводников должны быть маркированы буквой "f".
Маркировку следует располагать на основании плавкого предохранителя или на первичной упаковке, или в технической документации.
На основании плавкого предохранителя должна быть соответствующим образом маркирована длина, на которую удаляют изоляцию с проводника перед его введением в зажим. Изготовитель также обязан в своей документации указать максимальное число проводников, которое может быть введено в зажим.
E.7. Типовые требования к конструкции
Применяют
раздел 7 со следующими дополнениями.
E.7.1. Закрепленные соединения, включающие зажимы
Зажимы должны выдерживать механические нагрузки, возникающие при использовании оборудования в соответствии с его назначением.
Присоединение или отсоединение проводников должно проводиться:
- с использованием обычного инструмента или с помощью специального приспособления, являющегося неотъемлемой частью зажима и позволяющего открывать его и вводить либо удалять проводники (например, для универсальных зажимов или для жестких проводников);
- простым введением. Для отсоединения проводников должна быть проведена операция, отличная от простого вытягивания.
Для универсальных зажимов должно допускаться введение жестких (одножильных или многожильных) и гибких неподготовленных проводников.
Для неуниверсальных зажимов должно допускаться введение типов проводников, указанных изготовителем.
Соответствие проверяют внешним осмотром и испытаниями по
E.8.1 и
E.8.2.
E.7.2. Размеры присоединяемых проводников
Размеры присоединяемых проводников приведены в таблице E.1.
Таблица E.1
Присоединяемые проводники
| | ИС МЕГАНОРМ: примечание. Шапка таблицы дана в соответствии с официальным текстом документа. | |
Размеры и теоретический диаметр присоединяемых проводников |
| Жесткие одножильные | Жесткие скрученные | Гибкие |
мм2 | диаметр, мм | диаметр, мм | мм2 | диаметр, мм |
1,5 | 1,5 | 1,7 | 1,5 | 1,8 |
2,5 | 1,9 | 2,2 | 2,5 | 2,3 |
4,0 | 2,4 | 2,7 | 4,0 | 2,9 |
| | | 6,0 | 3,9 |
| | | 10,0 | 5,1 |
| | | 16,0 | 5,1 |
Примечание. Наибольшие диаметры жестких и гибких проводников по МЭК 60228 (2004) (таблица 1). |
E.7.3. Присоединяемые площади поперечного сечения
Номинальные поперечные сечения для присоединения приведены в таблице E.2.
Таблица E.2
Поперечные сечения медных проводников,
присоединяемых к зажимам
Номинальный ток, А | Номинальное поперечное сечение, мм2 |
До 16 включ. | От 1,5 до 4 включ. |
Св. 16 до 32 включ. | От 4 до 10 включ. |
Св. 32 до 63 включ. | От 6 и до 16 включ. |
Соответствие проверяют внешним осмотром и испытаниями по
E.8.1 и
E.8.2.
E.7.4. Введение и отсоединение проводников
Введение и отсоединение проводников должно выполняться в соответствии с инструкциями изготовителя.
Соответствие проверяют внешним осмотром.
E.7.5. Конструкция зажимов
Зажимы должны быть сконструированы так, чтобы:
- каждый проводник был зажат отдельно;
- во время присоединения или отсоединения проводники можно было бы присоединять или отсоединять как одновременно, так и по отдельности;
- не происходило неправильного введения проводника.
Должна быть обеспечена надежная фиксация любого числа проводников до максимально предусмотренного.
Соответствие проверяют внешним осмотром и испытаниями по E.8.1 и
E.8.2.
E.7.6. Стойкость к старению
Зажимы должны быть стойкими к старению.
Соответствие проверяют внешним осмотром и испытаниями по
E.8.3.
E.8. Испытания
E.8.1. Испытания надежности зажимов
E.8.1.1. Надежность безвинтовой системы
Проверку проводят на трех зажимах полюсов новых образцов с медными проводниками площадью поперечного сечения по
таблице E.2. Виды проводников должны соответствовать
E.7.1.
Должно быть выполнено пять присоединений с последующим отсоединением проводника наименьшего диаметра и пять присоединений с последующим отсоединением проводника наибольшего диаметра.
Для каждого присоединения должны быть использованы новые проводники, за исключением пятого раза, когда проводник, использовавшийся для четвертого раза, остается зажатым на том же месте. Перед введением в зажим провода жестких многожильных проводников должны быть отформованы, а провода гибких проводников должны быть скручены на конце.
При каждом введении проводники или проталкивают как можно дальше в зажим, или вводят так, чтобы соответствующее соединение было очевидным.
После каждого введения проводник поворачивают вокруг своей оси на 90° на уровне фиксированной части и затем отсоединяют.
После испытаний вывод не должен быть поврежден до такой степени, чтобы это препятствовало его дальнейшему использованию.
E.8.1.2. Проверка надежности соединения
Три зажима полюсов новых образцов снабжают новыми медными проводниками, тип и поперечное сечение которых соответствуют приведенным в
таблице E.2.
Типы проводников должны соответствовать требованиям
E.7.1.
Перед введением в зажим провода жестких многожильных проводников и гибких проводников должны быть отформованы, а провода гибких проводников должны быть скручены на конце.
Введение проводника в зажим должно быть возможно без чрезмерного усилия в случае универсальных зажимов и простым усилием руки - в случае зажимных клемм.
Проводник или проталкивают как можно дальше в зажим, или вводят так, чтобы соответствующее соединение было очевидным.
После испытания ни один провод проводника не должен выступать за пределы зажима.
E.8.2. Проверка надежности зажимов для внешних проводников: механическая прочность
Для испытания на вытягивание три зажима полюсов новых образцов снабжают новыми проводниками, тип и минимальное и максимальное поперечные сечения которых соответствуют приведенным в
таблице E.2.
Перед введением в зажим провода жестких многожильных проводников и гибких проводников должны быть отформованы, а провода гибких проводников - скручены на конце.
Затем каждый проводник подвергается воздействию растягивающей силы в соответствии с таблицей E.3. Усилие прилагают без рывков в течение 1 мин в направлении оси проводника.
Таблица E.3
Растягивающая сила
Площадь поперечного сечения, мм2 | Растягивающая сила, Н |
1,5 | 40 |
2,5 | 50 |
4,0 | 60 |
6,0 | 80 |
10 | 90 |
16 | 100 |
Во время испытания проводник не должен выскальзывать из зажима.
E.8.3. Циклическое испытание
Данное испытание проводят с помощью новых медных проводников с поперечным сечением, соответствующим
таблице 17.
Испытания проводят на новых образцах (один образец - один полюс), необходимое число которых указано ниже в соответствии с типом зажимов:
- универсальные зажимы для жестких (одножильных и многожильных и скрученных) и гибких проводников: три образца для каждого вида проводников (всего девять образцов);
- неуниверсальные выводы только для одножильных проводников - три образца;
- универсальные зажимы для жестких (одножильных и многожильных и скрученных) проводников - три образца для каждого вида проводников (всего шесть образцов).
Примечание. В случае, если зажим рассчитан на жесткие проводники, следует использовать одножильные (если одножильные отсутствуют, могут быть использованы многожильные скрученные проводники);
- неуниверсальные выводы гибких проводников - три образца.
Проводник с поперечным сечением, выбранным по
таблице 17, присоединяют, как при обычном применении, последовательно к каждому из трех образцов, как показано на рисунке E.1.
Рисунок E.1. Примеры соединений
Зажим с косвенным давлением
Зажим с непосредственным давлением
Зажим с приводящим в действие элементом
Рисунок E.2. Примеры зажимов
На образце предусматривают отверстие (или эквивалентное место) для измерения падения напряжения на зажиме.
Все испытательное устройство, включая проводники, помещают в камеру тепла, нагретую до температуры (20 +/- 2) °C.
Во избежание любого смещения испытательного устройства до завершения всех последующих измерений падения напряжения рекомендуется закреплять полюса на общей опоре.
К схеме прикладывают испытательный ток, соответствующий номинальному току основания плавкого предохранителя, за исключением периода охлаждения.
Образцы должны быть подвергнуты воздействию 192 температурных циклов продолжительностью около 1 ч каждый следующим образом:
температуру воздуха в камере повышают до 40 °C в течение примерно 20 мин. В течение примерно 10 мин эту температуру поддерживают с допуском +/- 5 °C.
Затем образцам дают охладиться в течение примерно 20 мин до температуры примерно 30 °C; допускается принудительное охлаждение. Образцы выдерживают при этой температуре примерно 10 мин и, если требуется измерить падение напряжения, дают охладиться до температуры (20 +/- 2) °C.
Максимальное падение напряжения, измеренное на каждом зажиме в конце 192-го цикла, при номинальном значении тока не должно превышать меньшее из следующих значений или:
22,5 мВ;
или значение, в 1,5 раза превышающее измеренное после 24-го цикла.
Измерение следует проводить как можно ближе к области контакта на зажиме.
Если точки измерения не могут быть расположены близко к точке контакта, то падение напряжения в части проводника между идеальной и фактической точками измерения вычисляют по измеренному падению напряжения.
Температуру в камере тепла измеряют на расстоянии не менее 50 мм от образцов.
После этого испытания внешний осмотр, проведенный невооруженным глазом при обычном или скорректированном зрении, без дополнительного увеличения не должен выявлять никаких изменений, явно препятствующих дальнейшему использованию, таких как трещины, деформации и т.п.#
(справочное)
СВЕДЕНИЯ О СООТВЕТСТВИИ ССЫЛОЧНЫХ МЕЖДУНАРОДНЫХ СТАНДАРТОВ
НАЦИОНАЛЬНЫМ СТАНДАРТАМ РОССИЙСКОЙ ФЕДЕРАЦИИ
Таблица ДА.1
Обозначение ссылочного международного стандарта | Степень соответствия | Обозначение и наименование национального стандарта Российской Федерации |
МЭК 60038:1983 | MOD | |
МЭК 60050(441):1984 | - | |
МЭК 60127 | IDT | плавкие предохранители. Часть 1. Терминология для миниатюрных плавких предохранителей и общие требования к миниатюрным плавким вставкам" |
МЭК 60269-2 | MOD | плавкие предохранители. Часть 2. Дополнительные требования к плавким предохранителям промышленного назначения" |
МЭК 60269-3 | MOD | плавкие предохранители. Часть 3. Дополнительные требования к плавким предохранителям бытового и аналогичного назначения" |
МЭК 60269-4 | - | |
МЭК 60269-5 | - | |
МЭК 60364-3:1993 | MOD | ГОСТ 30331.2-95. "Электроустановки зданий. Часть 3. Основные характеристики" |
МЭК 60364-5-52:2001 | - | |
МЭК 60529:1989 | - | |
МЭК 60584-1:1995 | - | |
МЭК 60617 | - | |
МЭК 60664-1:2002 | - | |
МЭК 60695-2-10:2000 | - | |
МЭК 60695-2-11:2000 | - | |
МЭК 60695-2-12:2000 | - | |
МЭК 60695-2-13:2000 | - | |
ИСО 3:1973 | - | |
ИСО 478:1974 | - | <*> |
ИСО 593:1974 | - | <*> |
ИСО 4046:1978 | - | <*> |
<*> Соответствующий национальный стандарт отсутствует. До его утверждения рекомендуется использовать перевод на русский язык данного международного стандарта. Перевод данного международного стандарта находится в Федеральном информационном фонде технических регламентов и стандартов. Примечание. В данном стандарте использованы следующие условные обозначения степени соответствия стандартов: - MOD - модифицированные; - IDT - идентичные. |
IEC 60127 Cartridge fuse-links for miniature fuses (МЭК 60127.
Трубчатые плавкие вставки для миниатюрных плавких
предохранителей)
IEC 60947-3:1998 Low-voltage switchgear and controlgear - Part 3:
Switches, disconnectors, switch-disconnectors and
fuse-combination units (МЭК 60947-3:1998. Низковольтное
коммутационное и контрольно-измерительное оборудование -
Часть 3: Выключатели, разъединители, выключатели-
разъединители и предохранители-разъединители)
IEC 60417 Graphical symbols for use on equipment (МЭК 60417.
Графические обозначения для оборудования)