Главная // Актуальные документы // ГОСТ Р (Государственный стандарт)
СПРАВКА
Источник публикации
М.: Стандартинформ, 2010
Примечание к документу
Документ утратил силу с 1 июля 2013 года в связи с изданием Приказа Росстандарта от 27.12.2012 N 1990-ст. Взамен введен в действие ГОСТ EN 1928-2011.

Введен в действие с 1 сентября 2010 года.
Название документа
"ГОСТ Р ЕН 1928-2009. Материалы кровельные и гидроизоляционные гибкие битумосодержащие и полимерные (термопластичные или эластомерные). Метод определения водонепроницаемости"
(утв. Приказом Ростехрегулирования от 08.12.2009 N 592-ст)

"ГОСТ Р ЕН 1928-2009. Материалы кровельные и гидроизоляционные гибкие битумосодержащие и полимерные (термопластичные или эластомерные). Метод определения водонепроницаемости"
(утв. Приказом Ростехрегулирования от 08.12.2009 N 592-ст)


Содержание


Утвержден и введен в действие
Приказом Ростехрегулирования
от 8 декабря 2009 г. N 592-ст
НАЦИОНАЛЬНЫЙ СТАНДАРТ РОССИЙСКОЙ ФЕДЕРАЦИИ
МАТЕРИАЛЫ КРОВЕЛЬНЫЕ И ГИДРОИЗОЛЯЦИОННЫЕ
ГИБКИЕ БИТУМОСОДЕРЖАЩИЕ И ПОЛИМЕРНЫЕ
(ТЕРМОПЛАСТИЧНЫЕ ИЛИ ЭЛАСТОМЕРНЫЕ)
МЕТОД ОПРЕДЕЛЕНИЯ ВОДОНЕПРОНИЦАЕМОСТИ
Roofing, hydraulic-insulating, flexible,
bitumen-based materials and polymeric
(thermoplastic or elastomer) materials.
Method for determination of watertightness
EN 1928:2000
Flexible sheets for waterproofing - Bitumen,
plastic and rubber sheets for roof waterproofing -
Determination of watertightness
(IDT)
ГОСТ Р ЕН 1928-2009
Группа Ж19
ОКС 91.100.99
Дата введения
1 сентября 2010 года
Предисловие
Цели и принципы стандартизации в Российской Федерации установлены Федеральным законом от 27 декабря 2002 г. N 184-ФЗ "О техническом регулировании", а правила применения национальных стандартов Российской Федерации - ГОСТ Р 1.0-2004 "Стандартизация в Российской Федерации. Основные положения".
Сведения о стандарте
1. Подготовлен Научно-исследовательским институтом строительной физики Российской академии архитектуры и строительных наук (НИИСФ РААСН) на основе выполненного Открытым акционерным обществом "Центр методологии нормирования и стандартизации в строительстве" (ОАО "ЦНС") аутентичного перевода регионального стандарта, указанного в пункте 4.
2. Внесен Техническим комитетом по стандартизации ТК 465 "Строительство".
3. Утвержден и введен в действие Приказом Федерального агентства по техническому регулированию и метрологии от 8 декабря 2009 г. N 592-ст.
4. Настоящий стандарт идентичен европейскому стандарту ЕН 1928:2000 "Материалы гибкие гидроизоляционные - Материалы кровельные и гидроизоляционные битумосодержащие и полимерные (термопластичные или эластомерные) - Определение водонепроницаемости" (EN 1928:2000 "Flexible sheets for waterproofing - Bitumen, plastic and rubber sheets for roof waterproofing - Determination of watertightness").
Наименование настоящего стандарта изменено по отношению к наименованию европейского стандарта для приведения в соответствие с ГОСТ Р 1.5-2004 (подраздел 3.5).
При применении настоящего стандарта рекомендуется вместо ссылочного европейского стандарта использовать соответствующий ему национальный стандарт Российской Федерации, сведения о котором приведены в дополнительном Приложении А.
5. Введен впервые.
Информация об изменениях к настоящему стандарту публикуется в ежегодно издаваемом информационном указателе "Национальные стандарты", а текст изменений и поправок - в ежемесячно издаваемых информационных указателях "Национальные стандарты". В случае пересмотра (замены) или отмены настоящего стандарта соответствующее уведомление будет опубликовано в ежемесячно издаваемом информационном указателе "Национальные стандарты". Соответствующая информация, уведомление и тексты размещаются также в информационной системе общего пользования - на официальном сайте Федерального агентства по техническому регулированию и метрологии в сети Интернет.
Введение
Применение настоящего стандарта, устанавливающего метод определения водонепроницаемости гибких кровельных и гидроизоляционных битумосодержащих и полимерных (термопластичных или эластомерных) материалов, позволяет получить адекватную оценку качества материалов, производимых в Российской Федерации и странах ЕС, обеспечить конкурентоспособность российской продукции на международном рынке, активизировать участие Российской Федерации в работе по международной стандартизации.
Настоящий стандарт применяют, если заключенные контракты или другие согласованные условия предусматривают применение материалов с характеристиками, гармонизированными с требованиями европейских стандартов, а также в случаях, когда это технически и экономически целесообразно.
1. Область применения
Настоящий стандарт распространяется на кровельные и гидроизоляционные гибкие битумосодержащие и полимерные (термопластичные или эластомерные) материалы (далее - материалы) и устанавливает метод определения их водонепроницаемости, т.е. сопротивления прониканию воды при заданном давлении.
Настоящий стандарт предназначен для определения характеристик материалов после их изготовления или поставки, до их укладки.
Требования настоящего стандарта распространяются только на материалы и не применимы для определения характеристик изготовленных из них гидроизоляционных систем после производства работ.
Настоящий стандарт может применяться при определении водонепроницаемости материалов другого назначения.
2. Нормативные ссылки
В настоящем стандарте использована ссылка на следующий европейский стандарт:
ЕН 13416:2001. Материалы гибкие гидроизоляционные - Материалы кровельные и гидроизоляционные битумосодержащие и полимерные (термопластичные или эластомерные) - Правила отбора образцов.
3. Термины и определения
В настоящем стандарте применены следующие термины с соответствующими определениями:
3.1. Лицевая поверхность (upper side): верхняя сторона полотна материала, которая является рабочей при его эксплуатации; обычно находится внутри рулона.
3.2. Водонепроницаемость (watertightness): способность материала обеспечить:
a) в методе A: отсутствие изменения цвета фильтровальной бумаги, находящейся над испытуемым образцом, в течение всего времени испытания при заданном давлении;
b) в методе B: снижение заданного давления не более чем на 5% от начального значения и отсутствие следов проникания воды.
4. Сущность метода
В зависимости от вида испытуемого материала используют два метода испытания:
4.1. Метод A
Метод используют для материалов, предназначенных для эксплуатации в условиях низких давлений воды, например, для устройства верхних и нижних слоев кровельного ковра или пароизоляционного слоя.
Образец испытывают при давлении не более 60 кПа в течение 24 ч.
4.2. Метод B
Метод используют для материалов, предназначенных для эксплуатации в условиях высоких давлений воды, например, для устройства кровель специального назначения, гидроизоляции тоннелей и резервуаров.
Образец материала с расположенным над ним диском с четырьмя прорезями заданных формы и размеров подвергают воздействию воды при заданном давлении в течение 24 ч, после чего оценивают водонепроницаемость образца.
5. Средства испытаний
5.1. Метод A
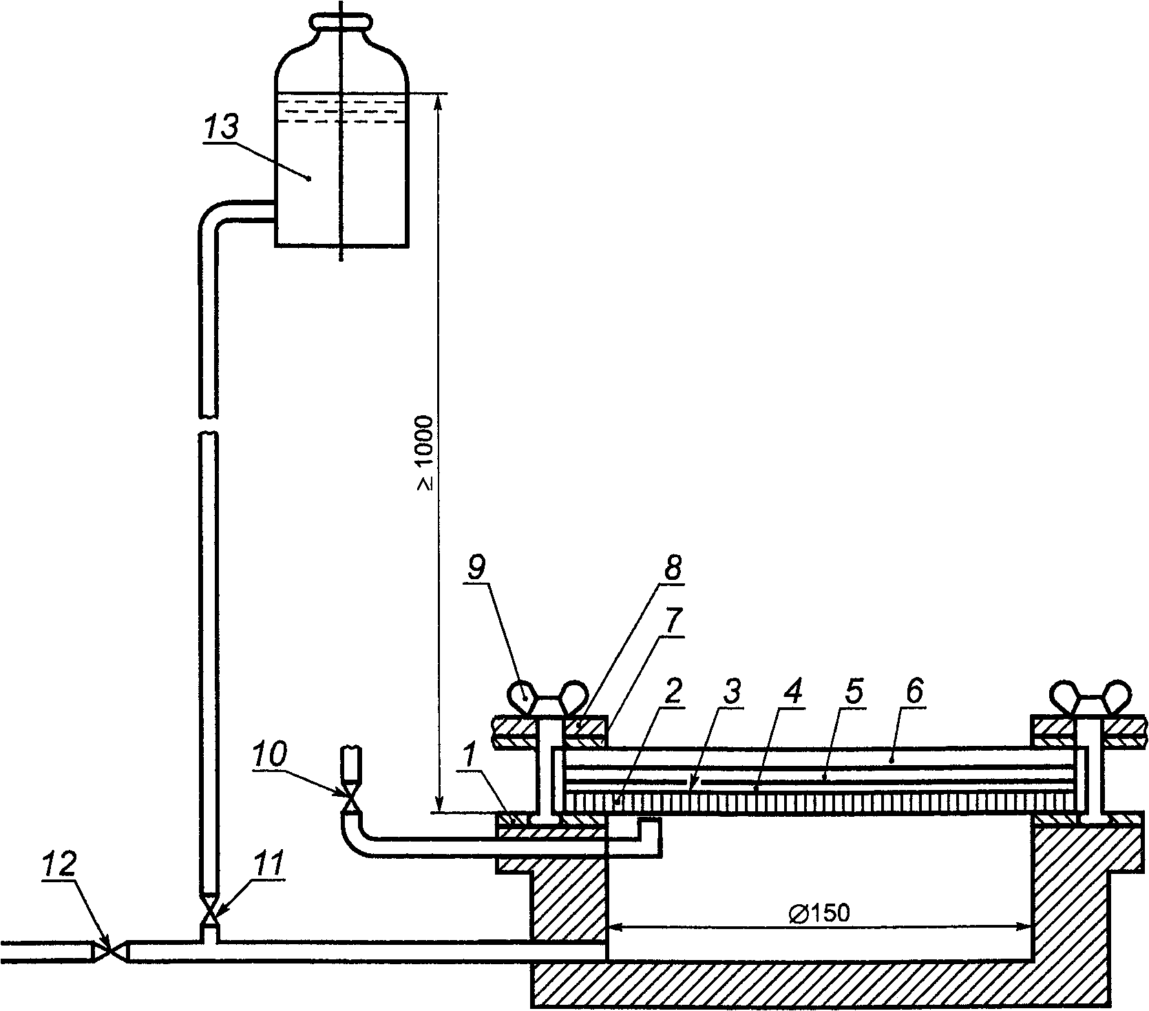
Устройство, схема которого приведена на рисунке 1, состоящее из цилиндрической металлической камеры с фланцем, внутренним диаметром 150 мм, снабженной трубкой с открытым концом для отвода воздуха и соединенной с сосудом для воды, поднятым на высоту не менее 1 м.
1 - нижняя резиновая уплотняющая прокладка; 2 - образец,
уложенный лицевой стороной к воде; 3 - лабораторная
фильтровальная бумага; 4 - индикаторная смесь
для обнаружения следов проникания воды, равномерно
нанесенная на фильтровальную бумагу, например, смесь
белой сахарной пудры (99,5%) и красителя метиленового
синего (0,5%), просеянная через сито с размером стороны
ячейки 0,074 мм и высушенная в эксикаторе над хлористым
кальцием; 5 - лабораторная фильтровальная бумага;
6 - круглое смотровое окно из обычного оконного стекла
толщиной 5 мм при давлении <= 10 кПа, толщиной 8 мм
при давлении <= 60 кПа; 7 - верхняя резиновая уплотняющая
прокладка; 8 - стальной кольцевой зажим;
9 - гайка-барашек; 10 - воздушный выпускной вентиль;
11 - водяной впускной вентиль; 12 - вентиль для подачи
и удаления воды; 13 - сосуд с водой для создания
и поддержания давления до 60 кПа (давление регулируют
высотой подъема сосуда с водой)
Рисунок 1. Схема устройства для определения
водонепроницаемости при низких давлениях
5.2. Метод B
Устройство, схема которого приведена на рисунках 2 и 3, обеспечивающее создание заданного давления воды на одну сторону образца. На другую сторону образца помещают круглый диск с четырьмя прорезями, форма и размеры которых приведены на рисунке 4.
1 - прорези; 2 - крышка; 3 - образец;
4 - подача воды под заданным гидростатическим давлением;
5 - диск с прорезями; 6 - смотровое окно
Рисунок 2. Схема устройства для определения
водонепроницаемости при высоких давлениях
Рисунок 3. Крышка устройства
1 - радиус закругления всех граней диска ~= 0,5 мм;
2 - продольное направление образца
Рисунок 4. Диск с прорезями
6. Отбор образцов
Отбор образцов проводят в соответствии с требованиями ЕН 13416.
7. Подготовка и кондиционирование образцов
7.1. Подготовка образцов
Образцы вырубают равномерно по ширине полотна материала на расстоянии не менее 100 мм от края полотна.
Маркируют продольное направление образца (параллельное направлению изготовления материала).
Испытание проводят на трех образцах, если в нормативных или технических документах на материалы конкретных видов не указано иное число образцов.
7.2. Размеры образцов
7.2.1. Метод A
Испытание проводят на круглых образцах диаметром (200 +/- 2) мм.
7.2.2. Метод B
Испытание проводят на круглых образцах диаметром, равным внешнему диаметру диска с прорезями (~= 130 мм).
7.2.3. Кондиционирование образцов
Образцы перед испытанием выдерживают при температуре (23 +/- 5) °C в течение не менее 6 ч.
8. Методика проведения испытаний
8.1. Условия проведения испытаний
Испытания проводят при температуре (23 +/- 5) °C. В случае разногласий испытания проводят при температуре (23 +/- 2) °C и относительной влажности (50 +/- 5)%.
Испытания проводят при давлении, указанном в нормативных или технических документах на материалы конкретных видов. Перед проведением испытаний необходимо убедиться в том, что устройства не пропускают воду.
8.2. Метод A
Образец помещают в устройство (см. 5.1) лицевой стороной к воде и туго затягивают гайки-барашки (9) на кольцевом зажиме. Открывают вентиль (11) и пускают воду, при этом вентиль для отвода воздуха (10) должен быть открыт. Когда камера будет полностью заполнена водой, вентиль для отвода воздуха (10) перекрывают.
Устанавливают давление, указанное в нормативных или технических документах на материалы конкретных видов, и выдерживают при этом давлении в течение (24 +/- 1) ч.
Осматривают образец для обнаружения изменения цвета верхнего листа фильтровальной бумаги.
8.3. Метод B
Заполняют устройство, представленное на рисунке 2, водой до переливания воды через край. Тщательно прочищают линию подачи воды.
Образец помещают в устройство лицевой стороной вниз и протирают не контактирующую с водой сторону образца тканью или высушивают ее струей сжатого воздуха. Накрывают образец диском с прорезями заданных формы и размеров, при этом одна из прорезей должна быть параллельна продольному направлению испытуемого образца (см. рисунок 4). Устанавливают крышку и постепенно затягивают ее так, чтобы образец был плотно зажат в устройстве.
Постепенно доводят давление воды до значения, приведенного в нормативных или технических документах на материалы конкретных видов, выдерживают при этом давлении в течение (24 +/- 1) ч, после чего оценивают водонепроницаемость испытуемого образца (отсутствие резкого падения давления или появления воды на не контактирующей с водой стороне образца).
9. Обработка результатов испытаний, точность метода
9.1. Обработка результатов
9.1.1. Метод A
Образец считают выдержавшим испытание, если на верхнем листе фильтровальной бумаги не наблюдается изменения цвета.
Материал считают водонепроницаемым, если все испытуемые образцы выдержали испытание.
9.1.2. Метод B
Материал считают водонепроницаемым, если все испытуемые образцы после испытания остались водонепроницаемыми.
9.2. Точность метода
Настоящий стандарт не содержит сведений о точности метода в связи с отсутствием данных о повторяемости и воспроизводимости результатов межлабораторных испытаний.
10. Отчет об испытаниях
Отчет об испытаниях должен содержать:
a) данные, необходимые для идентификации испытуемого материала;
b) ссылку на настоящий стандарт и отклонения от его требований;
c) информацию об отборе образцов в соответствии с разделом 6;
d) информацию о подготовке образцов в соответствии с разделом 7;
e) информацию о методике проведения испытаний с указанием метода A или B, давления при проведении испытаний и любых отклонений от заданного давления в процессе испытания;
f) результаты испытаний в соответствии с разделом 9;
g) дату проведения испытаний.
Приложение А
(справочное)
СВЕДЕНИЯ О СООТВЕТСТВИИ НАЦИОНАЛЬНОГО СТАНДАРТА
РОССИЙСКОЙ ФЕДЕРАЦИИ ССЫЛОЧНОМУ ЕВРОПЕЙСКОМУ СТАНДАРТУ
Таблица А.1
Обозначение ссылочного
европейского стандарта
Обозначение и наименование соответствующего
национального стандарта
ЕН 13416:2001
ГОСТ Р ЕН 13416-2008. Материалы кровельные
и гидроизоляционные гибкие битумосодержащие
и полимерные (термопластичные или эластомерные).
Правила отбора образцов