Главная // Актуальные документы // ГОСТ Р (Государственный стандарт)СПРАВКА
Источник публикации
М.: Стандартинформ, 2015
Примечание к документу
Документ утратил силу с 01.10.2023 в связи с изданием
Приказа Росстандарта от 13.06.2023 N 378-ст. Взамен введен в действие
ГОСТ 34919-2022.
Документ
введен в действие с 01.07.2014.
Название документа
"ГОСТ Р 55708-2013. Национальный стандарт Российской Федерации. Освещение наружное утилитарное. Методы расчета нормируемых параметров"
(утв. и введен в действие Приказом Росстандарта от 08.11.2013 N 1362-ст)
"ГОСТ Р 55708-2013. Национальный стандарт Российской Федерации. Освещение наружное утилитарное. Методы расчета нормируемых параметров"
(утв. и введен в действие Приказом Росстандарта от 08.11.2013 N 1362-ст)
Утвержден и введен в действие
агентства по техническому
регулированию и метрологии
от 08 ноября 2013 г. N 1362-ст
НАЦИОНАЛЬНЫЙ СТАНДАРТ РОССИЙСКОЙ ФЕДЕРАЦИИ
ОСВЕЩЕНИЕ НАРУЖНОЕ УТИЛИТАРНОЕ
МЕТОДЫ РАСЧЕТА НОРМИРУЕМЫХ ПАРАМЕТРОВ
Road lighting. Design methods of normative performances
ГОСТ Р 55708-2013
ОКСТУ 2009
Дата введения
1 июля 2014 года
1 РАЗРАБОТАН Обществом с ограниченной ответственностью "Всероссийский научно-исследовательский, проектно-конструкторский светотехнический институт им. С.И. Вавилова" (ООО "ВНИСИ")
2 ВНЕСЕН Техническим комитетом по стандартизации ТК 332 "Светотехнические изделия"
3 УТВЕРЖДЕН И ВВЕДЕН В ДЕЙСТВИЕ
Приказом Федерального агентства по техническому регулированию и метрологии от 08 ноября 2013 г. N 1362-ст
4 ВВЕДЕН ВПЕРВЫЕ
Правила применения настоящего стандарта установлены в ГОСТ Р 1.0-2012
(раздел 8). Информация об изменениях к настоящему стандарту публикуется в ежегодном (по состоянию на 1 января текущего года) информационном указателе "Национальные стандарты", а официальный текст изменений и поправок - в ежемесячном информационном указателе "Национальные стандарты". В случае пересмотра (замены) или отмены настоящего стандарта соответствующее уведомление будет опубликовано в ближайшем выпуске ежемесячного информационного указателя "Национальные стандарты". Соответствующая информация, уведомление и тексты размещаются также в информационной системе общего пользования - на официальном сайте Федерального агентства по техническому регулированию и метрологии в сети Интернет (gost.ru)
Настоящий стандарт распространяется на утилитарное наружное освещение объектов улично-дорожной сети в пределах территорий городских и сельских населенных пунктов и устанавливает методы расчета нормируемых параметров.
Настоящий стандарт применяют при проектировании стационарных установок утилитарного наружного освещения и разработке программного обеспечения для их расчета.
Настоящий стандарт не распространяется на освещение автотранспортных тоннелей, территорий железнодорожного, морского, речного, авиационного транспорта и промышленных предприятий, открытых спортивных сооружений, а также архитектурное, ландшафтное, витринное, рекламное и охранное наружное освещение.
В настоящем стандарте использованы нормативные ссылки на следующие стандарты:
ГОСТ Р 55707-2013 Освещение наружное утилитарное. Методы измерений нормируемых параметров
Примечание - При пользовании настоящим стандартом целесообразно проверить действие ссылочных стандартов в информационной системе общего пользования - на официальном сайте Федерального агентства по техническому регулированию и метрологии в сети Интернет или по ежегодному информационному указателю "Национальные стандарты", который опубликован по состоянию на 1 января текущего года, и по выпускам ежемесячного информационного указателя "Национальные стандарты" за текущий год. Если заменен ссылочный стандарт, на который дана недатированная ссылка, то рекомендуется использовать действующую версию этого стандарта с учетом всех внесенных в данную версию изменений. Если заменен ссылочный стандарт, на который дана датированная ссылка, то рекомендуется использовать версию этого стандарта с указанным выше годом утверждения (принятия). Если после утверждения настоящего стандарта в ссылочный стандарт, на который дана датированная ссылка, внесено изменение, затрагивающее положение, на которое дана ссылка, то это положение рекомендуется применять без учета данного изменения. Если ссылочный стандарт отменен без замены, то положение, в котором дана ссылка на него, рекомендуется применять в части, не затрагивающей эту ссылку.
3. Термины, определения и обозначения
3.1 Термины и определения
В настоящем стандарте применены термины и определения по
ГОСТ Р 55392, а также следующие термины с соответствующими определениями:
3.1.1 положение при измерении: Положение осветительного прибора (далее - ОП) в системе фотометрирования

, при котором проводят измерения распределения его силы света.
3.1.2 угол наклона при измерении;

: Угол между выбранной базовой осью ОП в положении при измерении и горизонталью.
Примечание - В качестве базовой оси может быть выбрана любая характерная ось ОП. Для консольных ОП базовой является их главная продольная ось.
3.1.3 положение при использовании: Положение ОП в осветительной установке (далее - ОУ) относительно системы координат дороги.
3.1.4 угол наклона при использовании;

: Угол между выбранной базовой осью ОП в положении при использовании и горизонталью.
3.1.5 I-таблица: Таблица значений силы света ОП в зависимости от меридионального и экваториального углов выбранной системы фотометрирования.
Примечание - Значения силы света в таблице приведены к световому потоку ОП, равному 1 клм для положения при измерении.
3.1.6 угол разворота;

: Угол между выбранным направлением относительно дороги и направлением с координатами
C = 0°,

при вращении ОП относительно фотометрической оси из положения при измерении.
Примечания
1 Для прямой дороги выбранное направление - продольная ось дороги в направлении движения транспорта.
2 Положительное направление вращения ОП по углу

показано на
рисунке 5.
3.1.7 угол поворота;

: Угол между фотометрической осью ОП и направлением на надир при вращении ОП относительно главной продольной оси из положения при измерении.
Примечание - Положительное направление вращения ОП по углу

показано на
рисунке 5.
3.1.8 угол наклона при расчете;

: Угол между фотометрической осью ОП и направлением на надир при вращении ОП относительно главной поперечной оси из положения при измерении.
Примечание - Положительное направление вращения ОП по углу

показано на
рисунке 5.
3.1.9 угол падения;

: Угол между падающим лучом и нормалью к освещаемой поверхности в точке падения луча.
3.1.10 угол отклонения;

: Угол, дополнительный к углу между вертикальной плоскостью, проходящей через световой центр ОП и расчетную точку, и вертикальной плоскостью, проходящей через указанную точку и глаз наблюдателя.
Примечание - При расчете параметров, связанных с яркостью, под наблюдателем понимают водителя транспортного средства, при расчете полуцилиндрической освещенности - пешехода.
3.1.11 угол наблюдения;

: Угол между линией, проходящей через глаз наблюдателя и расчетную точку, и плоскостью дороги.
3.1.12 азимутальный угол расчетной точки;

: Угол между базовым направлением дороги и линией, проходящей через данную расчетную точку и проекцию светового центра ОП на поверхность дороги.
Примечание - Для прямой дороги базовое направление - продольная ось дороги в направлении движения транспорта.
3.1.13 показатель яркости; q, ср-1: Отношение яркости L элемента поверхности в направлении наблюдателя к освещенности E этого элемента, обусловленной пучком света, упавшим под определенным углом.
3.1.14 редуцированный показатель яркости;
r, ср
-1: Величина, связанная с показателем яркости выражением

.
3.1.15
r-таблица: Таблица стандартных значений редуцированного показателя яркости дорожного покрытия
r для угла наблюдения

в зависимости от стандартных значений

и

.
3.1.16 продольное направление: Направление, параллельное оси дороги.
3.1.17 поперечное направление: Направление, перпендикулярное оси дороги.
Примечание - На участке дороги, криволинейном в плане, поперечное направление совпадает с радиусом кривизны, проходящим через данную точку дороги.
3.1.18 релевантный участок: Часть освещаемой площади, значимая с точки зрения принятых целей и критериев освещения.
3.2 Обозначения
В настоящем стандарте использованы следующие обозначения:
C - экваториальный угол, ...°, (см.
рис. 1);
D - шаг расчетных точек в продольном направлении, м;
d - шаг расчетных точек в поперечном направлении, м;
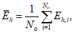
Eh - освещенность поверхности дороги от единичного ОП в расчетной точке, лк;

- средняя освещенность расчетного поля дороги, лк;
Esc - полуцилиндрическая освещенность в расчетной точке, лк;

- средняя полуцилиндрическая освещенность, лк;

- вертикальная освещенность на окне здания, лк;
H - высота светового центра ОП над дорогой, м;
h - высота расположения глаза наблюдателя над дорогой, м;
I - сила света ОП, кд;
L - яркость дорожного покрытия в расчетной точке, кд/м2;

- средняя яркость расчетного поля, кд/м
2;
Lmax - максимальная яркость, кд/м2;
Lmin - минимальная яркость, кд/м2;
LP - суммарная яркость в расчетной точке P, кд/м2;
m - число ОП, учитываемых при расчете;
N - число расчетных точек в продольном направлении;
n - число расчетных точек в поперечном направлении;
Nо - общее число расчетных точек расчетного поля;
S - шаг ОП, м;
TI - пороговое приращение яркости, %;
Uh - равномерность освещенности;
UI - продольная равномерность яркости;
Uо - общая равномерность яркости;
WL - ширина полосы движения, м;
Wr - ширина проезжей части дороги или релевантного участка, м;

- световой поток ОП, лм;

- угол наблюдения, ...°, (см.
рис. 2);

- угол отклонения, ...°, (см.
рис. 2);

- меридиональный угол, ...°, (см.
рис. 1);

- угол наклона ОП при расчете, ...°, (см.
рис. 4 и
5);

- угол падения света, ...°, (см.
рис. 2);

- угол наклона ОП при использовании, ...°, (см.
рис. 4);

- угол наклона ОП при измерении, ...°, (см.
рис. 4);

- угол разворота ОП, ...°, (см.
рис. 5);

- азимутальный угол расчетной точки, ...°, (см.
рис. 2);

- угол поворота ОП, ...°, (см.
рис. 5).
4. Фотометрические данные для расчета
4.1 Допущения, принятые при расчете
В настоящем стандарте приняты следующие допущения, учитываемые в расчете:
- ОП рассматривают как точечные источники света;
- свет, отраженный от окружающих дорогу поверхностей, не учитывают;
- затенение света ОП деревьями и другими объектами не учитывают;
- поглощение и рассеяние света в атмосфере не учитывают;
- поверхность дороги на рассматриваемом участке принимают горизонтальной, прямолинейной, с однородными отражающими свойствами;
- использование
r-таблицы допускают для углов наблюдения

, лежащих в интервале от 0,5° до 1,5°.
4.2 Таблица значений распределения силы света ОП (I-таблица)
4.2.1 Распределение силы света ОП представляют в виде
I-таблицы, содержащей значения силы света по направлениям, определяемым соответствующими меридиональными и экваториальными углами в зависимости от принятой системы фотометрирования по
ГОСТ Р 55392.
4.2.2 Для ОП дорожного освещения, как правило, используют систему фотометрирования

, которую ориентируют так, чтобы меридиональная полуплоскость
C0 была параллельна оси дороги по направлению движения транспорта, как показано на
рисунке 1, при этом ОП установлен в положение при измерении.
Примечание - Для прожекторов также используют систему фотометрирования

.
1 - ОП в положении при измерении; 2 - направление движения
транспорта по дороге; 3 - фотометрическая ось ОП;
4 - направление силы света ОП с координатами
C,

4.2.3 Диапазоны углов
C и

в
I-таблице ограничивают следующими значениями в зависимости от вида симметрии светораспределения ОП:
а) по углу

:
- от 0° до 90° - для ОП, светящего только в нижнюю полусферу, или для ОП, светораспределение которого симметрично относительно экваториальной плоскости;
- от 0° до 180° - для ОП, светораспределение которого несимметрично относительно экваториальной плоскости;
б) по углу C:
- от 0° до 90° - для ОП, светораспределение которого симметрично относительно плоскостей C0-180 и C270-90;
- от 90° до 270° - для ОП, светораспределение которого симметрично относительно плоскости C270-90;
- от 0° до 360° для ОП, светораспределение которого не имеет симметрии относительно меридиональных полуплоскостей.
Для ОП с круглосимметричным светораспределением I-таблица содержит значения силы света только для одной произвольной меридиональной полуплоскости, например, C0.
Интервалы углов в указанных диапазонах выбирают исходя из приемлемой точности интерполяции табличных значений, ограничиваясь максимальными значениями: 2,5° - для угла

и 5° - для угла
C. Для областей углов с большим перепадом силы света ОП шаг соответствующих углов уменьшают.
Значения силы света в
I-таблице приводят к суммарному световому потоку ОП, равному 1 клм. Пример
I-таблицы в системе фотометрирования

для условного ОП приведен в
приложении А.
4.2.4 Значения силы света по направлениям, не совпадающим с табличными, определяют с помощью линейной интерполяции.
Для определения значения силы света

по направлению, заданному углами
C и

, находят ячейку сетки углов
I-таблицы, в которую попало данное направление. Для этого проверяют выполнение следующих неравенств

(1)

(2)
где
mI и
nI - число узлов сетки
I-таблицы по углам
C и

соответственно.
Для найденной ячейки интерполяционное значение силы света

рассчитывают по следующим или математически эквивалентным формулам

(3)
где

(4)

(5)

(6)
где

(7)
Примечание - Интерполяция проведена сначала по углу
C, а затем по углу

. Последовательность проведения интерполяции не влияет на результат.
Для ОП с круглосимметричным светораспределением интерполяционное значение

определяют в интервале значений угла

, для которого справедливо
неравенство (2), по следующей или математически эквивалентной формуле

(8)
4.3 Таблица значений редуцированного показателя яркости (
r-таблица)
4.3.1 Распределение редуцированного показателя яркости
r дорожного покрытия рассчитываемого участка дороги представляют в виде
r-таблицы, содержащей значения
r·10
4 в зависимости от

и

. Углы

и

показаны на
рисунке 2.
1 - ОП; 2 - луч света в расчетную точку P; 3 - глаз
наблюдателя; H - высота светового центра ОП над поверхностью
дороги;
N - нормаль к поверхности дороги в точке
P;

- угол
отклонения;

- угол падения света;

- угол наблюдения;

- азимутальный угол точки
P
4.3.2 Значения

и

должны соответствовать приведенным в таблице 1. Ячейки таблицы, которые должны содержать значения редуцированного показателя яркости, помечены знаком "x".
Таблица 1
Формат r-таблицы
| r·10 4, ср -1, для угла  |
0° | 2° | 5° | 10° | 15° | 20° | 25° | 30° | 35° | 40° | 45° | 60° | 75° | 90° | 105° | 120° | 135° | 150° | 165° | 180° |
0 | x | x | x | x | x | x | x | x | x | x | x | x | x | x | x | x | x | x | x | x |
0,25 | x | x | x | x | x | x | x | x | x | x | x | x | x | x | x | x | x | x | x | x |
0,5 | x | x | x | x | x | x | x | x | x | x | x | x | x | x | x | x | x | x | x | x |
0,75 | x | x | x | x | x | x | x | x | x | x | x | x | x | x | x | x | x | x | x | x |
1,0 | x | x | x | x | x | x | x | x | x | x | x | x | x | x | x | x | x | x | x | x |
1,25 | x | x | x | x | x | x | x | x | x | x | x | x | x | x | x | x | x | x | x | x |
1,5 | x | x | x | x | x | x | x | x | x | x | x | x | x | x | x | x | x | x | x | x |
1,75 | x | x | x | x | x | x | x | x | x | x | x | x | x | x | x | x | x | x | x | x |
2,0 | x | x | x | x | x | x | x | x | x | x | x | x | x | x | x | x | x | x | x | x |
2,5 | x | x | x | x | x | x | x | x | x | x | x | x | x | x | x | x | x | x | x | x |
3,0 | x | x | x | x | x | x | x | x | x | x | x | x | x | x | x | x | x | x | x | x |
3,5 | x | x | x | x | x | x | x | x | x | x | x | x | x | x | x | x | x | x | x | x |
4,0 | x | x | x | x | x | x | x | x | x | x | x | x | x | x | x | x | x | x | x | x |
4,5 | x | x | x | x | x | x | x | x | x | x | x | x | x | x | x | x | x | x | x | x |
5,0 | x | x | x | x | x | x | x | x | x | x | x | x | x | x | x | x | x | x | x | x |
5,5 | x | x | x | x | x | x | x | x | x | |
6,0 | x | x | x | x | x | x | x | x | x |
6,5 | x | x | x | x | x | x | x | x | |
7,0 | x | x | x | x | x | x | x | x |
7,5 | x | x | x | x | x | x | x | |
8,0 | x | x | x | x | x | x | x |
8,5 | x | x | x | x | x | x | x |
9,0 | x | x | x | x | x | x | |
9,5 | x | x | x | x | x | x |
10,0 | x | x | x | x | x | x |
10,5 | x | x | x | x | x | x |
11,0 | x | x | x | x | x | x |
11,5 | x | x | x | x | x | |
12,0 | x | x | x | x | x |
4.3.3 Значения
r для значений

и

, лежащих между табличными значениями, определяют линейной интерполяцией по формулам (
1 -
7), заменяя соответственно
I на
r,
C на

и

на

.
5. Расчет силы света осветительного прибора
в расчетную точку
Для ОП, светораспределение которого задано I-таблицей, расчет силы света в направлении к расчетной точке проводят в следующей последовательности:
а) определяют координаты
x,
y расчетной точки
P относительно проекции светового центра ОП на дорогу
F, расположение которых показано в плане на
рисунке 3, по формулам
x = xP - xF, (9)
y = yP - yF, (10)
где xP, yP и xF, yF - координаты точек P и F соответственно в системе координат дороги;
1 - дорога; 2 - проекция наблюдателя на дорогу;
3 - расчетная точка; 4 - проекция ОП на дорогу
б) определяют угол

по формуле

(11)
Примечание - Углы наклона ОП

,

и

относительно горизонтали показаны на рисунке 4.
1 - дорога; 2 - ОП в положении при измерении;
3 - ОП в положении при использовании; 4 - горизонталь
в) для координат
x,
y и высоты
H (
рисунки 2 и
3) и углов ориентации ОП -

,

,

в системе координат дороги (см.
рис. 5), определяют координаты
x',
y' и
H' расчетной точки
P в системе координат ОП по формулам

(12)

(13)

(14)
1 - фотометрическая ось ОП; 2 - продольная ось ОП;
3 - поперечная ось ОП; 4 - продольная ось дороги
(направление движения)
Примечание - На рисунке 5 показаны оси и положительные направления вращений системы координат ОП из положения при измерении в положение при использовании.
г) рассчитывают углы
C и

в системе координат ОП, определяющие направление силы света ОП в точку
P:
- экваториальный угол C определяют по формуле

(15)
где угол

определяют по формулам, приведенным в таблице 2;
Таблица 2
Формулы для расчета угла

x' | y' | Интервал  | |
> 0 | >= 0 | | |
< 0 | | |
< 0 | < 0 | |
> 0 | | |
= 0 | | - | 90° |
= 0 | принимают 0° |
- меридиональный угол

определяют по формулам, приведенным таблице 3.
Таблица 3
Формулы для расчета угла

д) для найденных углов
C и

, используя
I-таблицу и формулы (
1 -
7), рассчитывают значение силы света

в направлении к расчетной точке.
Для ОП с круглосимметричным светораспределением значение

для найденного угла

определяют по
формуле (8).
6. Расчет параметров яркости
6.1 Общие положения
6.1.1 Нормируемые параметры - средняя яркость

, общая
Uо и продольная
UI равномерность яркости и пороговое приращение яркости
TI дорожного покрытия - установлены в
ГОСТ Р 55706.
6.1.2 Расчетные значения нормируемых параметров определяют по значениям яркости в точках расчетного поля
(6.3) от ограниченного числа ОП относительно наблюдателя, последовательно располагаемого на каждой полосе движения.
6.1.3 Значения

,
Uо и
UI рассчитывают в зависимости от значения коэффициента эксплуатации
MF, значение
TI рассчитывают для значения
MF, равного 1.
6.2 Яркость дорожного покрытия
6.2.1 Яркость в заданной расчетной точке P дорожного покрытия в направлении наблюдателя от единичного ОП определяют по формуле

(16)
Значение
I в направлении расчетной точки определяют по
разделу 5.
Для расчета
r в направлении наблюдателя определяют значения угла

и

по формулам

(17)

(18)
где (xP, yP), - координаты расчетной точки P;
(xO, yO) - координаты проекции на дорогу наблюдателя O;
(
xF,
yF) - координаты проекции на дорогу светового центра ОП
F, показанные на
рисунке 3.
В случае совпадения точек
P и
F, принимают

.
Для найденных значений

и

значение
r определяют из
r-таблицы для соответствующего типа дорожного покрытия по
приложению Б с учетом интерполяции
(4.3).
6.2.2 Суммарную яркость
LP в точке
P дорожного покрытия в направлении наблюдателя от всех ОП, включенных в расчет
(6.3.4), определяют по формуле

(19)
где
Lk - яркость в точке
P от
k-го ОП, определяемая по
формуле (16).
6.2.3 Среднюю яркость

в направлении наблюдателя, располагаемого на заданной полосе движения, рассчитывают как среднее арифметическое значений яркости в точках расчетного поля по формуле

(20)
где
Li - яркость в
i-й расчетной точке, определяемая по
формуле (19).
6.2.4 Общую равномерность яркости
Uо в направлении наблюдателя, располагаемого на заданной полосе движения, рассчитывают как отношение наименьшего значения яркости
Lmin среди всех точек расчетного поля к значению средней яркости

по формуле

(21)
6.2.5 Продольную равномерность яркости UI в направлении наблюдателя, располагаемого на заданной полосе движения, рассчитывают как отношение наименьшего значения яркости Lmin к наибольшему Lmax среди точек расчетного поля, лежащих на центральной линии этой же полосы движения, по формуле

(22)
6.3 Расчетное поле яркости
6.3.1 Геометрию расчетного поля яркости определяют в зависимости от транспортной характеристики дороги и расположения ОП. Примеры геометрии расчетного поля показаны на
рисунке 6.
а) трехполосная дорога с односторонним движением и шахматным
расположением ОП
б) четырехполосная дорога с двусторонним движением
и односторонним расположением ОП
в) шестиполосная дорога с двусторонним движением
и двусторонним расположением ОП
г) шестиполосная дорога с разделительной полосой
и центральным расположением ОП
1 - наблюдатель; 2 - ОП; 3 - направление движения;
4 - расчетное поле; 5 - разделительная полоса
Длину расчетного поля (вдоль дороги) ограничивают двумя соседними ОП одного ряда. При неравномерном расположении ОП в ряду длину расчетного поля определяют по наибольшему расстоянию между соседними ОП одного ряда.
Ширину расчетного поля (поперек дороги) ограничивают шириной всей проезжей части для дорог без разделительной полосы и шириной проезжей части с движением в одну сторону для дорог с разделительной полосой.
6.3.2 Расчетные точки на расчетном поле располагают равномерно. На
рисунке 7 показан пример расположения точек для двухполосной дороги с односторонним движением и шахматным расположением ОП.
1 - светильник; 2 - расчетное поле; 3 - расчетные точки;
4 - наблюдатель; 5 - направление движения
Шаг расчетных точек определяют:
а) в продольном направлении по формуле

(23)
Если S <= 30 м, то N = 10, если S > 30 м, то N - наименьшее целое число, при котором S/N <= 3 м.
Крайние поперечные ряды расчетных точек отстоят от поперечных границ расчетного поля на расстоянии D/2;
б) в поперечном направлении по формуле

(24)
Крайние продольные ряды расчетных точек отстоят от продольных границ расчетного поля на расстоянии d/2.
Для обочины с твердым покрытием число и шаг расчетных точек выбирают как для полосы проезжей части.
6.3.3 При расчете яркости высоту расположения глаза наблюдателя принимают равной 1,5 м над уровнем дорожного покрытия.
В продольном направлении наблюдатель должен быть расположен перед ближней по ходу движения транспорта границей расчетного поля на расстоянии 60 м
(рис. 7).
В поперечном направлении наблюдатель должен быть расположен поочередно на центральной линии каждой полосы движения.
Примеры расположения наблюдателя относительно расчетного поля приведены на
рисунке 6.
6.3.4 В расчете яркости в заданной точке учитывают число ОП
m, попавших в поле, границы которого отстоят от указанной расчетной точки на расстояниях, кратных высоте
H расположения ОП над дорогой и показанных на рисунке 8.
1 - наблюдатель; 2 - ОП; 3 - дорога; 4 - расчетная точка;
5 - расчетное поле (заштриховано); 6 - поле ОП,
включенных в расчет
Рисунок 8
6.4 Пороговое приращение яркости
6.4.4 Пороговое приращение яркости TI в направлении наблюдателя, располагаемого на заданной полосе движения, рассчитывают по формуле

(25)
где

- эквивалентная вуалирующая яркость, лк, определяемая по формуле

(26)
где Eзр,k - освещенность на зрачке глаза наблюдателя от k-го ОП, лк;

- угол между линией зрения наблюдателя и направлением на
k-ый ОП, ...°.
Глаз наблюдателя должен быть расположен на высоте
h = 1,5 м над уровнем дороги, а линия зрения направлена под углом 1° ниже горизонта и лежать в вертикальной плоскости, проходящей через центральную линию данной полосы движения, как показано на
рисунке 9.
1 - глаз наблюдателя; 2 - точки расположения наблюдателя;
3 - линия зрения; 4 - ОП; 5 - плоскость экранирования;
6 - линия горизонта; 7 - расчетное поле
Освещенность Eзр от единичного ОП рассчитывают по формуле

(27)
Значение
I в направлении глаза наблюдателя определяют по
разделу 5 с заменой координат расчетной точки
P на координаты глаза наблюдателя
O.
Формула (25) справедлива для значений

в интервале от 0,05 до 5 кд/м
2.
При определении

в расчет включают ОП, удовлетворяющие следующим условиям:
- ОП должен быть расположен ниже плоскости экранирования кабиной водителя, проходящей через глаз наблюдателя под углом 20° к горизонту, как показано на
рисунке 9;
- значение угла

для ОП менее 60°;
- расстояние от ОП до наблюдателя менее 500 м.
Значения
TI рассчитывают для наблюдателя, последовательно располагаемого в точках, лежащих на центральной линии данной полосы движения. Первая точка находится на расстоянии 2,75 (
H - 1,5) м от ближней границы расчетного поля
(рис. 9). Шаг и число остальных точек определяют по
6.3.2 для продольного направления.
Максимальное из рассчитанных значений TI для точек положения наблюдателя на данной полосе движения считают критичным.
7. Расчет параметров освещенности
7.1 Общие положения
7.1.1 Нормируемые параметры - средняя освещенность

и равномерность освещенности
Uh на дорожном покрытии проезжей части и пешеходной зоны, средняя

и минимальная
Esc,min полуцилиндрическая освещенность в пешеходной зоне, максимальная вертикальная освещенность

на окнах примыкающих к улице зданий - установлены в
ГОСТ Р 55706.
7.1.2 Расчетные значения нормируемых параметров определяют по значениям освещенности в точках расчетного поля от ограниченного числа ОП.
7.1.3 Значения

,
Uh,

,
Esc,min,

рассчитывают в зависимости от значения коэффициента эксплуатации
MF.
7.2 Освещенность на дорожном покрытии
7.2.1 Освещенность Eh в заданной точке на дорожном покрытии от единичного ОП определяют по формуле

(28)
Значение
I в направлении расчетной точки определяют по
разделу 5.
7.2.2 Суммарную освещенность
EP в расчетной точке
P от ОП, включаемых в расчет согласно
(7.3.3), определяют по формуле

(29)
где
Eh,k - освещенность в точке
P от
k-го ОП, определяемая по
формуле (28).
7.2.3 Среднее значение освещенности на дорожном покрытии

рассчитывают как среднее арифметическое значений освещенности в точках расчетного поля согласно
(7.3) по формуле

(30)
где
Eh,i - освещенность в
i-й расчетной точке, определяемая по
формуле (29).
7.2.4 Равномерность освещенности на дорожном покрытии Uh рассчитывают по формуле

(31)
где Eh,min - минимальная освещенность среди всех точек расчетного поля.
7.3 Расчетное поле освещенности
7.3.1 Для участков дороги прямоугольной формы геометрию расчетного поля определяют по
6.3.
Расчетные точки располагают на расчетном поле равномерно, как показано на
рисунке 10 на примере двухполосной дороги с шахматным расположением ОП. Шаг расчетных точек определяют:
- в продольном направлении по формуле

(32)
Если S <= 30 м, то N = 10, если S > 30 м, то N - наименьшее целое число, при котором S/N <= 3 м.
1 - ОП; 2 - расчетное поле; 3 - расчетные точки
Крайние поперечные ряды расчетных точек должны отстоять от поперечных границ расчетного поля на расстоянии D/2;
- в поперечном направлении по формуле

(33)
Если Wr <= 4,5 м, то n = 3, если Wr > 4,5 м, то n - наименьшее целое число, при котором Wr/n <= 1,5 м.
Крайние продольные ряды расчетных точек удалены от границ расчетного участка на расстоянии d/2.
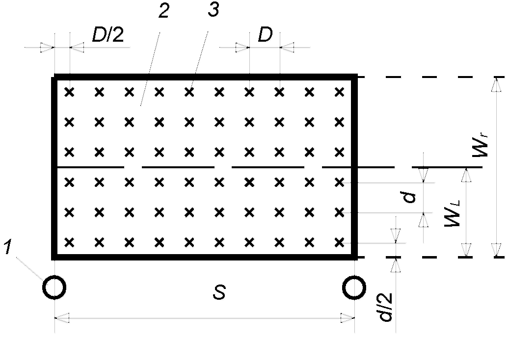
7.3.2 Разметку узлов расчетной сетки для участка непрямоугольной формы выполняют наложением прямоугольной сетки на весь релевантный участок дороги. Пример расположения расчетных точек на развилке дороги показан на
рисунке 11. Шаг расчетных точек в продольном
D и поперечном
d направлениях сетки должен быть не более 1,5 м. Расчет освещенности проводят только в узлах сетки, лежащих внутри границ релевантного участка, помеченных на рисунке 11 знаком "x".
7.3.3 В расчет включают ОП, проекция которых на дорожную поверхность удалена от расчетной точки на расстояние не более 5-кратной высоты
H расположения ОП.
7.4 Полуцилиндрическая освещенность в пешеходной зоне
7.4.1 Полуцилиндрическую освещенность в заданной точке пешеходной зоны определяют для следующих условий:
- расчетная точка расположена на высоте h = 1,5 м над уровнем дорожного покрытия на релевантном участке;
- задняя плоская поверхность расчетного полуцилиндра, проходящая через расчетную точку, как показано на
рисунке 12, вертикальна и перпендикулярна главному направлению движения пешеходов, принятому для этого участка, как правило - продольное направление улицы.
1 - ОП; 2 - расчетная точка; 3 - расчетный полуцилиндр;
4 - плоскость падения света; I - направление силы света ОП
в расчетную точку; N - нормаль к задней плоской
поверхности полуцилиндра
7.4.2 Полуцилиндрическую освещенность Esc в заданной точке от единичного ОП рассчитывают по формуле

(34)
где

- угол между плоскостью падения луча света от ОП и нормалью
N, ...°,
(рис. 12).
Значение
I в направлении расчетной точки определяют по
разделу 5 с заменой
H на
H-
h.
7.4.3 Суммарную полуцилиндрическую освещенность
Esc,P в расчетной точке
P от ОП, включаемых в расчет
(7.4.5), определяют по формуле

(35)
где
Esc,k - освещенность в точке
P от
k-го ОП, определяемая по
формуле (34).
7.4.4 Среднее значение полуцилиндрической освещенности в пешеходной зоне

рассчитывают как среднее арифметическое значений полуцилиндрической освещенности в точках расчетного поля по формуле

(36)
где
Esc,i - полуцилиндрическая освещенность в
i-й расчетной точке, определяемая по
формуле (33).
Направление нормали N к задней плоской поверхности полуцилиндра во всех точках расчетного поля выбирают одинаковым.
7.4.5 Минимальную полуцилиндрическую освещенность
Esc,min определяют как наименьшую полуцилиндрическую освещенность среди всех точек расчетного поля.
7.4.6 В расчет включают ОП, проекция которых на горизонтальную расчетную плоскость, проходящую через расчетную точку, удалена от данной расчетной точки на расстояние не более 5-кратной высоты H-h расположения ОП над этой плоскостью.
7.4.7 Расчетное поле определяют с учетом геометрии релевантного участка пешеходной зоны.
7.5 Вертикальная освещенность на окне здания
7.5.1 Вертикальную освещенность

в заданной расчетной точке на окне здания от единичного ОП
(рисунок 13) определяют по формуле

(37)
где

- угол между вертикальной плоскостью, содержащей падающий от ОП луч света, и нормалью к плоскости окна, ...°;
hP - высота расположения расчетной точки на окне относительно уровня дороги, м.
1 - ОП; 2 - расчетная точка; 3 - плоскость окна;
4 - плоскость падения света; I - направление силы света ОП
в расчетную точку; N - нормаль к плоскости окна
Значение
I в направлении расчетной точки определяют по
разделу 5 с заменой
H на
H-
hP.
7.5.2 Расположение расчетных точек определяют для каждого окна, находящегося на релевантном участке стены здания. На рисунке 14 показан пример расположения расчетных точек, помеченных знаком "+".
Рисунок 14
7.5.3 Максимальную освещенность на окне здания

определяют как наибольшую освещенность среди всех расчетных точек окна здания.
(справочное)
ПРИМЕР ФРАГМЕНТА
I-ТАБЛИЦЫ В СИСТЕМЕ ФОТОМЕТРИРОВАНИЯ

Значения силы света ОП в зависимости от значений углов
C и

приведены в таблице А.1.
Таблица А.1
Угол  | Сила света ОП, кд/клм, для угла C |
0° | 5° | 10° | 15° | ... | ... | ... | 80° | 85° | 90° |
0,0° | 260 | 260 | 260 | 260 | | 260 | 260 | 260 |
2,5° | 265 | 265 | 265 | 265 | | 265 | 260 | 255 |
5,0° | 255 | 260 | 255 | 255 | | 245 | 240 | 235 |
7,5° | 245 | 250 | 245 | 235 | | 210 | 200 | 202 |
10,0° | 230 | 230 | 225 | 215 | | 168 | 156 | 157 |
... | | | | | | | | |
... | | | | | | | | |
... | | | | | | | | |
80,0° | 215 | 170 | 56 | 27 | | 40 | 32 | 26 |
82,5° | 65 | 50 | 23 | 11 | | 10 | 9 | 10 |
85,0° | 15 | 10 | 10 | 5 | | 4 | 3 | 3 |
87,5° | 10 | 10 | 7 | 2 | | 2 | 1 | 2 |
90,0° | 0 | 0 | 0 | 0 | | 0 | 0 | 0 |
Примечание - Светораспределение ОП симметрично относительно плоскостей
C0-180 и
C270-90 (одного квадранта) и ограничено диапазоном углов

0° - 90° (нижней полусферой).
(обязательное)
ТАБЛИЦЫ ЗНАЧЕНИЙ РЕДУЦИРОВАННОГО ПОКАЗАТЕЛЯ ЯРКОСТИ
Значения редуцированного показателя яркости дорожных покрытий
r·10
4, ср
-1, рассчитанные по
ГОСТ 26824 в зависимости от материала покрытия, приведены в таблицах Б.1 -
Б.5.
Таблица Б.1
Для мелкозернистого асфальтобетонного покрытия
| r·10 4, ср -1, для угла  |
0° | 2° | 5° | 10° | 15° | 20° | 25° | 30° | 35° | 40° | 45° | 60° | 75° | 90° | 105° | 120° | 135° | 150° | 165° | 180° |
0 | 318 | 318 | 318 | 318 | 318 | 318 | 318 | 318 | 318 | 318 | 318 | 318 | 318 | 318 | 318 | 318 | 318 | 318 | 318 | 318 |
0,25 | 355 | 353 | 350 | 346 | 341 | 337 | 333 | 329 | 325 | 321 | 318 | 309 | 304 | 302 | 291 | 291 | 291 | 291 | 291 | 291 |
0,5 | 379 | 372 | 362 | 345 | 328 | 311 | 296 | 280 | 269 | 262 | 257 | 246 | 241 | 266 | 228 | 228 | 228 | 228 | 228 | 228 |
0,75 | 338 | 331 | 320 | 302 | 284 | 261 | 243 | 229 | 218 | 210 | 204 | 184 | 174 | 190 | 163 | 163 | 163 | 163 | 163 | 163 |
1 | 293 | 285 | 273 | 254 | 234 | 216 | 197 | 180 | 166 | 153 | 142 | 126 | 123 | 124 | 113 | 113 | 113 | 113 | 113 | 113 |
1,25 | 334 | 321 | 300 | 267 | 225 | 189 | 161 | 141 | 127 | 117 | 108 | 92 | 87 | 95 | 78 | 78 | 78 | 78 | 78 | 78 |
1,5 | 347 | 330 | 305 | 261 | 211 | 158 | 129 | 113 | 98 | 89 | 83 | 67 | 60 | 63 | 54 | 54 | 54 | 54 | 54 | 54 |
1,75 | 330 | 312 | 284 | 235 | 178 | 133 | 108 | 90 | 79 | 70 | 64 | 55 | 49 | 48 | 39 | 39 | 39 | 39 | 39 | 39 |
2 | 309 | 291 | 264 | 210 | 153 | 114 | 90 | 73 | 63 | 57 | 51 | 42 | 35 | 21 | 28 | 28 | 28 | 28 | 28 | 28 |
2,5 | 255 | 239 | 215 | 160 | 111 | 79 | 59 | 50 | 44 | 39 | 35 | 28 | 21 | 14 | 16 | 16 | 16 | 16 | 16 | 16 |
3 | 211 | 194 | 167 | 117 | 77 | 55 | 43 | 35 | 31 | 27 | 23 | 17 | 13 | 9 | 10 | 10 | 10 | 10 | 10 | 10 |
3,5 | 221 | 182 | 128 | 82 | 54 | 40 | 30 | 24 | 21 | 17 | 16 | 12 | 10 | 9 | 7 | 7 | 7 | 7 | 7 | 7 |
4 | 226 | 179 | 118 | 63 | 39 | 28 | 21 | 18 | 15 | 14 | 12 | 9 | 7 | 6 | 5 | 5 | 5 | 5 | 5 | 5 |
4,5 | 244 | 185 | 110 | 50 | 28 | 22 | 17 | 14 | 12 | 10 | 9 | 7 | 6 | 5 | 3 | 3 | 3 | 3 | 3 | 3 |
5 | 240 | 181 | 95 | 39 | 21 | 17 | 13 | 11 | 9 | 8 | 7 | 5 | 5 | 4 | 2 | 2 | 2 | 2 | 2 | 2 |
5,5 | 224 | 170 | 81 | 30 | 17 | 13 | 10 | 9 | 7 | |
6 | 197 | 148 | 67 | 24 | 14 | 10 | 9 | 7 | 5 |
6,5 | 169 | 126 | 56 | 19 | 11 | 8 | 7 | 5 | |
7 | 146 | 107 | 47 | 14 | 9 | 7 | 6 | 4 |
7,5 | 126 | 91 | 41 | 13 | 8 | 6 | 5 | |
8 | 109 | 79 | 35 | 12 | 6 | 5 | 4 |
8,5 | 96 | 68 | 32 | 11 | 5 | 4 | 3 |
9 | 84 | 61 | 27 | 9 | 5 | 4 | |
9,5 | 74 | 54 | 24 | 8 | 4 | 3 |
10 | 66 | 49 | 22 | 7 | 3 | 3 |
10,5 | 58 | 43 | 19 | 6 | 3 | 2 |
11 | 52 | 38 | 17 | 5 | 3 | 2 |
11,5 | 46 | 34 | 14 | 5 | 2 | |
12 | 41 | 29 | 11 | 4 | 2 |
Таблица Б.2
Для шероховатого асфальтобетонного покрытия
| r·10 4, ср -1, для угла  |
0° | 2° | 5° | 10° | 15° | 20° | 25° | 30° | 35° | 40° | 45° | 60° | 75° | 90° | 105° | 120° | 135° | 150° | 165° | 180° |
0 | 318 | 318 | 318 | 318 | 318 | 318 | 318 | 318 | 318 | 318 | 318 | 318 | 318 | 318 | 318 | 318 | 318 | 318 | 318 | 318 |
0,25 | 454 | 449 | 443 | 432 | 421 | 410 | 400 | 390 | 380 | 372 | 363 | 343 | 330 | 326 | 291 | 291 | 291 | 291 | 291 | 291 |
0,5 | 500 | 490 | 475 | 450 | 425 | 401 | 378 | 356 | 338 | 325 | 313 | 288 | 274 | 291 | 228 | 228 | 228 | 228 | 228 | 228 |
0,75 | 481 | 463 | 436 | 392 | 349 | 311 | 299 | 290 | 285 | 281 | 264 | 229 | 209 | 218 | 163 | 163 | 163 | 163 | 163 | 163 |
1 | 405 | 382 | 346 | 288 | 233 | 214 | 212 | 225 | 220 | 214 | 207 | 181 | 156 | 146 | 113 | 113 | 113 | 113 | 113 | 113 |
1,25 | 366 | 341 | 303 | 239 | 199 | 182 | 179 | 171 | 163 | 155 | 148 | 129 | 110 | 108 | 78 | 78 | 78 | 78 | 78 | 78 |
1,5 | 326 | 296 | 251 | 179 | 146 | 133 | 122 | 121 | 117 | 113 | 108 | 88 | 79 | 81 | 54 | 54 | 54 | 54 | 54 | 54 |
1,75 | 280 | 249 | 203 | 137 | 112 | 99 | 90 | 86 | 86 | 81 | 75 | 66 | 63 | 64 | 39 | 39 | 39 | 39 | 39 | 39 |
2 | 239 | 210 | 166 | 112 | 95 | 78 | 69 | 65 | 61 | 56 | 55 | 50 | 45 | 26 | 28 | 28 | 28 | 28 | 28 | 28 |
2,5 | 176 | 152 | 115 | 78 | 63 | 49 | 41 | 37 | 35 | 36 | 34 | 32 | 25 | 15 | 16 | 16 | 16 | 16 | 16 | 16 |
3 | 131 | 111 | 81 | 57 | 42 | 31 | 27 | 24 | 23 | 23 | 22 | 19 | 16 | 13 | 10 | 10 | 10 | 10 | 10 | 10 |
3,5 | 101 | 85 | 62 | 43 | 30 | 22 | 18 | 17 | 16 | 15 | 15 | 12 | 11 | 10 | 7 | 7 | 7 | 7 | 7 | 7 |
4 | 82 | 67 | 48 | 32 | 22 | 17 | 14 | 11 | 11 | 11 | 10 | 9 | 8 | 7 | 5 | 5 | 5 | 5 | 5 | 5 |
4,5 | 71 | 56 | 38 | 25 | 16 | 13 | 10 | 9 | 9 | 8 | 7 | 6 | 6 | 6 | 3 | 3 | 3 | 3 | 3 | 3 |
5 | 67 | 48 | 30 | 20 | 13 | 10 | 8 | 7 | 6 | 6 | 5 | 5 | 4 | 4 | 2 | 2 | 2 | 2 | 2 | 2 |
5,5 | 62 | 41 | 25 | 16 | 11 | 8 | 6 | 5 | 5 | |
6 | 56 | 37 | 21 | 13 | 9 | 6 | 5 | 4 | 4 |
6,5 | 49 | 34 | 18 | 11 | 7 | 5 | 4 | 3 | |
7 | 43 | 30 | 15 | 9 | 6 | 4 | 3 | 3 |
7,5 | 38 | 27 | 12 | 8 | 5 | 3 | 2 | |
8 | 34 | 23 | 11 | 6 | 4 | 3 | 2 |
8,5 | 30 | 21 | 9 | 5 | 3 | 2 | 2 |
9 | 26 | 18 | 8 | 5 | 3 | 2 | |
9,5 | 23 | 17 | 7 | 4 | 3 | 2 |
10 | 21 | 15 | 6 | 3 | 2 | 2 |
10,5 | 18 | 13 | 6 | 3 | 2 | 1 |
11 | 16 | 12 | 5 | 3 | 2 | 1 |
11,5 | 14 | 11 | 5 | 2 | 2 | |
12 | 13 | 9 | 4 | 2 | 1 |
Таблица Б.3
Для осветленного асфальтобетонного покрытия с содержанием
дорсила 33%
| r·10 4, ср -1, для угла  |
0° | 2° | 5° | 10° | 15° | 20° | 25° | 30° | 35° | 40° | 45° | 60° | 75° | 90° | 105° | 120° | 135° | 150° | 165° | 180° |
0 | 350 | 350 | 350 | 350 | 358 | 350 | 342 | 350 | 354 | 350 | 346 | 350 | 350 | 350 | 350 | 350 | 350 | 350 | 350 | 350 |
0,25 | 456 | 456 | 456 | 456 | 437 | 402 | 395 | 402 | 392 | 374 | 370 | 402 | 402 | 401 | 320 | 320 | 320 | 320 | 320 | 320 |
0,5 | 435 | 435 | 435 | 435 | 402 | 356 | 350 | 356 | 347 | 331 | 328 | 356 | 356 | 354 | 251 | 251 | 251 | 251 | 251 | 251 |
0,75 | 393 | 393 | 393 | 393 | 362 | 319 | 289 | 287 | 277 | 265 | 263 | 276 | 279 | 291 | 179 | 179 | 179 | 179 | 179 | 179 |
1 | 326 | 326 | 326 | 326 | 314 | 293 | 263 | 225 | 208 | 203 | 200 | 203 | 207 | 225 | 124 | 124 | 124 | 124 | 124 | 124 |
1,25 | 343 | 332 | 316 | 289 | 243 | 225 | 199 | 163 | 152 | 147 | 145 | 145 | 147 | 160 | 85 | 85 | 85 | 85 | 85 | 85 |
1,5 | 305 | 292 | 271 | 237 | 191 | 168 | 146 | 117 | 109 | 105 | 104 | 104 | 105 | 115 | 60 | 60 | 60 | 60 | 60 | 60 |
1,75 | 255 | 242 | 222 | 190 | 152 | 124 | 107 | 85 | 79 | 77 | 76 | 76 | 76 | 84 | 43 | 43 | 43 | 43 | 43 | 43 |
2 | 209 | 197 | 180 | 151 | 121 | 93 | 79 | 63 | 58 | 57 | 56 | 57 | 56 | 62 | 31 | 31 | 31 | 31 | 31 | 31 |
2,5 | 171 | 157 | 134 | 98 | 76 | 55 | 44 | 37 | 33 | 34 | 33 | 34 | 34 | 36 | 18 | 18 | 18 | 18 | 18 | 18 |
3 | 136 | 122 | 100 | 65 | 50 | 35 | 28 | 23 | 21 | 21 | 21 | 21 | 21 | 23 | 11 | 11 | 11 | 11 | 11 | 11 |
3,5 | 103 | 92 | 74 | 45 | 34 | 23 | 18 | 16 | 14 | 14 | 14 | 14 | 14 | 15 | 7 | 7 | 7 | 7 | 7 | 7 |
4 | 82 | 72 | 58 | 33 | 21 | 16 | 12 | 11 | 10 | 10 | 10 | 10 | 10 | 11 | 5 | 5 | 5 | 5 | 5 | 5 |
4,5 | 67 | 59 | 46 | 24 | 16 | 12 | 9 | 8 | 7 | 7 | 7 | 7 | 7 | 8 | 4 | 4 | 4 | 4 | 4 | 4 |
5 | 55 | 47 | 37 | 19 | 12 | 9 | 7 | 6 | 6 | 6 | 6 | 6 | 6 | 6 | 3 | 3 | 3 | 3 | 3 | 3 |
5,5 | 45 | 39 | 30 | 14 | 9 | 7 | 5 | 5 | 4 | |
6 | 46 | 39 | 28 | 11 | 6 | 6 | 4 | 4 | 3 |
6,5 | 47 | 39 | 28 | 9 | 5 | 5 | 3 | 3 | |
7 | 45 | 38 | 26 | 7 | 4 | 4 | 3 | 3 |
7,5 | 42 | 35 | 24 | 6 | 3 | 3 | 2 | |
8 | 39 | 32 | 22 | 5 | 3 | 3 | 2 |
8,5 | 35 | 29 | 20 | 4 | 2 | 2 | 2 |
9 | 32 | 26 | 18 | 4 | 2 | 2 | |
9,5 | 29 | 24 | 16 | 3 | 2 | 2 |
10 | 26 | 21 | 14 | 3 | 2 | 1 |
10,5 | 23 | 19 | 13 | 2 | 1 | 1 |
11 | 21 | 17 | 12 | 2 | 1 | 1 |
11,5 | 19 | 16 | 10 | 2 | 1 | |
12 | 17 | 14 | 9 | 2 | 1 |
Таблица Б.4
Для осветленного асфальтобетонного покрытия с содержанием
дорсила 38%
| r·10 4, ср -1, для угла  |
0° | 2° | 5° | 10° | 15° | 20° | 25° | 30° | 35° | 40° | 45° | 60° | 75° | 90° | 105° | 120° | 135° | 150° | 165° | 180° |
0 | 477 | 477 | 477 | 477 | 477 | 477 | 477 | 477 | 477 | 477 | 477 | 477 | 470 | 477 | 477 | 477 | 477 | 477 | 477 | 477 |
0,25 | 626 | 621 | 613 | 599 | 588 | 573 | 559 | 546 | 533 | 519 | 506 | 463 | 441 | 490 | 436 | 436 | 436 | 436 | 436 | 436 |
0,5 | 554 | 549 | 542 | 531 | 534 | 528 | 499 | 472 | 452 | 432 | 420 | 382 | 363 | 405 | 342 | 342 | 342 | 342 | 342 | 342 |
0,75 | 497 | 494 | 489 | 481 | 446 | 443 | 413 | 373 | 348 | 328 | 314 | 285 | 278 | 316 | 244 | 244 | 244 | 244 | 244 | 244 |
1 | 416 | 414 | 411 | 405 | 387 | 360 | 329 | 293 | 267 | 248 | 234 | 203 | 207 | 236 | 169 | 169 | 169 | 169 | 169 | 169 |
1,25 | 467 | 448 | 421 | 375 | 310 | 280 | 252 | 222 | 201 | 184 | 171 | 147 | 148 | 170 | 116 | 116 | 116 | 116 | 116 | 116 |
1,5 | 425 | 403 | 370 | 315 | 251 | 214 | 192 | 167 | 150 | 136 | 127 | 108 | 107 | 123 | 81 | 81 | 81 | 81 | 81 | 81 |
1,75 | 360 | 339 | 308 | 256 | 203 | 165 | 146 | 127 | 114 | 103 | 95 | 81 | 79 | 91 | 58 | 58 | 58 | 58 | 58 | 58 |
2 | 297 | 278 | 251 | 205 | 165 | 127 | 113 | 97 | 87 | 78 | 72 | 61 | 59 | 68 | 43 | 43 | 43 | 43 | 43 | 43 |
2,5 | 260 | 236 | 200 | 141 | 106 | 78 | 65 | 59 | 52 | 47 | 44 | 38 | 36 | 42 | 24 | 24 | 24 | 24 | 24 | 24 |
3 | 212 | 190 | 156 | 99 | 73 | 50 | 42 | 37 | 33 | 30 | 28 | 25 | 24 | 27 | 15 | 15 | 15 | 15 | 15 | 15 |
3,5 | 165 | 146 | 118 | 70 | 51 | 34 | 28 | 25 | 22 | 20 | 19 | 17 | 16 | 19 | 10 | 10 | 10 | 10 | 10 | 10 |
4 | 143 | 125 | 97 | 51 | 32 | 24 | 18 | 17 | 16 | 14 | 13 | 12 | 12 | 14 | 7 | 7 | 7 | 7 | 7 | 7 |
4,5 | 129 | 110 | 83 | 38 | 24 | 17 | 13 | 13 | 11 | 11 | 10 | 9 | 9 | 10 | 5 | 5 | 5 | 5 | 5 | 5 |
5 | 111 | 94 | 70 | 29 | 18 | 13 | 10 | 9 | 9 | 8 | 8 | 7 | 7 | 8 | 4 | 4 | 4 | 4 | 4 | 4 |
5,5 | 94 | 79 | 58 | 23 | 14 | 10 | 8 | 7 | 7 | |
6 | 86 | 73 | 52 | 18 | 7 | 8 | 6 | 6 | 5 |
6,5 | 80 | 67 | 47 | 15 | 6 | 6 | 5 | 5 | |
7 | 73 | 61 | 42 | 12 | 5 | 5 | 4 | 4 |
7,5 | 65 | 54 | 38 | 10 | 4 | 4 | 3 | |
8 | 58 | 48 | 33 | 8 | 3 | 3 | 3 |
8,5 | 52 | 43 | 30 | 7 | 3 | 3 | 2 |
9 | 46 | 38 | 26 | 6 | 2 | 2 | |
9,5 | 41 | 34 | 23 | 5 | 2 | 2 |
10 | 37 | 30 | 21 | 4 | 2 | 2 |
10,5 | 33 | 27 | 18 | 4 | 2 | 2 |
11 | 30 | 24 | 16 | 3 | 1 | 1 |
11,5 | 26 | 22 | 15 | 3 | 1 | |
12 | 23 | 19 | 13 | 3 | 1 |
Таблица Б.5
Для осветленного асфальтобетонного покрытия с содержанием
дорсила 43%
| r·10 4, ср -1, для угла  |
0° | 2° | 5° | 10° | 15° | 20° | 25° | 30° | 35° | 40° | 45° | 60° | 75° | 90° | 105° | 120° | 135° | 150° | 165° | 180° |
0 | 541 | 541 | 541 | 541 | 541 | 541 | 541 | 541 | 541 | 541 | 545 | 541 | 541 | 541 | 541 | 541 | 541 | 541 | 541 | 541 |
0,25 | 576 | 576 | 576 | 576 | 572 | 573 | 573 | 575 | 575 | 575 | 565 | 547 | 547 | 548 | 494 | 494 | 494 | 494 | 494 | 494 |
0,5 | 631 | 621 | 605 | 578 | 562 | 555 | 537 | 524 | 524 | 524 | 515 | 499 | 499 | 503 | 387 | 387 | 387 | 387 | 387 | 387 |
0,75 | 638 | 619 | 591 | 545 | 499 | 485 | 459 | 432 | 417 | 416 | 409 | 399 | 399 | 397 | 277 | 277 | 277 | 277 | 277 | 277 |
1 | 563 | 542 | 512 | 461 | 423 | 394 | 364 | 338 | 318 | 304 | 295 | 293 | 293 | 293 | 191 | 191 | 191 | 191 | 191 | 191 |
1,25 | 683 | 628 | 545 | 407 | 337 | 304 | 278 | 254 | 235 | 221 | 214 | 212 | 212 | 212 | 132 | 132 | 132 | 132 | 132 | 132 |
1,5 | 640 | 579 | 487 | 333 | 268 | 232 | 210 | 190 | 174 | 161 | 156 | 154 | 154 | 154 | 92 | 92 | 92 | 92 | 92 | 92 |
1,75 | 550 | 493 | 408 | 266 | 213 | 177 | 159 | 143 | 130 | 119 | 115 | 113 | 113 | 113 | 66 | 66 | 66 | 66 | 66 | 66 |
2 | 457 | 408 | 334 | 211 | 171 | 136 | 122 | 109 | 99 | 90 | 86 | 85 | 85 | 85 | 48 | 48 | 48 | 48 | 48 | 48 |
2,5 | 423 | 366 | 281 | 139 | 97 | 83 | 71 | 65 | 59 | 53 | 51 | 50 | 50 | 50 | 28 | 28 | 28 | 28 | 28 | 28 |
3 | 356 | 304 | 225 | 94 | 65 | 53 | 45 | 41 | 37 | 34 | 32 | 32 | 32 | 32 | 17 | 17 | 17 | 17 | 17 | 17 |
3,5 | 280 | 237 | 173 | 66 | 45 | 36 | 30 | 28 | 25 | 22 | 21 | 21 | 21 | 21 | 11 | 11 | 11 | 11 | 11 | 11 |
4 | 222 | 187 | 135 | 48 | 19 | 25 | 20 | 19 | 17 | 16 | 15 | 15 | 15 | 15 | 8 | 8 | 8 | 8 | 8 | 8 |
4,5 | 178 | 150 | 107 | 36 | 15 | 18 | 15 | 14 | 12 | 11 | 11 | 11 | 11 | 11 | 6 | 6 | 6 | 6 | 6 | 6 |
5 | 143 | 120 | 85 | 27 | 11 | 14 | 11 | 10 | 9 | 9 | 8 | 8 | 8 | 8 | 4 | 4 | 4 | 4 | 4 | 4 |
5,5 | 116 | 97 | 69 | 21 | 9 | 11 | 9 | 8 | 7 | |
6 | 102 | 85 | 60 | 17 | 4 | 8 | 7 | 6 | 6 |
6,5 | 92 | 76 | 53 | 14 | 3 | 7 | 5 | 5 | |
7 | 82 | 68 | 47 | 11 | 3 | 5 | 4 | 4 |
7,5 | 72 | 60 | 41 | 9 | 3 | 4 | 4 | |
8 | 64 | 52 | 36 | 8 | 2 | 4 | 3 |
8,5 | 56 | 46 | 31 | 7 | 2 | 3 | 2 |
9 | 50 | 41 | 28 | 6 | 2 | 3 | |
9,5 | 44 | 36 | 24 | 5 | 1 | 2 |
10 | 39 | 32 | 22 | 4 | 1 | 2 |
10,5 | 35 | 29 | 19 | 4 | 1 | 2 |
11 | 31 | 25 | 17 | 3 | 1 | 1 |
11,5 | 28 | 23 | 15 | 3 | 1 | |
12 | 24 | 20 | 13 | 3 | 1 |