Главная // Актуальные документы // ГОСТ Р (Государственный стандарт)
СПРАВКА
Источник публикации
М.: Стандартинформ, 2012
Примечание к документу
Документ введен в действие с 01.07.2012.
Название документа
"ГОСТ Р ИСО 21467-2011. Национальный стандарт Российской Федерации. Машины землеройные. Машины для горизонтального направленного бурения. Терминология и эксплуатационные показатели"
(утв. и введен в действие Приказом Росстандарта от 28.09.2011 N 376-ст)

"ГОСТ Р ИСО 21467-2011. Национальный стандарт Российской Федерации. Машины землеройные. Машины для горизонтального направленного бурения. Терминология и эксплуатационные показатели"
(утв. и введен в действие Приказом Росстандарта от 28.09.2011 N 376-ст)


Содержание


Утвержден и введен в действие
Приказом Федерального
агентства по техническому
регулированию и метрологии
от 28 сентября 2011 г. N 376-ст
НАЦИОНАЛЬНЫЙ СТАНДАРТ РОССИЙСКОЙ ФЕДЕРАЦИИ
МАШИНЫ ЗЕМЛЕРОЙНЫЕ
МАШИНЫ ДЛЯ ГОРИЗОНТАЛЬНОГО НАПРАВЛЕННОГО БУРЕНИЯ
ТЕРМИНОЛОГИЯ И ЭКСПЛУАТАЦИОННЫЕ ПОКАЗАТЕЛИ
Earth-moving machinery. Horizontal directional drills.
Terminology and specifications
ISO 21467:2004
Earth-moving machinery - Horizontal directional
drills - Terminology and specifications
(IDT)
ГОСТ Р ИСО 21467-2011
Группа Г45
ОКС 53.100
ОКП 48 3212
Дата введения
1 июля 2012 года
Предисловие
Цели и принципы стандартизации в Российской Федерации установлены Федеральным законом от 27 декабря 2002 г. N 184-ФЗ "О техническом регулировании", а правила применения национальных стандартов Российской Федерации - ГОСТ Р 1.0-2004 "Стандартизация в Российской Федерации. Основные положения"
Сведения о стандарте
1 ПОДГОТОВЛЕН Открытым акционерным обществом "Центральный научно-испытательный полигон строительных и дорожных машин" (ОАО "ЦНИИ СДМ") на основе собственного аутентичного перевода на русский язык стандарта, указанного в пункте 4
2 ВНЕСЕН Техническим комитетом по стандартизации ТК 267 "Строительно-дорожные машины и оборудование"
3 УТВЕРЖДЕН И ВВЕДЕН В ДЕЙСТВИЕ Приказом Федерального агентства по техническому регулированию и метрологии от 28 сентября 2011 г. N 376-ст
4 Настоящий стандарт идентичен международному стандарту ИСО 21467:2004 "Машины землеройные. Горизонтальные направляющие буры. Терминология и технические требования" (ISO 21467:2004 "Earth-moving machinery - Horizontal directional drills - Terminology and specifications").
Наименование настоящего стандарта изменено относительно наименования международного стандарта для приведения в соответствие с ГОСТ Р 1.5-2004 (пункт 3.5).
При применении настоящего стандарта рекомендуется использовать вместо ссылочных международных стандартов соответствующие им национальные стандарты Российской Федерации, сведения о которых приведены в дополнительном приложении ДА
5 ВВЕДЕН ВПЕРВЫЕ
Информация об изменениях к настоящему стандарту публикуется в ежегодно издаваемом информационном указателе "Национальные стандарты", а текст изменений и поправок - в ежемесячно издаваемых информационных указателях "Национальные стандарты". В случае пересмотра или отмены настоящего стандарта соответствующее уведомление будет опубликовано в ежемесячно издаваемом информационном указателе "Национальные стандарты". Соответствующая информация, уведомление и тексты размещаются также в информационной системе общего пользования - на официальном сайте Федерального агентства по техническому регулированию и метрологии в сети Интернет
1 Область применения
Настоящий стандарт устанавливает терминологию и номенклатуру эксплуатационных показателей машин для горизонтального направленного бурения, как это определено в 3.1.1.
Настоящий стандарт распространяется на машины без рабочего места оператора, машины с рабочим местом оператора, колодезные машины, а также машины поузлового монтажа.
2 Нормативные ссылки
В настоящем стандарте использованы недатированные нормативные ссылки на международные стандарты. Для стандартов, не содержащих обозначения даты их принятия, действительными являются последние издания приведенных стандартов (со всеми поправками и изменениями).
ИСО 6165 Машины землеройные. Основные типы. Идентификация. Термины и определения (ISO 6165 Earth-moving machinery. Basic types. Vocabulary)
ИСО 9249 Машины землеройные. Правила испытания двигателей. Полезная мощность (ISO 9249 Earth-moving machinery. Engine test code. Net power)
3 Термины и определения
В настоящем стандарте применены термины по ИСО 6165, а также следующие термины с соответствующими определениями:
3.1 Общие
3.1.1 машина для горизонтального направленного бурения (horizontal directional drilling machine): Машина, в которой используется управляемая бурильная головка, находящаяся на конце колонны бурильных труб, для образования скважины в грунте в горизонтальном направлении.
См. рисунки 1 - 4.
Примечание 1 - Бурение может обеспечиваться путем подачи под давлением жидкости через колонну бурильных труб к бурильной головке с использованием датчиков или преобразователей, установленных рядом с бурильной головкой, с последующим расширением скважины посредством втягивания колонны бурильных труб.
Примечание 2 - На этих машинах, как правило, усилие на колонне бурильных труб обеспечивается при установке рамы бурильной машины параллельно рабочей поверхности грунта или под углом 30° к ней.
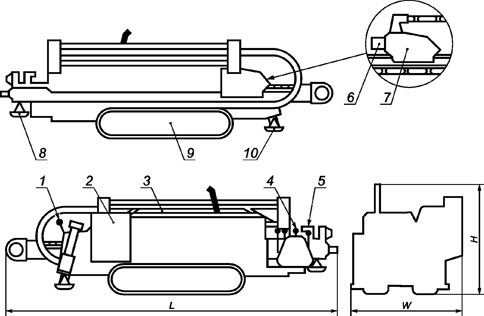
H - общая высота машины; L - общая длина машины; W - общая
ширина машины; 1 - управление установкой машины; 2 - бак
для воды; 3 - ящик для бурильных труб; 4 - управление
процессом бурения; 5 - зажим; 6 - шпиндель; 7 - каретка;
8 - передний аутригер; 9 - шасси; 10 - задний аутригер
Рисунок 1 - Машина горизонтального направленного бурения
без рабочего места оператора
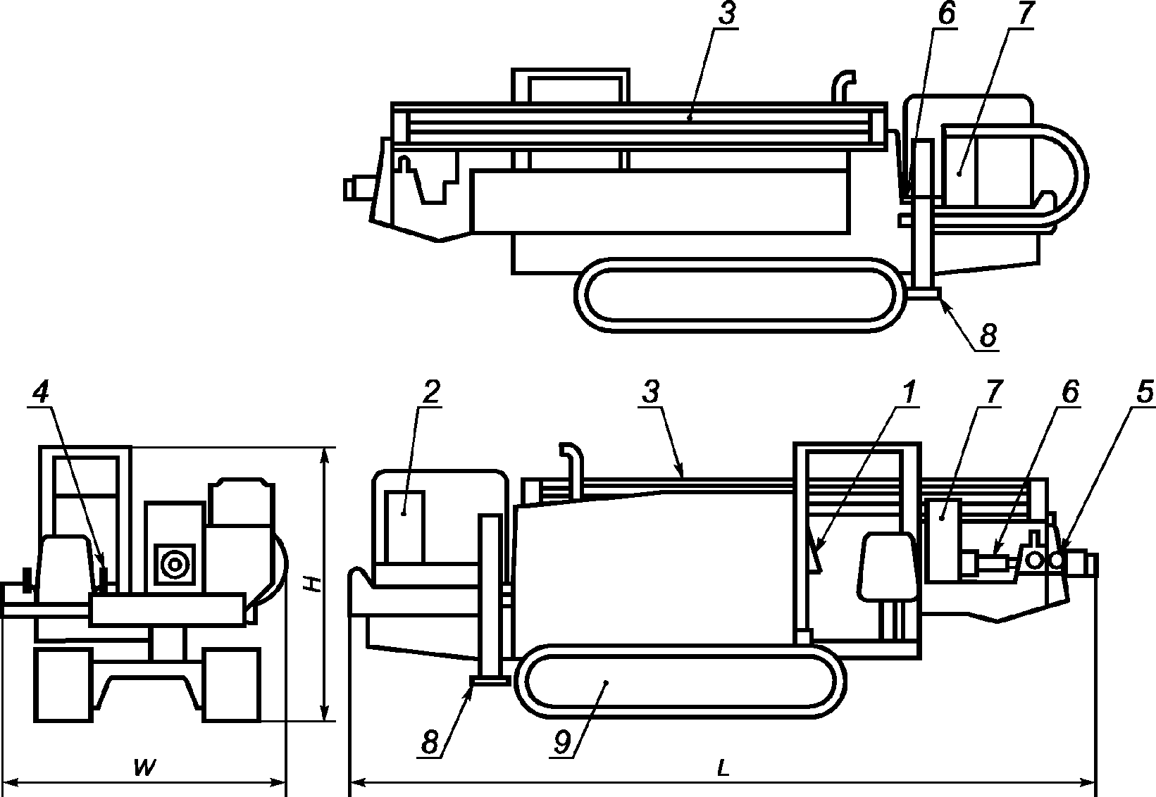
H - общая высота машины; L - общая длина машины; W - общая
ширина машины; 1 - управление установкой машины; 2 - бак
для воды; 3 - ящик для бурильных труб; 4 - управление
процессом бурения - место оператора; 5 - зажим;
6 - шпиндель; 7 - каретка; 8 - задний аутригер; 9 - шасси
Рисунок 2 - Машина для горизонтального направленного бурения
с рабочим местом оператора
A - ширина колодца; B - длина колодца; H - общая высота
машины; L - общая длина машины; W - общая ширина машины;
1 - место оператора; 2 - управление процессом бурения;
3 - шпиндель; 4 - каретка; 5 - зажим
Рисунок 3 - Колодезная машина для горизонтального
направленного бурения
H - общая высота машины; L - общая длина машины; W - общая
ширина машины; 1 - место оператора; 2 - управление процессом
бурения; 3 - шпиндель; 4 - каретка; 5 - зажим
Рисунок 4 - Машина поузлового монтажа для горизонтального
направленного бурения
3.1.2 скважина (bore): Отверстие, проделанное в грунте и используемое для установки в нем коммуникационных систем.
3.1.3 колонна бурильных труб (drill string): Одна или несколько бурильных труб, соединенных вместе и используемых для передачи усилий от опорной рамы машины к бурильной головке, при создании или расширении скважины в процессе бурения.
Примечание - Колонна используется также для поворота бурильной головки в требуемое положение в процессе бурения.
3.1.4 рама бурильной машины (drill frame): Конструкция в составе машины направленного горизонтального бурения, обеспечивающая передачу вращательного и толкающего/втягивающего усилий к колонне бурильных труб.
3.1.5 расширение при втягивании (backreaming): Процесс расширения скважины относительно ее начального значения при втягивании инструмента с большим, чем у бурильной головки, диаметром.
3.2 Размеры
3.2.1 общая длина машины (overall machine length) L: Продольное расстояние между двумя плоскостями, проходящими через наружные крайние точки в транспортном положении машины.
3.2.2 общая высота машины (overall machine height) H: Расстояние от грунта до самой высокой точки в транспортном положении машины.
3.2.3 общая ширина машины (overall machine width) W: Поперечное расстояние между двумя плоскостями, проходящими через наружные крайние точки в транспортном положении машины.
3.2.4 угол входа (entry angle), градус: Угол между бурильной трубой и плоскостью грунта при нахождении машины в эксплуатационном (рабочем) положении.
3.2.5 диаметр бурильной трубы (drill pipe diameter) D1: Минимальный наружный диаметр бурильной трубы, за исключением ее конца, к которому присоединяется бурильный инструмент.
См. рисунок 5.
Рисунок 5 - Бурильная труба
3.2.6 диаметр соединяемого с бурильным инструментом конца трубы (drill pipe tool joint end diameter) D2: Максимальный наружный диаметр конца бурильной трубы с присоединенным бурильным инструментом.
См. рисунок 5.
3.2.7 номинальная длина бурильной трубы (drill pipe nominal length) L1: Расчетная длина бурильной трубы.
См. рисунок 5.
3.2.8 общая длина бурильной трубы (drill pipe overall length) L2: Полная длина бурильной трубы.
См. рисунок 5.
3.2.9 толщина стенки бурильной трубы (drill pipe wall thickness) T: Номинальная толщина стенки секции бурильной трубы, за исключением конца трубы, к которому присоединяется инструмент.
См. рисунок 5.
3.2.10 вместимость жидкости бурильной трубы (fluid capacity of drill pipe): Измеренный максимальный объем воды, приходящийся на метр длины бурильной трубы.
3.2.11 радиус изгиба бурильной трубы по маршруту скважины (drill pipe bore path bend radius) R: Расчетный предел радиуса изгиба углеродистой стальной трубы в колонне труб в процессе операции бурения, определяемый формулой:
где R - радиус изгиба, м;
E - модуль упругости материала трубы, МПа;
D1 - наружный диаметр трубы, мм;
U - заданное напряжение растяжения материала трубы, МПа.
3.2.12 диаметр расширения при втягивании (backreamer diameter): Максимальный диаметр отверстия, создаваемого при расширении.
3.2.13 размер колодца (pit size): Минимальная требуемая ширина и длина колодца для колодезной машины (см. рисунок 3).
3.2.14 ширина колодца (pit width) A: Минимальная измеренная ширина дна колодца между расчетными для данной машины вертикальными земляными стенками.
3.2.15 длина колодца (pit length) B: Минимальная измеренная длина дна колодца между расчетными для данной машины вертикальными земляными стенками.
3.3 Массы
3.3.1 снаряженная масса машины для горизонтального направленного бурения (drilling machine operating mass): Масса базовой машины с полностью заполненными топливным баком, баком гидросистемы, системой с жидкостью для бурения, если имеется, и ящиком для складирования труб, если он смонтирован.
3.3.2 удельное давление на грунт (ground-bearing pressure): Снаряженная масса машины, деленная на контактную площадь грунта.
3.4 Эксплуатационные показатели
Примечание - Измеренные, но не расчетные параметры, должны соответствовать требуемому значению для типового представительного образца машины при рабочей температуре.
3.4.1 полезная мощность двигателя (engine net power): Полезная мощность двигателя в соответствии с ИСО 9249.
3.4.2 скорость передвижения на грунте (ground travel speed): Максимальная скорость передвижения машины для горизонтального бурения в направлении вперед и назад при снаряженной массе.
3.4.3 мощность на вращающемся валу (rotary spindle power): Максимальная мощность, измеренная на шпинделе.
3.4.4 максимальный крутящий момент на валу (maximum spindle torque): Максимальное значение крутящего момента, при котором вращение шпинделя прекращается.
3.4.5 максимальная скорость вращения шпинделя (maximum spindle speed): Максимальная измеренная скорость вращения шпинделя в минуту.
3.4.6 скорость перемещения каретки (carriage thrust travel speed): Максимальная скорость движения каретки при отсутствии нагрузки в направлении рабочего движения.
3.4.7 скорость обратного движения каретки (carriage pullback travel speed): Максимальная скорость движения каретки при отсутствии нагрузки в направлении втягивания.
3.4.8 проталкивающее усилие (thrust force): Максимальное усилие, измеренное при движении каретки вперед.
3.4.9 усилие втягивания (pullback force): Максимальное усилие, измеренное при движении каретки в направлении втягивания.
3.4.10 мощность жидкости при бурении (drilling fluid power): Максимальное значение энергии жидкости, рассчитанное по результатам одновременного измерения величин давления и расхода воды, проходящей через шпиндель.
3.4.11 максимальное значение давления жидкости при бурении (maximum drilling fluid pressure): Максимальное давление жидкости, измеренное на шпинделе.
3.4.12 максимальное значение расхода жидкости при бурении (maximum drilling fluid flow): Максимальный расход жидкости, измеренный на шпинделе.
3.4.13 Эксплуатационные показатели бурильной трубы
3.4.13.1 усилие на колонне (column strength): Максимальное усилие сжатия, определяемое при испытании, вдоль оси между концами прямой трубы в горизонтальном положении последней, не приводящее к потере устойчивости.
См. рисунок 6.
a - нагрузка
Рисунок 6 - Бурильная труба. Испытание по определению
усилия на колонне
3.4.13.2 крутящий момент (torque capacity): Максимальный крутящий момент на трубе, определяемый при испытании, возникающий между ее концами, не приводящий к остаточной деформации.
См. рисунок 7.
a - крутящий момент
Рисунок 7 - Бурильная труба. Испытание по определению
крутящего момента на колонне
3.4.13.3 толкающее/тянущее усилие (push/pull capacity): Максимальное усилие сжатия и растяжения на трубе, определяемое при испытании на четверти пролета трубы, возникающее между ее концами, не приводящее к остаточной деформации.
См. рисунок 8.
a - нагрузка
Рисунок 8 - Бурильная труба. Испытание по определению
толкающего/тянущего усилия
3.4.13.4 цикличная долговечность при вращении с изгибом (rotational bending life rating): Количество полностью реверсивных вращательных нагрузочных циклов (количество экспериментов не менее трех), которое может выдержать труба без изменения измеренного радиуса (R1), равного 0,67R.
См. рисунок 9.
R1 - испытательный радиус; a - вращение
Рисунок 9 - Испытание по определению цикличной долговечности
при вращении с изгибом
3.4.13.5 пропускная способность (flow capacity): Расход воды, при котором потеря давления на расстоянии 30 м по длине колонны труб составляет 0,7 МПа (7 атм).
3.4.13.6 момент затяжки (make-up torque): Рекомендуемый изготовителем момент затяжки резьбы двух труб.
4 Номенклатура
Примечание - Некоторые указанные названия не могут относиться к стандартному оборудованию.
4.1 Машина без рабочего места оператора (non-riding machine).
См. рисунок 1.
4.1.1 прямое управление (direct control).
4.1.2 управление с использованием контрольного провода (control by wire).
4.1.3 дистанционный (без провода) контроль (remote (wireless) control).
4.2 Машина с рабочим местом оператора (ride-on-machine).
См. рисунок 2.
4.3 Колодезная машина (pit-launched machine).
См. рисунок 3.
4.4 Машина поузлового монтажа (attachment-mounted machine).
См. рисунок 4.
Приложение ДА
(справочное)
СВЕДЕНИЯ О СООТВЕТСТВИИ ССЫЛОЧНЫХ МЕЖДУНАРОДНЫХ СТАНДАРТОВ
ССЫЛОЧНЫМ НАЦИОНАЛЬНЫМ СТАНДАРТАМ РОССИЙСКОЙ ФЕДЕРАЦИИ
Таблица ДА.1
Обозначение ссылочного международного стандарта
Степень соответствия
Обозначение и наименование соответствующего национального стандарта
ИСО 6165:2006
IDT
ГОСТ Р ИСО 6165-2010 "Машины землеройные. Классификация. Термины и определения"
ИСО 9249:2007
-
<*>
<*> Соответствующий национальный стандарт отсутствует. До его утверждения рекомендуется использовать перевод на русский язык данного международного стандарта. Перевод данного международного стандарта находится в Федеральном информационном фонде технических регламентов и стандартов.
Примечание - В настоящей таблице использовано следующее условное обозначение степени соответствия стандарта:
- IDT - идентичный стандарт.
УДК 621.869.4-788:629.614:006.354
ОКС 53.100
ОКП 48 3212
Ключевые слова: машины землеройные, машины для горизонтального направленного бурения, колонна бурильных труб, бурильная головка; каретка, шпиндель, зажим, аутригер, ящик для бурильных труб, расход жидкости при бурении