Главная // Актуальные документы // ГОСТ Р (Государственный стандарт)
СПРАВКА
Источник публикации
М.: Стандартинформ, 2006
Примечание к документу
Документ введен в действие с 01.01.2007.
Название документа
"ГОСТ Р ИСО 14588-2005. Национальный стандарт Российской Федерации. Заклепки "слепые". Термины и определения"
(утв. и введен в действие Приказом Ростехрегулирования от 14.12.2005 N 312-ст)


"ГОСТ Р ИСО 14588-2005. Национальный стандарт Российской Федерации. Заклепки "слепые". Термины и определения"
(утв. и введен в действие Приказом Ростехрегулирования от 14.12.2005 N 312-ст)


Содержание


Утвержден и введен в действие
Приказом Федерального
агентства по техническому
регулированию и метрологии
от 14 декабря 2005 г. N 312-ст
НАЦИОНАЛЬНЫЙ СТАНДАРТ РОССИЙСКОЙ ФЕДЕРАЦИИ
ЗАКЛЕПКИ "СЛЕПЫЕ"
ТЕРМИНЫ И ОПРЕДЕЛЕНИЯ
Blind rivets - Terminology and definitions
ISO 14588:2000
Blind rivets - Terminology and definitions
(IDT)
ГОСТ Р ИСО 14588-2005
Группа Г34
ОКС 21.060.40
ОКП 16 8000
Дата введения
1 января 2007 года
Предисловие
Цели и принципы стандартизации в Российской Федерации установлены Федеральным законом от 27 декабря 2002 г. N 184-ФЗ "О техническом регулировании", а правила применения национальных стандартов Российской Федерации - ГОСТ Р 1.0-2004 "Стандартизация в Российской Федерации. Основные положения"
Сведения о стандарте
1 ПОДГОТОВЛЕН Всероссийским научно-исследовательским институтом стандартизации и сертификации в машиностроении (ВНИИНМАШ) на основе собственного аутентичного перевода стандарта, указанного в пункте 4
2 ВНЕСЕН Техническим комитетом по стандартизации ТК 229 "Крепежные изделия"
3 УТВЕРЖДЕН И ВВЕДЕН В ДЕЙСТВИЕ Приказом Федерального агентства по техническому регулированию и метрологии от 14 декабря 2005 г. N 312-ст
4 Настоящий стандарт идентичен международному стандарту ИСО 14588:2000 "Заклепки "слепые". Термины и определения" (ISO 14588:2000 "Blind rivets - Terminology and definitions"), IDT
5 ВВЕДЕН ВПЕРВЫЕ
Информация об изменениях к настоящему стандарту публикуется в ежегодно издаваемом информационном указателе "Национальные стандарты", а текст изменений и поправок - в ежемесячно издаваемых информационных указателях "Национальные стандарты". В случае пересмотра (замены) или отмены настоящего стандарта соответствующее уведомление будет опубликовано в ежемесячно издаваемом информационном указателе "Национальные стандарты". Соответствующая информация, уведомление и тексты размещаются также в информационной системе общего пользования - на официальном сайте национального органа Российской Федерации по стандартизации в сети Интернет
1 Область применения
Настоящий стандарт устанавливает термины и определения для типов, рабочих характеристик и геометрических размеров "слепых" заклепок, а также термины для установки заклепок и установочного инструмента, применяемого при заклепывании.
2 Термины и определения
2.1 "слепая" заклепка (blind rivet): Крепежное изделие для механического соединения двух или более деталей даже в том случае, когда доступ к месту соединения возможен только с одной стороны.
Примечания
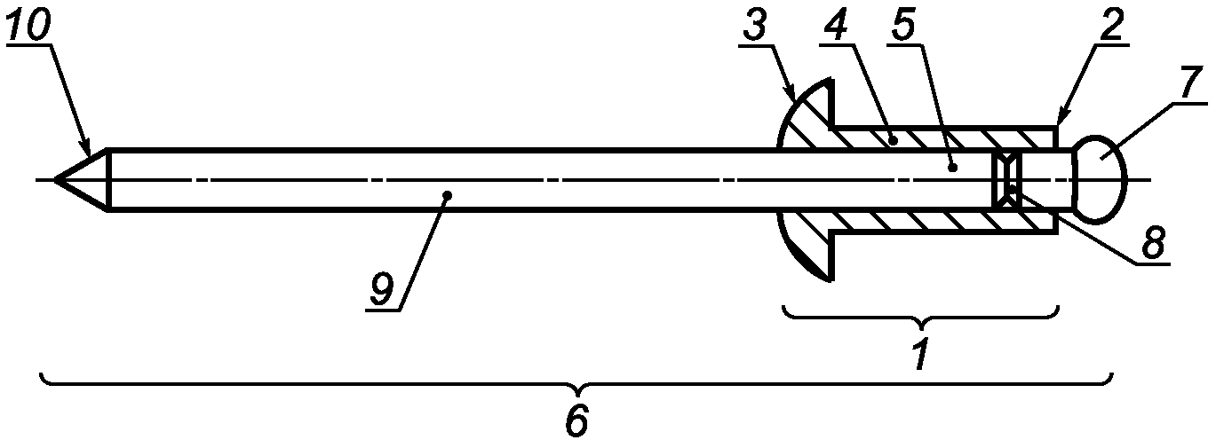
1 "Слепая" заклепка состоит из корпуса, внутри которого находится сердечник, который во время установки заклепки деформирует конец заклепки в "слепую" головку и также может расширять тело заклепки.
2 Элементы "слепой" заклепки показаны на рисунке 1.
1 - корпус "слепой" заклепки; 2 - конец "слепой" заклепки;
3 - головка "слепой" заклепки; 4 - стержень "слепой"
заклепки; 5 - сердцевина "слепой" заклепки; 6 - сердечник;
7 - головка сердечника; 8 - зона отрыва сердечника;
9 - хвостовик сердечника; 10 - конец сердечника
Рисунок 1 - Элементы заклепки
2.1.1 корпус "слепой" заклепки (blind rivet body): Элемент, состоящий из головки, стержня, конца и сердцевины.
2.1.1.1 головка "слепой" заклепки (blind rivet head): Часть корпуса заклепки, всегда расположенная на доступной или же на той стороне шва, с которой устанавливается заклепка.
2.1.1.1.1 выступающая головка "слепой" заклепки (protruding blind rivet head): Головка, выступающая после установки заклепки над поверхностью соединяемой детали (рисунок 2).
1 - головка "слепой" заклепки; 2 - "слепая" головка
Рисунок 2 - "Слепая" заклепка с выступающей головкой
2.1.1.1.2 потайная головка "слепой" заклепки (countersunk blind rivet head): После установки заклепки верхняя часть головки оказывается практически заподлицо с поверхностью соединяемой детали (рисунок 3).
1 - головка "слепой" заклепки; 2 - "слепая" головка
Рисунок 3 - "Слепая" заклепка с потайной головкой
2.1.1.2 стержень "слепой" заклепки (blind rivet shank): Часть корпуса заклепки от внутренней стороны головки до конца заклепки.
Примечание - Стержень заклепки обычно круглого сечения.
2.1.1.3 конец "слепой" заклепки (blind rivet end): Часть стержня заклепки с противоположной стороны от головки.
Примечание - Конец заклепки может быть открытым, закрытым или разделяющимся.
2.1.1.4 сердцевина "слепой" заклепки (blind rivet core): Отверстие вдоль оси корпуса заклепки.
Примечание - Сердцевина может быть как по всей длине корпуса, так и в отдельной его части.
2.1.2 сердечник (mandrel): Зафиксированный в корпусе "слепой" заклепки элемент, обычно с обозначенной зоной разрыва.
Примечания
1 Стержень сердечника может быть ровным или с насечками.
2 Вытягивание или запрессовка сердечника фиксирует заклепку, деформируя конец заклепки в "слепую" (замыкающую) головку.
2.1.3 "слепая" головка (blind head): Часть стержня "слепой" заклепки, удаленная от головки, формируемая сердечником при установке "слепой" заклепки (рисунки 2 и 3).
2.2 Типы сердечников
2.2.1 вытяжной сердечник (pull mandrel): После вставления заклепки в отверстие сердечник тянется вдоль оси заклепки, при этом его головка деформирует конец заклепки в "слепую" головку.
Примечание - Существует несколько типов вытяжных сердечников (2.2.1.1 - 2.2.1.6).
2.2.1.1 сердечник, протягиваемый насквозь (pull through mandrel): После вставления заклепки в отверстие сердечник полностью протягивается сквозь тело заклепки до получения сквозного отверстия (рисунок 4).
Рисунок 4 - Сердечник, протягиваемый насквозь
2.2.1.2 разрывающийся вытяжной сердечник (break pull mandrel): После установки заклепки сердечник разрывается около соединения его головки и хвостовика, при этом головка и небольшая часть хвостовика сердечника могут оставаться в корпусе заклепки (рисунок 5).
Рисунок 5 - Разрывающийся вытяжной сердечник
2.2.1.3 сердечник с отрывающейся головкой (break head mandrel): После установки заклепки сердечник разрывается в месте соединения его головки и хвостовика, при этом и хвостовик, и головка сердечника выпадают из корпуса заклепки (рисунок 6).
Рисунок 6 - Сердечник с отрывающейся головкой
2.2.1.4 неразрывающийся вытяжной сердечник (non-break pull mandrel): После установки заклепки сердечник не разрушается (рисунок 7).
Примечание - Хвостовик сердечника может быть впоследствии обработан заподлицо с головкой заклепки.
Рисунок 7 - Неразрывающийся вытяжной сердечник
2.2.1.5 вытяжной сердечник с заданной точкой разрыва (structural flush self-plugging break pull mandrel): Сердечник, который после установки заклепки отрывается у головки заклепки (рисунок 8).
Примечание - Длина части сердечника, оставшейся в корпусе заклепки, влияет на предельную срезающую нагрузку.
Рисунок 8 - Вытяжной сердечник с заданной точкой разрыва
2.2.1.6 ступенчатый вытяжной сердечник с заданной точкой разрыва (multi-grip flush break positive lock pull mandrel): Сердечник, который за счет заранее определенной деформации сердечника и/или тела заклепки повышает сопротивление выталкиванию сердечника и после установки заклепки обрывается в районе головки заклепки (рисунок 9).
Примечание - Этот тип сердечника дает заклепке способность скреплять детали с большим разбросом общей толщины пакета.
Рисунок 9 - Ступенчатый вытяжной сердечник
с заданной точкой разрыва
2.2.2 забивной штифт (drive pin): Установленный в корпусе заклепки выступающий над головкой заклепки элемент, который после вставления заклепки в отверстия скрепляемых деталей запрессовывается в тело заклепки заподлицо с верхней поверхностью головки заклепки, раздвигая собой конец заклепки и формируя таким образом "слепую" головку (рисунок 10).
Рисунок 10 - Забивной штифт
2.3 Типы стержней "слепых" заклепок
2.3.1 открытый конец (open end): Корпус заклепки со сквозным отверстием, который может использоваться с любым типом сердечника (рисунок 11).
Примечание - Типы сердечников см. в 2.2.1.1 - 2.2.1.6.
Рисунок 11 - Открытый конец
2.3.2 удлиненный открытый конец (open end, extended set): Корпус заклепки с открытым концом, характеристики которого позволяют соединять детали с большим разбросом по толщине (рисунок 12).
Рисунок 12 - Удлиненный открытый конец
2.3.3 закрытый конец (closed end): Корпус заклепки, конец которого закрыт и остается закрытым после установки заклепки (рисунок 13).
Примечание - Этот тип корпуса может использоваться с сердечниками типа 2.2.1.2 или 2.2.1.4.
Рисунок 13 - Закрытый конец
2.3.4 разделяющийся конец (split end): Корпус заклепки, конец которого разделен вдоль оси на два или более сегментов (рисунки 14 и 15).
Примечание - Этот тип корпуса может использоваться с сердечниками типов 2.2.1.1 - 2.2.1.4, 2.2.1.6 или типа 2.2.2.
Рисунок 14 - Разделяющийся конец
Рисунок 15 - Разделяющийся конец
2.3.5 разрезной стержень (slotted shank): Корпус заклепки, имеющий продольные разрезы в средней части стержня заклепки между головой и концом заклепки (рисунок 16).
Примечание - Этот тип корпуса может использоваться с сердечниками типов 2.2.1.1 - 2.2.1.5.
Рисунок 16 - Разрезной стержень
2.4 Типы сердцевин заклепок
2.4.1 заполненная сердцевина (filled core): Заклепка, у которой после установки сердечник остается в корпусе и заканчивается заподлицо с верхней частью головки заклепки (рисунки 7 - 9).
2.4.2 частично заполненная сердцевина (semi-filled core): Заклепка, у которой после установки в корпусе остается только небольшая часть сердечника (рисунок 5).
2.4.3 полая сердцевина (hollow core): Заклепка, после установки которой сердечник полностью удаляется из корпуса заклепки и остается сквозное отверстие.
2.5 Рабочие характеристики
2.5.1 предельная растягивающая нагрузка (ultimate tensile load): Предельная растягивающая нагрузка, которую может выдержать заклепка без разрушения.
2.5.2 предельная срезающая нагрузка (ultimate shear load): Предельная срезающая нагрузка, которую заклепка может выдержать однократно без разрушения.
2.5.3 усилие установки заклепки (rivet setting load): Усилие, необходимое для установки заклепки.
2.5.4 разрывающая нагрузка сердечника (mandrel break load): Нагрузка, необходимая для разрыва сердечника после установки заклепки.
2.5.5 стягивающая способность (pull-together capability): Способность заклепки при установке стягивать соединяемые детали.
2.5.6 сжимающее усилие (clamping force): Максимальное усилие, действующее на соединяемые детали в процессе установки заклепки.
2.5.7 остаточная нагрузка (residual load): Осевое усилие растяжения, действующее в заклепке после установки.
2.5.8 сопротивление сердечника выталкиванию (mandrel push out resistance): Сопротивление сердечника выталкиванию из корпуса заклепки до установки.
2.5.9 сопротивление выталкиванию головки сердечника (mandrel head retention capability): Способность заклепки после установки удерживать часть сердечника, оставшуюся в корпусе заклепки.
2.5.10 герметичность (sealing capability): Способность заклепки после установки не пропускать газы, жидкости и твердые частицы.
2.5.11 способность заполнять отверстие (hole fill capability): Показывает, насколько стержень заклепки заполняет отверстие после установки заклепки.
2.6 Размеры
2.6.1 "Слепая" заклепка
Размеры "слепой" заклепки приведены на рисунке 17.
b - слепая длина; d - диаметр заклепки; dk - диаметр
головки; dm - диаметр сердечника; k - высота головки;
l - длина заклепки; p - выступающая длина сердечника
Рисунок 17
2.6.1.1 длина заклепки (rivet length): Расстояние вдоль оси заклепки от внутренней стороны выступающей головки или от верхней поверхности потайной головки до конца заклепки.
2.6.1.2 слепая длина (blind length) (для заклепок с открытым концом): Расстояние вдоль оси заклепки от внутренней стороны выступающей головки или от верхней поверхности потайной головки до конца головки сердечника.
Примечание - Для заклепок с закрытым концом слепая длина равна длине заклепки.
2.6.1.3 выступающая длина сердечника (mandrel protrusion): Расстояние вдоль оси заклепки, на которое сердечник выступает из головки заклепки до установки.
2.6.2 Применение "слепых" заклепок
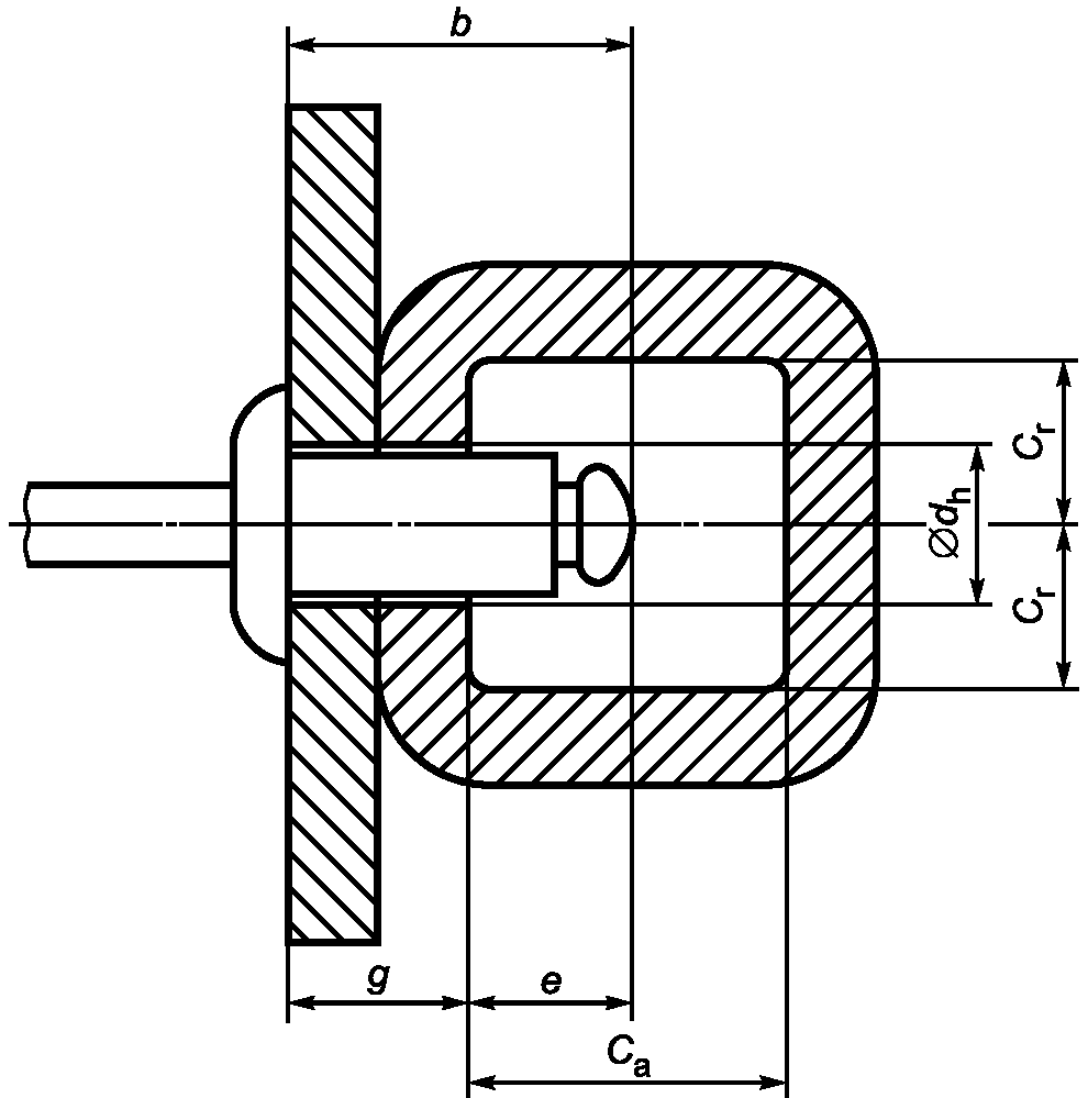
На рисунке 18 приведены размеры для применения "слепых" заклепок.
b - слепая длина; Ca - осевой зазор со "слепой" стороны;
Cr - радиальный зазор со "слепой" стороны; dh - диаметр
отверстия; e - выступающая длина "слепой" стороны;
g - толщина пакета
Рисунок 18
2.6.2.1 отверстие для заклепки (assembly hole): Отверстие в соединяемых деталях для установки заклепки.
2.6.2.2 толщина пакета (grip length): Общая толщина соединяемых деталей.
2.6.2.3 разброс толщины пакета (grip range): Минимальная и максимальная суммарная толщина соединяемых деталей, которые могут быть качественно соединены заклепкой данной номинальной длины.
2.6.2.4 выступающая длина "слепой" стороны (blind side protrusion): Разница между максимальной "слепой" длиной и минимальной толщиной пакета.
2.6.2.5 осевой зазор со "слепой" стороны (blind side axial clearance): Минимальное расстояние между внутренней поверхностью скрепляемой детали и поверхностью любого компонента или детали, находящихся напротив головки сердечника или конца заклепки.
Примечание - Для правильной установки и фиксации заклепки осевой зазор должен быть больше, чем выступ слепой стороны.
2.6.2.6 радиальный зазор со "слепой" стороны (blind side radial clearance): Расстояние от оси заклепки до любой части скрепляемых деталей, измеренное под прямым углом к оси заклепки.
Примечание - Для правильной установки и фиксации заклепки радиальный зазор должен быть больше, чем радиус головки "слепой" заклепки.
2.6.2.7 доступность инструменту (tool clearance): Минимальное пространство со стороны установки заклепки, необходимое для работы с установочным инструментом и правильной установки заклепки.
2.7 Установка заклепок и установочный инструмент
2.7.1 установка заклепки (setting): Вставление заклепки в отверстия соединяемых деталей и вытягивание или запрессовка сердечника для стягивания и фиксирования соединения.
2.7.1.1 установочный инструмент (setting tool): Устройство, предназначенное для установки заклепок.
Примечание - Установочный инструмент может быть ручным, пневматическим, гидравлическим, электрическим или с комбинированным приводом.
2.7.1.2 наконечник инструмента (nose assembly): Часть установочного инструмента, состоящая из зажима и тянущего механизма.
2.7.1.3 улавливатель сердечников (mandrel catcher): Часть установочного инструмента, предназначенная для улавливания сердечников, оторванных или вытянутых при установке заклепок.
2.7.1.4 система сбора сердечников (mandrel collection system): Часть установочного инструмента, в которую помещаются сердечники, оторванные или вытянутые при установке заклепок.
2.7.2 чистовая обработка (dressing): Последующие операции для удаления частей сердечника, выступающих над головкой заклепки.
УДК 621.884:006.354
ОКС 21.060.40
ОКП 16 8000
Ключевые слова: "слепая" заклепка, термины и определения, размеры