Главная // Актуальные документы // ГОСТ Р (Государственный стандарт)СПРАВКА
Источник публикации
М.: Стандартинформ, 2012
Примечание к документу
Документ
введен в действие с 1 июля 2012 года.
Название документа
"ГОСТ Р 54863-2011. Национальный стандарт Российской Федерации. Жалюзи и ставни. Определение дополнительного термического сопротивления"
(утв. и введен в действие Приказом Росстандарта от 15.12.2011 N 1568-ст)
"ГОСТ Р 54863-2011. Национальный стандарт Российской Федерации. Жалюзи и ставни. Определение дополнительного термического сопротивления"
(утв. и введен в действие Приказом Росстандарта от 15.12.2011 N 1568-ст)
Утвержден и введен в действие
агентства по техническому
регулированию и метрологии
от 15 декабря 2011 г. N 1568-ст
НАЦИОНАЛЬНЫЙ СТАНДАРТ РОССИЙСКОЙ ФЕДЕРАЦИИ
ЖАЛЮЗИ И СТАВНИ
ОПРЕДЕЛЕНИЕ ДОПОЛНИТЕЛЬНОГО ТЕРМИЧЕСКОГО СОПРОТИВЛЕНИЯ
Shutters and blinds.
Additional thermal resistance determination
EN 13125:2001
(NEQ)
ГОСТ Р 54863-2011
Дата введения
1 июля 2012 года
Цели и принципы стандартизации в Российской Федерации установлены Федеральным
законом от 27 декабря 2002 г. N 184-ФЗ "О техническом регулировании", а правила применения национальных стандартов Российской Федерации -
ГОСТ Р 1.0-2004 "Стандартизация в Российской Федерации. Основные положения".
1. Разработан Учреждением "Научно-исследовательский институт строительной физики" Российской академии архитектуры и строительных наук.
2. Внесен Техническим комитетом по стандартизации ТК 465 "Строительство".
3. Утвержден и введен в действие
Приказом Федерального агентства по техническому регулированию и метрологии от 15 декабря 2011 г. N 1568-ст.
4. Введен впервые.
5. Настоящий стандарт разработан с учетом основных положений европейского стандарта ЕН 13125-2001 "Жалюзи и ставни. Дополнительное термическое сопротивление" (EN 13125-2001 "Shutters and blinds - Additional thermal resistance", NEQ).
Наименование настоящего стандарта изменено по отношению к наименованию европейского стандарта для приведения в соответствие с ГОСТ Р 1.5-2004
(подраздел 3.5).
Информация об изменениях к настоящему стандарту публикуется в ежегодно издаваемом информационном указателе "Национальные стандарты", а текст изменений и поправок - в ежемесячно издаваемых информационных указателях "Национальные стандарты". В случае пересмотра (замены) или отмены настоящего стандарта соответствующее уведомление будет опубликовано в ежемесячно издаваемом информационном указателе "Национальные стандарты". Соответствующая информация, уведомление и тексты размещаются также в информационной системе общего пользования - на официальном сайте Федерального агентства по техническому регулированию и метрологии в сети Интернет.
Настоящий стандарт направлен на повышение энергоэффективности строительной продукции в части повышения требований к теплозащитным и светотехническим характеристикам оконных блоков в развитие положений Федеральных законов Российской Федерации от 23 ноября 2009 г.
N 261-ФЗ "Об энергосбережении и повышении энергоэффективности" и от 30 декабря 2009 г.
N 384-ФЗ "Технический регламент о безопасности зданий и сооружений".
Требования настоящего стандарта предназначены для применения организациями, независимо от формы собственности.
Настоящий стандарт распространяется на жалюзи и ставни для оконных и балконных дверных блоков общестроительного назначения с применением различных материалов и может быть использован при промышленном их выпуске и проектировании зданий в целом.
Настоящий стандарт устанавливает классификацию ставней, внутренних, наружных и межстекольных жалюзи по их воздухопроницаемости для расчета дополнительного термического сопротивления этих изделий.
Требования настоящего стандарта распространяются на ставни и жалюзи, установленные на окнах, остекленных дверях или перегородках таким образом, что в развернутом и закрытом состояниях между ними и слоем остекления имеется воздушный промежуток постоянной толщиной от 15 до 300 мм (для ставней и жалюзи, параллельных окнам или фасадам).
Требования настоящего стандарта применяют к следующим основным типам ставен и жалюзи:
- ставни: рольставни, ставни-жалюзи, сдвижные панели, ставни типа "гармошка";
- наружные жалюзи: вертикальные и горизонтальные для окон и фасадов, противовзломные;
- внутренние жалюзи: жалюзи, а также рулонные шторы, вертикальные жалюзи, гофрированные жалюзи;
- межстекольные жалюзи.
Настоящий стандарт не устанавливает специфических требований к ставням и жалюзи специального назначения (пулезащитным, противопожарным, взрывобезопасным и др.), которые изготавливают по нормативным документам на изделия конкретных видов, а также требования к механизированным и электрическим устройствам управления ставнями и жалюзи.
В настоящем стандарте использованы ссылки на следующие стандарты:
ГОСТ 26602.1-99. Блоки оконные и дверные. Методы определения сопротивления теплопередаче
| | ИС МЕГАНОРМ: примечание. В официальном тексте документа, видимо, допущена опечатка: стандарт имеет номер ГОСТ 26602.5-2001, а не ГОСТ 26602.5-99. | |
ГОСТ 26602.5-99. Блоки оконные и дверные. Методы определения сопротивления ветровой нагрузке.
Примечание. При пользовании настоящим стандартом целесообразно проверить действие ссылочных стандартов в информационной системе общего пользования - на официальном сайте Федерального агентства по техническому регулированию и метрологии в сети Интернет или по ежегодно издаваемому информационному указателю "Национальные стандарты", который опубликован по состоянию на 1 января текущего года, и по соответствующим ежемесячно издаваемым информационным указателям, опубликованным в текущем году. Если ссылочный стандарт заменен (изменен), то при пользовании настоящим стандартом следует руководствоваться заменяющим (измененным) стандартом. Если ссылочный стандарт отменен без замены, то положение, в котором дана ссылка на него, применяется в части, не затрагивающей эту ссылку.
В настоящем стандарте применены следующие термины с соответствующими определениями:
3.1. Воздухопроницаемость: свойство конструкции окна пропускать воздух в закрытом состоянии при наличии разности давления на его наружной и внутренней поверхностях, численно выраженное объемом потока воздуха через единицу площади поверхности конструкции в единицу времени при постоянной разности давлений на поверхностях оконного блока.
3.2. Жалюзи: система связанных между собой горизонтальных или вертикальных пластин, устанавливаемых снаружи, внутри оконного блока или в межстекольном пространстве стеклопакета.
3.3. Короб: часть рольставни, в которой располагается смотанное полотно и вал.
3.4. Коэффициент воздухопроницаемости окна: воздухопроницаемость окна при разности давлений на его поверхностях 1 Па.
3.5. Коэффициент теплопередачи окна: величина, численно равная значению поверхностной плотности теплового потока, проходящего через конструкцию окна при разности внутренней и наружной температур воздуха 1 К.
3.6. Ламель: деталь жалюзи, рольставни и ставни в виде пластины, выполненная из металла, пластика или ткани.
3.7. Окно: элемент стеновой или кровельной конструкции, предназначенный для сообщения внутренних помещений с окружающим пространством, естественного освещения помещения, их вентиляции, защиты от атмосферных, шумовых воздействий и состоящий из оконного проема с откосами, оконного блока, системы уплотнения монтажных швов, подоконной доски, деталей слива и облицовок.
3.8. Оконный блок: светопрозрачная конструкция, предназначенная для естественного освещения помещений, его вентиляции, защиты от атмосферных и шумовых воздействий, состоящая из сборочных единиц - коробки и створчатых элементов, может включать в себя встроенные системы проветривания и дополнительные элементы (жалюзи, ставни и пр.).
3.9. Приведенный коэффициент теплопередачи окна: величина, численно равная средней величине теплового потока, приходящейся на единицу площади окна, включая светопропускающее заполнение и непрозрачные (несущие) элементы, при разности внутренней и наружной температур воздуха 1 К.
3.10. Приведенное сопротивление теплопередаче окна: величина, обратная приведенному коэффициенту теплопередачи окна.
3.11. Профиль: часть рольставни в форме полос любого сечения, из которых формируется полотно.
3.12. Рольставни: механическое или электромеханическое устройство, состоящее из полотна с концевым профилем, вала с элементами его установки и крепления, элементов подвеса полотна к валу, направляющих шин, привода и защитного короба.
3.13. Сопротивление воздухопроницанию окна: величина, обратная коэффициенту воздухопроницаемости.
3.14. Сопротивление теплопередаче конструкции окна: величина, обратная коэффициенту теплопередачи.
3.15. Ставни: конструкции, изготавливаемые из ламелей или пластин, устанавливаемые снаружи на окно для защиты от чрезмерной инсоляции, шума.
3.16. Стеклопакеты: объемные изделия, состоящие из двух или трех листов стекла, соединенных между собой по контуру с помощью дистанционных рамок и герметиков, образующих герметически замкнутые камеры, заполненные осушенным воздухом или другим газом.
3.17. Теплопередача: перенос теплоты через ограждающую конструкцию от взаимодействующей с ней средой с более высокой температурой к среде с другой стороны конструкции с более низкой температурой.
4. Ставни - классификация по воздухопроницаемости
4.1. Признаки классификации
Коэффициент воздухопроницаемости определяется параметрами общего технологического монтажного зазора между ставнями (наружными жалюзи) и ограждением окна по формуле

, (1)
где

- общий технологический монтажный зазор;

,

,

- усредненные технологические монтажные зазоры с верхней, нижней и боковой сторон ставни (наружных жалюзи) соответственно.
Определение величины технологических монтажных зазоров показано на
рисунке 1.
Примечание. Размер

включен в расчет только для одной из сторон, поскольку боковые технологические монтажные зазоры на общую воздухопроницаемость влияют в значительно меньшей степени, чем верхний и нижний технологические зазоры.
Рисунок 1. Определение величины
технологических монтажных зазоров
Для рольставней в качестве

берется наименьший технологический монтажный зазор на входе ставни в рулонный короб.
Значения технологических монтажных зазоров должны быть указаны производителем в инструкции по установке ставней (наружных жалюзи).
В случае, если параметры технологических монтажных зазоров не могут быть определены с достаточной точностью, воздухопроницаемость определяется в процессе лабораторных испытаний.
Ставни (наружные жалюзи) подразделяют в соответствии с воздухопроницаемостью и дополнительным термическим сопротивлением

оконных блоков на:
- класс 5: ставни (наружные жалюзи) с очень высокой воздухопроницаемостью.
Характеристика конструкции:
ставни (наружные жалюзи), у которых общая площадь технологических и других отверстий (технологических монтажных зазоров, неплотностей, щелей в полотне) не превышает 25% общей поверхности светопроема.
Дополнительное термическое сопротивление оконного блока:

.
Величина общего технологического монтажного зазора, мм,

;
- класс 4: ставни (наружные жалюзи) с высокой воздухопроницаемостью.
Характеристики конструкции:
ставни (наружные жалюзи) со сплошным полотном (без неплотностей и щелей).
Дополнительное термическое сопротивление оконного блока:

.
Величина общего технологического монтажного зазора, мм,

;
- класс 3: ставни (наружные жалюзи) со средней воздухопроницаемостью.
Характеристики конструкции:
ставни (наружные жалюзи) со сплошным полотном и боковыми направляющими.
Дополнительное термическое сопротивление окна:

.
Величина общего технологического монтажного зазора, мм:

;
- класс 2: ставни (наружные жалюзи) с низкой воздухопроницаемостью.
Характеристики конструкции:
ставни (наружные жалюзи) со сплошным полотном и специальными боковыми направляющими.
Дополнительное термическое сопротивление оконного блока:

.
Величина общего технологического монтажного зазора, мм:

;
- класс 1: герметичные ставни (наружные ставни).
Характеристики конструкции:
ставни (наружные жалюзи) со сплошным полотном и специальными боковыми направляющими.
Дополнительное термическое сопротивление окна:

.
Величина общего технологического монтажного зазора, мм:

, при этом

или

.
В вышеприведенных характеристиках конструкций величина

- термическое сопротивление полотна ставен (наружных жалюзи).
Приведенные выше соотношения действительны для

.
Значение термического сопротивления полотна ставен (наружных жалюзи) определяется:
- расчетом в соответствии с
[1] для полотен из однородных материалов или
[2] для полотен или окон с неоднородными включениями, или в соответствии с
[3] для окон.
Значения

и

заданы с точностью до двух знаков после запятой по следующим правилам округления:
>= 0,005 = 0,01;
< 0,005 = 0,00.
На значение

не влияет наличие короба для рольставен (подробнее -
раздел 6).
4.2. Типы устройств, классы которых принимаются без дополнительных расчетов
В таблице 1 приведена классификация устройств, к которым относятся ставни и другие изделия, где нельзя определить значение

(остальные показатели и характеристики в соответствии с
4.1).
Таблица 1
Классификация устройств
Характеристика устройств | Класс в соответствии |
Ставни типа "гармошка", ставни с поворотными сегментами и ламелями, складные ставни с фиксированными размерами | 5 |
Ставни без отверстий и щелей в закрытом состоянии, наружные жалюзи с жестко закрепленными в закрытом состоянии ламелями | 4 |
Ставни типа "гармошка" без отверстий и щелей в закрытом состоянии, сплошные ставни с плотно подогнанными сегментами и ламелями | 3 |
Рольставни с уплотнителем (без щелей в закрытом состоянии) | 2 |
4.3. Отличительные признаки устройств класса 1
К классу 1 (герметичные ставни) относятся следующие конструкции:
а) рольставни - при следующих условиях:
- особенности конструкции:
величина технологического монтажного зазора

принимается равной нулю, если ламели подаются по специальным направляющим (со щеточным или манжетным уплотнением) вне зависимости от кривизны контура направляющей планки,
величина технологического монтажного зазора

принимается равной нулю при наличии уплотнительной планки внизу последней ламели рольставни,
величина технологического монтажного зазора

принимается равной нулю, если реализовано любое из приведенных на
рисунках 2а и
2б соединений на входе в короб для рольставней;
- особенности монтажа:
обеспечение герметичного соединения между направляющими и оконными рамами,
обеспечение герметичного соединения между коробом для рольставни и наружной ограждающей конструкцией или окном (см.
рисунки 3в и
3г),
обеспечение плотного соединения нижней уплотнительной планки последней ламели рольставни с внешним отливом оконного блока;
б) иные типы ставней - при выполнении следующего условия:
наличие уплотнительных планок с трех сторон рольставни, четвертая сторона удовлетворяет условию

или

;
в) герметичность рольставней подтверждена измерениями воздухопроницаемости:
воздухопроницаемость Q, измеренная в соответствии с
ГОСТ 26602.5, должна соответствовать следующим условиям:

,
где Q - приведенное значение воздушного потока, проходящего через ставню общей площадью S, при разности давлений 10 Па между наружной и внутренней поверхностями остекления.
Примечания. 1. В полностью развернутом состоянии рольставни, устройство (см.
рисунок 2а) обеспечивает плотное прилегание к стенке рулонного короба с использованием уплотнительного материала.
2. Входное отверстие короба для рольставни оборудовано манжетным или щеточным уплотнением с обеих сторон полотна (см. рисунок 2б).
1 - уплотнительный материал; 2 - выжимная пружина;
3 - щеточное или манжетное уплотнение
Рисунок 2. Примеры выполнения условия

для рольставней
Рисунок 3. Короб для рольставни - способы установки
Такие ставни должны поставляться и монтироваться вместе со специальными герметизирующими элементами, позволяющими обеспечить приведенные выше условия воздухопроницаемости.
5. Жалюзи наружные, внутренние, межстекольные -
классификация по воздухопроницаемости
5.1. Признаки классификации
Классификацию жалюзи по воздухопроницаемости проводят по следующим показателям:
- ширина технологических монтажных зазоров;
- воздухопроницаемость жалюзи в закрытом и открытом состояниях.
Показатель воздухопроницаемости

, мм, определяется отношением

,
где

- суммарная величина технологических монтажных зазоров

,

,

, мм, в соответствии с
4.1;
p - отношение площади технологических монтажных зазоров, неплотностей, щелей в полотне к общей площади полотна.
Для тканей p - показатель пористости ткани, оцененный в соответствии с
[4].
Для жалюзи (венецианских горизонтальных) p - отношение суммарной площади остаточных зазоров между ламелями в закрытом состоянии к общей площади конструкции. Без испытаний для таких изделий принимают суммарный показатель p = 0,04.
5.2. Наружные жалюзи
Наружные жалюзи подразделяют на следующие классы:
- класс 3: жалюзи с высокой и очень высокой воздухопроницаемостью.
Дополнительное термическое сопротивление окна:

.
Показатель воздухопроницаемости:

;
- класс 2: жалюзи со средней воздухопроницаемостью.
Дополнительное термическое сопротивление окна:

.
Показатель воздухопроницаемости:

;
- класс 1: жалюзи с низкой воздухопроницаемостью.
Дополнительное термическое сопротивление окна:

.
Показатель воздухопроницаемости:

.
5.3. Внутренние и межстекольные жалюзи
Внутренние и межстекольные жалюзи подразделяют на следующие классы:
- класс 3: жалюзи с высокой и очень высокой воздухопроницаемостью.
Дополнительное термическое сопротивление окна:

.
Показатель воздухопроницаемости:

;
- класс 2: жалюзи со средней воздухопроницаемостью.
Дополнительное термическое сопротивление окна:

.
Показатель воздухопроницаемости:

;
- класс 1: жалюзи с низкой воздухопроницаемостью.
Дополнительное термическое сопротивление окна:

.
Показатель воздухопроницаемости:

.
Вертикальные жалюзи относят к классу 5 вне зависимости от значения p.
Значения

, полученные для межстекольных жалюзи и приведенные выше, используются только в случае, если полотно жалюзи в закрытом состоянии расположено на расстоянии не менее 12 мм от каждого из оконных стекол.
Примечание. При невыполнении вышеуказанных условий эффективность жалюзи может быть значительно снижена, особенно в случае применения металлических жалюзи.
Стандартные значения технологических монтажных зазоров

,

,

в зависимости от метода установки и настройки представлены в
Приложении А.
5.4. Жалюзи с односторонним теплоотражающим покрытием
Значение дополнительного термического сопротивления

, указанное в
5.3, должно быть умножено на коэффициент k со следующими его значениями:
- в случае использования внутренних жалюзи с покрытием с низким коэффициентом излучения на стороне, обращенной к стеклу:

;
- в случае использования межстекольных жалюзи с покрытием с низким коэффициентом излучения на стороне, обращенной к внутреннему стеклу:

,
где

- коэффициент излучения указанной стороны жалюзи, определяемый в соответствии с
[5].
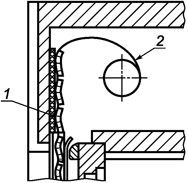
6. Короба для рольставней
6.1. Короб для рольставни, независимый от оконной рамы (например, для последующей установки рольставней)
Короб для рольставни не влияет на значение

в случае, если он установлен:
- внутри проема, и его термическое сопротивление выше термического сопротивления рольставни (см.
рисунок 3в).
Короб для рольставни не влияет на значение

, поскольку является составной частью здания и рассчитывается как его часть.
(справочное)
СТАНДАРТНЫЕ ЗНАЧЕНИЯ ВНЕШНИХ ТЕХНОЛОГИЧЕСКИХ
МОНТАЖНЫХ ЗАЗОРОВ ДЛЯ ВНУТРЕННИХ И МЕЖСТЕКОЛЬНЫХ ЖАЛЮЗИ
Для определения класса сопротивления теплопередаче в таблицах А.1 и
А.2 приведены стандартные значения внешних технологических монтажных зазоров для внутренних и межстекольных жалюзи в зависимости от варианта их установки:

- нижний технологический монтажный зазор;

- верхний технологический монтажный зазор;

- боковой технологический монтажный зазор.
Таблица А.1
Внутренние жалюзи - стандартные значения
внешних технологических монтажных зазоров
┌─────────────┬────────────┬────────────┬──────────┬───────────┬──────────┐
│ Изделие │Расположение│ Установка │ Нижний │ Верхний │ Боковой │
│ │ │ │зазор e , │ зазор e , │зазор e , │
│ │ │ │ 1 │ 2 │ 3 │
│ │ │ │ мм │ мм │ мм │
├─────────────┼────────────┼────────────┼──────────┼───────────┼──────────┤
│Гофрированные│На окне │ Точная │ 0 │ 0 │ 20 │
│жалюзи │ │Регулируемая│ 0 │ 0 │ 2 │
│ │На обрезе │ Точная │ 25 │ 0 │ 60 │
│ │стены │Регулируемая│ 0 │ 0 │ 17 │
├─────────────┼────────────┼────────────┼──────────┼───────────┼──────────┤
│Венецианские │На окне │ Точная │ 10 │ 3 │ 10 │
│жалюзи │ │Регулируемая│ 5 │ 3 │ 3 │
│ │На обрезе │ Точная │ 50 │ 3 │ 60 │
│ │стены │Регулируемая│ 5 │ 3 │ 17 │
├─────────────┼────────────┼────────────┼──────────┼───────────┼──────────┤
│Рулонные │На окне │ Точная │ 50 │ 40 │ 40 │
│шторы без │ │Регулируемая│ 10 │ 20 │ 20 │
│направляющих │На обрезе │ Точная │ 55 │ 40 │ 55 │
│и короба │стены │Регулируемая│ 20 │ 20 │ 20 │
├─────────────┼────────────┼────────────┼──────────┼───────────┼──────────┤
│Рулонные │На стене │ Точная │ 20 │ 10 │ 15 │
│шторы с │или │ │ │ │ │
│направляющими│на обрезе │Регулируемая│ 10 │ 2 │ 2 │
│и коробом │стены │ │ │ │ │
├─────────────┴────────────┴────────────┴──────────┴───────────┴──────────┤
│ Примечание. Регулируемая установка означает, что размеры жалюзи│
│должны быть определены по месту. │
└─────────────────────────────────────────────────────────────────────────┘
Таблица А.2
Межстекольные жалюзи - стандартные значения
внешних технологических монтажных зазоров
┌──────────────┬──────────────┬─────────────┬─────────┬─────────┬─────────┐
│ Изделие │ Расположение │ Установка │ Нижний │Верхний │ Боковой │
│ │ │ │зазор e ,│зазор e ,│зазор e ,│
│ │ │ │ 1 │ 2 │ 3 │
│ │ │ │ мм │ мм │ мм │
├──────────────┼──────────────┼─────────────┼─────────┼─────────┼─────────┤
│Гофрированные │Встроенные │Регулируемая │ 0 │ 0 │ 2 │
│жалюзи │ │ │ │ │ │
├──────────────┼──────────────┼─────────────┼─────────┼─────────┼─────────┤
│Венецианские │Встроенные │Регулируемая │ 3 │ 5 │ 2 │
│жалюзи │ │ │ │ │ │
├──────────────┼──────────────┼─────────────┼─────────┼─────────┼─────────┤
│Рулонные шторы│Встроенные │Регулируемая │ 10 │ 5 │ 5 │
└──────────────┴──────────────┴─────────────┴─────────┴─────────┴─────────┘
[1] ЕН ИСО 6946:2007 Конструкции ограждающие строительные
и их элементы. Термическое сопротивление
и теплопередача. Методика расчета
[2] ЕН ИСО 10211-1:1995 Мостики тепловые в зданиях. Тепловые потоки
и температура поверхности. Часть 1: Общие методы
расчета
[3] ЕН ИСО 10077-2:2003 Характеристика тепловая окон, дверей и жалюзи.
Расчет коэффициента пропускания тепла. Часть 2.
Численный метод для рам
[4] ЕН 14500:2008 Жалюзи и ставни. Тепловой и зрительный комфорт.
Методы испытания и расчета
[5] ЕН 673:2001 Стекло в строительстве - Определение коэффициента
теплопередачи - Метод расчета.