Главная // Актуальные документы // ГОСТ Р (Государственный стандарт)СПРАВКА
Источник публикации
М.: Стандартинформ, 2006
Примечание к документу
Введен в действие с 1 января 2007 года.
Название документа
"ГОСТ Р 52531-2006. Дистилляты нефтяные. Хроматографический метод определения метил-третбутилового эфира"
(утв. Приказом Ростехрегулирования от 09.03.2006 N 28-ст)
"ГОСТ Р 52531-2006. Дистилляты нефтяные. Хроматографический метод определения метил-третбутилового эфира"
(утв. Приказом Ростехрегулирования от 09.03.2006 N 28-ст)
Утвержден и введен в действие
Приказом Ростехрегулирования
от 9 марта 2006 г. N 28-ст
НАЦИОНАЛЬНЫЙ СТАНДАРТ РОССИЙСКОЙ ФЕДЕРАЦИИ
ДИСТИЛЛЯТЫ НЕФТЯНЫЕ
ХРОМАТОГРАФИЧЕСКИЙ МЕТОД
ОПРЕДЕЛЕНИЯ МЕТИЛ-ТРЕТБУТИЛОВОГО ЭФИРА
Petroleum distillates. Determination of methyl
tertiarybutyl ether chromatography method
ГОСТ Р 52531-2006
Дата введения
1 января 2007 года
Цели и принципы стандартизации в Российской Федерации установлены Федеральным
законом от 27 декабря 2002 г. N 184-ФЗ "О техническом регулировании", а правила применения национальных стандартов Российской Федерации -
ГОСТ Р 1.0-2004 "Стандартизация в Российской Федерации. Основные положения".
1. Разработан Открытым акционерным обществом "Всероссийский научно-исследовательский институт по переработке нефти" (ОАО "ВНИИНП").
2. Внесен Техническим комитетом по стандартизации ТК 31 "Нефтяные топлива и смазочные материалы".
3. Утвержден и введен в действие Приказом Федерального агентства по техническому регулированию и метрологии от 9 марта 2006 г. N 28-ст.
4. Введен впервые.
1.1. Настоящий стандарт распространяется на нефтяные дистилляты и устанавливает хроматографический метод определения содержания метил-третбутилового эфира (МТБЭ) (примеси, загрязняющей нефтепродукты) в диапазоне от 25 до 5000 ppm.
В зависимости от применяемой аппаратуры используют два метода:
А - с применением насадочной колонки,
Б - с применением капиллярной колонки.
В настоящем стандарте использованы нормативные ссылки на следующие стандарты:
ГОСТ 1770-74. Посуда мерная лабораторная стеклянная. Цилиндры, мензурки, колбы, пробирки. Общие технические условия
ГОСТ 29227-91 (ИСО 835-1-81). Посуда лабораторная стеклянная. Пипетки градуированные. Общие требования.
Примечание. При пользовании настоящим стандартом целесообразно проверить действие ссылочных стандартов в информационной системе общего пользования - на официальном сайте Федерального агентства по техническому регулированию и метрологии в сети Интернет или по ежегодно издаваемому информационному указателю "Национальные стандарты", который опубликован по состоянию на 1 января текущего года, и по соответствующим ежемесячно издаваемым информационным указателям, опубликованным в текущем году. Если ссылочный документ заменен (изменен), то при пользовании настоящим стандартом следует руководствоваться замененным (измененным) документом. Если ссылочный документ отменен без замены, то положение, в котором дана ссылка на него, применяется в части, не затрагивающей эту ссылку.
В настоящем стандарте применен следующий термин с соответствующим определением:
3.1. Нефтяной дистиллят; НД - дистиллят светлых нефтепродуктов с началом кипения 30 °С и концом кипения 180 °С при атмосферном давлении.
Примечание. Легкий нефтяной дистиллят - легковоспламеняющийся материал, который хранят в прохладном, хорошо проветриваемом и защищенном от источников воспламенения месте.
4.1. Сущность метода состоит в предварительном концентрировании метил-третбутилового эфира на адсорбционной колонке, заполненной силикагелем, двумя растворителями (неполярным и полярным) с последующим анализом концентрата методом газовой хроматографии.
Неполярный и полярный растворители применяют последовательно с окончательным элюированием метил-третбутилового эфира полярным растворителем. Элюат доводят до стандартного объема, к которому затем добавляют внутренний стандарт - этил-третбутиловый эфир (ЭТБЭ). Образец полученного элюата вместе с внутренним стандартом вводят в газохроматографическую колонку, в которой поддерживается изотермический режим. Элюированный неполярный растворитель, МТБЭ и внутренний стандарт выписываются на хроматограмме в виде отдельных хроматографических пиков. На окончательной стадии температуру в колонке повышают для элюирования полярного растворителя. Определяют содержание МТБЭ, измеряя площади пиков методом внутреннего стандарта.
5.1. Адсорбент - силикагель Дэвисона марки 923.
Примечание. Силикагель следует поместить на плоском поддоне в термостат на 10 - 12 ч при температуре 150 °С, после чего хранить в вакуумированном эксикаторе до тех пор, пока не потребуется использовать его в качестве насадки в колонке. Допускается сушить силикагель на плоском поддоне при температуре 175 °С в течение 3 ч.
5.2. Растворители.
5.2.1. Гексан, х.ч., не содержащий МТБЭ.
5.2.2. Изопропанол, х.ч., не содержащий МТБЭ.
5.2.3. Метанол, х.ч., не содержащий МТБЭ.
Примечание. Гексан и изопропанол - легковоспламеняющиеся взрывоопасные материалы, которые хранят вдали от любых источников воспламенения. Метанол является ядом. При его применении необходимо строго следовать инструкциям по технике безопасности.
5.3. Наполнитель для газохроматографической колонки (
метод А).
5.3.1. Жидкая фаза.
В качестве жидкой фазы используется 1,2,3-трис(2-цианоэтокси)пропан (ТЦЭП) <*>.
--------------------------------
<*> Стандартные наборы для хроматографии.
5.3.2. Твердая фаза.
В качестве твердой фазы в
методе А применяют хромосорб PAW с частицами размером 80 - 100 меш.
5.4. Метил-третбутиловый эфир (МТБЭ) квалификации х.ч.
5.5. Этил-третбутиловый эфир (ЭТБЭ) квалификации х.ч.
Примечание. МТБЭ и ЭТБЭ - взрывоопасные, легковоспламеняющиеся материалы, которые хранят вдали от всех источников возгорания.
5.6. Допускается применять реактивы другой квалификации, не снижающей точность результатов испытания.
5.7. Стандартные образцы (ОСО).
5.7.1. МТБЭ-1, N 185-2000.
5.7.2. МТБЭ-2, N 186-2000.
5.7.3. МТБЭ-3, N 187-2000.
6.1. Газовый хроматограф.
Для выполнения испытания применяют любой газовый хроматограф, отвечающий следующим характеристикам:
6.1.1. Термостат хроматографической колонки.
Для того чтобы вместить колонку, термостат должен быть достаточных размеров, а также снабжен устройством программирования температуры, способным работать за пределами области требуемых температур со скоростью, превышающей программную.
6.1.2. Инжектор.
6.1.2.1. В
методе А применяют инжектор для насадочной колонки, представляющий собой систему впрыскивания, соответствующую размерам колонки и способную работать непрерывно при температуре не менее 250 °С.
6.1.2.2. В
методе Б применяют инжектор для капиллярной колонки, представляющий собой раздельную систему впрыскивания, способную непрерывно работать при температуре не менее 250 °С.
6.1.3. Детектор.
Одноканальный пламенно-ионизационный детектор, способный работать непрерывно при температуре не менее 250 °С.
6.2. Система обработки данных.
В качестве средства измерения площадей пиков отдельных компонентов применяют компьютерную систему обработки данных, либо электронный интегратор.
6.3. Хроматографическая колонка.
6.3.1. В
методе А используют колонку длиной 4 или 6 м и наружным диаметром 3,2 мм, представляющую собой трубку из отожженной нержавеющей стали, заполненную 20% (масс.) 1,2,3-трис(2-цианоэтокси)пропана (ТЦЭП) на Хромосорбе PAW с частицами размером 80 - 100 меш.
6.3.2. В
методе Б используют колонку длиной 50 м и внутренним диаметром 0,25 мм из плавленого кварцевого стекла, покрытого жидкой фазой ТЦЭП с пленкой толщиной 0,2

.
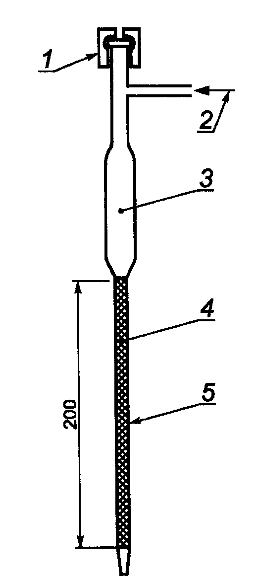
6.4. Адсорбционная колонка (с силикагелем) (рисунок 1).
1 - резьбовое соединение; 2 - давление воздуха;
3 - резервуар объемом 25 см3; 4 - силикагель;
5 - трубка с внешним диаметром 7 мм
и внутренним диаметром 4 мм
Рисунок 1. Адсорбционная колонка с силикагелем
Адсорбционная колонка может быть изготовлена из пирексной трубки длиной 200 мм, наружным диаметром 7 мм и внутренним диаметром 4 мм, в верхней части которой расположен резервуар, способный вместить 25 см3 образца. Над резервуаром имеется боковой отвод, к которому подводят сжатый воздух для создания давления в колонке. Над боковым отводом расположено быстросъемное резьбовое соединение, позволяющее навинчивать колпачок с мембранным уплотнителем, который дает возможность быстро сбрасывать давление воздуха.
6.5. Для испытания используют мерные колбы вместимостью 5 см3 и пипетки вместимостью 5 и 25 см3.
6.6. Микрошприцы.
Для приготовления калибровочных стандартов и ввода образцов требуется набор шприцев на 10 - 250 мкл. Для определения низких и высоких концентраций МТБЭ рекомендуется использовать разные шприцы.
7. Подготовка к испытанию
7.1. Калибровочные растворы
Калибровочные растворы, содержащие смесь МТБЭ и ЭТБЭ, готовят в мерных колбах вместимостью 5 см3. В качестве разбавителя используют изопропанол. Смеси охватывают диапазон концентраций компонентов от 50 до 5000 ppm. Концентрации МТБЭ и ЭТБЭ в смеси рассчитывают на массу исходного образца, т.е. их концентрация в конкретной стандартной смеси в 10 раз меньше, чем в исходном образце.
7.1.1. Смесь с исходной концентрацией 50 ррт для каждого компонента:
2,5 мкл каждого компонента доводят изопропанолом или метанолом до объема 5 см3.
7.1.2. Смесь с концентрацией 100 ppm для каждого компонента:
5 мкл каждого компонента доводят изопропанолом или метанолом до 5 см3.
7.1.3. Смесь с концентрацией 500 ppm для каждого компонента:
25 мкл каждого компонента доводят изопропанолом или метанолом до 5 см3.
7.1.4. Смесь с концентрацией 1000 ppm для каждого компонента:
50 мкл каждого компонента доводят изопропанолом или метанолом до 5 см3.
7.1.5. Смесь с концентрацией 5000 ppm для каждого компонента:
250 мкл каждого компонента доводят изопропанолом или метанолом до 5 см3.
Примечание. Калибровочные растворы готовят таким образом, чтобы они представляли собой эквивалентные концентрации в исходном образце, и концентрации, получающиеся при элюировании на силикагеле.
7.2. Раствор внутреннего стандарта.
7.2.1. В мерную колбу вместимостью 10 см3 помещают 0,25 см3 ЭТБЭ и доводят изопропанолом или метанолом до метки.
7.3. Хроматографические колонки.
7.3.1. Готовят фазу ТЦЭП и заполняют ею насадочную колонку (
метод А) или капиллярную колонку (
метод Б) общепринятым способом. Колонку оставляют кондиционироваться в течение 12 ч при максимальной рабочей температуре с включенным потоком газа-носителя. При этом выходное отверстие колонки должно быть отсоединено от детектора. После кондиционирования соединяют выход колонки с детектором и проверяют ее разрешающую способность (7.3.2).
7.3.2. Разрешающая способность насадочной или капиллярной колонки.
Для проверки разрешающей способности колонки используют смесь, приготовленную по
7.1.1. Установив режим прибора согласно таблице 1, вводят шприцем 1 мкл калибровочной смеси и получают хроматограмму.
Таблица 1
Условия эксплуатации насадочной колонки (
метод А)
┌─────────────────────────────────┬──────────────────────────────┐
│ Наименование параметра │ Показатели │
├─────────────────────────────────┼──────────────────────────────┤
│Колонка │Длина 4 м или 6 м; наружный │
│ │диаметр 3,2 мм; нержавеющая │
│ │сталь; насадка ТЦЭП 20% масс. │
│ │на Хромосорбе PAW, размер │
│ │гранул 80 - 100 меш. │
│Начальная температура колонки, °С│35 - 70 │
│Время выдержки при начальной │15 │
│температуре, мин │ │
│Скорость программирования │20 │
│температуры, °С/мин │ │
│Конечная температура колонки, °С │130 │
│Газ-носитель │Гелий │
│Скорость подачи газа-носителя, │12 │
│см3/мин │ │
│Температура детектора, °С │200 │
│Температура инжектора, °С │200 │
│Объем образца, мкл │0,5 - 3,0 <*> │
├─────────────────────────────────┴──────────────────────────────┤
│ <*> Объем образца зависит от чувствительности детектора и│
│разрешающей способности колонки. │
└────────────────────────────────────────────────────────────────┘
Разрешающую способность колонки (R) рассчитывают по уравнению

, (1)
где

- расстояние между максимумами хроматографических пиков ЭТБЭ и МТБЭ, мм;

и

- ширина пиков ЭТБЭ и МТБЭ соответственно на базовой линии, мм.
Разрешающая способность колонки, рассчитанная с помощью приведенного выше уравнения, должна быть не ниже 1,0.
7.3.3. Адсорбционная колонка (силикагель).
7.3.4. Адсорбционная колонка заполняется свежим активированным силикагелем непосредственно перед процедурой элюирования образца. Отвинчивают от пирексной колонки колпачок с мембранной прокладкой-уплотнителем, прекращают подвод воздуха и вставляют в верхнюю часть колонки маленькую воронку. Извлекают активированный силикагель из эксикатора и заполняют им колонку до дна резервуара при одновременном легком постукивании по стенкам колонки для уплотнения набивки силикагеля. Для каждого испытания используют свежую порцию силикагеля.
7.4. Хроматограф.
7.4.1. Устанавливают прибор в соответствии с инструкциями изготовителя. Пользуясь данными
таблицы 1 (
метод А) или таблицы 2 (
метод Б), задают рабочий режим.
Таблица 2
Условия эксплуатации капиллярной колонки (
метод Б)
┌─────────────────────────────────┬──────────────────────────────┐
│ Наименование параметра │ Показатели │
├─────────────────────────────────┼──────────────────────────────┤
│Колонка │Длина 50 м, внутренний диаметр│
│ │0,25 мм, плавленый кварц, │
│ │покрытый фазой ТЦЭП, пленка │
│ │толщиной 0,2 мк │
│Начальная температура колонки, °С│35 │
│Время выдержки при начальной │8 │
│температуре, мин │ │
│Скорость программирования │5 │
│температуры, °С/мин │ │
│Конечная температура колонки, °С │80 │
│Давление газа-носителя на входе │0,9 │
│в колонку, бар │ │
│Газ-носитель │Гелий │
│Температура детектора, °С │200 │
│Температура инжектора, °С │200 │
│Объем образца, мкл │0,5 - 1,0 <*> │
├─────────────────────────────────┴──────────────────────────────┤
│ <*> Объем образца зависит от чувствительности детектора и│
│разрешающей способности колонки. │
└────────────────────────────────────────────────────────────────┘
8.1. Калибровка
Соблюдая режим, указанный в
таблице 1, шприцем вводят в хроматограф одинаковые объемы каждого из калибровочных растворов, приготовленных в соответствии с
7.1, проводят анализ и измеряют площадь пиков каждого из компонентов. Строят калибровочный график зависимости площади пика каждого компонента от концентрации. График линейный и проходит через начало координат для каждого из компонентов. В соответствии с
9.1 рассчитывают значение относительного поправочного коэффициента чувствительности для МТБЭ. Если кривые калибровки не проходят через начало координат, следует проверить степень чистоты используемого растворителя. Калибровку проводят не реже одного раза в квартал.
Соблюдая режим, указанный в
таблице 2, выполняют анализ калибровочных стандартов (
5.5). Измеряют площади пиков для каждого компонента. Рассчитывают значение относительного поправочного коэффициента чувствительности МТБЭ (
9.1).
8.2. Элюирование на силикагеле
8.2.1. Отмеряют пипеткой 25 см3 пробы НД и помещают в резервуар колонки, после чего пропускают его под давлением в 30 - 60 кПа через колонку с силикагелем, подготовленную способом, описанным в
7.4.1. Элюат собирают в стеклянную емкость.
Примечание. В целях предупреждения поломки пипетки с наружной стороны ее следует обернуть прозрачной самоклеящейся полиэтиленовой лентой.
8.2.2. После того, как последняя капля НД достигнет поверхности силикагеля, начинают вымывание неполярной части легкого дистиллята из адсорбционной колонки. Для этого вводят последовательно две порции гексана по 5 см3 и под давлением воздуха пропускают их через колонку.
8.2.3. Когда последняя порция гексана останется на поверхности силикагеля, добавляют 2,5 см3 изопропанола или метанола. Увеличивают давление в колонке и наблюдают за границей раздела растворителей. Как только граница раздела гексан/изопропанол (метанол) достигнет отметки на 1,0 см выше нижней границы силикагеля, помещают у выходного отверстия колонки мерную емкость вместимостью 2,5 см3, в которую собирают оставшуюся часть элюата. Мерная емкость должна быть снабжена крышкой. Для большего удобства наблюдения за границей раздела позади адсорбционной колонки помещают черную бумагу.
8.2.4. Добавляют к элюату 100 мкл раствора внутреннего стандарта, подготовленного по
7.2. Объем элюата доводят, при необходимости, до 2,5 см3 изопропанолом или метанолом, после чего экстракт образца готов для ввода в хроматограф. Концентрация внутреннего стандарта в нем составляет 100 ppm в расчете на массу исходного образца.
Примечания. 1. Неполярный растворитель гексан используется для отделения неполярных веществ, присутствующих в НД, в противном случае они будут мешать хроматографическому разделению.
2. В результате элюирования, проведенного описанным выше способом, концентрация МТБЭ в полярном растворителе (изопропаноле или метаноле) увеличивается в 10 раз. Это повышает чувствительность настоящего метода.
3. Для обеспечения полноты извлечения МТБЭ (до 95% об. и выше) элюирование изопропанолом следует проводить дважды при любых концентрациях МТБЭ. При этом содержание МТБЭ суммируется. При применении в качестве элюента метанола достаточно однократного элюирования.
8.3. Хроматографический анализ
8.3.1. Устанавливают рабочий режим хроматографа согласно
таблице 1 или
2.
8.3.2. Шприцем вместимостью 10 мкл отбирают элюат с добавленным в него внутренним стандартом (
8.2.4) и вводят его в хроматограф.
8.3.3. После введения образца элюата включают систему регистрации данных и определяют площадь пиков МТБЭ и ЭТБЭ.
8.3.4. После выхода пиков МТБЭ/ЭТБЭ, для выхода изопропанола (метанола), повышают температуру в колонке до 130 °С. По завершении цикла дают колонке остыть для проведения следующего испытания.
Примечания. 1. Перед началом испытаний образцов рекомендуется сделать холостой опыт, выполнив процедуру элюирования растворителей на силикагеле, что поможет установить отсутствие примесей в гексане и изопропаноле или метаноле и исключить их влияние на результаты испытания.
2. Элюат образца, собранный согласно
8.2, может содержать и другие полярные компоненты, присутствие которых загрязняет легкие дистилляты (НД) и пики которых могут наложиться на пики МТБЭ и ЭТБЭ. Однако структурный анализ образцов НД из широко распространенных источников показал отсутствие этой проблемы. Рекомендуется при анализе НД неизвестного состава провести анализ концентрата, полученного в результате десорбции МТБЭ, до введения внутреннего стандарта. Условия анализа те же, что и при анализе НД на содержание МТБЭ. При обнаружении компонента, совпадающего по времени удерживания с ЭТБЭ, необходимо определить его площадь и при расчете пика ЭТБЭ вычесть наложившийся компонент.
3. Типичные хроматограммы при применении
методов А и
Б представлены на рисунках 2 и
3.
Рисунок 2. Хроматограмма типичного разделения
Рисунок 3. Хроматограмма типичного разделения
4. Шприц промывают последовательно не менее 10 - 15 раз в каждом из трех стаканчиков вместимостью 5 или 10 см3, наполненных изопропанолом или метанолом. Изопропанол (метанол) в стаканчиках меняют каждый день или после проведения тридцати анализов, или после промывки шприца, загрязненного образцом с высоким содержанием МТБЭ (более 1000 ppm).
Перед проведением анализа для каждого случая, когда отмывался шприц, загрязненный образцом с высоким содержанием МТБЭ (выше 200 ppm), анализируют НД, не содержащий МТБЭ. Если МТБЭ не обнаруживают, проводят испытание анализируемого образца.
9. Обработка результатов испытания
9.1. Рассчитывают значение относительного поправочного коэффициента чувствительности

для метил-третбутилового эфира относительно внутреннего стандарта этил-третбутилового эфира (

= 1,000). Значения коэффициента чувствительности для метил-третбутилового эфира рассчитывают по площади пиков, полученных для калибровочных смесей (
5.5), испытанных в соответствии с 8.1.1 (
метод А) и 8.1.2 (
метод Б).
Относительные поправочные коэффициенты чувствительности для МТБЭ получают усреднением значений, полученных при определении поправочных коэффициентов чувствительности

, каждой калибровочной смеси:

, (1)
где

- площадь пика этил-третбутилового эфира, единицы площади;

- площадь пика метил-третбутилового эфира в конкретной калибровочной смеси, единицы площади;

- концентрация метил-третбутилового эфира в конкретной калибровочной смеси, ppm;

- концентрация этил-третбутилового эфира, ppm.
Примечание. Значения коэффициента чувствительности от 0,9 до 1,2 считают приемлемыми для работы. При получении значений, отличных от указанных, разбавлением готовят новые калибровочные смеси (сначала готовят смесь с максимальным содержанием анализируемого компонента, затем из нее готовят смеси с более низким содержанием анализируемого компонента).
9.2. Концентрация

, ppm, метил-третбутилового эфира рассчитывается по формуле

, (2)
где

- объем этил-третбутилового эфира, мкл;
V - первоначальный объем образца (
8.2.1), см3.
Примечание. В формуле как объем ЭТБЭ записывают его абсолютное значение в концентрате, т.е. 2,5 см3. Значение для объема ЭТБЭ в формуле должно быть 2,5 мкл. В соответствии с
7.2 готовится внутренний стандарт, содержащий ЭТБЭ в концентрации 25000 мкл/л. 100 ppm (v/v), указанные в
8.2.4, - это концентрация ЭТБЭ в пересчете на объем испытуемого дистиллята.
9.3. Для получения результата испытания проводят два последовательных определения по
8.2 -
8.3 и расчет единичных результатов испытания по
формуле (2).
9.4. За результат испытания принимают среднеарифметическое значение двух единичных результатов испытаний. В отчете указывают полученные результаты значений концентраций МТБЭ с точностью до целого числа.
10. Прецизионность метода
Прецизионность метода определена статистическим исследованием межлабораторных результатов испытания.
10.1. Повторяемость (сходимость): степень близости друг к другу независимых результатов испытаний, полученных одним и тем же методом на идентичном материале в одной и той же лаборатории, одним и тем же оператором, с использованием одного и того же оборудования в пределах короткого промежутка времени.
Предел повторяемости (сходимости) r
Абсолютное значение разности двух единичных результатов испытаний, полученных в условиях повторяемости с доверительной вероятностью 95%, не должно превышать значений, указанных на рисунке 4.
Х - среднее значение сравниваемых результатов, ppm;
Y - расхождение между двумя определениями, ppm;
1 - воспроизводимость R;
2 - повторяемость (сходимость) r
Рисунок 4. Точностные характеристики метода
10.2. Воспроизводимость: степень близости друг к другу независимых результатов испытаний, полученных одним и тем же методом на идентичном материале в разных лабораториях, разными операторами, с использованием различного оборудования.
Предел воспроизводимости R
Абсолютное значение разности двух результатов испытаний, полученных в условиях воспроизводимости с доверительной вероятностью 95%, не должно превышать значений, указанных на
рисунке 4.
10.3. Подтверждение правильности работы прибора и выполнения испытаний должно проводиться с использованием стандартных образцов (ОСО) (
5.7).