Главная // Актуальные документы // ГОСТ Р (Государственный стандарт)СПРАВКА
Источник публикации
М.: Стандартинформ, 2016
Примечание к документу
Документ
введен в действие с 1 января 2017 года.
Название документа
"ГОСТ Р МЭК 61914-2015. Национальный стандарт Российской Федерации. Клицы кабельные для электроустановок"
(утв. и введен в действие Приказом Росстандарта от 18.11.2015 N 1859-ст)
"ГОСТ Р МЭК 61914-2015. Национальный стандарт Российской Федерации. Клицы кабельные для электроустановок"
(утв. и введен в действие Приказом Росстандарта от 18.11.2015 N 1859-ст)
Утвержден и введен в действие
агентства по техническому
регулированию и метрологии
от 18 ноября 2015 г. N 1859-ст
НАЦИОНАЛЬНЫЙ СТАНДАРТ РОССИЙСКОЙ ФЕДЕРАЦИИ
КЛИЦЫ КАБЕЛЬНЫЕ ДЛЯ ЭЛЕКТРОУСТАНОВОК
Cable cleats for electrical installation
(IEC 61914:2009, IDT)
ГОСТ Р МЭК 61914-2015
Дата введения
1 января 2017 года
1 ПОДГОТОВЛЕН Негосударственным образовательным учреждением высшего профессионального образования "Московский институт энергобезопасности и энергосбережения" (НОУ ВПО "МИЭЭ") на основе собственного перевода на русский язык англоязычной версии стандарта, указанного в пункте 4
2 ВНЕСЕН Техническим комитетом по стандартизации ТК 337 "Электрические установки зданий"
3 УТВЕРЖДЕН И ВВЕДЕН В ДЕЙСТВИЕ
Приказом Федерального агентства по техническому регулированию и метрологии от 18 ноября 2015 г. N 1859-ст
4 Настоящий стандарт идентичен международному стандарту МЭК 61914:2009 "Кабельные клицы для электроустановок" (IEC 61914:2009 "Cable cleats for electrical installation", IDT).
Международный стандарт разработан техническим подкомитетом по стандартизации SC 23A "Кабелепроводы" Международной электротехнической комиссии (IEC).
При применении настоящего стандарта рекомендуется использовать вместо ссылочных международных стандартов соответствующие им национальные и межгосударственные стандарты, сведения о которых приведены в дополнительном
приложении ДА
5 ВВЕДЕН ВПЕРВЫЕ
Правила применения настоящего стандарта установлены в ГОСТ Р 1.0-2012 (раздел 8). Информация об изменениях к настоящему стандарту публикуется в ежегодном (по состоянию на 1 января текущего года) информационном указателе "Национальные стандарты", а официальный текст изменений и поправок - в ежемесячном информационном указателе "Национальные стандарты". В случае пересмотра (замены) или отмены настоящего стандарта соответствующее уведомление будет опубликовано в ближайшем выпуске ежемесячного информационного указателя "Национальные стандарты". Соответствующая информация, уведомление и тексты размещаются также в информационной системе общего пользования - на официальном сайте Федерального агентства по техническому регулированию и метрологии в сети Интернет (www.gost.ru)
Настоящий стандарт устанавливает общие требования и требования по испытаниям для кабельных клиц и промежуточных устройств для крепления, используемых для прокладки кабелей в электрических установках. Кабельные клицы могут обладать стойкостью к электродинамическим усилиям. Настоящий стандарт распространяется на кабельные клицы, которые крепят к вертикальным поверхностям для осевого и/или бокового крепления кабелей, как определено изготовителем.
Этот стандарт не распространяется на:
- кабельные сальники;
- кабельные стяжки.
Для применения настоящего стандарта необходимы следующие ссылочные документы. Для датированных ссылок применяют только указанное издание ссылочного документа.
МЭК 60060-1:1989 <1>, High-voltage test techniques - Part 1: General definitions and test requirements (Высоковольтные испытательные методы - Часть 1: Общие определения и требования к испытаниям)
--------------------------------
<1> Заменен на IEC 60060-1:2010. Однако для однозначного соблюдения требования настоящего стандарта, выраженного в датированной ссылке, рекомендуется использовать только указанное в этой ссылке издание.
МЭК 60695-11-5:2004, Fire hazard testing - Part 11-5: Test flames - Needle-flame test method - Apparatus, confirmatory test arrangement and guidance (Испытания на пожароопасность. Часть 11-5. Метод испытания игольчатым пламенем. Аппаратура, руководство и порядок испытания на подтверждение соответствия)
ИСО 868:2003, Plastics and ebonite - Determination of indentation hardness by means of a durometer (Shore hardness) [Эбонит и пластмассы. Определение инденторной твердости с помощью дюрометра (твердость по Шору)]
ИСО 4287:1997, Geometrical product specifications (GPS). Surface texture. Profile method. Terms, definitions and surface texture parameters (Геометрические характеристики изделий (GPS). Структура поверхности. Профильный метод. Термины, определения и параметры структуры)
ИСО 4892-2:2006 <2>, Plastics. Methods of exposure to laboratory light sources. Part 2. Xenon-arc sources (Пластмассы. Методы экспонирования под лабораторными источниками света. Часть 2. Источники с ксеноновой дугой)
--------------------------------
<2> Заменен на ИСО 4892-2:2013. Однако для однозначного соблюдения требования настоящего стандарта, выраженного в датированной ссылке, рекомендуется использовать только указанное в этой ссылке издание.
ИСО 9227:2012, Corrosion tests in artificial atmospheres - Salt spray tests (Испытания на коррозию в искусственной атмосфере. Испытания в соляном тумане)
В настоящем стандарте применены следующие термины с соответствующими определениями:
3.1 кабельная клица (cable cleat): Устройство для крепления кабелей, которое устанавливается с промежутками вдоль кабелей.
Примечание - Кабельные клицы предназначены для крепления кабелей к вертикальным поверхностям, но они могут использоваться и в других случаях. Примерами таких поверхностей крепления могут быть: лестничные конструкции, лотки, опорные конструкции или балки, проволока и тросы (см.
рисунки A.8 и
A.9). При этом кабельные клицы должны обеспечивать заявленное сопротивление электродинамическим усилиям.
3.2 промежуточное крепление (intermediate restraint): Промежуточные устройства для крепления, используемые совместно с кабельными клицами для обеспечения стойкости к электродинамическим усилиям. Промежуточные крепления не присоединяются к вертикальной поверхности.
3.3 металлический компонент (metallic): Компонент, который состоит только из металла.
3.4 неметаллический компонент (non-metallic): Компонент, который состоит только из неметаллического материала.
3.5 композитный компонент (composite): Компонент, включающий и металлические и неметаллические материалы.
3.6 ток короткого замыкания (short-circuit current): Сверхток, который возникает в цепи с незначительным импедансом при повреждении между рабочими проводниками, или между рабочим проводником и землей, имеющим разные потенциалы при нормальных эксплуатационных режимах.
3.7
ударное значение тока короткого замыкания (peak short-circuit current)
ip: Максимально возможное мгновенное значение тока короткого замыкания (см.
приложение B).
3.8
действующее значение переменной составляющей тока короткого замыкания (initial r.m.s. symmetrical short-circuit current)
I"k: Действующее значение переменной составляющей тока короткого замыкания, в момент возникновения короткого замыкания, при нулевом импедансе (см.
приложение B).
3.9
апериодическая составляющая тока короткого замыкания [decaying (aperiodic) component of short-circuit current]
id.c.: Среднее значение между максимальным и минимальным значением тока короткого замыкания, уменьшающегося от начального значения до нуля (см.
приложение B).
3.10
установившееся значение тока короткого замыкания (steady-state short-circuit current)
Ik: Действующее значение тока короткого замыкания, после завершения переходных процессов (см.
приложение B).
3.11
расположение треугольником (trefoil formation): Расположение трех кабелей на равном удалении. В поперечном сечении линии, проходящие через центры кабелей, формируют равносторонний треугольник (см.
рисунок 5).
Примечание - Под расположением, называемым "закрытый треугольник" понимают расположение кабелей, когда они касаются друг друга.
3.12
плоское расположение (flat formation): Расположение нескольких кабелей горизонтально, обычно с равным интервалом между смежными кабелями (см.
рисунок 6).
3.13 электродинамические силы (electromechanical forces): Внешние силы, действующие на проводники с током.
3.14 удержание (retention): Ограничение бокового и/или осевого движения кабеля.
3.15 крепление (securing): Установка на вертикальной поверхности или какой-либо конструкции.
3.16 внешние воздействия (environmental influences): Воздействие коррозийных веществ, солнечного излучения и т.п.
Изделия, на которые распространяются требования настоящего стандарта, должны быть разработаны и сконструированы таким образом, чтобы при их сборке и установке в условиях нормальной эксплуатации согласно инструкциям изготовителя гарантированно обеспечивалось крепление кабелей в соответствии с разделом 6 без повреждений.
Соответствие проверяют путем выполнения соответствующих испытаний, определенных в настоящем стандарте.
5 Общие сведения об испытаниях
5.1 Испытания в соответствии с данным стандартом являются типовыми. Все размеры должны соответствовать
разделу 8 и
перечислению a) подраздела 9.1. Если в одном типоразмере содержится значительное число клиц, то типоразмер делится на один или несколько классов. В этом случае испытывают самый маленький, самый большой и некоторый критический размер клицы в каждом классе, за исключением испытаний по
9.5. Испытания по
9.5 проводят на самом критическом размере в каждом классе.
Примечание - При идентификации кабельных клиц или промежуточных креплений, изготовленных из одного материала и имеющих одни и те же конструктивные особенности согласно классификации
раздела 6, их рассматривают как изделие того же самого класса.
5.2 Если иное не определено, все испытания должны быть выполнены на трех новых образцах каждого размера, отобранного в соответствии с
5.1, собранных и установленных в условиях нормальной эксплуатации согласно инструкциям изготовителя или ответственного поставщика.
5.3 Испытания неметаллических и композитных клиц и промежуточных креплений не должны начинаться ранее чем через 168 ч после изготовления.
5.4 Если иное не определено, то испытания должны быть выполнены при температуре окружающей среды

.
5.5 Испытание считается удачным, если все образцы выдержали испытания. Если хотя бы один из образцов не прошел испытания из-за производственного брака, то данное испытание и любое предшествующее, которое повлияло на результат испытания, должны быть повторены, как и все последующие испытания, в необходимой последовательности, но на другом полном комплекте образцов, которые все должны выдержать испытания.
Примечание - Заявитель, представляя первый набор образцов, может также предоставить дополнительный комплект образцов, которые могут использоваться, если один образец не прошел испытания. Испытательная лаборатория в этом случае может без дальнейшего запроса провести испытание дополнительного комплекта образцов и забракует их, только если произойдет дальнейший отказ. Если дополнительный набор образцов не представлен одновременно, то отказ одного образца влечет за собой забраковку.
5.6 Когда при испытаниях используют токсичные или взрывоопасные вещества, особое внимание должно быть уделено обеспечению безопасности людей в пределах зоны испытания.
6.1 По материалу
6.1.1 Металлическая.
6.1.2 Неметаллическая.
6.1.3 Композитная.
6.2 По максимальной и минимальной рабочей температуре для применения
Таблица 1
Максимальная рабочая температура
Температура, °C |
+40 |
+60 |
+85 |
+105 |
+120 |
Таблица 2
Минимальная рабочая температура
Температура, °C |
+5 |
0 |
-5 |
-15 |
-25 |
-40 |
-60 |
Примечание - Другие значения температур выше 120 °C или ниже -60 °C могут быть заявлены по усмотрению изготовителя или ответственного поставщика.
6.3 По сопротивлению удару
6.3.1 Очень легкие.
6.3.2 Легкие.
6.3.3 Средние.
6.3.4 Тяжелые.
6.3.5 Очень тяжелые.
6.4 По типу крепления, или по стойкости к электродинамическим силам, или по обоим параметрам
6.4.1 С боковым креплением.
6.4.2 С осевым креплением.
6.4.3 Стойкие к электродинамическим силам при однократном коротком замыкании.
6.4.4 Стойкие к электродинамическим силам при многократных коротких замыканиях.
Изготовители клиц должны указать классификацию по
6.4.1, и а также классификацию по
6.4.2, по
6.4.3 или
6.4.4.
Изготовители промежуточных креплений должны указать классификацию по
6.4.3 или
6.4.4.
6.5 По стойкости к внешним воздействиям
6.5.1 Стойкие к ультрафиолетовому излучению, для неметаллических и композитных элементов.
6.5.1.1 Не заявлено.
6.5.1.2 Стойкие к ультрафиолетовому излучению.
6.5.2 Стойкие к коррозии, для металлических и композитных элементов.
6.5.2.1 Низкая стойкость.
6.5.2.2 Высокая стойкость.
7 Маркировка и документация
7.1 Маркировка
На каждой кабельной клице и устройстве для крепления должны быть указаны:
- изготовитель или ответственный продавец или торговая марка и логотип;
- обозначение изделия или тип.
Где невозможно нанести маркировку непосредственно на изделие, маркировка может быть обозначена на самой маленькой упаковке.
7.2 Долговечность и четкость
Маркировка должна быть долговечной и четкой и легко читаться невооруженным глазом или с помощью лупы.
Соответствие проверяют путем осмотра после протирки маркировки вручную в течение 15 с сначала тканью, пропитанной водой, а затем в течение 15 с тканью, пропитанной растворителем.
Маркировка, нанесенная при отливке, прессованием или гравировкой, не подвергается данному испытанию.
Примечание - Маркировка может наноситься, например, при отливке, прессованием, гравировкой, печатным способом, в виде наклеек и т.д.
7.3 Документация
Изготовитель или ответственный продавец должны указать в документации:
- максимальный и минимальный диаметр кабеля или клицы;
- боковую нагрузку для клиц в соответствии с
6.4.1;
- осевую нагрузку для клиц в соответствии с
6.4.2;
- рекомендуемый метод установки, включая инструмент, который будет использован, при его наличии, и прилагаемую нагрузку;
- рекомендации по транспортированию и хранению;
- заявленную изготовителем механическую прочность для устройства для установки, и
- условия для установки или сборки, включая моменты затяжки в специальных случаях.
Дополнительно для клиц и/или промежуточных креплений, соответствующих
6.4.3 или
6.4.4 следует указать:
- значение ударного тока короткого замыкания;
- начальное действующее значение переменной составляющей тока короткого замыкания;
- внешний диаметр кабеля, используемого для испытаний по
9.5;
- максимальное расстояние D, как показано на
рисунке 4.
Соответствие проверяют путем осмотра.
Примечание - Эта информация, вся или частично, может также быть указана на упаковке или в инструкции, поставляемой с изделием.
Для того чтобы не повредить кабели и не нанести травм монтажнику или потребителю, поверхность кабельной клицы или устройства для крепления должна быть без заусенцев и подобных неровностей, а края должны быть гладкими.
Соответствие проверяют путем осмотра.
9 Механические характеристики
9.1 Требования
Клицы и устройства для крепления должны:
a) обеспечивать монтаж и крепление кабелей или ряда кабелей, заявленных изготовителем или ответственным поставщиком, не раскалываясь или ломаясь и без повреждения резьбы.
Соответствие проверяют путем измерения и осмотра;
b) быть стойкими к ударным воздействиям при минимальной заявленной температуре.
Соответствие проверяют путем испытаний согласно 9.2;
c) быть стойкими к боковой нагрузке при максимальной заявленной температуре.
Соответствие проверяют путем испытаний согласно 9.3;
d) быть стойкими к осевой нагрузке при максимальной заявленной температуре согласно
6.4.2.
Соответствие проверяют путем испытаний согласно 9.4;
e) быть стойкими к электродинамическим силам согласно
6.4.3 или
6.4.4.
Соответствие проверяют путем испытаний согласно 9.5.
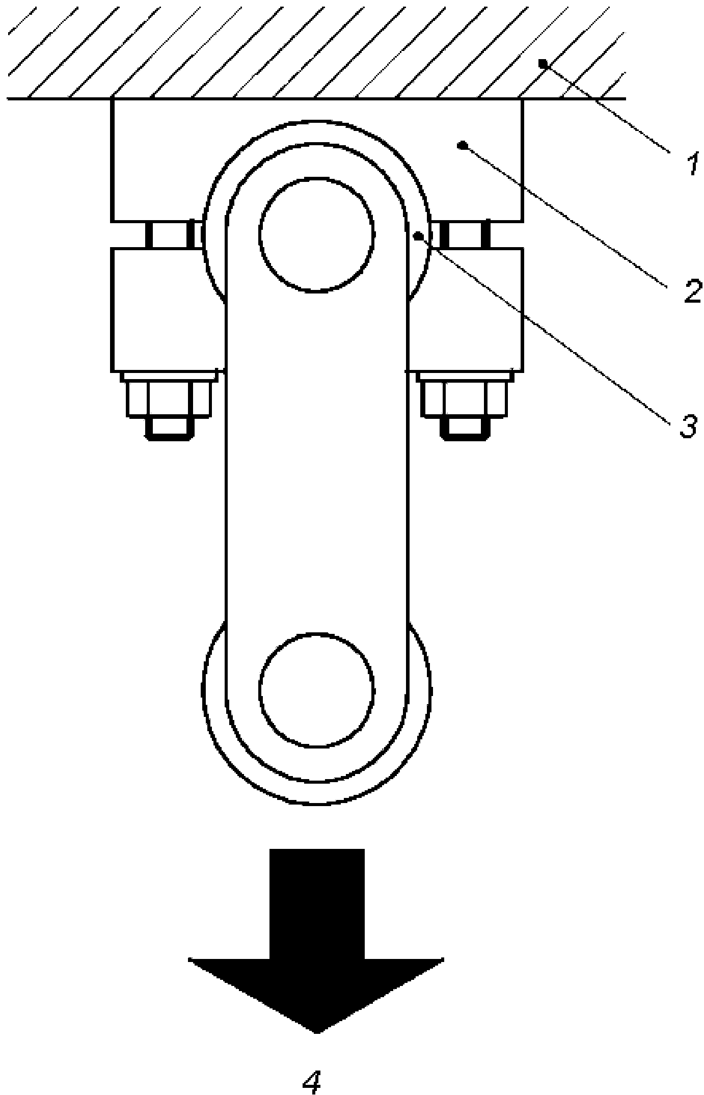
9.2 Испытание на ударное воздействие
Для проведения испытаний на ударное воздействие используют стенд, изображенный на рисунке 1. Поверхность ударника, воздействующая на клицу или промежуточное крепление, должна иметь сферическую форму с радиусом
.
Перед испытанием образцы крепят на испытательные оправки из найлона 66, имеющие диаметр, эквивалентный максимальному заявленному диаметру, для которого клица предназначена, и устанавливают на твердом основании.
Для клиц и промежуточных креплений, охватывающих больше чем один кабель, используют соответствующее число оправок.
Для металлических клиц и промежуточных креплений, испытания выполняют при температуре окружающей среды.
Для композитных и неметаллических клиц и промежуточных креплений, образцы выдерживают при самой низкой заявленной температуре согласно таблице 2 с погрешностью
на время (60+5) мин. Ударное воздействие должно быть приложено в пределах (10-2) с после удаления из холодильной камеры.
Каждый образец располагают на стальном основании в положении, как показано на рисунке 1. Энергия ударника должна соответствовать таблице 3.
Воздействие прикладывают в самом слабом месте клицы или промежуточного крепления, направление воздействия радиальное в центр оправки.
После испытаний образцы не должны иметь признаков разрушения, при этом не должно быть никаких трещин или повреждений, видимых невооруженным глазом, которые могут ухудшить нормальную эксплуатацию. В случае сомнения образцы подвергают испытаниям согласно 9.3.
Таблица 3
Класс | Энергия воздействия, Дж | Эквивалентная масса, кг | Высота, мм (+/- 1%) |
Очень легкий | 0,5 | 0,25 | 200 |
Легкий | 1,0 | 0,25 | 400 |
Средний | 2,0 | 0,5 | 400 |
Тяжелый | 5,0 | 1,7 | 300 |
Очень тяжелый | 20,0 | 5,0 | 400 |
9.3 Испытание на боковую нагрузку
Клицу устанавливают на испытательном стенде, изображенном на рисунке 2 или подобной установке. Вертикальная поверхность может быть выполнена из листовой стали или алюминия, фанеры или другого материала. Нагрузку создают с помощью оправки или другого устройства соответствующего поперечного сечения, воздействующего со стороны отверстия клицы. Нагрузка должна быть приложена в направлении геометрической оси отверстия клицы. Размер оправки берут минимальным по отношению к конструкции клицы.
Для металлических кабельных клиц нагрузку постепенно увеличивают до заявленной величины за время 5+1 мин.
Для неметаллических и композитных клиц типовую сборку помещают в нагревательную воздушную печь с принудительным обменом воздуха.
Испытания проводят после того, как температура в печи достигла и поддерживается при максимальной, заявленной изготовителем температуре согласно таблице 1, с погрешностью 
.
Нагрузку увеличивают постепенно и затем выдерживают на время (60+5) мин.
Испытательную нагрузку, заявленную изготовителем или ответственным продавцом, прикладывают в самом нагруженном направлении при нормальной эксплуатации.
Перемещение оправки должно составить меньше чем 50% от диаметра оправки.
Примечание - Испытание предназначено для определения поперечного сопротивления клицы, а не воздействия на вертикальную поверхность.
9.4 Испытание на осевую нагрузку
Испытание выполняют, используя оправку с внешним диаметром, эквивалентным минимальному заявленному диаметру кабеля, для которого разработана клица. У испытательной оправки должна быть погрешность размера диаметра
для оправок диаметром до (включая) 16 мм и
для больших диаметров. В случае некруглых кабелей следует использовать профиль, соответствующий наружным размерам кабеля, как заявлено изготовителем или ответственным продавцом.
У всех оправок должна быть чистота поверхности меньше или равной 7 мкм Ra в соответствии с ИСО 4287. Для испытательных температур ниже 105 °C
испытательные оправки должны быть изготовлены из найлона 66 с твердостью по Шору
единиц в соответствии с ИСО 868. Металлические оправки должны использовать для испытательных температур 105 °C
и выше.
Клицу устанавливают на твердой поверхности и собирают на стенде, как показано на рисунке 3 или на подобной установке. Вертикальная поверхность может быть выполнена из листовой стали или алюминия, фанеры или другого материала.
Для металлических кабельных клиц нагрузку постепенно увеличивают до заявленной величины за время 5+1 мин.
Для неметаллических и композитных клиц типовую сборку помещают в нагревательную воздушную печь с принудительным обменом воздуха.
Испытания проводят после того, как температура в печи достигла и поддерживается при максимальной, заявленной изготовителем температуре согласно таблице 1, с погрешностью
.
Нагрузку увеличивают постепенно и затем выдерживают на время (5+1) мин.
После испытания перемещение оправки должно составить не более 5 мм.
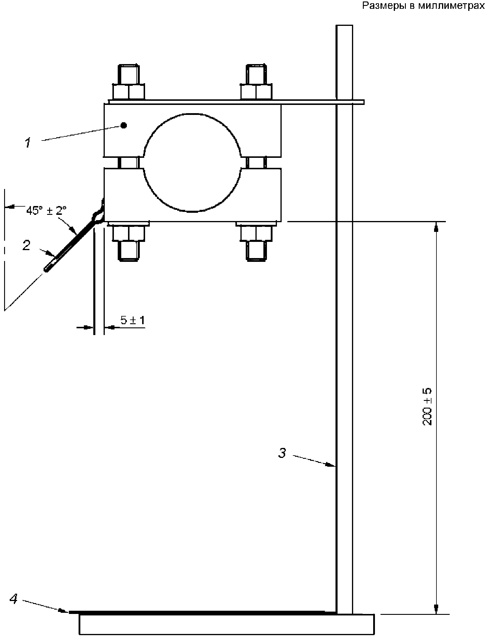
9.5 Испытание на стойкость к электродинамическим силам
9.5.1 Общие требования
Испытания при коротком замыкании проводят при заявленных изготовителем или ответственным продавцом значениях ударного тока короткого замыкания ip и действующего значения переменной составляющей тока короткого замыкания I"k.
Испытания проводят при температуре окружающей среды с использованием одножильного небронированного медного кабеля напряжением 600/1000 В. Испытания проводят на установке для заявленных параметров короткого замыкания. Типовая установка приведена на рисунке 4.
Кабели должны быть расположены, как показано на рисунке 5 или рисунке 6, или при любой другой конфигурации, заявленной изготовителем или ответственным продавцом. Один конец подключают к трехфазному источнику питания, другой -
к шине, объединяющей все три фазы. Кабель крепят минимум в пяти точках вдоль длины кабеля. Если используют промежуточные крепления, то следует установить по крайней мере четыре клицы и по крайней мере три промежуточных крепления. Клицы и промежуточные крепления должны быть распределены равномерно. Если клицы установлены на вертикальную поверхность, определенную изготовителем (например, кабельную лестницу), то последняя должна выдерживать усилия, возникающие при испытаниях.
Площадь поперечного сечения кабеля должна быть достаточна для выдерживания испытательного тока заданной величины и продолжительности.
В технической документации изготовителя или ответственного продавца кабельной клицы и промежуточного крепления (если используется) должны быть указаны детали сборки, интервалы и внешний диаметр кабеля, используемые при испытаниях.
Испытательная установка должна пройти калибровочное испытание, чтобы убедиться, что она не будет повреждена.
Испытательную установку подвергают воздействию трехфазного короткого замыкания продолжительностью не меньше чем 0,1 с. Продолжительность испытания фиксируют.
Примечание 1 - Необходимо соблюдать меры безопасности, чтобы гарантировать, что есть соответствующая защита кабелей на каждом конце во время испытаний.
Примечание 2 -
Приложение B могут использовать, чтобы теоретически вычислить силы, которые могут возникнуть во время коротких замыканий, для того чтобы спланировать испытания.
9.5.2 Кабельные клицы и промежуточные крепления, классифицированные по 6.4.3
Клицы и промежуточные крепления, классифицированные по 6.4.3, должны удовлетворять следующим требованиям:
- не должно быть никаких повреждений, затрагивающих расположение кабеля;
- кабельные клицы и промежуточные крепления (если используются) не должны повреждаться (возможна незначительная деформация);
- не должно быть никаких деформаций или повреждений оболочки кабеля, видимых невооруженным глазом, от воздействия кабельных клиц или промежуточных креплений (если используются).
9.5.3 Кабельные клицы и промежуточные крепления, классифицированные по 6.4.4
Клицы и промежуточные крепления, классифицированные по 6.4.4, должны удовлетворять требованиям пункта 9.5.2.
После второго короткого замыкания должно быть проведено испытание изоляции при воздействии минимального испытательного напряжения 2,8 кВ постоянного тока на время (60+5) с в соответствии с требованиями МЭК 60060-1, 13.1 и 14.1. Испытательное напряжение прикладывается между жилами кабеля и монтажной поверхностью. Монтажная поверхность должна быть соединена с системой заземления. Если кабели имеют экран или броню, то экраны и броня должны быть соединены между собой и с монтажной поверхностью. Если кабели не имеют экрана или брони, то кабельные короба или монтажные поверхности должны быть предварительно смочены достаточным количеством воды, чтобы обеспечить путь утечки вдоль внешнего короба. Кабельные короба и монтажные поверхности должны быть смочены за (2+1) мин до начала испытаний водой с удельным сопротивлением
, которое должно быть измерено непосредственно перед испытанием.
Кабели должны пройти испытания повышенным напряжением без повреждения изоляции.
10.1 Распространение горения
У неметаллических и композитных кабельных клиц и промежуточных креплений должно быть соответствующее сопротивление распространению горения.
Соответствие проверяют путем проведения следующего испытания:
Используя установку, изображенную на рисунке 7, образец подвергают испытанию игольчатым пламенем, как определено в МЭК 60695-11-5, со следующими дополнениями:
- пламя должно воздействовать на наружную поверхность образца;
-
время воздействия
;
- в основании должно быть три слоя тонкой бумаги;
- должно быть однократное воздействие пламени.
Считается, что образец выдержал испытания, если:
- через 30 с после удаления пламени не наблюдается горение образца, и
- нет воспламенения тонкой бумаги.
10.2 Дымовыделение
Дымовыделение от клиц и промежуточных креплений не рассматривают из-за их небольшого размера и количества в нормальной эксплуатации.
10.3 Токсичность
Токсичность клиц и промежуточных креплений не рассматривают из-за их небольшого размера и количества в нормальной эксплуатации.
11.1 Стойкость к ультрафиолетовому излучению
Кабельные клицы и промежуточные устройства, классифицированные согласно 6.5.1.2, должны быть стойкими к ультрафиолетовому излучению и удовлетворять следующим требованиям.
Если изделие изготавливают более чем в одном цвете, то испытывают образцы с самой насыщенной пигментацией. Эти испытательные наборы считают представительными для всей цветовой гаммы материала.
Примечание - При выборе типов изделий и типового набора для испытаний, внимание должно быть уделено изделиям, окрашенным в красный или желтый цвет, которые, как известно, имеют наиболее критичные характеристики.
Стабилизация влажности согласно 5.2 перед воздействием ультрафиолетового излучения для данного испытания не требуется.
Образцы должны быть установлены в аппарате для ультрафиолетового облучения таким образом, чтобы образцы не касались друг друга.
Образцы должны быть экспонированы в течение 700 ч при спектральном излучении 0,51 Вт/(м2·нм) или в течение 1000 ч при спектральном излучении 0,35 Вт/(м2·нм) в потоке ксеноновой лампы, метод A, цикл 1 в соответствии с ИСО 4892-2. При этом они должны подвергаться воздействию водяных брызг. Цикл должен состоять из 102 мин без водных брызг и 18 мин с водными брызгами. Аппарат должен работать с дуговой ксеноновой лампой с водяным или воздушным охлаждением, из боросиликатного стекла с оптическими фильтрами, со спектральным излучением 0,51 Вт/(м2·нм) или 0,35 (Вт/м2·нм) в 340 нм и температурой излучающей поверхности (65 +/- 3) °C. Температура в камере должна быть (38 +/- 3) °C. Относительная влажность в камере должна быть (50 +/- 10)%.
После испытаний образцы должны быть выдержаны минимум 30 мин в условиях окружающей среды.
После проведения испытаний образцы не должны иметь признаков разрушения, и при этом не должно быть никаких трещин, видимых невооруженным глазом. Затем образцы должны пройти испытания на ударные воздействия согласно 9.2, которые они должны выдержать.
Кроме того, образцы, заявленные на соответствие 6.4.3 и 6.4.4, должны выдержать испытания по 9.1 e) после воздействия ультрафиолетового излучения.
11.2 Коррозионная стойкость
У металлических или композитных клиц и промежуточных креплений должна быть соответствующая коррозионная стойкость.
Соответствие проверяют путем проведения испытания по 11.2.2, если ниже не определено иное.
Металлические или композитные клицы и промежуточные крепления, изготовленные из цветных металлов, серого или ковкого чугуна или нержавеющей стали, содержащей по крайней мере 16% хрома, не требуют проведения испытаний и классифицируют как обладающие высоким сопротивлением коррозии. Нержавеющую сталь, содержащую по крайней мере 13% хрома классифицируют, как обладающую низким сопротивлением коррозии и для нее требуется проведение испытаний в соответствии с
6.5.2.2 для высокого сопротивления. В том случае если защита от коррозии обеспечена цинковым покрытием, равным или большим, чем определено в
таблице 4, то после подтверждения путем измерения толщины покрытия не требуется проводить дальнейшие испытания.
Средняя и минимальная толщина должны быть определены путем проведения пяти измерений на покрытой металлом поверхности.
Винты не должны испытывать по
11.2.2, однако присутствие защитного покрытия на них требуется.
Присутствие покрытия на винтах определяют визуальным осмотром.
Не требуется наличия покрытия на острых краях, в отверстиях и на внутренней резьбе в отверстиях деталей с гальваническим покрытием толщиной до 2,5 мм.
Таблица 4
Класс | Типичное применение | Средняя толщина цинкового покрытия, мкм | Минимальная толщина цинкового покрытия, мкм | Продолжительность воздействия соленых брызг, час |
Низкая | Внутренние сухие помещения | 5 | 3,5 | 24 |
Высокая | Наружные влажные помещения <a> | 25 | 18 | 192 |
<a> Для использования в морском климате или другой коррозийной окружающей среде может потребоваться дополнительная защита. |
11.2.2 Испытание солеными брызгами
Образцы должны быть обезжирены путем протирки уайт-спиритом. Затем образцы монтируют на оправке из найлона 66 с диаметром, равным самому маленькому диаметру кабеля для данной клицы или промежуточного крепления.
Образцы должны быть подвергнуты воздействию нейтральных соленых брызг (NSS) в соответствии с ИСО 9227 в течение времени, определенного в таблице 4.
Поверхности, для которых покрытие не требуется, согласно 11.2.1 должны быть защищены во время испытаний в соответствии с указаниями ИСО 9227.
После того как части были высушены минимум в течение 10 мин в воздушной печи при температуре (100 +/- 5) °C, следы ржавчины на острых краях и желтоватые пятна могут быть удалены при протирке.
Образец считается прошедшим испытание, если нет никакой красной ржавчины, видимой невооруженным взглядом.
Зоны, в которых морская соль застряла во время испытаний, не учитывают при оценке результата испытаний.
Примечание - Когда использование изделия предполагается в условиях с увеличенной степенью коррозионного воздействия, дополнительное внимание должно быть уделено соответствующему увеличению времени воздействия или использованию альтернативного метода испытаний.
12 Электромагнитная совместимость
12.1 Электромагнитное излучение
Изделия, попадающие под действие данного стандарта, в условиях нормальной эксплуатации невосприимчивы к электромагнитному излучению.
12.2 Индукционный нагрев
Ферримагнитные материалы (например, чугун, мягкая сталь), которые окружают отдельные проводники в цепях переменного тока, восприимчивы к нагреву вихревыми токами. Изготовитель или ответственный продавец скоб, сделанных из ферримагнитных материалов, которые образуют электрический и магнитный контур вокруг кабеля, должен предупредить, что они не должны использоваться для одножильных кабелей в цепях переменного тока.
1 - ударник; 2 - высота падения (см.
таблицу 3);
3 - стальное основание; 4 - скругленные края;
5 - сечение А-А; 6 - стальная промежуточная часть;
7 - образец
Рисунок 1 - Стенд для испытаний на ударные воздействия
1 - поверхность установки; 2 - клица;
3 - оправка; 4 - направление воздействия
Рисунок 2 - Стенд для испытаний на боковую нагрузку
1 - клица; 2 - оправка; 3 - направление воздействия;
4 - поверхность установки
Рисунок 3 - Стенд для испытаний на осевую нагрузку
1 - сторона источника питания; 2 - кабельная клица;
3 - промежуточное крепление; 4 - сторона короткозамыкающей
шины; 5 - установочная поверхность; D - интервал
Рисунок 4 - Типовая сборка для испытаний
на сопротивление электродинамическим силам
Рисунок 5 - Типовое расположение трех кабелей,
уложенных в треугольник
Рисунок 6 - Типовое расположение кабелей в плоскости
1 - клица; 2 - горелка; 3 - стойка; 4 - папиросная бумага
Рисунок 7 - Установка для испытания игольчатым пламенем
(справочное)
ПРИМЕРЫ КАБЕЛЬНЫХ КЛИЦ
Рисунок A.1
Рисунок A.2
Рисунок A.3
Рисунок A.4
Рисунок A.5
Рисунок A.6
Рисунок A.7
(справочное)
ВЫЧИСЛЕНИЕ СИЛ, ВЫЗВАННЫХ ТОКАМИ КОРОТКОГО ЗАМЫКАНИЯ
B.1 Характеристики
Рекомендации для вычисления токов короткого замыкания приведены в серии стандартов МЭК 60909 и МЭК 61363-1. Последний стандарт касается судов и плавучих платформ. Нижеследующая информация основана на МЭК 60909-0.
Характеристики тока во время короткого замыкания зависят от ряда факторов, включая электрическое отдаление от источника. На
рисунке B.1 изображена зависимость тока от времени, характерная для удаленной от источника точки короткого замыкания. Переменная составляющая в этом случае имеет постоянную амплитуду
(I"k = Ik) и на нее наложена спадающая составляющая постоянного тока
id.c., которая спадает от значения A до нуля.
1 - ток; 2 - верхняя огибающая; 3 - спадающая составляющая
постоянного тока id.c. тока короткого замыкания; 4 - нижняя
огибающая; 5 - время; A - начальное значение составляющей
постоянного тока id.c. тока короткого замыкания
Рисунок B.1 - Ток короткого замыкания при замыкании
в точке, удаленной от источника с постоянной по величине
составляющей переменного тока
Для коротких замыканий в точках, близких к источнику, переменная составляющая имеет уменьшающуюся амплитуду (I"k > Ik), и на нее наложена спадающая составляющая постоянного тока id.c., которая спадает от значения A до нуля. На рисунке B.2 показана типичная зависимость тока от времени для случая короткого замыкания вблизи источника.
1 - ток; 2 - верхняя огибающая; 3 - спадающая составляющая
постоянного тока id.c. тока короткого замыкания; 4 - нижняя
огибающая; 5 - время; A - начальное значение составляющей
постоянного тока id.c. тока короткого замыкания
Рисунок B.2 - Ток короткого замыкания при замыкании
в точке вблизи источника питания с уменьшающейся
по величине составляющей переменного тока
B.2 Параметры испытательного тока
Полностью токи короткого замыкания описывают в виде временной функции в точке короткого замыкания от его возникновения и до его окончания. В большинстве практических случаев это не является необходимым. Обычно достаточно знать ударный ток ip, действующее значение переменной составляющей тока короткого замыкания I"k и установившееся значение тока короткого замыкания Ik.
У испытательного тока, используемого при коротком замыкании, определены следующие параметры:
- ударный ток ip;
- начальное значение переменной составляющей тока короткого замыкания I"k;
- продолжительность короткого замыкания t.
B.3 Вычисление механических усилий между проводниками
Электромагнитная сила, действующая на проводник, зависит от тока в проводнике и магнитного поля, созданном соседними проводниками. В кабельных сооружениях расстояния между кабелями обычно невелики, и поэтому силы могут быть значительными.
В случае двух параллельных проводников значение электромагнитной силы, действующей на проводник, может быть получено из уравнения
F(t) = B(t)·
i(t)·
l, (B.1)
где l - длина;
F(t) - мгновенное значение электромагнитной силы, воздействующей на проводник;
B(t) - мгновенное значение магнитного поля, созданного соседними проводниками;
i(t) - мгновенное значение тока в соседнем проводнике.
Если постоянная составляющая тока короткого замыкания не учитывается, мгновенное значение электромагнитной силы, воздействующей на проводник, изменяется синусоидально с двойной частотой тока
(уравнение B.1). Составляющая постоянного тока дает уменьшающуюся составляющую силы с частотой системы.
Рисунок B.3 - Два параллельных проводника
Для двух параллельных проводников, изображенных на рисунке B.3, магнитное поле от тока i1, в месте расположения другого проводника

(B.2)
где

,
а механическая сила:

(B.3)
Это уравнение обычно записывается в виде
Fs = 0,2·i1·i2/S. (B.4)
В этом уравнении сила выражена в Н/м, i - в кА и S - в метрах. Уравнение (B.4) справедливо, когда S >> d, но дает приемлемую точность, когда ток распределен однородно (или симметрично) в пределах проводников.
Векторное
уравнение (B.3) подтверждает, что два параллельных проводника отталкиваются, если у этих двух токов есть различие по фазе на угол 180° и что сила направлена навстречу другому проводнику для токов, у которых одинаковый угол фазы.
В трехфазных системах магнитное поле в
уравнении (B.2) это мгновенное векторное значение от других двух фаз.
Для трехфазных коротких замыканий с проводниками в плоском расположении, силы на двух внешних проводниках всегда направлены за пределы центрального проводника. Сила на центральном проводнике колеблется. Максимальная сила на внешних проводниках при плоском расположении может быть вычислена, как

(B.5)
Максимальная сила на среднем проводнике при плоском расположении может быть вычислена, как

(B.6)
Для трехфазных коротких замыканий с кабелями, уложенными в треугольник, максимальная сила на проводнике

(B.7)
где Fs - максимальная сила на проводнике при плоском расположении при однофазном коротком замыкании цепи, Н/м;
Ffo - максимальная сила на внешних проводниках при плоском расположении при трехфазном коротком замыкании цепи, Н/м;
Ffm - максимальная сила на центральном проводнике при плоском расположении при трехфазном коротком замыкании цепи, Н/м;
Ft - максимальная сила на проводнике при расположении в треугольник при трехфазном коротком замыкании цепи, Н/м;
ip - ударный ток короткого замыкания, кА;
d - внешний диаметр проводника, м;
S - расстояние между центрами двух соседних проводников, м.
(справочное)
СВЕДЕНИЯ О СООТВЕТСТВИИ ССЫЛОЧНЫХ МЕЖДУНАРОДНЫХ СТАНДАРТОВ
ССЫЛОЧНЫМ МЕЖГОСУДАРСТВЕННЫМ И НАЦИОНАЛЬНЫМ СТАНДАРТАМ
Таблица ДА.1
Обозначение ссылочного международного стандарта | Степень соответствия | Обозначение и наименование соответствующего межгосударственного и национального стандарта |
МЭК 60060-1:1989 | - | |
МЭК 60695-11-5:2004 | IDT | ГОСТ IEC 60695-11-5-2013 "Испытания на пожароопасность. Часть 11-5. Метод испытания игольчатым пламенем. Аппаратура, руководство и порядок испытания на подтверждение соответствия" |
ИСО 868:2003 | MOD | ГОСТ 24621-91 (ИСО 868-85) "Пластмассы и эбонит. Определение твердости при вдавливании с помощью дюрометра (твердость по Шору)" |
ИСО 4287:1997 | IDT | ГОСТ Р ИСО 4287-2014 "Геометрические характеристики изделий (GPS). Структура поверхности. Профильный метод. Термины, определения и параметры структуры поверхности" |
ИСО 4892-2:2006 | - | <*> |
ИСО 9227:2012 | - | <*> |
<*> Соответствующий межгосударственный стандарт отсутствует. До его утверждения рекомендуется использовать перевод на русский язык данного международного стандарта. Перевод данного международного стандарта находится в Федеральном информационном фонде технических регламентов и стандартов. Примечание - В настоящей таблице использованы следующие условные обозначения степени соответствия стандартов: - IDT - идентичные стандарты; - MOD - модифицированные стандарты. |
МЭК 60909-0:2001, Токи короткого замыкания в трехфазных системах переменного тока - Часть 0: Вычисление токов
МЭК 61363-1:1998, Установки электрические для судов, мобильных и стационарных морских платформ - Часть 1: Процедуры расчета токов короткого замыкания в системах трехфазного переменного тока