Главная // Актуальные документы // ГОСТ Р (Государственный стандарт)СПРАВКА
Источник публикации
М.: Стандартинформ, 2015
Примечание к документу
Документ
введен в действие с 1 июня 2015 года.
Название документа
"ГОСТ Р 56337-2015. Национальный стандарт Российской Федерации. Дороги автомобильные общего пользования. Материалы геосинтетические. Метод определения прочности при динамическом продавливании (испытание падающим конусом)"
(утв. и введен в действие Приказом Росстандарта от 05.02.2015 N 63-ст)
"ГОСТ Р 56337-2015. Национальный стандарт Российской Федерации. Дороги автомобильные общего пользования. Материалы геосинтетические. Метод определения прочности при динамическом продавливании (испытание падающим конусом)"
(утв. и введен в действие Приказом Росстандарта от 05.02.2015 N 63-ст)
Утвержден и введен в действие
агентства по техническому
регулированию и метрологии
от 5 февраля 2015 г. N 63-ст
НАЦИОНАЛЬНЫЙ СТАНДАРТ РОССИЙСКОЙ ФЕДЕРАЦИИ
ДОРОГИ АВТОМОБИЛЬНЫЕ ОБЩЕГО ПОЛЬЗОВАНИЯ
МАТЕРИАЛЫ ГЕОСИНТЕТИЧЕСКИЕ
МЕТОД ОПРЕДЕЛЕНИЯ ПРОЧНОСТИ ПРИ ДИНАМИЧЕСКОМ ПРОДАВЛИВАНИИ
(ИСПЫТАНИЕ ПАДАЮЩИМ КОНУСОМ)
Automobile roads of general use. Geosynthetics.
Test procedure for determination of durability
at the dynamic forcing through (cone drop test)
ISO 13433:2006
Geosynthetics - Dynamic perforation test (cone drop test)
(NEQ)
ГОСТ Р 56337-2015
Дата введения
1 июня 2015 года
1. Разработан Федеральным государственным бюджетным образовательным учреждением высшего профессионального образования "Сибирская государственная автомобильно-дорожная академия (СибАДИ)".
2. Внесен Техническим комитетом по стандартизации ТК 418 "Дорожное хозяйство".
3. Утвержден и введен в действие
Приказом Федерального агентства по техническому регулированию и метрологии от 5 февраля 2015 г. N 63-ст.
4. Настоящий стандарт разработан с учетом основных нормативных положений международного стандарта ИСО 13433:2006 "Геосинтетические материалы. Испытания перфорации при динамической нагрузке (испытание падающим конусом)" (ISO 13433:2006 "Geosynthetics - Dynamic perforation test (cone drop test)", NEQ).
5. Введен впервые.
Правила применения настоящего стандарта установлены в ГОСТ Р 1.0-2012
(раздел 8). Информация об изменениях к настоящему стандарту публикуется в ежегодном (по состоянию на 1 января текущего года) информационном указателе "Национальные стандарты", а официальный текст изменений и поправок - в ежемесячном информационном указателе "Национальные стандарты". В случае пересмотра (замены) или отмены настоящего стандарта соответствующее уведомление будет опубликовано в ближайшем выпуске информационного указателя "Национальные стандарты". Соответствующая информация, уведомление и тексты размещаются также в информационной системе общего пользования - на официальном сайте Федерального агентства по техническому регулированию и метрологии в сети Интернет (gost.ru).
Настоящий стандарт устанавливает основные положения метода определения прочности геосинтетических материалов при динамическом продавливании.
Настоящий стандарт распространяется на геосинтетические материалы, применяемые при строительстве, ремонте и реконструкции автомобильных дорог, а также аэродромов, городских улиц, дорог промышленных предприятий.
Настоящий стандарт не распространяется на геосинтетические материалы, имеющие сквозные ячейки, размер которых значительно превышает толщину ребер.
В настоящем стандарте использованы нормативные ссылки на следующие стандарты:
ГОСТ 12.4.068-79 Система стандартов безопасности труда. Средства индивидуальной защиты дерматологические. Классификация и общие требования
ГОСТ 427-75 Линейки измерительные металлические. Технические условия
ГОСТ 6943.0-93 (ИСО 1886-90) Стекловолокно. Правила приемки
ГОСТ Р 12.4.246-2008 Система стандартов безопасности труда. Средства индивидуальной защиты рук. Перчатки. Общие технические требования. Методы испытаний
ГОСТ Р ИСО 5725-1-2002 Точность (правильность и прецизионность) методов и результатов измерений. Часть 1. Основные положения и определения
ГОСТ Р ИСО 5725-6-2002 Точность (правильность и прецизионность) методов и результатов измерений. Часть 6. Использование значений точности на практике
ГОСТ Р ЕН 13416-2008 Материалы кровельные и гидроизоляционные гибкие битумосодержащие и полимерные (термопластичные или эластомерные). Правила отбора образцов
Примечание. При пользовании настоящим стандартом целесообразно проверить действие ссылочных стандартов в информационной системе общего пользования - на официальном сайте Федерального агентства по техническому регулированию и метрологии в сети Интернет или по ежегодному информационному указателю "Национальные стандарты", который опубликован по состоянию на 1 января текущего года, и по выпускам ежемесячного информационного указателя "Национальные стандарты" за текущий год. Если заменен ссылочный стандарт, на который дана недатированная ссылка, то рекомендуется использовать действующую версию этого стандарта с учетом всех внесенных в данную версию изменений. Если заменен ссылочный стандарт, на который дана датированная ссылка, то рекомендуется использовать версию этого стандарта с указанным выше годом утверждения (принятия). Если после утверждения настоящего стандарта в ссылочный стандарт, на который дана датированная ссылка, внесено изменение, затрагивающее положение, на которое дана ссылка, то это положение рекомендуется применять без учета данного изменения. Если ссылочный стандарт отменен без замены, то положение, в котором дана ссылка на него, рекомендуется применять в части, не затрагивающей эту ссылку.
В настоящем стандарте применены следующие термины с соответствующими определениями:
3.1. Партия: количество материала одного наименования, марки, способа производства, изготовленного в соответствии с утвержденным технологическим регламентом (процессом) из сырья одной партии и от одного поставщика в течение одного периода времени и оформленного одним документом о качестве.
3.2. Упаковочная единица: упаковка или рулон, содержащие установленное количество геосинтетического материала, отобранные от одной партии.
3.3. Проба материала: представительная часть изделия (материала), отбираемая от упаковочной единицы, предназначенная для изготовления испытываемых образцов, результаты которых будут распространены на конкретную единицу материала (партия, серия).
3.4. Испытываемый образец: образец материала определенных размеров, вырезанный из пробы материала.
3.5. Размер отверстия: диаметр отверстия, полученного при проникновении стального конуса в образец геосинтетического материала.
Метод измерений основывается на определении сопротивления геосинтетических материалов проникновению стального конуса, падающего с фиксированной высоты. Величина отверстия, полученная в результате падения испытательного конуса, является критерием повреждаемости геосинтетических материалов при укладке материалов вышележащих слоев дорожной одежды.
5. Требования к средствам испытаний, вспомогательным
устройствам и материалам
Испытательная установка должна состоять из следующих основных элементов: зажимной системы, рамы, испытательного конуса.
5.1. Зажимная система
5.1.1. Зажимная система (обойма) не должна допускать проскальзывания (смещения) или обрывания образца во время проведения испытания. Рекомендуемая система зажимов представлена на рисунке 1 (
а),
б)).
Размеры в миллиметрах
а - зажимная система (обойма) с использованием
направляющего блока; б - поверхность зажимных колец;
1 - верхнее зажимное кольцо; 2 - образец геосинтетического
материала; 3 - опоры, на которые устанавливается обойма;
4 - основание вспомогательного приспособления;
5 - направляющий блок; 6 - винт;
7 - нижнее зажимное кольцо
Рисунок 1. Схема зажимной системы
5.1.2. Схема закрепления образца предусматривает использование направляющего блока (см.
рисунок 1, а)), обеспечивающего свободное закрепление (без дополнительного предварительного натяжения) и предотвращающего провисание центральной части образца.
5.1.3. Внутренний диаметр обоймы должен быть (150,0 +/- 0,5) мм. Внутренние поверхности зажимных колец (поверхности, контактирующие с геосинтетическим материалом) должны быть выполнены так, чтобы расстояние между внутренним диаметром кольца и зоной захвата (зоной начала зубчатости, рифления и т.п.) не превышало 7 мм (см.
рисунок 1, б)).
5.2. Рама испытательной установки
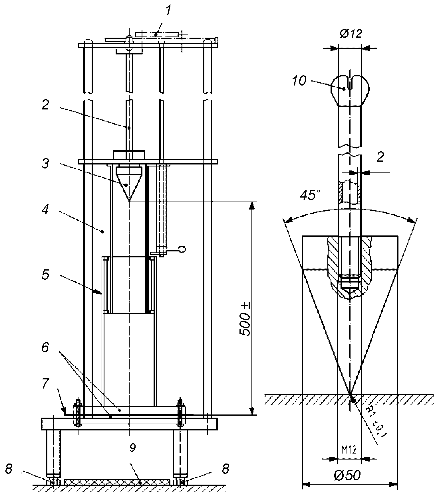
5.2.1. Рама испытательной установки должна поддерживать зажимную систему с закрепленным в ней испытываемым образцом и быть оснащена спусковым механизмом, обеспечивающим падение конуса строго на центр образца
(рисунок 2). Это достигается или с помощью направляющих, которые не снижают скорость падения испытательного конуса, или с помощью соответствующего спускового механизма, обеспечивающего свободное падение конуса, не допуская его вращения.
Размеры в миллиметрах
1 - головная часть спускового механизма, соответствующего
лабораторного оборудования; 2 - направляющий шток;
3 - испытательный конус; 4 - металлический экран;
5 - защитный экран; 6 - зажимная система (обойма);
7 - образец геосинтетического материала;
8 - регулировочный винт; 9 - амортизирующий слой;
10 - верхняя часть испытательного конуса
Рисунок 2. Общий вид испытательной установки
и испытательного конуса
5.2.2. Рама должна быть установлена на устойчивую, твердую (неупругую) поверхность.
5.2.3. Испытательная установка должна быть оснащена защитным экраном, обеспечивающим безопасность оператора во время проведения испытаний.
5.2.4. Для защиты испытательного конуса, в случае полного его проникновения через образец, рекомендуется в нижней части испытательной установки предусматривать соответствующее амортизирующее устройство. При этом конструкция испытательной установки должна предусматривать возможность наблюдения за показаниями измерительного конуса в соответствии с
9.5 по всей его окружности.
5.3. Испытательный конус
5.3.1. В качестве падающего груза должен быть использован конус с углом вершины 45° (см.
рисунок 2), изготовленный из нержавеющей стали с гладкой полированной поверхностью и имеющий вершину, закругленную с радиусом (1,0 +/- 0,1) мм.
5.3.2. Масса испытательного конуса должна составлять (1000 +/- 5) г, включая направляющий шток. Верхняя часть направляющего штока изготавливается в соответствии с конструкцией используемого спускового механизма.
5.4. Средства измерения и вспомогательное оборудование
5.4.1. Металлические измерительные линейки - по
ГОСТ 427.
5.4.2. В качестве измерительного конуса применяется градуированный конус с размерами, приведенными на
рисунке 3, и массой (600 +/- 5) г, включая рукоятку. Шкала измерительного конуса должна обеспечивать возможность измерения отверстий диаметром до 50 мм с ценой деления 1 мм и быть изготовлена в виде штрихов с шагом 3,5 мм по высоте (оси) конуса. Размеры штрихов должны соответствовать требованиям
ГОСТ 427.
Размеры в миллиметрах
Рисунок 3. Измерительный конус
5.4.3. К вспомогательному оборудованию и приспособлениям относятся средства, обеспечивающие горизонтальное положение испытываемого образца и вертикальное положение оси испытательного конуса (например, строительный уровень по
ГОСТ 9416 и регулировочные винты).
6. Требования безопасности и охраны окружающей среды
6.1. При работе с геосинтетическими материалами используют одежду специальную защитную по
ГОСТ 12.4.131 или
ГОСТ 12.4.132. Для защиты рук используют перчатки по
ГОСТ Р 12.4.246. При работе с материалами, содержащими стекловолокно, дополнительно применяют защитные дерматологические средства от пыли по
ГОСТ 12.4.068.
6.2. Испытанный материал утилизируют в соответствии с рекомендациями завода-изготовителя, указанными в стандарте организации на материал.
7. Требования к условиям испытаний
7.1. Испытываемые образцы должны храниться и испытываться при нормальных климатических условиях.
За нормальные значения климатических факторов внешней среды (нормальные климатические условия) принимают следующие:
- температура воздуха .................................. (20 +/- 2) °C;
- относительная влажность воздуха ....................... (65 +/- 5)%.
7.2. При хранении и проведении испытаний должно быть исключено прямое воздействие солнечных лучей и нагревательных приборов на испытываемый материал.
8. Порядок подготовки к проведению испытаний
При подготовке к выполнению испытаний проводят следующие работы:
- отбор проб;
- подготовку испытываемых образцов;
- подготовку и настройку оборудования к испытаниям.
8.1. Отбор проб
8.1.1. Пробы материалов должны отбираться в соответствии с установленными требованиями. Отбор проб геотекстильных материалов производится в соответствии с
ГОСТ Р 50275; изделий из стекловолокна - в соответствии с ГОСТ 6943.0; гидроизоляционных полимерных материалов - в соответствии с
ГОСТ Р ЕН 13416. Отобранные пробы должны соответствовать свойствам всей партии материала.
8.1.2. Объем выборки устанавливают в соответствии с таблицей 1.
Таблица 1
Объем выборки упаковочных единиц
Количество материала в партии, м2 | Число упаковочных единиц в выборке, шт. |
До 5000 | 3 |
Свыше 5000 | 3 и дополнительно 1 от каждых последующих начатых 5000 м2 |
Упаковочные единицы не должны иметь дефектов и должны быть упакованы.
8.1.3. Из каждой отобранной упаковочной единицы должно быть отобрано не менее одной пробы материала.
8.1.4. Два первых слоя упаковочной единицы не должны использоваться для изготовления образцов.
8.1.5. Если испытываемый образец из пробы вырезают не сразу, то проба должна храниться в темном месте, защищенном от пыли, химического и физического воздействий, при нормальных климатических условиях по
7.1.
8.2. Подготовка образцов
8.2.1. Из каждой отобранной пробы должны быть вырезаны или вырублены пять испытываемых образцов диаметром не менее 200 мм.
Испытываемые образцы должны быть подготовлены так, чтобы один образец не являлся непосредственным продолжением другого.
При разметке проб первый образец должен вырезаться на расстоянии от края пробы не менее 0,1 ее ширины (см. рисунок 4). Испытываемые образцы должны полностью характеризовать пробу.
1 - проба материала; 2 - образец материала;
b - ширина пробы материала
Рисунок 4. Схема отбора испытываемых образцов
Для проведения предварительного испытания могут быть использованы дополнительные образцы. Для каждого испытания необходимо использовать новый образец.
8.2.2. Если физико-механические характеристики испытываемого материала для лицевой и изнаночной сторон различны, то оценку стойкости геосинтетического материала динамическому продавливанию следует производить для обеих сторон. Число образцов для каждой стороны должно быть не менее пяти.
8.2.3. Испытанию должны быть подвергнуты не менее пяти образцов, отобранных в случайном порядке, но не менее одного от каждой пробы.
Если физико-механические характеристики испытываемого материала для лицевой и изнаночной сторон различны, то оценку стойкости геосинтетического материала динамическому продавливанию следует производить для обеих сторон. Количество образцов для каждой стороны должно быть не менее пяти.
Для проведения предварительного эксперимента могут быть использованы дополнительные образцы. Для каждого испытания необходимо использовать новый образец.
8.2.4. На каждом испытываемом образце размечают и вырезают отверстия, необходимые для закрепления колец зажимной системы винтами.
8.2.5. Перед проведением испытаний образцы должны быть кондиционированы (выдержаны) в течение не менее 24 ч при температурно-влажностных условиях в соответствии с
разделом 7.
8.2.6. Допускается сокращать время кондиционирования по 8.2.5 до 1 ч, если известно, что свойства геосинтетического материала не зависят от влажности и температуры воздуха.
8.3. Подготовка и настройка оборудования к испытаниям
8.3.1. Перед проведением испытаний необходимо провести подготовку и настройку оборудования в соответствии с руководством по эксплуатации используемого оборудования.
8.3.2. Необходимо обеспечить горизонтальное расположение зажимных колец относительно рамы, используя средства в соответствии с
5.4.3.
9. Порядок выполнения испытаний
9.1. Испытания проводят на образцах, кондиционированных в соответствии с
8.2.5 или
8.2.6.
9.2. Испытываемый образец закрепляется между кольцевыми зажимами без провисания, используя направляющий блок (см.
рисунок 1, а)). По внутреннему диаметру образца маркером проводят окружность для контроля смещения образца (контрольная линия) во время испытания. Устанавливают зажимную систему (обойму) в испытательную установку.
9.3. Испытательный конус устанавливается на заданной высоте, равной (500 +/- 2) мм.
9.4. Испытательный конус освобождается таким образом, чтобы он упал с установленной высоты без сотрясений в центр поверхности образца. Измеряют смещение образца, используя контрольную линию, относительно внутренней поверхности зажимной системы после падения испытательного конуса. Смещение образца не должно превышать 1 мм.
9.5. После этого испытательный конус удаляется и сразу же в отверстие вставляется измерительный конус. Измерительный конус держат строго в вертикальном положении, не оказывая дополнительного давления. Через 10 с измеряют диаметр отверстия с точностью до миллиметра, используя градуированную шкалу измерительного конуса. Полученное значение при вертикальном положении конуса должно быть наибольшим видимым диаметром, наблюдаемым с нижней стороны образца.
Если измерительный конус проникает в отверстие полностью, то величина диаметра отверстия не измеряется, а данный факт должен быть отражен в протоколе испытаний.
9.6. При испытании образцов геосинтетических материалов, обладающих различными свойствами в продольном и поперечном направлениях относительно испытательной машины, необходимо измерить больший видимый диаметр.
9.7. Если испытательный конус отскакивает от испытываемого образца и при падении совершает повторный удар, увеличивая отверстие или проделывая новое, то в этом случае следует измерить диаметр большего отверстия.
Если испытательный конус не проникает в образец или он проходит сквозь него полностью, то данный факт должен быть отражен в протоколе испытаний.
9.8. При испытании тканого геотекстильного материала нити образца могут быть сдвинуты, а не порваны. Данный факт должен быть отмечен в протоколе испытаний.
9.9. Результаты испытаний фиксируются в протоколе испытаний.
9.10. Данные операции повторяются со всеми испытываемыми образцами.
10. Обработка результатов испытаний
10.1. Обработка результатов испытаний геосинтетических материалов выполняется следующим образом:
- определяется средний диаметр полученных отверстий в результате проникновения испытательного конуса в образцы геосинтетического материала

, мм, по формуле

(1)
где di - диаметр отверстия i-го образца, мм;
n - общее число испытанных образцов с учитываемыми результатами испытания.
Результат определения среднего диаметра отверстий округляется до 0,1 мм;
- коэффициент вариации CP, %, находится по формуле

(2)
где

- среднеквадратическое отклонение, которое вычисляется по формуле

(3)
10.2. Если падающий конус не проникает в один или несколько образцов вообще или если он проникает в них полностью, то средняя величина диаметра не рассчитывается. В этом случае индивидуальные результаты по каждому из испытанных образцов вносятся в протокол испытаний.
Если измерительный конус проникает полностью в один или несколько образцов, то средняя величина диаметра не рассчитывается. В этом случае индивидуальные результаты по каждому из испытанных образцов вносятся в протокол испытаний.
11. Оформление результатов испытаний
Результаты измерений оформляются в виде протокола испытаний, который должен содержать:
- название организации, проводившей испытания;
- сведения об образцах, дату поступления партии и дату проведения испытаний;
- ссылку на акт отбора проб;
- условия кондиционирования образцов;
- значение температуры, при которой проводились испытания;
- сведения об ориентации образца при испытании (лицевой или изнаночной стороной вверх);
- значение среднего диаметра отверстий;
- среднеквадратичное отклонение и коэффициент вариации;
- примечания (если таковые имеются);
- фамилия, имя, отчество и подпись лица, проводившего испытания;
- фамилия, имя, отчество и подпись лица, ответственного за испытания.
12. Контроль точности результатов измерений
12.1. Точность результатов измерений обеспечивается:
- соблюдением требований настоящего стандарта;
- проведением периодической калибровки и поверки используемого испытательного, вспомогательного оборудования и приспособлений.
Лицо, проводящее измерения, должно быть ознакомлено с требованиями настоящего стандарта.
12.2. Диапазон результатов измерений (x
max - x
min) сопоставляют с критическим диапазоном для уровня вероятности 95% CR
0,95(n), рассчитанным по
ГОСТ Р ИСО 5725-6 для соответствующего значения числа измерений n по формуле

(4)
| | ИС МЕГАНОРМ: примечание. Обозначение дано в соответствии с официальным текстом документа. | |

- стандартное отклонение повторяемости.
Если диапазон результатов не превышает критический, то среднее арифметическое значение результатов всех n измерений используют в качестве окончательного результата.
Если диапазон результатов превышает критический диапазон CR0,95(n), то для получения окончательного результата проводят повторные испытания на удвоенном числе образцов 2n. За окончательный результат принимают среднее арифметическое значение результатов всех 2n измерений.
Показатели сходимости результатов испытаний, полученных в условиях повторяемости (сходимости) и воспроизводимости, определяются в соответствии с
ГОСТ Р ИСО 5725-1.