Главная // Актуальные документы // ГОСТ Р (Государственный стандарт)СПРАВКА
Источник публикации
М.: Стандартинформ, 2015
Примечание к документу
Документ
введен в действие с 1 июля 2015 года.
Название документа
"ГОСТ Р 56296-2014. Национальный стандарт Российской Федерации. Устройства шиберные металлические защитные для взрывоопасных производств. Технические требования и оценка прочности"
(утв. и введен в действие Приказом Росстандарта от 11.12.2014 N 1968-ст)
"ГОСТ Р 56296-2014. Национальный стандарт Российской Федерации. Устройства шиберные металлические защитные для взрывоопасных производств. Технические требования и оценка прочности"
(утв. и введен в действие Приказом Росстандарта от 11.12.2014 N 1968-ст)
Утвержден и введен в действие
агентства по техническому
регулированию и метрологии
от 11 декабря 2014 г. N 1968-ст
НАЦИОНАЛЬНЫЙ СТАНДАРТ РОССИЙСКОЙ ФЕДЕРАЦИИ
УСТРОЙСТВА ШИБЕРНЫЕ МЕТАЛЛИЧЕСКИЕ ЗАЩИТНЫЕ
ДЛЯ ВЗРЫВООПАСНЫХ ПРОИЗВОДСТВ
ТЕХНИЧЕСКИЕ ТРЕБОВАНИЯ И ОЦЕНКА ПРОЧНОСТИ
Metal gate devices for explosives facility sites.
Technical requirements and strength assessment
ГОСТ Р 56296-2014
589400
Дата введения
1 июля 2015 года
1 РАЗРАБОТАН Открытым акционерным обществом "Красноармейский научно-исследовательский институт механизации" (ОАО "КНИИМ")
2 ВНЕСЕН Федеральным агентством по техническому регулированию и метрологии
3 УТВЕРЖДЕН И ВВЕДЕН В ДЕЙСТВИЕ
Приказом Федерального агентства по техническому регулированию и метрологии от 11 декабря 2014 г. N 1968-ст
4 ВВЕДЕН ВПЕРВЫЕ
Правила применения настоящего стандарта установлены в ГОСТ Р 1.0-2012 (раздел 8). Информация об изменениях к настоящему стандарту публикуется в ежегодном (по состоянию на 1 января текущего года) информационном указателе "Национальные стандарты", а официальный текст изменений и поправок - в ежемесячном информационном указателе "Национальные стандарты". В случае пересмотра (замены) или отмены настоящего стандарта соответствующее уведомление будет опубликовано в ближайшем выпуске информационного указателя "Национальные стандарты". Соответствующая информация, уведомление и тексты размещаются также в информационной системе общего пользования - на официальном сайте Федерального агентства по техническому регулированию и метрологии в сети Интернет (gost.ru)
Настоящий стандарт распространяется на шиберные металлические устройства (ШУ) для взрывоопасных производств, предназначенные для защиты обслуживающего персонала, находящегося в закабинном пространстве, от действия воздушной ударной волны (ВУВ) и осколков корпусов боеприпасов и оборудования при взрыве конденсированных взрывчатых веществ (ВВ) в кабине.
ШУ устанавливается в технологическом проеме кабины, через который производится загрузка оборудования взрывчатыми материалами и взрывоопасными изделиями для производства опасных и особо опасных операций.
Стандарт устанавливает типы, основные параметры и размеры, методы расчета и технические требования к ШУ.
Положения настоящего стандарта должны применять расположенные на территории Российской Федерации организации, предприятия и другие субъекты научной и хозяйственной деятельности независимо от форм собственности и подчинения.
В настоящем стандарте использованы нормативные ссылки на следующие стандарты:
ГОСТ 1050-88 Прокат сортовой, калиброванный, со специальной отделкой поверхности из углеродистой качественной конструкционной стали. Общие технические условия
ГОСТ 6636-69 Основные нормы взаимозаменяемости. Нормальные линейные размеры
Примечание - При пользовании настоящим стандартом целесообразно проверить действие ссылочных стандартов в информационной системе общего пользования - на официальном сайте Федерального агентства по техническому регулированию и метрологии в сети Интернет или по ежегодному информационному указателю "Национальные стандарты", который опубликован по состоянию на 1 января текущего года, и по выпускам ежемесячного информационного указателя "Национальные стандарты" за текущий год. Если заменен ссылочный стандарт, на который дана недатированная ссылка, то рекомендуется использовать действующую версию этого стандарта с учетом всех внесенных в данную версию изменений. Если заменен ссылочный стандарт, на который дана датированная ссылка, то рекомендуется использовать версию этого стандарта с указанным выше годом утверждения (принятия). Если после утверждения настоящего стандарта в ссылочный стандарт, на который дана датированная ссылка, внесено изменение, затрагивающее положение, на которое дана ссылка, то это положение рекомендуется применять без учета данного изменения. Если ссылочный стандарт отменен без замены, то положение, в котором дана ссылка на него, рекомендуется применять в части, не затрагивающей эту ссылку.
В настоящем стандарте применены следующие термины с соответствующими определениями:
3.1 кабина железобетонная монолитная (далее по тексту кабина): Монолитное железобетонное сооружение, предназначенное для локализации взрыва и обеспечения безопасности обслуживающего персонала.
3.2 вышибная поверхность: Легкосбрасываемая конструкция, заменяющая одну из стен и/или покрытие кабины, и предназначенная для сброса избыточного давления при аварийном взрыве.
3.3 шиберное устройство: Конструкция, предназначенная для перекрытия технологического проема в стене кабины с целью защиты обслуживающего персонала, находящегося в закабинном пространстве, от действия поражающих факторов взрыва.
3.4 шибер: Основной элемент шиберного устройства, представляющий собой задвижку, перекрывающую технологический проем.
3.5 строительная высота: Расстояние между продольными осями симметрии облицовочных плит для трехслойного шибера.
4 Обозначения и сокращения
ВВ - взрывчатое вещество;
ВУВ - воздушная ударная волна;
ШУ - шиберное устройство;

- угол падения воздушной ударной волны, образованный между направлением из центра заряда на центр шибера и нормалью к нему, град;

- тротиловый эквивалент взрывчатого вещества;

- единичный прогиб цилиндрического шиберного устройства под приведенной массой, м/кг;

- единичный прогиб цилиндрического шиберного устройства под сосредоточенной массой, м/кг;

- максимальный зазор между каркасом и наружной поверхностью цилиндрического шиберного устройства, мм;

- относительное расстояние;

- плотность материала шибера, кг/м
3;

- статический предел текучести материала шибера, Па;

- максимальные касательные напряжения, Па;

- допустимые касательные напряжения, Па;

- характерное время фазы положительного давления, действующего на шибер, с;

- частота собственных колебаний цилиндрического шиберного устройства, с
-1;
a - скорость звука, м/с; для металла a = 5100 м/с;
b - высота технологического проема, м;
B - высота шибера, м;
Cэкв - масса эквивалентного сферического заряда ВВ, кг;
Cр - масса расчетного заряда ВВ, кг;
C - масса используемого заряда ВВ, кг;
d1 - диаметр болтов крепления направляющей, мм;
d2 - минимальный диаметр оси, мм;
Di - местная ширина шибера цилиндрического шиберного устройства, м;
Dm - наименьшая ширина шибера цилиндрического шиберного устройства, м;
E - модуль Юнга, Па;
Fi - площадь i-го поперечного сечения, м2;
Fq - площадь технологического проема в стене кабины, м2;
Fоп - площадь поперечного сечения оси цилиндрического шиберного устройства, м2;
g0 - ускорение свободного падения, м/с2;
H - высота шибера цилиндрического шиберного устройства, м;
H1 - высота кабины от пола до внутренней поверхности перекрытия, м;
h - высота цилиндрической выемки в технологическом проеме, м;
h1 - расстояние от центра массы заряда до пола кабины, м;
h1min - минимальное расстояние от центра массы заряда до пола кабины, м;
Ji - момент инерции i-го сечения цилиндрического шиберного устройства, м4;
i1 - первичный импульс, Па·с;
i2 - вторичный импульс, Па·с;

- суммарный равномерно распределенный импульс, Па·с;
k - коэффициент снижения нагрузки;
kд - коэффициент динамичности;
l1 - расстояние от центра массы заряда до боковой стены кабины, м;
l1min - минимальное расстояние от центра массы заряда до боковой стены кабины, м;
lоп - расстояние от точки приложения расчетной статически эквивалентной нагрузки P до опоры, м;
l - ширина технологического проема, м;
li - длина пролета i-го поперечного сечения, м;
l'i - приведенная длина пролета i-го поперечного сечения, 1/Н·м;
lб - длина болтов для крепления направляющей, мм;
L - ширина шибера, м;
L1 - расстояние между боковыми стенами, м;
Mi - изгибающий момент в i-ом поперечном сечении при действии единичной нагрузки, Н·м/Н;
Mmax - максимальный изгибающий момент, Н·м;
Mпр - приведенная масса цилиндрического шиберного устройства, кг;
MТ - предельный изгибающий момент на единицу длины наиболее нагруженного сечения цилиндрического шиберного устройства, Н·м;
M1 - максимальный изгибающий момент, возникающий в сечении цилиндрического шиберного устройства при действии единичной нагрузки, Н·м/Н;
mi - сосредоточенная масса i-го поперечного сечения цилиндрического шиберного устройства, кг;
n - запас прочности по предельным нагрузкам;
n1 - количество болтов крепления направляющей, шт.;
Pфi - фиктивная нагрузка i-го поперечного сечения, Н;
P1 - единичная нагрузка, которая при расчете принимается равной 1, Н;

- давление на фронте проходящей воздушной ударной волны при воздушном взрыве, Па;

- давление на фронте отраженной воздушной ударной волны при воздушном взрыве, Па;

- давление на фронте проходящей ударной волны при наземном взрыве, Па;

- давление на фронте головной ударной волны, Па;

- давление, действующее на шибер, Па;
Q - статическая эквивалентная сосредоточенная нагрузка, Н;
q - расчетная статическая эквивалентная равномерно распределенная нагрузка, действующая на шиберное устройство, Па;
R - кратчайшее расстояние между центром заряда и центром шибера, м;
Rn - расстояние по нормали от центра заряда до шибера, м;
Rоп - реакция опоры цилиндрического шиберного устройства, Н;
ri - местный радиус цилиндрической выемки в технологическом проеме, м;
r0 - радиус эквивалентного сферического заряда, м;
S - толщина однослойного или трехслойного шибера, мм;
S' - строительная высота, мм;
S1 - толщина металлической облицовочной плиты, мм;
S2 - толщина минимального сечения направляющей, мм;
S'2 - толщина нижней полки направляющей, мм;
S3 - толщина каркаса, мм;
S4 - толщина обечайки, мм;
S5 - толщина диска, мм;
S6 - толщина стенки защитного кожуха цилиндрического ШУ с S-образным шибером, мм;
Sос - толщина основания, мм;
t - время разрушения опоры, с;
T - период собственных колебаний цилиндрического шиберного устройства, с;
W - статический момент сечения цилиндрического шиберного устройства, м3;
Z - приведенное расстояние от центра заряда до центра шибера, м/кг1/3.
5.1 ШУ должно изготавливаться в соответствии с требованиями настоящего стандарта по технической документации, утвержденной в установленном порядке.
5.2 ШУ должно размещаться на стене кабины с ее внутренней стороны.
5.3 Конструкция ШУ должна исключать возможность проникновения продуктов взрыва и ударной волны через зазоры между элементами устройства.
5.4 Устанавливаются для применения следующие типы ШУ:
- цилиндрические с плоским шибером,
рисунок 8;
- цилиндрические с S-образным шибером,
рисунок 9.
1 - основание; 2 - болты крепления направляющей; 3 - ролик шибера; 4 - направляющая; 5 - шибер; 6 - уплотнения; 7 - место расположения аппаратчика; 8 - анкерные болты; 9 - силовой привод
Примечание - Чертеж не предопределяет конструкцию ШУ.
Рисунок 1 - Плоское шиберное устройство
5.5 Зазоры между направляющей и шибером плоского ШУ должны соответствовать посадке не ниже

.
5.6 Зазоры между наружной поверхностью цилиндрического ШУ и каркасом должны быть не более 3 мм. Уплотнение должно обеспечивать плотное прилегание к наружной поверхности цилиндрического ШУ.
5.7 Конструкция цилиндрического ШУ с S-образным шибером должна предусматривать установку внутри кабины защитного металлического кожуха с толщиной стенки не менее 5 мм.
5.8 Конструкция цилиндрического ШУ с S-образным шибером должна включать блокировочное тормозное устройство, препятствующее проворачиванию шибера при аварийной ситуации.
5.9 Конструкция сварных узлов должна обеспечивать равнопрочность основного металла (более тонкого из свариваемых элементов).
5.10 Число анкерных болтов должно быть не менее четырех, диаметр которых должен быть не менее 16 мм.
5.11 Элементы шиберных устройств должны изготавливаться из материалов, указанных в таблице 1.
Таблица 1
Материалы для элементов шиберного устройства
Наименование элемента | Марка материала |
Плита шиберная | |
Основание | |
Направляющие | |
Болты крепления направляющих | |
Анкерные болты | |
Ось устройства шиберного цилиндрического | |
Обечайки | |
Диски | |
Жесткий наполнитель трехслойного шибера | |
5.12 Допускается применение других марок конструкционных сталей, имеющих прочностные характеристики не ниже чем у материалов, указанных в
таблице 1. Выбор материала должен определяться свойствами транспортируемых через ШУ веществ и условиями технологического процесса.
5.13 Безопасная зона для обслуживающего персонала устанавливается при проектировании технологической линии.
Если загрузка кабины ВВ не превышает 5 кг и кратчайшее расстояние от центра заряда до ШУ не менее 0,5 м, допускается нахождение рабочего места аппаратчика напротив технологического проема на расстоянии не менее 1 м от стены кабины.
В противном случае рабочее место аппаратчика должно быть вне зоны прямого действия генерируемой ударной волны.
6 Основные параметры и размеры шиберных устройств
6.1 Прямоугольный технологический проем
6.1.1 Размеры прямоугольного технологического проема выбираются согласно таблице 2 и
ГОСТ 6636.
Таблица 2
Размеры прямоугольного технологического проема
Ширина технологического проема, l, м | Высота технологического проема, b, м |
0,20 +/- 0,05 | 0,20 +/- 0,05 |
0,32 +/- 0,05 | 0,16 +/- 0,05; 0,25 +/- 0,05; 0,32 +/- 0,05 |
0,40 +/- 0,05 | 0,20 +/- 0,05; 0,32 +/- 0,05; 0,40 +/- 0,05 |
0,50 +/- 0,05 | 0,25 +/- 0,05; 0,32 +/- 0,05; 0,40 +/- 0,05; 0,50 +/- 0,05 |
0,63 +/- 0,10 | 0,32 +/- 0,05; 0,40 +/- 0,05; 0,50 +/- 0,05; 0,63 +/- 0,10 |
0,80 +/- 0,10 | 0,40 +/- 0,05; 0,50 +/- 0,05; 0,63 +/- 0,10; 0,80 +/- 0,10 |
1,00 +/- 0,10 | 0,50 +/- 0,05; 0,63 +/- 0,10; 0,80 +/- 0,10; 1,00 +/- 0,10 |
1,25 +/- 0,15 | 0,63 +/- 0,10; 0,80 +/- 0,10; 1,00 +/- 0,10; 1,25 +/- 0,10 |
1,60 +/- 0,20 | 0,80 +/- 0,10; 1,00 +/- 0,10; 1,25 +/- 0,10; 1,60 +/- 0,20 |
6.2 Болты крепления направляющей
6.2.1 Количество болтов для крепления направляющей выбирается согласно таблице 3.
Таблица 3
Количество болтов для крепления направляющей
Расстояние от центра масс заряда до центра шибера R, м | Масса эквивалентного заряда Cэкв, кг |
1 | 5 | 10 | 20 | 40 | 60 |
0,5 | 3 | 4 | 4 | 4 | 4 | - |
1,0 | 3 | 3 | 3 | 4 | 4 | 4 |
1,5 | 3 | 3 | 3 | 4 | 4 | 4 |
2,0 | 3 | 3 | 3 | 3 | 4 | 4 |
Примечание - При интерполировании промежуточных значений количества болтов необходимо выбирать большее число болтов крепления. |
6.2.2 Диаметр болтов для крепления направляющей выбирается из таблицы 4.
Таблица 4
Диаметр болтов для крепления направляющей, мм
Расстояние от центра масс заряда до центра шибера R, м | Масса эквивалентного заряда Cэкв, кг |
1 | 5 | 10 | 20 | 40 | 60 |
0,5 | 12 | 16 | 25 | 30 | 40 | - |
1,0 | 12 | 12 | 12 | 16 | 20 | 25 |
1,5 | 12 | 12 | 12 | 16 | 16 | 16 |
2,0 | 12 | 12 | 12 | 12 | 12 | 12 |
Примечание - При интерполировании промежуточных значений диаметров болтов крепления необходимо выбирать больший диаметр. |
6.2.3 Длина болтов для крепления направляющей, м, выбирается из условия

(1)
6.3 Плоское шиберное устройство
6.3.1 Основные параметры плоского шиберного устройства должны соответствовать параметрам, указанным в таблице 5 и на
рисунке 1.
Таблица 5
Основные параметры плоского шиберного устройства
Наименование основного параметра | Буквенное обозначение | Значение основного параметра |
Размеры шибера для плоского ШУ: | | |
высота, м | B | B = 1,4·b |
ширина, м | L | L = 1,4·l |
толщина однослойного или трехслойного шибера, мм | S | |
строительная высота, мм | S' | |
Толщина минимального сечения направляющей, мм | S2 | |
Толщина нижней полки направляющей, мм | S'2 | S'2 >= S2 |
Толщина основания, мм | Sос | |
6.3.2 Толщина шибера S согласно
рисунку 1 определяется в зависимости от размеров технологического проема, эквивалентной массы заряда и его расположения относительно шибера.
6.3.2.1 Массу эквивалентного сферического заряда, кг, тротила определяют по формуле

(2)
где

- тротиловый эквивалент используемого ВВ;
C - масса используемого ВВ, кг.
При взрыве в кабине нескольких зарядов, приведенную массу заряда, кг, определяют по формуле

(3)
где i - номер заряда (i = 1, 2, 3, ..., n);
N - количество зарядов.
В этом случае при расчете ударно-волнового воздействия на шиберное устройство считается, что заряд с приведенной массой ВВ расположен в центре масс системы единовременно детонирующих зарядов.
6.3.2.2 Радиус эквивалентного сферического заряда, м, из тротила с насыпной плотностью определяется по формуле
Относительное расстояние

от центра заряда до центра шибера вычисляется по формуле
где R - кратчайшее расстояние между центром заряда и центром шибера, м.
6.3.2.3 Угол падения ВУВ, образованный между направлением из центра заряда на центр шибера и нормалью к нему, показанный на
рисунке 1, определяют по формуле

(4)
где Rn - расстояние по нормали от центра заряда до шибера, м.
6.3.2.4 Толщину шибера назначают по графикам
рисунка 2, если

;
0,20 +/- 0,05 <= l <= 0,63 +/- 0,10;
0,20 +/- 0,05 <= b <= 0,63 +/- 0,10.
1 - Cэкв = 1 кг; 2 - Cэкв = 5 кг; 3 - Cэкв = 10 кг;
4 - Cэкв = 20 кг; 5 - Cэкв = 40 кг; 6 - Cэкв = 60 кг
Рисунок 2 - Зависимость толщины шибера S от расстояния
до центра заряда R при

; 0,2 м <= l <= 0,63 м; 0,2 м <= b <= 0,63 м
6.3.2.5 Толщину шибера назначают по графикам
рисунка 3, если

;
0,63 +/- 0,10 <= l <= 1,00 +/- 0,10;
0,32 +/- 0,05 <= b <= 1,00 +/- 0,10.
1 - Cэкв = 1 кг; 2 - Cэкв = 5 кг; 3 - Cэкв = 10 кг;
4 - Cэкв = 20 кг; 5 - Cэкв = 40 кг; 6 - Cэкв = 60 кг
Рисунок 3 - Зависимость толщины шибера S от расстояния
до центра заряда R при

; 0,63 м < l <= 1,0 м; 0,32 м < b <= 1,0 м
6.3.2.6 Толщину шибера назначают по графикам
рисунка 4, если

;
1,00 +/- 0,10 <= l <= 1,25 +/- 0,15;
0,50 +/- 0,05 <= b <= 1,25 +/- 0,15.
1 - Cэкв = 1 кг; 2 - Cэкв = 5 кг; 3 - Cэкв = 10 кг;
4 - Cэкв = 20 кг; 5 - Cэкв = 40 кг; 6 - Cэкв = 60 кг
Рисунок 4 - Зависимость толщины шибера S от расстояния
до центра заряда R при

; 1,0 м < l <= 1,25 м; 0,5 м <= b <= 1,25 м
6.3.2.7 Толщину шибера назначают по графикам
рисунка 5, если

;
1,25 +/- 0,15 <= l <= 1,60 +/- 0,20;
0,80 +/- 0,10 <= b <= 1,60 +/- 0,20.
1 - Cэкв = 1 кг; 2 - Cэкв = 5 кг; 3 - Cэкв = 10 кг;
4 - Cэкв = 20 кг; 5 - Cэкв = 40 кг; 6 - Cэкв = 60 кг
Рисунок 5 - Зависимость толщины шибера S от расстояния
до центра заряда R при

; 1,25 м < l <= 1,6 м; 0,8 м <= b <= 1,6 м
6.3.2.8 Если проектируемый шибер не подпадает ни под одно из выше перечисленных условий, то толщина шибера определяется по формуле, представленной в
8.2.1.
6.3.2.9 Рекомендуется назначать толщину однослойного шибера в интервале 5 <= S <= 50 мм. Если толщина однослойного шибера не удовлетворяет требованиям безопасности, следует применять трехслойный шибер.
6.3.2.10 Трехслойный шибер состоит из двух металлических облицовочных плит и жесткого наполнителя. Толщина трехслойного шибера, мм, показана на
рисунке 6 и составляет
где S' - строительная высота, равная толщине однослойного шибера, определяемого согласно
6.3.2.4 -
6.3.2.7, мм;
S1 - толщина металлической облицовочной плиты, мм.

(6)
1 - верхняя облицовочная плита; 2 - ребра жесткости; 3 - жесткий наполнитель; 4 - нижняя облицовочная плита; 5 - направляющая; 6 - основание; 7 - болты крепления направляющей
Рисунок 6 - Трехслойный шибер
6.3.2.11 Если относительное расстояние от центра заряда до центра шибера находится в диапазоне

и при взрыве возможно образование осколков (осколочные снаряды или заряды в оболочке), то шибер должен иметь толщину не менее 32 мм.
6.3.2.12 Для плоских шиберных устройств допускается применение разрезных шиберов, состоящих из двух металлических плит, стыкующихся между собой по линии разреза. При этом толщины плит получат умножением значения толщины шибера, выбранного согласно
6.3.2.4 -
6.3.2.7, на коэффициент 1,2. Остальные основные параметры выбирают так же как и для неразрезного шибера.
6.3.3 Толщина минимального сечения направляющей S
2 показана на
рисунке 1 и выбирается согласно графикам
рисунка 7, или вычисляется по формуле, представленной в
8.2.2.
1 - Cэкв = 1 кг; 2 - Cэкв = 5 кг; 3 - Cэкв = 10 кг;
4 - Cэкв = 20 кг; 5 - Cэкв = 40 кг; 6 - Cэкв = 60 кг
Рисунок 7 - Зависимость толщины минимального сечения
направляющих S2 от расстояния до центра заряда R
6.3.4 Толщина основания плоского ШУ S
ос, м, выбирается равной половине толщины однослойного шибера

(7)
6.4 Цилиндрическое шиберное устройство
6.4.1 Основные параметры цилиндрического шиберного устройства должны соответствовать параметрам, указанным в таблице 6 и на
рисунках 8 и
9.
Таблица 6
Основные параметры цилиндрического шиберного устройства
Наименование основного параметра | Буквенное обозначение | Значение основного параметра |
Размеры шибера цилиндрического ШУ: | | |
наименьшая ширина, м | Dm | Dm >= 1,2·b |
высота, м | H | H >= 1,2·l |
толщина однослойного или трехслойного шибера, мм | S | |
строительная высота, мм | S' | |
Толщина каркаса, мм | S3 | |
Толщина обечайки, мм | S4 | |
Толщина диска, мм | S5 | |
Толщина стенки защитного кожуха цилиндрического ШУ с S-образным шибером, мм | S6 | S6 >= 5 мм |
Минимальный диаметр оси, мм | d2 | Выбирают из условия Dm/d2 >= 12 |
Максимальный зазор между каркасом и наружной поверхностью цилиндрического ШУ, мм | | |
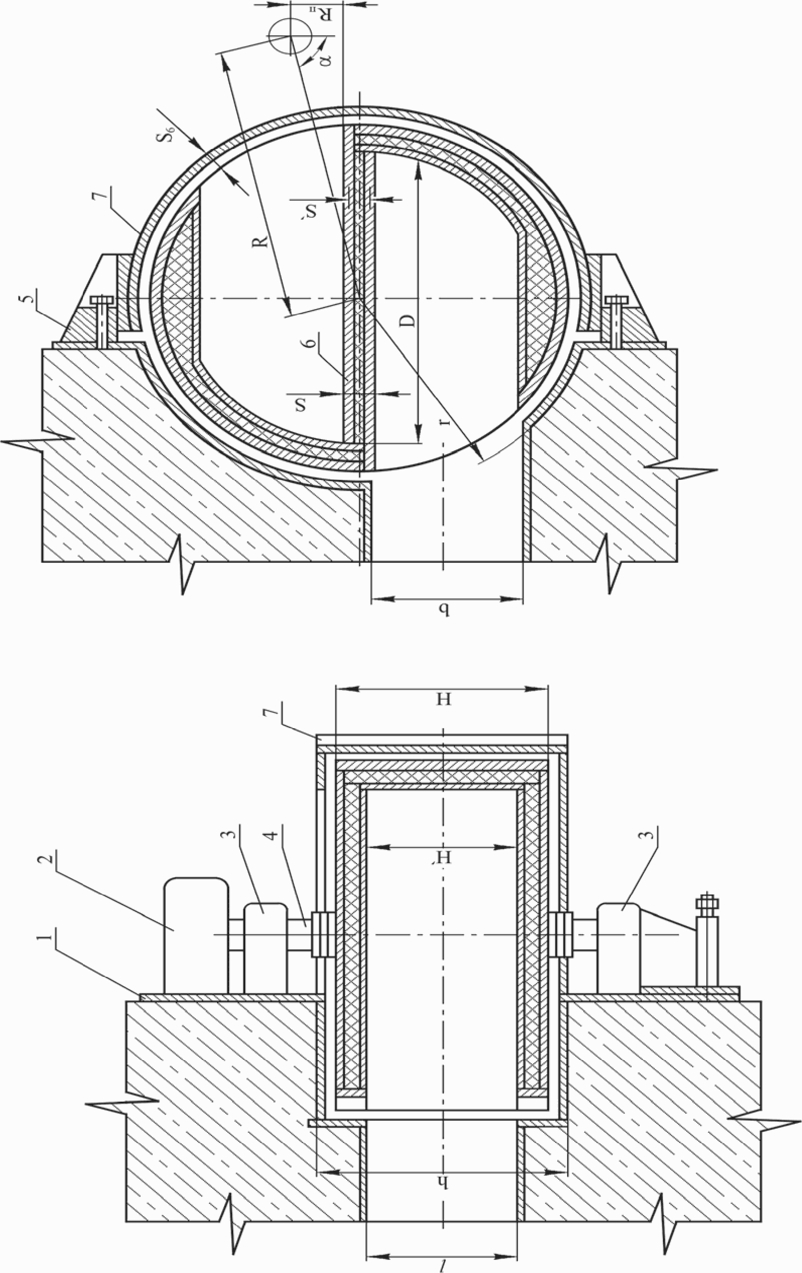
Цилиндрическое шиберное устройство с плоским шибером показано на
рисунке 8.
1 - каркас; 2 - привод; 3 - узел подвески; 4 - ось; 5 - обечайка; 6 - шибер; 7 - облицовочная плита; 8 - анкерный болт; 9 - уплотнение; 10 - прижим; 11 - диск
Примечание - Направляющие для подачи изделий на чертеже не показаны. Чертеж не предопределяет конструкцию ШУ.
Рисунок 8 - Цилиндрическое шиберное устройство
с плоским шибером
Цилиндрическое шиберное устройство с S-образным шибером показано на
рисунке 9.
1 - каркас; 2 - привод: 3 - узел подвески; 4 - ось; 5 - уплотнение; 6 - облицовочная плита; 7 - защитный кожух
Примечание - Направляющие для подачи изделий на чертеже не показаны. Чертеж не предопределяет конструкцию ШУ.
Рисунок 9 - Цилиндрическое шиберное устройство
с S-образным шибером
6.4.2 Толщина шибера S и его исполнение (однослойный или трехслойный) определяется согласно
6.3.2.4 -
6.3.2.11.
6.4.3 Для установки цилиндрического ШУ в технологическом проеме выполняется выемка профильной цилиндрической формы, повторяющей форму шибера. Местный радиус цилиндрической выемки, м, определяется из условия

(8)
где D
i - местная ширина шибера (см.
рисунок 8), м.
6.4.4 Высота цилиндрической выемки, м, в технологическом проеме для установки цилиндрического ШУ назначается из условия

(9)
6.4.5 Толщина каркаса S
3 цилиндрического ШУ выбирается равной половине строительной высоты трехслойного шибера.
6.4.6 Толщина обечайки S
4 и толщина дисков S
5 цилиндрического ШУ назначаются из следующих условий:
- S4 = S5 >= 5 мм - для ШУ одноразового использования, которое устанавливается в кабине при производстве технологических операций с малой вероятностью возникновения взрыва и которое после взрыва заменяется;
- S4 = S5 >= 10 мм - для ШУ многоразового использования, которое устанавливается в кабине при производстве технологических операций с частым возникновением взрыва и которое после смены осей и частичного ремонта обечайки может быть повторно установлено в технологическом проеме.
7 Расчет нагрузок, действующих на шиберное устройство при взрыве заряда ВВ в кабине
7.1 Определение параметров расчетной массы и приведенного расстояния
7.1.1 Для обеспечения необходимого запаса прочности расчетную массу заряда ВВ, кг, принимают равной
где 1,2 - коэффициент запаса.
7.1.2 Приведенное расстояние Z, м/кг1/3, от центра заряда до центра шибера вычисляют по формуле

(11)
7.2 Определение полного действующего импульса ударной волны на шиберное устройство
7.2.1 Импульс действующей ВУВ зависит от массы заряда, его химической природы, приведенного расстояния.
7.2.2 Среднее значение полного импульса, Па·с, действующего на ШУ, рассчитывается с учетом соударения волн в углах кабины и импульса от вторичных волн

(12)
где i1 - первичный импульс ударной волны, Па·с;
i2 - вторичный импульс ударной волны, Па·с.
7.3 Определение первичного импульса ударной волны
7.3.1 Для определения величины первичного импульса i
1, действующего на ШУ, поверхность стены кабины, на которой находится ШУ, разбивается на 9 секторов согласно
рисунку 10. Затем устанавливается к какому сектору примыкает ШУ.
1, 3, 7, 9 - секторы с трехгранным углом (три примыкающие поверхности);
2, 4, 6, 8 - секторы с двугранным углом (две примыкающие поверхности);
5 - сектор с нормальным отражением ВУВ
Рисунок 10 - Схема для определения импульса
7.3.2 В секторах, где находится трехгранный угол, импульс, Па·с, действующий при отражении падающей волны, рассчитывается по формуле
0,44 <= Z <= 5,7

(13)
7.3.3 В секторах, где находится двугранный угол, импульс, Па·с, определяется по формуле
0,4 <= Z <= 5,7

(14)
7.3.4 В секторах, где нет соударения волн (при нормальном отражении падающей волны), импульс, Па·с, определяется по следующим формулам:
при 0,38 <= Z <= 1,1

(15)
при 1,1 <= Z <= 5,7

(16)
7.3.5 Для секторов, примыкающих к вышибной поверхности, расчетное значение i
1 необходимо разделить на коэффициент снижения нагрузки k, который зависит от отношения

и массы вышибной поверхности. Коэффициент снижения нагрузки k применяется при выполнении условия

.
Если вышибная поверхность имеет массу единицы площади до 10 кг/м2, то k определяется по формуле

(17)
где V - объем кабины, м3.
Если вышибная поверхность имеет массу единицы площади от 10 до 150 кг/м2, то k определяется по формуле

(18)
Если к сектору примыкают две вышибные поверхности различной массы, в расчете необходимо использовать коэффициент k, определяемый по
формуле (17).
7.3.6 Если поверхность ШУ примыкает одновременно к нескольким секторам стены кабины, то первичный импульс i1 рассчитывается для каждого сектора отдельно и для дальнейших расчетов принимается усредненный импульс

(19)
где N - количество секторов, к которым примыкает ШУ.
7.3.7 При взрыве в кабине нескольких зарядов ВВ, первичный импульс i
1, действующий на стену кабины, принимается равным сумме импульсов, действующих от каждого заряда, и рассчитывается по
формулам (13) -
(16).
7.3.8 Коэффициент снижения нагрузки k для первичного импульса i
1 вычисляется по
7.3.5 с учетом того, что C
р равен сумме масс взорвавшихся зарядов.
7.4 Определение вторичного импульса ударной волны
Импульс, Па·с, воспринимаемый стеной кабины от вторичных волн, определяется по формулам:
при


(20)
при


(21)
При взрыве в кабине нескольких зарядов ВВ вторичный импульс i2 вычисляется с учетом того, что Cр равен сумме масс взорвавшихся зарядов.
7.5 Определение давлений, действующих на шиберное устройство, при взрыве заряда ВВ
7.5.1 Величина избыточного давления, действующего на ШУ при взрыве заряда ВВ, зависит от массы заряда, его химической природы, приведенного расстояния, и величины угла падения ВУВ.
Угол падения ВУВ на поверхность шибера

определяется по
6.3.2.3.
При

происходит регулярное отражение ВУВ и на поверхность шибера действует отраженная ВУВ.
При

происходит нерегулярное отражение ВУВ и на поверхность шибера действует головная ВУВ (волна Маха).
7.5.2 Избыточное давление в падающей ВУВ

и отраженной ВУВ

определяют по графикам
рисунка 11 в зависимости от приведенного расстояния.
Избыточное давление, Па, в отраженной ВУВ также можно вычислить по формуле

(22)
1 - Избыточное давление в отраженной ВУВ при взрыве в воздухе,

; 2 - Избыточное давление в падающей ВУВ при взрыве в воздухе,

; 3 - Избыточное давление в падающей ВУВ при наземном взрыве,

Рисунок 11 - Зависимость избыточного давления
от приведенного расстояния
7.5.3 Расчет избыточного давления, Па, на фронте головной УВ производят по формуле

(23)
Избыточное давление в падающей ударной волне при наземном взрыве

определяют по графику
рисунка 11.
7.5.4 Величина избыточного давления, действующего на шибер, определяется

(24)
7.5.5 Характерное время фазы положительного давления, с, действующего на шибер, вычисляется по формуле

(25)
8 Расчет на прочность шиберных устройств
8.1 Выявление откольных явлений
Устанавливаются минимальные расстояния от центра массы ВВ до боковой стены и пола, которые соответствуют отсутствию откольных явлений в стенах кабины

(26)
где l1 - расстояние от центра массы заряда до боковой стены кабины, м;
h1 - расстояние от центра массы заряда до пола кабины, м;
l1min - минимальное расстояние от центра массы заряда до боковой стены кабины, м;
h1min - минимальное расстояние от центра массы заряда до пола кабины, м.
При этом габаритные размеры кабины должны соответствовать условию

(27)
где L1 - расстояние между боковыми стенами кабины, м;
H1 - высота кабины от пола до внутренней поверхности перекрытия, м.
8.2 Расчет на прочность плоского шиберного устройства
8.2.1 Толщина однослойного шибера определяется из условия его прочности при воздействии взрывной ударной волны. Толщина шибера S, м, зависит от параметров ВУВ, свойств используемых материалов и размеров технологического проема. Расчетная схема ШУ должна соответствовать
рисунку 1.

(28)
где l - ширина технологического проема, м;

- предел текучести используемого материала, Па;

- плотность используемого материала, кг/м
3.
Толщина шибера должна удовлетворять требованиям
6.3.2.9 и
6.3.2.11. Если осколочные явления при взрыве заряда исключаются, то шибер должен иметь толщину не менее 5 мм.
Если применяется трехслойный шибер, то его толщина определяется по
6.3.2.10.
8.2.2 Толщина минимального сечения направляющей, м, должна удовлетворять условию

(29)
8.2.3 Количество болтов крепления направляющей и их диаметр определяют из условий:
- если направляющая не приварена к основанию

(30)
- если направляющая приварена к основанию

(31)
Минимальное количество болтов крепления 3. Минимальный диаметр d1 >= 10 мм.
8.3 Расчет на прочность цилиндрического шиберного устройства
8.3.1 При расчете основных параметров цилиндрического ШУ полный импульс

и избыточное давление ВУВ считается равномерно распределенным по длине ШУ.
Перед началом расчета цилиндрического ШУ на прочность выбираются его основные параметры и размеры согласно
разделу 6 настоящего стандарта. Толщина шибера может рассчитываться по
формуле (28) или
(5). Расчет на прочность цилиндрического ШУ устанавливает возможность его использования при однократном нагружении (устройство одноразового использования) и многократном нагружении (устройство многоразового использования) и является обязательным при проектировании новых устройств, а также при изменении загрузки в кабине или при перемещении в ней технологического оборудования, используемого для переработки ВВ.
8.3.2 Величину расчетной статической эквивалентной равномерно распределенной нагрузки, Па, выбирают из следующих условий
при

,

(32)
при

,

(33)
где T - период собственных колебаний цилиндрического ШУ, с;

- частота собственных колебаний цилиндрического ШУ, с
-1;
kд - коэффициент динамичности.
8.3.2.1 Период собственных колебаний цилиндрического ШУ, с, определяется по формуле

(34)
8.3.2.2 Коэффициент динамичности рассчитывают по формуле

(35)
8.3.2.3 Частоту собственных колебаний основного тона цилиндрического ШУ, с-1, определяют по формуле

(36)
где g0 - ускорение свободного падения, м/с2;

- единичный прогиб цилиндрического ШУ под приведенной массой, м/кг;
Mпр - приведенная масса цилиндрического ШУ, кг.
8.3.2.4 Приведенную массу цилиндрического ШУ определяют в следующем порядке:
- ШУ разбивают на i = 1, 2, ..., n участков, равных числу ступеней;
- выбирают сечение, к которому приводится многомассовая система (обычно это сечение, прилегающее к технологическому проему в стене кабины);
- определяют прогибы под сосредоточенными массами сечений по
8.3.2.5;
- сосредоточенная масса i-го поперечного сечения, кг, определяется по формуле

(37)
где Fi - площадь i-го поперечного сечения, м2;
li - длина пролета i-го поперечного сечения, м;
- приведенную массу ШУ, кг, рассчитывают по формуле

(38)
где

- единичный прогиб цилиндрического ШУ под сосредоточенной массой i-го поперечного сечения, м/кг.
8.3.2.5 Единичные прогибы под сосредоточенными массами поперечных сечений определяют в следующем порядке:
- в точку расположения приведенной массы, образуемую пересечением строительных осей технологического проема и ШУ, прикладывают единичную сосредоточенную силу P1 = 1 Н;
- производят построение эпюры моментов от действия единичной сосредоточенной силы как для балки с равной жесткостью по всему сечению;
- единичный прогиб под сосредоточенной массой рассчитывают от действия фиктивного момента, образованного фиктивными нагрузками, приложенными в местах расположения сосредоточенных масс;
- фиктивную нагрузку i-го поперечного сечения, Н, определяют по формуле

(39)
где Mi - изгибающий момент в i-ом поперечном сечении при действии единичной нагрузки, Н·м/Н;
- приведенную длину i-го поперечного сечения, 1/Н·м, рассчитывают по формуле

(40)
где E - модуль Юнга используемого материала, Па;
Ji - момент инерции i-го поперечного сечения цилиндрического ШУ, м4;
- по найденным фиктивным нагрузкам определяют реакции опор ШУ;
- единичный прогиб под приведенной массой определяют от действия момента, образованного фиктивными нагрузками.
8.3.3 Статическую эквивалентную сосредоточенную нагрузку, Н, действующую на ШУ, определяют по формуле
где Fq - площадь технологического проема в стене кабины, м2.
8.3.4 Максимальный изгибающий момент, Н·м, определяют по формуле
где M1 - максимальный изгибающий момент, возникающий в сечении цилиндрического ШУ при действии единичной нагрузки, который определяется методами начала возможных перемещений для упругих систем, Н·м/Н.
8.3.5 Предельный изгибающий момент, Н·м, наиболее нагруженного сечения рассчитывают по формуле

(43)
где W - статический момент сечения цилиндрического ШУ, м3.
8.3.6 Запас прочности по предельным нагрузкам определяют по формуле

(44)
8.3.7 Запас прочности цилиндрического ШУ должен удовлетворять условию
- для цилиндрического ШУ одноразового использования n >= 1,5;
- для цилиндрического ШУ многоразового использования n >= 2,5.
8.3.8 Условие прочности опор цилиндрического ШУ определяем неравенством

(45)
где

- максимальные касательные напряжения, Па;

- допускаемые касательные напряжения, Па.

(46)
где Fоп - площадь поперечного сечения оси цилиндрического шиберного устройства, м2;
Rоп - реакция опоры цилиндрического шиберного устройства, Н.
8.3.9 Время разрушения опоры, с, определяют по формуле

(47)
где lоп - расстояние от точки приложения расчетной статической эквивалентной сосредоточенной нагрузки до опоры, м;
a - скорость звука в металле, м/с; для стали a = 5100 м/с.
Если

, то ударная волна успеет выйти за пределы кабины через зазоры между цилиндрическим ШУ и каркасом. В этом случае при работе требуется следить за состоянием уплотнения, которое должно плотно прилегать к внешней поверхности цилиндрического ШУ.
(справочное)
ПРИМЕРЫ РАСЧЕТА ШИБЕРНЫХ УСТРОЙСТВ
ДЛЯ ВЗРЫВООПАСНЫХ ПРОИЗВОДСТВ
А.1 Определение основных параметров плоского шиберного устройства
А.1.1 Необходимо определить основные параметры плоского шиберного устройства по следующим исходным данным:
- технологический проем:
- ширина b = 0,6 м;
- высота l = 0,6 м;
- заряд ТГ-50 массой C = 17,5 кг;
- тротиловый эквивалент ТГ-50

;
- заряд находится в оболочке;
- расстояние от центра масс заряда до центра шибера R = 1 м;
- угол падения ВУВ

.
Округление всех линейных размеров принимается по
ГОСТ 6636.
Расчетная схема представлена на рисунке А.1.
Рисунок А.1
А.1.2 Для определения основных параметров плоского шиберного устройства найдем параметры эквивалентного сферического заряда.
По
формуле (2) найдем массу эквивалентного сферического заряда
Радиус эквивалентного сферического заряда и относительное расстояние

определим по
6.3.2.2
А.1.3 Размеры шибера определим согласно
таблице 5.
L = B = 1,4·0,6 = 0,84 м.
Принимаем, что L = B = 0,85 м.
А.1.4 Согласно
6.3.2.4 из найденной эквивалентной массы и имеющихся размеров технологического проема и угла падения ВУВ, толщину шибера S определим по графикам
рисунка 2
при C
экв = 20 кг;

.
В данном случае возможно образование осколков из-за того, что относительное расстояние находится в диапазоне

, и заряд содержится в оболочке. Следовательно, согласно
6.3.2.11 принимаем
S = 32 мм.
А.1.5 Толщину минимального сечения направляющей S
2 выбираем по графикам
рисунка 7
при C
экв = 20 кг;

.
Толщина нижней полки направляющей S'
2 согласно
таблице 5 будет равна
S'2 >= S2 = 8 мм.
А.1.6 Согласно
6.3.4 толщину основания плоского ШУ S
ос выбираем 16 мм.
А.1.7 Количество и диаметр болтов крепления направляющей выбираем согласно
таблицам 3 и
4
По
формуле (1) определим длину болтов крепления направляющей
А.1.8 Согласно
5.10 принимаем количество анкерных болтов равным четырем с диаметром 16 мм.
По
5.5 точность изготовления направляющей и шибера назначаем по посадке

.
По
таблице 1 выбираем материал для конструктивных элементов ШУ - сталь 35.
А.2 Расчет действующих нагрузок
А.2.1 Необходимо определить действующие нагрузки на плоское и цилиндрическое ШУ, находящиеся на задней стене кабины, по следующим исходным данным:
- размер кабины:
- длина B1 = 5,5 м;
- ширина L1 = 4,5 м;
- высота H1 = 6 м;
- заряд ТГ-50 массой C = 29,2 кг;
- тротиловый эквивалент ТГ-50

;
- расположение заряда ТГ-50:
- по высоте h1 = 3 м;
- от левого края стены l1 = 2,25 м;
- от стены по нормали Rn = 2,25 м;
- центр плоского ШУ расположен на высоте hпл = 0,8 м;
- центр цилиндрического ШУ расположен на высоте hц = 1,5 м.
Округление всех линейных размеров принимается по
ГОСТ 6636.
А.2.2 Согласно
8.1 определим, соответствует ли расположение заряда условию отсутствия откольных явлений.
По
формуле (2) определим массу эквивалентного сферического заряда
Из
условия (26) найдем минимальные расстояния, при которых отсутствуют откольные явления
Проверим габаритные размеры кабины на соответствие
условию (27)
Полученные результаты показывают, что откольных явлений не ожидается.
А.2.3 Определим нагрузки, действующие на шибер плоского ШУ.
А.2.3.1 Определим следующие параметры, необходимые для расчета:
- кратчайшее расстояние от центра масс заряда до геометрического центра поверхности ШУ
Cр = 1,2·Cэкв = 1,2·32,8 = 39,3 кг;
- по
формуле (11) приведенное расстояние от центра масс заряда ВВ до центра шибера
- объем кабины
V = L1·B1·H1 = 4,5·5,5·6 = 148,5 м3;
- соотношение
А.2.3.2 Так как

, то согласно
7.5.1 на шибер будет действовать избыточное давление головной ВУВ.
- избыточное давление отраженной ВУВ
- избыточное давление падающей ВУВ при наземном взрыве
А.2.3.3 Согласно
7.3.1 и
рисунку А.2 устанавливаем, что плоское ШУ расположено в зоне, воспринимающей влияние двухгранного угла. Найдем величину импульса, действующего на шибер плоского ШУ.
Так как ШУ располагается на задней стене кабины и ни один из секторов стены не прилегает к вышибной поверхности, коэффициент снижения нагрузки k не используется.
По
формуле (12) определим полный импульс, действующий на шибер плоского ШУ
А.2.4 Определим нагрузки, действующие на шибер цилиндрического ШУ.
А.2.4.1 Определим следующие параметры, необходимые для расчета:
- кратчайшее расстояние от центра масс заряда до геометрического центра поверхности ШУ
- по
формуле (11) приведенное расстояние от центра масс заряда ВВ до центра шибера
Остальные параметры определены в
А.2.3.1.
А.2.4.2 Так как

, то согласно
7.5.1 на шибер будет действовать избыточное давление отраженной ВУВ.
По графикам
рисунка 11 определим избыточное давление отраженной ВУВ
А.2.4.3 Согласно
7.3.1 и
рисунку А.2 устанавливаем, что цилиндрическое ШУ расположено в зоне, воспринимающей влияние двухгранного угла. Найдем величину импульса, действующего на шибер цилиндрического ШУ.
Так как ШУ располагается на задней стене кабины и ни один из секторов стены не прилегает к вышибной поверхности, коэффициент снижения нагрузки k не используется.
По
формуле (12) определим полный импульс, действующий на шибер цилиндрического ШУ
А.3 Определение основных параметров плоского шиберного устройства при 
А.3.1 Необходимо определить действующие нагрузки на плоское ШУ, находящееся на задней стене кабины, по следующим исходным данным:
- технологический проем:
- ширина b = 0,8 м;
- высота l = 1,0 м;
- заряд ТГ-50 массой C = 29,2 кг;
- тротиловый эквивалент ТГ-50

;
- расположение заряда ТГ-50:
- по высоте h1 = 3 м;
- от левого края стены l1 = 2,25 м;
- от стены по нормали Rn = 2,25 м;
- заряд не находится в оболочке;
- центр плоского ШУ расположен на высоте hпл = 0,8 м;
- материал для конструктивных элементов ШУ - сталь 35.
Округление всех линейных размеров принимается по
ГОСТ 6636.
Расположение заряда относительно ШУ показано на рисунке А.3.
Рисунок А.3
А.3.2 Проверка на отсутствие откольных явлений проведена в
А.2.2.
А.3.3 Все необходимые для расчета параметры вычислены в
А.2.3.
А.3.4 Размеры шибера определим согласно
таблице 5
B = 1,4·b = 1,4·0,8 = 1,12 м;
L = 1,4·l = 1,4·1,0 = 1,4 м.
А.3.5 По
формуле (25) определим характерное время фазы положительного давления ВУВ.
А.3.6 Так как

, то толщину шибера нельзя определить по
6.3.2.4 -
6.3.2.7. В таком случае толщину шибера определяем по
формуле (28)

, для стали 35.
А.3.7 Толщину минимального сечения направляющей определяем по
формуле (29)
округлим это значение до
S2 = 0,005 м = 5 мм.
Толщина нижней полки направляющей согласно
таблице 5 будет равна
А.3.8 Согласно
6.3.4 толщину основания плоского ШУ S
ос выбираем 5 мм.
А.3.9 Из
условия (30) определим диаметр болтов крепления направляющей, предварительно выбрав их количество n
1 = 3, 4, 5 шт.
при n
1 = 3

;
при n
1 = 4

;
при n
1 = 5

.
Выбираем количество болтов на одной направляющей n1 = 5, диаметр болтов крепления d1 = 12 мм.
По
формуле (1) определим длину болтов крепления направляющей
lб = 0,8·(S'2 + Sос) = 0,8·(0,005 + 0,005) = 0,008 м = 8 мм.
А.3.10 Согласно
5.10 принимаем количество анкерных болтов равным четырем с диаметром 16 мм.
По
5.5 точность изготовления направляющей и шибера назначаем по посадке

.
А.4 Расчет на прочность цилиндрического шиберного устройства
А.4.1 Необходимо провести расчет на прочность цилиндрического шиберного устройства по следующим исходным данным:
- технологический проем:
- ширина b = 0,5 м;
- высота l = 0,6 м;
- заряд ТГ-50 массой C = 29,2 кг;
- тротиловый эквивалент ТГ-50

;
- расположение заряда ТГ-50:
- по высоте h1 = 3 м;
- от левого края стены l1 = 2,25 м;
- от стены по нормали Rn = 2,25 м;
- центр цилиндрического ШУ расположен на высоте hц = 1,5 м;
- материал для конструктивных элементов ШУ - сталь 3.
Округление всех линейных размеров принимается по
ГОСТ 6636.
Расположение заряда относительно ШУ показано на рисунке А.4.
А.4.2 Проверка на отсутствие откольных явлений проведена в
А.2.2.
А.4.3 Все необходимые для расчета параметры вычислены в
А.2.4.
А.4.4 По
формуле (25) определим характерное время фазы положительного давления ВУВ
Геометрические размеры сечений следующие:
сечение А-А | сечение Б-Б | сечение В-В | сечение Г-Г |
D1 = 0,91 м | D2 = 0,91 м | D3 = 1,2 м | D4 = 0,91 м |
d1 = 0,87 м | d2 = 0,87 м | d3 = 1,16 м | d4 = 0,87 м |
h = 0,025 м | h = 0,025 м | h = 0,025 м | h = 0,025 м |
c = 0,09 м | c = 0,09 м | c = 0,09 м | c = 0,09 м |
| | | |
| R = 0,188 м | h1 = 0,025 м | h1 = 0,025 м |
| r = 0,18 м | h2 = 0,016 м | h2 = 0,008 м |
| l = 0,397 м | l = 0,468 м | h3 = 0,008 м |
| l1 = 0,076 м | l1 = 0,352 м | l = 0,4 м |
| | l2 = 0,51 м | l1 = 0,375 м |
| | | l2 = 0,214 м |
Момент инерции сечения А-А вычислим по формуле
где Jоб.x - собственный момент инерции обечайки, м4;
Jпл.x - момент инерции облицовочной плиты шибера, м4;
Fпл - площадь поперечного сечения облицовочной плиты шибера, м2;
a - расстояние от оси X до центра тяжести облицовочной плиты шибера.
Аналогичным образом найдем моменты инерции сечений Б-Б, В-В и Г-Г
(рисунок А.5).
Площадь сечения А-А составляет
F1 = Fоб + 2·Fпл, м2,
где Fоб - площадь сечения обечайки, м2.
Аналогичным образом найдем площади сечений Б-Б, В-В и Г-Г:
F2 = 0,095 м2;
F3 = 0,190 м2;
F4 = 0,096 м2.
А.4.7 Определим массы i-ых участков цилиндрического ШУ согласно
формуле (37) и с учетом масс внутренних элементов, входящих в состав соответствующего участка
m1 = 7800·0,0994·0,3 = 232,6 кг;
m2 = 7800·0,095·0,15 = 111,2 кг;
m3 = 7800·0,190·0,29 = 429,8 кг;
m4 = 7800·0,096·0,16 = 119,8 кг.
А.4.8 Определим изгибающие моменты от единичной нагрузки P
1 = 1 Н в соответствии с
рисунком А.6 в следующем порядке:
- составляя уравнения равновесия, найдем реакции опор
RопA = 0,45 Н;
RопB = 0,55 Н;
- затем вычислим изгибающие моменты при действии единичной нагрузки
M1 = 0,45·0,3 = 0,135 Н·м/Н;
M2 = 0,45·(0,3 + 0,15) = 0,2 Н·м/Н;
M3 = 0,45·0,49 = 0,22 Н·м/Н;
M4 = 0,55·0,16 = 0,088 Н·м/Н.
1 - балка ступенчато-переменного сечения; 2 - эпюра моментов от единичной силы P1; 3 - распределение фиктивных нагрузок; 4 - эпюра прогибов балки под действием фиктивных нагрузок
Pф1 = 3,8·10-10 Н;
Pф2 = 1,93·10-10 Н;
Pф3 = 1,35·10-10 Н;
Pф4 = 1,48·10-10 Н.
А.4.10 По найденным фиктивным нагрузкам из уравнений равновесия балки найдем фиктивные реакции опор:
RфA = 3,62·10-10 Н;
RфB = 3,82·10-10 Н.
А.4.11 Прогиб ШУ определим от действия момента, образованного фиктивной нагрузкой и реакцией опор:
А.4.13 Частоту собственных колебаний ШУ вычислим по
формуле (36)
Период собственных колебаний ШУ определим по следующей зависимости:
Согласно
8.3.2 выполняется условие

, следовательно статическую эквивалентную нагрузку вычисляем по
формуле (33).
отсюда статическая эквивалентная нагрузка будет равна
q = 1,9·1,06·107 = 2·107 Па.
А.4.15 Статическую эквивалентную сосредоточенную нагрузку найдем по
формуле (41)
Q = q·Fq = 2·107·0,5·0,6 = 6·106 Н.
А.4.16 По
формуле (42) вычислим максимальный изгибающий момент
Mmax = M3·Q = 0,22·6·106 = 1,32·106 Н·м.
А.4.17 Предельный изгибающий момент сечения В-В определим по
формуле (43)
| | ИС МЕГАНОРМ: примечание. В официальном тексте документа, видимо, допущена опечатка: формула (48) отсутствует. | |
А.4.18 По формуле (48) установим запас прочности ШУ
Так как n > 2,5, то данное цилиндрическое ШУ при заданных параметрах нагружения может быть использовано многократно.
А.4.19 Прикладывая вместо силы P
1 статически эквивалентную сосредоточенную нагрузку, определим реакции опор по
рисунку А.6:
RопA = 6·106·0,45 = 2,7·106 Н;
RопB = 6·106 - 2,7·106 = 3,3·106 Н.
А.4.20 Напряжения, возникающие в сечении опоры при действии перерезывающих сил, рассчитаем по
формуле (46):
Опоры выполнены из стали 35, допустимые касательные напряжения которого составляют
т.е. условие прочности опор не выполняется.
А.4.21 Согласно
формуле (47) установим время разрушения опор
Так как t
A и t
B меньше

, то за время разрушения опор, в случае если отсутствуют уплотнительные шторки, ударная волна не успеет выйти за пределы кабины.