Главная // Актуальные документы // ГОСТ Р (Государственный стандарт)СПРАВКА
Источник публикации
М.: Стандартинформ, 2014
Примечание к документу
Документ
введен в действие с 1 января 2015 года.
Название документа
"ГОСТ Р 55678-2013. Национальный стандарт Российской Федерации. Оборудование детских спортивных площадок. Безопасность конструкции и методы испытаний спортивно-развивающего оборудования"
(утв. и введен в действие Приказом Росстандарта от 28.10.2013 N 1283-ст)
"ГОСТ Р 55678-2013. Национальный стандарт Российской Федерации. Оборудование детских спортивных площадок. Безопасность конструкции и методы испытаний спортивно-развивающего оборудования"
(утв. и введен в действие Приказом Росстандарта от 28.10.2013 N 1283-ст)
Утвержден и введен в действие
агентства по техническому
регулированию и метрологии
от 28 октября 2013 г. N 1283-ст
НАЦИОНАЛЬНЫЙ СТАНДАРТ РОССИЙСКОЙ ФЕДЕРАЦИИ
ОБОРУДОВАНИЕ ДЕТСКИХ СПОРТИВНЫХ ПЛОЩАДОК
БЕЗОПАСНОСТЬ КОНСТРУКЦИИ И МЕТОДЫ ИСПЫТАНИЙ
СПОРТИВНО-РАЗВИВАЮЩЕГО ОБОРУДОВАНИЯ
Equipment of children's sports grounds. Safety of structure
and test methods of sporty but-developing equipment
ГОСТ Р 55678-2013
Дата введения
1 января 2015 года
1. Разработан Саморегулируемой организацией Некоммерческим партнерством "Отраслевое объединение национальных производителей в сфере физической культуры и спорта "Промспорт" (СРО "Промспорт").
2. Внесен Техническим комитетом по стандартизации ТК 444 "Спортивные и туристские изделия, оборудование, инвентарь, физкультурные и спортивные услуги".
3. Утвержден и введен в действие
Приказом Федерального агентства по техническому регулированию и метрологии от 28 октября 2013 г. N 1283-ст.
4. Введен впервые.
Правила применения настоящего стандарта установлены в ГОСТ Р 1.0-2012
(раздел 8). Информация об изменениях к настоящему стандарту публикуется в ежегодном (по состоянию на 1 января текущего года) информационном указателе "Национальные стандарты", а официальный текст изменений и поправок - в ежемесячном информационном указателе "Национальные стандарты". В случае пересмотра (замены) или отмены настоящего стандарта соответствующее уведомление будет опубликовано в ближайшем выпуске ежемесячного информационного указателя "Национальные стандарты". Соответствующая информация, уведомление и тексты размещаются также в информационной системе общего пользования - на официальном сайте Федерального агентства по техническому регулированию и метрологии в сети Интернет (gost.ru).
Настоящий стандарт распространяется на спортивно-развивающее оборудование детских спортивных площадок (далее - оборудование), предназначенное для индивидуального и коллективного пользования. Настоящий стандарт устанавливает требования к безопасности конструкции и методам испытаний оборудования.
Оборудование не рассчитано на использование детьми в возрасте до 7 лет.
В настоящем стандарте использована нормативная ссылка на следующий стандарт:
ГОСТ Р 55677-2013 Оборудование детских спортивных площадок. Безопасность конструкции и методы испытаний. Общие требования
Примечание. При пользовании настоящим стандартом целесообразно проверить действие ссылочных стандартов в информационной системе общего пользования - на официальном сайте Федерального агентства по техническому регулированию и метрологии в сети Интернет или по ежегодному информационному указателю "Национальные стандарты", который опубликован по состоянию на 1 января текущего года, и по выпускам ежемесячного информационного указателя "Национальные стандарты" за текущий год. Если заменен ссылочный стандарт, на который дана недатированная ссылка, то рекомендуется использовать действующую версию этого стандарта с учетом всех внесенных в данную версию изменений. Если заменен ссылочный стандарт, на который дана датированная ссылка, то рекомендуется использовать версию этого стандарта с указанным выше годом утверждения (принятия). Если после утверждения настоящего стандарта в ссылочный стандарт, на который дана датированная ссылка, внесено изменение, затрагивающее положение, на которое дана ссылка, то это положение рекомендуется применять без учета данного изменения. Если ссылочный стандарт отменен без замены, то положение, в котором дана ссылка на него, рекомендуется применять в части, не затрагивающей эту ссылку.
В настоящем стандарте применены следующие термины с соответствующими определениями:
3.1. Спортивно-развивающее оборудование: оборудование, предназначенное для сохранения и укрепления здоровья, развития психофизических способностей детей в процессе их осознанной двигательной активности (см. рисунок 1).
Рисунок 1. Примеры спортивно-развивающего оборудования
3.2. Перекладина: конструкция, состоящая из стального стержня, размещенного на прочно закрепленных вертикальных стойках.
3.3. Параллельные брусья: конструкция, состоящая из двух параллельных горизонтальных жердей, размещенных на прочно закрепленных вертикальных стойках.
3.4. Кольца: два металлических или деревянных кольца, подвешенные параллельно друг другу на высоте.
3.5. Тренажер: оборудование, предназначенное для развития и тренировки различных частей тела и мышц ребенка.
3.6. Баскетбольный щит: специальный щит, оборудованный кольцом и сеткой, размещаемый на высоте для игры с мячом.
3.7. Оборудование для лазания: оборудование, которое позволяет ребенку перемещаться по его поверхности или внутри его с использованием рук и ног.
3.8. Шведская стенка: оборудование, состоящее из вертикальных стоек с поперечными округлыми перекладинами.
3.9. Бревно: горизонтальный брус, размещенный на опорах, для тренировок и выполнения упражнений на равновесие.
4. Классификация оборудования
4.1. Спортивно-развивающее оборудование по конструктивно-функциональным признакам подразделяют на следующие виды:
- перекладины;
- параллельные брусья;
- тренажеры;
- баскетбольные щиты;
- кольца;
- оборудование для лазания;
- бревно.
5. Требования безопасности
5.1. Требования безопасности для перекладин
5.1.1. Классификация перекладин
Перекладины подразделяют в соответствии с таблицей 1.
Таблица 1
Классификация перекладин
Тип | Рисунок | Описание оборудования |
1 | | Перекладина, установленная и закрепленная в углублениях площадки |
2 | | Перекладина, установленная и закрепленная с помощью фундаментных болтов на поверхности площадки |
3 | | Перекладина, установленная на поверхности площадки и закрепленная тросами |
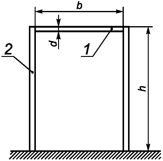
5.1.2. Элементы конструкции и размеры перекладин
Элементы конструкции перекладин приведены на рисунке 2. Размеры перекладин приведены в
таблице 2.
1 - перекладина; 2 - стойка
Рисунок 2. Перекладина
Таблица 2
В миллиметрах
Высота перекладины h | Ширина перекладины b | Диаметр перекладины d |
700 - 2800 | 800 - 2600 | 28 - 41 |
5.1.3. Требования безопасности
5.1.3.1. Конструкция перекладины должна соответствовать общим требованиям безопасности согласно
ГОСТ Р 55677.
5.1.3.2. Перекладина должна выдерживать сосредоточенную горизонтальную нагрузку (3800 +/- 5) Н, прикладываемую к середине перекладины при испытаниях устойчивости по
А.1 (см. Приложение А).
5.1.3.3. Отклонение перекладины в вертикальном направлении должно составлять не более (100 +/- 10) мм при воздействии сосредоточенной вертикальной нагрузки (2000 +/- 5) Н, прикладываемой к середине перекладины при испытаниях на прочность по
А.2 (см. Приложение А).
5.1.3.4. Перекладина должна выдерживать сосредоточенную вертикальную нагрузку (2000 +/- 5) Н без остаточного отклонения в вертикальном направлении при испытаниях по проверке наличия остаточного прогиба по
А.3 (см. Приложение А).
5.1.3.5. Перекладина должна выдерживать сосредоточенную вертикальную нагрузку (4750 +/- 5) Н, прикладываемую к середине перекладины при оценке несущей способности по
А.4 (см. Приложение А).
5.2. Требования безопасности для параллельных брусьев
5.2.1. Классификация параллельных брусьев
Параллельные брусья подразделяют в соответствии с таблицей 3.
Таблица 3
Классификация параллельных брусьев
Тип | Рисунок | Описание оборудования |
1 | | Параллельные брусья, стойки которых размещены на расстоянии от конца жердей |
2 | | Параллельные брусья, стойки которых размещены на концах жердей |
5.2.2. Элементы конструкции и размеры параллельных брусьев
Элементы конструкции параллельных брусьев приведены на рисунке 3.
а) Брусья, тип 1
б) Брусья, тип 2
1 - жердь; 2 - стойка
Рисунок 3. Параллельные брусья
Размеры параллельных брусьев приведены в таблице 4.
Таблица 4
Размеры параллельных брусьев
В миллиметрах
Высота брусьев h | Длина брусьев l | Расстояние между жердями b | Диаметр жерди d | Расстояние между стойками l1 |
1250 - 1500 | | 520 - 650 | 28 - 41 | 2/3l |
5.2.3. Требования безопасности
5.2.3.1. Конструкция параллельных брусьев должна соответствовать общим требованиям безопасности по
ГОСТ Р 55677.
5.2.3.2. Жерди параллельных брусьев должны выдерживать сосредоточенную горизонтальную нагрузку, составляющую 40% собственного веса, но не менее (400 +/- 5) Н, прикладываемую к середине жерди перпендикулярно к ее длине при испытаниях на устойчивость по
Б.1 (см. Приложение Б).
5.2.3.3. Конструкция параллельных брусьев не должна иметь никаких трещин, поломок, чрезмерных остаточных деформаций, ослабления соединений и связей при воздействии сосредоточенной вертикальной нагрузки (2850 +/- 50) Н, прикладываемой к середине жердей при испытаниях на прочность по
Б.2 (см. Приложение Б).
5.2.3.4. Значение прогиба жерди (из дерева) должно составлять от 40 до 100 мм, значение остаточного прогиба должно составлять не более 1 мм при приложении сосредоточенной вертикальной нагрузки (1350 +/- 50) Н к середине жерди перпендикулярно к ее длине при испытаниях на наличие упругости и остаточного прогиба по
Б.3 (см. Приложение Б).
5.2.3.5. Значение прогиба жерди в месте крепления к стойке в продольном и поперечном направлениях должно составлять не более 20 мм при приложении горизонтальной нагрузки (570 +/- 20) Н к середине жерди перпендикулярно к ее длине и вдоль оси жерди при испытаниях жесткости стойки по
Б.4 (см. Приложение Б).
5.3. Требования безопасности для колец
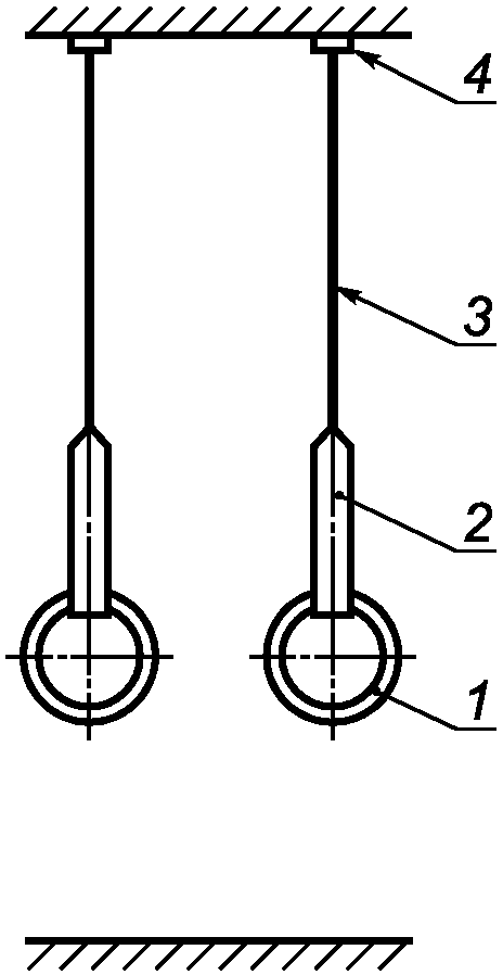
5.3.1. Элементы конструкции и размеры колец
5.3.1.1. Элементы конструкции колец приведены на рисунке 4.
1 - кольца; 2 - лямки; 3 - трос; 4 - шарнирное крепление
Рисунок 4. Элементы конструкции колец
5.3.1.2. Размеры кольца
Размеры кольца приведены на рисунке 5.
Рисунок 5. Размеры кольца
5.3.1.3. Установочные размеры для колец
Установочные размеры для колец приведены на рисунке 6 и в
таблице 5.
Рисунок 6. Установочные размеры для колец
Таблица 5
Установочные размеры для колец
В миллиметрах
h1, не более | h2, не более | b1 | b2, не менее | b3, не менее | b4, не менее |
5775 | 3000 | 500 | 1500 | 1500 | 4000 |
5.3.2. Требования безопасности для колец
5.3.2.1. Конструкция колец должна соответствовать общим требованиям безопасности согласно
ГОСТ Р 55677.
5.3.2.2. После испытаний прочности колец при вертикальном нагружении на конструкции не должно быть повреждений, в т.ч. трещин, поломок, чрезмерных остаточных деформаций, ослабления соединений и связей. Испытание - по
В.1 (см. Приложение В).
5.3.2.3. После испытаний прочности колец при горизонтальном нагружении на конструкции не должно быть повреждений, в т.ч. трещин, поломок, чрезмерных остаточных деформаций, ослабления соединений и связей. Испытание - по
В.2 (см. Приложение В).
5.4. Требования безопасности для бревна
5.4.1. Классификация конструкций бревен
Бревна классифицируют в соответствии с таблицей 6.
Таблица 6
Классификация бревен
Тип | Рисунок | Описание оборудования |
1 | | Бревно с откосом |
2 | | Бревно без откоса |
5.4.2. Элементы конструкции и размеры бревна
Элементы конструкции бревна приведены на рисунке 7. Размеры бревна приведены в
таблице 7.
1 - бревно; 2 - стойка; 3 - откос
Рисунок 7. Элементы конструкции бревна
Таблица 7
Размеры в миллиметрах
Высота h | Длина l | Ширина b | Угол наклона откоса  , °, не менее | Габарит l1 |
| | | 45 | В зависимости от  |
5.4.3. Требования безопасности
5.4.3.1. Конструкция бревна должна соответствовать общим требованиям безопасности согласно
ГОСТ Р 55677.
5.4.3.2. Центральная часть бревна при приложении сосредоточенной вертикальной нагрузки (1350 +/- 50) Н к середине не должна отклоняться более чем на 10 мм и после прекращения нагрузки не должна иметь остаточного прогиба при испытаниях на величину прогиба и наличие остаточного прогиба по
Г.1 (см. Приложение Г).
5.4.3.3. Конструкция бревна не должна иметь никаких трещин, поломок, чрезмерных остаточных деформаций, ослабления соединений и связей при воздействии сосредоточенной вертикальной нагрузки (2850 +/- 50) Н, прикладываемой к середине жердей при испытаниях на прочность по
Г.2 (Приложение Г).
5.5. Требования безопасности оборудования для лазания
5.5.1. Виды оборудования для лазания
Виды оборудования для лазания представлены в таблице 8.
Таблица 8
Виды оборудования для лазания
Вид оборудования | Рисунок | Описание оборудования |
Шведская стенка | | Оборудование, состоящее из вертикальных стоек с поперечными округлыми перекладинами |
Решетчатая лестница | | Оборудование решетчатой конструкции, установленное вертикально, используемое для лазания и как средство доступа |
Стремянка | | Оборудование, используемое для лазания и как средство доступа |
Каркасная конструкция | | Оборудование, используемое для лазания, представляющее собой пространственную конструкцию |
5.5.2. Размеры поперечного сечения перекладин оборудования для лазания
Размеры поперечного сечения перекладин оборудования для лазания приведены на рисунке 8.
Рисунок 8. Размеры поперечного сечения перекладин
оборудования для лазания
5.5.3. Требования безопасности
5.5.3.1. Конструкция оборудования для лазания должна соответствовать общим требованиям безопасности согласно
ГОСТ Р 55677.
5.5.3.2. Расстояние между опорами шведских стенок должно быть не менее (800 +/- 1) мм.
Расстояние между опорами решетчатых лестниц, стремянок и каркасных конструкций должно быть не менее (500 +/- 1) мм.
5.5.3.3. Перекладины оборудования должны быть жестко закреплены.
5.5.3.4. Поверхность перекладин оборудования должна быть ровной и иметь отклонение от горизонтали не более +/- 3°.
5.5.3.5. Для сооружения оборудования не следует применять гвозди и шурупы.
5.5.3.6. Для стремянок и решетчатых лестниц свободное пространство для правильного расположения ноги на перекладине должно быть не менее (90 +/- 1) мм от осевой линии перекладины.
5.5.3.7. При испытаниях на прочность перекладин и опор по
Д.1 (см. Приложение Д) перекладины, соединения и опоры не должны иметь признаков свободного хода, трещин, разломов или постоянной деформации.
5.5.3.8. При испытаниях прочности соединений перекладин и опор по
Д.2 (см. Приложение Д) перекладина не должна подавать признаков вращения.
5.5.3.9. При испытаниях прочности установки оборудования по
Д.3 (см. Приложение Д) оборудование не должно отклоняться от вертикали.
5.6. Требования безопасности для тренажеров
5.6.1. Конструкция тренажеров
Конструкция тренажеров должна соответствовать общим требованиям безопасности в соответствии с
ГОСТ Р 55677.
5.6.2. Требования безопасности в пределах зоны доступа
В зонах доступа при высоте до 1800 мм расстояние между подвижными частями и прилегающими подвижными или стационарными элементами должно быть не менее 60 мм, за исключением следующих случаев:
- если пальцы пользователя подвергаются риску, расстояние должно быть не менее 25 мм;
- если расстояние между движущейся частью и стационарным элементом не меняется во время движения, расстояние между ними должно быть не более 9,5 мм;
- в случае необходимости для обеспечения безопасности в тренировочной зоне необходимо предусмотреть стопоры и другие аналогичные приспособления;
- если неконтролируемому доступу третьих лиц препятствует положение тела пользователя и если пользователь может немедленно прекратить движение.
Требования относятся в основном к риску повреждения конечностей. Травмы других частей тела оцениваются как маловероятные.
5.6.3. Диапазон движения грузов
Диапазон движения всех грузов, являющихся частью тренажера, должен быть ограничен необходимым для выполнения упражнения объемом.
Примечание. Примером нежелательной характеристики может являться неконтролируемое движение маятникового типа.
5.6.4. Комплексные грузы
Комплексные грузы должны двигаться свободно и возвращаться в точку покоя, за исключением случаев, когда манипуляции с их составом осуществляются преднамеренно.
5.6.5. Доступ к оборудованию и меры предосторожности
Если пользователь не может (после настройки оборудования в соответствии с инструкциями изготовителя) самостоятельно вернуть тренажер в исходное положение, то оборудование необходимо снабдить вспомогательными средствами, например педалью или рычагом для регулировки начального/конечного положения упражнения.
5.6.6. Механизмы настройки и блокировки
5.6.6.1. Средства настройки оборудования должны функционировать надежно, быть заметными и быть расположены в безопасном доступе для пользователя. Необходимо исключить любую возможность случайного изменения параметров.
5.6.6.2. Регулирующие элементы, такие как ручки и рычаги, не должны находиться в диапазоне движений пользователя.
5.6.6.3. Корректное функционирование любого механизма блокировки должно быть четким и надежным.
5.6.6.4. Шпильки выбора груза должны быть оснащены запорным механизмом для предотвращения случайного смещения или движения во время упражнений.
5.6.7. Тросы, ремни и цепи
5.6.7.1. Тросы, ремни, цепи и устройства крепления должны иметь коэффициент безопасности в отношении поломки или разрыва в размере шестикратного максимального усилия на разрыв, которое в принципе достижимо в каждом конкретном случае. Диаметр шкивов должен соответствовать применимым требованиям к производству тросов, ремней или цепей.
Примечание. Примеры устройств крепления: карабины, скобы, зажимы или аналогичные приспособления (за исключением, например, рукояток).
Когда усилие при работе на тренажере ниже, чем предельное, оборудование тестируют на предельном значении.
При испытании на определение разрывной нагрузки по
Приложению В тросы не должны повреждаться и должны сохранять свои рабочие характеристики.
Примечание. Под сохранением рабочих характеристик понимается сохранение соединений и отсутствие видимых повреждений.
5.6.7.2. Стандартные тросы должны быть изготовлены из оцинкованной или коррозионно-стойкой проволоки и иметь сертификат изготовителя.
5.6.8. Элементы для захвата
5.6.8.1. Постоянные рукоятки
Позиции захвата должны быть четко обозначены и иметь шероховатую текстуру для предотвращения скольжения.
5.6.8.2. Съемные рукоятки
При определение усилия на снятие съемных рукояток по
Приложению Д съемные рукоятки не должны сниматься.
5.6.8.3. Вращающиеся рукоятки
Вращающиеся рукоятки должны быть надежно закреплены с помощью устройства механической блокировки и иметь текстурированную поверхность для предотвращения проскальзывания рук.
5.6.9. Нагрузки
5.6.9.1. Статические нагрузки
Каждая единица оборудования, находящаяся под весом тела пользователя, должна выдерживать нагрузку F = 250 кг без повреждений:
- несущие поверхности не должны деформироваться более чем на f = 1/100;
- консольные опоры (консольные поверхности) - более чем на f = 1/150;
- другие элементы - более чем на 1%.
Примеры нагружения элементов тренажера и значение деформации представлены на рисунке 9.
Рисунок 9. Пример нагружения элементов тренажера
Тренажер не должен повреждаться при воздействии статической нагрузки в размере четырехкратной массы тела.
5.6.9.2. Переменные нагрузки
Каждый тренажер должен выдерживать без повреждений нагрузку F, в ньютонах, согласно формуле
F = [G
k + 1,5·G]·2,5·9,81, (1)
где G - максимальная нагрузка в килограммах, указанная изготовителем;
Gk - нагрузка в килограммах, определяемая пропорционально массе тела (100 кг);
1,5 - динамический коэффициент;
2,5 - коэффициент безопасности.
После проведения испытаний:
- вспомогательные элементы (например, несущие поверхности) не должны деформироваться более чем на f = 1/100;
- консольные опоры (консольные поверхности) - более чем на f = 1/150;
- другие элементы - более чем на 1%.
Если показатели нагрузки больше указанной изготовителем максимальной нагрузки, оборудование должно выдерживать минимальное скручивающее усилие, указанное в таблице 9, во всем диапазоне движений каждого упражнения, для которых рассчитано данное оборудование. Тренажер не должен повреждаться при воздействии статической нагрузки в соответствии с
формулой (1) при коэффициенте безопасности, равном 4.
Таблица 9
Средние значения момента для упражнений на один сустав
Рисунок | Упражнение | Нагрузка |
| Сгибание руки в локтевом суставе | 170 Н/м (B) |
| Разгибание руки в локтевом суставе | 170 Н/м (B) |
| Тяга на руки сверху вниз | 260 Н/м (B) |
| Поднимание рук вверх | 130 Н/м (B) |
| Тяга на руки со сторон в центр | 110 Н/м каждая |
| Разведение рук в стороны |
| Тяга на руки сверху вниз через стороны |
| Тяга на руки снизу вверх через стороны | 50 Н/м каждая |
| Наклоны туловища | 280 Н/м |
| Разгибание туловища | 450 Н/м |
| Разгибание в тазобедренных суставах | 450 Н/м каждая |
| Сгибание в тазобедренных суставах | 190 Н/м каждая |
| Тяга на бедра снизу вверх через стороны | 140 Н/м каждая |
| Тяга на бедра сверху вниз через стороны | 200 Н/м каждая |
| Разгибание ноги в коленном суставе | 600 Н/м (B) |
| Сгибание ноги в коленном суставе | 300 Н/м (B) |
Примечание. (B) - обе стороны и обе ноги соответственно:  - активный сустав,  - неактивный сустав. |
В случае если тренажер состоит из двух или более функциональных компонентов, каждую часть подвергают испытанию на прочность.
5.6.10. Минимальная допустимая нагрузка
Тренажеры, которые выполняют биомеханические функции, должны соответствовать минимальным значениям момента, указанным в
таблице 9.
5.6.11. Методы испытаний тренажеров
5.6.11.1. Оценка устойчивости тренажера при горизонтальном нагружении - по
Е.1 (см. Приложение Е).
5.6.11.2. Оценка прочности тренажера при вертикальном нагружении - по
Е.2 (см. Приложение Е).
5.6.11.3. Испытание сидений тренажера - по
Е.3 (см. Приложение Е).
5.7. Требования безопасности для баскетбольного щита
5.7.1. Размеры баскетбольного щита и размеры маркировки
Рекомендуемые размеры баскетбольного щита и размеры маркировки приведены на рисунке 10 и в
таблице 10.
Примечание. Верхняя сторона кольца находится на уровне верхней краевой линии малого квадрата.
Рисунок 10. Рекомендуемые размеры
баскетбольного щита и размеры маркировки
Таблица 10
Рекомендуемые размеры баскетбольного щита и маркировки
В миллиметрах
Размеры щита | Размеры маркировки |
l1 | h1 | l2 | h2 | h3 | h4 | l3 |
| | | | | 50 |
Все другие | - |
5.7.2. Размеры баскетбольного кольца
Размеры баскетбольного кольца приведены на рисунке 11.
1 - пластина крепления кольца
Рисунок 11. Размеры баскетбольного кольца
5.7.3. Применяемые материалы и окраска
5.7.3.1. Баскетбольный щит изготавливают из следующих материалов:
- синтетический или смешанный материал;
- фанера, устойчивая к атмосферным воздействиям;
- металл.
5.7.3.2. Кольцо и баскетбольный щит должны быть окрашены в контрастные цвета.
5.7.3.3. Рекомендуемые цвета для баскетбольных щитов приведены в таблице 11.
Таблица 11
Рекомендуемые цвета для баскетбольных щитов
Материал щита | Передняя сторона щита | Маркировка щита |
Синтетический или смешанный материал | Белый цвет | Черный цвет |
Прозрачный синтетический материал | Не окрашено | Белый цвет |
Металл | Белый цвет | Черный цвет |
5.7.4. Требования безопасности
5.7.4.1. Конструкция баскетбольного щита и кольца должна соответствовать общим требованиям безопасности по
ГОСТ Р 55677.
5.7.4.2. Кольцо должно быть закреплено на ферме таким образом, чтобы никакое усилие, которое передается от кольца, не воздействовало непосредственно на баскетбольный щит.
5.7.4.3. Пластина для крепления кольца должна быть сконструирована таким образом, чтобы она не выступала за нижний край баскетбольного щита.
5.7.4.4. Кольца с амортизаторами должны соответствовать следующим требованиям:
- между скобой и кольцом не должно быть зазоров, которые могут стать местами, где возможно застревание;
- механизм амортизации должен срабатывать только тогда, когда статическая нагрузка 1050 Н прикладывается к верхней стороне кольца в самой удаленной от баскетбольного щита точке;
- при срабатывании механизма амортизации не должно появляться никаких зазоров размерами более 8 мм между корпусом механизма амортизации и приспособлением для крепления;
- при срабатывании механизма амортизации кольцо не должно отклоняться вниз от исходного горизонтального положения более чем на 30°.
5.7.4.5. Крепление сетки к кольцу должно быть выполнено таким образом, чтобы палец игрока не мог застрять. Зазоры должны быть не более 8 мм.
5.7.4.6. При использовании цепей зазоры должны быть не более 8,6 мм.
5.7.4.7. Испытания кольца с амортизатором
При визуальном осмотре кольца должно быть установлено, что кольцо закреплено на ферме таким образом, чтобы никакое усилие, которое передается от кольца, не воздействовало непосредственно на баскетбольный щит в соответствии с
Ж.3 (см. Приложение Ж).
При испытаниях одной нагрузкой после прекращения действия нагрузки кольцо должно автоматически и немедленно возвращаться в исходное положение в соответствии с
Ж.2.1.1 (см. Приложение Ж).
При испытаниях двумя нагрузками после прекращения действия нагрузок кольцо не должно разрушаться и не должно иметь остаточную деформацию более 10 мм в соответствии с
Ж.2.1.2 (см. Приложение Ж).
5.7.4.8. При испытаниях жестко закрепленного кольца по
Ж.3 (см. Приложение Ж) кольцо не должно разрушаться и не должно иметь остаточную деформацию более 10 мм.
5.7.4.9. При испытаниях на прочность по
Ж.4 (см. Приложение Ж):
- с усилием 900 Н после снятия испытательного усилия остаточное горизонтальное отклонение готовой к эксплуатации фермы от нулевого положения должно составлять не более 10 мм;
- с усилием 1000 Н после снятия испытательного усилия остаточное горизонтальное отклонение готовой к эксплуатации фермы от нулевого положения должно составлять не более 10 мм.
5.7.4.10. При испытаниях на устойчивость по
Ж.5 (см. Приложение Ж) с усилием F
2 после снятия испытательного усилия остаточное вертикальное отклонение готовой к эксплуатации фермы от нулевого положения должно составлять не более 10 мм.
6. Обозначение и маркировка оборудования
6.1. На каждой единице оборудования на видном и доступном для ознакомления месте должна быть нанесена маркировка или установлена идентификационная табличка, содержащая:
1) наименование и адрес изготовителя;
2) год выпуска продукции;
3) обозначение, соответствующее технической документации.
6.2. Информация, позволяющая идентифицировать конкретное оборудование, должна быть записана в эксплуатационных документах (паспорте).
7. Методы испытаний оборудования
7.1. Общие требования безопасности по
ГОСТ Р 55677 проверяют визуально, органолептически или инструментальными методами.
7.9. По результатам испытаний оформляют отчет или протокол.
(обязательное)
МЕТОДЫ ИСПЫТАНИЙ ПЕРЕКЛАДИН
А.1. Оценка устойчивости перекладины при горизонтальном нагружении
А.1.1. Сущность метода
При испытаниях к середине перекладины прикладывают сосредоточенную горизонтальную нагрузку и выдерживают в течение 5 мин.
При приложении горизонтальной испытательной нагрузки перекладина не должна отклоняться в каком-либо направлении.
После испытаний на перекладине не должно быть повреждений, в т.ч. трещин, поломок, чрезмерных остаточных деформаций, ослабления соединений и связей.
А.1.2. Аппаратура
А.1.2.1. Устройство нагружения
Устройство нагружения должно обеспечивать сосредоточенную горизонтальную нагрузку (3800 +/- 5) Н, прикладываемую к середине перекладины.
А.1.3. Процедура
А.1.3.1. Прикладывают горизонтальную сосредоточенную нагрузку F = (3800 +/- 5) Н к середине перекладины и выдерживают в течение 5 мин.
А.1.3.2. Контролируют наличие отклонения перекладины в каком-либо направлении.
При наличии отклонения значение отклонения регистрируют.
А.1.4. После снятия нагрузки осматривают перекладину.
На перекладине не должно быть повреждений, в т.ч. трещин, поломок, чрезмерных остаточных деформаций, ослабления соединений и связей.
А.2. Оценка прочности перекладины при вертикальном нагружении
А.2.1. Сущность метода
При испытаниях к середине перекладины прикладывают сосредоточенную вертикальную нагрузку и выдерживают в течение 5 мин.
При приложении вертикальной испытательной нагрузки фиксируют значение отклонения перекладины в вертикальном направлении.
Значение отклонения перекладины в вертикальном направлении должно составлять не более (100 +/- 10) мм.
После испытаний на перекладине не должно быть повреждений, в т.ч. трещин, поломок, чрезмерных остаточных деформаций, ослабления соединений и связей.
А.2.2. Аппаратура
А.2.2.1. Устройство нагружения
Устройство нагружения должно обеспечивать сосредоточенную вертикальную нагрузку (2000 +/- 5) Н, прикладываемую к середине перекладины.
А.2.3. Процедура
А.2.3.1. Прикладывают вертикальную сосредоточенную нагрузку F = (2000 +/- 5) Н к середине перекладины и выдерживают в течение 5 мин.
А.2.3.2. Контролируют наличие отклонения перекладины в вертикальном направлении.
При наличии отклонения перекладины в вертикальном направлении значение отклонения регистрируют.
А.2.4. После снятия нагрузки осматривают перекладину.
На перекладине не должно быть повреждений, в т.ч. трещин, поломок, чрезмерных остаточных деформаций, ослабления соединений и связей.
А.3. Проверка наличия остаточного прогиба перекладины при вертикальном нагружении
А.3.1. Сущность метода
При испытаниях к середине перекладины прикладывают сосредоточенную вертикальную нагрузку и выдерживают в течение 5 мин.
При приложении вертикальной испытательной нагрузки фиксируют наличие прогиба перекладины в вертикальном направлении.
После снятия испытательной нагрузки не должно наблюдаться какого-либо остаточного прогиба перекладины в вертикальном направлении.
После испытаний на перекладине не должно быть повреждений, в т.ч. трещин, поломок, чрезмерных остаточных деформаций, ослабления соединений и связей.
А.3.2. Аппаратура
А.3.2.1. Устройство нагружения
Устройство нагружения должно обеспечивать сосредоточенную вертикальную нагрузку (2000 +/- 5) Н, прикладываемую к середине перекладины.
А.3.3. Процедура
А.3.3.1. Прикладывают вертикальную сосредоточенную нагрузку F = (2000 +/- 5) Н к середине перекладины и выдерживают в течение 5 мин.
А.3.3.2. Контролируют наличие прогиба перекладины в вертикальном направлении.
При наличии прогиба перекладины в вертикальном направлении значение прогиба регистрируют.
А.3.4. После снятия нагрузки проверяют наличие остаточного прогиба перекладины в вертикальном направлении.
После завершения испытаний на перекладине не должно быть повреждений, в т.ч. трещин, поломок, чрезмерных остаточных деформаций, ослабления соединений и связей.
А.4. Оценка несущей способности перекладины при вертикальном нагружении
А.4.1. Сущность метода
При испытаниях к середине перекладины прикладывают сосредоточенную вертикальную нагрузку и выдерживают в течение 5 мин.
После испытаний на перекладине не должно быть повреждений, в т.ч. трещин, поломок, чрезмерных остаточных деформаций, ослабления соединений и связей.
А.4.2. Аппаратура
А.4.2.1. Устройство нагружения
Устройство нагружения должно обеспечивать сосредоточенную вертикальную нагрузку (4750 +/- 5) Н, прикладываемую к середине перекладины.
А.4.3. Процедура
А.4.3.1. Прикладывают вертикальную сосредоточенную нагрузку F = (4750 +/- 5) Н к середине перекладины и выдерживают в течение 5 мин.
А.4.4. После снятия нагрузки проверяют наличие повреждений конструкции, в т.ч. трещин, поломок, чрезмерных остаточных деформаций, ослабления соединений и связей.
(обязательное)
МЕТОДЫ ИСПЫТАНИЙ ПАРАЛЛЕЛЬНЫХ БРУСЬЕВ
Б.1. Оценка устойчивости конструкции при горизонтальном нагружении
Б.1.1. Сущность метода
При испытаниях на устойчивость конструкции параллельных брусьев к середине жерди перпендикулярно к ее длине прикладывают сосредоточенную горизонтальную нагрузку, составляющую 40% собственного веса конструкции, но не менее (400 +/- 5) Н, в течение (65 +/- 5) с.
При приложении горизонтальной испытательной нагрузки конструкция не должна отклоняться или опрокидываться в каком-либо направлении.
После испытаний на конструкции не должно быть повреждений, в т.ч. трещин, поломок, чрезмерных остаточных деформаций, ослабления соединений и связей.
Б.1.2. Аппаратура
Б.1.2.1. Устройство нагружения
Устройство нагружения должно обеспечивать сосредоточенную горизонтальную нагрузку, составляющую 40% собственного веса конструкции, но не менее (400 +/- 5) Н, прикладываемую к середине жерди перпендикулярно к ее длине.
Б.1.3. Процедура
Б.1.3.1. Прикладывают горизонтальную сосредоточенную нагрузку F = 40% собственного веса конструкции, но не менее (400 +/- 5) Н, к середине перекладины и выдерживают в течение (65 +/- 5) с.
Б.1.3.2. Контролируют наличие отклонения или опрокидывание конструкции в каком-либо направлении.
При наличии отклонения значение отклонения регистрируют.
Б.1.4. После снятия нагрузки осматривают конструкцию.
После завершения испытаний на конструкции параллельных брусьев не должно быть повреждений, в т.ч. трещин, поломок, чрезмерных остаточных деформаций, ослабления соединений и связей.
Б.2. Оценка конструкции параллельных брусьев на прочность при вертикальном нагружении
Б.2.1. Сущность метода
При испытаниях конструкции на прочность к середине жерди прикладывают сосредоточенную вертикальную нагрузку (2850 +/- 50) Н в течение (65 +/- 5) с.
После испытаний на конструкции не должно быть повреждений, в т.ч. трещин, поломок, чрезмерных остаточных деформаций, ослабления соединений и связей.
Б.2.2. Аппаратура
Б.2.2.1. Устройство нагружения
Устройство нагружения должно обеспечивать сосредоточенную вертикальную нагрузку (2850 +/- 50) Н, прикладываемую к середине жерди.
Б.2.3. Процедура
Б.2.3.1. Прикладывают вертикальную сосредоточенную нагрузку F = (2850 +/- 50) Н к середине перекладины и выдерживают в течение (65 +/- 5) с.
Б.2.3.2. После снятия нагрузки осматривают конструкцию параллельных брусьев.
На конструкции параллельных брусьев не должно быть повреждений, в т.ч. трещин, поломок, чрезмерных остаточных деформаций, ослабления соединений и связей.
Б.3. Проверка наличия прогиба жерди при вертикальном нагружении
Б.3.1. Сущность метода
При испытаниях к середине жерди перпендикулярно к ее длине прикладывают сосредоточенную вертикальную нагрузку (1350 +/- 50) Н в течение (65 +/- 5) с.
При приложении вертикальной испытательной нагрузки фиксируют наличие прогиба жерди в вертикальном направлении.
После снятия испытательной нагрузки фиксируют значение остаточного прогиба жерди.
После завершения испытаний на конструкции параллельных брусьев не должно быть повреждений, в т.ч. трещин, поломок, чрезмерных остаточных деформаций, ослабления соединений и связей.
Б.3.2. Аппаратура
Б.3.2.1. Устройство нагружения
Устройство нагружения должно обеспечивать сосредоточенную вертикальную нагрузку (1350 +/- 50) Н, прикладываемую к середине жерди перпендикулярно к ее длине.
Б.3.3. Процедура
Б.3.3.1. Прикладывают вертикальную сосредоточенную нагрузку F = (1350 +/- 50) Н к середине жерди в течение (65 +/- 5) с.
Б.3.3.2. Контролируют наличие прогиба жерди в вертикальном направлении.
При наличии прогиба жерди в вертикальном направлении значение прогиба регистрируют.
Б.3.4. После снятия нагрузки проверяют наличие остаточного прогиба жерди в вертикальном направлении.
Фиксируют значение остаточного прогиба жерди.
После завершения испытаний на конструкции параллельных брусьев не должно быть повреждений, в т.ч. трещин, поломок, чрезмерных остаточных деформаций, ослабления соединений и связей.
Б.4. Оценка жесткости стойки параллельных брусьев
Б.4.1. Сущность метода
При испытаниях несущей способности стойки параллельных брусьев к середине жерди перпендикулярно к ее длине и вдоль оси жерди прикладывают сосредоточенную горизонтальную нагрузку (570 +/- 20) Н в течение (65 +/- 5) с.
Прогиб жерди в месте крепления к стойке в продольном и поперечном направлениях должен составлять не более 20 мм.
Прогиб жерди в месте крепления к стойке в продольном или поперечном направлении должен составлять не более 20 мм при приложении горизонтальной нагрузки (570 +/- 20) Н к середине жерди перпендикулярно к ее длине и вдоль оси жерди при испытаниях жесткости стойки.
Б.4.2. Аппаратура
Б.4.2.1. Устройство нагружения
Устройство нагружения должно обеспечивать сосредоточенную горизонтальную нагрузку (570 +/- 20) Н, прикладываемую к середине жерди перпендикулярно к ее длине и вдоль оси.
Б.4.3. Процедура
Б.4.3.1. Прикладывают сосредоточенную горизонтальную нагрузку F = (570 +/- 20) Н к середине жерди перпендикулярно к ее длине и вдоль оси в течение (65 +/- 5) с.
Б.4.3.2. Контролируют наличие прогиба жерди в месте крепления к стойке в продольном и поперечном направлениях.
При наличии прогиба жерди в продольном и поперечном направлениях значение прогиба регистрируют.
После завершения испытаний на конструкции параллельных брусьев не должно быть повреждений, в т.ч. трещин, поломок, чрезмерных остаточных деформаций, ослабления соединений и связей.
(обязательное)
В.1. Оценка прочности при вертикальном нагружении
В.1.1. Сущность метода
При испытаниях конструкции на прочность к кольцам прикладывают сосредоточенную вертикальную нагрузку (4530 +/- 50) Н в течение (65 +/- 5) с.
После испытаний на конструкции не должно быть повреждений, в т.ч. трещин, поломок, чрезмерных остаточных деформаций, ослабления соединений и связей.
В.1.2. Аппаратура
В.1.2.1. Устройство нагружения
Схема приложения нагрузки - в соответствии с рисунком В.1.
Рисунок В.1. Схема приложения вертикальной нагрузки
Устройство нагружения должно обеспечивать сосредоточенную вертикальную нагрузку (4530 +/- 50) Н, прикладываемую к кольцам.
В.1.3. Процедура
В.1.3.1. Прикладывают вертикальную сосредоточенную нагрузку F = (4530 +/- 50) Н к кольцам и выдерживают в течение (65 +/- 5) с.
В.1.3.2. После снятия нагрузки осматривают конструкцию колец.
На конструкции не должно быть повреждений, в т.ч. трещин, поломок, чрезмерных остаточных деформаций, ослабления соединений и связей.
В.2. Оценка прочности при горизонтальном нагружении
В.2.1. Сущность метода
При испытаниях конструкции на прочность к шарнирному креплению колец прикладывают сосредоточенную горизонтальную нагрузку (775 +/- 50) Н в течение (65 +/- 5) с.
После испытаний на конструкции не должно быть повреждений, в т.ч. трещин, поломок, чрезмерных остаточных деформаций, ослабления соединений и связей.
В.2.2. Аппаратура
В.2.2.1. Устройство нагружения
Схема приложения нагрузки - в соответствии с рисунком В.2.
Рисунок В.2. Схема приложения горизонтальной нагрузки
Устройство нагружения должно обеспечивать сосредоточенную горизонтальную нагрузку (775 +/- 50) Н, прикладываемую к кольцам.
В.2.3. Процедура
В.2.3.1. Прикладывают вертикальную сосредоточенную нагрузку F = (775 +/- 50) Н к кольцам и выдерживают в течение (65 +/- 5) с.
В.2.3.2. После снятия нагрузки осматривают конструкцию.
На конструкции не должно быть повреждений, в т.ч. трещин, поломок, чрезмерных остаточных деформаций, ослабления соединений и связей.
(обязательное)
Г.1. Проверка наличия прогиба бревна при вертикальном нагружении
Г.1.1. Сущность метода
При испытаниях к середине бревна прикладывают сосредоточенную вертикальную нагрузку (1350 +/- 50) Н в течение (65 +/- 5) с.
При приложении вертикальной испытательной нагрузки фиксируют наличие прогиба бревна в вертикальном направлении.
После снятия испытательной нагрузки фиксируют значение остаточного прогиба бревна.
После завершения испытаний на конструкции бревна не должно быть повреждений, в т.ч. трещин, поломок, чрезмерных остаточных деформаций, ослабления соединений и связей.
Г.1.2. Аппаратура
Г.1.2.1. Устройство нагружения
Устройство нагружения должно обеспечивать сосредоточенную вертикальную нагрузку (1350 +/- 50) Н, прикладываемую к середине бревна.
Г.1.3. Процедура
Г.1.3.1. Прикладывают вертикальную сосредоточенную нагрузку F = (1350 +/- 50) Н к середине бревна в течение (65 +/- 5) с.
Г.1.3.2. Контролируют наличие прогиба бревна в вертикальном направлении.
При наличии прогиба бревна в вертикальном направлении регистрируют значение прогиба.
Г.1.4. После снятия нагрузки проверяют наличие остаточного прогиба бревна в вертикальном направлении.
Фиксируют значение остаточного прогиба бревна.
После завершения испытаний на конструкции бревна не должно быть повреждений, в т.ч. трещин, поломок, чрезмерных остаточных деформаций, ослабления соединений и связей.
Г.2. Оценка конструкции бревна на прочность при вертикальном нагружении
Г.2.1. Сущность метода
При испытаниях конструкции на прочность к середине бревна прикладывают сосредоточенную вертикальную нагрузку (2850 +/- 50) Н в течение (65 +/- 5) с.
После испытаний на конструкции не должно быть повреждений, в т.ч. трещин, поломок, чрезмерных остаточных деформаций, ослабления соединений и связей.
Г.2.2. Аппаратура
Г.2.2.1. Устройство нагружения
Устройство нагружения должно обеспечивать сосредоточенную вертикальную нагрузку (2850 +/- 50) Н, прикладываемую к середине бревна.
Г.2.3. Процедура
Г.2.3.1. Прикладывают вертикальную сосредоточенную нагрузку F = (2850 +/- 50) Н к середине бревна и выдерживают в течение (65 +/- 5) с.
Г.2.4. После снятия нагрузки осматривают конструкцию бревна.
На конструкции бревна не должно быть повреждений, в т.ч. трещин, поломок, чрезмерных остаточных деформаций, ослабления соединений и связей.
(обязательное)
МЕТОДЫ ИСПЫТАНИЙ ОБОРУДОВАНИЯ ДЛЯ ЛАЗАНИЯ
Д.1. Оценка прочности перекладин и опор
Д.1.1. Сущность метода
При испытаниях конструкции на прочность к середине конструкции прикладывают сосредоточенную вертикальную нагрузку (1700 +/- 50) Н в течение (300 +/- 10) с.
После испытаний на конструкции не должно быть повреждений, в т.ч. трещин, поломок, чрезмерных остаточных деформаций, ослабления соединений и связей, вращения перекладин.
Д.1.2. Аппаратура
Д.1.2.1. Устройство нагружения
Устройство нагружения должно обеспечивать сосредоточенную вертикальную нагрузку (1700 +/- 50) Н, прикладываемую к середине конструкции.
Схема приложения нагрузки приведена на рисунке Д.1.
Рисунок Д.1. Схема приложения нагрузки
Д.1.3. Процедура
Д.1.3.1. Прикладывают вертикальную сосредоточенную нагрузку F = (1700 +/- 50) Н к середине конструкции и выдерживают в течение (300 +/- 10) с.
Д.1.3.2. После снятия нагрузки осматривают конструкцию.
На конструкции не должно быть повреждений, в т.ч. трещин, поломок, чрезмерных остаточных деформаций, ослабления соединений и связей, вращения перекладин.
Д.2. Оценка прочности соединений перекладин и опор
Д.2.1. Сущность метода
При испытаниях конструкции на прочность прикладывают к середине перекладины вращающее усилие (50 +/- 2) Н/м в течение (300 +/- 10) с.
После испытаний на перекладине и испытуемой конструкции не должно быть повреждений, в т.ч. трещин, поломок, чрезмерных остаточных деформаций, ослабления соединений и связей, вращения перекладины.
Д.2.2. Аппаратура
Д.2.2.1. Устройство нагружения
Устройство нагружения должно обеспечивать вращающее усилие (50 +/- 2) Н/м, приложенное к середине перекладины.
Д.2.3. Процедура
Д.2.3.1. Прикладывают вертикальную сосредоточенную нагрузку F = (1700 +/- 50) Н к середине конструкции и выдерживают в течение (300 +/- 10) с.
Д.2.3.2. После снятия нагрузки осматривают и проверяют перекладину и испытуемую конструкцию.
На перекладине и испытуемой конструкции не должно быть повреждений, в т.ч. трещин, поломок, чрезмерных остаточных деформаций, ослабления соединений и связей, вращения перекладины.
Д.3. Оценка прочности установки оборудования
Д.3.1. Сущность метода
При испытаниях конструкции на прочность установки к середине верхней и нижней перекладин по очереди прикладывают горизонтально сосредоточенную вертикальную нагрузку (900 +/- 50) Н в течение (300 +/- 10) с.
После испытаний на конструкции не должно быть повреждений, в т.ч. трещин, поломок, чрезмерных остаточных деформаций, ослабления соединений и связей, вращения перекладин и отклонения конструкции от вертикали.
Д.3.2. Аппаратура
Д.3.2.1. Устройство нагружения
Устройство нагружения должно обеспечивать сосредоточенную горизонтальную нагрузку (900 +/- 50) Н, прикладываемую к середине верхней и нижней перекладин по очереди.
Схема приложения нагрузки приведена на рисунке Д.2.
Рисунок Д.2. Схема приложения нагрузки
Д.3.3. Процедура
Д.3.3.1. Прикладывают горизонтальную сосредоточенную нагрузку F = (900 +/- 50) Н к середине верхней и нижней перекладин и выдерживают в течение (300 +/- 10) с по очереди.
Д.3.3.2. После снятия нагрузки осматривают конструкцию.
На конструкции не должно быть повреждений, в т.ч. трещин, поломок, чрезмерных остаточных деформаций, ослабления соединений и связей, вращения перекладин и отклонения конструкции от вертикали.
(обязательное)
МЕТОДЫ ИСПЫТАНИЙ ТРЕНАЖЕРОВ
Е.1. Оценка устойчивости тренажера при горизонтальном нагружении
Е.1.1. Сущность метода
При испытаниях к середине верхней части опорной конструкции тренажера прикладывают сосредоточенную горизонтальную нагрузку и выдерживают в течение 5 мин.
При приложении горизонтальной испытательной нагрузки конструкция не должна отклоняться в каком-либо направлении более чем на 1/150 своей высоты.
После испытаний на конструкции не должно быть повреждений, в т.ч. трещин, поломок, чрезмерных остаточных деформаций, ослабления соединений и связей.
Е.1.2. Аппаратура
Е.1.2.1. Устройство нагружения
Устройство нагружения должно обеспечивать сосредоточенную горизонтальную нагрузку (4000 +/- 5) Н, прикладываемую к середине верхней части опорной конструкции тренажера. Примеры нагружения приведены на рисунке Е.1.
Рисунок Е.1. Примеры приложения нагрузки
Е.1.3. Процедура
Е.1.3.1. Прикладывают горизонтальную сосредоточенную нагрузку F = (4000 +/- 50) Н к середине верхней части опорной конструкции тренажера и выдерживают в течение 5 мин.
Е.1.3.2. Контролируют наличие отклонения конструкции в каком-либо направлении.
При наличии отклонения значение отклонения регистрируют.
Е.1.4. После снятия нагрузки осматривают тренажер.
На тренажере не должно быть повреждений, в т.ч. трещин, поломок, чрезмерных остаточных деформаций, ослабления соединений и связей.
Е.2. Оценка прочности тренажера при вертикальном нагружении
Е.2.1. Сущность метода
При испытаниях к середине верхней части опорной конструкции тренажера прикладывают сосредоточенную вертикальную нагрузку и выдерживают в течение 5 мин.
При приложении испытательной нагрузки конструкция не должна отклоняться в вертикальном направлении более чем на 1/150 своей высоты.
После испытаний на конструкции не должно быть повреждений, в т.ч. трещин, поломок, чрезмерных остаточных деформаций, ослабления соединений и связей.
Е.2.2. Аппаратура
Е.2.2.1. Устройство нагружения
Устройство нагружения должно обеспечивать сосредоточенную вертикальную нагрузку (4000 +/- 50) Н, прикладываемую к середине верхней части опорной конструкции тренажера. Примеры приложения нагрузки приведены на рисунке Е.2.
Рисунок Е.2. Примеры приложения нагрузки
Е.2.3. Процедура
Е.2.3.1. Прикладывают вертикальную сосредоточенную нагрузку F = (4000 +/- 50) Н к середине верхней части опорной конструкции тренажера и выдерживают в течение 5 мин.
Е.2.3.2. Контролируют наличие отклонения опорной конструкции в вертикальном направлении.
При наличии отклонения опорной конструкции в вертикальном направлении значение отклонения регистрируют.
Е.2.4. После снятия нагрузки осматривают конструкцию.
На тренажере не должно быть повреждений, в т.ч. трещин, поломок, чрезмерных остаточных деформаций, ослабления соединений и связей.
Е.3. Испытание сидений тренажеров
Е.3.1. Сущность метода
При испытаниях к центру сиденья тренажера прикладывают сосредоточенную вертикальную нагрузку (100 +/- 5) Н и выдерживают в течение (60 +/- 5) с.
Сиденье не должно сместиться в каком-либо направлении.
После испытаний на сиденье не должно быть повреждений, в т.ч. трещин, поломок, чрезмерных остаточных деформаций, ослабления соединений и связей.
Е.3.2. Аппаратура
Е.3.2.1. Устройство нагружения
Устройство нагружения должно обеспечивать сосредоточенную вертикальную нагрузку (100 +/- 5) Н, прикладываемую к середине сиденья. Примеры приложения нагрузки приведены на рисунке Е.3.
Рисунок Е.3. Примеры приложения нагрузки
Е.3.3. Процедура
Е.3.3.1. Прикладывают вертикальную сосредоточенную нагрузку F = (100 +/- 5) Н к середине сиденья и выдерживают в течение (60 +/- 5) с.
Е.3.3.2. Контролируют наличие смещения сиденья в каком-либо направлении.
Е.3.4. После завершения испытаний на сиденье не должно быть повреждений, в т.ч. трещин, поломок, чрезмерных остаточных деформаций, ослабления соединений и связей.
(обязательное)
МЕТОДЫ ИСПЫТАНИЙ БАСКЕТБОЛЬНОГО ЩИТА
Ж.1. Визуальный осмотр кольца
Ж.1.1. Сущность метода
Путем визуальной проверки кольца определяется, воздействует ли передаваемое от кольца усилие непосредственно на баскетбольный щит.
В результате осмотра должно быть установлено, что кольцо закреплено на ферме таким образом, чтобы никакое усилие, передаваемое от кольца, не воздействовало непосредственно на баскетбольный щит.
Ж.2. Испытания кольца с амортизатором
Ж.2.1. Сущность метода
Ж.2.1.1. Испытание 1 - одной нагрузкой
При испытании 1 прикладывают статическую нагрузку (1500 +/- 50) Н к переднему краю кольца в течение (5 +/- 1) с.
В состоянии нагружения кольца регистрируют:
- наличие зазоров между корпусом устройства амортизации и приспособлением для крепления кольца размерами более 8 мм;
- отклонение кольца на угол более 30°.
После снятия нагрузки регистрируют возвращение кольца в исходное положение.
Ж.2.1.2. Испытание 2 - двумя нагрузками
При испытании 2 прикладывают статическую нагрузку (1050 +/- 50) Н к переднему краю кольца.
В состоянии нагружения кольца (после отклонения) прикладывают дополнительную нагрузку (2400 +/- 50) Н в течение (60 +/- 1) с.
После снятия нагрузки регистрируют все поломки и остаточную деформацию более 10 мм.
Ж.2.2. Аппаратура
Устройство нагружения для испытаний 1 должно обеспечивать сосредоточенную вертикальную нагрузку (1500 +/- 50) Н в течение (5 +/- 1) с.
Устройство нагружения для испытаний 2 должно обеспечивать сосредоточенную вертикальную нагрузку (1050 +/- 50) Н, а затем после отклонения кольца сосредоточенную вертикальную нагрузку (2400 +/- 50) Н в течение (60 +/- 1) с к переднему краю кольца.
Схема приложения нагрузки приведена на рисунке Ж.1.
Рисунок Ж.1. Схема приложения нагрузки
к кольцу с амортизатором
Ж.2.3. Процедура
Ж.2.3.1. Испытание 1
Прикладывают статическую нагрузку (1500 +/- 50) Н к переднему краю кольца в течение (5 +/- 1) с.
В состоянии нагружения кольца регистрируют:
- наличие зазоров между корпусом устройства амортизации и приспособлением для крепления кольца размерами более 8 мм;
- отклонение кольца на угол более 30°.
После снятия нагрузки регистрируют возвращение кольца в исходное положение.
Ж.2.3.2. Испытание 2
Прикладывают статическую нагрузку (1050 +/- 50) Н к переднему краю кольца.
В состоянии нагружения кольца (после отклонения) прикладывают дополнительную нагрузку (2400 +/- 50) Н в течение (60 +/- 1) с.
После снятия нагрузки регистрируют все поломки и остаточную деформацию более 10 мм.
Ж.3. Испытания жестко закрепленного кольца
Ж.3.1. Сущность метода
При испытании жестко закрепленного кольца прикладывают статическую нагрузку (2400 +/- 50) Н к переднему краю кольца в течение (60 +/- 1) с.
После снятия нагрузки регистрируют все поломки и остаточную деформацию более 10 мм.
Ж.3.2. Аппаратура
Устройство нагружения должно обеспечивать сосредоточенную вертикальную нагрузку (2400 +/- 50) Н в течение (60 +/- 1) с, прикладываемую к переднему краю кольца. Схема приложения нагрузки приведена на рисунке Ж.2.
Рисунок Ж.2. Схема приложения
нагрузки к жестко закрепленному кольцу
Ж.3.3. Процедура
При испытании жестко закрепленного кольца прикладывают статическую нагрузку (2400 +/- 50) Н в течение (60 +/- 1) с.
Ж.3.4. После снятия нагрузки регистрируют все поломки и остаточную деформацию более 10 мм.
Ж.4. Испытания на прочность
Ж.4.1. Сущность метода
При испытаниях прикладывают сосредоточенную горизонтальную нагрузку:
- к щиту - (900 +/- 50) Н в течение (65 +/- 5) с;
- к корзине - (1000 +/- 50) Н в течение (65 +/- 5) с.
После снятия нагрузки осматривают щит и корзину и регистрируют все остаточные деформации.
На оборудовании не должно быть повреждений, в т.ч. трещин, поломок, чрезмерных остаточных деформаций, ослабления соединений и связей.
Ж.4.2. Аппаратура
Ж.4.2.1. Устройство нагружения
Устройство нагружения должно обеспечивать:
- сосредоточенную горизонтальную нагрузку F1 (900 +/- 50) Н, прикладываемую к щиту в течение (65 +/- 5) с;
- сосредоточенную горизонтальную нагрузку F3 (1000 +/- 50) Н, прикладываемую к корзине в течение (65 +/- 5) с.
Нагружение при испытаниях на прочность приведено на рисунке Ж.3.
Рисунок Ж.3. Нагружение при испытаниях на прочность
Ж.4.3. Процедура
Ж.4.3.1. При испытаниях прикладывают сосредоточенную горизонтальную нагрузку:
- к щиту - (900 +/- 50) Н в течение (65 +/- 5) с;
- к корзине - (1000 +/- 50) Н в течение (65 +/- 5) с.
После снятия нагрузки осматривают щит и корзину и регистрируют все остаточные деформации.
Ж.4.4. На оборудовании не должно быть повреждений, в т.ч. трещин, поломок, чрезмерных остаточных деформаций, ослабления соединений и связей.
Ж.5. Испытания на устойчивость
Ж.5.1. Сущность метода
При испытаниях на устойчивость к середине щита баскетбольного оборудования всех типов прикладывают сосредоточенную вертикальную нагрузку (3200 +/- 50) Н в течение (65 +/- 5) с.
В процессе испытаний регистрируют все остаточные деформации.
После испытаний на конструкции не должно быть повреждений, в т.ч. трещин, поломок, чрезмерных остаточных деформаций, ослабления соединений и связей.
Ж.5.2. Аппаратура
Ж.5.2.1. Устройство нагружения
Устройство нагружения должно обеспечивать сосредоточенную вертикальную нагрузку F2 (3200 +/- 50) Н в течение (65 +/- 5) с, прикладываемую к середине щита в соответствии с рисунком Ж.4.
Рисунок Ж.4. Нагружение при испытаниях на устойчивость
Ж.5.3. Процедура
К середине щита баскетбольного оборудования всех типов прикладывают сосредоточенную вертикальную нагрузку (3200 +/- 50) Н в течение (65 +/- 5) с.
В процессе испытаний регистрируют все остаточные деформации.
Ж.5.4. После испытаний на конструкции не должно быть повреждений, в т.ч. трещин, поломок, чрезмерных остаточных деформаций, ослабления соединений и связей.