Главная // Актуальные документы // ГОСТ Р (Государственный стандарт)СПРАВКА
Источник публикации
М.: Издательство стандартов, 1994
Примечание к документу
Документ утратил силу с 01.07.2023 в связи с изданием
Приказа Росстандарта от 01.09.2021 N 907-ст. Взамен введен в действие ГОСТ IEC 61000-4-9-2013.
С 1 июля 2003 года до вступления в силу технических регламентов акты федеральных органов исполнительной власти в сфере технического регулирования носят рекомендательный характер и подлежат обязательному исполнению только в части, соответствующей целям, указанным в
пункте 1 статьи 46 Федерального закона от 27.12.2002 N 184-ФЗ.
Документ
введен в действие с 01.01.1995.
Название документа
"ГОСТ Р 50649-94 (МЭК 1000-4-9-93). Государственный стандарт Российской Федерации. Совместимость технических средств электромагнитная. Устойчивость к импульсному магнитному полю. Технические требования и методы испытаний"
(утв. и введен в действие Постановлением Госстандарта России от 03.03.1994 N 52)
"ГОСТ Р 50649-94 (МЭК 1000-4-9-93). Государственный стандарт Российской Федерации. Совместимость технических средств электромагнитная. Устойчивость к импульсному магнитному полю. Технические требования и методы испытаний"
(утв. и введен в действие Постановлением Госстандарта России от 03.03.1994 N 52)
Утвержден и введен в действие
Постановлением Госстандарта России
от 3 марта 1994 г. N 52
ГОСУДАРСТВЕННЫЙ СТАНДАРТ РОССИЙСКОЙ ФЕДЕРАЦИИ
СОВМЕСТИМОСТЬ ТЕХНИЧЕСКИХ СРЕДСТВ ЭЛЕКТРОМАГНИТНАЯ
УСТОЙЧИВОСТЬ К ИМПУЛЬСНОМУ МАГНИТНОМУ ПОЛЮ
ТЕХНИЧЕСКИЕ ТРЕБОВАНИЯ И МЕТОДЫ ИСПЫТАНИЙ
Electromagnetic compatibility of technical equipment.
Immunity to pulse magnetic field.
Technical requirements and test methods
ГОСТ Р 50649-94
(МЭК 1000-4-9-93)
Группа Э02
Дата введения
1 января 1995 года
1 РАЗРАБОТАН И ВНЕСЕН Техническим комитетом по стандартизации в области электромагнитной совместимости технических средств (ТК ЭМС)
РАЗРАБОТЧИКИ
В.В. Носов, канд. техн. наук (руководитель разработки); А.И. Ситников, В.С. Кармашев, Е.В. Толкачев
2 УТВЕРЖДЕН И ВВЕДЕН В ДЕЙСТВИЕ Постановлением Госстандарта России от 3.03.94 N 52
3 ВВЕДЕН ВПЕРВЫЕ
Настоящий стандарт содержит полный аутентичный текст международного стандарта МЭК 1000-4-9-93 с дополнительными требованиями, отражающими потребности народного хозяйства
Настоящий стандарт распространяется на технические средства (ТС), применяемые на предприятиях промышленности, электростанциях и электрических подстанциях среднего и высокого напряжения, подвергающиеся в условиях эксплуатации воздействию импульсного магнитного поля (ИМП).
Распространение стандарта на ТС, применяемые в иных условиях эксплуатации, определяется наличием ИМП, с которым связаны рассматриваемые в настоящем стандарте испытания, как указано в
разделе 4.
Настоящий стандарт устанавливает общую и воспроизводимую базу для оценки качества функционирования ТС, подвергающихся воздействию ИМП, а также рекомендуемые степени жесткости испытаний, требования к испытательному оборудованию, рабочим местам для испытаний и процедуры испытаний.
Настоящий стандарт устанавливает технические требования к вновь разрабатываемым, изготовляемым, модернизируемым и импортируемым ТС в части степеней жесткости испытаний на устойчивость к ИМП и критериев качества функционирования при испытаниях, а также соответствующие методы испытаний.
Требования настоящего стандарта являются обязательными.
Содержание стандарта МЭК 1000-4-9-93 набрано прямым шрифтом, дополнительные требования к стандарту МЭК 1000-4-9-93, отражающие потребности народного хозяйства, - курсивом.
В настоящем стандарте использованы ссылки на следующие стандарты:
| | ИС МЕГАНОРМ: примечание. Взамен ГОСТ 8.326-89 на территории Российской Федерации с 1 декабря 2001 года введены в действие ПР 50.2.009-94 "ГСИ. Порядок проведения испытаний и утверждения типа средств измерений" (Постановление Госстандарта России от 27.09.2001 N 394-ст). | |
ГОСТ 8.326-89 Метрологическая аттестация средств измерений
ГОСТ 12.3.019-80 ССБТ. Испытания и измерения электрические. Общие требования безопасности
ГОСТ 15150-69 Машины, приборы и другие технические изделия. Исполнения для различных климатических районов. Категории, условия эксплуатации, хранения и транспортирования в части воздействия климатических факторов внешней среды
ГОСТ 29037-91 Совместимость технических средств электромагнитная. Сертификационные испытания. Общие положения
ГОСТ 29280-92 Совместимость технических средств электромагнитная. Испытания на помехоустойчивость. Общие положения
ГОСТ Р 50007-92 Совместимость технических средств электромагнитная. Устойчивость к микросекундным импульсным помехам большой энергии. Технические требования и методы испытаний
ГОСТ Р 50012-92 Совместимость технических средств электромагнитная. Оборудование силовое. Методы измерения параметров низкочастотного периодического магнитного поля
| | ИС МЕГАНОРМ: примечание. Взамен ГОСТ Р 50397-92 Приказом Росстандарта от 08.12.2011 N 756-ст с 1 сентября 2012 года введен в действие ГОСТ Р 50397-2011. | |
ГОСТ Р 50397-92 Совместимость технических средств электромагнитная. Термины и определения
ГОСТ Р 50416-92 Совместимость средств вычислительной техники электромагнитная. Термины и определения
ГОСТ Р 50648-94 Совместимость технических средств электромагнитная. Устойчивость к магнитному полю промышленной частоты. Технические требования и методы испытаний
Нормы 8-72 Общесоюзные нормы допускаемых индустриальных радиопомех. Электроустройства, эксплуатируемые вне жилых домов и не связанные с их электрическими сетями. Предприятия (объекты) на выделенных территориях или в отдельных зданиях. Допускаемые величины. Методы испытаний. Утверждены ГКРЧ СССР 12 июня 1972 г.
В настоящем стандарте применены термины, установленные в ГОСТ Р 50397, а также следующие:
испытуемое ТС (ИТС) - по ГОСТ Р 50416;
качество функционирования ТС - по ГОСТ Р 50416;
критерий качества функционирования ТС при испытаниях на устойчивость к воздействию магнитного поля - по ГОСТ Р 50416;
индукционная катушка - проводящая обмотка установленной формы и размеров, по которой протекает ток, создающий магнитное поле определенной величины в ее плоскости и окружающем объеме;
коэффициент индукционной катушки - отношение напряженности магнитного поля, создаваемого индукционной катушкой, к соответствующему значению тока, причем магнитное поле измеряется в центре плоскости катушки в отсутствие ИТС;
иммерсионный метод - метод воздействия магнитным полем на ИТС, при котором ИТС помещают в центре индукционной катушки;
метод приближения - метод воздействия магнитным полем на ИТС, при котором небольшая индукционная катушка перемещается вдоль стороны ИТС, чтобы выявить зоны восприимчивости;
плоскость заземления - плоская проводящая поверхность (металлический лист), используемая в качестве общего заземляющего проводника для ИТС, генератора магнитного поля и вспомогательного оборудования (плоскость заземления может использоваться в качестве проводника, замыкающего виток индукционной катушки);
устройство развязки - по ГОСТ Р 50416;
переходный процесс - явление или величина, изменяющаяся между двумя установившимися состояниями за интервал времени, короткий в сравнении с рассматриваемой шкалой времени.
ИМП, воздействующее на ТС, может влиять на качество функционирования ТС. Испытания, рассматриваемые в настоящем стандарте, имеют целью подтвердить устойчивость ТС к ИМП в определенных условиях эксплуатации или при определенных условиях установки (например, при установке ТС вблизи от источника ИМП).
ИМП возникает при воздействии молниевых разрядов на здания, любые металлические конструкции, включая антенные устройства, и цепи заземления, а также в результате коммутационных процессов и аварийных ситуаций в электрических сетях и установках низкого, среднего и высокого напряжения. На электрических подстанциях ИМП может также создаваться при переключении высоковольтных проводов и линий.
Форма испытательного ИМП, рассматриваемого в настоящем стандарте, соответствует форме импульса тока микросекундной импульсной помехи большой энергии в цепях электропитания, установленной в ГОСТ Р 50007 для испытаний ТС на помехоустойчивость (длительность фронта импульса тока - 6,4 мкс, длительность импульса тока - 16 мкс).
5. ТЕХНИЧЕСКИЕ ТРЕБОВАНИЯ
5.1.1 Для обеспечения работоспособности в условиях эксплуатации ТС должны соответствовать установленным в настоящем стандарте требованиям устойчивости к ИМП.
5.1.2 Для определения качества функционирования при воздействии магнитного поля необходимо подвергать ТС испытаниям на устойчивость к ИМП.
5.1.3 Степени жесткости испытаний ТС на устойчивость к ИМП выбирают в соответствии с требованиями настоящего стандарта с учетом условий эксплуатации ТС конкретного типа.
5.1.4 Степени жесткости испытаний на устойчивость к ИМП, а также критерии качества функционирования ТС при испытаниях по ГОСТ 29280 должны быть установлены в стандартах и (или) ТУ, ТЗ на ТС конкретного типа.
5.1.5 Испытания на устойчивость к воздействию ИМП проводят:
- серийно выпускаемых ТС - при сертификационных, периодических и типовых испытаниях;
- разрабатываемых ТС - при приемочных испытаниях;
- импортируемых ТС - при сертификационных испытаниях.
5.1.6 Отбор образцов ТС для испытаний на устойчивость к ИМП проводят в соответствии со следующими требованиями:
- для испытаний на помехоустойчивость серийно изготовляемых ТС число образцов выбирают из ряда: 7, 14, 20, 26, 32, 38;
- для испытаний опытных ТС отбирают 2%, но не менее 3 образцов, если изготовлено более 3 образцов, и все образцы, если изготовлено 3 и менее образцов;
- ТС единичного выпуска испытывают каждое в отдельности.
5.1.7 Порядок проведения сертификационных испытаний на соответствие требованиям устойчивости к ИМП - по ГОСТ 29037.
5.2. Степени жесткости испытаний
Степени жесткости испытаний на устойчивость к воздействию ИМП приведены в таблице 1.
Степень жесткости испытаний | Напряженность ИМП, А/м (пиковое значение) |
1 | - |
2 | - |
3 | 100 |
4 | 300 |
5 | 1000 |
* | По согласованию между производителем и изготовителем |
Примечания 1 1 А/м соответствует индукции 1,26 мкТл в свободном пространстве. 2 Порядок выбора степеней жесткости испытаний установлен в приложении А. 3 Сведения о напряженности ИМП встречающихся на практике источников приведены в приложении Б. |
6. ИСПЫТАТЕЛЬНОЕ ОБОРУДОВАНИЕ
Испытательное ИМП создается током, протекающим в индукционной катушке.
Воздействие ИМП на ИТС осуществляется иммерсионным методом.
Пример реализации иммерсионного метода приведен на
рисунке 1.
Испытательное оборудование включает испытательный генератор (ИГ), индукционную катушку и вспомогательную аппаратуру.
6.1. Испытательный генератор
ИГ должен обеспечивать протекание тока требуемой формы и амплитуды в индукционной катушке с учетом ее полного сопротивления. Индуктивность катушки составляет от 2,5 мкГн для стандартной одновитковой катушки со стороной 1 м до нескольких микрогенри (порядка 6 мкГн) для прямоугольной одновитковой индукционной катушки размерами 1 x 2,6 м.
Величину выходного тока ИГ, отвечающего требуемой степени жесткости испытаний, определяют как отношение нормируемой напряженности магнитного поля, приведенной в
таблице 1, к коэффициенту индукционной катушки, который изменяется от 0,87 для стандартной катушки со стороной 1 м при испытаниях настольных малогабаритных ТС до 0,66 для прямоугольной катушки размерами 1 x 2,6 м при испытаниях крупногабаритных напольных ТС.
ИГ должен работать в условиях короткого замыкания. Выходной зажим ИГ соединяется с зажимом заземления (для подключения к заземляющему контуру лаборатории).
ИГ представляет из себя генератор одиночных импульсов тока с характеристиками:
Длительность фронта импульса, мкс | 6,4 +/- 30% |
Длительность импульса | 16 +/- 30% |
Амплитуда импульса, поделенная на коэффициент катушки, А | 100 - 1000 |
Полярность импульса | Положительная и отрицательная |
Сдвиг импульсов по фазе относительно напряжения сети электропитания, град | 0 - 360 с шагом 10 |
Синхронизация | Запуск ИГ от внешнего сигнала |
Напряжение и напряженность поля индустриальных радиопомех, создаваемых включенным ИГ при отсутствии генерации импульсов тока, не должны превышать значений, установленных "Общесоюзными нормами допускаемых индустриальных радиопомех" (Нормы 8-72).
ИМП, создаваемое ИГ, не должно влиять на уровень испытательного магнитного поля, создаваемого индукционной катушкой; для этого подсоединение ИГ к индукционной катушке должно осуществляться скрученными проводами, и ИГ должен располагаться на расстоянии не менее 3 м от катушки.
Форма импульса выходного тока ИГ приведена на
рисунке 2.
В качестве ИГ может быть применен испытательный генератор микросекундных импульсных помех большой энергии по ГОСТ Р 50007.
Примечание - Амплитуда импульса тока для стандартной индукционной катушки
(6.2.1) должна изменяться от 120 до 1200 А.
6.1.2. Проверка характеристик ИГ
При проверке характеристик ИГ измеряют:
- амплитудное значение импульса тока;
- длительность фронта импульса;
- длительность импульса.
Параметры импульса тока измеряют при подключении ИГ к стандартной индукционной катушке
(6.2.1.1).
Измерения выполняют с помощью измерительных приборов с погрешностью 10%.
а - настольное ТС; б - напольное ТС
Рисунок 1 - Схема воздействия ИМП на ТС
с использованием иммерсионного метода
Рисунок 2 - Форма импульса выходного тока ИГ
1 - источник высокого напряжения; 2 - зарядный резистор;
3 - зарядный конденсатор; 4 - разрядный ключ;
5, 8 - резисторы, формирующие длительность импульса;
6 - индуктивность, определяющая длительность фронта
импульса; 7 - резистор, определяющий внутреннее
сопротивление ИГ; 9 - к индукционной катушке
6.2. Индукционная катушка
6.2.1. Характеристики индукционной катушки
Индукционная катушка, подключенная к ИГ, должна обеспечить создание ИМП с напряженностью, соответствующей установленной степени жесткости и заданной точности.
Индукционная катушка должна быть изготовлена из меди, алюминия или другого проводящего немагнитного материала; ее поперечное сечение и конструктивное исполнение должны обеспечивать устойчивую установку при испытаниях.
Индукционная катушка может быть одновитковой, если она обеспечивает протекание тока, необходимого при заданной степени жесткости испытаний. Многовитковая индукционная катушка может применяться для создания заданного испытательного магнитного поля при пониженном токе ИГ. Индукционная катушка должна иметь размеры, соответствующие размерам ИТС, так чтобы охватить его в трех ортогональных плоскостях. В зависимости от вида и назначения ИТС могут применяться индукционные катушки различных размеров. Индукционные катушки размерами, указанными в
6.1, пригодны при создании ИМП в объеме ИТС (настольных -
рисунок 4, напольных -
рисунок 5).
Неравномерность ИМП в рабочем объеме индукционной катушки должна быть не более +/- 3 дБ.
Пример расположения индукционной катушки при проверке устойчивости ТС к ИМП методом приближения приведен на
рисунке 6.
6.2.1.1 Индукционная катушка для испытаний настольных ИТС
Стандартная индукционная катушка для испытаний малогабаритных ИТС, устанавливаемых на столе (счетчиков электрической энергии, устройств систем управления и др.), должна иметь форму квадрата (круга) с размером стороны (диаметра), составляющим 1 м, и изготовляться из одного витка провода толщиной не более 10 мм. Рабочий объем стандартной квадратной катушки составляет 0,6 x 0,6 x 0,5 м.
При испытаниях настольных ТС больших размеров для получения ИМП с неоднородностью не более +3 дБ может использоваться двойная индукционная катушка (катушка Гельмгольца) стандартного размера, которая составляется из двух катушек
(рисунок 7).
Напряженность магнитного поля в центре двойной индукционной катушки вычисляют по формуле:

(1)
где H - напряженность магнитного поля, А/м,
n - число витков каждой катушки,
b - длина стороны катушки, м,
I - ток, А.
Рабочий объем двойной катушки, состоящей из катушек стандартного размера и разнесенных на 0,8 м, при неоднородности поля +3 дБ равен 0,6 x 0,6 x 1 м (высота).
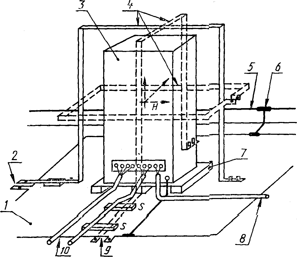
1 - стол из немагнитного материала; 2 - плоскость
заземления; 3 - к ИГ; 4 - ИТС; 5 - индукционная катушка;
6 - соединение плоскости заземления с цепью защитного
заземления; 7 - защитное заземление; 8 - изолирующая опора;
9 - к сети электропитания; 10 - к ИГ;
11 - к источнику сигналов (имитатору)
Рисунок 4 - Рабочее место для испытаний настольных ТС
на устойчивость к ИМП
1 - плоскость заземления; 2 - к ИГ; 3 - ИТС;
4 - индукционная катушка; 5 - защитное заземление;
6 - соединение плоскости заземления с цепью защитного
заземления; 7 - изоляционная опора; 8 - к сети
электропитания; 9 - к ИГ; 10 - к источнику сигналов
(имитатору)
Рисунок 5 - Рабочее место для испытаний напольных ТС
на устойчивость к ИМП
1 - ИТС; 2 - индукционная катушка
Рисунок 6 - Схема проверки восприимчивости ИТС к ИМП
с использованием метода приближения
Рисунок 7 - Схема катушки Гельмгольца
6.2.1.2 Индукционная катушка для испытаний напольных ИТС
Размеры индукционной катушки должны соответствовать размерам ИТС при различных плоскостях поляризации испытательного ИМП.
Расстояние проводников катушки от наружных поверхностей ИТС должно составлять не менее 20% длины каждой стороны катушки. Индукционная катушка должна быть выполнена из провода толщиной не более 10 мм.
Рабочий объем индукционной катушки определяется ее рабочей поверхностью (50 x 50% от длины каждой стороны катушки), умноженной на высоту, соответствующую 50% длины короткой стороны катушки.
6.2.2. Калибровка индукционной катушки. Коэффициент катушки
Индукционная катушка должна быть откалибрована до начала испытаний в отсутствие ИТС.
При калибровке катушка должна быть установлена на расстоянии не менее 1 м от стены лаборатории, а также от любой конструкции из магнитного материала и подсоединена к ИГ, как указано в
6.1.1. Калибровка производится с использованием тока промышленной частоты. Амплитуда тока должна быть выбрана такой, чтобы получить напряженность поля, соответствующую требуемой степени жесткости испытаний на устойчивость к ИМП.
Полученное таким образом значение амплитуды тока используется при проведении испытаний ТС на устойчивость к ИМП.
Для контроля напряженности ИМП, создаваемого индукционной катушкой, должен использоваться датчик магнитного поля. Датчик поля должен быть установлен в центре индукционной катушки и иметь соответствующую ориентацию, чтобы выделять максимальное значение поля.
Коэффициент индукционной катушки определяется как отношение H/I, где H - напряженность магнитного поля в А/м, I - ток, протекающий по катушке в А.
Метод калибровки индукционной катушки приведен в
приложении В.
Характеристики индукционных катушек различных размеров, предназначенных для проведения испытаний настольных и напольных ИТС на устойчивость к ИМП, - по ГОСТ Р 50648.
6.3. Измерительные приборы и вспомогательное оборудование
Измерительные приборы включают аппаратуру для установки и измерения тока в индукционной катушке, а также устройства развязки и помехоподавляющие фильтры для цепей электропитания, управления и передачи сигналов. Устройства развязки предназначены для обеспечения стандартного входного сопротивления, равного 50 Ом всех внешних цепей, подключаемых к зажимам ИТС.
Система измерения токов должна содержать откалиброванный прибор для измерения тока, зонд или шунт. Погрешность измерений тока должна быть не более 10%. В качестве устройства развязки для сети электропитания может быть применен эквивалент сети, для цепей передачи сигналов и управления - последовательно соединенные резистор и конденсатор. Порядок применения устройств развязки должен быть установлен в методике испытаний.
К вспомогательному оборудованию относятся имитаторы или любые другие устройства, необходимые для обеспечения функционирования ИТС, проверки его рабочих характеристик и проведения испытаний.
7. РАБОЧЕЕ МЕСТО ДЛЯ ИСПЫТАНИЙ
В зависимости от места проведения различаются испытания, проводимые в испытательных лабораториях (центрах), и на месте эксплуатации ИТС.
Приемочные и сертификационные испытания ТС на соответствие требованиям устойчивости к ИМП проводят только в условиях испытательных лабораторий (центров).
Рабочее место для испытаний должно иметь следующее испытательное оборудование: плоскость заземления; ИТС; индукционную катушку; ИГ; устройства развязки, помехоподавляющие фильтры.
Примечание - Если ИМП, создаваемое при испытаниях, может нарушить функционирование расположенного поблизости чувствительного к магнитному полю оборудования, испытания рекомендуется проводить в экранированном помещении.
7.1. Плоскость заземления
ИТС и вспомогательное оборудование должны располагаться на плоскости заземления и соединяться с ней. Плоскость заземления должна представлять собой медный или алюминиевый металлический лист толщиной не менее 0,25 мм. Допускается использовать другие металлические материалы, но при этом толщина листа должна быть не менее 0,65 мм. Минимальные размеры плоскости заземления должны составлять 1 x 1 м. Фактические размеры зависят от размеров ИТС. Плоскость заземления должна быть соединена с защитным заземлением.
ИТС, установленное и подключенное в соответствии с функциональными требованиями, должно быть размещено на изоляционной опоре толщиной 0,1 м, уложенной поверх плоскости заземления.
Если заземление ИТС предусмотрено через кабель питания, ИТС должно быть заземлено с использованием указанного кабеля. Если блоки ИТС заземляются с использованием зажимов заземления, то подключение к защитному заземлению должно быть осуществлено непосредственно на плоскости заземления.
Цепи питания, входные и выходные цепи ИТС должны быть подключены к соответствующим источникам питания и сигналов.
При испытаниях используются соединительные кабели, входящие в состав ИТС; при их отсутствии допускается применять неэкранированные кабели. Длина неэкранированного кабеля, подвергающегося воздействию ИМП при испытаниях, должна быть не более 1 м.
Если применяются сетевые помехоподавляющие фильтры (эквиваленты сети), то они должны быть соединены с ИТС кабелями длиной 1 м и подключены к плоскости заземления.
Подключаемые к ИТС кабели питания, управления и передачи сигналов должны быть в пределах плоскости заземления отделены от нее изолирующими прокладками толщиной 0,1 м.
ИГ должен размещаться на расстоянии не менее 3 м от индукционной катушки. Один из выходных зажимов ИГ должен быть соединен с плоскостью заземления.
7.4. Индукционная катушка
Индукционная катушка должна охватывать ИТС, размещенное в ее центре.
Для испытания ТС при воздействии ИМП в различных ортогональных плоскостях могут быть применены различные индукционные катушки. Индукционная катушка, располагаемая вертикально (горизонтальное направление ИМП) может быть подключена у основания одного из вертикальных проводников непосредственно к плоскости заземления, которая в этом случае выполняет роль нижней стороны катушки.
Индукционная катушка подключается к ИГ в соответствии
6.1.1.
Выбранная для проведения испытаний индукционная катушка должна быть указана в методике испытаний.
8. ПОРЯДОК ПРОВЕДЕНИЯ ИСПЫТАНИЙ
Испытания включают: контроль условий испытаний; предварительную проверку правильности функционирования ИТС; проведение испытаний; оценку результатов испытаний.
Для того, чтобы уменьшить влияние параметров окружающей среды на результаты испытаний, испытания должны проводиться в климатических условиях и электромагнитной обстановке, указанных в 8.1.1 и 8.1.2.
8.1.1. Климатические условия
Испытания должны проводиться в нормальных климатических условиях в соответствии с требованиями ГОСТ 15150.
8.1.2. Электромагнитная обстановка
Электромагнитная обстановка в испытательной лаборатории (центре) должна обеспечивать нормальное функционирование ИТС и не влиять на результаты испытаний. В частности, уровень ИМП в лаборатории должен быть не менее чем на 20 дБ ниже выбранной степени жесткости испытаний. Если указанные требования не выполняются, испытания проводят в экранированном помещении.
8.2. Проведение испытаний
Испытания должны проводиться на основе методики испытаний, которая должна включать проверку функционирования ИТС в соответствии с техническими условиями.
Напряжения источников питания, сигнализации и другие рабочие электрические параметры ИТС должны находиться в оговоренных для них диапазонах.
Проверка функционирования ИТС должна проводиться до подачи испытательного ИМП.
Воздействие испытательного ИМП на ИТС должно осуществляться в соответствии с иммерсионным методом. Степень жесткости испытаний не должна превышать предусмотренную нормативной документацией.
Напряженность ИМП, соответствующая выбранной степени жесткости испытаний, и длительность испытаний должны быть указаны в методике испытаний.
Для определения стороны ИТС или его расположения относительно испытательного поля, при которых ИТС обладает максимальной восприимчивостью к ИМП, допускается применять метод приближения.
При испытаниях осуществляют не менее 5 воздействий на ИТС испытательного ИМП, создаваемого током положительной и отрицательной полярности. Интервал между импульсами должен быть не менее 10 с.
Малогабаритные ИТС подвергают воздействию ИМП, создаваемого стандартной индукционной катушкой в соответствии с
6.2.1.1. Затем индукционную катушку поворачивают на 90 град. относительно ИТС, чтобы воздействовать на ИТС испытательным полем в другом направлении.
ИТС подвергают воздействию ИМП, создаваемого индукционной катушкой подходящих размеров в соответствии в
6.2.1.2. Испытание повторяют при перемещении и сдвиге катушки, чтобы исследовать весь объем ИТС для каждого ортогонального направления ИМП. Сдвиг индукционной катушки в различных положениях вдоль стороны ИТС при испытаниях не должен превышать 50% длины наименьшей стороны катушки.
Затем индукционную катушку поворачивают на 90 град. относительно ИТС и испытывают ИТС в такой же последовательности на устойчивость к ИМП, действующему в другом направлении. Если расстояние проводников катушки от наружных поверхностей ИТС составляет менее 20% длины каждой стороны катушки, используют индукционную катушку большего размера.
Примечание - Перемещение индукционной катушки с шагом, не превышающим 50% длины наименьшей стороны катушки, позволяет перекрывать весь объем ИТС без пропусков.
9. ОЦЕНКА РЕЗУЛЬТАТОВ ИСПЫТАНИЙ
9.1 Критерии качества функционирования ТС при испытаниях на устойчивость к ИМП выбирают по ГОСТ 29280.
9.2 Требования устойчивости к ИМП серийно изготовляемых ТС, а также опытных изделий при числе испытанных образцов не менее 7 считают выполненными, если число образцов, удовлетворяющих требованиям устойчивости к помехам, будет не менее указанного в таблице 2.
Число испытанных образцов | Число образцов, удовлетворяющих требованиям устойчивости к внешним помехам |
7 | 7 |
14 | 13 |
20 | 18 |
26 | 23 |
32 | 28 |
38 | 33 |
9.3 В случае, если результаты испытаний не соответствуют требованиям таблицы 2, испытаниям может быть подвергнута вторая выборка ТС. Результаты испытаний двух выборок суммируют при условии, что общее число испытанных образцов соответствует указанному в таблице 2.
9.4 Требования устойчивости к ИМП опытных ТС при числе испытанных образцов менее 7, а также изделий единичного выпуска, считают выполненными, если все испытанные образцы удовлетворяют требованиям устойчивости к ИМП.
10. ТРЕБОВАНИЯ БЕЗОПАСНОСТИ
ИГ и вспомогательное оборудование должны соответствовать требованиям, установленным в ГОСТ 12.2.007.0.
Испытания ТС должны проводиться с соблюдением требований безопасности, установленных в ГОСТ 12.3.019, а также требований стандартов (нормативной документации) на конкретные ТС.
(обязательное)
ВЫБОР СТЕПЕНИ ЖЕСТКОСТИ ИСПЫТАНИЙ
Степень жесткости испытаний устанавливают исходя из условий эксплуатации ТС и окружающей электромагнитной обстановки в соответствии с требованиями
раздела 5 настоящего стандарта.
Испытания на устойчивость к ИМП проводят с целью установить снижение качества функционирования ТС в условиях электромагнитной обстановки, при которых возможна эксплуатация ТС. При этом необходимо учитывать сведения о встречающихся на практике источниках и напряженности ИМП, приведенных в
приложении Б. Применимость испытаний зависит от наличия физических явлений, которое определяют условия электромагнитной обстановки.
При выборе степени жесткости испытаний необходимо принимать во внимание близость расположения источников ИМП в условиях эксплуатации ТС с учетом запаса, перекрывающего случайные отклонения, присущие измеряемым величинам.
Выбор степени жесткости испытаний ТС на устойчивость к ИМП должен осуществляться с учетом следующих положений.
Испытания на устойчивость к ИМП со степенями жесткости 1 и 2 не проводятся.
Степень жесткости 1 соответствует электромагнитной обстановке, в которой могут эксплуатироваться чувствительные приборы, использующие электронные лучи (мониторы, электронные микросхемы и др.).
Степень жесткости 2 соответствует электромагнитной обстановке жилых помещений, учреждений, больниц, электрических подстанций, удаленных от проводников систем молниеотводов, в которых ТС не подвергаются воздействию молниевых разрядов и ударных токов короткого замыкания.
Степень жесткости 3 устанавливают для электромагнитной обстановки, характеризующейся близостью заземленных проводников систем молниеотводов и металлических конструкций.
Примерами указанной электромагнитной обстановки могут служить коммерческие зоны, центры управления предприятий промышленности при наличии систем молниеотводов или расположенных поблизости металлических конструкций, компьютерные залы высоковольтных подстанций.
Степень жесткости 4 устанавливают для промышленной электромагнитной обстановки, характеризующейся наличием в непосредственной близости от ТС заземленных проводников систем молниеотводов и металлических конструкций.
Примерами указанной электромагнитной обстановки могут служить предприятия тяжелой промышленности, электростанции, залы управления электрических подстанций среднего и высокого напряжения.
Степень жесткости 5 устанавливают для жесткой промышленной электромагнитной обстановки, характеризующейся:
- наличием в непосредственной близости токопроводов линий высокого и низкого напряжения с токами порядка десятков кА;
- наличием заземляющих проводников систем молниеотводов или высотных металлических конструкций (например, опор линий электропередач), проводящих полный ток молниевого разряда.
Примерами указанной электромагнитной обстановки могут служить коммутационные залы предприятий тяжелой промышленности, электростанций и электрических подстанций.
Степень жесткости * устанавливают для особых условий применения ТС и окружающей электромагнитной обстановки. Большие или меньшие удаления источников ИМП от ТС, а также функциональные и конструктивные особенности ТС могут потребовать применения более высоких или более низких степеней жесткости испытаний, чем указано выше.
(справочное)
СВЕДЕНИЯ О НАПРЯЖЕННОСТИ ИМП ВСТРЕЧАЮЩИХСЯ
НА ПРАКТИКЕ ИСТОЧНИКОВ
На основании прогнозирования условий электромагнитной обстановки и/или измерений напряженности поля при моделировании прямого удара молнии в здания и электрические и промышленные установки можно сделать следующие выводы. Пиковое значение напряженности ИМП изменяется от нескольких сотен ампер на метр до порядка килоампер на метр, причем большие значения характеризуют ИМП вблизи шин заземления, используемых в качестве молниеотводов, и металлических конструкций, отводящих токи короткого замыкания, меньшие значения относятся к ИМП, создаваемым оборудованием и системами, установленными внутри помещений.
(обязательное)
МЕТОД КАЛИБРОВКИ ИНДУКЦИОННОЙ КАТУШКИ
1 Измерение напряженности ИМП
Измерения напряженности магнитного поля проводят в пространстве внутри индукционной катушки, при отсутствии ИТС, удалении от стен лаборатории не менее 1 м и отсутствии вблизи магнитных материалов.
Для измерения магнитного поля применяют измерительную систему, состоящую из датчиков магнитного поля с полосой пропускания не менее 5 - 10 мГц и осциллографа.
2 Калибровка индукционной катушки
Калибровку осуществляют при пропускании в индукционной катушке калибровочного тока частоты сети и измерении магнитного поля с помощью датчика (индукционного преобразователя), установленного в ее геометрическом центре. Ориентация датчика должна быть соответствующим образом подобрана для получения максимального значения магнитного поля.
| | ИС МЕГАНОРМ: примечание. Взамен ГОСТ 8.326-89 на территории Российской Федерации с 1 декабря 2001 года введены в действие ПР 50.2.009-94 "ГСИ. Порядок проведения испытаний и утверждения типа средств измерений" (Постановление Госстандарта России от 27.09.2001 N 394-ст). | |
Погрешность измерения напряженности магнитного поля должна составлять не более 20%. Диаметр датчика магнитного поля должен быть не менее чем на порядок меньше размеров индукционной катушки. В качестве датчика магнитного поля применяют индукционные преобразователи по ГОСТ Р 50012 или другие устройства, соответствующие требованиям настоящего стандарта. Измерители напряженности поля, используемые при калибровке, должны быть аттестованы по ГОСТ 8.326.
Коэффициент индукционной катушки определяют для каждой катушки как отношение напряженности магнитного поля к величине протекающего тока.
Для стандартизованных индукционных катушек коэффициент катушки определяется изготовителем и может быть проверен путем измерений, выполняемых перед проведением испытаний.