Главная // Актуальные документы // ГОСТ Р (Государственный стандарт)СПРАВКА
Источник публикации
М.: Издательство стандартов, 1993
Примечание к документу
Документ утратил силу с 01.03.2021 в связи с изданием
Приказа Росстандарта от 09.10.2020 N 784-ст. Взамен введен в действие
ГОСТ Р 50326-2020.
С 1 июля 2003 года до вступления в силу технических регламентов акты федеральных органов исполнительной власти в сфере технического регулирования носят рекомендательный характер и подлежат обязательному исполнению только в части, соответствующей целям, указанным в
пункте 1 статьи 46 Федерального закона от 27.12.2002 N 184-ФЗ.
Документ
введен в действие с 1 января 1993 года.
Название документа
"ГОСТ Р 50326-92 (МЭК 513-76). Государственный стандарт Российской Федерации. Основные принципы безопасности электрического оборудования, применяемого в медицинской практике"
(утв. и введен в действие Постановлением Госстандарта России от 07.10.1992 N 1321)
"ГОСТ Р 50326-92 (МЭК 513-76). Государственный стандарт Российской Федерации. Основные принципы безопасности электрического оборудования, применяемого в медицинской практике"
(утв. и введен в действие Постановлением Госстандарта России от 07.10.1992 N 1321)
Утвержден и введен в действие
Постановлением Госстандарта
России
от 7 октября 1992 г. N 1321
ГОСУДАРСТВЕННЫЙ СТАНДАРТ РОССИЙСКОЙ ФЕДЕРАЦИИ
ОСНОВНЫЕ ПРИНЦИПЫ БЕЗОПАСНОСТИ ЭЛЕКТРИЧЕСКОГО ОБОРУДОВАНИЯ,
ПРИМЕНЯЕМОГО В МЕДИЦИНСКОЙ ПРАКТИКЕ
Basic aspects of the safety philosophy of electrical
equipment used in medical practice
ГОСТ Р 50326-92
(МЭК 513-76)
ОКСТУ 9407
Дата введения
1 января 1993 года
1. Подготовлен и внесен Техническим комитетом по стандартизации медицинских приборов и аппаратов (ТК 11).
2. Утвержден и введен в действие Постановлением Госстандарта России от 07.10.92 N 1321.
Настоящий стандарт подготовлен методом прямого применения стандарта МЭК 513-76 "Основные принципы безопасности электрического оборудования, применяемого в медицинской практике" и полностью ему соответствует.
3. Срок проверки - 1997 г., периодичность проверки - 5 лет.
4. Введен впервые.
Настоящий стандарт рассматривает меры обеспечения безопасности пациента и оператора при эксплуатации медицинского электрического оборудования (далее - оборудование).
Все требования стандарта являются обязательными.
Причинами, вследствие которых оборудование в медицине может вызвать серьезные опасности, являются:
- энергии, вырабатываемые при нормальном функционировании оборудования;
- энергии, вырабатываемые в результате ошибочных начальных условий;
- прекращение функционирования оборудования, если состояние пациента зависит от его работоспособности (оборудование для жизнеобеспечения) или метод диагностики (лечения) не позволяет прервать процесс.
Указанные опасности могут угрожать пациенту, оператору, обслуживающему персоналу, а также оборудованию или установкам.
Данные опасности могут быть вызваны:
1) различными видами электрической энергии, например, постоянным электрическим током, проходящим через тело пациента, или преобразованиями электрической энергии в такие формы, как радиация, ультразвуковая или высокочастотная энергия, или ускоренные частицы атома;
2) механическими силами, возникшими вследствие неправильной эксплуатации оборудования, нарушений его функционирования в результате электрических или механических повреждений, отсутствия предохранительных приспособлений, наличия опасных поверхностей, углов или острых краев, неоднородностей, выступов или т.п.;
3) высокочастотными помехами, которые могут нарушать автоматические процессы, регистрацию диагностических данных или лечение;
4) избыточной температурой поверхностей, могущей привести к ожогу или стрессу;
5) пожаром, если повреждение оборудования приводит к осаждению расплавленного материала, горению электропроводки и других окружающих объектов;
6) опасностями химических поражений в результате эмиссии химически агрессивных, ядовитых или горючих жидкостей или газов, или контакта с биологически опасными материалами;
7) ошибками при замене отдельных частей оборудования, неправильной последовательностью операций, нежелательным появлением выходного сигнала и т.п.;
8) повреждением компонентов оборудования, предназначенного для жизнеобеспечения пациента;
9) повреждением источника питания или другими нарушениями в окружающей обстановке.
2. БЕЗОПАСНОСТЬ ОБОРУДОВАНИЯ
Требования безопасности оборудования рассматривались во многих национальных, региональных и международных стандартах. Однако оборудование, применяемое в медицине, требует рассмотрения некоторых специфически важных аспектов:
пациент может быть исключительно чувствителен к опасностям из-за того, что не знает о них, неспособен защититься от них, а также из-за чувствительности к внешним воздействиям вследствие метода лечения, например, путем нарушения его природных защитных барьеров.
Жизнь пациента может зависеть от работы оборудования; в таких случаях функциональная надежность оборудования и установок являются факторами безопасности.
В некоторых случаях неоднократное облучение врача, который ставит диагноз или лечит больных, может стать причиной опасности.
Человек способен поглотить ограниченное количество энергии различных видов. Превышение пределов, установленных экспериментально, может привести к ущербу для здоровья или смерти. В последнее время распространено мнение, что человека следует защищать даже от безвредных, но неприятных ощущений, которых можно избежать, не влияя на процесс лечения.
Количество энергии, подаваемой пациенту, определяет врач. Однако калибровка и точность индикации количества энергии должны быть гарантированы работой оборудования, а номинальная мощность не должна намного превышать максимальной величины, необходимой для лечения, на которую рассчитано оборудование.
Врач или персонал, работающий с оборудованием, должен иметь определенные навыки управления оборудованием и представлять себе возможные опасности при его эксплуатации.
В особых случаях необходимо повесить предупреждающие надписи или напечатать их в инструкции по эксплуатации оборудования. Цель предупреждающих надписей - исключить неправильное использование и серьезные ошибки при эксплуатации оборудования. Некоторых невольных и типичных ошибок можно избежать, используя соответствующие приспособления для контроля связи или соединения.
Рассмотрение перечисленных факторов и внимательное изучение действующих стандартов и соответствующей литературы позволяют прийти к заключению, что безопасность эксплуатации оборудования в общем случае должна включать не только вопросы, связанные непосредственно с самим оборудованием, но и предусматривать сочетание мер по обеспечению безопасности оборудования электрических установок зданий, включая эксплуатацию и применение. Безопасность - понятие относительное, и абсолютная безопасность, хотя и является конечной целью, но никогда не может быть достигнута. Правильно применяемые меры безопасности не должны ограничивать функциональные возможности оборудования. Более того, используемые технические решения должны обеспечить соответствующую защиту пациента, оператора и обслуживающего персонала.
Электрическая безопасность может быть обеспечена:
- средствами, объединенными с оборудованием (безусловная электробезопасность);
- дополнительными мерами защиты (условная электробезопасность).
Если перечисленные выше меры не обеспечиваются, то безопасность оборудования может быть предусмотрена правилами его размещения и применения.
Оборудование характеризуется сроком эксплуатации, который определяется его индивидуальными качествами, воздействиями условий внешней среды, частотой его применения и контролем за эксплуатацией. Некоторые неисправности можно предотвратить при помощи периодических осмотров и соответствующего обслуживания. Возникновение неисправностей, причина которых может остаться невыявленной, можно предотвратить, используя оборудование соответствующей конструкции с достаточно высоким коэффициентом безопасности или защитные устройства. Понятие коэффициента безопасности включает в себя не только механические и электрические факторы, но также эффект использования и износа оборудования, знание способов его производства и условий транспортирования и хранения.
Полагают, что вероятность возникновения в одно и то же время двух независимых друг от друга неисправностей очень мала. Таким образом, возможно существование защитной системы, в которой любая первая неисправность может быть обнаружена до второй неисправности. Применение этих принципов к различным типам опасностей сводится к следующему анализу.
2.1. Опасность поражения электрическим током
Меры безопасности от поражения электрическим током при работе с оборудованием рассмотрены во всех существующих стандартах на электрическое оборудование. Известно, что источником данного вида опасности служит разность потенциалов, обычно возникающая между землей и одним или более проводниками электрической системы.
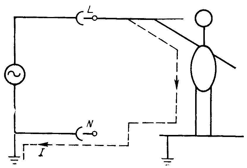
Условия, при которых пациент или оператор заземлены или соединены с землей через низкое сопротивление или контакт пациента или оператора с проводником источника электропитания (или с любым другим проводником, соединенным с ним), могут привести к опасности поражения электрическим током (рис. 1).
Рис. 1. Опасность, вызванная контактом с сетью
Размеры опасности зависят от напряжения, сопротивления тела пациента и пути электрического тока через него. Величину опасности данного вида можно снизить, удовлетворяя основному требованию: все живое должно быть защищено от случайного контакта.
Обычно такая защита достигается основной предохранительной изоляцией, которую рассматривают как единственную меру защиты. Однако в целях исключения возможности возникновения опасности после первой же аварии единственную меру защиты нельзя считать достаточной (даже в случае, когда ток утечки в нормальных условиях не превышает допустимую величину).
Стандартные методы, используемые во всем электрическом оборудовании для защиты, при повреждении первичной изоляции, можно применять к медицинскому оборудованию:
класс I - заземление доступных проводящих частей, которые могут быть оголены при повреждении изоляции;
класс II - двойная изоляция;
класс III - сочетание разделения цепей и сверхнизкого напряжения.
Принцип двойной защиты исключает оборудование только с основной изоляцией (класс 0). Этот принцип применяют не только к части источника питания, но также ко всем другим частям оборудования. Допустимый уровень тока утечки снижен, и это означает, что проводящая часть, несущая напряжение, считается "находящейся под напряжением", если можно получить ток утечки, превышающий допустимый.
На частях, доступ к которым возможен без использования инструмента, должно быть напряжение на землю, не превышающее 4 В переменного среднего квадратического значения или 30 В постоянного тока, в случае неисправности основной предохранительной изоляции на доступной проводящей части. Однако существует ограничение для случаев, когда проводящее соединение между такой частью и пациентом нежелательно.
Для оборудования актуальной проблемой является сочетание следующих факторов:
- повышенная чувствительность, вызванная соединением низкого сопротивления с сердцем пациента или непосредственным окружением;
- уровень плотности тока, который может вызывать фибрилляцию желудочка или значительное ослабление пульсации;
- продолжительный период, в течение которого пациенты могут находиться в тесном контакте с оборудованием;
- предотвращение случайных ожогов при хирургических операциях с применением токов высокой частоты.
Существуют два пути для токов утечки:
- от сети по сопротивлению и емкости изоляции через цепь, соединенную с пациентом, и через пациента на землю (рис. 2).
1 - накладываемая часть или цепь пациента; 2 - ток утечки
Рис. 2. Ток утечки на пациента
Данный ток называется "током утечки на пациента", и, если пациент заземлен, ток данного вида протекает постоянно;
- от основной цепи по сопротивлению и емкости изоляции к доступным частям оборудования. В нормальных условиях данный вид тока почти полностью будет протекать по защитному заземленному проводнику на землю, если оборудование заземлено. Однако часть тока может идти через пациента, который прикасается к доступным частям, заземленным прямо или косвенно. Такой ток называют "током утечки на корпус". В обычных условиях ток рассматриваемого вида очень мал и протекает он только в том случае, когда одновременно выполнены следующие необходимые условия (рис. 3):
1 - врач; 2 - пациент; 3 - ток утечки
Рис. 3. Ток утечки на корпус
- пациент заземлен (первое условие);
- происходит случайное электрическое соединение между доступными частями оборудования с цепью пациента, в которой пациент заземлен, либо с пациентом, цепь которого заземлена (второе условие);
- ток, возникающий в обычных условиях, может превысить допустимое значение только в случае повреждения одного из защитных средств (третье условие).
Заземление пациента часто происходит случайно посредством людей или предметов.
Ток, протекающий через защитный заземленный проводник оборудования класса I, называют током утечки на землю (рис. 4).
EQ1 - EQ2 - оборудование; R1, R2 - сопротивления защитных
заземленных соединений; IE1, IE2 - токи утечки на землю;

- напряжение, вызванное разностями в сопротивлении
защитных заземленных соединений или токами утечки на землю;
PCEP - центральная эквипотенциальная точка пациента
Рис. 4. Ток утечки на землю
В аварийном режиме ток утечки на корпус в оборудовании рассматриваемого класса может полностью или частично состоять из тока утечки на землю.
Необходимо иметь в виду, что оборудование класса I может иметь корпус полностью или частично проводящий; по определению АКОС (консультативный комитет по безопасности) - корпус полностью изолированный или устройство из проводящих внутренних частей, полностью отделяющее основную часть от всех других частей и соединенное с защитным заземлением. При указании возможных аварийных условий необходимо учитывать конструкцию и качество различных защитных средств. Так усиленную или двойную изоляцию можно считать защитной от пробоя всей изоляции, непрерывность защитного заземленного соединения - надежной мерой предосторожности, если оно фиксировано или постоянно смонтировано, а также если защитное заземленное соединение удвоено или контролируется.
Для пациента и оператора степень опасности, вызванная токами утечки, зависит от рода контакта с оборудованием. Здоровый человек может перенести токи в несколько миллиампер, протекающие через его кожу, тогда как больной человек, через кожу которого постоянно или временно протекает электрический ток, равный долям миллиампера, может испытать неприятное ощущение. Ток, протекающий через сердце по внутрисердечным электродам или катетерам, порядка 100 мкА переменного тока и частотой до 1 кГц, может вызвать фибрилляцию желудочка сердца.
Примечание. Возбудимость сердечных тканей постоянным током намного ниже, чем переменным. Полагают, что критическая величина постоянного тока в пять раз превышает величину переменного.
Допускают, что при увеличении частоты св. 1 кГц чувствительность сердца линейно уменьшается. В связи с низким значением допустимого тока, проходящего через сердце, и окружающими условиями в госпиталях (влажность, наличие жидкостей) приходится переоценивать достоинства электрического оборудования классов I и II. Меры электробезопасности для оборудования класса II (двойная изоляция, отсутствие защитного заземления), успешно применяемые в домашнем хозяйстве, а также для портативных станков, неприемлемы для медицинского оборудования в связи с трудностью получения низких токов утечки в нормальных условиях.
Оборудование класса III тоже находит ограниченное применение. В отдельных случаях могут потребоваться низкие напряжения, и разделение цепей тоже играет положительную роль, но часто более высокий уровень электробезопасности может быть достигнут при помощи дополнительного заземления (класс I), через которое ток утечки можно отвести с помощью экранов и других приспособлений.
В зависимости от степени и качества защитных средств необходимо ввести классификацию оборудования:
- тип H, классы I, II или III - обладает определенной степенью защиты от электрического тока по сравнению с электрическим оборудованием для домашнего хозяйства или подобным оборудованием данных классов, Однако, в связи с дополнительными требованиями, общий уровень безопасности повышается;
- тип B, классы I, II или III - обладает повышенной степенью защиты от электрического тока, например, в результате требований низкого тока утечки на корпус и предела тока утечки на пациента от 100 до 500 мкА для частот менее 1 кГц или эквивалентных величин при более высоких частотах;
- тип BF - оборудование типа B, но с изолированной (плавающей) накладываемой частью;
- тип CF, классы I или II - имеет высокую степень защиты от электрического тока в результате, например, требования низкого тока утечки на корпус и тока утечки на пациента от 10 до 50 мкА для частот менее 1 кГц или эквивалентных величин на более высоких частотах; оборудование типа CF снабжено изолированной (плавающей) накладываемой частью и предназначено для внутрисердечного применения.
Приблизительные пределы, указанные выше, должны быть установлены как для нормальных условий, так и для условий первого повреждения.
Известно, что возможность появления фибрилляции желудочка зависит не только от электрических параметров, но и от способности живого организма выдерживать приложенную энергию.
Пределы тока, разрешенные в условии первого повреждения, должны соответствовать принятой степени безопасности, тогда как пределы в нормальных условиях должны увеличивать фактор безопасности настолько, чтобы можно было учесть любое изменение уровня тока утечки, которое может проходить в течение срока службы оборудования, включая, например, изменение условий окружающей среды.
Примечание. Указанные величины следует использовать как руководство только до получения достаточных научных данных.
Вышеупомянутая классификация дает возможность формировать требования к оборудованию, которые устанавливают качество одного из типов H, B, BF или CF, в соответствии с указанным использованием, в зависимости от типа контакта с пациентом (например, случайный контакт, намеренный внешний контакт, намеренный внутренний контакт или намеренный прямой контакт с сердцем).
Опасность пациента, чье сердце находится в контакте с какой-либо частью оборудования, может также исходить от другой части оборудования, помещенной возле пациента, хотя, возможно, даже не соединенной с ним. Для предусмотрения данной ситуации необходимо использовать требование так называемого правила применения (см.
п. 4).
Классификация оборудования дает возможность ответственным органам указывать, что в определенных местах больницы, например, в операционных помещениях для катетеризации и подобных им, все используемое оборудование должно быть типа CF или обладать той же степенью защиты (с помощью дополнительных средств, таких как второе защитное заземленное соединение).
В данном случае необходимы:
1) обязательная маркировка в соответствии с типом CF (она должна быть указана в сопроводительных документах);
2) оборудование, используемое в установке, которая соответствует конструктивным требованиям;
3) правила применения, включающие в себя нормы для избытка заземленных соединений или процедур испытания и контроля.
Если используется портативное оборудование типа CF, требуемые значения для допустимых токов утечки на пациента и корпус в условиях первого повреждения предполагают использование проводников с двойным защитным заземлением или принятие специальных мер предосторожности в конструкции оборудования (особые методы испытания и хранения, периодический осмотр, или, возможно, соединение с источником питания, изолированным от земли, например, с помощью изолирующего трансформатора).
Заземление пациента (в функциональных целях) через защитный заземленный проводник оборудования может быть связано с большим риском, если такое соединение может быть прервано и суммированный ток утечки на пациента и землю пройдет через пациента, участки его тела, где возможен второй путь утечки тока на землю (даже со значительным сопротивлением). Данную опасность можно снизить, применяя двойное защитное заземление или изолированный от земли источник питания.
Анализ состояний чувствительных пациентов приводит к заключению, что непосредственно к пациенту должно быть присоединено как можно меньше оборудования. Необходимо использовать изолированные цепи пациента, где это возможно; в оборудовании с питанием от батарей или оборудовании класса II к цепи пациента нельзя присоединять проводящий корпус.
Важное преимущество изоляции пациента становится ощутимым, когда к нему присоединено более одного электрического прибора или прибор, соединенный с пациентом, в свою очередь, присоединен к регистратору, индикаторному устройству или устройству для обработки данных. Напряжение, приложенное к пациенту, не определяется электрическим оборудованием. Таким образом, можно избежать уравновешивающих токов. Проблема измерения токов утечки рассмотрена в большинстве существующих стандартов. Однако требования, предъявляемые к приборам и электрическим схемам, обычно не учитывают низких пределов измеряемых токов, необходимых для некоторых типов оборудования, а также тот факт, что чувствительность сердца человека зависит от частоты тока утечки. Более того, последовательность испытаний, как правило, не основана на принципе "первого повреждения", упомянутого выше. Предлагаемые методы испытаний основаны на применении схем, в которых при нормальных условиях воспроизведен действительный ток, возможно текущий к пациенту, и последовательно вызван ряд одиночных повреждений защитных средств. Измерительные приборы должны иметь достаточно широкий частотный диапазон. Желательно иметь также снятую частотную характеристику, воспроизводящую чувствительность сердца человека. Это устраняет возможные помехи в процессе измерения, вызываемые высокочастотными компонентами напряжения сети.
2.2. Опасность механических повреждений
Оборудование для операционных проектируют таким образом, чтобы его удобно было использовать около операционного стола, поскольку площадь операционной ограничена. Устойчивость данного вида оборудования может быть определена с помощью определенных правил. Некоторое оборудование используют для поддержки пациента или тяжелых частей оборудования, окружающего пациента. В таких случаях безопасность пациента зависит не только от статических и динамических механических сил и мер защиты от механических разрушений, вызванных старением оборудования, под воздействием избыточной нагрузки или действием предохранительных защелок, но также от мер предосторожности против травм от движущихся частей оборудования. Следует учесть эффект прекращения подачи электроэнергии и последующего ее восстановления в связи с нежелательными передвижениями, устранением сил сжатия и освобождения пациента из неудобного положения. Части электрического оборудования, предназначенные для размещения на кровати или держания в руке, должны быть достаточно прочными, чтобы не разрушаться при падении. Приборы должны быть вибро- и ударостойкими не только при транспортировании, но и при использовании их в транспортных средствах. Это предусматривается испытаниями в окружающих условиях (см.
п. 2.8).
2.3. Взрывоопасность
Помещения для анестезии можно считать опасными зонами, так как некоторые средства для обезболивания и дезинфекции образуют взрывоопасную атмосферу с воздухом или взрывоопасные смеси с кислородом или азотом. Регуляторы безопасности, используемые в промышленности, неприменимы в медицинской практике, поскольку в ряде случаев они ограничивают возможность применения оборудования вследствие увеличения габаритных размеров, массы, а также, например, невозможности стерилизации. Однако за последнее время применение средств анестезии и техника безопасности при работе с ними подвергались значительным изменениям:
- снизилось применение самовоспламеняющихся средств для анестезии;
- уменьшилось количество газообразных или очищающих и дезинфицирующих веществ;
- снижено применение эфира для дезинфекции или удаления жиров;
- применяют системы с полностью замкнутыми циклами, в которых испаряемые смеси выводятся из помещения.
Измерения показали, что даже в случае некоторой утечки взрывоопасных смесей, концентрации, способные вызвать самовоспламенение, снижаются в зоне радиусом около 25 см вокруг места анестезии (включая дыхательный тракт). Полагают также, что при наличии внешнего электрического оборудования самовоспламеняющаяся атмосфера существует только временно, после чего ее можно удалить с помощью вентиляции.
Систему обезболивания, содержащую газовую смесь, состоящую из кислорода или окиси азота, характеризуют как "закрытую медицинскую газовую систему". Для такой системы недопустимы вспышки, энергия которых превышает определенные пределы воспламенения для смеси эфир - кислород и высокие температуры. Предполагают, что "закрытая медицинская газовая система" распространяется за пределы объема, где возможно происходит авария или утечка. Для некоторых устройств требуется избыток защитных компонентов, потому что электрическое оборудование подчинено условию первого повреждения. Оборудование должно быть маркировано: "стойкое к действию анестезирующих веществ, категория G", сокращенно APG. Требования к защитным средствам будут рассмотрены в "частных рекомендациях" в тесной связи с документами, подготовленными ИСО/ТК 121.
В пространстве, ограниченном радиусом 25 см за пределами "закрытой медицинской газовой системы", оборудование рассматривают и обозначают как "стойкое к действию анестезирующих веществ" (сокращенно AP). Недопустимы вспышки, создающие энергию выше допустимых пределов для атмосферы эфир - воздух, а также высокие температуры. При более высоких энергиях или температурах можно использовать баллоны со сжатым и инертным газом или с чистым воздухом, а также баллоны с ограниченным выпуском газов.
Электрические схемы медицинского оборудования с низкими энергиями характеризуются одновременными ограничениями напряжения, тока, емкости и индуктивности. Все требования относятся к нормальным условиям и не допускают превышения этих величин. Данные требования должны также относиться к пространству под операционным столом, если используются воспламеняющиеся очищающиеся вещества.
2.4. Опасность пожаров
С точки зрения противопожарной безопасности оборудование, за исключением оборудования для анестезии и некоторых видов лабораторного оборудования, не подчинено специальным требованиям.
Для оборудования установлены обычные пределы рабочих температур и требования к защите от перегрузок. Днища корпусов, расположенных под частями, соединенными с сетью, должны быть сконструированы так, чтобы расплавленный металл, горящая изоляция и другие частицы не могли упасть сквозь них.
2.5. Излучение
Оборудование излучает энергию всех известных видов. Требования безопасности относятся к побочному потоку излучения. Меры защиты необходимы для оборудования и окружающей среды, для которой необходимо стандартизовать методы расчетов. Пределы энергии излучения, установленные для оборудования, могут быть превышены при использовании оборудования специального назначения под наблюдением медицинского работника. Требования к ионизирующему излучению, выработанные МЭК, соответствуют рекомендациям (Международная комиссия по рентгенологической защите - МКРЗ), цель которых - получение данных, служить непосредственно изготовителям и потребителю.
Оценка мер защиты возможна только при помощи соответствующего изучения методов функционирования и режимов работы оборудования, а также местонахождения оператора и ассистентов, так как использование наихудших условий работы может препятствовать правильной постановке диагноза или процессу лечения. Последняя публикация МКРЗ содержит инструкцию для потребителя по методам снижения побочного потока излучения. Нейтронная терапия изучается с точки зрения медицинского применения и требования защиты.
Высокочастотное излучение св. 0,15 МГц, создаваемое, например, диатермическим или хирургическим электрическим оборудованием в значительных количествах, обычно приносит вред только при непосредственном воздействии на организм. Однако даже при низких уровнях энергии высокочастотное излучение может оказывать влияние на работу высокочувствительных электронных устройств и вызывать помехи во время радио- и телевизионных приемов. Электромагнитное излучение в значительных количествах испускается только при частотах, превышающих 30 МГц.
Нет необходимости определять конструктивные требования, но граничные пределы и методы измерения изложены в публикациях Международного специального комитета по радиопомехам (СИСПР) (см. каталог Публикаций МЭК).
Чувствительность оборудования к внешним помехам (электромагнитным полям, колебаниям напряжения питания) находится на рассмотрении.
2.6. Шум
На заводах или в цехах чрезмерный шум может вызвать утомление или даже повреждение слуха. Допустимые пределы шумов определены в стандартах ИСО. В медицинских помещениях необходимы гораздо более низкие пределы шумов, чтобы не нарушать покой пациентов и не отвлекать внимание врача. Разработка таких пределов для оборудования в настоящее время находится на рассмотрении. Она может оказаться очень затруднительной в связи с тем, что действительный шумовой эффект в значительной степени зависит от акустических свойств помещения, изоляции между комнатами и внутреннего взаимодействия частей оборудования.
2.7. Температура
Температурные пределы необходимы почти для оборудования всех типов в целях предотвращения быстрого старения изоляции и неприятных ощущений во время прикосновения к оборудованию или манипулирования им. Пациенты могут быть вынуждены невольно соприкасаться с частями оборудования в течение длительного времени, или части оборудования могут быть вставлены в полости тела человека обычно временно, но иногда постоянно. Для таких случаев установлены специальные температурные пределы.
Медицинское оборудование часто работает в очень неблагоприятных условиях. В экстренных случаях оборудование переносят или перевозят на тележках по ступенькам или в подъемниках и подвергают толчкам и вибрации. В операционных, где приборы сгруппированы вокруг операционного стола, иногда в экстренных случаях оборудование подвергается ударам. Вследствие трудности определения механической прочности, ее выражают как способность оборудования выдерживать комбинированные климатические и механические испытания и условия нагрузки с учетом того, где и каким образом будет использовано оборудование (например, портативное или передвижное оборудование, оборудование для использования вне помещения, в амбулаториях или вагонах, в операционных и т.д.).
3. БЕЗОПАСНОСТЬ ЭЛЕКТРИЧЕСКОЙ УСТАНОВКИ
Понятие "электроустановка" включает в себя все провода, выключатели, трансформаторы и другие части, предназначенные для подачи электрической энергии к медицинскому оборудованию. Некоторые части электрической установки могут быть расположены вблизи пациента, где следует избегать напряжения, способного вызвать избыточный ток, проходящий через него.
В рассматриваемом случае наилучшей мерой защиты считают сочетание заземления оборудования и выравнивания потенциалов в электроустановке. Предложенная система имеет серьезный недостаток. При повреждении изоляции аварийный ток, протекающий в цепи, непосредственно соединенной с источником питания, может вызвать значительное падение напряжения на защитном заземленном проводнике соответствующей цепи (см.
рис. 4). Снижение такого напряжения с помощью увеличения площади поперечного сечения защитного проводника, как правило, невозможно. Поэтому сокращают время протекания аварийного тока на землю с помощью специальных устройств или применения источника питания, изолированного от земли (что может быть полезно, когда из-за интерференции невозможно осуществить жесткое заземление замкнутой цепи телевизионного оборудования). Биомедицинское воздействие и пределы для токов, проходящих через пациента, находятся на рассмотрении.
Для спецификации требований к электрической установке в медицинских помещениях и зданиях комнаты или группы комнат классифицированы в соответствии с необходимыми мерами предосторожности.
В медицинской практике, в основном, необходимы системы электрической установки, состоящие из пяти проводников с изолированным разделенным нейтральным и разделенным защитным заземленным проводником. В зависимости от проводимых осмотров пациентов и циклов лечения дополнительно требуются следующие меры предосторожности относительно защитных заземлений и защитных устройств для снижения постоянного напряжения:
- снижения напряжения с помощью дополнительного выравнивания потенциалов. Во всяком случае, во время работы оборудования, непосредственно контактирующего с пациентом, должна быть создана эквипотенциальная зона вокруг пациента с заземленным центром в точке нахождения пациента, к которой должны быть присоединены защитные и функциональные заземленные проводники. Все доступные проводящие части и поверхности в зоне необходимо также соединить с эквипотенциальным центром;
- эквипотенциальный центр необходимо по возможности ограничивать зоной вокруг пациента (практически вокруг операционного стола или кровати в палате интенсивного наблюдения);
- если в зоне находится более одного пациента, различные эквипотенциальные центры должны быть соединены с центральной эквипотенциальной шиной, которую, в свою очередь, предпочтительно соединить с защитной системой источника питания для данной зоны. Завершенная эквипотенциальная сеть может частично состоять из фиксированных и постоянно смонтированных соединений и частично из некоторого количества отдельных соединений, которые необходимы, если оборудование размещено вблизи пациента. Необходимо, чтобы узлы соединений для этих проводников были обеспечены с помощью электрического оборудования или электрической установки;
- ограничение продолжительности переходных напряжений с помощью использования остаточного тока, управляемого защитными устройствами (прерывателями цепи тока утечки на землю);
- непрерывная подача электропитания к оборудованию в случае первого пробоя изоляции на землю, и ограничение переходных напряжений с помощью изолирующих трансформаторов;
- контролирование первого пробоя изоляции на землю в цепи изолированного источника питания (вторичной цепи изолирующего трансформатора) с достаточно высоким импульсом на землю;
- предотвращение взрывов и пожаров в помещениях, в которых находятся обезболивающие взрывоопасные и им подобные смеси, с помощью вентиляции, антистатических мер предосторожности и тщательного расположения электрической установки;
- применение основного аварийного источника питания для основных отделений госпиталя (обычно дизель-генератор), наличие рекомендации для подсоединения к схеме;
- применение специального аварийного источника питания для критического оборудования, например, систем жизнеобеспечения, осветителей для операционных, компьютеров, лабораторного оборудования. Время подключения источника питания к перечисленным устройствам очень мало, или связь этих устройств с источником питания не прерывается совсем. Данное устройство может состоять из аккумуляторов, возможно комбинированных с конвертерами или специальными генераторными установками;
- подавление интерференции электромагнитных волн с помощью соответствующих расположений зданий, электропроводки и установки экранирующих сооружений. Для проведения чувствительных измерений необходимо установить ограничения магнитных полей частоты сети.
Электрическая установка в транспортных средствах, где может быть использовано медицинское электрическое оборудование, должна отвечать специальным требованиям.
Для рентгеновских отделений необходим специальный независимый источник питания.
4.1. Правила применения
Правила применения необходимы, чтобы помочь потребителю безопасно и надежно эксплуатировать оборудование.
За безопасность эксплуатации оборудования, в первую очередь, отвечает сам потребитель. Прежде всего следует подчеркнуть, что потребители должны тщательно соблюдать инструкции по эксплуатации оборудования.
Правила применения должны содержать информацию о технических вопросах, связанных с эксплуатацией оборудования, окружающими условиями работающего оборудования, его комбинациями, а также подобных вопросах, включая следующее:
- определение режима проверки токов утечки;
- измерение выравнивания потенциалов;
- измерение токов утечки на пациента от частей электрического оборудования, соединенных с пациентом;
- определение классов I, II, III с точки зрения потребителя;
- предотвращение высокочастотных ожогов при высокочастотной диатермии;
- порядок использования электрического оборудования типов H, BF или CF;
- график планово-предупредительного ремонта;
- правила использования взрывоопасных газов для обезболивания в сочетании с оборудованием;
- описание соединения составных частей или блоков оборудования;
- правила избежания фоновых наводок, интерференции и т.п.;
- возможность размещения оборудования на солнце;
- порядок проведения измерения с помощью рентгеновских дозиметров;
- определение размера поля магнитной интерференции в цепи питания;
- предотвращение высокочастотной интерференции;
- контрольный перечень мер электробезопасности для ряда типовых процедур;
- меры безопасности в аварийных условиях во время типовых процедур;
- требования электробезопасности, которые следует проверять при получении нового оборудования;
- предотвращение возникновения опасности при переходных процессах в сети электропитания;
- перечень оборудования, которое следует подсоединить к непрерываемому аварийному источнику питания;
- порядок пользования дефибриллятором.
4.2. Организационные меры
Из приведенного выше перечня ясно, что безопасное использование оборудования требует хорошей организации, глубинных знаний правил безопасности и определенной дисциплины в отношении его систематического осмотра.
В связи с этим правила применения должны дополнительно дать ответственным органам информацию по организационным мероприятиям, программам инструктирования и осмотра.
4.2.1. Организационные мероприятия
При размещении оборудования необходимо:
- установить ответственных по технике безопасности при эксплуатации оборудования;
- организовать зоны по "степеням электрической безопасности" в госпиталях и размещение электрического оборудования в них;
- организовать центральную диспетчерскую в случае повреждения оборудования и электрической установки;
- разработать программы периодических осмотров электрического оборудования и электрических установок;
- организовать обучение медицинского и технического штата и персонала;
- создать систему архива технических данных (инструкцию по сборке, руководство по обслуживанию, инструкции по эксплуатации, журнал);
4.2.2. Обучение и инструктаж
а) Обучение медицинского персонала (общее и специальное) проводят по темам:
- основные понятия электротехники и медицинской физики;
- опасности, возникающие при использовании оборудования;
- управление оборудованием;
- опасности, связанные с сочетанием различных типов оборудования.
б) Обучение технического персонала проводят по темам:
- основные понятия физиологии и медицинской физики;
- электрические медицинские инструменты;
- конструирование измерительных систем в медицинских целях;
- устранение неисправностей, осмотр оборудования в соответствии со спецификацией и для проведения калибровки;
- обслуживание оборудования;
- инструктирование медицинского персонала относительно техники безопасности и управления оборудованием.
в) Инструктирование пациента, находящегося дома, или его семьи, если применяемое оборудование пациент носит в медицинских целях временно или постоянно.
4.2.3. Осмотры
Программа осмотров содержит:
- проверку поступающего нового, исправленного, отремонтированного или переделанного оборудования;
- периодический осмотр оборудования и электрической установки;
- периодическую проверку соблюдения инструкции по технике безопасности и управления оборудованием.