Главная // Актуальные документы // ГОСТ Р (Государственный стандарт)СПРАВКА
Источник публикации
М.: Стандартинформ, 2007
Примечание к документу
Документ
введен в действие с 01.07.2007.
Название документа
"ГОСТ Р ИСО 12127-2007. Национальный стандарт Российской Федерации. Система стандартов безопасности труда. Одежда для защиты от тепла и пламени. Определение контактной теплопередачи через защитную одежду или составляющие ее материалы"
(утв. и введен в действие Приказом Ростехрегулирования от 20.02.2007 N 21-ст)
"ГОСТ Р ИСО 12127-2007. Национальный стандарт Российской Федерации. Система стандартов безопасности труда. Одежда для защиты от тепла и пламени. Определение контактной теплопередачи через защитную одежду или составляющие ее материалы"
(утв. и введен в действие Приказом Ростехрегулирования от 20.02.2007 N 21-ст)
Утвержден и введен в действие
агентства по техническому
регулированию и метрологии
от 20 февраля 2007 г. N 21-ст
НАЦИОНАЛЬНЫЙ СТАНДАРТ РОССИЙСКОЙ ФЕДЕРАЦИИ
СИСТЕМА СТАНДАРТОВ БЕЗОПАСНОСТИ ТРУДА
ОДЕЖДА ДЛЯ ЗАЩИТЫ ОТ ТЕПЛА И ПЛАМЕНИ
ОПРЕДЕЛЕНИЕ КОНТАКТНОЙ ТЕПЛОПЕРЕДАЧИ ЧЕРЕЗ ЗАЩИТНУЮ ОДЕЖДУ
ИЛИ СОСТАВЛЯЮЩИЕ ЕЕ МАТЕРИАЛЫ
Occupational safety standards system. Clothing
for protection against heat and flame. Determination
of contact heat transmission through protective clothing
or constituent materials
ISO 12127:1996
Clothing for protection against heat and flame -
Determination of contact heat transmission through
protective clothing or constituent materials
(IDT)
Группа Т58
ОКС 13.340.10
Дата введения
1 июля 2007 года
Цели и принципы стандартизации в Российской Федерации установлены Федеральным
законом от 27 декабря 2002 г. N 184-ФЗ "О техническом регулировании", а правила применения национальных стандартов Российской Федерации -
ГОСТ Р 1.0-2004 "Стандартизация в Российской Федерации. Основные положения".
1. Подготовлен Техническим комитетом по стандартизации средств индивидуальной защиты ТК 320 "СИЗ" на основе официального аутентичного перевода ФГУП "СТАНДАРТИНФОРМ" стандарта, указанного в
пункте 4.
2. Внесен Техническим комитетом по стандартизации средств индивидуальной защиты ТК 320 "СИЗ".
3. Утвержден и введен в действие
Приказом Федерального агентства по техническому регулированию и метрологии от 20 февраля 2007 г. N 21-ст.
4. Настоящий стандарт идентичен международному стандарту ИСО 12127:1996 "Одежда для защиты от тепла и пламени. Определение контактной теплопередачи через защитную одежду или составляющие ее материалы" (ISO 12127:1996 "Clothing for protection against heat and flame - Determination of contact heat transmission through protective clothing or constituent materials").
Наименование настоящего стандарта изменено относительно наименования указанного международного стандарта для приведения в соответствие с ГОСТ Р 1.5-2004
(подраздел 3.5).
5. Введен впервые.
Информация об изменениях к настоящему стандарту публикуется в ежегодно издаваемом информационном указателе "Национальные стандарты", а текст изменений и поправок - в ежемесячно издаваемых информационных указателях "Национальные стандарты". В случае пересмотра (замены) или отмены настоящего стандарта соответствующее уведомление будет опубликовано в ежемесячно издаваемом информационном указателе "Национальные стандарты". Соответствующая информация, уведомление и тексты размещаются также в информационной системе общего пользования - на официальном сайте Федерального агентства по техническому регулированию и метрологии в сети Интернет.
Настоящий стандарт устанавливает метод испытаний для определения контактной теплопередачи. Он применим к защитной одежде (включая средства защиты рук) и материалам, из которых она изготовлена, предназначенным для защиты от высоких контактных температур.
Применение настоящего стандарта ограничено контактными температурами от 100 °C до 500 °C.
Примечание. Под теплопередачей, в том числе контактной теплопередачей, понимается теплообмен между двумя теплоносителями (или иными средами) через поверхность раздела между ними. Интенсивность теплопередачи характеризуется коэффициентом теплопередачи, численно равным количеству теплоты, которое передается через единицу поверхности в единицу времени при разности температур между теплоносителями (средами) в 1 К. Размерность коэффициента теплопередачи - [Вт/(м2·К)] или [ккал/(м2·°C)].
В настоящем стандарте применены следующие термины с соответствующими определениями.
2.1. контактная температура (contact temperature)

: Температура поверхности контактной площади нагревательного цилиндра; эта температура поддерживается постоянной.
2.2. начало отсчета времени (start of timing): Момент, когда верхняя поверхность калориметра и нижняя поверхность нагревательного цилиндра находятся на расстоянии в пределах 10 мм друг от друга.
2.3. пороговое время (threshold time)

: Время между началом отсчета времени и моментом, когда температура калориметра станет на 10 °C выше первоначального значения.
2.4. скорость достижения контакта (contacting speed): Относительная скорость, с которой нагревательный цилиндр и калориметр с испытуемым образцом входят в контакт друг с другом.
2.5. усилие контакта (contact force): Сила, воздействующая на испытуемый образец и калориметр, когда они вступают в контакт с нагревательным цилиндром.
Нагревательный цилиндр разогревают до контактной температуры, которую поддерживают на заданном уровне, а испытуемый образец размещают на калориметре. Нагревательный цилиндр опускают на испытуемый образец, расположенный на калориметре, или наоборот, калориметр вместе с образцом поднимают к нагревательному цилиндру. В любом случае эта операция проводится с постоянной скоростью. Контролируя температуру калориметра, определяют пороговое время.
4. Испытательное оборудование
4.1. Нагревательный цилиндр
Нагревательный цилиндр должен быть изготовлен из металла, выдерживающего температуру свыше 500 °C (например, из чистого никеля). Пример нагревательного цилиндра приведен на
рисунке А.1. Контактная поверхность должна иметь диаметр (25,20 +/- 0,05) мм и должна быть заземлена. В центре должно быть просверлено отверстие, заканчивающееся на 3 мм выше нижней поверхности нагревательного цилиндра. Отверстие предназначено для помещения датчика температуры, который необходим для регулирования температуры нагревательного цилиндра, диаметр датчика следует подбирать соответственно диаметру отверстия. Методом механической обработки в верхней части нагревательного цилиндра протачивается спиральный паз, имеющий глубину D, ширину B и шаг Z. Значения D, B и Z должны быть выбраны таким образом, чтобы проводники нагревателя можно было разместить в пазе по всей разогреваемой длине. Нагревательный цилиндр должен быть заключен в термостойкую изоляцию, оставляя свободной нижнюю контактную поверхность.
4.2. Калориметр
Калориметр (см.
рисунок А.2) состоит из цилиндрического диска из черного анодированного чистого алюминия диаметром (25,00 +/- 0,05) мм и толщиной (5,00 +/- 0,02) мм, который закрепляется на опоре, изготовленной из полиамида 66. Верхняя контактная поверхность калориметра должна быть перед анодированием заземлена, а на нижней поверхности должен быть закреплен датчик температуры (например, платиновое сопротивление).
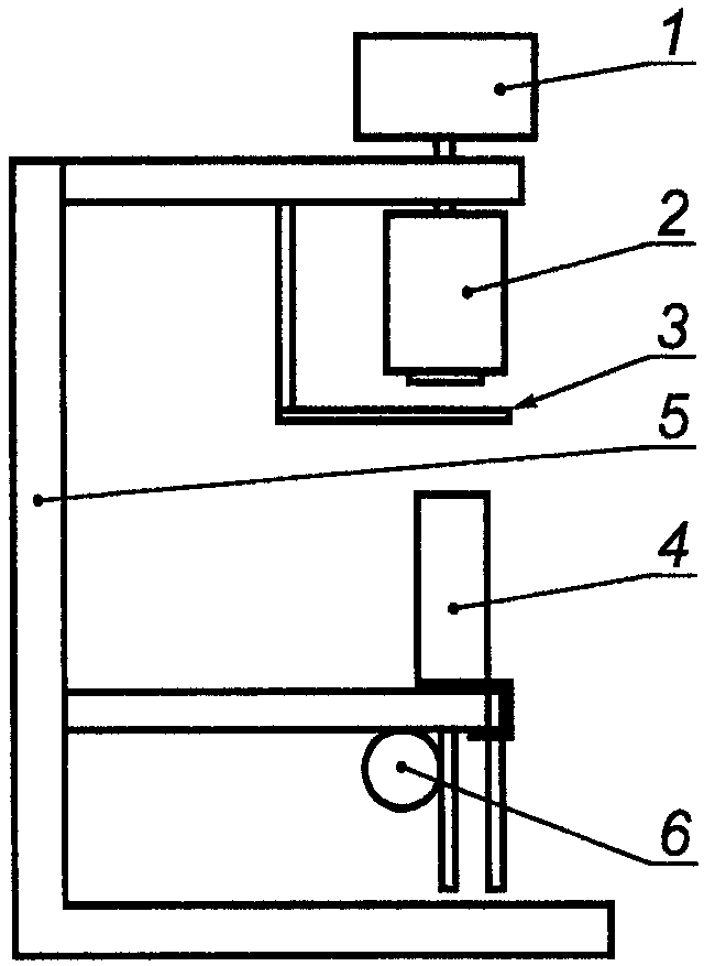
4.3. Испытательная установка
На
рисунке А.3 приведена схема испытательной установки в собранном виде. Нагревательный цилиндр и калориметр монтируют так, чтобы их торцы были расположены параллельно, а их симметричные оси были выстроены в одну линию с опорной рамой. Необходимо предусмотреть свободу передвижения нагревательного цилиндра вниз в направлении калориметра или калориметра вверх в направлении нагревательного цилиндра с регулируемой скоростью. Масса дополнительного груза должна быть такой, чтобы контактное усилие составляло (49,0 +/- 0,5) Н. Между измерениями в периоды охлаждения между нагревательным цилиндром и калориметром следует помещать соответствующий защитный экран во избежание нагревания калориметра под воздействием теплового излучения, испускаемого нагревательным цилиндром.
4.4. Электронные устройства
Необходимо обеспечить наличие соответствующих электронных устройств и средств измерений для:
- нагревания нагревательного цилиндра до температуры не менее 500 °C и ее поддержания;
- контроля скорости достижения контакта;
- измерения и регистрации температуры калориметра с погрешностью в пределах +/- 0,1 °C;
- измерения порогового времени.
5. Отбор и кондиционирование образцов
5.1. Отбор образцов
Для определения каждой контактной температуры из изделия или из куска материала, предназначенного для производства изделия, вырезают не менее трех круглых образцов диаметром 80 мм.
5.2. Кондиционирование образцов
До начала испытания образцы выдерживают в течение не менее 24 ч при температуре (20 +/- 2) °C и относительной влажности (65 +/- 5)%.
6.1. Условия проведения испытаний
Измерения проводят при температуре (20 +/- 5) °C и относительной влажности в пределах от 15% до 80%. Нагревательный цилиндр нагревают до заданной температуры (в градусах Цельсия) с предельно допустимым отклонением +/- 2%. Перед началом каждого испытания температура калориметра не должна отличаться от комнатной температуры более чем на +/- 2 °C. Испытание начинают не позднее, чем через 3 мин после окончания кондиционирования (см.
5.2).
6.2. Порядок проведения испытания
Испытуемый образец помещают на калориметр лицевой стороной вверх. Убирают защитный экран между нагревательным цилиндром и калориметром и приводят нагревательный цилиндр в соприкосновение с калориметром со скоростью достижения контакта (5,0 +/- 0,2) мм/с. Измеряют и записывают температуру калориметра во время испытания. Выполняют не менее трех измерений при каждой контактной температуре.
6.3. Оценка
Определяют пороговое время

с погрешностью не более 0,1 с.
Протокол испытаний должен содержать следующую информацию:
a) ссылку на настоящий стандарт;
b) наименование поставщика изделия или материала;
c) наименование, данное поставщиком, и описание изделия или материала;
d) значение(я) контактной температуры

;
e) результаты определения порогового времени

(индивидуальные значения или, если было проведено пять или более измерений, при каждой контактной температуре среднее значение и среднеквадратическое отклонение);
f) описание наблюдаемых изменений в испытуемых образцах;
g) дату испытаний;
h) любое отклонение от метода, приведенного в настоящем стандарте.
(обязательное)
ИСПЫТАТЕЛЬНОЕ ОБОРУДОВАНИЕ
--------------------------------
<*> Диаметр расточки, соответствующий размерам датчика температуры.
1 - паз для проводников нагревателя; 2 - расточка
для датчика температуры; 3 - контактная поверхность
Рисунок А.1. Нагревательный цилиндр
--------------------------------
<*> Максимальная глубина резьбовых отверстий для монтажа калориметра.
1 - цилиндрический диск, изготовленный из черного
анодированного чистого алюминия; 2 - датчик температуры,
например платиновый резистор; 3 - опора,
изготовленная из полиамида 66
1 - дополнительный груз; 2 - нагревательный цилиндр
с изоляцией; 3 - защитный экран; 4 - калориметр;
5 - опорная рама; 6 - электродвигатель
Рисунок А.3. Испытательная установка