Главная // Актуальные документы // ГОСТ Р (Государственный стандарт)СПРАВКА
Источник публикации
М.: ИПК Издательство стандартов, 2000
Примечание к документу
Документ утратил силу с 1 января 2015 года в связи с изданием
Приказа Росстандарта от 01.11.2012 N 612-ст. Взамен введен в действие ГОСТ 31057-2012.
С 1 июля 2003 года до вступления в силу технических регламентов акты федеральных органов исполнительной власти в сфере технического регулирования носят рекомендательный характер и подлежат обязательному исполнению только в части, соответствующей целям, указанным в
пункте 1 статьи 46 Федерального закона от 27.12.2002 N 184-ФЗ.
Документ
введен в действие с 1 января 2001 года.
Взамен ГОСТ Р 50663-94.
Название документа
"ГОСТ Р 50663-99 (ИСО 8382-88). Государственный стандарт Российской Федерации. Аппараты искусственной вентиляции легких для оживления. Общие технические требования и методы испытаний"
(принят и введен в действие Постановлением Госстандарта России от 29.12.1999 N 843-ст)
"ГОСТ Р 50663-99 (ИСО 8382-88). Государственный стандарт Российской Федерации. Аппараты искусственной вентиляции легких для оживления. Общие технические требования и методы испытаний"
(принят и введен в действие Постановлением Госстандарта России от 29.12.1999 N 843-ст)
Принят и введен в действие
Постановлением
Госстандарта России
от 29 декабря 1999 г. N 843-ст
ГОСУДАРСТВЕННЫЙ СТАНДАРТ РОССИЙСКОЙ ФЕДЕРАЦИИ
АППАРАТЫ ИСКУССТВЕННОЙ ВЕНТИЛЯЦИИ ЛЕГКИХ ДЛЯ ОЖИВЛЕНИЯ
ОБЩИЕ ТЕХНИЧЕСКИЕ ТРЕБОВАНИЯ И МЕТОДЫ ИСПЫТАНИЙ
Resuscitators intended for use with humans.
General technical requirements and test methods
ГОСТ Р 50663-99
(ИСО 8382-88)
Группа Р24
ОКС 11.040.10
ОКСТУ 9444
Дата введения
1 января 2001 года
1. Разработан Закрытым акционерным обществом "ВНИИМПВИТА".
Внесен Техническим комитетом по стандартизации ТК 11 "Медицинские приборы и аппараты".
2. Принят и введен в действие Постановлением Госстандарта России от 29 декабря 1999 г. N 843-ст.
3. Настоящий стандарт представляет собой аутентичный текст международного стандарта ИСО 8382-88 "Аппараты искусственной вентиляции легких для оживления. Общие технические требования и методы испытаний" с дополнительными требованиями, отражающими потребности экономики страны.
4. Взамен ГОСТ Р 50663-94.
Настоящий стандарт распространяется на аппараты искусственной вентиляции легких (ИВЛ) для оживления, представляющие собой небольшие портативные аппараты ИВЛ, предназначенные для использования в экстренных случаях как вне, так и внутри клинических помещений.
Эти устройства предназначены для использования медицинским персоналом, а в экстренных случаях - малообученным персоналом, например работниками милиции или пожарной охраны. Они предназначены для использования на месте происшествия и при транспортировании пациента.
Настоящий стандарт не распространяется на учебные программы и не определяет перечень лиц, которые могут применять аппарат.
Приложение A содержит методы испытаний,
Приложение B - значения растяжимости и сопротивления моделей легких. В
Приложении C приведены обоснования некоторых требований настоящего стандарта.
Приложения D и
E содержат рекомендации, касающиеся материалов для изготовления аппарата и лицевых масок.
В
Приложении F приведены пояснения и дополнительные требования к аппаратам ИВЛ для оживления, учитывающие потребности экономики страны.
Настоящий стандарт устанавливает минимальные требования к техническим характеристикам и надежности аппаратов искусственной вентиляции легких для оживления (далее - аппаратов), предназначенных для пациентов всех возрастных групп. Он устанавливает технические характеристики аппаратов с ручным приводом и с пневмоприводом, которые являются портативными устройствами, предназначенными для использования в экстренных ситуациях с целью обеспечения вентиляции легких у лиц с неадекватным дыханием. Для аппаратов с пневмоприводом стандарт определяет требования к пневмопитанию. Требования к аппаратам, применяемым у детей и подростков, установлены в зависимости от массы тела и в приблизительном соответствии с возрастом.
Настоящий стандарт не устанавливает требования к аппаратам, предназначенным только для подачи газа лицам с адекватным дыханием, к аппаратам ИВЛ для длительного применения и к аппаратам с электроприводом.
Требования настоящего стандарта являются обязательными.
В настоящем стандарте использованы ссылки на следующие стандарты:
ГОСТ 8762-75 Резьба круглая диаметром 40 мм для противогазов и калибры к ней. Основные размеры
ГОСТ 17807-83 Аппараты ингаляционного наркоза и искусственной вентиляции легких. Термины и определения
ГОСТ 18856-81 Аппараты ингаляционного наркоза и искусственной вентиляции легких. Общие технические требования. Методы испытаний
ГОСТ 24264-93 (ИСО 5356-1-87) Аппараты ингаляционного наркоза и искусственной вентиляции легких. Соединения конические. Часть 1. Конические патрубки и гнезда
ГОСТ Р ИСО 7228-93 Коннекторы трахеальных трубок
ГОСТ Р ИСО 10651.1-99 Аппараты искусственной вентиляции легких медицинские. Часть 1. Технические требования
ИСО 407-910 <1> Баллоны газовые медицинские малой вместимости. Соединения клапанов хомутовые
ИСО 4135-95 <1> Анестезиология. Словарь
ИСО 5359-89 <1> Шланги гибкие низкого давления для применения в системах подачи медицинских газов
--------------------------------
<1> Международные стандарты - во ВНИИКИ Госстандарта России.
В настоящем стандарте применяют следующие термины с соответствующими определениями <1>:
--------------------------------
<1> В основном соответствуют ГОСТ 17807.
3.1. аппарат ИВЛ для оживления: Портативное устройство, предназначенное для искусственной вентиляции легких в экстренных случаях у пациентов с неадекватным дыханием.
3.2. растяжимость C: Изменение объема газа в камере, вызванное изменением на единицу давления и выраженное в литрах на килопаскаль (л/кПа).
3.3. сопротивление R: Падение давления на единицу потока газа при указанной величине потока, в килопаскалях на литр в секунду [кПа/(л/с)] <1>.
--------------------------------
<1> В настоящем стандарте давление жидкости выражают в килопаскалях, однако, поскольку на практике широко применяют измерение давления в сантиметрах водяного столба, в настоящем стандарте приведены значения давления и в этих единицах.
3.4. дыхательный цикл: Цикл, включающий фазы вдоха и выдоха.
3.5. дыхательный объем

: Объем газа, выраженный в миллилитрах, входящий в легкие пациента (модель легких) во время фазы вдоха или выходящий оттуда во время фазы выдоха.
Примечание. Желательно, чтобы были указаны физические условия, при которых измеряют объем газа.
3.6. минутный объем

: Объем газа, выраженный в литрах в минуту, поступающий в легкие пациента (модель легких) или выходящий из них.
Примечание. Желательно, чтобы были указаны физические условия, при которых проводят измерения.
3.7. подаваемый объем: Объем газа, подаваемого от аппарата во время фазы вдоха к отверстию для присоединения пациента.
3.8. дыхательные пути: Пути для прохода газа в легкие и из легких.
3.9. ребенок: Человек массой тела до 10 кг или в возрасте примерно до одного года.
3.10. впускной клапан мешка: Клапан, приводимый в действие разрежением в сжимаемой емкости аппарата с целью ее наполнения газом, находящимся под давлением окружающей среды.
Примечание. "Мешок" определяется как эластичная толстостенная емкость, сжатие которой оператором приводит к поступлению газа в легкие пациента, а отпускание - к набору новой порции газа.
3.11. клапан пополнения мешка: Самодействующий клапан, приводимый в действие разрежением в сжимаемой емкости аппарата с целью ее заполнения от источника сжатого газа.
3.12. аппарат "по требованию" (прерывистого потока): Устройство, которое в ответ на дыхательное усилие пациента подает поток газа во время вдоха только при давлении окружающей среды (или близком к нему давлении).
3.13. клапан пациента: Клапан в дыхательном контуре, который во время фазы вдоха направляет газ в легкие, а во время фазы выдоха - в атмосферу.
3.14. коннектор пациента: Та часть аппарата, которая непосредственно присоединяется к лицевой маске или соответствующей ответной детали воздуховода.
3.15. отверстие для присоединения пациента: Отверстие на клапане пациента, тройнике или обратном клапане, к которому можно присоединить трахеальную трубку или угловой переходник лицевой маски.
3.16. отверстие выдоха: Отверстие, через которое во время выдоха газы или пары выходят из пациента.
3.17. сжимаемая емкость: Та часть аппарата с ручным приводом, которая, будучи сжатой оператором, подает порцию газа определенного объема, например мешок или мех.
3.18. подаваемая концентрация кислорода: Средняя концентрация кислорода в газе, подаваемом из аппарата.
3.19. мертвое пространство аппарата

: объем ранее выдохнутого газа, который подается из аппарата пациенту в последующей фазе вдоха.
3.20. аппарат ИВЛ для оживления с ручным приводом: Устройство, в котором вентиляция легких осуществляется оператором путем сжатия сжимаемой емкости этого устройства.
3.21. аппарат ИВЛ для оживления с пневмоприводом: Аппарат, приводимый в действие энергией сжатого газа.
3.22. аппарат ИВЛ для оживления с пневмоприводом и ручным управлением: Аппарат, в котором вентиляция достигается использованием энергии сжатого газа, а переключение фаз дыхательного цикла осуществляется оператором вручную.
3.23. автоматический аппарат ИВЛ для оживления: Аппарат, в котором поток газа, заполняющий легкие, не зависит от усилия вдоха пациента или повторяющихся действий оператора.
Примечание. Фаза выдоха также может осуществляться в автоматическом циклическом режиме.
3.24. обратная утечка: Объем выдыхаемого газа, который не проходит через отверстие выдоха, а возвращается в аппарат ИВЛ для оживления.
3.25. прямая утечка: Объем газа, поданный аппаратом ИВЛ для оживления во время фазы вдоха, который не проходит через отверстие для присоединения пациента, а выходит в атмосферу.
3.26. максимальное давление подачи: Наивысшее давление, которое можно получить в отверстии для присоединения пациента при нормальной работе аппарата.
3.27. частота вентиляции f: Число циклов вентиляции в минуту:
Примечание. Данное определение отличается от того, что дано в ИСО 4135, поскольку оно относится к числу циклов вентиляции аппарата, а не к числу вдохов пациента.
3.28. система ограничения давления: Механизм ограничения максимального давления подачи.
В дополнение к обозначениям, приведенным в
разделе 3, в данном стандарте используют следующие:

- мертвое пространство системы;

мешка - концентрация кислорода в мешке.
5.1. Отверстие для присоединения пациента (см. также
Приложение C)
Отверстие для присоединения пациента должно иметь коаксиальную конструкцию 22 MSC и соответствовать ГОСТ 24264.
Если для отверстия выдоха предусмотрен конусный коннектор, то он должен быть выполнен как конический охватываемый коннектор 30 M или конический охватываемый коннектор 19 M в соответствии с ГОСТ 24264.
Коннектор должен иметь устройство, например, в виде выступов, которое препятствует возможности вставить в него охватываемый конический коннектор 22 M в соответствии с ГОСТ 24264.
Примечание. Такое устройство не должно значительно увеличивать сопротивление потоку газа, текущему через коннектор.
Если в состав аппарата входят лицевые маски, то они должны иметь коннекторы 22 F или 15 M, сопрягающиеся с соответствующими коннекторами по ГОСТ 24264.
Если для присоединения к входному отверстию клапана наполнения мешка предусмотрен конический коннектор, то это должен быть конический коннектор 32 F, обеспечивающий хорошее сопряжение с калибрами, показанными на
рисунке A.1 (Приложение A).
5.5. Коннекторы впускного клапана мешка
Коннекторы впускного клапана мешка не должны сопрягаться с коннекторами, размеры которых определяются ГОСТ 24264.
Примечание. При работе с аппаратами, предназначенными для работы во вредной среде, следует обратить внимание на резьбовые соединения газовых фильтров (ГОСТ 8762).
6.1. Общие положения
Требования настоящего стандарта к сопротивлению вдоха и выдоха должны выполняться во время дыхания через аппарат в сборе, то есть через коннекторы, мешок аппаратов с ручным приводом и любые фильтрующие устройства. Желательно, чтобы все требования к аппарату выполнялись, когда его применяет одно лицо. Это должно быть достижимо как при использовании маски, так и воздуховода.
Примечание. Аппарат, предназначенный для разборки пользователем, например для чистки, должен быть сконструирован так, чтобы исключить возможность неточной сборки в случае сопряжения всех деталей.
6.3. Функционирование клапана пациента после его загрязнения рвотой
(Приложение C)
Примечание. Желательно, чтобы конструкция корпуса клапана позволяла оператору наблюдать работу его механизма, например, когда корпус прозрачный. Наблюдение за работающим механизмом клапана пациента может помочь оператору обнаружить отклонения, нарушения в работе аппарата.
6.4. Механическое воздействие
Если предусмотрено применение аппарата без футляра-укладки для переноски, пластикового чехла, крепежного кронштейна и т.п., то он должен отвечать требованиям, указанным в
8.3,
8.5,
8.8.1,
8.9,
8.10.1 -
8.10.3, после проведения испытания падением, описанного в
A.5.4. Если предусмотрена работа аппарата только тогда, когда он размещен в своем футляре-укладке, аппарат можно испытывать в футляре-укладке, приведенном в состояние готовности к работе.
6.4.2. Испытание механическим ударом аппаратов, смонтированных на подставках или на колесах
(Приложение C)
Аппарат должен отвечать требованиям
8.3,
8.5,
8.8.1,
8.8.2,
8.9,
8.10.1 -
8.10.3 после его опрокидывания из нормального рабочего положения на бетонный пол, как это описано в
A.5.5.
Клапаны пополнения дыхательного мешка, предназначенные для аппаратов, приводимых в действие оператором, не должны иметь ручного управления.
Аппарат в футляре, если он предусмотрен, должен проходить сквозь прямоугольное отверстие размером 300 x 600 мм.
7.2. Масса аппарата
За исключением аппаратов с пневмоприводом, служащих неотъемлемой частью систем для выхаживания новорожденных, масса аппарата, включая его футляр и содержимое (в том числе наполненные газовые баллоны), не должна превышать 18 кг.
8. Технические характеристики
8.1. Дополнительный кислород и концентрация кислорода в подаваемом газе
Во время проверки, описанной в
A.5.7, в соответствии с требованиями классификации
(8.8.1) аппарат ИВЛ для оживления должен обеспечивать минимальную объемную концентрацию кислорода (не менее 40%), если он подключен к источнику кислорода производительностью не более 15 л/мин, и должен быть способен подавать смесь с объемной концентрацией кислорода не менее 85% (см. примечание). Изготовитель должен указать диапазон концентраций при характерных значениях расхода кислорода, например при 2, 4, 6, 8 л/мин и т.д. Если аппарат предназначен для управления вручную, то для сжатия его сжимаемой емкости должна использоваться одна рука, а размеры ладони человека, проводящего испытания, не должны превышать приведенных на
рисунке A.2.
Примечание. Требование обеспечения объемной концентрации кислорода в смеси 85% может быть выполнено с использованием специального приспособления.
При проверке по методике, описанной в
A.5.8, аппарат ИВЛ для оживления с пневмоприводом должен обеспечивать объемную концентрацию кислорода не менее 85%. Если аппарат способен обеспечивать другие концентрации кислорода, то изготовитель должен указать условия, при которых можно получить разные концентрации.
8.2. Сопротивление вдоху и выдоху - см. требования к информации, предоставляемой изготовителем в соответствии
11.3.2, перечисление c) 10).
При отсутствии устройства, обеспечивающего положительное давление в дыхательных путях в конце выдоха, и при проверке по методике, описанной в A.5.9, создаваемое в отверстии для присоединения пациента давление не должно превышать 0,5 кПа (~= 5 см вод. ст.)
[11.3.2, перечисление c) 11)].
При проверке по методике, описанной в
A.5.11, клапан пациента на аппарате не должен застревать в положении вдоха при увеличении расхода добавленного газа до 30 л/мин, когда этот расход обеспечивается в соответствии с эксплуатационными документами.
Если прямая утечка намеренно предусмотрена конструкцией аппарата, то это должно быть указано в инструкции по эксплуатации.
При проверке по методике, описанной в
A.5.12, мертвое пространство аппарата не должно превышать 5 мл + 10% дыхательного объема, определяемого классификацией аппарата
(8.8.1).
8.8. Показатели вентиляции
Аппараты, предназначенные для детей и подростков массой до 40 кг, должны классифицироваться соответственно тому диапазону значений массы тела, для которого они пригодны. Этот диапазон должен быть вычислен на основании того, что необходимо обеспечить дыхательный объем 15 мл на каждый килограмм массы тела.
Аппараты, обеспечивающие дыхательный объем 600 мл и более, классифицируют как аппараты для взрослых.
Дыхательные объемы, указанные в классификации, должны быть обеспечены при проведении испытаний, приведенных в
таблице 1, с применением методов, описанных в
A.5.13, без блокировки действия систем ограничения давления.
Примечание. Аппараты, обеспечивающие дыхательный объем от 20 до 50 мл, обычно применяют для новорожденных.
Таблица 1
Классификация (масса тела пациента), кг | Растяжимость C, л/кПа | Сопротивление R, кПа (л/с) | Отношение продолжительности вдоха и выдоха +/- 20% | Частота f,  , +/- 10% | Дыхательный объем  , мл |
До 5 включ. | 0,01 | 40 | 1:1 | 60 | 20 |
Св. 5 до 10 включ. | 0,1 | 2 | 1:2 | 25 | 150 |
Св. 10 до 40 включ. | 0,2 | 2 | 1:2 | 20 | |
Св. 40 | 0,2 | 2 | 1:2 | 20 | Св. 600 |
<1> Масса в килограммах, указанная изготовителем в инструкции по эксплуатации. |
8.8.2. Ограничение давления (аппараты с ручным приводом)
(Приложение C)
8.8.2.1. В аппаратах, предназначенных для новорожденных и детей, должна быть предусмотрена система ограничения давления для того, чтобы давление в дыхательных путях не превышало 4,5 кПа (~= 45 см вод. ст.) в условиях испытаний, описанных в
A.5.15.
Примечание. Может быть предусмотрен механизм блокировки системы ограничения давления.
8.8.2.2. Если в аппаратах, предназначенных для применения у пациентов с массой тела менее 10 кг, предусмотрено устройство для ограничения давления, то это должно быть указано в инструкции по эксплуатации -
11.3.1, перечисление c) 12). Устройство, ограничивающее давление ниже 6 кПа (~= 60 см вод. ст.), должно быть снабжено механизмом блокировки. Его конструкция должна обеспечивать понятную пользователю идентификацию состояния, например обозначение положения, флажок и т.п.
Примечание. Желательно, чтобы срабатывание устройства ограничения давления сопровождалось звуковым или визуальным сигналом.
8.9. Аппараты с пневмоприводом
В аппаратах ИВЛ для оживления с пневмоприводом должна быть предусмотрена система ограничения давления. Когда давление пневмопитания находится в указанном в
10.5 диапазоне, давление в дыхательных путях не должно превышать 6 кПа (~= 60 см вод. ст.). Необходимо предусмотреть механизм блокировки, чтобы дать возможность оператору выбрать более высокое давление. Однако аппараты с пневмоприводом и переключением по давлению не должны иметь никаких механизмов блокировки. Механизм блокировки, если он предусмотрен, должен обеспечивать понятную пользователю идентификацию состояния, например обозначение положения, флажок и т.п.
Примечания. 1. Для некоторых пациентов установка системы ограничения давления может быть реализована на значение выше чем 6 кПа (~= 60 см вод. ст.), но выбор такого заданного значения требует совета врача.
2. Желательно, чтобы срабатывание устройства ограничения давления сопровождалось звуковым или визуальным сигналом.
8.9.2. Поток газа в фазе вдоха
Аппараты с пневмоприводом при проверке по методике, описанной в
A.5.14, и противодавлении 2 кПа (~= 20 см вод. ст.) во время вдоха должны обеспечивать поток газа 40 л/мин +/- 10%.
Примечание. Желательно, чтобы аппараты с фиксированным значением потока газа были установлены на это значение. В аппаратах с регулировкой потока газа оператором данное значение должно, как правило, находиться в диапазоне установки.
8.9.3. Аппараты с пневмоприводом и ручным управлением
8.9.4. Автоматические аппараты с пневмоприводом с переключением по давлению
Такие аппараты должны иметь положительное давление переключения в интервале от 2 до 3 кПа (~= 20 - 30 см вод. ст.) при испытаниях по методике, описанной в
A.5.17 (11.1.1).
Примечание. Фаза отрицательного давления может вызвать снижение артериального парциального давления кислорода

или функциональной остаточной емкости.
8.9.5. Автоматические аппараты с пневмоприводом с переключением по времени
8.9.6. Аппараты с пневмоприводом с переключением по объему
8.10. Клапаны "по требованию"
Примечание. Требования настоящего стандарта распространяются на данное устройство, когда оно входит в состав аппарата.
При испытаниях по методике, описанной в
A.5.18.1, отрицательное давление, необходимое для включения потока газа, должно быть не более 0,2 кПа (~= 2 см вод. ст.).
При испытаниях по методике, описанной в
A.5.18.2, минимальный пиковый расход газа при вдохе должен быть равен 100 л/мин в течение, по меньшей мере, 10 с при давлении на выходе не более 0,8 кПа (~= 8 см вод. ст.).
При испытаниях по методике, описанной в
A.5.18.3, поток газа "по требованию" должен прекращаться, когда отрицательное давление на вдохе становится равным атмосферному или давлению, установленному изготовителем аппарата.
9. Устойчивость к воздействию окружающей среды
9.1. Хранение
Аппарат, его принадлежности и запасные части (если они предусмотрены) должны после хранения при температуре от минус 40 до плюс 60 °C и при относительной влажности от 40% до 95% соответствовать требованиям
раздела 8 настоящего стандарта.
При испытаниях по методике, описанной в
A.5.19, аппарат ИВЛ для оживления должен удовлетворять требованиям
раздела 8 к соответствующей категории аппаратов, которые проверяют при температуре от минус 18 до плюс 50 °C и при относительной влажности от 40% до 95%.
10. Источник питающего газа
10.1. Газовые баллоны, вентили баллонов <1> и хомутовые соединения
--------------------------------
Если предусмотрены газовые баллоны, вентили, баллонов и хомутовые соединения, то они должны отвечать требованиям, изложенным в ИСО 407.
Примечание. В специальных случаях часто используют небольшие баллоны со специальной арматурой.
10.2. Контроль давления
Подача любого газа из баллона под давлением должна контролироваться манометром, указывающим давление в баллоне, или индикатором наличия газа.
10.3. Привязной ключ вентиля
Съемные рукоятки вентиля, ключи и другие подобные устройства должны быть прикреплены на цепочке, тросике и т.п., способных выдержать статическую нагрузку не менее 200 Н (20 кг) без разрушения.
Соединения для различных газов не должны быть взаимозаменяемыми, чтобы не допустить неправильного соединения деталей аппарата. Резьбовое соединение аппарата должно соответствовать требованиям ИСО 5359.
Аппарат должен соответствовать требованиям
раздела 8 для того типа аппарата, который испытывают, если газ подается под давлением от 270 до 550 кПа
[11.3.2, перечисление n)]. Испытания должны проводиться по
A.5.20.
11. Информация, предоставляемая изготовителем
11.1. Маркировка
Изготовитель аппаратов с пневмоприводом и переключением по давлению должен предусмотреть на аппарате, его футляре и в инструкции по эксплуатации предупреждение о том, что аппарат не предназначен для применения во время непрямого массажа сердца.
Примечание. При возможности простые рабочие инструкции желательно поместить на аппарате или на его футляре.
11.1.2. Диапазон давления питания. На аппарате должен быть обозначен диапазон давления питания, при котором он работает.
11.1.3. Источник газа для пациента с самостоятельным дыханием. Если для обеспечения самостоятельного дыхания к аппарату требуется подключать отдельный источник питания, это должно быть указано на аппарате.
11.1.4. Обозначение значения, на которое установлена система ограничения давления
Если аппарат снабжен системой ограничения давления, установленной на одно фиксированное значение, то номинальное значение давления, при котором срабатывает система, должно быть обозначено на аппарате.
Если на аппарате недостаточно места для размещения такой маркировки, то допускается значение ограничиваемого давления указывать только в эксплуатационной документации согласно
11.3.2, перечисление c) 12).
11.2. Профессиональное обучение
Прилагаемая инструкция по эксплуатации должна содержать указание о том, что аппарат может быть использован только персоналом, получившим необходимое профессиональное обучение.
11.3. Сведения, которые должны быть указаны изготовителем в инструкциях по применению и эксплуатации
11.3.1. Общие положения
Изготовитель должен предоставить инструкции по применению и эксплуатации. Размер и форма этих инструкций должны быть такими, чтобы их можно было вложить внутрь или закрепить на футляре для аппарата. Инструкция по эксплуатации должна содержать указание о том, что дополнительные копии можно получить от изготовителя по запросу.
11.3.2. Содержание
Для ясности инструкция должна быть разделена на разделы и содержать следующую информацию:
a) предупреждение о том, что аппарат должен использоваться только специально обученным персоналом;
b) инструкции о том, как осуществляются все предусмотренные режимы работы;
c) техническую характеристику:
1) диапазон значений массы тела пациента, для которого предназначен данный аппарат,
2) диапазон частоты вентиляции,
3) возможное давление на вдохе,
4) предельно допустимые параметры окружающей среды для эксплуатации,
5) предельно допустимые параметры окружающей среды для хранения,
6) значения концентрации подаваемого кислорода при разных условиях испытаний,
7) характеристики и/или размеры входных газовых патрубков,
8) диапазон значений подаваемого объема для аппаратов,
9) мертвый объем аппарата (при необходимости обратная и прямая утечки),
10) сопротивление выдоху и вдоху и специальные детали, создающие это сопротивление,
11) значение давления конца выдоха, создаваемое аппаратом при нормальной работе, если оно превышает 0,2 кПа (~= 2 см вод. ст.),
12) описание системы ограничения давления и блокировки при ее наличии,
13) наружные размеры аппарата и его футляра, если он предусмотрен,
14) массу аппарата и его футляра, если он предусмотрен;
d) указания по разборке и сборке деталей для их очистки, дезинфекции и стерилизации (если она допустима). Инструкция должна содержать иллюстрации, изображающие части аппарата в их правильном взаимном расположении. Изготовитель должен рекомендовать метод проверки работоспособности аппарата после его сборки;
e) рекомендации предпочтительных способов очистки и дезинфекции или стерилизации аппарата и его частей;
f) рекомендуемый метод проверки работоспособности, проводимый непосредственно перед применением аппарата;
g) список деталей, которые могут быть заменены оператором;
h) рекомендации относительно частоты проведения технического обслуживания.
Примечание. Если обслуживание не требуется, то это нужно указать в инструкции по эксплуатации;
i) потребность аппарата с пневмоприводом по расходу газа при давлениях 2 кПа (~= 20 см вод. ст.) и 4 кПа (~= 40 см вод. ст.) в дыхательных путях;
j) рекомендации по использованию в условиях вредной или взрывоопасной атмосферы, включая предупреждение о том, что, если аппарат будет засасывать газ из такой атмосферы и допускать его вдыхание пациентом, то использование аппарата в условиях загрязненной окружающей среды может быть опасным, если не принять меры, препятствующие такому засасыванию или вдыханию, например, использовать фильтр;
k) предупреждения о том, что при высокой концентрации кислорода существует опасность курения или использования открытого пламени, а также о том, что смазочные масла для аппарата применять нежелательно;
l) дату публикации и (или) пересмотра инструкции;
m) для аппаратов с пневмоприводом продолжительность работы, выраженную в единицах времени на 1 л емкости баллона, наполненного до максимально разрешенного национальными правилами давления, при обеспечении минутной вентиляции 10 л/мин (или ближайшего устанавливаемого значения) газовой смесью:
1) с объемной концентрацией кислорода не менее 85% и
2) с выбранной изготовителем объемной концентрацией кислорода менее 85%, если аппарат ее обеспечивает;
n) диапазон давления источника сжатого газа, при котором аппарат отвечает соответствующим требованиям, указанным в
разделе 8, а также подробности, касающиеся необходимой настройки этого давления.
(обязательное)
A.1. Общие условия проведения испытаний
Если нет других указаний, температура окружающей среды во время проведения испытаний должна быть 20 - 25 °C, а относительная влажность воздуха - от 45% до 75%.
--------------------------------
Типовые средства, используемые для проведения испытаний, показаны на
рисунках A.1 -
A.6. Возможно применение других средств, обеспечивающих эквивалентную или более высокую точность измерения, - см.
A.3.
A.2.1. Модель легких (например по
рисункам A.4 и
A.5) с соответствующими характеристиками растяжимости и сопротивления
(таблица 1).
A.2.2. Сопротивления, если они не предусмотрены в моделях легких.
A.2.3. Аппаратура для измерения и регистрации давления, потока и объема газа, включая пневмотахограф.
A.2.4. Аппаратура для измерения температуры.
A.2.5. Аппаратура для измерения мертвого пространства
(рисунок A.3).
A.2.7. Градуированный цилиндр емкостью не менее 200 мл.
A.2.8. Анализатор кислорода.
A.2.9. Резервуар для воды размером, как минимум 1 x 1 x 1 м.
A.2.10. Шаблон 300 x 400 мм.
A.2.11. Источник сжатого воздуха с возможностью регулирования давления от 270 до 550 кПа, обеспечивающий расход от 5 до 60 л/мин.
Примечания. 1. Данное устройство необходимо только в том случае, если для нормальной работы аппарата используют сжатый воздух с заданным диапазоном давления.
2. Может понадобиться расход, превышающий 60 л/мин, если аппарат способен давать расход более 60 л/мин (см.
A.5.16).
A.2.12. Камера, имитирующая условия окружающей среды, способная поддерживать температуру [(от минус 40 до плюс 60) +/- 1] °C и относительную влажность от 40% до 95% до 7 сут.
A.2.13. Источник подачи кислорода с возможностью регулирования давления от 270 до 550 кПа, обеспечивающий расход не менее 30 л/мин.
A.2.14. Устройство для создания разрежения, способное обеспечить расход от 5 до 50 л/мин.
A.2.15. Источник подачи газа с возможностью регулирования давления от 270 до 550 кПа.
A.3. Точность испытательной аппаратуры
Предельные погрешности испытательной аппаратуры должны быть:
a) анализатор кислорода: +/- 1% измеряемой объемной концентрации с выходом на значения не менее 90% от окончательного в течение 10 с;
b) растяжимость: +/- 5% требуемого значения растяжимости в диапазоне длительности фазы вдоха от 0,5 до 6 с
(Приложение C);
c) давление, расход и объем: +/- 2,5% показания прибора плюс +/- 2,5% показания всей шкалы.
Погрешность присоединенного записывающего устройства должна поддерживаться на частотах до 10 Гц;
d) сопротивления: +/- 20% для линейных сопротивлений и +/- 10% для параболических сопротивлений в заданном диапазоне расходов
(Приложение B);
e) температурные измерения: +/- 0,5 °C.
A.4. Выдержка в нормальных условиях
A.4.1. Выдержка аппарата и испытательной аппаратуры
Если для проведения отдельных испытаний не установлены специальные условия, аппарат и испытательную аппаратуру устанавливают на месте проведения испытаний и выдерживают в течение времени, достаточного для установления теплового равновесия с окружающей средой.
A.4.2. Приведение результатов испытаний к нормальным условиям
Вносят поправки в измеренные значения, учитывающие отклонения от нормальных условий (20 °C, 1 атм <1>, 0% относительной влажности).
--------------------------------
<1> 1 атм = 101325 Па = 760 мм рт. ст.
A.5. Методы проведения испытаний
A.5.1. Коннекторы клапана пополнения мешка
С помощью калибра размером 32 мм
(рисунок A.1) измеряют внутренний и наружный диаметры коннектора.
A.5.2. Разборка и повторная сборка
Необходимо убедиться путем осмотра аппарата и сопроводительных документов, что предусмотрены испытания для проверки работоспособности аппарата после повторной сборки.
A.5.3. Работа клапана после загрязнения рвотой
A.5.3.1. <1> Вещество для проведения испытания
--------------------------------
Искусственная рвотная масса, приготовленная смешиванием двух частей мясного детского питания с овощным питанием и одной части воды.
A.5.3.2. Методика
Нагревают искусственную рвотную массу до температуры (37 +/- 3) °C и вливают 175 мл в отверстие для присоединения пациента, одновременно задав частоту вентиляции 30 1/мин для аппаратов, предназначенных для пациентов массой тела до 10 кг, или 12 1/мин для всех других аппаратов. Проводят это испытание с аппаратом, соединенным с моделью легких
(A.2.1).
Для данного испытания вместо модели легких допускается использовать эластичный резиновый мешок.
Аппарат должен проработать 30 с. Затем очищают его от смеси в соответствии с инструкциями изготовителя и проверяют показатели аппарата на модели легких.
A.5.4. Испытание падением
Роняют аппарат с высоты не менее 1 м на бетонный пол в наихудшей ориентации аппарата. Для этих испытаний аппарат должен быть полностью укомплектован, включая лицевую маску, клапан, шланг, регулятор и баллон, в соответствии с его комплектом поставки. Если в состав аппарата включен кислородный баллон, при проведении данного испытания он должен быть пустым.
A.5.5. Испытание механическим ударом аппаратов, смонтированных на подставках или на колесах
Устанавливают аппарат в рекомендованное рабочее положение. Опрокидывают аппарат в самой плохой ориентации прибора. Указанное испытание можно проводить только один раз.
Устанавливают аппарат в положение готовности к работе, то есть включив или отключив газ и т.п., и роняют его с высоты 1 м в резервуар с водой
(A.2.9). Вынимают его спустя 10 с, вытряхивают воду не более 20 с и начинают немедленно вентиляцию модели легких
(A.2.1).
A.5.7. Дополнительный кислород и подаваемая концентрация кислорода
Присоединяют аппарат к модели легких
(A.2.1) со значениями характеристик C20 и R20. Присоединяют анализатор кислорода
(A.2.8) к камере растяжимости как можно дальше от отверстия для присоединения пациента. Вентилируют модель легких с частотой 12 1/мин и при дыхательном объеме 600 мл. Включают подачу кислорода с расходом не более 15 л/мин. Продолжают этот процесс до достижения стабильной концентрации кислорода. Для сжатия сжимаемого устройства используют только одну руку (максимально допустимые размеры ладони -
рисунок A.2).
A.5.8. Концентрация кислорода, подаваемая аппаратами с пневмоприводом
Присоединяют аппарат к модели легких
(A.2.1) со значениями характеристик C20 и R20. Присоединяют анализатор кислорода
(A.2.8) к камере растяжимости как можно дальше от отверстия для присоединения пациента. Вентилируют модель легких с частотой 12 1/мин и при дыхательном объеме 600 мл.
Продолжают этот процесс до достижения стабильного значения концентрации кислорода. Убеждаются, что аппарат подает газ с объемной концентрацией кислорода не менее 85%. Если аппарат способен подавать кислород в других концентрациях, то устанавливают их соответственно рекомендациям изготовителя и убеждаются, что концентрация кислорода в модели легких находится в диапазоне, указанном изготовителем.
Повторяют весь процесс испытаний, задав характеристики модели легких C50 и R5.
Оба испытания должны проводиться при установке максимального и минимального потоков, рекомендованных для данного аппарата.
A.5.9. Сопротивление выдоху
У аппаратов, пригодных для пациентов с массой тела до 10 кг, соединяют отверстие для присоединения пациента с источником подачи воздуха и подают воздух с расходом 5 л/мин. Записывают значение давления, создающегося у отверстия для присоединения пациента.
У всех других аппаратов соединяют отверстие для присоединения пациента с источником подачи воздуха с расходом 50 л/мин. Записывают значение давления, создающегося у отверстия для присоединения пациента.
A.5.10. Сопротивление вдоху
У аппаратов, предназначенных для пациентов с массой тела до 10 кг, соединяют отверстие для присоединения пациента с источником разрежения с расходом 5 л/мин. Записывают давление вдоха, создающееся у отверстия для присоединения пациента.
Во всех прочих случаях соединяют отверстие для присоединения пациента с источником разрежения с расходом 50 л/мин. Записывают давление вдоха, создающееся у отверстия для присоединения пациента.
Вместо источника разрежения допускается использовать источник, подающий воздух с указанным расходом в патрубок клапана, предназначенный для мешка.
При этом записывают значение давления на входе в этот клапан, отверстие для присоединения пациента должно быть открытым.
A.5.11. Неисправность клапана пациента
Присоединяют аппарат к модели легких
(A.2.1) со значениями характеристик C20 и R20
(таблица A.1). Вентилируют модель легких частотой 12 1/мин и при дыхательном объеме 600 мл.
Пользуясь источником кислорода, устанавливают расход кислорода 30 л/мин в соответствии с рекомендацией изготовителя. Убеждаются, что клапан не застревает в положении вдоха.
A.5.12. Мертвое пространство аппарата
A.5.12.1. Принцип определения
Вентиляция аппаратом установки, представляющей собой мешок в сосуде, заполненном 100%-ным кислородом в качестве газа-индикатора. Вычисление общего мертвого пространства аппарата по дыхательному объему и концентрации кислорода во вдыхаемом газе, полученном из мешка.
A.5.12.2. Подготовка установки перед проведением испытания аппарата
Собирают установку для измерения мертвого пространства (
A.2.5,
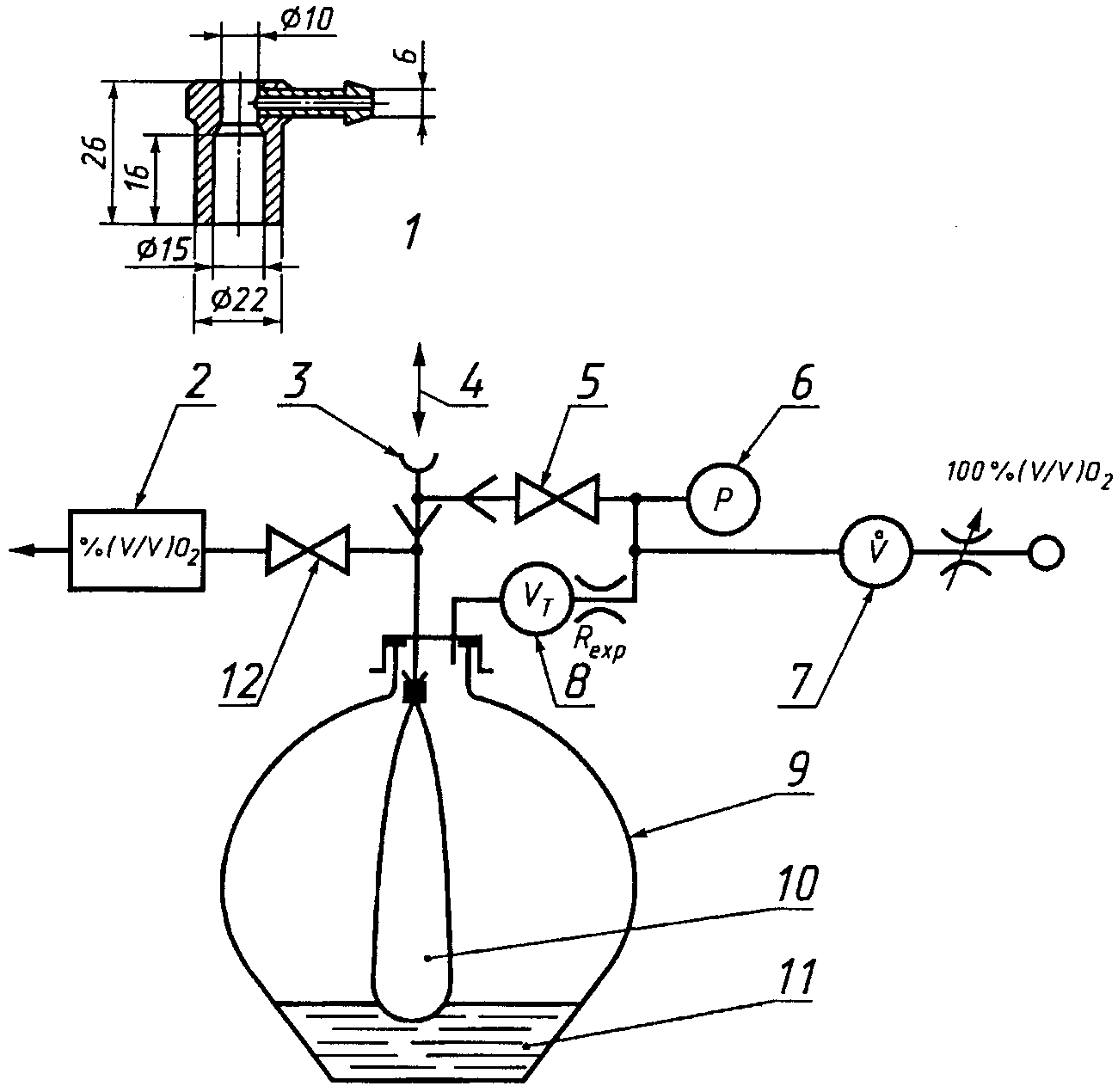
рисунок A.3). Перекрывают кран 12 к анализатору кислорода 2.
Открывают шаровой клапан 5. Присоединяют аппарат 4 и вентилируют мешок 10 до тех пор, пока он полностью не заполнит сосуд 9 и прижмется к его стенкам. Затем закрывают шаровой клапан 5 и открывают кран 12 анализатора кислорода 2. Открывают расходомер и заполняют сосуд 100%-ным кислородом. Прекращают подачу кислорода через расходомер 7, когда манометр 6 покажет примерно 1 кПа (~= 10 см вод. ст.).
Присоединяют испытательный коннектор 22/15 мм к соединительному гнезду 22 F (3) и подают необходимый поток атмосферного воздуха через боковой штуцер коннектора со значением расхода по
таблице A.1.
Открывают шаровой клапан 5, при этом пути выдыхаемой смеси промывают 100%-ным кислородом.
Осуществляют вентиляцию мешка 10, прикрывая и открывая пальцем отверстие диаметром 10 мм. Поддерживают дыхательный объем постоянным с помощью измерителя дыхательного объема (респирометра) 8 и манометра 6. Число циклов вентиляции приведено в таблице A.1.
Таблица A.1
Дыхательный объем  , мл | Растяжимость C, мл/кПа (мл/см вод. ст.) | Сопротивление выдоху  , кПа/(л/с) [см вод. ст./(л/с)] | Испытательный расход для внутреннего мертвого пространства, л/мин | Число дыхательных циклов для испытаний |
600 | 200 (20) | 0,5 [5] | 30 | > 15 |
100 | 100 (10) | 2 [20] | 5 | > 50 |
Закрывают шаровой клапан 5 и открывают кран 12 анализатора 2. Устанавливают поток 100%-ного кислорода приблизительно 5 л/мин. Записывают показание концентрации кислорода в мешке (

мешка), определяемое анализатором кислорода 2. Перекрывают поток кислорода, когда манометр 6 опять покажет 1 кПа (~= 10 см вод. ст.).
Определяют внутреннее мертвое пространство установки для каждой указанной в
таблице A.1 комбинации параметров испытаний.
Теперь опытная установка готова для проведения проверки аппарата.
A.5.12.3. Методика
Испытания аппарата проводят по той же методике, что описана для испытательного коннектора
(A.5.12.2).
A.5.12.4. Вычисление результатов
Вычисляют мертвое пространство системы

(т.е. с испытательным коннектором) по следующей формуле

. (A.1)
Примечание. Установка должна быть сконструирована так, чтобы мертвое пространство системы

не превышало 20 мл. Анализатор кислорода желательно откалибровать так, чтобы он показывал 21%-ную объемную концентрацию кислорода в атмосферном воздухе с погрешностью +/- 1%.
Вычисляют мертвое пространство аппарата, подвергнутого проверке,

по следующей формуле

. (A.2)
A.5.13. Дыхательные объемы
Присоединяют аппарат к соответствующей модели легких (
A.2.1,
рисунки A.4 и
A.5), установив характеристики, указанные в
таблице A.1. Измеряют объем
(A.2.3). Для сжатия эластичного мешка аппарата пользуются только одной рукой (максимальные допустимые размеры ладони -
рисунок A.2). Проводят эти испытания без использования механизма блокировки системы ограничения давления, при его наличии.
A.5.14. Потоки в фазе вдоха
К отверстию для присоединения пациента подключают дроссель - регулятор потока, последовательно с которым включают расходомер. Соединяют регулятор с расходомером при помощи шланга диаметром 22 мм, к отводу шланга присоединяют манометр. Включают аппарат и дросселем-регулятором устанавливают выходное давление 2 кПа (~= 20 см вод. ст.) Убеждаются, что при этой нагрузке аппарат может создавать поток 40 л/мин +/- 10%.
A.5.15. Ограничение давления (аппараты с ручным приводом)
Для аппаратов, предназначенных для пациентов с массой тела до 10 кг, закрывают отверстие для присоединения пациента и, пользуясь источником сжатого воздуха
(A.2.11), подают воздух 15 л/мин через систему ограничения давления. Записывают значение давления в отверстии для присоединения пациента.
Для аппаратов ИВЛ, предназначенных для пациентов с массой тела более 10 кг и оборудованных системами ограничения давления, закрывают отверстие для присоединения пациента и, пользуясь источником сжатого воздуха
(A.2.11), подают воздух с расходом 60 л/мин через систему ограничения давления. Записывают значения давления в отверстии для присоединения пациента.
A.5.16. Ограничение давления (аппараты с пневмоприводом)
Следуют методике, описанной в
A.5.14, используя расход 60 л/мин или максимальный расход, создаваемый аппаратом, в зависимости от того, какое значение больше.
A.5.17. Переключение по давлению (аппараты с пневмоприводом и автоматическим переключением по давлению)
Присоединяют аппарат к соответствующей модели легких (
A.2.1,
рисунки A.4 и
A.5), характеристики которых заданы в
таблице A.1. Приводят аппарат в действие и записывают давление, при котором происходит переключение с вдоха на выдох.
A.5.18. Максимальный расход на вдохе и предельное значение давления срабатывания
Присоединяют клапан, включающий поток газа "по требованию", подлежащий проверке, как показано на
рисунке A.6, и проводят испытания в соответствии с
A.5.18.1 -
A.5.18.3.
A.5.18.1. Предельное давление срабатывания
Используя регулятор отрицательного входного давления, фиксируют такое его значение, при котором начинается подача выходного потока газа.
A.5.18.2. Максимальный расход
Регулятором отрицательного входного давления устанавливают давление 0,8 кПа (~= 8 см вод. ст.) и убеждаются, что подача выходного газа равна 100 л/мин в течение не менее 10 с.
A.5.18.3. Ограничение расхода
Регулятором отрицательного входного давления устанавливают давление, при котором расход выходного газа равен 5 л/мин. Постепенно, снижая отрицательное входное давление, фиксируют его значение, при котором подача выходного газа прекращается.
A.5.19.1. Общие положения
В каждой фазе испытаний проверяют работоспособность аппарата в условиях по
9.2 и в объеме требований
раздела 8 для каждого вида аппаратов.
A.5.19.2. Методика проведения испытаний
Примечание. Желательно, чтобы в каждом из приведенных испытаний аппарат работал непрерывно в течение не менее 10 мин.
A.5.19.2.1. Подготавливают аппарат соответственно общим требованиям.
Помещают аппарат в климатическую камеру
(A.2.12) при температуре в ней плюс 50 °C и относительной влажности не менее 95% на 7 сут, не менее. По окончании этого периода приводят аппарат в действие и проверяют его работу.
В течение 5 мин после завершения проверки возвращают аппарат в камеру и держат его там не менее 7 сут при температуре плюс 18 - 22 °C и относительной влажности от 40% до 70%.
По окончании этого периода приводят аппарат в действие и проверяют его работу.
A.5.19.2.2. Помещают аппарат в климатическую камеру при температуре в ней минус 40 °C на время не менее 4 ч или до тех пор, пока установится температурное равновесие.
В течение 5 мин после окончания этого периода возвращают аппарат в условия окружающей среды температурой от 18 до 22 °C и выдерживают его при этих условиях не менее 4 ч.
По окончании этого периода приводят аппарат в действие и проверяют его работу.
A.5.19.2.3. Помещают аппарат в климатическую камеру при температуре в ней плюс 60 °C и относительной влажности от 40% до 70% на 4 ч, не менее.
В течение 5 мин после окончания этого периода возвращают аппарат в условия окружающей среды температурой от 18 до 22 °C и относительной влажностью от 40% до 70% и выдерживают его при этих условиях в течение 4 ч.
По окончании этого периода приводят аппарат в действие и проверяют его работу.
A.5.19.2.4. Помещают аппарат в климатическую камеру при температуре в ней минус 18 °C на 4 ч.
По окончании этого периода приводят аппарат в действие и проверяют его работу.
По окончании испытания возвращают аппарат в окружающую среду температурой 18 - 22 °C.
Через 5 мин приводят аппарат в действие и проверяют его работу.
A.5.20. Давление питающего газа
Присоединяют аппарат к источнику подачи газа
(A.2.15) и проверяют его работоспособность при давлении питания 270 и 550 кПа в объеме требований
раздела 8 для каждого вида аппаратов.
Примечания. 1. Номинальная конусность 1:28 на диаметр.
2. Номинальное зацепление 9,5 мм.
Рисунок A.1. Калибр-пробка и калибр-втулка размером 32 мм
1 - периферическая складка кожи
Рисунок A.2. Максимальные размеры ладони
1 - испытательный коннектор для определения мертвого
пространства

; 2 - анализатор кислорода; 3 - соединительное
гнездо 22 F; 4 - испытуемый аппарат (для определения

);
5 - шаровой клапан; 6 - манометр; 7 - расходомер;
8 - измеритель дыхательного объема

; 9 - стеклянная бутыль
емкостью от 25 до 30 л; 10 - мешок из латекса вместимостью
примерно 10 л (

, где

- давление расширения,
необходимое для полного расширения мешка); 11 - вода
для регулирования растяжимости; 12 - кран
Рисунок A.3. Испытательная установка для измерения полного
мертвого пространства аппарата ИВЛ для оживления
1 - аппарат; 2 - отвод для измерения давления;
3 - расходомер; 4 - жесткий трубопровод; 5 - имитатор
сопротивления; 6 - термометр; 7 - медная проволока;
8 - имитатор растяжимости
Рисунок A.4. Типовая система пассивной модели легких
1 - генератор самостоятельного дыхания; 2 - отсчет
дыхательного объема; 3 - пружина установки растяжимости;
4 - мех или растяжимый элемент; 5 - калиброванное
сопротивление; 6 - аппарат, подвергаемый проверке;
7 - отвод для измерения давления (альвеолярное
давление

); 8 - отвод для измерения давления
(давление в дыхательных путях

)
Рисунок A.5. Пример активной модели легких
1 - клапан "по требованию"; 2 - пневмотахограф
(от 0 до 150 л/мин); 3 - манометр для измерения
отрицательного давления [

от минус 1 кПа до 0 кПа
(~= от минус 10 см вод. ст. до 0 см вод. ст.)]; 4 - управление
отрицательным давлением

с помощью регулятора 6;
5 - генератор отрицательного давления; 6 - регулятор;
7 - задатчик давления

настройкой регулятора;
8 - входное давление

от 270 до 550 кПа
Рисунок A.6. Пример установки
для проверки клапанов "по требованию" (максимального
порогового давления и пикового потока газа)
(обязательное)
РАСТЯЖИМОСТИ И СОПРОТИВЛЕНИЯ МОДЕЛЕЙ ЛЕГКИХ
Таблица B.1
| Растяжимость C |
мл/кПа | мл/см вод. ст. |
| 500 | (50) |
C20 | 200 | (20) |
C10 | 100 | (10) |
C1 | 10 | (1) |
<1> Первоначально эта классификация была основана на обычных сантиметрах водяного столба. |
<2> В методике испытаний не применяется. |
Таблица B.2
| Сопротивление | Диапазон расхода воздуха <3> (для линейных или параболических сопротивлений), л/с |
линейное R, кПа(л/с) [см вод. ст./(л/с)] | параболическое <2>  , кПа (л/с) [см вод. ст./(л/с)] |
R5 | 0,5 | [5] | 0,77 | [7,7] | 0 - 2 |
R20 | 2 | [20] | 0,56 | [5,6] | 0,5 - 1 |
| 5 | [50] | 0,39 | [3,9] | 0,25 - 0,5 |
R400 | 40 | [400] | 0,14 | [1,4] | 0,05 - 0,075 |
<1> Первоначально эта классификация была основана на обычных сантиметрах водяного столба. |
<2> Значения параболических сопротивлений относятся к номинальным внутренним диаметрам (мм) отверстий с острыми краями в тонкой пластине, которые необходимы для получения этих значений. Можно было бы использовать и отверстия другой формы, например отверстия в толстой пластине с закругленными краями, но номинальные диаметры были бы другими. |
<3> Допустимые отклонения значений диапазонов расходов составляют +/- 20% для линейных сопротивлений и +/- 10% для параболических сопротивлений. |
<4> В методике испытаний не применяются. |
(справочное)
Данное Приложение содержит примечания к отдельным пунктам настоящего стандарта.
5.1. Отверстие для присоединения пациента
Размеры этого отверстия обеспечивают присоединение к коннекторам размером 15 мм стандартных трахеальных трубок (ГОСТ Р ИСО 7228) и к лицевой маске, снабженной коннектором 22 F мм или 15 M мм.
5.2. Отверстие выдоха
В отдельных случаях отверстие выдоха может быть выпускным отверстием, которое используют для присоединения системы выведения выдыхаемых или излишних анестезирующих газов. Важно, чтобы конические коннекторы дыхательного контура не подходили к этому отверстию. Важно также, чтобы выпускное отверстие имело конструкцию, отличную от конструкции отверстия вдоха, во избежание ошибок при пользовании аппаратом.
5.3. Коннекторы лицевой маски
Важно, чтобы лицевые маски аппарата всегда были взаимозаменяемыми.
5.4. Коннекторы клапана наполнения мешка
Размер этого коннектора выбран таким, чтобы предотвратить случайную установку клапанов "по требованию" с управлением вручную.
6.2. Разборка и повторная сборка
Неправильная сборка аппарата, приводящая к его частично или полностью неправильной работе, представляет серьезную опасность и может привести к неадекватной вентиляции легких пациента.
6.3. Функционирование клапана пациента после его загрязнения рвотой
Важно, чтобы аппарат можно было быстро и эффективно очистить от рвоты, чтобы свести к минимуму перерыв в его работе.
6.4.1. Испытание падением
Важно, чтобы аппарат мог вынести сильное сотрясение, вызванное падением с санитарной машины, больничной койки и т.п.
6.4.2. Испытание механическим ударом аппаратов, смонтированных на подставках или на колесах
Смонтированные на подставках или на колесах аппараты могут опрокинуться во время перевозки или применения. Это не должно выводить их из строя.
6.5. Погружение в воду
Аппараты часто применяют в условиях, когда они могут быть неумышленно уронены в воду. Если аппарат быстро вынуть из воды, то он должен функционировать.
6.6. Клапаны пополнения дыхательного мешка
Чрезвычайно важно, чтобы клапаны "по требованию" с ручным управлением не были случайно заменены клапанами пополнения мешка. Клапаны "по требованию" способны выдерживать большие расходы газа, которые могут вызвать застревание клапанов пациента.
7.1. Размеры
Аппарат может понадобиться там, где доступ к пациентам затруднен и где можно передвигаться лишь ползком или через люки.
8.1.1. Аппараты с ручным приводом
Хотя объемная концентрация кислорода 40% достаточна, в некоторых случаях при оживлении пациентов предпочтительна 85%-ная или более высокая объемная концентрация кислорода. Желательно, чтобы такая концентрация достигалась за счет подачи дополнительного кислорода с расходом 15 л/мин или менее, поскольку указать значение расхода, превышающее 15 л/мин, означало бы превысить нормальную калибровку стандартных используемых в лечебных учреждениях расходомеров для взрослых и могло бы привести к неточному контролю за потоком кислорода и к заеданию клапана пациента в положении вдоха.
8.1.2. Аппараты с пневмоприводом
Высокие концентрации кислорода важны при оживлении пациентов с острой гипоксемией. Пониженные концентрации кислорода продлевают продолжительность подачи кислорода. На характеристики устройств для подсасывания или смешивания воздуха влияет заданная величина расхода вдыхаемого газа, а также растяжимость и сопротивление органов дыхания пациента.
8.3. Сопротивление выдоху
Чтобы облегчить выдох, желательно, чтобы сопротивление выдыхаемому потоку было минимальным, если только нет специальных медицинских показаний к созданию повышенного сопротивления.
8.4. Сопротивление вдоху
Желательно, чтобы конструкция аппарата позволяла пациенту дышать самостоятельно без чрезмерного сопротивления, когда аппарат не приводится в действие оператором.
8.5. Неисправность клапана пациента
Неполадки клапана или заедание в положении вдоха при большом расходе дополнительного кислорода могут привести к поломке аппарата и воздействию на пациента избыточного давления. Аппараты обычно применяют при расходах кислорода 15 л/мин, но расходомеры зачастую могут пропускать и расходы, превышающие 30 л/мин. Важно следовать указаниям изготовителя и применять только те приспособления, которые рекомендованы для использования с данным аппаратом.
8.6. Утечка через клапан пациента - прямая утечка
Если конструкцией умышленно предусмотрена прямая утечка, то это должно быть сообщено в такой форме, чтобы пользователь не спутал эту утечку с неправильной работой клапана.
8.7. Мертвое пространство аппарата
Важно минимизировать мертвое пространство аппарата для того, чтобы свести к минимуму повторное вдыхание выдохнутых газов.
8.8.1. Дыхательный объем
При вентиляции взрослых пациентов характерное значение дыхательного объема составляет приблизительно 600 мл. Растяжимости и сопротивления, перечисленные в
таблице B.1, - типичные возможные растяжимости и сопротивления, определенные у взрослых и детей, нуждающихся в оживлении. Требуемое значение дыхательного объема, равное 15 мл/кг, выше нормального и обычно используется во время оживления, когда через маску имеется утечка. Значения частоты вентиляции являются характерными значениями, используемыми для оживления детей и взрослых.
8.8.2. Ограничение давления (аппараты с ручным приводом)
Опыт реанимации детей позволяет считать, что максимальное давление вдоха, равное 4,5 кПа (~= 45 см вод. ст.), не приведет к повреждению легких и обеспечит адекватные дыхательные объемы для большинства пациентов, весящих менее 10 кг.
Системы ограничения давления не нормированы для аппаратов с ручным приводом для пациентов, весящих более 10 кг. Однако существенно, чтобы такие аппараты удовлетворяли требованиям дыхательного объема, указанным в настоящем стандарте
(таблица 1), без использования какого бы то ни было механизма блокировки. Если давление в дыхательных путях ограничено значением, не превышающим 6 кПа (~= 60 см вод. ст.), то механизм блокировки необходим для того, чтобы осуществлять вентиляцию тех пациентов, которые обладают низкой растяжимостью легких и/или высоким сопротивлением дыхательных путей.
8.9.1. Система ограничения давления
Важно, чтобы во всех аппаратах с пневмоприводом максимальное давление подаваемого газа было ограничено. Давление в дыхательных путях, равное 4,5 кПа (~= 45 см вод. ст.), было признано адекватным для вентиляции легких, но не способным вызвать баротравму. Выбор более высокого давления в сложных медицинских случаях влечет за собой риск баротравмы.
8.9.2. Поток газа в фазе вдоха
Чтобы снизить риск растяжения желудка, следует применять максимальный расход газа 40 л/мин при проведении оживления с маской. Это требование соответствует рекомендациям Американской сердечной ассоциации, которые приняты во всем мире. Более высокие потоки можно использовать у интубированных пациентов, поскольку риск растяжения желудка для них снижается.
8.9.4. Автоматические аппараты с пневмоприводом и переключением по давлению
Требуется, чтобы аппараты с переключением по давлению отвечали требованиям настоящего стандарта, но их применение ограничено при вентиляции пациентов с низкой растяжимостью легких и/или высоким сопротивлением дыхательных путей, поскольку давление переключения на выдох достигается без обеспечения адекватной вентиляции. Фазу отрицательного давления не следует использовать, т.к. это давление связано с падением функциональной остаточной емкости и парциального давления кислорода в артериальной крови

.
8.10.1. Давление, необходимое для срабатывания
Чтобы минимизировать работу дыхания важно, чтобы пациенту не нужно было создавать высокого разрежения для вызова начала потока газа, поступающего через клапан "по требованию". Физиологически приемлемым значением является разрежение 0,2 кПа (~= 2 см вод. ст.).
8.10.2. Пиковый расход газа при вдохе
Пиковые расходы, указанные в 8.10.2, необходимы, чтобы удовлетворить потребности типичного пациента; не следует требовать больших значений разрежения, чтобы создать эти расходы, поскольку это вызвало бы усталость самостоятельно дышащего пациента.
8.10.3. Заключительное давление
Положительное давление указывает на то, что подан достаточный дыхательный объем. Когда давление становится слегка положительным, это указывает на то, что пациенту нужно позволить сделать выдох и, следовательно, прекратить поток газа.
9.2. Условия эксплуатации
Аппарат может подвергаться воздействию предельных значений температур, указанных в 9.2, поскольку такие температуры часто встречаются в мире в тех условиях окружающей среды, в которых применяют эти аппараты.
10.4. Соединения для сжатого газа
Важно иметь возможность легко соединять аппарат с источником сжатого газа, особенно в процессе работы аппарата.
10.5. Давление питающего газа
Диапазон давлений питающего газа отражает то разнообразие давлений, которое используется в разных странах, а также допускаемые отклонения систем регулирования давления.
11.1.1. Предостережения изготовителя
Данные аппараты неприемлемы для применения во время непрямого кардиопульмонарного оживления, поскольку повышенное внутригрудное давление, создаваемое при сжимании грудной клетки, заставляет аппарат переключаться с фазы вдоха на фазу выдоха прежде, чем будет обеспечена требуемая вентиляция легких.
11.3.2. перечисление m)
В аппаратах общепринято использовать небольшие портативные баллоны. Важно, чтобы оператор имел какое-то представление о продолжительности использования баллона данного размера в типичных условиях применения.
(справочное)
D.1. Чистка и дезинфекция или стерилизация
(D.5)
Желательно, чтобы детали, подвергаемые бактериальному загрязнению, выдерживали определенные методы чистки и дезинфекции или стерилизации, рекомендованные изготовителем, или имели маркировку - "только для одноразового употребления" (одноразовые).
D.2. Совместимость с кислородом
(D.5)
Желательно, чтобы все детали аппарата были совместимы с кислородом и устойчивы к воспламенению при тех концентрациях и давлениях кислорода, которым они подвергаются.
D.3. Сопротивление коррозии и старению
(D.5)
Показатели работы аппарата не должны ухудшаться из-за коррозии после 12 мес хранения в соответствии с инструкциями изготовителя.
D.4. Корпус клапана пациента
Желательно, чтобы корпус клапана был сделан из таких материалов, чтобы исполнительный механизм был виден оператору.
D.5.1. Чистка и дезинфекция или стерилизация
В процессе использования аппараты подвержены загрязнению бактериями и вредными веществами. Поэтому важно, чтобы изготовитель рекомендовал подходящие способы чистки и дезинфекции или стерилизации. Во многих случаях достаточно одной только чистки и дезинфекции. Однако в некоторых случаях могут потребоваться аппараты, выдерживающие стерилизацию загрязненных деталей паром или окисью этилена. Потребитель должен знать, что некоторые способы дезинфекции и стерилизации могут укорачивать срок службы аппарата.
D.5.2. Совместимость с кислородом
Выбор материалов для использования в атмосфере с высокими концентрациями кислорода, особенно при повышенных давлениях, подразумевает учет их совместимости и легкости воспламенения. Материалы, которые горят на воздухе, будут интенсивно гореть в атмосфере с высокой концентрацией кислорода при нормальном давлении, а при повышенных давлениях легко взрываются. Многие материалы, включая металлы, на воздухе не горят, но способны гореть в чистом кислороде, особенно под давлением. Материалы могут воспламеняться при трении в седле клапана или в уплотнении его штока, или при адиабатическом сжатии, происходящем, когда кислород при высоком давлении с большой скоростью поступает в систему с низким давлением. Поэтому легковоспламеняющиеся материалы, такие как некоторые сорта резины и пластиков, не следует применять в клапанах и арматуре, особенно в системах повышенного давления кислорода, если они не испытаны или нет опыта их применения в таких условиях. Эти условия и требования применимы также к использованию закиси азота.
D.5.3. Сопротивление коррозии и старению
Поскольку аппараты часто хранят и применяют вблизи морской воды, то важно, чтобы они были способны удовлетворять требованиям настоящего стандарта к их работе после хранения в таких условиях.
(справочное)
Лицевая маска, поставляемая с аппаратом или рекомендованная для использования с ним, обычно состоит из корпуса, лицевого уплотнения и отверстия для подсоединения аппарата.
Если лицевая маска сконструирована из более чем одной части, то при пользовании маской эти части должны легко собираться и надежно скрепляться.
Лицевое уплотнение должно обеспечивать плотное прилегание, чтобы снизить до минимума утечки при тех рабочих давлениях и температурах, которые указаны в настоящем стандарте.
Желательно, чтобы корпус маски был прозрачным, чтобы наблюдать за конденсацией влаги, выдыхаемой пациентом через рот или нос - признаком наличия самостоятельного дыхания, а также за возможным появлением рвотных масс. Но это не означает, что стандарт запрещает применение непрозрачных и полупрозрачных масок. В некоторых условиях их использование может быть предпочтительнее.
(обязательное)
ДОПОЛНИТЕЛЬНЫЕ ТРЕБОВАНИЯ К АППАРАТАМ ИВЛ ДЛЯ ОЖИВЛЕНИЯ,
УЧИТЫВАЮЩИЕ ПОТРЕБНОСТИ ЭКОНОМИКИ СТРАНЫ
Кроме требований настоящего стандарта на аппараты ИВЛ для оживления также распространяются требования ГОСТ Р ИСО 10651.1 и
ГОСТ 18856. Настоящий стандарт имеет приоритет перед ГОСТ Р ИСО 10651.1 и
ГОСТ 18856 в тех случаях, когда их требования неэквивалентны.
Допуски на значения растяжимости и сопротивления, приведенные в
таблице 1, - по
таблице B.1 и
B.2. Предельная погрешность значений объема 20 и 150 мл +/- 10%.
Вентили баллонов допускается изготовлять по действующим отечественным стандартам.
Допускается определять мертвое пространство непосредственным измерением внутреннего объема тех частей аппарата, по которым во время вдоха проходит вдыхаемая, а во время выдоха выдыхаемая газовая смесь. Со стороны пациента эти части ограничиваются отверстием для присоединения пациента, т.е. лицевые маски, воздуховоды, трахеальные трубки и т.п. сменные части в расчет не принимают.
Рвотную массу допускается имитировать смешением порошкообразного нерастворимого вещества с водой до получения нужной консистенции.
Растяжимость в
таблице B.1 должна иметь предельное отклонение +/- 10% от номинального значения.