Главная // Актуальные документы // ГОСТ Р (Государственный стандарт)СПРАВКА
Источник публикации
М.: Стандартинформ, 2010
Примечание к документу
Документ утратил силу с 1 января 2013 года в связи с изданием
Приказа Росстандарта от 13.12.2011 N 1360-ст. Взамен введен в действие
ГОСТ ISO 8537-2011.
Документ
введен в действие с 1 января 2011 года.
Название документа
"ГОСТ Р ИСО 8537-2009. Национальный стандарт Российской Федерации. Шприцы инъекционные однократного применения стерильные с иглой или без иглы для инсулина. Технические требования и методы испытаний"
(утв. и введен в действие Приказом Ростехрегулирования от 14.12.2009 N 759-ст)
"ГОСТ Р ИСО 8537-2009. Национальный стандарт Российской Федерации. Шприцы инъекционные однократного применения стерильные с иглой или без иглы для инсулина. Технические требования и методы испытаний"
(утв. и введен в действие Приказом Ростехрегулирования от 14.12.2009 N 759-ст)
Утвержден и введен в действие
агентства по техническому
регулированию и метрологии
от 14 декабря 2009 г. N 759-ст
НАЦИОНАЛЬНЫЙ СТАНДАРТ РОССИЙСКОЙ ФЕДЕРАЦИИ
ШПРИЦЫ ИНЪЕКЦИОННЫЕ ОДНОКРАТНОГО ПРИМЕНЕНИЯ
СТЕРИЛЬНЫЕ С ИГЛОЙ ИЛИ БЕЗ ИГЛЫ ДЛЯ ИНСУЛИНА
ТЕХНИЧЕСКИЕ ТРЕБОВАНИЯ И МЕТОДЫ ИСПЫТАНИЙ
Sterile single-use syringes, with or without needle,
for insulin. Technical requirements and test methods
ISO 8537:2007
Sterile single-use syringes,
with or without needle, for insulin
(IDT)
ГОСТ Р ИСО 8537-2009
Дата введения
1 января 2011 года
Цели и принципы стандартизации в Российской Федерации установлены Федеральным
законом от 27 декабря 2002 г. N 184-ФЗ "О техническом регулировании", а правила применения национальных стандартов Российской Федерации -
ГОСТ Р 1.0-2004 "Стандартизация в Российской Федерации. Основные положения".
1. Подготовлен Закрытым акционерным обществом "Медитест" на основе аутентичного перевода стандарта, указанного в
пункте 4.
2. Внесен Техническим комитетом по стандартизации ТК 422 "Оценка биологического действия медицинских изделий".
3. Утвержден и введен в действие
Приказом Федерального агентства по техническому регулированию и метрологии от 14 декабря 2009 г. N 759-ст.
4. Настоящий стандарт идентичен международному стандарту ИСО 8537:2007 "Шприцы стерильные одноразового применения с иглой или без иглы для инсулина" (ISO 8537:2007 "Sterile single-use syringes, with or without needle, for insulin").
Наименование настоящего стандарта изменено относительно наименования указанного международного стандарта для приведения в соответствие с ГОСТ Р 1.5
(пункт 3.5).
При применении настоящего стандарта рекомендуется использовать вместо ссылочных международных стандартов соответствующие им национальные стандарты Российской Федерации, сведения о которых приведены в дополнительном
Приложении J.
5. Введен впервые.
Информация об изменениях к настоящему стандарту публикуется в ежегодно издаваемом информационном указателе "Национальные стандарты", а текст изменений и поправок - в ежемесячно издаваемых информационных указателях "Национальные стандарты". В случае пересмотра (замены) или отмены настоящего стандарта соответствующее уведомление будет опубликовано в ежемесячно издаваемом информационном указателе "Национальные стандарты". Соответствующая информация, уведомление и тексты размещаются также в информационной системе общего пользования - на официальном сайте Федерального агентства по техническому регулированию и метрологии в сети Интернет.
Настоящий стандарт устанавливает требования к инъекционным шприцам однократного применения для инсулина, предназначенным для применения на людях, и допускает некоторые различия в конструкции, методах упаковки и стерилизации.
Материалы, применяемые для изготовления и смазки стерильных шприцев и инъекционных игл однократного применения, подробно не характеризуются, их выбор зависит от конструкции, технологии изготовления и способа стерилизации, применяемых отдельными производителями.
Шприцы и иглы должны быть изготовлены и стерилизованы в соответствии с общепризнанными национальными и международными нормами производства медицинских изделий, не должны иметь дефектов, ухудшающих их внешний вид, безопасность и надежность при применении.
Определенные сорта полипропилена, полистирола и сополимера стирола/акрилонитрила применяются для изготовления цилиндров шприцев инъекционных однократного применения. Высококачественная смесь природного или силиконового каучука используется для изготовления поршня с нанесением смазки из полидиметилсилоксана. Для шприцев вместимостью 2 мл двухкомпонентной конструкции при изготовлении шток-поршня часто используется полиэтилен высокой плотности в сочетании с полипропиленовым цилиндром, содержащим амидную добавку для улучшения скольжения.
При выборе материалов принимается во внимание следующее:
- прозрачность цилиндра: материалы, используемые для изготовления цилиндра шприца, должны быть достаточно прозрачными для определения без затруднений дозировки и наличия пузырьков воздуха;
- совместимость с инсулиновыми препаратами: материалы шприцев, игл (включая смазку) и упаковки после стерилизации в условиях нормального применения не должны снижать эффективность, безопасность и приемлемость инсулиновых препаратов; применяемые материалы не должны подвергаться физическому или химическому воздействию со стороны инсулиновых препаратов;
- биосовместимость: материалы шприцев и игл в условиях нормального применения должны быть нетоксичны и апирогенны. Для испытания данных свойств может быть использован экстракт, приготовленный по методике, приведенной в
Приложении H.
Контрольным органам, службе фармакопеи и соответствующим торговым ассоциациям рекомендуется обратить внимание на необходимость испытаний, особенно на совместимость между инсулином и шприцем, взаимодействующими в течение длительного времени.
В некоторых странах национальные стандарты и технические регламенты могут иметь приоритет по отношению к настоящему стандарту.
Настоящий стандарт устанавливает требования к шприцам с иглами или без игл для применения с 40 единицами инсулина/мл (U-40) и 100 единицами инсулина/мл (U-100). Чтобы избежать несчастных случаев, в каждой стране рекомендуется градуировать шприцы только для одной концентрации инсулина. Для стран, использующих более одной концентрации инсулина, важное значение имеет нанесение на шприцы соответствующей градуировки только для одной концентрации инсулина. Возникают серьезные проблемы, если шприц используется с концентрацией инсулина, для которой он не предназначен. Если шприц применяется для смешивания инсулина различных типов, строго рекомендуется, чтобы процедура выполнялась каждый раз в одинаковом порядке.
Настоящий стандарт устанавливает требования и методы испытаний к инъекционным стерильным шприцам однократного применения с иглами или без игл для инсулина, исключительно для инъекций инсулина и предназначенным для людей. Стандарт распространяется на шприцы для применения с 40 единицами инсулина/мл ("INSULIN U-40") и 100 единицами инсулина/мл ("INSULIN U-100").
Шприцы предназначены для применения сразу после наполнения и не рассчитаны на длительное содержание инсулина.
В настоящем стандарте использованы нормативные ссылки на следующие стандарты:
ИСО 594-1:1986 Детали соединительные с конусностью 6% (Луера) для шприцев, игл и другого медицинского оборудования. Часть 1. Общие требования
ИСО 7864:1993 Иглы стерильные для подкожных инъекций одноразового применения
ИСО 9626:1991 Трубки игольные из нержавеющей стали для изготовления медицинских приборов
В настоящем стандарте применены следующие термины с соответствующими определениями (схематическое изображение шприца показано на
рисунке 1):
3.1. градуированная вместимость (graduated capacity): Объем воды при (20 +/- 3) °C или (27 +/- 3) °C, вытесненный из шприца, при пересечении линией отсчета на поршне заданного интервала шкалы.
3.2. колпачок иглы (needle cap): Колпачок, предназначенный для сохранения стерильности иглы и защиты трубки иглы с головкой иглы (при наличии) от повреждения.
3.3. футляр иглы (needle sheath): Футляр, предназначенный для обеспечения физической защиты трубки иглы.
3.4. колпачки для защиты наконечника шприца, выступающей части шток-поршня и иглы (protective end caps): Колпачки, предназначенные защищать выступающую часть шток-поршня с одной стороны и наконечник шприца и/или иглу с другой стороны.
1 - колпачок иглы; 2 - колпачок для защиты наконечника;
3 - отверстие наконечника; 4 - наконечник; 5 - цилиндр;
6 - поршень; 7 - уплотнители; 8 - шток; 9 - упор штока;
10 - колпачок для защиты окончания шток-поршня;
11 - упоры для пальцев; 12 - линия начала отсчета;
13 - линия градуировки номинальной вместимости;
14 - градуировочные линии; 15 - нулевая линия
Рисунок 1. Схематическое изображение инсулинового шприца
однократного применения
Примечание. Данный рисунок иллюстрирует детали шприца, включает в себя часть спецификации, не отображая съемную или встроенную иглу. Конструкция шток-поршня может быть разборной или неразборной и может включать в себя более чем один уплотнитель.
Типы шприцев должны быть обозначены следующим образом в зависимости от их упаковки и сочетаний с иглами:
- тип 1: Шприц с 6% коническим наконечником (Луер), поставляемый без иглы и упакованный в потребительскую упаковку;
- тип 2: Шприц с 6% коническим наконечником (Луер), поставляемый без иглы и оснащенный защитными колпачками;
- тип 3: Шприц с 6% коническим наконечником (Луер), поставляемый со съемной иглой и упакованный в потребительскую упаковку;
- тип 4: Шприц с 6% коническим наконечником (Луер), поставляемый со съемной иглой и оснащенный защитными колпачками;
- тип 5: Шприц с коническим наконечником, отличным от 6% (Луер), поставляемый с надетой иглой и упакованный в потребительскую упаковку;
- тип 6: Шприц с коническим наконечником, отличным от 6% (Луер), поставляемый с надетой иглой и оснащенный защитными колпачками;
- тип 7: Шприц со встроенной иглой и упакованный в потребительскую упаковку;
- тип 8: Шприц со встроенной иглой и оснащенный защитными колпачками.
Примечания. 1. Обозначенные восемь типов шприцев охватывают все существующие варианты, но число типов, применяемых в конкретной стране, может быть меньше восьми.
2. Безопасные шприцы с инсулиновой градуировкой доступны на многих рынках. Общий стандарт, относящийся к медицинским устройствам, предохраняющим от укола, находится в стадии разработки.
Поверхности шприца и иглы, контактирующие с инсулином, должны быть чистыми и свободными от посторонних частиц при визуальном осмотре нормальным или скорректированным до нормального зрением.
6. Предельное содержание примесей
6.1. Пределы кислотности и щелочности
Уровень pH экстракта, приготовленного в соответствии с
Приложением A, должен соответствовать pH контрольной жидкости в пределах одной единицы при измерении лабораторным pH-метром со стандартным электродом.
6.2. Предельное содержание экстрагируемых металлов
Экстракт шприца, приготовленный в соответствии с
Приложением A, должен содержать в общей сложности не более 5 мл/кг свинца, олова, цинка и железа при испытании общепризнанными микроаналитическими методами, например методом атомной абсорбции. Содержание кадмия в экстракте должно быть не более 0,1 мг/кг.
Если внутренняя поверхность шприца, включая поршень, и наружная поверхность трубки иглы смазаны, то смазка не должна образовывать капель на внутренней поверхности шприца или на наружной поверхности трубки иглы.
Размеры шприцев и градуировок должны соответствовать значениям, приведенным в таблице 1.
Таблица 1
Инсулиновые шприцы, размеры, градуированная
шкала и допуск градуированной вместимости
Единица шкалы | Номинальная вместимость, мл | Минимальная длина шкалы, мм | Цена деления шкалы, единицы | Допуск градуированной вместимости |
Объемы меньше половины номинальной вместимости | Объемы, равные или превышающие половину номинальной вместимости |
U-100 | 0,3 | 41 | 0,5 или 1 |  номинальной вместимости + 2% вытесняемого объема | +/- 5% вытесняемого объема |
0,5 | 43 | 1 |
1,0 | 57 | 1 |
1,0 | 57 | 2 |
U-40 | 0,5 | 43 | 0,5 |
0,5 | 43 | 1 |
1,0 | 50 | 1 |
2,0 | 60 | 1 |
2,0 | 60 | 2 |
Примечание. Шприцы, имеющие различные номинальные вместимости и цены деления шкалы, предназначены для выполнения определенных операций. Число типов шприцев, применяемых в конкретной стране, может быть меньше, чем представленное в таблице 1.
9.1. Шкала
Шкала должна быть нанесена в единицах инсулина и обозначать только одну концентрацию инсулина. Номинальная вместимость должна быть обозначена в миллилитрах (мл).
Допуски на градуированную вместимость должны соответствовать значениям, приведенным в
таблице 1.
Примечание. Градуированная вместимость легко определяется с помощью взвешивания вытесняемой жидкости (см.
3.1).
Градуировочные линии должны быть постоянной толщины от 0,2 до 0,4 мм. Они должны находиться в плоскости, перпендикулярной к оси цилиндра.
Градуировочные линии должны быть равноудалены друг от друга вдоль продольной оси между нулевой линией и линией полной градуированной вместимости.
При вертикальном положении шприца концы всех градуировочных линий одинаковой длины должны располагаться по вертикали один под другим в пределах допуска +/- 0,5 мм.
Длина коротких градуировочных линий должна составлять приблизительно половину длины длинных линий.
Шкала и цифры шкалы должны быть четкими и заметными на цилиндре шприца.
9.2. Нумерация шкалы
Градуировочные линии должны быть пронумерованы через каждые 5 единиц для шприцев 0,3 и 0,5 мл и через каждые 10 единиц для шприцев 1,0 и 2,0 мл.
Минимальная высота символов должна быть 3 мм.
При вертикальном положении шприца наконечником вверх и шкалой, находящейся на уровне глаз, цифры на шкале должны быть вертикальными и расположены таким образом, чтобы пересекаться с продолжением линий, к которым они относятся. Цифры должны находиться рядом с линиями градуировки, к которым они относятся, но не соприкасаться с ними.
10.1. Размеры
Длина цилиндра должна быть такой, чтобы общая вместимость шприца была на 10% больше номинального значения или чтобы шток-поршень перемещался за пределы градуированной шкалы не менее чем на 5 мм.
10.2. Упоры для пальцев
Открытый конец цилиндра должен иметь упоры для пальцев, обеспечивающие шприцу устойчивость и удерживающие его от скатывания при размещении его шкалой вверх на плоской поверхности, расположенной под углом 10° к горизонтали.
Упоры для пальцев не должны иметь заусенцев и острых краев.
Упоры для пальцев должны быть соответствующих размеров, формы и прочности, отвечающих их назначению, и должны позволять прочно удерживать шприц при его применении.
11.1. Общие положения
Конструкции штока и упоров для пальцев шприца должны быть такими, чтобы при удерживании одной рукой шток мог быть утоплен большим пальцем этой же руки. Поршень не должен отделяться от штока при всасывании во время испытания в соответствии с
Приложением B.
Выступающая часть штока и форма упоров для пальцев должны быть такими, чтобы в полностью утопленном положении шток-поршня его можно было выдвинуть обратно без затруднения.
11.2. Посадка поршня в цилиндре
При заполнении шприца водой и удерживании его вертикально сначала одним и затем другим концом вверх шток-поршень не должен перемещаться под собственной массой и массой содержащейся воды. При надетой на шприц в соответствии с инструкциями изготовителя игле усилие, требуемое для перемещения шток-поршня и вытеснения воды из шприца, не должно превышать 15 Н при проведении измерений в соответствии с
Приложением C.
Посадка поршня в цилиндре должна быть такой, чтобы поршень плавно скользил по всей градуированной длине цилиндра.
12.1. Коническое соединение
Конические соединения игл и шприцев типов 1, 2, 3 и 4 должны соответствовать требованиям ИСО 594-1.
12.2. Положение наконечника цилиндра
Наконечник шприца должен быть расположен по центру, то есть соосно с цилиндром.
13.1. Иглы для шприцев типов 3 и 4
Иглы для шприцев типов 3 и 4 должны соответствовать требованиям ИСО 7864, кроме размеров и технических характеристик, которые должны соответствовать
Приложению D настоящего стандарта.
13.2. Трубка иглы для шприцев типов 5, 6, 7 и 8
Трубка иглы для шприцев типов 5, 6, 7 и 8 должна соответствовать требованиям ИСО 9626, кроме размеров и технических характеристик, которые должны соответствовать
Приложению D настоящего стандарта. Острие иглы должно соответствовать требованиям ИСО 7864.
14. Рабочие характеристики собранного шприца
14.1. "Мертвое" пространство
При проведении испытания в соответствии с
Приложением E "мертвое" пространство не должно превышать значений, приведенных в таблице 2.
Таблица 2
Максимальное "мертвое" пространство
Тип шприца | Максимальное "мертвое" пространство, мл |
1 и 2 | 0,07 |
3 и 4 | 0,10 |
5 и 6 | 0,02 |
7 и 8 | 0,01 |
14.2. Отсутствие утечки в игле
При проведении испытания в соответствии с
Приложением F не должно быть утечки жидкости, достаточной для формирования падающей капли в течение 30 с из соединений, перечисленных в
F.2.9.
При проведении испытания в соответствии с
Приложением G не должно происходить появления воздушных пузырьков в соединениях, перечисленных в
G.2.6.
14.3. Утечка жидкости и воздуха через поршень
При проведении испытания в соответствии с
Приложением F не должно быть утечки жидкости через уплотнитель (уплотнители) поршня.
При проведении испытания в соответствии с
Приложением B не должно быть утечки воздуха через уплотнитель (уплотнители) поршня и не должно быть перепада в показаниях манометра.
15.1. Потребительская упаковка шприцев и элементов шприцев
15.1.1. Общие положения
Шприцы типов 1, 3, 5 и 7 должны быть уложены в герметичную потребительскую упаковку, шприцы типов 2, 4, 6 и 8 должны быть упакованы с применением герметичных защитных колпачков.
15.1.2. Потребительская упаковка (шприцы типов 1, 3, 5 и 7)
Шприц вместе с иглой или без иглы должен быть уложен в потребительскую упаковку.
Для шприцев типов 3, 5 и 7 игла должна поставляться с защитным колпачком.
Для шприцев 3-го типа игла в индивидуальной упаковке может быть вложена внутрь потребительской упаковки шприца.
Материалы и конструкция упаковки не должны оказывать вредного влияния на содержимое и должны гарантировать следующее:
a) сохранение стерильности в сухих, чистых и хорошо проветриваемых помещениях;
b) минимальный риск загрязнения содержимого в процессе вскрытия и извлечения из упаковки;
c) надежную защиту содержимого в процессе нормального применения, транспортирования и хранения;
d) невозможность повторного запечатывания вскрытой упаковки, факт вскрытия упаковки должен быть очевиден.
15.1.3. Потребительская упаковка (шприцы типов 2, 4, 6 и 8)
Шприц должен быть оснащен колпачком для защиты наконечника.
Материалы и конструкция упаковки (защитных колпачков) элементов шприца должны обеспечивать:
a) сохранение стерильности элементов шприца (например, наружной поверхности иглы, выступающей части шток-поршня и упоров для пальцев) в сухих, чистых и хорошо проветриваемых помещениях;
b) минимальный риск загрязнения содержимого в процессе вскрытия упаковки;
c) соответствующую защиту содержимого в процессе нормального применения, транспортирования и хранения.
Упаковка элементов шприца должна быть снабжена средством, гарантирующим очевидность нарушения ее целостности.
15.2. Групповая упаковка
Шприцы типов 1, 3, 5 и 7 допускается укладывать в групповую упаковку.
Шприцы типов 2, 4, 6 и 8 должны быть уложены в групповую упаковку в количестве не более 12 штук.
Материалы и конструкция групповой упаковки должны обеспечивать:
a) минимальный риск загрязнения содержимого в процессе вскрытия упаковки;
b) соответствующую защиту шприцев в процессе нормального применения, транспортирования и хранения;
c) очевидность нарушения целостности упаковки.
15.3. Транспортная упаковка
Транспортная упаковка должна содержать определенное число шприцев в потребительской или групповой упаковке.
Транспортная упаковка должна обладать достаточной прочностью и надежностью для предохранения содержимого при транспортировании и хранении.
16.1. Общие положения
Если для обозначения концентрации инсулина применяется цветовое кодирование, то красный цвет должен применяться для шприцев U-40 ("INSULIN U-40") и оранжевый цвет должен применяться для шприцев U-100 ("INSULIN U-100").
Красный и оранжевый цвета должны применяться только для маркировки концентрации инсулина.
Цветовое кодирование может применяться при маркировке цилиндра шприца, изготовлении защитных колпачков и/или на всей упаковке.
16.2. Шприцы
16.2.1. Общие положения
На цилиндры шприцев должна быть нанесена следующая информация:
a) соответствующая градуировка шкалы в соответствии с
разделами 8 и
9;
b) слова "инсулин U-40" (INSULIN U-40) или "инсулин U-100" (INSULIN U-100) в зависимости от того, какой применяется;
c) слово "единицы" или "I.U.";
d) общая градуированная вместимость в миллилитрах (мл).
16.2.2. Дополнительная маркировка потребительской упаковки (шприцы типов 2, 4, 6 и 8)
Шприц или детали шприца должны быть дополнительно маркированы следующей информацией:
a) слова "для однократного применения" или эквивалент (такой, как знак однократного применения, приведенный в ИСО 7000-1051, см.
Приложение I); термин "разовый" не должен применяться;
b) наименование и/или торговая марка и страна изготовителя или поставщика.
Предупреждение о проверке целостности упаковки шприца или деталей шприца перед применением.
Вся информация, содержащаяся на цилиндре, не должна мешать чтению градуировочной шкалы.
16.3. Потребительская упаковка (шприцы типов 1, 3, 5 и 7)
Потребительская упаковка должна содержать следующую информацию:
a) слово "стерильно" или эквивалент;
b) слова "для однократного применения" или эквивалент (такой, как знак однократного применения, приведенный в ИСО 7000-1051, см.
Приложение I); термин "разовый" не должен применяться;
c) предупреждение о проверке целостности потребительской упаковки перед применением;
d) номер партии и/или дату производства;
e) наружный диаметр и длину иглы в миллиметрах (при наличии иглы); эталонный размер иглы также может быть обозначен.
Потребительская упаковка может также содержать дополнительную информацию, если эта информация нанесена на изделие и не видна через потребительскую упаковку:
f) вместимость шприца и применяемую концентрацию инсулина;
g) наименование и/или торговую марку и страну изготовителя или поставщика;
h) слова "годен до..." (месяц и две последние цифры года) или соответствующий символ.
16.4. Потребительская упаковка шприцев (шприцы типов 2, 4, 6 и 8)
Потребительская упаковка должна содержать следующую информацию:
a) слова "шприц стерилен внутри" или эквивалент;
b) предупреждение о проверке целостности упаковки шприца перед применением;
c) слова "для однократного применения" или эквивалент (такой, как знак однократного применения, приведенный в ИСО 7000-1051, см.
Приложение I). Термин "разовый" не должен применяться;
d) наименование и/или торговую марку и страну изготовителя или поставщика, за исключением тех случаев, когда изделие несет на себе данную информацию и она видна через упаковку;
e) номер партии и/или дату производства;
f) наружный диаметр и длину иглы в миллиметрах при наличии иглы; эталонный размер иглы также может быть обозначен;
g) отличительные черты содержимого, включая вместимость шприца и применяемую концентрацию инсулина, за исключением тех случаев, когда информация видна через упаковку;
h) слова "годен до..." (месяц и две последние цифры года) или соответствующий символ.
16.5. Транспортная упаковка
Транспортная упаковка должна содержать следующую информацию:
a) слово "стерильно" или слова "шприц стерилен внутри" или эквивалент;
b) предупреждение для шприца соответствующего типа о проверке целостности потребительской упаковки перед применением, за исключением тех случаев, когда данное предупреждение приведено на потребительской упаковке шприца или элементов шприца;
c) слова "для однократного применения" или эквивалент (такой, как знак однократного применения, приведенный в ИСО 7000-1051, см.
Приложение I). Термин "разовый" не должен применяться;
d) номер партии и дату (год и месяц) стерилизации;
e) наименование и/или зарегистрированную торговую марку и страну изготовителя или поставщика;
f) описание содержимого.
(обязательное)
МЕТОДИКА ПРИГОТОВЛЕНИЯ ЭКСТРАКТОВ ДЛЯ ОПРЕДЕЛЕНИЯ
КИСЛОТНОСТИ/ЩЕЛОЧНОСТИ И ЭКСТРАГИРУЕМЫХ МЕТАЛЛОВ
Наполняют 10 стерильных шприцев, включая иглу (при наличии), до номинальной вместимости свежей дистиллированной водой и хранят их при температуре

в течение 8 ч. Выливают содержимое шприцев в сосуд из боросиликатного стекла.
Готовят контрольную жидкость, оставляя запас определенного количества неиспользованной дистиллированной воды.
(обязательное)
ВОЗДУХОНЕПРОНИЦАЕМОСТИ ПОРШНЯ ШПРИЦА ПРИ ВСАСЫВАНИИ
B.1. Методика испытания
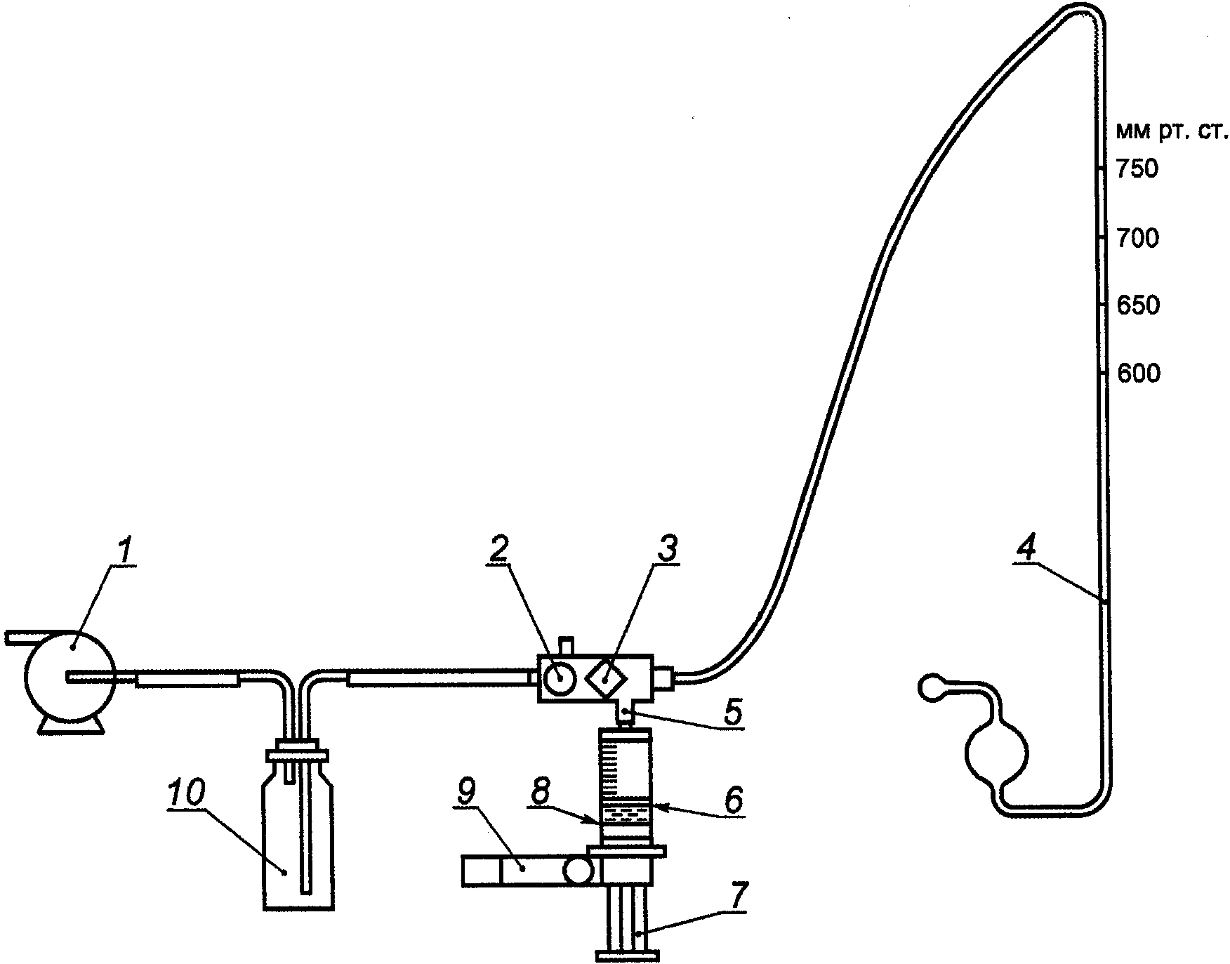
B.1.1. Испытание должно проводиться с использованием устройства, изображенного на рисунке B.1, в следующей последовательности.
1 - вакуумный насос; 2 - регулятор отбора воздуха;
3 - вакуумный клапан; 4 - манометр; 5 - контрольная
стальная или резиновая втулка по ИСО 594-1;
6 - 25% объема

; 7 - шприц; 8 - номинальная вместимость;
9 - зажим; 10 - колба-ловушка
Объем воздуха, заключенный между наконечником шприца и манометром, должен быть настолько мал, насколько это возможно.
Примечание. Установка может быть использована для всех типов шприцев при наличии контрольной стальной или резиновой втулки.
Рисунок B.1. Установка, применяемая при испытаниях
при всасывании
B.1.2. В шприц всасывается объем недавно вскипяченной и охлажденной воды не более 25% градуированной вместимости.
B.1.3. В положении, когда наконечник шприца направлен вверх, вытягивают шток-поршень до тех пор, пока линия начала отсчета не совпадет с номинальной градуированной вместимостью, и закрепляют шток-поршень в данном положении, как показано на
рисунке B.1.
B.1.4. Соединяют наконечник шприца с контрольной стальной втулкой в соответствии с ИСО 594-1.
B.1.5. Подключают к вакуумному насосу с регулятором отбора воздуха.
B.1.6. Регулируют увеличение разряжения воздуха и доводят показания манометра до 88 кПа <1>.
--------------------------------
<1> 1 кПа = 7,5 мм рт. ст.
B.1.7. Проверяют шприц на наличие воздушной утечки, происходящей через поршень.
B.1.8. Изолируют соединение шприца и манометра с помощью вакуумного клапана.
B.1.9. Отмечают показания манометра в течение 60 с и регистрируют любое изменение в показаниях.
B.1.10. Проверяют шприц для определения того, отделяется ли поршень от штока.
B.2. Протокол испытания
Протокол испытания должен содержать следующую информацию:
a) обозначение и номинальную вместимость шприца;
b) дату проведения испытания;
c) наблюдалась ли утечка воздуха (как указано в
B.1.7 и
B.1.9);
d) происходило ли отделение поршня от штока.
(обязательное)
МЕТОД ДЛЯ ОПРЕДЕЛЕНИЯ УСИЛИЯ,
ТРЕБУЕМОГО ДЛЯ ДВИЖЕНИЯ ШТОК-ПОРШНЯ
C.1. Методика испытания
C.1.1. Шприц испытывают с надетой иглой. Шприцы типов 1 и 2 должны быть оснащены иглой с наружным диаметром 0,40 мм.
C.1.2. Наполняют шприц водой на 50% его номинальной вместимости.
C.1.3. Удерживают шприц на испытательном стенде острием иглы вниз.
C.1.4. Вытирают воду с острия иглы.
C.1.5. Прикладывают осевое усилие вертикально вниз к шток-поршню, регистрируют усилие и постепенно увеличивают его до тех пор, пока шток-поршень не начнет перемещаться. Начало движения определяют по истечению воды из иглы.
C.1.6. Удерживают усилие, достаточное для поддержания движения шток-поршня, до тех пор, пока он не достигнет нулевой отметки.
C.1.7. Регистрируют максимальное усилие, требуемое для движения шток-поршня.
C.2. Протокол испытания
Протокол испытания должен содержать следующую информацию:
a) обозначение и номинальную вместимость шприца;
b) дату проведения испытания;
c) усилие, требуемое для начала движения шток-поршня, Н.
(обязательное)
СВОЙСТВА ИГЛЫ И ТРУБКИ ИГЛЫ
D.1. Диаметр трубки иглы должен соответствовать значениям, приведенным в таблице D.1.
Таблица D.1
Диаметр трубки иглы
Номинальный наружный диаметр <a> | Наружный диаметр | Минимальный внутренний диаметр |
мин | макс |
0,25 | 0,254 | 0,267 | 0,114 |
0,30 | 0,298 | 0,320 | 0,133 |
0,33 | 0,324 | 0,351 | 0,133 |
0,36 | 0,349 | 0,370 | 0,133 |
0,40 | 0,400 | 0,420 | 0,184 |
0,45 | 0,440 | 0,470 | 0,232 |
<a> Номинальные наружные диаметры соответствуют эталонным номерам следующим образом: 0,25 мм (эталон 31), 0,30 мм (эталон 30), 0,33 мм (эталон 29), 0,36 мм (эталон 28), 0,40 мм (эталон 27) и 0,45 мм (эталон 26). |
D.2. Жесткость трубки иглы должна соответствовать значениям, приведенным в таблице D.2, при проведении испытания, как описано в ИСО 9626.
Таблица D.2
Жесткость
Номинальный наружный диаметр, мм | Диапазон, мм, +/- 0,1 | Усилие, Н, +/- 0,1 | Максимальный прогиб, мм |
0,25 | 3,5 | 5,5 | 0,35 |
0,30 | 5,0 | 5,5 | 0,40 |
0,33 | 5,0 | 5,5 | 0,32 |
0,36 | 5,0 | 5,5 | 0,25 |
0,40 | 9,5 | 5,5 | 0,60 |
0,45 | 10,0 | 6,0 | 0,56 |
D.3. Минимальная прочность соединения между головкой иглы и трубкой должна быть 22 Н в соответствии с ИСО 7864.
D.4. Диаметр мандрена для испытания проходимости канала иглы, как описано в ИСО 7864, должен соответствовать значениям, приведенным в таблице D.3.
Таблица D.3
Диаметр мандрена для испытания проходимости канала иглы
Номинальный наружный диаметр, мм | Диаметр мандрена, мм |
0,30 | 0,11 |
0,33 | 0,11 |
0,36 | 0,11 |
0,40 | 0,15 |
0,45 | 0,18 |
D.5. Значение сопротивления разрыву должно соответствовать значениям, приведенным в таблице D.4, испытание проводится в соответствии с ИСО 9626.
Таблица D.4
Сопротивление разрыву (мм)
Номинальный наружный диаметр | Расстояние между неподвижной опорой и прикладываемой изгибающей силой +/- 0,1 |
0,25 | 8 |
0,30 | 8 |
0,33 | 8 |
0,36 | 8 |
0,40 | 8 |
0,45 | 10 |
(обязательное)
МЕТОД ОПРЕДЕЛЕНИЯ "МЕРТВОГО" ПРОСТРАНСТВА
E.1.1. Шприцы типов 3 и 4
Извлекают иглу, при ее наличии, из упаковки.
Надевают иглу на наконечник шприца, прикладывая осевое усилие 27,5 Н в течение 5 с, одновременно поворачивая их на угол, не превышающий 90° с крутящим моментом не более 0,1 Н/м.
E.1.2. Шприцы типов 1, 2, 5, 6, 7 и 8
Нет необходимости в подготовке.
E.2. Испытание
E.2.1. Взвешивают пустой шприц, включая иглу (при ее наличии), подготовленный в соответствии с
E.1, с точностью 0,001 г.
E.2.2. Заполняют шприц дистиллированной водой при температуре (20 +/- 3) °C, тщательно удаляя пузырьки воздуха, особенно из иглы, а в случае отсутствия иглы уровень мениска воды в шприце должен совпадать с концом канала наконечника.
E.2.3. Вытесняют воду, полностью вдвинув шток-поршень, и вытирают насухо наружную поверхность шприца.
E.2.4. Повторно взвешивают шприц.
E.3. Вычисление результатов
Массу воды, оставшейся в шприце, в граммах, определяют путем вычитания массы пустого шприца из массы шприца после вытеснения воды. Данное значение регистрируют как "мертвое" пространство, в миллилитрах, принимая плотность воды 1000 кг/м3.
E.4. Протокол испытания
Протокол испытания должен содержать следующую информацию:
a) обозначение и номинальную вместимость шприца;
b) дату проведения испытания;
c) значение "мертвого" пространства шприца, мл.
(обязательное)
МЕТОД ИСПЫТАНИЯ ВОДОНЕПРОНИЦАЕМОСТИ ПОРШНЯ,
НАКОНЕЧНИКА ШПРИЦА И СОЕДИНЕНИЯ НАКОНЕЧНИКА ШПРИЦА
С ИГЛОЙ ПОД ДАВЛЕНИЕМ
F.1. Подготовка образцов для испытания
F.1.1. Испытание водопроницаемости поршня
F.1.1.1. Общее
F.1.1.2. Шприцы типов 1 и 2
Соединяют шприц с контрольной стальной втулкой в соответствии с ИСО 594-1, обе части должны быть сухими. Соединение частей проводят, прикладывая осевое усилие 27,5 Н в течение 5 с с одновременным поворотом их на угол, не превышающий 90° с крутящим моментом не более 0,1 Н/м.
F.1.1.3. Шприцы типов 3 и 4
Извлекают иглу, при ее наличии, из упаковки шприца и соединяют наконечник шприца с контрольной стальной втулкой, как описано в
F.1.1.2.
F.1.1.4. Шприцы типов 5 и 6
Следует убедиться, что соединение между наконечником шприца и головкой иглы герметично и не протекает.
F.1.1.5. Шприцы типов 7 и 8
Нет необходимости в подготовке.
F.1.2. Испытание водонепроницаемости наконечника шприца
F.1.2.1. Общее
F.1.2.2. Шприцы типов 1 и 2
Соединяют шприц с контрольной стальной втулкой, как описано в
F.1.1.2.
F.1.2.3. Шприцы типов 3 и 4
Извлекают иглу, при ее наличии, из упаковки шприца и соединяют наконечник шприца с контрольной стальной втулкой, как описано в
F.1.1.2.
F.1.2.4. Шприцы типов 5 и 6
Нет необходимости в подготовке.
F.1.2.5. Шприцы типов 7 и 8
Нет необходимости в подготовке.
F.2. Испытание
F.2.1. Набирают в шприц объем воды, превышающий градуированную вместимость шприца. Соединение наконечника шприца и контрольной стальной втулки должно быть сухим.
F.2.2. Удаляют воздух.
F.2.3. Устанавливают объем воды в шприце, равный номинальной вместимости.
F.2.4. Заглушают контрольную стальную втулку или острие иглы соответствующим образом.
F.2.5. Прикладывают боковое усилие, равное 0,25 Н (25,5 г), к упору шток-поршня под прямым углом к его оси и раскачивают шток-поршень в радиальном направлении относительно уплотнителя (уплотнителей) поршня. Располагают шток-поршень для получения максимального отклонения от осевого положения.
F.2.6. Прикладывают осевое усилие к шприцу, чтобы давление между поршнем и цилиндром было 300 кПа. Удерживают давление в течение 30 с.
F.2.7. Регистрируют любое движение поршня в течение периода приложения давления.
F.2.8. Проверяют водонепроницаемость уплотнителя (уплотнителей) поршня шприца.
F.2.9. Проверяют водонепроницаемость соединения наконечника шприца и контрольной стальной втулки, соединения наконечника шприца и головки иглы, соединения шприца и трубки иглы.
F.3. Протокол испытания
Протокол испытания должен содержать следующую информацию:
a) обозначение и номинальную вместимость шприца;
b) дату проведения испытания;
c) наблюдалась ли утечка через поршень;
d) наблюдалась ли утечка, описанная в
F.2.9.
(обязательное)
МЕТОД ИСПЫТАНИЯ ВОЗДУХОНЕПРОНИЦАЕМОСТИ
НАКОНЕЧНИКА ШПРИЦА И СОЕДИНЕНИЯ ШПРИЦА С ГОЛОВКОЙ
ИЛИ ТРУБКОЙ ИГЛЫ ПРИ ВСАСЫВАНИИ
G.1. Подготовка образцов
Готовят образцы для испытания, как описано в
E.1.
G.2. Испытание
G.2.1. Заполняют шприц недавно вскипяченной и охлажденной водой объемом, не превышающим 25% номинальной градуированной вместимости шприца. Соединения наконечника шприца и контрольной стальной втулки или соединение шприца с иглой должны быть сухими.
G.2.2. Удаляют пузырьки воздуха.
G.2.3. Объем воды в шприце должен быть равен 25% номинальной вместимости.
G.2.4. Заглушают втулку или острие иглы соответствующим образом.
G.2.5. В положении, когда наконечник шприца направлен вниз, вытягивают шток-поршень до линии номинальной вместимости. Удерживают в течение 15 с.
G.2.6. Проверяют шприц на образование воздушных пузырьков из соединения наконечника шприца и контрольной стальной втулки или из соединения шприца и головки иглы, или из соединения шприца и трубки иглы.
Пузырьки, которые образуются в первые 5 с, не учитывают.
G.3. Протокол испытания
Протокол испытания должен содержать следующую информацию:
a) обозначение и номинальную вместимость шприца;
b) дату проведения испытания;
c) наблюдалась ли утечка через поршень;
d) наблюдалась ли утечка, описанная в
G.2.6.
(справочное)
ДЛЯ ИСПЫТАНИЯ НА ПИРОГЕННОСТЬ И ТОКСИЧНОСТЬ
Используя стерильные реагенты и аппаратуру, и асептическую методику, наполняют, как минимум, три стерильных шприца с иглами (при их наличии) до номинальной вместимости апирогенным солевым раствором в только что подготовленной дистиллированной воде, содержащим 9 г/л хлорида натрия общепризнанного аналитического качества, и хранят их при температуре

в течение 8 ч.
Выливают содержимое шприцев в сосуд из боросиликатного стекла.
(справочное)
СИМВОЛ "ПОВТОРНО НЕ ИСПОЛЬЗОВАТЬ"
I.1. Общее
Символ для обозначения изделия, предназначенного для однократного применения, знаком ИСО с регистрационным номером ИСО 7000-1051, определен в ИСО 7000. Дополнительная информация о дизайне, размерах и применении знаков ИСО представлена в ИСО 81714-1.
I.2. Исходный вариант
Символ ИСО 7000-1051 показан на
рисунке I.1. Четыре видимые центрирующие линии помогают в позиционировании знака и устанавливаются вокруг него, но не являются обязательной частью символа.
Толщина линий равна 2 мм. Размер a является номинальным размером исходного варианта всех знаков ИСО и обычно равен 50 мм. В соответствии с ИСО 7000-1051, действительный размер отличается незначительно и наружный диаметр окружности (размер h) исходного варианта равен 1,16 a, то есть 58 мм. Цвет знака не определен.
I.3. Уменьшение и увеличение исходного варианта
При применении символа допускается уменьшать или увеличивать размер исходного варианта. Номинальный размер a должен использоваться в качестве масштабирующего. Практика показала, что размер a может быть уменьшен до 3 мм без потери четкости символа. Однако следует проверять четкость каждый раз при уменьшении символа.
Примечание. Видимые центрирующие линии не являются обязательной частью символа.
для однократного применения ИСО 7000-1051
(справочное)
СВЕДЕНИЯ О СООТВЕТСТВИИ НАЦИОНАЛЬНЫХ СТАНДАРТОВ
РОССИЙСКОЙ ФЕДЕРАЦИИ ССЫЛОЧНЫМ МЕЖДУНАРОДНЫМ СТАНДАРТАМ
Обозначение ссылочного международного стандарта | Обозначение и наименование соответствующего национального стандарта |
ИСО 594-1:1986 | |
ИСО 7864:1993 | |
ИСО 9626:1991 | |
<*> Соответствующий национальный стандарт отсутствует. До его утверждения рекомендуется использовать перевод на русский язык данного международного стандарта. Перевод данного международного стандарта находится в Федеральном информационном фонде технических регламентов и стандартов. |
[1] | ИСО 7000:2004 | Символы графические, наносимые на оборудование. Перечень и сводная таблица |
| (ISO 7000:2004) | Graphical symbols for use on equipment - Index and synopsis |
[2] | ИСО 81714-1:1999 | Дизайн графических символов, применяемых в технической документации на продукцию. Часть 1. Основные правила |
| (ISO 81714-1:1999) | Design of graphical symbols for use in the technical documentation of products - Part 1: Basic rule |