Главная // Актуальные документы // ГОСТ Р (Государственный стандарт)СПРАВКА
Источник публикации
М.: Стандартинформ, 2010
Примечание к документу
Документ утратил силу с 1 августа 2016 года в связи с изданием
Приказа Росстандарта от 16.10.2015 N 1569-ст. Взамен введен в действие
ГОСТ Р ИСО 4967-2015.
Текст данного документа приведен с учетом
поправки, опубликованной в "ИУС", N 2, 2012.
Документ
введен в действие с 1 января 2011 года.
Название документа
"ГОСТ Р ИСО 4967-2009. Национальный стандарт Российской Федерации. Сталь. Определение содержания неметаллических включений. Металлографический метод с использованием эталонных шкал"
(утв. и введен в действие Приказом Ростехрегулирования от 11.12.2009 N 728-ст)
"ГОСТ Р ИСО 4967-2009. Национальный стандарт Российской Федерации. Сталь. Определение содержания неметаллических включений. Металлографический метод с использованием эталонных шкал"
(утв. и введен в действие Приказом Ростехрегулирования от 11.12.2009 N 728-ст)
Утвержден и введен в действие
по техническому регулированию
и метрологии
от 11 декабря 2009 г. N 728-ст
НАЦИОНАЛЬНЫЙ СТАНДАРТ РОССИЙСКОЙ ФЕДЕРАЦИИ
СТАЛЬ
ОПРЕДЕЛЕНИЕ СОДЕРЖАНИЯ НЕМЕТАЛЛИЧЕСКИХ ВКЛЮЧЕНИЙ.
МЕТАЛЛОГРАФИЧЕСКИЙ МЕТОД С ИСПОЛЬЗОВАНИЕМ ЭТАЛОННЫХ ШКАЛ
Steel. Determination of content of nonmetallic inclusions.
Micrographic method using standard diagrams
ISO 4967:1998
Steel - Determination of content of nonmetallic
inclusions - Micrographic method using standard diagrams
(IDT)
ГОСТ Р ИСО 4967-2009
Дата введения
1 января 2011 года
Цели и принципы стандартизации в Российской Федерации установлены Федеральным
законом от 27 декабря 2002 г. N 184-ФЗ "О техническом регулировании", а правила применения национальных стандартов Российской Федерации -
ГОСТ Р 1.0-2004 "Стандартизация в Российской Федерации. Основные положения".
1. Подготовлен и внесен Техническим комитетом по стандартизации ТК 145 "Методы контроля металлопродукции" на основе собственного аутентичного перевода стандарта, указанного в пункте 3.
2. Утвержден и введен в действие
Приказом Федерального агентства по техническому регулированию и метрологии от 11 декабря 2009 г. N 728-ст.
3. Настоящий стандарт идентичен международному стандарту ИСО 4967:1998 "Сталь. Определение содержания неметаллических включений. Металлографический метод с использованием эталонных шкал" (ISO 4967:1998 "Steel - Determination of content of nonmetallic inclusions - Micrographic method using standard diagrams").
4. Введен впервые.
Информация об изменениях к настоящему стандарту публикуется в ежедневно издаваемом информационном указателе "Национальные стандарты", а текст изменений и поправок - в ежемесячно издаваемых информационных указателях "Национальные стандарты". В случае пересмотра (замены) или отмены настоящего стандарта соответствующее уведомление будет опубликовано в ежемесячно издаваемом информационном указателе "Национальные стандарты". Соответствующая информация, уведомление и тексты размещаются также в информационной системе общего пользования - на официальном сайте Федерального агентства по техническому регулированию и метрологии в сети Интернет.
Настоящий стандарт устанавливает металлографический метод определения содержания неметаллических включений в катаной или кованой стали, имеющей степень обжатия не менее чем 3, с использованием эталонных шкал.
Для автоматных сталей и сталей с контролируемой формой сульфидов эталонные шкалы, приведенные в настоящем стандарте
(Приложение A), неприменимы.
Допускается определение содержания неметаллических включений с использованием методов автоматического анализа изображений
(Приложение D).
Метод заключается в сравнении наблюдаемого поля зрения с эталонной шкалой, приведенной в
Приложении A, и оценке каждого типа включений в отдельности. В случае использования анализа изображений поля оценивают в соответствии с зависимостями, приведенными в
Приложении D.
Изображения на эталонной шкале соответствуют квадратным полям зрения площадью 0,5 мм2 каждое, наблюдаемым на продольной полированной плоскости при увеличении x 100.
В соответствии с формой и распределением включений эталонные изображения делятся на пять основных групп, обозначаемых буквами A, B, C, D и DS.
Эти пять групп характеризуют наиболее часто наблюдаемые типы и морфологические признаки включений:
- Группа A (включения типа сульфидов) - сильно деформированные отдельные частицы серого цвета, с широким диапазоном коэффициента формы (отношение длина/ширина) и обычно с закругленными концами;
- Группа B (включения типа алюминатов) - многочисленные недеформируемые частицы (не менее трех), многоугольной формы, с низким коэффициентом формы (менее трех), черного или голубоватого цвета, ориентированные в направлении деформации;
- Группа C (включения типа силикатов) - сильно деформированные отдельные черные или темно-серые частицы, с широким диапазоном коэффициента формы (не менее трех) и, как правило, острыми концами;
- Группа D (включения типа глобулярных оксидов) - недеформируемые, угловатые или круглые, черные или голубоватые, беспорядочно распределенные частицы, с низким коэффициентом формы (менее трех);
- Группа DS (включения типа одиночных глобулярных оксидов) - круглые или почти круглые одиночные частицы диаметром не менее 13 мкм.
По приведенным эталонным шкалам могут быть также оценены и другие (нетрадиционные) типы включений, при условии сходства их морфологии (формы, размеров, распределения и количества) с перечисленными выше пятью типами включений, и указания их химической природы. Например, глобулярные сульфиды следует оценивать как включения типа D с указанием в протоколе испытаний обозначения их состава с использованием нижнего индекса (например

). Обозначение

означает, что это сульфиды кальция, а обозначение

- глобулярные включения сульфидов редкоземельных элементов.

- глобулярные двухфазные включения, например алюминат, окруженный сульфидом кальция.
Такие соединения, как бориды, карбиды, нитриды и карбонитриды, также могут быть оценены по этим шкалам при условии сходства их морфологии с перечисленными выше пятью типами включений и указания их химической природы, как было описано в предыдущем абзаце.
Примечание. Для установления природы нетрадиционных включений перед проведением испытания целесообразно провести их исследование при увеличении более x 100.
Каждая основная группа включений, показанных на шкале, состоит из двух подгрупп, каждая из которых содержит шесть эталонных изображений, характеризующих увеличение содержания включений. Деление на подгруппы проведено с целью дать примеры различной толщины неметаллических включений.
Эталонные шкалы для различных групп включений приведены в
Приложении A.
Слева от каждого эталонного изображения указан балл включений i, увеличивающийся от 0,5 до 3 с увеличением длины включения или строчки включений (группы A, B и C) или количества включений (группа D), или их диаметра (группа DS), как указано в таблице 1, а также толщины, как указано в
таблице 2. Например обозначение эталонного изображения A2 указывает, что форма включений, наблюдаемых на микроскопе, соответствует группе A, а их распределение и количество соответствует баллу 2.
Таблица 1
Предельные минимальные значения для балльной оценки
Балл, указанный на шкале, i | Группа включений |
A | B | C | D | DS |
Полная длина, мкм | Полная длина, мкм | Полная длина, мкм | Количество | Диаметр, мкм |
0,5 | 37 | 17 | 18 | 1 | 13 |
1,0 | 127 | 77 | 76 | 4 | 19 |
1,5 | 261 | 184 | 176 | 9 | 27 |
2,0 | 436 | 342 | 320 | 16 | 38 |
2,5 | 649 | 555 | 510 | 25 | 53 |
3,0 | 898 | 822 | 746 | 36 | 76 |
(< 1181) | (< 1147) | (< 1029) | (<49) | (< 107) |
Примечание. Приведенные в настоящей таблице значения длины для включений групп A, B и C были вычислены по формулам, приведенным в Приложении D, и затем округлены до ближайшего целого числа. |
Таблица 2
Параметры толщины включений
Тип включений | Тонкие | Толстые |
Минимальная ширина, мкм | Максимальная ширина, мкм | Минимальная ширина, мкм | Максимальная ширина, мкм |
A | 2 | 4 | 4 | 12 |
B | 2 | 9 | 9 | 15 |
C | 2 | 5 | 5 | 12 |
D | 3 | 8 | 8 | 13 |
Примечание. Для включений типа DS максимальный размер определяется диаметром. |
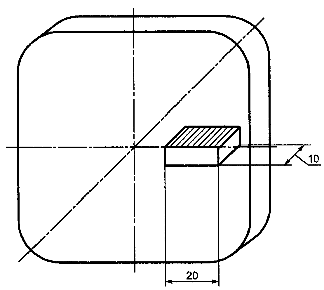
Форма включений в значительной степени зависит от степени деформации стали; поэтому сравнительные измерения можно проводить только на образцах, отобранных от продукции с одинаковой степенью деформации. Полированная поверхность образца, используемого для определения содержания включений, должна составлять приблизительно 200 мм2 (20 x 10 мм). Она должна быть параллельна продольной оси изделия и расположена в середине расстояния между его наружной поверхностью и центром.
Методика отбора образцов должна быть указана в стандартах и технических документах на металлопродукцию. В случае листового проката полированная поверхность образца должна находиться на расстоянии, равном приблизительно 1/4 ширины листа от края.
При отсутствии таких указаний должна быть использована следующая методика отбора образцов:
- для прутка или заготовки диаметром свыше 40 мм исследуют поверхность части диаметрального сечения, расположенной посередине между наружной поверхностью и центром
(рисунок 1);
Рисунок 1. Образец от прутка или заготовки диаметром
или длиной стороны свыше 40 мм
- для прутка диаметром свыше 25 до 40 мм включительно исследуют поверхность половины диаметрального сечения (от центра до края образца)
(рисунок 2);
Рисунок 2. Образец от прутка или заготовки диаметром
или длиной стороны свыше 25 до 40 мм включительно
- для прутка диаметром не более 25 мм исследуют поверхность полного диаметрального сечения, длина которой достаточна для получения площади около 200 мм2 (рисунок 3);
Рисунок 3. Образец от прутка диаметром не более 25 мм
- для листов толщиной не более 25 мм исследуют поверхность всего продольного сечения, расположенную на расстоянии, равном 1/4 ширины листа r от его края
(рисунок 4);
r - ширина
Рисунок 4. Образец от листа толщиной не более 25 мм
- для листов толщиной свыше 25 до 50 мм включительно исследуют поверхность половины толщины листа от его наружной поверхности до центра, расположенную на расстоянии, равном 1/4 ширины листа r от его края
(рисунок 5);
r - ширина
Рисунок 5. Образец от листа толщиной свыше 25
до 50 мм включительно
- для листов толщиной свыше 50 мм исследуют поверхность 1/4 толщины листа, расположенную на половине расстояния между наружной поверхностью и серединой толщины и на расстоянии, равном 1/4 ширины листа r от его края
(рисунок 6).
r - ширина
Рисунок 6. Образец от листа толщиной свыше 50 мм
Количество отбираемых образцов определяют в соответствии со стандартами на продукцию или специальным соглашением.
Для любой другой продукции методика отбора образцов должна быть оговорена в соглашении между сторонами.
Образец вырезают таким образом, чтобы получить требуемую поверхность для исследования. Чтобы получить плоскую поверхность и исключить закругление кромок образца при полировании, образец может быть установлен в зажимное приспособление или подвергнут монтировке.
При полировании образцов важно исключить выкрашивание или деформацию включений, а также загрязнение полированной поверхности. Поверхность образца должна быть по возможности чистой, а форма включений не должна изменяться. Эти требования особенно важно соблюдать, когда оцениваемые включения имеют малые размеры. Для полирования рекомендуется использовать алмазные пасты. В некоторых случаях может потребоваться термическая обработка образца перед полированием для придания ему максимальной твердости.
5. ОПРЕДЕЛЕНИЕ СОДЕРЖАНИЯ ВКЛЮЧЕНИЙ
5.1. Метод наблюдения
Исследование на микроскопе проводят одним из двух методов:
- проецированием изображения на матовое стекло;
- наблюдением через окуляр.
Выбранный метод следует применять в течение всего испытания.
Если изображение проецируется на матовое стекло или аналогичное устройство, то увеличение на матовом стекле должно быть в пределах x (100 +/- 2). Нанесенный на прозрачную пластиковую накладку
(рисунок 7) квадрат со стороной, равной 71 мм (площадь которого соответствует истинной площади 0,5 мм2), помещают на проекционный экран из матового стекла или за экраном. Изображение, наблюдаемое внутри квадрата, сравнивают с изображениями на эталонной шкале
(Приложение A).
Рисунок 7. Измерительная сетка для прозрачных накладок
или окулярных вставок
В случае исследования включений через окуляры микроскопа следует установить в микроскоп окулярную вставку с измерительной сеткой, приведенной на
рисунке 7, располагая ее таким образом, чтобы квадрат площадью 0,5 мм2 находился в плоскости изображения.
Примечание. В отдельных случаях может быть использовано увеличение более x 100, при условии, что такое же увеличение было использовано для эталонных шкал, о чем указано в протоколе испытаний.
5.2. Методы оценки
Для оценки включений применяют два метода.
Исследуют всю полированную поверхность образца и для каждого типа включений как тонких, так и толстых, определяют наихудшее поле, т.е. поле, соответствующее наиболее высокому баллу эталонной шкалы.
5.2.2. Метод B
Исследуют всю полированную поверхность образца и каждое поле сравнивают с эталонной шкалой. Регистрируют балл каждого типа включений как тонких, так и толстых (указанный слева от эталонных изображений), который в наибольшей степени соответствует исследуемому полю.
Допускается по соглашению с потребителем проводить частичное исследование образца путем оценки уменьшенного числа полей, распределенных по определенной схеме. Как число исследованных полей, так и их распределение должны быть оговорены в соглашении между сторонами.
5.2.3. Общие правила для методов A и B
Каждое наблюдаемое поле сравнивают с эталонными изображениями. Если оценка включений в наблюдаемом поле находится между двумя эталонными изображениями, то ее округляют до более низкого балла.
Если наблюдаются отдельные включения или строчки включений, длина которых превышает ширину поля (0,71 мм), а также если ширина или диаметр включений превышают максимальные значения для толстых включений
(таблица 2), то такие включения следует оценивать как сверхразмерные по длине, ширине или диаметру. Размеры таких включений или строчек должны указываться в протоколе испытаний отдельно. Однако эти включения следует учитывать в общей оценке данного поля.
Воспроизводимость измерений улучшается при проведении фактических измерений (длины включений типов A, B и C, диаметра включений типа DS) и подсчетов включений (типа D). Для таких измерений следует использовать прозрачную накладку или окулярную вставку (см.
рисунок 7), предельные значения, приведенные в
таблицах 1 и
2, а также морфологические описания по
разделу 2.
Нетрадиционные типы включений оценивают по эталонным изображениям той группы (A, B, C, D, DS), которая в наибольшей степени соответствует их морфологии. Длину, количество, ширину или диаметр включений сравнивают с эталонными изображениями каждой группы включений, приведенными в
Приложении A, или определяют суммарную длину, количество, толщину или диаметр включений и используют
таблицы 1 и
2 для установления балла, характеризующего содержание включений, и класса толщины (тонкие, толстые или сверхразмерные). Затем указывают природу нетрадиционных включений посредством нижнего индекса в обозначении типа включений. Определение нижнего индекса приводится в протоколе испытаний.
Для включений типов A, B и C два отдельных включения или две строчки включений длиной

и

, расположенные или не расположенные на одной линии, рассматривают как одно включение или одну строчку, если расстояние d менее или равно 40 мкм, а расстояние s (расстояние между центрами включений или строчек) менее или равно 10 мкм (рисунки 8 и
9).
d <= 40 мкм
s <= 10 мкм
Рисунок 8. Включения типов A и C
Рисунок 9. Включения типа B
В случае строчки, содержащей включения различной ширины, ширина строчки считается равной ширине наибольшего включения.
6. ПРЕДСТАВЛЕНИЕ РЕЗУЛЬТАТОВ
6.1. Общие положения
Если в стандартах на продукцию не оговорено иное, то результаты испытания могут быть представлены следующим образом.
Результаты выражают номерами баллов, относящимися к каждому образцу, на основе которых вычисляют среднеарифметическое значение балла для плавки для каждого типа и каждой толщины включений. Этот метод используют в сочетании с методом A, приведенным в
5.2.1.
6.2. Метод A
Приводят балл, соответствующий наихудшему полю, для каждого типа и каждой толщины включений
(Приложение B).
После стандартного обозначения типа включений указывают балл наихудшего поля. Присутствие толстых включений указывают буквой e, а присутствие сверхразмерных включений
(5.2.3) - буквой s.
Примеры: A 2; B 1e; C 3; D 1; B 2s; DS 0,5.
Для каждого нижнего индекса, использованного для идентификации нетрадиционных типов включений, в протоколе испытаний должны быть приведены определения.
6.3. Метод B
Определяют полное количество полей, оцененных каждым баллом, для каждого типа и каждой толщины включений при данном числе исследованных полей N.
По соглашению сторон для представления результатов может быть использован полный набор значений числа полей, соответствующих каждому баллу, для различных типов включений, например в виде суммарного показателя содержания включений

, или показателя среднего содержания включений

.
Пример. Для включений типа A принимают:

- число полей, оцененных баллом 0,5;

- число полей, оцененных баллом 1;

- число полей, оцененных баллом 1,5;

- число полей, оцененных баллом 2;

- число полей, оцененных баллом 2,5;

- число полей, оцененных баллом 3;
тогда
где N - полное число исследованных полей.
Типичные примеры представления результатов приведены в
Приложении C.
Протокол испытаний должен содержать:
a) ссылку на настоящий стандарт;
b) марку стали и номер плавки;
c) вид продукции и ее размеры;
d) тип образца и расположение исследованной плоскости;
e) выбранные методы (метод наблюдения, метод оценки, метод обработки результатов);
f) увеличение, если оно более чем x 100;
g) число исследованных полей или полную исследованную площадь;
h) результаты исследования (включая количество, размер и тип сверхразмерных включений или строчек);
i) определения нижних индексов, использованных для нетрадиционных типов включений.
(обязательное)
ЭТАЛОННЫЕ ШКАЛЫ ИСО ДЛЯ ВКЛЮЧЕНИЙ ТИПОВ A, B, C, D И DS
(включения типа сульфидов)
(включения типа алюминатов)
(включения типа силикатов)
(включения типа глобулярных оксидов)
(включения типа одиночных глобулярных оксидов)
Диаметр от 13 до 76 мкм включительно
Минимальный диаметр
(справочное)
ОЦЕНКА ПОЛЯ И СВЕРХРАЗМЕРНЫХ ВКЛЮЧЕНИЙ ИЛИ СТРОЧЕК
B.1. Пример оценки поля
Верхний слева чертеж на рисунке B.1 показывает поле, наблюдаемое при увеличении x 100, на котором можно различить четыре типа неметаллических включений. В зависимости от их формы и распределения эти включения классифицируют как следующие четыре типа:
- тип A, сульфиды;
- тип B, алюминаты (разрушенные включения);
- тип C, силикаты;
- тип DS, одно глобулярное включение.
Наблюдаемое поле оценивают путем его сравнения для каждого типа включений с наиболее близким эталонным изображением, не учитывая другие типы включений. Такая оценка дает следующие баллы: A 2, B 2, C 1 и DS 2,5.
Рисунок B.1. Оценка поля
B.2. Пример оценки сверхразмерных включений или строчек
Если включение или строчка являются сверхразмерными только по длине, то при использовании метода B часть включения или строчки, находящуюся в пределах поля, а при использовании метода A 0,71 мм прибавляют к длине всех остальных включений такого же типа и такой же толщины, присутствующих в этом поле
(рисунок B.2a).
Если включение или строчка являются сверхразмерными по ширине или диаметру (включения типа D), то это включение следует оценивать как толстое включение для данного поля
(рисунок B.2b).
Если количество включений типа D более 49, то балл следует вычислять по выражению, приведенному в
Приложении D.
Для включений типа DS диаметром более 0,107 мм балл можно вычислить по выражению, приведенному в
Приложении D.
Рисунок B.2. Оценка поля со сверхразмерными
включениями или строчками
(справочное)
ТИПИЧНЫЙ ПРИМЕР ПРЕДСТАВЛЕНИЯ РЕЗУЛЬТАТОВ (ПОЛНОЕ ЧИСЛО
ПОЛЕЙ, ОЦЕНЕННЫХ КАЖДЫМ БАЛЛОМ ДЛЯ КАЖДОГО ТИПА ВКЛЮЧЕНИЙ,
ПРИ ДАННОМ КОЛИЧЕСТВЕ ИССЛЕДОВАННЫХ ПОЛЕЙ)
C.1. Баллы, соответствующие каждому полю и типу включений
В таблице C.1 приведен пример результатов такой оценки для 20 исследованных полей. Обычно исследуют не менее 100 полей.
Таблица C.1
Баллы
Поле | Тип включений |
A | B | C | D | DS |
тонкие | толстые | тонкие | толстые | тонкие | толстые | тонкие | толстые |
1 | - | 0,5 | 1 | - | 0,5 | - | - | - | - |
2 | 0,5 | - | - | - | 0,5 | - | - | - | - |
3 | 0,5 | - | 0,5 | - | - | 0,5 | - | - | 0,5 |
4 | 1 | - | - | 0,5 | 1,5 | - | - | 0,5 | - |
5 | - | - | - | 1,5 | - | 1 | - | - | - |
6 | 1,5 | - | - | - | - | - | 0,5 | - | 1 |
7 | - | 1s | 1,5 | - | - | 0,5 | - | - | - |
8 | - | 1 | - | 1 | 1 | - | - | 1 | - |
9 | 0,5 | - | 0,5 | - | 0,5 | - | - | - | - |
10 | - | 0,5 | 1 | - | 0,5 | - | - | - | - |
11 | 1 | - | 0,5 | - | - | 0,5 | - | - | 1 |
12 | 0,5 | - | - | - | - | - | - | - | - |
13 | - | - | - | 0,5 | - | 1,5 | 1 | - | - |
14 | 2 | - | - | 1 | - | - | - | - | - |
15 | - | - | - | - | 0,5 | - | - | - | - |
16 | 0,5 | - | 1 | - | - | 1 | - | - | - |
17 | 0,5 | - | 0,5 | - | - | - | - | 0,5 | 1,5 |
18 | - | - | - | 1,5 | 1 | - | - | - | - |
19 | - | 2 | - | 3 | 0,5 | - | 0,5 | - | - |
20 | - | - | 0,5 | - | - | 0,5 | - | - | - |
C.2. Полное число полей каждого балла для каждого типа включений
Из приведенных выше результатов определяют полное число полей, оцененных каждым баллом, для каждого типа включений. Эти значения полного числа полей приведены в таблице C.2.
Таблица C.2
Поле | Тип включений |
A | B | C | D | DS |
тонкие | толстые | тонкие | толстые | тонкие | толстые | тонкие | толстые |
0,5 | 6 | 2 | 5 | 2 | 6 | 4 | 2 | 2 | 1 |
1 | 2 | 1 | 3 | 2 | 2 | 2 | 1 | 1 | 2 |
1,5 | 1 | 0 | 1 | 2 | 1 | 1 | 0 | 0 | 1 |
2 | 1 | 1 | 0 | 0 | 0 | 0 | 0 | 0 | 0 |
2,5 | 0 | 0 | 0 | 0 | 0 | 0 | 0 | 0 | 0 |
3 | 0 | 0 | 0 | 1 | 0 | 0 | 0 | 0 | 0 |
Примечание. Включения, длина которых превышает размер поля, а также включения, ширина или диаметр которых больше значений, приведенных в настоящей таблице, должны быть оценены, используя эталонные шкалы, и указаны отдельно в протоколе испытаний. |
C.3. Вычисление показателя общей загрязненности включениями

и показателя средней загрязненности

Используя полное число полей, приведенное в
таблице C.2, вычисляют соответствующие значения показателей полной и средней загрязненности для каждого типа включений и каждой толщины.
C.3.1. Для включений типа A
a - тонкие включения
где N - полное число исследованных полей (см. C.2).
b - толстые включения

с указанием 1s. (C.4)
C.3.2. Для включений типа B
a - тонкие включения
b - толстые включения
C.3.3. Для включений типа C
a - тонкие включения
b - толстые включения
C.3.4. Для включений типа D
a - тонкие включения
b - толстые включения

с указанием 1s. (C.16)
C.3.5. Для включений типа DS
C.4. Весовой коэффициент
С целью получения показателя общей чистоты стали, основанного на количестве включений, рекомендуется использовать весовой коэффициент для каждого балла.
Могут быть использованы весовые коэффициенты, приведенные в таблице C.3.
Таблица C.3
Весовые коэффициенты
Балл i | Весовой коэффициент  |
0,5 | 0,05 |
1 | 0,1 |
1,5 | 0,2 |
2 | 0,5 |
2,5 | 1 |
3 | 2 |
Показатель чистоты

вычисляют по следующей формуле
где

- весовой коэффициент;

- число полей балла i;
S - полная исследованная площадь образца, мм2.
(справочное)
ЗАВИСИМОСТИ МЕЖДУ БАЛЛАМИ ЭТАЛОННОЙ ШКАЛЫ
И ИЗМЕРЕНИЯМИ ВКЛЮЧЕНИЙ
Зависимости между баллами эталонной шкалы и измерениями включений (длиной или диаметром в микрометрах, или количеством на поле) для включений групп A, B, C, D и DS показаны на графиках, приведенных ниже. Для вычисления балла из результата измерения или измеряемых характеристик по баллу, например, если необходимо оценивать включения выше третьего балла, используют следующие выражения.
D.1. Вычисление баллов по результатам измерений
Для сульфидов группы A по длине L, мкм
lg i = (0,5605 lg L) - 1,179. (D.1)
Для алюминатов группы B по длине L, мкм
lg i = (0,4626 lg L) - 0,871. (D.2)
Для силикатов группы C по длине L, мкм
lg i = (0,4807 lg L) - 0,904. (D.3)
Для глобулярных оксидов группы D по количеству на поле n
lg i = (0,5 lg n) - 0,301. (D.4)
Для одиночного глобулярного оксида типа DS по диаметру d, мкм
i = (3,311 lg d) - 3,22. (D.5)
За исключением включений типа DS, для получения i следует использовать антилогарифмы.
D.2. Вычисление измеряемых характеристик по баллу
Для сульфидов группы A длина L, мкм
lg L = (0,5605 lg i) + 2,104. (D.6)
Для алюминатов группы B по длине L, мкм
lg L = (2,1616 lg i) + 1,884. (D.7)
Для силикатов группы C по длине L, мкм
lg L = (2,08 lg i) + 1,88. (D.8)
Для глобулярных оксидов группы D по количеству на поле n
lg n = (2 lg i) + 0,602. (D.9)
Для одиночного глобулярного оксида типа DS по диаметру d, мкм
lg d = (0,302 i) + 0,972. (D.10)
Для получения измеряемых значений следует использовать антилогарифмы.
Для всех приведенных выше уравнений линейной регрессии значения

превышают 0,9999.
Группа A (включения типа сульфидов)
Группа B (включения типа алюминатов)
Группа C (включения типа силикатов)
Группа D (включения типа глобулярных оксидов)
Группа DS (включения типа одиночных глобулярных оксидов)