Главная // Актуальные документы // ГОСТ Р (Государственный стандарт)
СПРАВКА
Источник публикации
М.: Стандартинформ, 2011
Примечание к документу
Документ утратил силу с 1 июля 2018 года в связи с изданием Приказа Росстандарта от 08.11.2017 N 1707-ст. Взамен введен в действие ГОСТ Р МЭК 61191-2-2017.

Документ введен в действие с 1 июля 2011 года.
Название документа
"ГОСТ Р МЭК 61191-2-2010. Национальный стандарт Российской Федерации. Печатные узлы. Часть 2. Поверхностный монтаж. Технические требования"
(утв. Приказом Росстандарта от 23.12.2010 N 1009-ст)

"ГОСТ Р МЭК 61191-2-2010. Национальный стандарт Российской Федерации. Печатные узлы. Часть 2. Поверхностный монтаж. Технические требования"
(утв. Приказом Росстандарта от 23.12.2010 N 1009-ст)


Содержание


Утвержден и введен в действие
Приказом Федерального агентства
по техническому регулированию
и метрологии
от 23 декабря 2010 г. N 1009-ст
НАЦИОНАЛЬНЫЙ СТАНДАРТ РОССИЙСКОЙ ФЕДЕРАЦИИ
ПЕЧАТНЫЕ УЗЛЫ
ЧАСТЬ 2
ПОВЕРХНОСТНЫЙ МОНТАЖ. ТЕХНИЧЕСКИЕ ТРЕБОВАНИЯ
Printed board assemblies. Part 2. surface mount.
Technikal requirements
IEC 61191-2:1998
Printed board assemblies - Part 2: Sectional
specification - Requirements for surface mount soldered
assemblies
(IDT)
ГОСТ Р МЭК 61191-2-2010
Группа Э02
ОКС 31.190
Дата введения
1 июля 2011 года
Предисловие
Цели и принципы стандартизации в Российской Федерации установлены Федеральным законом от 27 декабря 2002 г. N 184-ФЗ "О техническом регулировании", а правила применения национальных стандартов Российской Федерации - ГОСТ Р 1.0-2004 "Стандартизация в Российской Федерации. Основные положения".
Сведения о стандарте
1. Подготовлен Автономной некоммерческой организацией "Измерительно-информационные технологии" (АНО "Изинтех") на основе аутентичного перевода на русский язык стандарта, указанного в пункте 3. Перевод выполнен российской комиссией экспертов МЭК/ТК 91.
2. Внесен Техническим комитетом по стандартизации ТК 420 "Базовые несущие конструкции, печатные платы, сборка и монтаж электронных модулей", подкомитетом ПК-3 "Технология сборки и монтажа радиоэлектронных модулей".
3. Утвержден и введен в действие Приказом Федерального агентства по техническому регулированию и метрологии от 23 декабря 2010 г. N 1009-ст.
Настоящий стандарт идентичен международному стандарту МЭК 61191-2:1998 "Печатные узлы. Часть 2. Групповые технические условия. Требования к печатным узлам, предназначенным для поверхностного монтажа" (IEC 61191-2:1998 "Printed board assemblies - Part 2: Sectional specification - Requirements for surface mount soldered assemblies"). Наименование настоящего стандарта изменено относительно наименования указанного международного стандарта для приведения в соответствие с ГОСТ Р 1.5-2004 (пункт 3.5).
Настоящий стандарт, который является одной из частей стандарта МЭК 61191 под общим названием "Печатные узлы", рекомендуется применять совместно с остальными, перечисленными ниже частями:
Часть 1. Поверхностный монтаж и связанные с ним технологии. Общие технические требования;
Часть 3. Монтаж в сквозные отверстия. Технические требования;
Часть 4. Монтаж контактов. Технические требования.
В справочном Приложении ДА настоящего стандарта приведены сведения о соответствии ссылочных международных стандартов национальным стандартам Российской Федерации, которые рекомендуется использовать вместо ссылочных международных стандартов.
4. Введен впервые.
Информация об изменениях к настоящему стандарту публикуется в ежегодно издаваемом информационном указателе "Национальные стандарты", а текст изменений и поправок - в ежемесячно издаваемых информационных указателях "Национальные стандарты". В случае пересмотра (замены) или отмены настоящего стандарта соответствующее уведомление будет опубликовано в ежемесячно издаваемом информационном указателе "Национальные стандарты". Соответствующая информация, уведомление и тексты размещаются также в информационной системе общего пользования - на официальном сайте Федерального агентства по техническому регулированию и метрологии в сети Интернет.
1. ОБЩИЕ ПОЛОЖЕНИЯ
1.1. Область применения
Настоящий стандарт устанавливает требования к паяным соединениям поверхностного монтажа. Требования относятся к печатным узлам, которые полностью являются печатными узлами поверхностного монтажа, и к печатным узлам, которые включают в себя части с поверхностным монтажом, а также части, собираемые другими сопутствующими технологиями (например, монтаж в сквозные отверстия, монтаж кристаллов, монтаж контактов и т.д.).
1.2. Классификация
Настоящий стандарт признает, что электронные и электрические печатные узлы классифицируются по предполагаемому применению конечного изделия. Для отражения различий в технологичности, сложности, требованиях к эксплуатационным характеристикам и периодичности проверок (контроля/испытаний) установлены три общих класса изделий:
Класс A: Электронные изделия общего назначения;
Класс B: Специализированная электронная аппаратура;
Класс C: Электронная аппаратура ответственного назначения.
Заказчик печатных узлов является ответственным за определение класса, к которому принадлежит изделие. Рекомендуется признавать, что могут быть перекрытия аппаратуры между классами. Контракт должен задавать требуемый класс и указывать на любые исключения или дополнительные требования к параметрам в соответствующем месте (см. раздел 4 МЭК 61191-1).
1.3. Интерпретация требований
Если заказчиком не задано иное, то слово "должен" означает, что требование является обязательным. Отклонение от любого требования "должен" требует письменного согласия заказчика, например в сборочном чертеже, технических условиях или условии контракта. Термин "обязан" используется только для описания неизбежных ситуаций.
Слово "рекомендуется" используется для указания рекомендации или консультативного предписания. Слово "допускается" означает возможное состояние. Термины "рекомендуется" и "допускается" выражают необязательные условия. Глагол в будущем времени (будет) отражает заявления цели. Обратитесь к Директивам ИСО/МЭК, часть 3.
2. НОРМАТИВНЫЕ ССЫЛКИ
Следующие нормативные документы содержат положения, которые через ссылки, сделанные в настоящем стандарте, устанавливают положения данной части МЭК 61191. В момент публикации указанные издания были действующими. Все нормативные документы подвергаются пересмотру, и договаривающиеся стороны, вступающие в договорные отношения на основе данной части МЭК 61191, поощряются к рассмотрению возможности применения самых последних редакций нормативных документов, указанных ниже.
МЭК 61191-1:1998 Печатные узлы. Часть 1. Общие технические требования к паяным электрическим и электронным сборкам поверхностного монтажа и связанным с ним технологиям сборки (IEC 61191-1:1998 Printed board assemblies - Part 1: Generic specification - Requirements for soldered electrical and electronic assemblies using surface mount and related assembly technologies).
3. ОБЩИЕ ТРЕБОВАНИЯ
Требования раздела 4 МЭК 61191-1 являются обязательной частью данных технических требований.
4. ПОВЕРХНОСТНЫЙ МОНТАЖ КОМПОНЕНТОВ
Данный раздел относится к монтажу компонентов, которые размещаются на поверхности, предназначенной для ручной или машинной пайки, и включает в себя компоненты, предназначенные для поверхностного монтажа, а также компоненты монтажа в сквозные отверстия, которые были приспособлены для технологии поверхностного монтажа.
4.1. Требования к совмещению
На всех стадиях проектирования и монтажа должен быть обеспечен достаточный контроль технологического процесса на месте, который способен после пайки выполнить совмещение галтелей паяных соединений, определенных в 5.2.
Существенные факторы, влияющие на требования, включают в себя конструкцию контактной площадки и проводника, расстояния между компонентами, паяемость компонента и контактной площадки, количество и совмещение паяльной пасты или клея, точность установки компонента.
4.1.1. Контроль технологического процесса
Если контроль над технологическим процессом не обеспечивает соответствия требованиям 4.1 и указаниям Приложения А, то подробные требования Приложения А являются обязательными.
4.2. Требования к компонентам поверхностного монтажа
Окончательная формовка выводов компонентов поверхностного монтажа с выводами должна проводиться до монтажа. Выводы должны формоваться способом, который не повреждает или не портит место заделки вывода в корпус и при котором они могут паяться на месте последующими технологическими методами, не приводящими к остаточным напряжениям, понижающим надежность. Если выводы корпусов с двухрядным расположением выводов, плоских корпусов или других многовыводных компонентов не совмещаются после обработки или транспортировки, их допускается исправлять для обеспечения параллельности и совмещения перед пайкой, сохраняя при этом целостность заделки вывода в корпус.
4.2.1. Формовка выводов корпусов Flat pack
Выводы на противоположных сторонах корпусов Flat pack поверхностного монтажа должны формоваться так, чтобы непараллельность между основной поверхностью компонента и поверхностью печатной платы (т.е. наклон компонента) была минимальной. Наклон компонента допустим при условии, что пространственное расположение не превышает предела максимального зазора в 2 мм (см. рисунок 1).
Рисунок 1. Формовка вывода поверхностно монтируемого
компонента
4.2.2. Изгибы выводов поверхностно монтируемого компонента
Во время формовки выводы должны закрепляться для защиты места заделки вывода с корпусом. Изгибы не должны заходить в место заделки (см. рисунок 1). Радиус изгиба вывода R должен быть более 1T (где T - номинальная толщина вывода). Угол части вывода между верхним и нижним изгибами относительно монтажной площадки должен быть: минимальный - 45°, максимальный - 90°.
4.2.2.1. Деформация вывода поверхностно монтируемого компонента
Деформация вывода (случайный изгиб) допускается, если:
a) нет признака короткого замыкания или возможного короткого замыкания;
b) место заделки вывода в корпус или сварное соединение вывода не повреждено деформацией;
c) требование минимального электрического расстояния не нарушено;
d) верхняя часть вывода не выходит за верхнюю часть корпуса; предварительно сформованные изгибы в виде петли для снятия напряжения могут выходить за верхнюю часть корпуса; однако предельная высота должна быть ограничена;
e) скручивание конца вывода при его наличии в результате изгибов не должно превышать двукратной толщины вывода (2T);
f) параллельность поверхностей не выходит за предельные значения.
4.2.2.2. Расплющенные выводы
Компоненты с аксиальными выводами круглого сечения допускается расплющивать по реальному посадочному месту при использовании их для поверхностного монтажа. Толщина расплющенного вывода должна быть не меньше 40% начального диаметра. На расплющенные участки выводов не распространяется требование к 10% деформации, заданное в 6.4.2 МЭК 61191-1.
4.2.2.3. Компоненты с двухрядным размещением выводов (DIP-корпуса)
DIP-корпуса могут применяться в технологии поверхностного монтажа при условии, что их выводы формуются применительно к требованиям поверхностного монтажа. Операции формовки выводов должны выполняться штампами с системами формовки и обрезки. Ручная формовка или подрезка выводов запрещена.
4.2.2.4. Компоненты, не формуемые для поверхностного монтажа
Плоские корпуса с выводами для монтажа в отверстия, транзисторы, металлические мощные корпуса и другие компоненты с неаксиальными выводами не должны применяться в технологии поверхностного монтажа, если их выводы не формуются с удовлетворением требований к формовке выводов компонентов поверхностного монтажа. Такое применение должно быть согласовано между заказчиком и изготовителем.
4.3. Небольшие компоненты с двумя выводами
Подробные требования к монтажу небольших компонентов с двумя выводами устанавливаются в следующих пунктах.
4.3.1. Монтаж складыванием в стопку
Если сборочный чертеж допускает монтаж компонентов в стопку, то компоненты не должны создавать "мост" между другими элементами или компонентами, такими как контакты или другие чип-компоненты.
4.3.2. Компоненты с контактами, осажденными на внешней поверхности
Компоненты с электрическими контактами, осажденными на внешней поверхности (такие как чип-резисторы), должны монтироваться так, чтобы их лицевая поверхность была направлена наружу от печатной платы или подложки.
4.4. Позиционирование корпуса компонента с выводами
Компоненты, монтируемые на защищенные поверхности, и изолированные компоненты, которые устанавливаются над проводящим рисунком, или компоненты, монтируемые на поверхности без проводящего рисунка, допускается монтировать вплотную на плату (т.е. без зазора между корпусом компонента и поверхностью печатной платы или подложки). Компоненты, монтируемые над незащищенным проводящим рисунком, должны иметь выводы, отформованные для обеспечения минимального расстояния 0,25 мм между нижней частью компонента и проводящим рисунком. Зазор между нижней поверхностью корпуса компонента и поверхностью проводящего рисунка платы не должен превышать 2 мм.
4.4.1. Компоненты с аксиальными выводами
Корпус компонента поверхностного монтажа с аксиальными выводами рекомендуется размещать на расстоянии не более 2 мм от поверхности печатной платы, если компонент не прикреплен механически к подложке клеем или другими средствами. Выводы на противоположных сторонах компонентов поверхностного монтажа с аксиальными выводами должны формоваться таким образом, чтобы наклон компонента (непараллельность между поверхностью основания установленного компонента и поверхностью печатной платы) был минимальным; наклон ни в коем случае не должен приводить к несоблюдению пределов максимальных зазоров.
4.4.2. Прочие компоненты
Компоненты в корпусе типа ТО, компоненты с высоким профилем (например, свыше 15 мм), трансформаторы и металлические мощные корпуса могут применяться в технологии поверхностного монтажа при условии, что компоненты приклеены или иным образом прикреплены к плате способом, который обеспечивает их устойчивость к ударным, вибрационным и другим внешним воздействиям.
4.5. Компоненты, отформованные для монтажа выводов встык
Компоненты, предназначенные для монтажа в сквозные отверстия и доработанные для стыкового соединения, или корпуса с двурядными негибкими выводами допускается монтировать встык в изделиях классов A и B. Монтаж встык недопустим для изделий класса C, если компонент не предназначен для поверхностного монтажа.
4.6. Ограничения по использованию непроводящего клея
Непроводящие клеевые материалы, которые используются для установки компонентов, не должны растекаться по площадкам или скрывать площадки, подлежащие пайке, или затекать в переходные отверстия или монтажные металлизированные сквозные отверстия.
5. ТРЕБОВАНИЯ К ПРИЕМКЕ
Материалы, технологические процессы и процедуры, описанные и установленные в МЭК 61191-1, направлены на обеспечение качества паяных соединений выше по классу минимальных требований к поверхностному монтажу, установленных в данном разделе. Рекомендуется, чтобы процессы и управление ими обеспечивали производство продукции, соответствующей или превышающей требования определенного класса качества.
5.1. Управление процессом и корректирующие действия
Подробные требования к приемке, пределам корректирующих действий, определению пределов управления и общим критериям качества монтажа, описанным в МЭК 61191-1, являются обязательной частью данного стандарта. Кроме того, все печатные узлы поверхностного монтажа должны соответствовать следующему подразделу и по приемке соединений.
5.2. Поверхностная пайка выводов и контактов
Паяные соединения или контакты на компонентах, предназначенных для поверхностного монтажа, должны обеспечивать пайку, соответствующую общим представлениям раздела 10 МЭК 61191-1 с учетом конкретных размеров, заданных в пунктах 5.2.2 - 5.2.11 данного стандарта. Некоторые компоненты поверхностного монтажа будут выравниваться сами во время пайки оплавлением, но допускается определенная степень несовмещения до заданной величины. Однако минимальное проектное расстояние между проводниками должно соблюдаться.
В следующих пунктах не задаются точные размеры соединений, единственное требование заключается в том, чтобы надлежащим образом смоченная галтель, как вывода или выходного контакта, так и для контактных площадок, была видимой. Геометрические размеры, не заданные никакими требованиями, считаются некритическими для качества межсоединения.
Соединения поверхностного монтажа, сформированные для соединителей, розеток или других выводов или выходных контактов без механического крепления к печатной плате, подвергаемые воздействию механических напряжений при сочленении и расчленении, должны обеспечивать требования к печатным узлам класса C.
5.2.1. Высота галтели припоя и галтели пятки
Высота H галтелей припоя, в том числе галтелей на пятке вывода, описанная в следующих пунктах, должна оцениваться расстоянием, на которое поднялся по соединяемой поверхности припой. Рисунок 2 иллюстрирует правило данного измерения для соединений одинаковой высоты, но с разным объемом припоя. В пунктах 5.2.2 - 5.2.11 для некоторых конфигураций выводов критерий минимальной допустимой высоты галтели нормируется по толщине вывода T или половине толщины (0,5 T). Если критерий нормируется по T, то высота галтели на пятке отформованного вывода должна измеряться в самой нижней точке внутреннего радиуса изгиба вывода: точка A на рисунке 2b. Если критерий нормируется по 0,5 T, то допускается галтель ниже 0,5 T.
Примечание. В 5.2.2 включены: текстовые требования пункта, соответствующий рисунок и таблица параметров с конкретными размерами.
a - высота галтели Н
b - высота галтели, базирующаяся на толщине вывода
Рисунок 2. Высота галтели
5.2.1.1. Контуры паяного соединения
Технология монтажа должна обеспечивать компенсацию рассогласования коэффициентов теплового расширения (КТР) компонента и платы. Данная технология должна обеспечиваться выводами компонента, специальными монтажными приспособлениями и стандартными паяными соединениями. Допускается применение специальных прокладок, устанавливаемых между компонентом и контактной площадкой. Безвыводные компоненты не должны монтироваться по месту с применением дополнительного провода между монтажным элементом безвыводного компонента и контактной площадкой. Для обеспечения компенсации рассогласования КТР кристаллоносителя с контактами на нижней поверхности (см. 5.2.7 и 5.2.8) допускается не оценивать высоту галтелей.
Конструкции, в которых специальные контуры паяных соединений используются как часть системы компенсации рассогласования КТР, рекомендуется указывать на утвержденном сборочном чертеже. Процесс монтажа должен обеспечивать паяное соединение, удовлетворяющее требованиям данного стандарта.
5.2.1.2. Положение пятки вывода компонента поверхностного монтажа
Пятка выводов компонента не должна выступать за пределы контактной площадки.
Примечание. Пятка начинается в месте закругления на изгибе вывода.
5.2.1.3. Удаляемые перемычки
Компоненты (например, соединители или гибкие печатные платы), в конструкцию которых входят удаляемые перемычки, допускается устанавливать или паять на месте перед удалением перемычки. Допускается появление незащищенного основного металла после удаления перемычки.
5.2.2. Плоские ленточные L-образные выводы и выводы в виде крыла чайки
Паяные соединения плоского ленточного вывода компонента на контактной площадке подложки, отформованного из жестких или гибких материалов в виде буквы L или крыла чайки, должны удовлетворять требованиям рисунка 3, предъявляемым к совмещению и форме галтели припоя для изделий любого класса.
┌─────────────────────────┬───────┬───────────────────────────────────────┐
│ Параметр │Обозна-│ Размер для класса печатных узлов, мм │
│ │чение ├─────────────┬─────────────┬───────────┤
│ │ │ A │ B │ C │
├─────────────────────────┼───────┼─────────────┼─────────────┼───────────┤
│Максимальное боковое │ A │1/2 W или │1/2 W или │1/2 W или │
│смещение │ │0,5 <4>, (что│0,5 <4>, (что│0,5 <4>, │
│ │ │менее) 1/3 W │менее) 1/3 W │(что менее)│
│ │ │для компонен-│для компонен-│ │
│ │ │тов с шагом │тов с шагом │ │
│ │ │выводов менее│выводов менее│ │
│ │ │0,5 │0,5 │ │
├─────────────────────────┼───────┼─────────────┼─────────────┴───────────┤
│Максимальный выступ носка│ B │1/2 W <4> │Не допускается │
│вывода <3> │ │ │ │
├─────────────────────────┼───────┼─────────────┼─────────────┬───────────┤
│Минимальная ширина соеди-│ C │W-A │W-A │W-A │
│нения по торцу вывода │ │ │ │ │
├─────────────────────────┼───────┼─────────────┼─────────────┼───────────┤
│Минимальная длина боко- │ D │1/2 L │2/3 L │3/4 L │
│вого соединения <2>, <3> │ │ │ │ │
├─────────────────────────┼───────┼─────────────┼─────────────┼───────────┤
│Максимальная высота │ E │<1>, <5><1><1>
│галтели пятки вывода │ │ │ │ │
├─────────────────────────┼───────┼─────────────┼─────────────┼───────────┤
│Минимальная высота │ F │<5> │G + 1/2 T │G + T │
│галтели пятки вывода │ │ │ │ │
├─────────────────────────┼───────┼─────────────┼─────────────┼───────────┤
│Минимальная толщина │ G │<5><5><5>
│припоя │ │ │ │ │
├─────────────────────────┴───────┴─────────────┴─────────────┴───────────┤
│ <1> Галтели припоя для классов A и B могут заходить за верхний изгиб│
│вывода. │
│ <2> Допускается, чтобы выводы, не имеющие смачиваемых боковых сторон │
│или торцов по конструкции (такие как выводы, штампованные или обрезанные │
│из подготовленных заготовок), не имели боковых или торцевых галтелей, но│
│боковое смещение за пределы контактных площадок недопустимо для всех │
│классов. │
│ <3> Требования к боковым соединениям данной таблицы не предъявляются│
│к компонентам с шириной выводов более длины бокового соединения (W > D). │
│ <4> Минимальные проектные расстояния между проводниками не должны│
│уменьшаться. │
│ <5> Галтель с признаком хорошего смачивания. │
├─────────────────────────────────────────────────────────────────────────┤
│ Примечание. Для рамки с выводами, сделанной из сплава 42,│
│рекомендуется выбирать следующий высокий класс. │
└─────────────────────────────────────────────────────────────────────────┘
Рисунок 3. Плоские ленточные L-образные выводы и выводы
в виде крыла чайки
5.2.3. Круглые или расплющенные выводы
Соединения с круглыми или расплющенными выводами должны удовлетворять требованиям, предъявляемым к размерам и формам галтели на рисунке 4 для изделий каждого класса.
W - ширина расплющенного вывода или диаметр круглого;
T - толщина вывода в месте соединения (накрытая контактная
площадка)
Параметр
Обозна-
чение
Размер для класса печатных узлов, мм
A
B
C
Максимальное боковое
смещение
A
1/2 W
1/3 W
1/3 W
Максимальный выступ носка
вывода
B
Минимальная ширина соеди-
нения по торцу вывода
C
W-A
Минимальная длина боко-
вого соединения
D
1/2 L
2/3 L
3/4 L
Максимальная высота
галтели пятки вывода
E
Минимальная высота
галтели пятки вывода
F
G + 1/2 T
G + T
Минимальная толщина
припоя
G
Минимальная высота
бокового соединения
Q
G + 1/2 T
или G + 0,5
(что менее)
G + 1/2 T
или G + 0,5
(что менее)
<1> Галтели припоя для классов A и B могут заходить за верхний изгиб
вывода. Не рекомендуется, чтобы припой подтекал под корпус ниже профиля
компонента поверхностного монтажа, чьи выводы сделаны из сплава 42
или подобных материалов.
<2> Минимальные проектные расстояния между проводниками не должны
уменьшаться.
<3> Галтель с признаком хорошего смачивания.
Рисунок 4. Соединение с круглыми или расплющенными выводами
5.2.4. J-образные выводы
Соединения, образованные пайкой с J-образными выводами, должны удовлетворять требованиям, предъявляемым к размерам и формам галтели на рисунке 5 для изделий любого класса.
W - ширина вывода;
T - толщина вывода
Параметр
Обозна-
чение
Размер для класса печатных узлов, мм
A
B
C
Максимальное боковое
смещение <6>
A
1/2 W
1/2 W
1/4 W
Максимальный выступ носка
вывода
B
Минимальная ширина соеди-
нения по торцу вывода
C
W-A
W-A
Минимальная длина боко-
вого соединения <5>
D
1,5 W
1,5 W
Максимальная высота
галтели пятки вывода
E
Минимальная высота
галтели пятки вывода
F
G + 1/2 T <2>
G + T <2>
Минимальная толщина
припоя
G
<1> Не рекомендуется, чтобы галтели касались основания корпуса.
<2> Максимальная высота галтели относительно радиуса изгиба не более
2T. Галтели должны образовываться как на участке носка, так и на участке
пятки J-образного вывода.
<3> Точное значение параметра не задается.
<4> Галтель с признаком хорошего смачивания.
<5> Допускается, чтобы выводы, не имеющие смачиваемых боковых сторон
или торцов по конструкции (штампованные или обрезанные из подготовленных
заготовок), не имели боковых или торцевых галтелей, но боковое смещение
за пределы контактных площадок недопустимо для всех классов.
<6> Минимальные проектные расстояния между проводниками не должны
уменьшаться.
Рисунок 5. Соединения с J-образными выводами
5.2.5. Прямоугольные торцевые контакты
Паяные соединения компонентов, имеющих контактные поверхности прямоугольной формы, должны удовлетворять требованиям, предъявляемым к размерам и формам галтелей припоя на рисунке 6 для изделий любого класса.
H - высота контактной поверхности;
W - ширина контактной поверхности;
T - длина контактной поверхности;
P - ширина контактной площадки
Параметр
Обозна-
чение
Размер для класса печатных узлов, мм
A
B
C
Максимальное боковое
смещение <5>
A
1/2 W или 1,5
(что менее)
1/3 W или 1,5
(что менее)
1/4 W или
1,5 (что
менее)
Выступ торца
B
Не допускается
Минимальная ширина соеди-
нения по торцу
C
1/2 W
1/2 W
3/4 W
Минимальная длина боко-
вого соединения <3>
D
1/2 T
3/4 T
Максимальная высота
галтели <1>
E
Минимальная высота
галтели
F
G + 1/4 H или
G + 0,5 (что
менее)
G + 1/4 H
или G + 0,5
(что менее)
Минимальная толщина
припоя <2>
G
0,2 <2>
Минимальное концевое
перекрытие <3>
J
2/3 T
2/3 T
3/4 T
<1> Допускается выступание галтели за контактную площадку или наличие
галтели на верхней поверхности контакта, но припой не должен
распространяться на корпус компонента.
<2> Если не гарантируется удовлетворительная очистка при уменьшенном
зазоре. G не задается, если очистка не требуется.
<3> Не распространяется на компоненты с торцевой монтажной
поверхностью.
<4> Галтель с признаком хорошего смачивания.
<5> Минимальные проектные расстояния между проводниками не должны
уменьшаться.
Рисунок 6. Соединения с прямоугольными торцевыми контактами
5.2.6. Цилиндрические чашечные контакты
Паяные соединения компонентов, имеющих цилиндрические чашечные контакты (например, MELF), должны удовлетворять требованиям рисунка 7 к размерам и формам галтели припоя, для изделий любого класса.
W - диаметр концевого контакта;
T - длина концевого контакта
Параметр
Обозна-
чение
Размер для класса печатных узлов, мм
A
B
C
Максимальное боковое
смещение <3>
A
1/3 W
1/3 W
1/4 W
Выступ торца
B
Не допускается
Минимальная ширина соеди-
нения по торцу
C
1/2 W
1/2 W
Минимальная длина боко-
вого соединения
D
1/2 T
1/2 T
Максимальная высота
галтели
E
Минимальная высота
галтели
F
G + 1/4 W
или G + 1
(что менее)
Минимальная толщина
припоя
G
Минимальная высота
галтели пятки вывода <3>
J
2/3 T
2/3 T
T
<1> Допускается выступание галтели за контактную площадку или наличие
галтели на верхней поверхности контакта, но припой не должен
распространяться на корпус компонента.
<2> Галтель с признаком хорошего смачивания.
<3> Минимальные проектные расстояния между проводниками не должны
уменьшаться.
Рисунок 7. Соединения с цилиндрическими чашечными
контактами
5.2.7. Контакты на нижней поверхности компонента
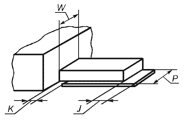
Дискретные чип-компоненты, безвыводные кристаллодержатели и другие компоненты, имеющие контакты на нижней поверхности корпуса, должны удовлетворять требованиям рисунка 8, предъявляемым к размерам и формам галтели припоя для изделий любого класса.
W - ширина концевого контакта;
T - длина концевого контакта;
P - ширина контактной площадки
Параметр
Обозна-
чение
Размер для класса печатных узлов, мм
A
B
C
Максимальное боковое
смещение
A
Концевой выступ
B
Не допускается
Минимальная ширина соеди-
нения по торцу вывода
C
1/2 W
1/2 W
3/4 W
Минимальная длина
бокового соединения
D
Максимальная высота
галтели пятки вывода
E
Минимальная высота
галтели пятки вывода
F
Неприменима
Минимальная толщина
припоя <3>
G
0,2 <3>
<1> Значение параметра не задается.
<2> Галтель с признаком хорошего смачивания.
<3> Если не гарантируется удовлетворительная очистка при уменьшенном
зазоре. G не задается, если очистка не требуется.
<4> Минимальные проектные расстояния между проводниками не должны
уменьшаться.
Рисунок 8. Соединения с контактами на нижней поверхности
компонента
5.2.8. Контакты в выемках корпуса кристаллоносителя
Соединения, сформированные в металлизированных выемках безвыводных кристаллоносителей, должны удовлетворять требованиям рисунка 9, предъявляемым к размерам и формам галтели припоя для изделий любого класса.
W - ширина металлизированной выемки;
H - высота металлизированной выемки;
P - выступ контактной площадки по отношению к корпусу
Параметр
Обозна-
чение
Размер для класса печатных узлов, мм
A
B
C
Максимальное боковое
смещение <4>
A
1/2 W
1/2 W
1/4 W
Концевой выступ
B
Не допускается
Минимальная ширина соеди-
нения по торцу вывода
C
1/2 W
1/2 W
3/4 W
Минимальная длина
бокового соединения <1>
D
1/2 F или P
(что менее)
1/2 F или P
(что менее)
Максимальная высота
галтели пятки вывода
E
Неприменима
Минимальная высота
галтели пятки вывода
F
G + 1/2H
G + 1/2 H
Минимальная толщина
припоя
G
0,2 <2>
<1> Длина D зависит от высоты галтели F и нормируется по торцу
корпуса.
<2> Если не гарантируется удовлетворительная очистка при уменьшенном
зазоре. G не задается, если очистка не требуется.
<3> Галтель с признаком хорошего смачивания.
<4> Минимальные проектные расстояния между проводниками не должны
уменьшаться.
Рисунок 9. Соединения с контактами в выемках корпуса
кристаллоносителя
5.2.9. Выводы для пайки встык
Соединения, образованные на выводах, расположенных перпендикулярно к контактной площадке платы в форме торцевого стыка, должны удовлетворять требованиям рисунка 10, предъявляемым к размерам и формам галтелей припоя для изделий любого класса. Для изделий классов A и B с выводами, имеющими по конструкции несмачиваемые стороны (отштампованные выводы или срезанные от заготовок с гальваническим покрытием), допускается отсутствие боковых галтелей. В конструкции рекомендуется предусмотреть возможность удобного контроля смачиваемых поверхностей.
W - ширина вывода;
T - толщина вывода
См. примечание 1 таблицы.
Параметр
Обозна-
чение
Размер для класса печатных узлов, мм
A
B
C
Максимальное боковое
смещение <5>
А
1/2 W
Не допускается
Минимальная выступающая
часть контактной площадки
B
T или 0,5
(что более)
T или 0,5
(что более)
T или 0,5
(что более)
Минимальная ширина соеди-
нения по торцу вывода
C
3/4 W
3/4 W
3/4 W
Минимальная длина
бокового соединения <1>
D
Максимальная высота
галтели пятки вывода
E
Минимальная высота
галтели пятки вывода
F
0,5
0,5
G + 1/2 W
или G + 0,5
(что более)
Минимальная толщина
припоя
G
0,1
0,1
0,1
<1> Допускается заход галтели в радиус изгиба. Не допускается
распространение припоя под корпус компонента, выводы которого изготовлены
из сплава 42 или аналогичных материалов.
<2> Допускается для изделий класса C. При этом компоненты должны
иметь разрешение на пайку выводов встык.
<3> Точное значение параметра не задается.
<4> Галтель с признаком хорошего смачивания.
<5> Минимальные проектные расстояния между проводниками не должны
уменьшаться.
Рисунок 10. Соединения с выводами для пайки встык
5.2.10 Ленточные L-образные выводы, отформованные под корпус
Паяные соединения для компонентов, имеющих ленточные L-образные выводы, отформованные под корпус, должны удовлетворять требованиям рисунка 11, предъявляемым к размерам и формам галтели припоя.
W - ширина вывода;
L - длина вывода
Параметр
Обозна-
чение
Размер для класса печатных узлов, мм
A
B
C
Максимальное боковое
смещение <2>
A
1/2 W
1/2 W
1/4 W или
1/4 P (что
менее)
Минимальная выступающая
часть контактной площадки
B
1/2 H или
0,5 (что
менее)
Минимальная ширина соеди-
нения по торцу вывода
C
1/2 W
1/2 W
3/4 W или
3/4 P (что
менее)
Максимальная высота
галтели пятки вывода
E
H
H
H
Минимальная высота
галтели пятки вывода
F
G + 1/4 H или
G + 0,5 (что
менее)
6 + 1/4 H или
G + 0,5 (что
менее)
6 + 1/4 H
или G + 0,5
(что менее)
Минимальная толщина
припоя
G
Нет ограничений, если все прочие
требования удовлетворяются
<1> Значение параметра задается.
<2> Минимальные проектные расстояния между проводниками не должны
уменьшаться.
Рисунок 11. Соединения с ленточными L-образными выводами,
отформованными под корпус
5.2.11. Плоские выступающие выводы
Паяные соединения для компонентов, рассеивающих большую мощность, с плоскими выступающими выводами должны удовлетворять требованиям, предъявляемым к размерам и формам галтели, указанным на рисунке 12 для изделий любого класса.
W - ширина вывода;
L - длина вывода;
P - ширина контактной площадки
Параметр
Обозна-
чение
Размер для класса печатных узлов, мм
A
B
C
Боковое смещение
A
Не допускается
Выступ носка
B
Не допускается
Минимальная ширина соеди-
нения по торцу вывода
C
1/2 W
1/2 W
W
Минимальная длина
бокового соединения
D
L-K <1>
L-K <1>
L-K <1>
Максимальная высота
галтели пятки вывода
E
G + T + 1
Минимальная высота
галтели пятки вывода
F
G + T
Максимальная толщина
припоя
G
0,2
Максимальная выступающая
часть контактной площадки
J
T
Максимальный зазор
K
2T
T
<1> Если вывод и контактная площадка предназначены для пайки под
корпусом компонента, то вывод должен обладать смачиваемостью в зазоре K.
<2> Значение параметра не задается.
Рисунок 12. Соединения с плоскими выступающими выводами
5.3. Общие требования после пайки ко всем печатным узлам с поверхностным монтажом
5.3.1. Несмачиваемость
Не допускается - дефект для классов A, B, C: несмачиваемость на любом контакте, если она сокращает площадь монтажной поверхности вывода или контактной площадки более чем на 5% от максимального значения.
5.3.2. Несмачивающиеся поверхности
Не допускается - дефект для классов A, B, C: несмачивающиеся поверхности на любых соединяемых элементах, если это приводит к несмачиваемости более 5% наблюдаемой поверхности соединения, подлежащей смачиванию.
5.3.3. Питтинги, пустоты, свищи, кратеры и полости
Не допускается - дефект для классов A, B, C: если площадь или периметр смачивания паяного соединения уменьшается ниже заданного минимального значения для соединений соответствующего типа.
5.3.4. Натекание припоя
Не допускается - дефект для классов A, B, C: натекание припоя препятствует выполнению требований к заданному минимальному смачиванию соединений соответствующего типа или приводит к чрезмерной жесткости вывода.
5.3.5. Паутинки и корки припоя
Не допускается - дефект для классов A, B, C: наличие любой паутинки или корки припоя.
5.3.6. Перемычки припоя
Не допускается - дефект для классов A, B, C: любые нежелательные перемычки, соединяющие изолированные проводящие поверхности.
Не допускается - дефект для классов B, C: избыток припоя приводит к более жесткому соединению между двумя или более выходными контактами, которые предназначены для электрического соединения, но физически разделены. Это также может являться недопустимым дефектом, обусловленным рисками появления механических напряжений из-за рассогласования КТР.
5.3.7. Нарушение маркировки
Не допускается - дефект для классов A, B, C: потеря идентификационных или параметрических значений маркировки из-за ухудшения буквенных или цветовых обозначений на компонентах, деталях, печатных платах.
5.3.8. Выплеск припоя
Допустимое состояние для классов A, B, C: выплески припоя, которые закруглены на концах или имеют высоту менее 0,5 мм в схемах, которые работают при напряжении ниже 250 В переменного или постоянного тока.
Не допускается - дефект для класса A, B, C: любой выплеск, который нарушает минимальное проектное расстояние между проводниками.
5.3.9. Дефектное соединение
Допускаемое состояние для классов A, B, C: соединение с серой, тусклой или матовой поверхностью.
Не допускается - дефект для классов A, B, C: любое соединение с трещиной или с сильно поврежденной поверхностью.
5.3.10. Повреждение компонента
Не допускается - дефект для классов A, B, C: любое повреждение компонента, элемента или платы, которое препятствует выполнению требований соответствующего стандарта МЭК, требованию заказчика или приводит к отбраковке во время входного контроля.
5.3.11. Обрыв цепи, несмачиваемость
Не допускается - дефект для классов A, B, C: любое паяное соединение, в котором имелся припой, но не произошло смачивания любой из поверхностей, являющихся частью минимального соединения, например, из-за образования шариков припоя, плохой паяемости, эффекта поверхностного натяжения (образование "надгробия").
5.3.12. Наклон компонента
Допускаемое состояние для классов A, B, C: компонент наклонен в любом направлении, но удовлетворяет требованиям для всех паяных соединений.
Не допускается - дефект для классов A, B, C: любой компонент, чей наклон приводит к невыполнению заданных минимальных требований.
5.3.13. Затекание непроводящего клея
Допускаемое состояние для классов A, B, C: затекание клея на паяное соединение, не препятствующее выполнению требований соответствующего стандарта МЭК, предъявляемых к минимальным смачиванию и совмещению.
Не допускается - дефект для классов A, B, C: затекание клея на паяное соединение, приводящее к невыполнению определенных минимальных требований для соединения или не допускающее надежную доработку.
5.3.14. Обрыв цепи, отсутствие припоя
Не допускается - дефект для классов A, B, C: любое нарушение процесса формирования соединения, обусловленное локальным отсутствием припоя до или во время пайки, например из-за дефекта трафарета, затенения или образования шариков припоя.
5.3.15. Компонент на ребре
Допускаемое состояние для классов A, B, C: при условии, что длина корпуса компонента менее 3,2 мм, ширина менее 1,6 мм, толщина более 1 мм и все требования, предъявляемые к паяному соединению и совмещению, выполняются.
6. ДОРАБОТКА И РЕМОНТ
Доработка неудовлетворительного паяного соединения не должна проводиться, если несоответствие не было оформлено документом. Эти данные должны использоваться для определения возможных причин несоответствия и для назначения корректирующего действия, если это требуется. При выполнении доработки каждое доработанное или перемонтированное соединение должно контролироваться в соответствии с требованиями 5.2 (см. таблицу 1 для дорабатываемых дефектов).
Таблица 1
Дефекты паяных соединений поверхностного монтажа
N
Дефекты
1
Дефекты, приведенные в таблице 2 МЭК 61191-1
2
Паяные соединения плоских ленточных L-образных выводов и выводов в
виде крыла чайки, которые не соответствуют требованиям 5.2, 5.2.1 или
3
Паяные соединения круглых или расплющенных выводов, которые не
соответствуют требованиям 5.2, 5.2.1 или 5.2.3
4
Паяные соединения J-образных выводов, которые не соответствуют
требованиям 5.2, 5.2.1 или 5.2.4
5
Паяные соединения компонентов с прямоугольными или квадратными
торцами, которые не соответствуют требованиям 5.2, 5.2.1 или 5.2.5
6
Паяные соединения цилиндрических чашечных монтажных поверхностей
(MELF), которые не соответствуют требованиям 5.2, 5.2.1 или 5.2.6
7
Паяные соединения только нижних монтажных поверхностей, которые не
соответствуют требованиям 5.2, 5.2.1 или 5.2.7
8
Соединения, сформированные в металлизированных выемках безвыводных
кристаллоносителей, которые не соответствуют требованиям 5.2, 5.2.1
или 5.2.8
9
Паяные стыковые соединения, которые не соответствуют требованиям 5.2,
5.2.1 или 5.2.9
10
Паяные соединения ленточных L-образных выводов, отформованных под
корпус, которые не удовлетворяют требованиям 5.2, 5.2.1 или 5.2.10
11
Паяные соединения плоских выступающих выводов компонентов,
рассеивающих большую мощность, которые не соответствуют требованиям
5.2, 5.2.1 или 5.2.11
Приложение А
(обязательное)
ТРЕБОВАНИЯ К УСТАНОВКЕ ПОВЕРХНОСТНО МОНТИРУЕМЫХ КОМПОНЕНТОВ
Следующие требования к компонентам поверхностного монтажа должны предъявляться только при недостаточности элементов управления технологическим процессом для обеспечения соответствия требованиям 4.1.1.
А.1. Установка компонента
Несовмещение компонентов не должно нарушать минимальное проектное расстояние до соседнего элемента печатного монтажа или других металлизированных компонентов.
А.2. Небольшие компоненты с двумя выводами
А.2.1. Металлизация контактной площадки
По меньшей мере, 75% ширины торцевого контакта компонента на каждом его конце должно покрывать контактную площадку. Если ширина контактной площадки меньше 75% ширины торцевого контакта компонента, то металлизированный контакт должен покрывать всю ширину контактной площадки (см. рисунок 6).
А.2.2. Металлизация контакта
Не менее 2/3 длины торцевого контакта должно покрывать контактную площадку. Должно сохраняться минимальное расстояние между проводниками (см. рисунок 6).
А.3. Монтаж компонентов с цилиндрическими чашечными контактами (MELF)
Компоненты MELF должны монтироваться так, чтобы боковое смещение не превышало 25% диаметра контакта. Не менее 2/3 длины контакта должно находиться на контактной площадке (см. рисунок 7). Применение контактных площадок со специальным рисунком (например, U-образных) для облегчения позиционирования компонента допустимо при условии, что образуется соответствующей формы галтель припоя.
А.4. Совмещение контактов в выемках корпуса кристаллоносителя
Не менее 3/4 сечения каждой металлизированной выемки кристаллоносителя должны находиться на контактной площадке, с которой кристаллоноситель совмещается (см. рисунок 9).
А.5. Площадь контактирования контактной площадки с выводом компонента
Минимальная длина D контакта должна быть равна 3/4 длины L стопы плоского гибкого вывода, J-образных выводов, круглых выводов и расплющенных круглых выводов (см. рисунок 2b).
А.6. Боковое смещение выводов компонентов поверхностного монтажа
Допускается, чтобы выводы имели боковое смещение при условии, что смещение не превышает 25% ширины вывода или 0,5 мм в зависимости от того, что меньше, и при этом сохраняется минимальное расстояние между проводниками.
А.7. Выступ торца вывода компонента поверхностного монтажа
Допускается, чтобы торцы выводов компонентов поверхностного монтажа выступали за площадку при условии, что обеспечиваются минимальные электрический зазор и длина соединения.
А.8. Выступ вывода компонента поверхностного монтажа за контактную площадку (до пайки)
Допускается, чтобы круглые или расплющенные выводы выходили за пределы контактной площадки не более чем на половину начального диаметра вывода. Допускается, чтобы плоские или гибкие выводы выходили за пределы контактной площадки не более чем на две толщины вывода или 0,5 мм (что менее). Поднятый вверх или опущенный вниз торец плоского или круглого вывода допускается при условии, что расстояние между выводами и оконечным соединением не превышает пределов 2T или 1/2 D соответственно.
А.9. Позиционирование компонентов с J-образными выводами
Компоненты с J-образными выводами должны монтироваться так, чтобы боковое смещение было менее 25% ширины вывода. Компонент должен позиционироваться таким образом, чтобы формировалась галтель припоя, превышающая двукратную ширину вывода.
А.10. Позиционирование компонентов с выводами в виде крыла чайки
Рекомендуется устанавливать выводы таким образом, чтобы полная длина стопы вывода находилась в пределах контактной площадки (без выступа).
А.11. Внешние соединения с механической конструкцией электронного модуля
Если электронные модули рассчитаны на обеспечение управляемого теплового расширения, они не должны подсоединяться к внешним компонентам аппаратуры (например, шасси или теплоотводам), которые снижают управление тепловым расширением ниже проектных пределов.
Приложение ДА
(справочное)
СВЕДЕНИЯ О СООТВЕТСТВИИ ССЫЛОЧНЫХ МЕЖДУНАРОДНЫХ СТАНДАРТОВ
НАЦИОНАЛЬНЫМ СТАНДАРТАМ РОССИЙСКОЙ ФЕДЕРАЦИИ
Таблица ДА.1
Обозначение
ссылочного
международного
стандарта
Степень
соответ-
ствия
Обозначение и наименование соответствующего
национального стандарта
МЭК 61191-1:1998
ГОСТ Р МЭК 61191-1-2010 Печатные узлы. - Часть
1: Поверхностный монтаж и связанные с ним
технологии. Общие технические требования
Примечание. В настоящей таблице использовано следующее условное
обозначение степени соответствия стандартов:
- IDT - идентичные стандарты.