Главная // Актуальные документы // ГОСТ Р (Государственный стандарт)СПРАВКА
Источник публикации
М.: Стандартинформ, 2014
Примечание к документу
Документ
введен в действие с 01.01.2015.
Название документа
"ГОСТ Р МЭК 60601-2-2-2013. Национальный стандарт Российской Федерации. Изделия медицинские электрические. Часть 2-2. Частные требования безопасности с учетом основных функциональных характеристик к высокочастотным электрохирургическим аппаратам и высокочастотным электрохирургическим принадлежностям"
(утв. и введен в действие Приказом Росстандарта от 08.11.2013 N 1350-ст)
"ГОСТ Р МЭК 60601-2-2-2013. Национальный стандарт Российской Федерации. Изделия медицинские электрические. Часть 2-2. Частные требования безопасности с учетом основных функциональных характеристик к высокочастотным электрохирургическим аппаратам и высокочастотным электрохирургическим принадлежностям"
(утв. и введен в действие Приказом Росстандарта от 08.11.2013 N 1350-ст)
Утвержден и введен в действие
по техническому регулированию
и метрологии
от 8 ноября 2013 г. N 1350-ст
НАЦИОНАЛЬНЫЙ СТАНДАРТ РОССИЙСКОЙ ФЕДЕРАЦИИ
ИЗДЕЛИЯ МЕДИЦИНСКИЕ ЭЛЕКТРИЧЕСКИЕ
ЧАСТЬ 2-2
ЧАСТНЫЕ ТРЕБОВАНИЯ БЕЗОПАСНОСТИ С УЧЕТОМ ОСНОВНЫХ
ФУНКЦИОНАЛЬНЫХ ХАРАКТЕРИСТИК К ВЫСОКОЧАСТОТНЫМ
ЭЛЕКТРОХИРУРГИЧЕСКИМ АППАРАТАМ И ВЫСОКОЧАСТОТНЫМ
ЭЛЕКТРОХИРУРГИЧЕСКИМ ПРИНАДЛЕЖНОСТЯМ
Medical electrical equipment. Part 2-2. Particular
requirements for the basic safety and essential
performance of high frequency surgical equipment and
high frequency surgical accessories
IEC 60601-2-2:2009
Medical electrical equipment - Part 2-2: Particular
requirements for the basic safety and essential
performance of high frequency surgical equipment and high
frequency surgical accessories
(IDT)
ГОСТ Р МЭК 60601-2-2-2013
Дата введения
1 января 2015 года
1. Подготовлен Закрытым акционерным обществом "Независимый институт испытаний медицинской техники" (ЗАО "НИИМТ") на основе собственного аутентичного перевода на русский язык международного стандарта, указанного в пункте 4.
2. Внесен Техническим комитетом по стандартизации ТК 11 "Медицинские приборы, аппараты и оборудование".
3. Утвержден и введен в действие
Приказом Федерального агентства по техническому регулированию и метрологии от 8 ноября 2013 г. N 1350-ст.
4. Настоящий стандарт идентичен международному стандарту МЭК 60601-2-2:2009 "Изделия медицинские электрические. Часть 2-2. Частные требования безопасности с учетом основных функциональных характеристик к высокочастотным электрохирургическим аппаратам и высокочастотным электрохирургическим принадлежностям" (IEC 60601-2-2:2009 "Medical electrical equipment - Part 2-2: Particular requirements for the basic safety and essential performance of high frequency surgical equipment and high frequency surgical accessories").
При применении настоящего стандарта рекомендуется использовать вместо ссылочных международных стандартов соответствующие им национальные стандарты Российской Федерации, сведения о которых приведены в дополнительном
Приложении ДА.
5. Введен впервые.
Правила применения настоящего стандарта установлены в ГОСТ Р 1.0-2012
(раздел 8). Информация об изменениях к настоящему стандарту публикуется в ежегодном (по состоянию на 1 января текущего года) информационном указателе "Национальные стандарты", а официальный текст изменений и поправок - в ежемесячном информационном указателе "Национальные стандарты". В случае пересмотра (замены) или отмены настоящего стандарта соответствующее уведомление будет опубликовано в ближайшем выпуске информационного указателя "Национальные стандарты". Соответствующая информация, уведомление и тексты размещаются также в информационной системе общего пользования - на официальном сайте Федерального агентства по техническому регулированию и метрологии в сети Интернет (gost.ru).
Считается, что минимальные требования к безопасности, определенные в настоящем частном стандарте, обеспечат необходимую степень безопасности при работе высокочастотных электрохирургических аппаратов и высокочастотных электрохирургических принадлежностей.
Настоящий частный стандарт конкретизирует и дополняет МЭК 60601-1:2005 "Изделия медицинские электрические. Часть 1. Общие требования безопасности с учетом основных функциональных характеристик" (далее - общий стандарт).
Требования сопровождаются изложением соответствующих испытаний.
Общие рекомендации и пояснения требований настоящего частного стандарта приведены в
Приложении AA.
Пометка (*) перед заголовком пункта (подпункта) или таблицы указывает, что в
Приложении AA имеются рекомендации или пояснения к этим элементам текста.
Предполагается, что знание причин, лежащих в основе этих требований, не только облегчит соответствующее применение настоящего частного стандарта, но и в дальнейшем ускорит любые пересмотры, необходимые из-за изменений в клинической практике или как результат развития технологий. Тем не менее данное Приложение не является частью требований настоящего стандарта.
Настоящий стандарт основан на техническом пересмотре. В результате пересмотра в стандарте была изменена формулировка для предварительного создания условий для принадлежностей перед испытанием изоляции, уточнены требования к испытаниям на электромагнитную совместимость и исправлены некоторые выражения, используемые при проведении тепловых испытаний НЕЙТРАЛЬНЫХ ЭЛЕКТРОДОВ.
Настоящий стандарт был разработан в соответствии с Директивами ИСО/МЭК, Часть 2.
В настоящем стандарте приняты следующие шрифтовые выделения:
| | ИС МЕГАНОРМ: примечание. Информационные материалы вне таблиц (типы примечаний, примеров и ссылок), выделенные шрифтом уменьшенного размера в официальном тексте документа, в электронной версии документа отмечены знаком "&". | |
- требования и определения: прямой шрифт;
- технические требования к испытаниям: курсив;
- информационные материалы вне таблиц (типа примечаний, примеров и ссылок): шрифт уменьшенного размера. Аналогично выделен и нормативный текст таблиц;
- термины, используемые в тексте настоящего стандарта и определенные в пункте 3 и предметном указателе, набраны заглавными буквами.
В настоящем стандарте термины означают:
- "пункт" - одна из семнадцати частей стандарта, указанных в оглавлении, включая все свои подпункты; например пункт 7 включает подпункты (пункты) 7.1, 7.2 и т.д.;
- "подпункт" - пронумерованная последовательность подпунктов пункта; например подпункты 7.1, 7.2 и 7.2.1 являются подпунктами пункта 7.
Перед ссылкой на пункт и перед его номером в настоящем стандарте будет стоять слово "пункт", а ссылка на подпункт будет ограничиваться лишь его номером.
В настоящем стандарте союз "или" будет использоваться как включающее "или", т.е. утверждение будет истинным при любой комбинации условий.
Вербальные формы, используемые в настоящем стандарте, совпадают по форме с описанными в Приложении G Директив ИСО/МЭК, часть 2.
Вспомогательные глаголы:
- "должен" означает, что соответствие требованиям или испытаниям обязательно для соответствия настоящему стандарту;
- "следует" означает, что соответствие требованиям или испытаниям рекомендовано, но не обязательно для соответствия настоящему стандарту;
- "может" используется для описания допустимых путей достижения соответствия требованиям или испытаниям.
Комитет решил, что содержание данной публикации остается неизменным до даты подведения результатов, отображенной на сайте МЭК "http://webstore.iec.ch" в данных, соответствующих определенной публикации. В этот день публикация будет:
- подтверждена;
- отозвана;
- заменена на пересмотренное издание или
- дополнена.
201.1. Область распространения и цель, дополнительные
и частные стандарты
Применяют пункт 1 общего стандарта
<*>, за исключением следующего:
201.1.1. Область распространения
Замена:
Настоящий стандарт устанавливает частные требования БЕЗОПАСНОСТИ С УЧЕТОМ ОСНОВНЫХ ФУНКЦИОНАЛЬНЫХ ХАРАКТЕРИСТИК к ВЫСОКОЧАСТОТНЫМ ЭЛЕКТРОХИРУРГИЧЕСКИМ АППАРАТАМ, определенным в
201.3.222.
Настоящий стандарт не распространяется на ВЫСОКОЧАСТОТНЫЕ ЭЛЕКТРОХИРУРГИЧЕСКИЕ АППАРАТЫ с НОМИНАЛЬНОЙ ВЫХОДНОЙ МОЩНОСТЬЮ не более 50 Вт (например, для микроКОАГУЛЯЦИИ или для использования в стоматологии или офтальмологии). Эти исключения указаны в соответствующих требованиях.
--------------------------------
<*> МЭК 60601-1:2005 "Изделия медицинские электрические. Часть 1. Общие требования безопасности с учетом основных функциональных характеристик" (далее - общий стандарт).
201.1.2. Цель
Замена:
Целью настоящего частного стандарта является установление частных требований к ОСНОВНОЙ БЕЗОПАСНОСТИ и ОСНОВНЫМ ФУНКЦИОНАЛЬНЫМ ХАРАКТЕРИСТИКАМ ВЫСОКОЧАСТОТНЫХ ЭЛЕКТРОХИРУРГИЧЕСКИХ АППАРАТОВ, как определено в
201.3.222.
201.1.3. Дополнительные стандарты
Дополнение:
В настоящем частном стандарте приведены ссылки на применяемые дополнительные стандарты, перечисленные в пункте 2 общего стандарта и
пункте 201.2 настоящего частного стандарта.
МЭК 60601-1-2 и МЭК 60601-1-8 применяют согласно пунктам 202 и 208 соответственно. МЭК 60601-1-3, МЭК 60601-1-10 и МЭК 60601-1-11 <*> не применяют. Все другие опубликованные дополнительные стандарты серии МЭК 60601-1 применяются с момента опубликования.
--------------------------------
<*> МЭК 60601-1-11:2010 "Изделия медицинские электрические. Часть 1. Общие требования безопасности с учетом основных функциональных характеристик. Дополнительный стандарт. Требования к медицинским изделиям и медицинским электрическим системам, используемым при домашнем медицинском уходе".
201.1.4. Частные стандарты
Замена:
В серии стандартов МЭК 60601 частные стандарты могут изменять, заменять или отменять требования, содержащиеся в общем стандарте и дополнительных стандартах, как необходимо для конкретного рассматриваемого МЕ ИЗДЕЛИЯ, и могут добавлять другие требования БЕЗОПАСНОСТИ к ОСНОВНЫМ ФУНКЦИОНАЛЬНЫМ ХАРАКТЕРИСТИКАМ.
Требования частного стандарта имеют приоритет перед общим стандартом.
Для краткости МЭК 60601-1 называется в настоящем частном стандарте общим стандартом. Дополнительные стандарты указывают по обозначениям.
Нумерация пунктов и подпунктов настоящего частного стандарта соответствует нумерации общего стандарта с префиксом "201" (например
201.1 в настоящем стандарте относится к содержанию пункта 1 общего стандарта), применимого дополнительного стандарта с префиксом "20x", где "x" - это последний(е) символ(ы) номера дополнительного стандарта (например 202.4 в настоящем частном стандарте относится к содержанию пункта 4 дополнительного стандарта МЭК 60601-1-2, 203.4 в настоящем частном стандарте относится к содержанию пункта 4 дополнительного стандарта МЭК 60601-1-3 и т.д.). Изменения текста общего стандарта определяются следующими словами:
- "замена" - пункт или подпункт общего стандарта или применимого дополнительного стандарта полностью заменяется текстом настоящего частного стандарта;
- "дополнение" - текст настоящего частного стандарта дополняет требования общего стандарта или применимого дополнительного стандарта;
- "поправка" - пункт или подпункт общего стандарта или применимого дополнительного стандарта изменяется согласно указаниям в тексте настоящего частного стандарта.
Подпункты, рисунки или таблицы, которые добавлены к имеющимся в общем стандарте, пронумерованы, начиная с 201.101. Однако, учитывая, что определения в общем стандарте нумеруются от 3.1 до 3.139, добавленные определения в настоящем стандарте пронумерованы, начиная с
201.3.201. Добавленные Приложения обозначены AA, BB и т.д. и добавленные пункты - aa), bb) и т.д.
Подпункты или рисунки, которые добавляются к имеющимся в дополнительном стандарте, пронумерованы, начиная с "20x", где "x" - это номер дополнительного стандарта, например 202 для МЭК 60601-1-2, 203 для МЭК 60601-1-3 и т.д.
Термин "настоящий стандарт" используется для совместной ссылки на общий стандарт, любые применимые дополнительные стандарты и настоящий частный стандарт.
Если нет соответствующего пункта или подпункта в настоящем частном стандарте, пункт или подпункт общего стандарта или применимого дополнительного стандарта применяются без изменений, хотя они могут быть неподходящими. Если необходимо, чтобы любая часть общего стандарта или применимого дополнительного стандарта не применялась, хотя она может быть подходящей, то в настоящем частном стандарте приведено утверждение о таком действии.
201.2. Нормативные ссылки
&Примечание. Справочные ссылки приведены в Библиографии&.
В настоящем стандарте использованы нормативные ссылки общего стандарта, пункт 2, за исключением следующего:
Замена:
МЭК 60601-1-2:2007 Изделия медицинские электрические. Часть 1-2. Общие требования безопасности с учетом основных функциональных характеристик. Дополнительный стандарт - Электромагнитная совместимость. Требования и испытания (IEC 60601-1-2:2007 "Medical electrical equipment - Part 1-2: General requirements for basic safety and essential performance - Collateral standard: Electromagnetic compatibility - Requirements and tests").
МЭК 60601-1-8:2006 Изделия медицинские электрические. Часть 1-8. Общие требования безопасности. Общие требования, испытания и руководящие указания по применению систем сигнализации медицинских электрических изделий и медицинских электрических систем (IEC 60601-1-8:2006 "Medical electrical equipment - Part 1-8: General requirements for basic safety and essential performance - Collateral Standard: General requirements, tests and guidance for alarm systems in medical electrical equipment and medical electrical systems").
Дополнение:
МЭК 61000-4-3:2006 Электромагнитная совместимость (EMC). Часть 4-3. Испытания и методы измерения. Испытания на помехоустойчивость к излучаемым радиочастотным электромагнитным полям (IEC 61000-4-3:2006 "Electromagnetic compatibility (EMC) - Part 4-3: Testing and measurement techniques - Radiated, radio-frequency, electromagnetic field immunity test").
МЭК 61000-4-6:2003 Электромагнитная совместимость (EMC) - Часть 4-6: Испытания и методы измерения. Помехоустойчивость к нарушениям проводимости, вызванным радиочастотными полями (IEC 61000-4-6:2003 "Electromagnetic compatibility (EMC) - Part 4-6: Testing and measurement techniques - Immunity to conducted disturbances, induced by radio-frequency fields").
СИСПР 11:2003 Промышленное, научное и медицинское радиочастотное оборудование. Характеристики ЭЛЕКТРОМАГНИТНЫХ ПОМЕХ. Ограничения и методы измерения (CISPR 11:2003 "Industrial, scientific and medical (ISM) radio-frequency equipment - Electromagnetic disturbance characteristics - Limits and methods of measurement").
201.3. Термины и определения
В настоящем стандарте применены термины общего стандарта, за исключением:
Замена:
&Примечание 1. Если в настоящем стандарте использованы термины "напряжение" или "ток", они означают среднеквадратические значения переменного, постоянного или сложной формы напряжения или тока, усредненные за период 1 с, если не установлено иное&.
Дополнение:
201.3.201. АКТИВНАЯ ПРИНАДЛЕЖНОСТЬ (ACTIVE ACCESSORY): ВЫСОКОЧАСТОТНАЯ ЭЛЕКТРОХИРУРГИЧЕСКАЯ ПРИНАДЛЕЖНОСТЬ, предусмотренная для манипуляций ОПЕРАТОРОМ при проведении хирургического воздействия в предусмотренной области ПАЦИЕНТА, в общем случае состоящая из АКТИВНОЙ РУКОЯТКИ, шнура АКТИВНОЙ ПРИНАДЛЕЖНОСТИ, АКТИВНОГО СОЕДИНИТЕЛЯ и АКТИВНОГО ЭЛЕКТРОДА.
201.3.202. АКТИВНЫЙ СОЕДИНИТЕЛЬ (ACTIVE CONNECTOR): Часть АКТИВНОЙ ПРИНАДЛЕЖНОСТИ, предназначенная для подсоединения к АКТИВНОМУ ВЫХОДУ, которая может включать дополнительные контакты для соединения РУЧНЫХ ВЫКЛЮЧАТЕЛЕЙ с ДАТЧИКАМИ ВЫКЛЮЧЕНИЯ.
201.3.203. АКТИВНЫЙ ЭЛЕКТРОД (ACTIVE ELECTRODE): Часть АКТИВНОЙ ПРИНАДЛЕЖНОСТИ, находящаяся между АКТИВНОЙ РУКОЯТКОЙ и областью хирургического вмешательства.
201.3.204. ИЗОЛЯЦИЯ АКТИВНОГО ЭЛЕКТРОДА (ACTIVE ELECTRODE INSULATION): Электроизолирующий материал, покрывающий часть АКТИВНОГО ЭЛЕКТРОДА для предотвращения нежелательного воздействия на ОПЕРАТОРА или на прилегающие ткани ПАЦИЕНТА.
201.3.205. АКТИВНАЯ РУКОЯТКА (ACTIVE HANDLE): Часть АКТИВНОЙ ПРИНАДЛЕЖНОСТИ, которую ОПЕРАТОР держит в руке.
201.3.206. АКТИВНЫЙ ВЫХОД (ACTIVE OUTPUT TERMINAL): Часть ВЫСОКОЧАСТОТНОГО ЭЛЕКТРОХИРУРГИЧЕСКОГО АППАРАТА или ВСПОМОГАТЕЛЬНОГО ИЗДЕЛИЯ, предназначенная для соединения с АКТИВНОЙ ПРИНАДЛЕЖНОСТЬЮ для подачи в нее ВЧ тока.
201.3.207*. ВСПОМОГАТЕЛЬНОЕ ИЗДЕЛИЕ (ASSOCIATED EQUIPMENT): Изделие, не являющееся ВЫСОКОЧАСТОТНЫМ ЭЛЕКТРОХИРУРГИЧЕСКИМ АППАРАТОМ, которое может быть электрически соединено с ЦЕПЬЮ ПАЦИЕНТА, но не предназначено для независимого использования.
201.3.208*. БИПОЛЯРНЫЙ (BIPOLAR): Метод подачи ВЫСОКОЧАСТОТНОГО выходного тока к ПАЦИЕНТУ посредством мультиполярных АКТИВНЫХ ЭЛЕКТРОДОВ.
201.3.209. БИПОЛЯРНЫЙ ЭЛЕКТРОД (BIPOLAR ELECTRODE): Сборка двух или более АКТИВНЫХ ЭЛЕКТРОДОВ на одном держателе, сконструированная таким образом, что при подаче питания ВЫСОКОЧАСТОТНЫЙ ток проходит, главным образом между этими электродами.
201.3.210. КОАГУЛЯЦИЯ (COAGULATION): Использование ВЫСОКОЧАСТОТНОГО тока для повышения температуры тканей с целью уменьшения или прекращения нежелательных кровотечений.
201.3.211. МОНИТОР КАЧЕСТВА КОНТАКТА, МКК (CONTACT QUALITY MONITOR, CQM): Цепь в ВЫСОКОЧАСТОТНОМ ЭЛЕКТРОХИРУРГИЧЕСКОМ АППАРАТЕ или ВСПОМОГАТЕЛЬНОМ ИЗДЕЛИИ, предназначенная для соединения с МОНИТОРИРУЕМЫМ НЕЙТРАЛЬНЫМ ЭЛЕКТРОДОМ с целью обеспечения срабатывания тревожной сигнализации в случае, если контакт НЕЙТРАЛЬНОГО ЭЛЕКТРОДА (НЭ) с ПАЦИЕНТОМ становится недостаточным.
&Примечание. МОНИТОР КАЧЕСТВА КОНТАКТА работает только при использовании совместно с МОНИТОРИРУЕМЫМ НЭ&.
201.3.212. МОНИТОР НЕРАЗРЫВНОСТИ (CONTINUITY MONITOR): Цепь в ВЫСОКОЧАСТОТНОМ ЭЛЕКТРОХИРУРГИЧЕСКОМ АППАРАТЕ или ВСПОМОГАТЕЛЬНОМ ИЗДЕЛИИ, предназначенная для соединения с НЕЙТРАЛЬНЫМ ЭЛЕКТРОДОМ, за исключением МОНИТОРИРУЕМОГО НЕЙТРАЛЬНОГО ЭЛЕКТРОДА, с целью обеспечения срабатывания тревожной сигнализации в случае электрического разрыва в кабеле НЭ или его соединениях.
201.3.213*. КРЕСТ-ФАКТОР (CREST FACTOR): Безразмерная величина, равная отношению пикового выходного напряжения к среднеквадратическому выходному напряжению, измеренных на выходе ВЫСОКОЧАСТОТНОГО ЭЛЕКТРОХИРУРГИЧЕСКОГО АППАРАТА в режиме холостого хода.
&Примечание. Специальную информацию по проведению корректных измерений, необходимых для вычисления КРЕСТ-ФАКТОРА, можно найти в
Приложении AA&.
201.3.214*. РЕЗАНИЕ (CUTTING): Отсечение или рассечение тканей тела, вызванное прохождением высокочастотного тока высокой плотности в АКТИВНОМ(ЫХ) ЭЛЕКТРОДЕ(АХ).
201.3.215*. ВЧ ЗАЗЕМЛЕННАЯ ЦЕПЬ ПАЦИЕНТА (EARTH REFERENCED PATIENT CIRCUIT): Цепь ПАЦИЕНТА, включающая такие компоненты, как конденсаторы, и обеспечивающая для ВЫСОКОЧАСТОТНЫХ токов путь на землю с низким импедансом.
201.3.216. РУЧНОЙ ВЫКЛЮЧАТЕЛЬ (FINGERSWITCH): Устройство, в общем случае являющееся частью АКТИВНОЙ ПРИНАДЛЕЖНОСТИ, при воздействии на которое ОПЕРАТОРОМ происходит подача ВЫСОКОЧАСТОТНОГО тока, а при прекращении воздействия ВЫСОКОЧАСТОТНЫЙ ток отсутствует.
&Примечание. Рассматриваются требования к аналогичным выключателям, предназначенным для выполнения функций, отличных от активации ВЧ выхода&.
201.3.217*. ФУЛЬГУРАЦИЯ (FULGURATION): Вид КОАГУЛЯЦИИ, использующий длинные (порядка 0,5 мм и более) электрические искры для неглубокого нагрева поверхности ткани, при котором не предусмотрен механический контакт между АКТИВНЫМ ЭЛЕКТРОДОМ и тканью.
201.3.218*. ВЫСОКОЧАСТОТНЫЙ, ВЫСОКАЯ ЧАСТОТА, ВЧ (HIGH FREQUENCY, HF): Частота более 200 кГц.
201.3.219*. ВЫСОКОЧАСТОТНАЯ ИЗОЛИРОВАННАЯ ЦЕПЬ ПАЦИЕНТА (HF ISOLATED PATIENT CIRCUIT): Цепь ПАЦИЕНТА, в которой отсутствуют компоненты, обеспечивающие для ВЫСОКОЧАСТОТНЫХ токов путь на землю с низким импедансом.
201.3.220. ВЫСОКОЧАСТОТНАЯ ЦЕПЬ ПАЦИЕНТА (HF PATIENT CIRCUIT): Любая электрическая цепь, содержащая одно или более СОЕДИНЕНИЙ С ПАЦИЕНТОМ.
201.3.221*. ВЫСОКОЧАСТОТНАЯ ЭЛЕКТРОХИРУРГИЧЕСКАЯ ПРИНАДЛЕЖНОСТЬ (HF SURGICAL ACCESSORY): ПРИНАДЛЕЖНОСТЬ, предназначенная для передачи, приложения или мониторинга ВЧ энергии, подаваемой ПАЦИЕНТУ от ВЫСОКОЧАСТОТНОГО ЭЛЕКТРОХИРУРГИЧЕСКОГО АППАРАТА.
&Примечание. ВЫСОКОЧАСТОТНЫЕ ЭЛЕКТРОХИРУРГИЧЕСКИЕ ПРИНАДЛЕЖНОСТИ включают ВЧ электроды для хирургического использования, шнуры и соединители для соединения с ВЫСОКОЧАСТОТНЫМ ЭЛЕКТРОХИРУРГИЧЕСКИМ АППАРАТОМ, а также другие ВСПОМОГАТЕЛЬНЫЕ ИЗДЕЛИЯ, предназначенные для соединения с ВЫСОКОЧАСТОТНОЙ хирургической ЦЕПЬЮ ПАЦИЕНТА&.
201.3.222. ВЫСОКОЧАСТОТНЫЙ ЭЛЕКТРОХИРУРГИЧЕСКИЙ АППАРАТ (HF SURGICAL EQUIPMENT): МЕДИЦИНСКОЕ ЭЛЕКТРИЧЕСКОЕ ИЗДЕЛИЕ, включая соответствующие ПРИНАДЛЕЖНОСТИ, предназначенное для проведения хирургических операций, таких, как РЕЗАНИЕ или КОАГУЛЯЦИЯ биологических тканей с помощью ВЫСОКОЧАСТОТНЫХ токов.
&Примечание. ВЫСОКОЧАСТОТНЫЙ ЭЛЕКТРОХИРУРГИЧЕСКИЙ АППАРАТ также известен как аппарат для хирургической диатермии&.
201.3.223*. ВЫСОКОЧАСТОТНЫЙ ЭЛЕКТРОХИРУРГИЧЕСКИЙ РЕЖИМ (HF SURGICAL MODE): Любой набор выбираемых ОПЕРАТОРОМ характеристик ВЧ выхода, предназначенный для обеспечения определенного хирургического воздействия с соединенной АКТИВНОЙ ПРИНАДЛЕЖНОСТЬЮ, такого, как РЕЗАНИЕ, КОАГУЛЯЦИЯ и других подобных воздействий.
&Примечание. Каждый доступный ВЫСОКОЧАСТОТНЫЙ ЭЛЕКТРОХИРУРГИЧЕСКИЙ РЕЖИМ может быть снабжен органом управления выходом, регулируемым ОПЕРАТОРОМ, для установки желаемой интенсивности или скорости хирургического воздействия&.
201.3.224*. МАКСИМАЛЬНОЕ ВЫХОДНОЕ НАПРЯЖЕНИЕ (MAXIMUM OUTPUT VOLTAGE): Значение максимально возможного пикового напряжения ВЧ выхода между соединениями в ЦЕПИ ПАЦИЕНТА для каждого ВЫСОКОЧАСТОТНОГО ЭЛЕКТРОХИРУРГИЧЕСКОГО РЕЖИМА.
201.3.225*. МОНИТОРИРУЕМЫЙ НЕЙТРАЛЬНЫЙ ЭЛЕКТРОД (MONITORING NE): НЕЙТРАЛЬНЫЙ ЭЛЕКТРОД, предназначенный для использования с МОНИТОРОМ КАЧЕСТВА КОНТАКТА.
201.3.226*. МОНОПОЛЯРНЫЙ (MONOPOLAR): Метод подачи ВЫСОКОЧАСТОТНОГО выходного тока ПАЦИЕНТУ через АКТИВНЫЙ ЭЛЕКТРОД с возвратом через отдельно подсоединенный НЕЙТРАЛЬНЫЙ ЭЛЕКТРОД или через емкость тела ПАЦИЕНТА относительно земли.
201.3.227. НЕЙТРАЛЬНЫЙ ЭЛЕКТРОД, НЭ (NEUTRAL ELECTRODE, NE): Электрод с относительно большой площадью для наложения на тело ПАЦИЕНТА, предназначенный для обеспечения путей возврата ВЫСОКОЧАСТОТНОГО тока с низкой плотностью тока в тканях тела, что позволяет избежать нежелательных ожогов.
&Примечание. НЕЙТРАЛЬНЫЙ ЭЛЕКТРОД также известен как пластина, пластинчатый электрод, пассивный, возвратный или рассеивающий электрод&.
201.3.228. НОМИНАЛЬНОЕ НАПРЯЖЕНИЕ ПРИНАДЛЕЖНОСТИ (RATED ACCESSORY VOLTAGE): Максимальное пиковое ВЫСОКОЧАСТОТНОЕ выходное напряжение по отношению к НЕЙТРАЛЬНОМУ ЭЛЕКТРОДУ, которое может быть приложено к МОНОПОЛЯРНОЙ ВЫСОКОЧАСТОТНОЙ ЭЛЕКТРОХИРУРГИЧЕСКОЙ ПРИНАДЛЕЖНОСТИ. Для БИПОЛЯРНОЙ ВЫСОКОЧАСТОТНОЙ ЭЛЕКТРОХИРУРГИЧЕСКОЙ ПРИНАДЛЕЖНОСТИ - максимальное пиковое ВЫСОКОЧАСТОТНОЕ выходное напряжение, которое может быть приложено к парам с противоположной полярностью.
201.3.229. НОМИНАЛЬНАЯ НАГРУЗКА (RATED LOAD): Значение безреактивного сопротивления нагрузки, при котором достигается максимальная выходная ВЧ мощность в каждом ВЫСОКОЧАСТОТНОМ ЭЛЕКТРОХИРУРГИЧЕСКОМ РЕЖИМЕ ВЫСОКОЧАСТОТНОГО ЭЛЕКТРОХИРУРГИЧЕСКОГО АППАРАТА.
201.3.230. НОМИНАЛЬНАЯ ВЫХОДНАЯ МОЩНОСТЬ (RATED OUTPUT POWER): Отдаваемая выходная мощность в ваттах для каждого ВЫСОКОЧАСТОТНОГО ЭЛЕКТРОХИРУРГИЧЕСКОГО РЕЖИМА при установке регуляторов мощности на максимум, если все АКТИВНЫЕ ВЫХОДЫ, которые могут быть активированы одновременно, соединены с соответствующей НОМИНАЛЬНОЙ НАГРУЗКОЙ.
201.3.231. ДАТЧИК ВЫКЛЮЧЕНИЯ (SWITCH SENSOR): Часть ВЫСОКОЧАСТОТНОГО ЭЛЕКТРОХИРУРГИЧЕСКОГО АППАРАТА или ВСПОМОГАТЕЛЬНОГО ИЗДЕЛИЯ, которая управляет активацией ВЫСОКОЧАСТОТНОГО выхода при срабатывании подсоединенного РУЧНОГО ВЫКЛЮЧАТЕЛЯ или ножного выключателя.
Применяют пункт 4 общего стандарта, за исключением следующего:
201.4.2*. ПРОЦЕСС МЕНЕДЖМЕНТА РИСКА для МЕ ИЗДЕЛИЯ или МЕ СИСТЕМЫ
Дополнение:
ИЗГОТОВИТЕЛИ при АНАЛИЗЕ РИСКОВ должны рассмотреть возможность использования ВЫСОКОЧАСТОТНЫХ ЭЛЕКТРОХИРУРГИЧЕСКИХ АППАРАТОВ и/или ВЫСОКОЧАСТОТНЫХ ЭЛЕКТРОХИРУРГИЧЕСКИХ ПРИНАДЛЕЖНОСТЕЙ при МОНОПОЛЯРНОМ применении в ситуациях высоких значений ВЧ токов, уделив особое внимание нагреву под НЕЙТРАЛЬНЫМ ЭЛЕКТРОДОМ [например см.
201.7.9.2.2.101, перечисление f)].
201.4.3*. ОСНОВНЫЕ ФУНКЦИОНАЛЬНЫЕ ХАРАКТЕРИСТИКИ
Дополнение:
201.4.7. УСЛОВИЕ ЕДИНИЧНОГО НАРУШЕНИЯ для МЕ ИЗДЕЛИЯ
Дополнение:
Дополнительные УСЛОВИЯ ЕДИНИЧНОГО НАРУШЕНИЯ:
aa) отказ МОНИТОРА НЕРАЗРЫВНОСТИ или МОНИТОРА КАЧЕСТВА КОНТАКТА, который мог бы привести к недопустимому РИСКУ (см.
201.8.4.101);
bb) дефект в цепи выключения выхода, приводящий к чрезмерным низкочастотным ТОКАМ УТЕЧКИ НА ПАЦИЕНТА (см.
201.8.10.4.101.1);
cc) любой дефект, приводящий к нежелательной подаче энергии в ЦЕПЬ ПАЦИЕНТА (см. 101.12.4.2.101);
dd) любой дефект, приводящий к существенному увеличению выходной мощности относительно уставок выхода (см. 101.12.4.4.101).
201.4.11. Потребляемая мощность
Изменение:
ВЫСОКОЧАСТОТНЫЙ ЭЛЕКТРОХИРУРГИЧЕСКИЙ АППАРАТ должен работать в таком выходном режиме и при такой нагрузке, при которых установившееся значение потребляемого тока достигает максимума.
201.5. Общие требования к испытаниям МЕ ИЗДЕЛИЯ
Применяют пункт 5 общего стандарта, за исключением следующего:
201.5.4*. Прочие условия испытаний
Дополнение:
aa) следует обратить особое внимание на обеспечение точности и безопасности во время измерения ВЧ выхода. См.
Приложение AA для получения руководств.
201.6. Классификация МЕ ИЗДЕЛИЙ и МЕ СИСТЕМ
Применяют пункт 6 общего стандарта.
201.7. Идентификация, маркировка и документация МЕ ИЗДЕЛИЙ
Применяют пункт 7 общего стандарта, за исключением следующего:
201.7.2.8.2. Другие источники мощности
Изменение:
Подпункт 7.2.8.2 общего стандарта не применяют к АКТИВНЫМ ВЫХОДАМ.
201.7.2.10. РАБОЧИЕ ЧАСТИ
Дополнение:
Маркировка соответствующих символов для РАБОЧИХ ЧАСТЕЙ С ЗАЩИТОЙ ОТ РАЗРЯДА ДЕФИБРИЛЛЯТОРА должна быть нанесена на переднюю панель, но ее нанесение на РАБОЧУЮ ЧАСТЬ не требуется.
Соединения ВЧ ЭЛЕКТРОХИРУРГИЧЕСКОГО АППАРАТА и ВСПОМОГАТЕЛЬНОГО ИЗДЕЛИЯ для проводов НЭ должны быть маркированы следующими символами:
Рисунок 201.101. Символ ВЧ ЗАЗЕМЛЕННОЙ ЦЕПИ ПАЦИЕНТА
Рисунок 201.102. Символ ВЧ ИЗОЛИРОВАННОЙ ЦЕПИ ПАЦИЕНТА
201.7.4.2*. Органы управления
Дополнение:
Орган управления выходной мощностью должен иметь шкалу и/или связанный с ним индикатор, показывающие выходную мощность в относительных единицах. Шкала и индикатор не должны маркироваться в ваттах (Вт), за исключением случая, когда действительное значение отдаваемой мощности находится в пределах +/- 20% от показаний во всем диапазоне сопротивления нагрузки, установленном в
201.7.9.3.1.
Цифра "0" не должна использоваться, за исключением случая, когда отдаваемая в нагрузку ВЧ мощность в этом положении органа управления не превышает 10 мВт.
&Примечание. Испытание на соответствие проводят согласно
201.12.1.102&.
201.7.8.1*. Цвета световых индикаторов
Таблица 2 общего стандарта, Замена:
Таблица 201.101
Цвета световых индикаторов и их значения для ВЧ
ЭЛЕКТРОХИРУРГИЧЕСКИХ АППАРАТОВ
Цвет | Значение |
Красный | Предупреждение. Требуется немедленная реакция ОПЕРАТОРА, например нарушение в ЦЕПИ ПАЦИЕНТА |
Желтый | Режим РЕЗАНИЯ |
Синий | Режим КОАГУЛЯЦИИ |
Зеленый | Готов к использованию |
Любой другой цвет | Значение, отличное от значения красного, желтого, синего и зеленого |
201.7.8.2*. Цвета органов управления
Дополнение:
Если органы управления, выходы, световые индикаторы, педали (см.
201.12.2) и кнопки РУЧНЫХ ВЫКЛЮЧАТЕЛЕЙ (см.
201.12.2) связаны с конкретным ВЧ ЭЛЕКТРОХИРУРГИЧЕСКИМ РЕЖИМОМ, они должны идентифицироваться цветами, не противоречащими
таблице 201.101.
Соответствие проверяют осмотром.
201.7.9.2.2*. Предупреждения и указания по безопасности
Дополнительный подпункт:
201.7.9.2.2.101*. Дополнительная информация в инструкции по эксплуатации
a) Указания по применению ВЧ ЭЛЕКТРОХИРУРГИЧЕСКОГО АППАРАТА. Данные указания должны обращать внимание ОПЕРАТОРА на конкретные меры предосторожности, необходимые для снижения риска случайных ожогов. В частности, должны быть даны советы, если применимо, касающиеся следующего:
1)* вся поверхность НЕЙТРАЛЬНОГО ЭЛЕКТРОДА должна надежно контактировать с подходящей поверхностью тела ПАЦИЕНТА, подготовленной соответствующим образом, как определено ИЗГОТОВИТЕЛЕМ;
2)* ПАЦИЕНТ не должен контактировать с металлическими частями, которые заземлены или имеют достаточно большую емкость относительно земли (например, опоры операционных столов и т.д.);
3)* следует избегать контакта кожи с кожей (например, между руками и телом ПАЦИЕНТА), например путем размещения между ними сухой марли;
4)* если на одном и том же ПАЦИЕНТЕ одновременно используются ВЧ ЭЛЕКТРОХИРУРГИЧЕСКИЙ АППАРАТ и ИЗДЕЛИЕ ДЛЯ МОНИТОРИНГА физиологических параметров, любой электрод для мониторинга должен быть расположен настолько далеко от хирургических электродов, насколько это возможно. Не рекомендуется использовать электроды для мониторинга в виде игл.
Во всех случаях рекомендуется использовать системы мониторинга, включающие устройства ограничения ВЫСОКОЧАСТОТНОГО тока;
5)* провода, ведущие к ПАЦИЕНТУ, должны быть расположены таким образом, чтобы избегать контакта с ПАЦИЕНТОМ или другими проводами.
Временно неиспользуемые АКТИВНЫЕ ЭЛЕКТРОДЫ должны храниться в месте, изолированном от ПАЦИЕНТА;
6)* для хирургических процедур, при которых ВЧ ток может протекать через части тела, с относительно малой площадью поперечного сечения может быть желательно использовать БИПОЛЯРНУЮ методику для предотвращения нежелательного повреждения ткани;
7) выбранная выходная мощность должна быть настолько малой, насколько возможно для предполагаемого использования. Некоторые устройства или ПРИНАДЛЕЖНОСТИ могут представлять неприемлемый риск при настройке низкой мощности. Например, при КОАГУЛЯЦИИ аргоновым лучом риск газовой эмболии возрастает, если ВЧ мощности недостаточно для быстрого создания непроницаемого струпа на целевой ткани;
8)* явно низкая выходная мощность или отказ ВЧ ЭЛЕКТРОХИРУРГИЧЕСКОГО АППАРАТА в корректном функционировании при нормальных рабочих настройках может указывать на неверное наложение НЕЙТРАЛЬНОГО ЭЛЕКТРОДА или недостаточный контакт в его соединениях. В этом случае перед выбором более высокой выходной мощности необходимо проверить наложение НЕЙТРАЛЬНОГО ЭЛЕКТРОДА и его соединения;
9) необходимо избегать использования воспламеняющихся анестетиков или окисляющих газов, таких, как закись азота (N2O) и кислород, если хирургическую процедуру проводят в области грудной клетки или головы, за исключения случая, когда эти вещества отсасываются.
Везде, где возможно, для чистки и дезинфекции следует использовать невоспламеняющиеся вещества.
Перед применением ВЧ электрохирургии необходимо дать испариться воспламеняющимся веществам, используемым для чистки или дезинфекции или как растворители адгезивных веществ. Существует риск накопления воспламеняющихся растворов под ПАЦИЕНТОМ или в углублениях тела, таких, как пупок, или в полостях тела, таких, как влагалище. Любые жидкости, накопленные в этих местах, должны быть удалены до использования ВЧ ЭЛЕКТРОХИРУРГИЧЕСКОГО АППАРАТА. Следует обратить внимание на опасность воспламенения эндогенных газов. Некоторые материалы, такие, как хлопок или марля, при насыщении кислородом могут воспламеняться от искр, образуемых при НОРМАЛЬНОЙ ЭКСПЛУАТАЦИИ ВЧ ЭЛЕКТРОХИРУРГИЧЕСКОГО АППАРАТА;
10) для ПАЦИЕНТОВ с электрокардиостимулятором или другими активными имплантатами существует вероятная опасность, связанная с возможным влиянием на работу электрокардиостимулятора или возможным его повреждением. В случае сомнений необходимо получить квалифицированные рекомендации;
11) для ВЧ ЭЛЕКТРОХИРУРГИЧЕСКОГО АППАРАТА с рабочим режимом, описанным в
201.12.2, перечисление b), требуется предупреждение о том, что выходная мощность АКТИВНОГО ЭЛЕКТРОДА может быть разной;
b) предупреждение о том, что помехи, создаваемые работой ВЧ ЭЛЕКТРОХИРУРГИЧЕСКОГО АППАРАТА, могут негативно влиять на работу другого электронного оборудования;
c)* для ВЧ ЭЛЕКТРОХИРУРГИЧЕСКОГО АППАРАТА МАКСИМАЛЬНОЕ ВЫХОДНОЕ НАПРЯЖЕНИЕ для каждого ВЧ ЭЛЕКТРОХИРУРГИЧЕСКОГО РЕЖИМА и инструкции, касающиеся НОМИНАЛЬНОГО НАПРЯЖЕНИЯ ПРИНАДЛЕЖНОСТЕЙ, в соответствии со следующим:
1) для ситуаций, когда МАКСИМАЛЬНОЕ ВЫХОДНОЕ НАПРЯЖЕНИЕ (Umax) меньше или равно 1600 В, приводятся инструкции, что ВСПОМОГАТЕЛЬНОЕ ИЗДЕЛИЕ и АКТИВНЫЕ ПРИНАДЛЕЖНОСТИ должны выбираться с расчетом, что они имеют НОМИНАЛЬНОЕ НАПРЯЖЕНИЕ ПРИНАДЛЕЖНОСТИ, равное или превышающее МАКСИМАЛЬНОЕ ВЫХОДНОЕ НАПРЯЖЕНИЕ;
2) для ситуаций, когда МАКСИМАЛЬНОЕ ВЫХОДНОЕ НАПРЯЖЕНИЕ (Umax) превышает 1 600 В, вычисляют значение y по формуле:

.
Выбирают меньшее из значений y или число 6. Если результат менее или равен КРЕСТ-ФАКТОРУ для данного ВЧ ЭЛЕКТРОХИРУРГИЧЕСКОГО РЕЖИМА, дают указание, что ВСПОМОГАТЕЛЬНЫЕ ИЗДЕЛИЯ и АКТИВНЫЕ ПРИНАДЛЕЖНОСТИ следует выбирать с расчетом, что они имеют НОМИНАЛЬНОЕ НАПРЯЖЕНИЕ ПРИНАДЛЕЖНОСТИ, равное или превышающее МАКСИМАЛЬНОЕ ВЫХОДНОЕ НАПРЯЖЕНИЕ;
3) для ситуаций, когда МАКСИМАЛЬНОЕ ВЫХОДНОЕ НАПРЯЖЕНИЕ (U
max) превышает 1600 В и КРЕСТ-ФАКТОР менее значения y, вычисленного выше, то дают предупреждение, что любые ВСПОМОГАТЕЛЬНЫЕ ИЗДЕЛИЯ и АКТИВНЫЕ ПРИНАДЛЕЖНОСТИ, используемые с данным режимом или настройками, должны иметь номиналы, рассчитанные на комбинацию реального напряжения и КРЕСТ-ФАКТОРА.
Если МАКСИМАЛЬНОЕ ВЫХОДНОЕ НАПРЯЖЕНИЕ изменяется с настройками выхода, данная информация должна быть представлена в виде диаграммы, как функция от настроек выхода;
d) предупреждение, что отказ ВЧ ЭЛЕКТРОХИРУРГИЧЕСКОГО АППАРАТА может привести к непредусмотренному увеличению выходной мощности;
e)* заявление о совместимости с определенными МОНИТОРИРУЕМЫМИ НЭ.
Предупреждение, что, если не используют совместимый МОНИТОРИРУЕМЫЙ НЭ с МОНИТОРОМ КАЧЕСТВА КОНТАКТА, нарушение безопасного контакта между НЭ и ПАЦИЕНТОМ не приведет к активации звуковой тревожной сигнализации.
&Примечания
1. Данное требование не применяют к ВЧ ЭЛЕКТРОХИРУРГИЧЕСКИМ АППАРАТАМ, имеющим только БИПОЛЯРНЫЙ выход.
2. Данное требование не применяют к ВЧ ЭЛЕКТРОХИРУРГИЧЕСКИМ АППАРАТАМ, предназначенным для использования без НЕЙТРАЛЬНОГО ЭЛЕКТРОДА. (См.
201.15.101)&;
f) если температура под НЕЙТРАЛЬНЫМ ЭЛЕКТРОДОМ во время предполагаемого или предусмотренного использования может превысить пределы, перечисленные в 11.1.2.2 общего стандарта или
201.15.101.5 настоящего стандарта, должны быть приведены инструкции, предупреждения и меры предосторожности для корректного использования НЕЙТРАЛЬНОГО ЭЛЕКТРОДА;
g)* предупреждения, касающиеся РИСКОВ, возникающих при нейромышечной стимуляции, которая может возникнуть особенно в режимах, при которых образуются электрические искры между АКТИВНЫМ ЭЛЕКТРОДОМ и тканями;
h) для ВЧ ЭЛЕКТРОХИРУРГИЧЕСКОГО АППАРАТА, который выдает ВЧ мощность без непрерывной активации ДАТЧИКА ВЫКЛЮЧЕНИЯ, как в
201.8.10.4.101.2, предупреждения и/или меры предосторожности, касающиеся соответствующих РИСКОВ.
201.7.9.2.14*. ПРИНАДЛЕЖНОСТИ, ВСПОМОГАТЕЛЬНЫЕ ИЗДЕЛИЯ, используемые материалы
Дополнение:
Инструкция по эксплуатации должна содержать:
a) информацию, касающуюся выбора и использования ВЧ ЭЛЕКТРОХИРУРГИЧЕСКИХ ПРИНАДЛЕЖНОСТЕЙ, для предотвращения несовместимости и нарушения безопасной работы (см. также
201.15.4.1.101 и
201.15.4.1.102);
b) советы ОПЕРАТОРУ по предотвращению установления таких настроек ВЧ выхода, при которых МАКСИМАЛЬНОЕ ВЫХОДНОЕ НАПРЯЖЕНИЕ может превышать НОМИНАЛЬНОЕ НАПРЯЖЕНИЕ ПРИНАДЛЕЖНОСТИ;
c) советы, касающиеся совместимости между МОНИТОРИРУЕМЫМ НЭ и МОНИТОРОМ КАЧЕСТВА КОНТАКТА;
d) советы ОПЕРАТОРУ регулярно проверять ПРИНАДЛЕЖНОСТИ. В частности, необходимо проверять кабели электрода и УСТРОЙСТВА ДЛЯ ЭНДОТЕРАПИИ ПОД ВЧ НАПРЯЖЕНИЕМ (см. МЭК 60601-2-18) на возможные повреждения (например, под увеличением);
e)* для ВСПОМОГАТЕЛЬНЫХ ИЗДЕЛИЙ и АКТИВНЫХ ПРИНАДЛЕЖНОСТЕЙ, включая их части, поставляемые отдельно, НОМИНАЛЬНОЕ НАПРЯЖЕНИЕ ПРИНАДЛЕЖНОСТИ;
f)* на упаковке конечного использования для НЕЙТРАЛЬНЫХ ЭЛЕКТРОДОВ:
- если маркированы для одноразового использования, - срок годности;
- информацию, необходимую для предотвращения ожогов под НЭ, например, по ограничению настроек выхода, подготовке ПАЦИЕНТА и/или продолжительности активации;
- если предназначены для использования только на маленьких ПАЦИЕНТАХ, - маркировку в кг, указывающую максимальную массу ПАЦИЕНТОВ, для которых предусмотрено их использование. См.
201.15.101.5;
g)* в инструкции по эксплуатации для МОНИТОРИРУЕМЫХ НЕЙТРАЛЬНЫХ ЭЛЕКТРОДОВ:
- указание о совместимости с определенным МОНИТОРОМ(АМИ) КАЧЕСТВА КОНТАКТА;
h) должны быть приведены указания, предупреждения и предостережения, касающиеся правильного использования НЕЙТРАЛЬНОГО ЭЛЕКТРОДА, если температура под НЭ при предусмотренном или прогнозируемом применении может превышать пределы, установленные в 11.1.2.2 общего стандарта или
201.15.101.5 настоящего стандарта;
i) в инструкции по эксплуатации ВЧ ЭЛЕКТРОХИРУРГИЧЕСКИХ ПРИНАДЛЕЖНОСТЕЙ, предназначенных для использования только с определенным ВЧ ЭЛЕКТРОХИРУРГИЧЕСКИМ АППАРАТОМ или ВЧ формой или напряжением, должны быть приведены подробные указания на этот счет.
201.7.9.2.15. Защита окружающей среды
Дополнение:
- должны быть приведены рекомендации ОПЕРАТОРУ, касающиеся целесообразности использования вытяжки дыма.
201.7.9.3. Техническое описание
201.7.9.3.1*. Общие положения
Дополнение:
- данные о выходной мощности - МОНОПОЛЯРНЫЙ выход (для всех имеющихся ВЧ ЭЛЕКТРОХИРУРГИЧЕСКИХ РЕЖИМОВ, для любого изменяемого "смешанного" режима в максимальном положении), включая:
- диаграммы, показывающие зависимость выходной мощности от сопротивления нагрузки в диапазоне как минимум от 100 до 2000 Ом при максимальном и среднем положениях регулятора мощности. Диапазон нагрузок должен быть при необходимости расширен, чтобы включить НОМИНАЛЬНУЮ НАГРУЗКУ;
- диаграммы, показывающие зависимость выходной мощности от положения регулятора мощности при определенном сопротивлении нагрузки, находящемся в вышеуказанном диапазоне;
- данные о выходной мощности - БИПОЛЯРНЫЙ выход (для всех ВЧ ЭЛЕКТРОХИРУРГИЧЕСКИХ РЕЖИМОВ, как определено выше), включая:
- диаграммы, показывающие зависимость выходной мощности от сопротивления нагрузки в диапазоне как минимум от 10 до 1000 Ом при максимальном и среднем положениях регулятора мощности. Диапазон нагрузки должен быть при необходимости расширен, чтобы включить НОМИНАЛЬНУЮ нагрузку;
- диаграммы, показывающие зависимость выходной мощности от положения регулятора мощности при определенном сопротивлении нагрузки, находящимся в вышеуказанном диапазоне;
- данные о выходном напряжении - МОНОПОЛЯРНЫЙ и БИПОЛЯРНЫЙ выход (для всех имеющихся ВЧ ЭЛЕКТРОХИРУРГИЧЕСКИХ РЕЖИМОВ). Данные о максимальном напряжении, требуемые в
201.7.9.2.2.101, перечисление c);
- если ВЧ ЭЛЕКТРОХИРУРГИЧЕСКИЙ АППАРАТ предназначен для использования без НЕЙТРАЛЬНОГО ЭЛЕКТРОДА, то это должно быть указано;
- если ВЧ ЭЛЕКТРОХИРУРГИЧЕСКИЙ АППАРАТ или ВСПОМОГАТЕЛЬНОЕ ИЗДЕЛИЕ разработаны таким образом, что имеют только одно фиксированное значение выходной мощности, то указание "и при среднем положении регулятора мощности" следует игнорировать.
201.8. Защита от ОПАСНОСТЕЙ поражения электрическим током
Применяют пункт 8 общего стандарта, за исключением следующего:
201.8.3. Классификация рабочих частей
Дополнение:
aa) РАБОЧИЕ ЧАСТИ ВЧ ЭЛЕКТРОХИРУРГИЧЕСКОГО АППАРАТА должны быть РАБОЧИМИ ЧАСТЯМИ ТИПА BF или ТИПА CF.
Дополнительный подпункт:
201.8.4.101*. Цепь мониторинга НЕЙТРАЛЬНОГО ЭЛЕКТРОДА
ВЫСОКОЧАСТОТНЫЙ ЭЛЕКТРОХИРУРГИЧЕСКИЙ АППАРАТ, имеющий НОМИНАЛЬНУЮ ВЫХОДНУЮ МОЩНОСТЬ более 50 Вт, должен быть снабжен МОНИТОРОМ НЕРАЗРЫВНОСТИ и/или МОНИТОРОМ КАЧЕСТВА КОНТАКТА, обеспечивающими выключение ВЧ выхода и подачу звуковой тревожной сигнализации при нарушении в цепи НЕЙТРАЛЬНОГО ЭЛЕКТРОДА или его соединениях. Звуковая тревожная сигнализация должна иметь уровень в соответствии с
201.12.4.2.101 и не должна быть регулируемой.
&Примечание. Звуковая и световая тревожная сигнализация не должна соответствовать определению СИГНАЛА ОПАСНОСТИ по МЭК 60601-1-8. См. также
пункт 208 настоящего стандарта&.
Цепь мониторинга должна питаться от источника, изолированного от СЕТЕВОЙ ЧАСТИ и земли и имеющего напряжение, не превышающее 12 В. Ограничения тока для МОНИТОРА КАЧЕСТВА КОНТАКТА определены в
201.8.7.3.
Должно быть предусмотрено дополнительное визуальное предупреждение в виде светового индикатора красного цвета (см.
201.7.8.1).
Соответствие МОНИТОРА НЕРАЗРЫВНОСТИ проверяют при работе ВЧ ЭЛЕКТРОХИРУРГИЧЕСКОГО АППАРАТА в максимальном положении регулятора ВЧ мощности в каждом рабочем режиме по схеме, приведенной на
рисунке 201.103. Ключ замыкают и размыкают пять раз, и ВЧ выход должен отключаться, а звуковая сигнализация срабатывать при каждом размыкании ключа.
Для неразделенных пластин: | R = 0 Ом. |
Для разделенных пластин: | R, как определено ИЗГОТОВИТЕЛЕМ, такое, чтобы поддерживать ВЧ выход активированным при замкнутом ключе 1. |
&Примечание. НЕЙТРАЛЬНЫЕ ЭЛЕКТРОДЫ, разделенные более чем на две части, испытывают аналогично&.
Рисунок 201.103. ЦЕПЬ для испытания на
Соответствие МОНИТОРА КАЧЕСТВА КОНТАКТА проверяют следующим образом: включают сетевое питание ВЧ ЭЛЕКТРОХИРУРГИЧЕСКОГО АППАРАТА, устанавливают МОНОПОЛЯРНЫЙ режим работы, но ВЧ выход не активируют. Затем совместимый МОНИТОРИРУЕМЫЙ НЭ, выбранный согласно рекомендациям в 201.7.9.2.2.101, перечисление e), соединяют с МОНИТОРОМ КАЧЕСТВА КОНТАКТА. Руководствуясь инструкцией по эксплуатации на выбранный НЭ, накладывают его всей поверхностью на тело человека или подходящий имитатор поверхности тела человека. Устанавливают на МОНИТОРЕ КАЧЕСТВА КОНТАКТА рабочий режим в соответствии с его инструкцией по эксплуатации и активируют ВЧ выход ВЧ ЭЛЕКТРОХИРУРГИЧЕСКОГО АППАРАТА в МОНОПОЛЯРНОМ ВЧ ЭЛЕКТРОХИРУРГИЧЕСКОМ РЕЖИМЕ. При этом не должно быть тревожной звуковой сигнализации, а на выходе должна присутствовать ВЧ мощность. Далее при активированном ВЧ выходе постепенно уменьшают площадь контакта между НЭ и поверхностью тела человека или поверхностью имитатора до срабатывания тревожной сигнализации. Оставшаяся площадь контакта (площадь срабатывания тревожной сигнализации) Aa должна быть измерена и зарегистрирована для последующих испытаний на нагрев согласно 201.15.101.5. При дальнейших попытках активации на выходе не должно быть ВЧ мощности.
Данное испытание необходимо повторить по обеим осям, используя как минимум три образца каждого совместимого МОНИТОРИРУЕМОГО НЭ.
201.8.4.102*. Нейромышечная стимуляция
Для того чтобы минимизировать вероятность нейромышечной стимуляции, в ЦЕПЬ ПАЦИЕНТА необходимо включить емкость последовательно с АКТИВНЫМ ЭЛЕКТРОДОМ или одним из проводов БИПОЛЯРНОГО ЭЛЕКТРОДА. Эта емкость не должна превышать 5 нФ для МОНОПОЛЯРНОЙ ЦЕПИ ПАЦИЕНТА и 50 нФ для БИПОЛЯРНОЙ ЦЕПИ ПАЦИЕНТА. Сопротивление постоянному току между контактами АКТИВНОГО и НЕЙТРАЛЬНОГО ЭЛЕКТРОДОВ или между контактами БИПОЛЯРНОЙ выходной цепи не должно быть менее 2 МОм.
Соответствие проверяют рассмотрением схемы конструкции цепи и измерением сопротивления постоянному току между выходными контактами.
201.8.5.1.2*. Средства защиты ПАЦИЕНТА (МОРР)
Изменение:
Для ВЧ ЭЛЕКТРОХИРУРГИЧЕСКОГО АППАРАТА и ВЧ ЭЛЕКТРОХИРУРГИЧЕСКИХ ПРИНАДЛЕЖНОСТЕЙ разделение между ВЧ РАБОЧИМИ ЧАСТЯМИ и КОРПУСОМ, включая СИГНАЛЬНЫЕ ВХОДЫ/ВЫХОДЫ, а также между различными ВЧ ЦЕПЯМИ ПАЦИЕНТА не нужно подвергать испытанию на электрическую прочность изоляции согласно
201.8.8.3.
ПУТИ УТЕЧКИ И ВОЗДУШНЫЕ ЗАЗОРЫ изоляции, соответствующей этим разделениям, должны быть по крайней мере 3 мм/кВ или 4 мм, выбирают большее из значений. Рабочим напряжением должно быть максимальное пиковое напряжение.
Это требование не применяют к компонентам, для которых соответствие может быть установлено по заявленным изготовителем компонента характеристикам или испытанием на электрическую прочность изоляции согласно
201.8.8.3.
201.8.5.2.3*. Отведения ПАЦИЕНТА
Изменение:
Данное требование не применяют к АКТИВНЫМ СОЕДИНИТЕЛЯМ или к любым СОЕДИНИТЕЛЯМ НЭ, за исключением описанных ниже.
Соединитель кабеля НЕЙТРАЛЬНЫХ ЭЛЕКТРОДОВ, удаленный от ПАЦИЕНТА, должен быть сконструирован таким образом, чтобы его соединения не могли контактировать с проводящими частями ЗАКРЕПЛЕННЫХ сетевых розеток или ПРИБОРНЫХ РОЗЕТОК, находящихся под напряжением.
Если названную часть можно вставить в ЗАКРЕПЛЕННУЮ сетевую розетку или ПРИБОРНУЮ РОЗЕТКУ, то она должна быть защищена от контакта с частями под сетевым напряжением изоляцией, обеспечивающей ПУТЬ УТЕЧКИ по крайней мере 1,0 мм и электрическую прочность изоляции 1500 В.
Соответствие проверяют осмотром и проведением испытаний на электрическую прочность изоляции для проводящих соединений соединителей, упомянутых выше.
201.8.5.5. РАБОЧАЯ ЧАСТЬ С ЗАЩИТОЙ ОТ РАЗРЯДА ДЕФИБРИЛЛЯТОРА
Изменение:
ЦЕПИ ПАЦИЕНТА ВЧ ЭЛЕКТРОХИРУРГИЧЕСКОГО АППАРАТА в контексте данного подпункта должны считаться РАБОЧИМИ ЧАСТЯМИ.
Соответствие проверяют только синфазным испытанием, как описано в 8.5.5.1 и показано на рисунке 9 общего стандарта, но при испытательном напряжении 2 кВ вместо 5 кВ.
После этого испытания ВЧ ЭЛЕКТРОХИРУРГИЧЕСКИЙ АППАРАТ должен соответствовать всем требованиям и испытаниям настоящего стандарта и выполнять предусмотренную функцию, как описано в ЭКСПЛУАТАЦИОННЫХ ДОКУМЕНТАХ.
201.8.6.1*. Применимость требований
Дополнение:
Обычно в ПРОВОДЕ ЗАЩИТНОГО ЗАЗЕМЛЕНИЯ не должен протекать функциональный ток. Тем не менее для ВЧ ЭЛЕКТРОХИРУРГИЧЕСКОГО АППАРАТА, имеющего НОМИНАЛЬНУЮ ВЫХОДНУЮ МОЩНОСТЬ, не превышающую 50 Вт, и предназначенного для использования без НЕЙТРАЛЬНОГО ЭЛЕКТРОДА, ПРОВОД ЗАЩИТНОГО ЗАЗЕМЛЕНИЯ сетевого шнура может использоваться как путь возврата для функционального ВЫСОКОЧАСТОТНОГО тока.
201.8.7.1*. Общие требования
Перечисление b)
Дополнение:
- с неактивированным ВЧ выходом, но таким образом, что не возбуждаются низкочастотные ТОКИ УТЕЧКИ.
Изменение:
Данное исследование должно проводиться при включенном ВЧ ЭЛЕКТРОХИРУРГИЧЕСКОМ АППАРАТЕ, но при неактивированных ЦЕПЯХ ПАЦИЕНТА.
201.8.7.3*. Допустимые значения
Перечисление b)
Дополнение:
ДОПОЛНИТЕЛЬНЫЕ ТОКИ В ЦЕПИ ПАЦИЕНТА, связанные с МОНИТОРАМИ КАЧЕСТВА КОНТАКТА, не должны превышать допустимых значений для РАБОЧИХ ЧАСТЕЙ ТИПА BF.
Перечисление e)
Изменение:
Предел 10 мА для ТОКА УТЕЧКИ не применяют к ВЧ ТОКАМ УТЕЧКИ при испытании АКТИВНЫХ и НЕЙТРАЛЬНЫХ ЭЛЕКТРОДОВ с активированной ЦЕПЬЮ ПАЦИЕНТА (см. 201.8.7.3.101).
Дополнительный подпункт:
201.8.7.3.101. Эффекты нагревания от ВЧ ТОКОВ УТЕЧКИ
Для того чтобы предотвратить нежелательные термические ожоги, ВЧ ТОКИ УТЕЧКИ, полученные при испытаниях активных и НЕЙТРАЛЬНЫХ ЭЛЕКТРОДОВ с активированной ВЧ ЦЕПЬЮ ПАЦИЕНТА, должны в зависимости от конструкции соответствовать следующим требованиям:
&Примечание. Независимые требования и испытания на соответствие ВЧ ЭЛЕКТРОХИРУРГИЧЕСКОГО АППАРАТА и ПРИНАДЛЕЖНОСТЕЙ находятся в стадии рассмотрения&.
*a) ВЫСОКОЧАСТОТНЫЕ ТОКИ УТЕЧКИ
1) Заземленный НЕЙТРАЛЬНЫЙ ЭЛЕКТРОД
ЦЕПЬ ПАЦИЕНТА изолирована от земли, но НЕЙТРАЛЬНЫЙ ЭЛЕКТРОД заземлен по ВЫСОКОЙ ЧАСТОТЕ компонентами (например конденсатором), соответствующими требованиям к РАБОЧИМ ЧАСТЯМ ТИПА BF. При испытаниях, описанных ниже, ВЧ ТОКИ УТЕЧКИ, протекающие от НЕЙТРАЛЬНОГО ЭЛЕКТРОДА через безреактивное сопротивление 200 Ом на землю, не должны превышать 150 мА.
Соответствие проверяют следующими испытаниями.
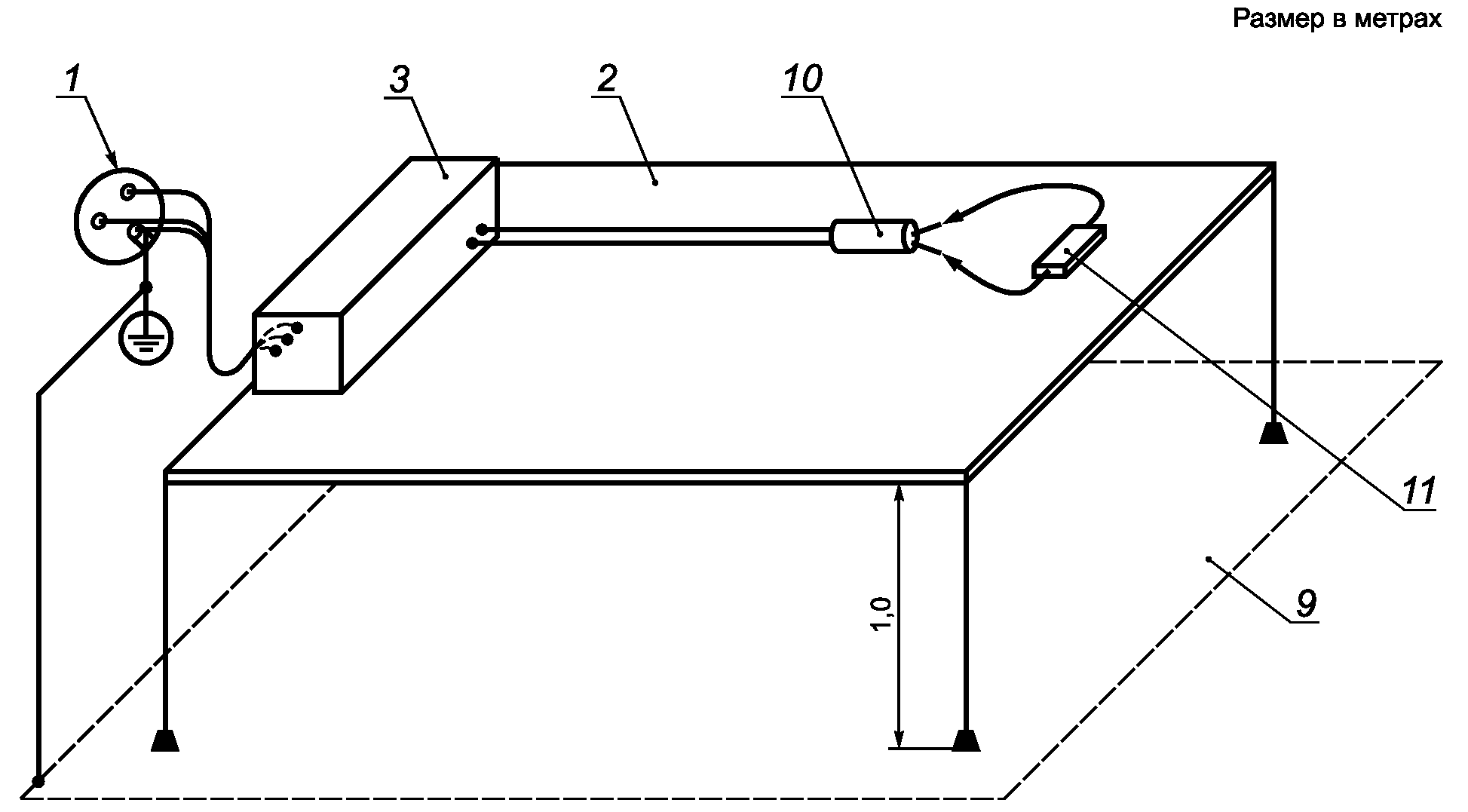
Испытание 1. Испытание проводят для каждого одного выхода ВЧ ЭЛЕКТРОХИРУРГИЧЕСКОГО АППАРАТА по очереди вместе с кабелями электродов и электродами, как показано на рисунке 201.104. Кабели размещены на изолированной поверхности, находящейся на 1 м выше заземленной проводящей поверхности, на расстоянии 0,5 м друг от друга.
1 - ПИТАЮЩАЯ СЕТЬ; 2 - стол, изготовленный из
изолирующего материала; 3 - ВЧ ЭЛЕКТРОХИРУРГИЧЕСКИЙ
АППАРАТ; 4 - АКТИВНЫЙ ЭЛЕКТРОД; 5 - НЕЙТРАЛЬНЫЙ ЭЛЕКТРОД,
металлический или контактирующий с металлической фольгой
такого же размера; 6 - сопротивление нагрузки, 200 Ом;
7 - измерительное сопротивление, 200 Ом; 8 - ВЧ амперметр;
9 - заземленная проводящая поверхность
Рисунок 201.104. Измерение ВЧ ТОКА УТЕЧКИ с заземленным
НЕЙТРАЛЬНЫМ ЭЛЕКТРОДОМ и нагрузкой между электродами
Выход нагружают сопротивлением 200 Ом, и ВЧ ЭЛЕКТРОХИРУРГИЧЕСКИЙ АППАРАТ работает при максимальном положении регулятора ВЧ мощности в каждом рабочем режиме. Измеряют ВЧ ТОКИ УТЕЧКИ, протекающие от НЕЙТРАЛЬНОГО ЭЛЕКТРОДА через безреактивное сопротивление 200 Ом на землю.
Испытание 2. ВЧ ЭЛЕКТРОХИРУРГИЧЕСКИЙ АППАРАТ устанавливают, как при испытании 1, но сопротивление нагрузки 200 Ом подключают между АКТИВНЫМ ЭЛЕКТРОДОМ и КОНТАКТОМ ЗАЩИТНОГО ЗАЗЕМЛЕНИЯ ВЧ ЭЛЕКТРОХИРУРГИЧЕСКОГО АППАРАТА, как показано на рисунке 201.105. Измеряют ВЧ ТОК УТЕЧКИ, протекающий от НЕЙТРАЛЬНОГО ЭЛЕКТРОДА.
1 - ПИТАЮЩАЯ СЕТЬ; 2 - стол, изготовленный из
изолирующего материала; 3 - ВЧ ЭЛЕКТРОХИРУРГИЧЕСКИЙ
АППАРАТ; 4 - АКТИВНЫЙ ЭЛЕКТРОД; 5 - НЕЙТРАЛЬНЫЙ ЭЛЕКТРОД,
металлический или контактирующий с металлической фольгой
такого же размера; 6 - сопротивление нагрузки, 200 Ом;
7 - измерительное сопротивление, 200 Ом; 8 - ВЧ амперметр;
9 - заземленная проводящая поверхность
Рисунок 201.105. Измерение ВЧ ТОКА УТЕЧКИ с заземленным
НЕЙТРАЛЬНЫМ ЭЛЕКТРОДОМ и нагрузкой между АКТИВНЫМ
ЭЛЕКТРОДОМ и землей
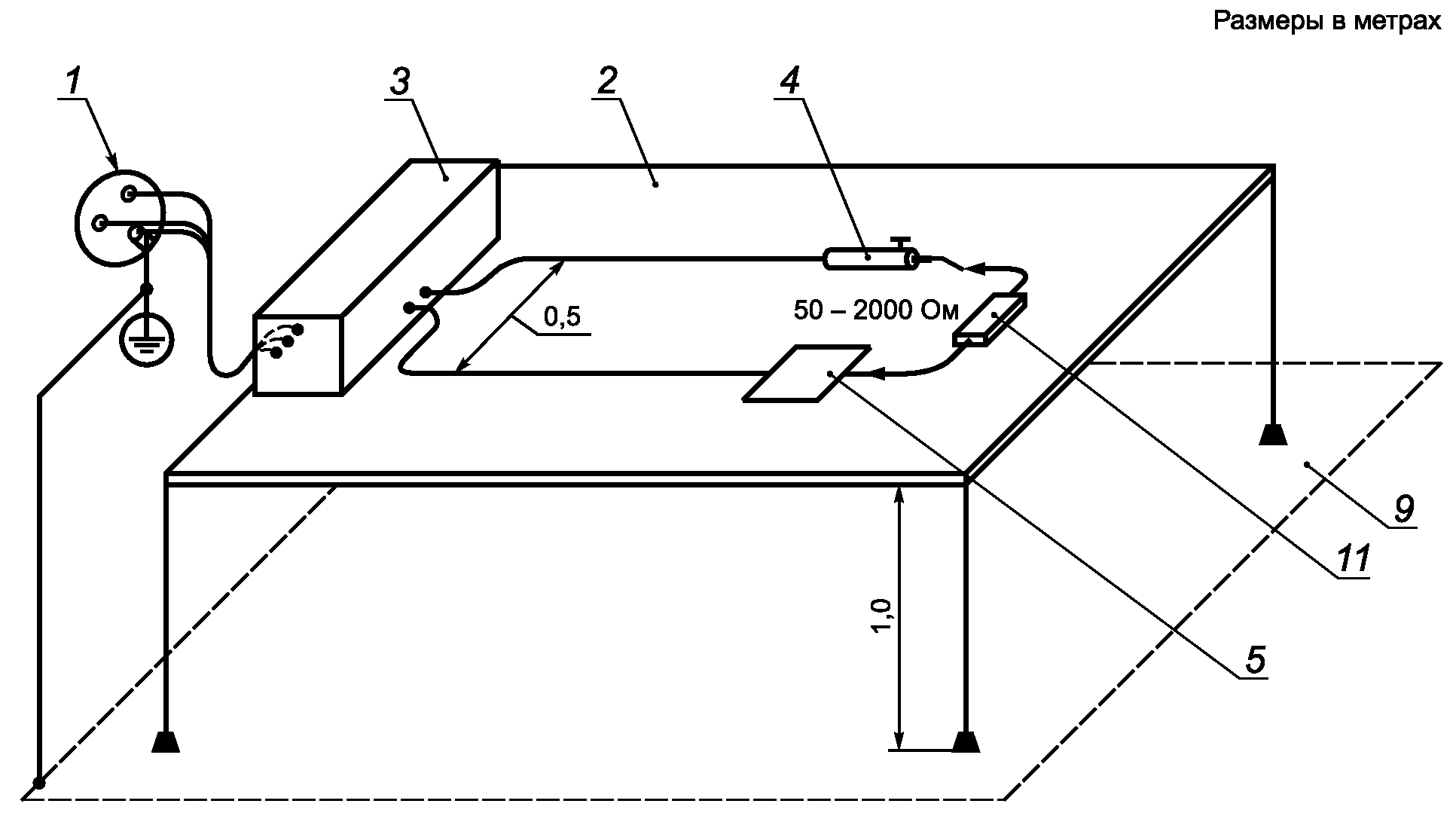
2) НЕЙТРАЛЬНЫЙ ЭЛЕКТРОД, изолированный от земли по ВЫСОКОЙ ЧАСТОТЕ.
ЦЕПЬ ПАЦИЕНТА изолирована от земли как по высокой, так и по низким частотам. Эта изоляция должна быть такой, чтобы ВЧ ТОКИ УТЕЧКИ, протекающие от каждого электрода через безреактивное сопротивление 200 Ом на землю, не превышали 150 мА при испытании, как описано ниже.
Соответствие проверяют следующим испытанием.
ВЧ ЭЛЕКТРОХИРУРГИЧЕСКИЙ АППАРАТ устанавливают, как показано на рисунке 201.106, испытания проводят при ненагруженном выходе и выходе, нагруженном на НОМИНАЛЬНУЮ НАГРУЗКУ.
1 - ПИТАЮЩАЯ СЕТЬ; 2 - стол, изготовленный из изолирующего
материала; 3 - ВЧ ЭЛЕКТРОХИРУРГИЧЕСКИЙ АППАРАТ;
4 - АКТИВНЫЙ ЭЛЕКТРОД; 5 - НЕЙТРАЛЬНЫЙ ЭЛЕКТРОД,
металлический или контактирующий с металлической фольгой
такого же размера; 7 - измерительное сопротивление,
200 Ом; 8 - ВЧ амперметр; 9 - заземленная проводящая
поверхность
Рисунок 201.106. Измерение ВЧ ТОКА УТЕЧКИ с НЕЙТРАЛЬНЫМ
ЭЛЕКТРОДОМ, изолированным от земли по ВЫСОКОЙ ЧАСТОТЕ
Все металлические КОРПУСА ВЧ ЭЛЕКТРОХИРУРГИЧЕСКИХ АППАРАТОВ Класса II и ВЧ ЭЛЕКТРОХИРУРГИЧЕСКИХ АППАРАТОВ С ВНУТРЕННИМ ИСТОЧНИКОМ питания должны быть соединены с землей. ВЧ ЭЛЕКТРОХИРУРГИЧЕСКИЕ АППАРАТЫ с КОРПУСОМ из изоляционного материала должны быть установлены на металлическую пластину площадью не менее площади основания ВЧ ЭЛЕКТРОХИРУРГИЧЕСКОГО АППАРАТА. Измеряют ВЧ ТОК УТЕЧКИ от каждого электрода по очереди при установке регулятора выходной мощности ВЧ ЭЛЕКТРОХИРУРГИЧЕСКОГО АППАРАТА на максимум для каждого ВЧ ЭЛЕКТРОХИРУРГИЧЕСКОГО РЕЖИМА.
&Примечание. Приведенное выше требование не применяют к ВЧ ЭЛЕКТРОХИРУРГИЧЕСКИМ АППАРАТАМ, имеющим НОМИНАЛЬНУЮ ВЫХОДНУЮ МОЩНОСТЬ, не превышающую 50 Вт, и предназначенным для использования без НЕЙТРАЛЬНОГО ЭЛЕКТРОДА&.
Любая ЦЕПЬ ПАЦИЕНТА, специально разработанная для БИПОЛЯРНОГО метода, должна быть изолирована от земли и от других РАБОЧИХ ЧАСТЕЙ как по высокой, так и по низким частотам.
ВЧ ТОК УТЕЧКИ, протекающий от любого полюса БИПОЛЯРНОГО выхода на землю и на НЕЙТРАЛЬНЫЙ ЭЛЕКТРОД через безреактивное сопротивление 200 Ом в каждой линии, не должен превышать значения, при котором на безреактивном сопротивлении 200 Ом выделяется мощность, равная 1% максимальной БИПОЛЯРНОЙ НОМИНАЛЬНОЙ ВЫХОДНОЙ МОЩНОСТИ при установке регуляторов выходной мощности на максимум.
Соответствие проверяют следующим испытанием:
ВЧ ЭЛЕКТРОХИРУРГИЧЕСКИЙ АППАРАТ устанавливают, как показано на рисунке 201.107. Испытание проводят от одного полюса БИПОЛЯРНОГО выхода, используя провода БИПОЛЯРНОГО и (если применимо) НЕЙТРАЛЬНОГО ЭЛЕКТРОДА, поставляемые или рекомендуемые ИЗГОТОВИТЕЛЕМ. Испытание проводят вначале с ненагруженным выходом, а затем повторяют с выходом, нагруженным на НОМИНАЛЬНУЮ НАГРУЗКУ. Квадрат значения измеренного тока, умноженный на 200 Ом, не должен превышать требований, приведенных выше. Затем испытание повторяют для другого полюса БИПОЛЯРНОГО выхода.
1 - ПИТАЮЩАЯ СЕТЬ; 2 - стол, изготовленный из изолирующего
материала; 3 - ВЧ ЭЛЕКТРОХИРУРГИЧЕСКИЙ АППАРАТ;
5 - НЕЙТРАЛЬНЫЙ ЭЛЕКТРОД, металлический или контактирующий
с металлической фольгой такого же размера;
7 - измерительное сопротивление, 200 Ом; 8 - ВЧ
амперметр; 9 - заземленная проводящая поверхность;
10 - активированный БИПОЛЯРНЫЙ ЭЛЕКТРОД; 11 - требуемое
сопротивление нагрузки с устройством измерения ВЧ мощности
Рисунок 201.107. Измерение ВЧ ТОКА УТЕЧКИ от
БИПОЛЯРНОГО электродА
Все металлические КОРПУСА ВЧ ЭЛЕКТРОХИРУРГИЧЕСКИХ АППАРАТОВ Класса ii и ВЧ ЭЛЕКТРОХИРУРГИЧЕСКИХ АППАРАТОВ с ВНУТРЕННИМ ИСТОЧНИКОМ ПИТАНИЯ должны быть соединены с землей. ВЧ ЭЛЕКТРОХИРУРГИЧЕСКИЕ АППАРАТЫ с КОРПУСОМ из изоляционного материала устанавливают на заземленной металлической пластине площадью не менее площади основания ВЧ ЭЛЕКТРОХИРУРГИЧЕСКОГО АППАРАТА.
При всех измерениях ВЧ ТОКОВ УТЕЧКИ питающий шнур ВЧ ЭЛЕКТРОХИРУРГИЧЕСКОГО АППАРАТА должен быть свернут, чтобы образовывать связку длиной, не превышающей 40 см.
&Примечание. Приведенные выше требования
1),
2) и
3) применяют к ВЧ ЭЛЕКТРОХИРУРГИЧЕСКИМ АППАРАТАМ с РАБОЧИМИ ЧАСТЯМИ как ТИПА BF, так и ТИПА CF. Требования к ВЧ ТОКАМ УТЕЧКИ на КОРПУС находятся в стадии рассмотрения&.
*b) ВЫСОКОЧАСТОТНЫЕ ТОКИ УТЕЧКИ, измеренные непосредственно на контактах выхода ВЧ ЭЛЕКТРОХИРУРГИЧЕСКОГО АППАРАТА
Предшествующее
перечисление a) альтернативно может быть выполнено с ограничением 100 мА для требований
1) и
2) и с неизменными пределами, соответствующими 1% биполярной НОМИНАЛЬНОЙ ВЫХОДНОЙ МОЩНОСТИ на 200 Ом, но не более 100 мА для требований
3), если ВЧ ТОКИ УТЕЧКИ измеряют непосредственно на контактах выходов ВЧ ЭЛЕКТРОХИРУРГИЧЕСКОГО АППАРАТА.
Соответствие проверяют измерениями, сходными с испытаниями, описанными в 201.8.7.3.101, перечисление a), но без кабелей электродов, используя для подсоединения к контактам выхода ВЧ ЭЛЕКТРОХИРУРГИЧЕСКОГО АППАРАТА сопротивления нагрузки, измерительного сопротивления и ВЧ амперметра настолько короткие провода, насколько это практически реализуемо.
c) Взаимовлияние между различными ВЧ ЦЕПЯМИ ПАЦИЕНТА
Если активирована любая цепь ПАЦИЕНТА при установке регулятора выходной мощности на максимум и при всех доступных рабочих режимах, тогда:
1) неактивированная МОНОПОЛЯРНАЯ цепь ПАЦИЕНТА не должна создавать ВЧ ток более 150 мА в нагрузке 200 Ом, соединенной с землей и, по очереди, с НЕЙТРАЛЬНЫМ ЭЛЕКТРОДОМ;
2) неактивированная БИПОЛЯРНАЯ цепь ПАЦИЕНТА не должна создавать ВЧ ток более 50 мА в нагрузке 200 Ом между полюсами цепи, а также при закороченных полюсах в нагрузке 200 Ом, соединенной с землей, и в нагрузке 200 Ом, соединенной с НЕЙТРАЛЬНЫМ ЭЛЕКТРОДОМ (оба тока суммируются, см.
рисунок 201.107).
201.8.8.3. Электрическая прочность изоляции
Изменение:
Дополнительные условия испытаний:
aa) если во время испытаний на электрическую прочность твердой изоляции, образующей СРЕДСТВА ЗАЩИТЫ ПАЦИЕНТА, происходит пробой или перекрытие через атмосферу ВОЗДУШНОГО ЗАЗОРА, определенного в 8.9 общего стандарта и
201.8.5.1.2 настоящего стандарта, для предотвращения данного пробоя может быть размещен изоляционный барьер таким образом, чтобы можно было испытать защитную изоляцию;
bb) если во время испытаний на электрическую прочность твердой изоляции, образующей СРЕДСТВА ЗАЩИТЫ ПАЦИЕНТА, происходит пробой или перекрытие ПУТИ УТЕЧКИ, определенного в 8.9 общего стандарта и
201.8.5.1.2 настоящего стандарта, испытание следует проводить на компонентах, обеспечивающих СРЕДСТВА ЗАЩИТЫ ПАЦИЕНТА, таких, как трансформаторы, реле, оптопары или ПУТИ УТЕЧКИ на печатных платах.
Дополнительные подпункты:
201.8.8.3.101*. Изоляция АКТИВНЫХ ПРИНАДЛЕЖНОСТЕЙ
АКТИВНЫЕ ПРИНАДЛЕЖНОСТИ и шнуры АКТИВНЫХ ПРИНАДЛЕЖНОСТЕЙ должны быть достаточно изолированы для снижения риска непреднамеренного термического ожога ПАЦИЕНТА и ОПЕРАТОРА при условиях НОРМАЛЬНОЙ ЭКСПЛУАТАЦИИ.
Соответствие проверяют следующим испытанием.
Испытуемые образцы, кроме маркированных для одноразового использования, должны быть подвергнуты стерилизации методами и с числом циклов, как указано в инструкции по эксплуатации. См. 7.9.2.12 общего стандарта.
Изолированные части всех АКТИВНЫХ ПРИНАДЛЕЖНОСТЕЙ, кроме АКТИВНЫХ РУКОЯТОК и АКТИВНЫХ СОЕДИНИТЕЛЕЙ, должны быть подвергнуты предварительной обработке путем погружения их в 0,9%-ный солевой раствор на 12 ч. Рабочие проводники, которые могут быть оголены при подготовке к испытанию, а также изоляция шнуров АКТИВНЫХ ПРИНАДЛЕЖНОСТЕЙ на расстоянии 100 мм от концов должны быть защищены от контакта с солевым раствором. После завершения предварительной обработки остатки раствора на поверхностях и в полостях должны быть удалены встряхиванием и/или протиранием сухой тканью.
Сразу после предварительной обработки в солевом растворе должны быть проведены применимые электрические испытания в следующем порядке:
- ВЧ утечка (см. 201.8.8.3.102);
- электрическая прочность изоляции на сетевой частоте (см. 201.8.8.3.104).
201.8.8.3.102*. ВЧ утечка АКТИВНЫХ ПРИНАДЛЕЖНОСТЕЙ
a) Измерение ВЧ ТОКА УТЕЧКИ
Изоляция, используемая для шнуров АКТИВНЫХ ПРИНАДЛЕЖНОСТЕЙ, предназначенных для МОНОПОЛЯРНОГО применения, должна ограничивать ВЧ ТОК УТЕЧКИ Iутечки по внешней поверхности изоляции до уровня не более чем
Iутечки = 9,0·10-6·d·L·fисп·Uпик (мА),
где d - наименьший внешний размер изоляции, мм;
fисп - частота ВЧ испытательного напряжения, кГц;
L - длина образца изоляции, через который проходит ВЧ ТОК УТЕЧКИ, см;
Uпик - пиковое значение ВЧ испытательного напряжения, В.
Соответствующий предел для шнуров, предназначенных для БИПОЛЯРНОГО применения, должен быть
Iутечки = 1,8·10-5·d·L·fисп·Uпик (мА).
Соответствие проверяют следующим испытанием.
Образец изоляции длиной не более 30 см погружают в 0,9%-ный соляной раствор или наматывают на пропитанную раствором пористую губку, за исключением участков, отстоящих на 1 см от неизолированных проводников. Все рабочие внутренние проводники замыкают между собой и соединяют с одним полюсом источника ВЧ напряжения, имеющего приблизительно синусоидальную форму и частоту fисп от 300 кГц до 1 МГц. Другой полюс источника ВЧ напряжения соединяют с проводящим электродом, погруженным в раствор, или с металлической фольгой, наложенной на среднюю часть губки. ВЧ ТОК УТЕЧКИ измеряют подходящим прибором, соединенным последовательно с выходом источника ВЧ напряжения. Пиковое значение испытательного ВЧ напряжения измеряют на выходе источника ВЧ напряжения.
Испытательное ВЧ напряжение увеличивают до тех пор, пока его пиковое значение не станет менее одной из двух величин: НОМИНАЛЬНОГО НАПРЯЖЕНИЯ ПРИНАДЛЕЖНОСТИ или 400 В. Измеренный ВЧ ТОК УТЕЧКИ не должен превышать установленных выше пределов.
b) Измерение ВЧ емкости утечки
Альтернативой
перечислению a) может быть установление пределов для измеренных значений ВЧ емкости утечки для шнуров, предназначенных для МОНОПОЛЯРНОГО применения, до уровня не более чем
Cутечки = 2·d·L (пФ)
и для шнуров, предназначенных для БИПОЛЯРНОГО применения, до уровня не более чем
Cутечки = 4·d·L (пФ),
где d - наименьший внешний размер изоляции, мм;
L - длина образца изоляции, через который проходит ВЧ ТОК УТЕЧКИ, см.
Измеренная ВЧ емкость утечки не должна превышать указанные выше пределы.
Соответствие проверяют следующим образом.
Образец изоляции длиной не более 30 см погружают в 0,9%-ный соляной раствор, за исключением участков, отстоящих на 1 см от неизолированных проводников. Все рабочие внутренние проводники замыкают между собой и соединяют с одним входным проводом измерителя емкости с измерительной частотой от 100 кГц до 1 МГц. Другой входной провод измерителя емкости соединяют с проводящим электродом, погруженным в раствор. ВЧ емкость утечки - это емкость, показанная измерителем, если его используют в полном соответствии с инструкцией по эксплуатации изготовителя измерителя емкости.
&Примечание. Пределы и испытания ВЧ утечки для всех частей АКТИВНЫХ ПРИНАДЛЕЖНОСТЕЙ находятся в стадии рассмотрения&.
201.8.8.3.103*. ВЧ электрическая прочность изоляции АКТИВНЫХ ПРИНАДЛЕЖНОСТЕЙ
Изоляция АКТИВНЫХ ПРИНАДЛЕЖНОСТЕЙ должна выдерживать ВЧ напряжение, равное 120% НОМИНАЛЬНОГО НАПРЯЖЕНИЯ ПРИНАДЛЕЖНОСТИ.
Соответствие проверяют следующим образом:
Испытания следует проводить при испытательном напряжении, которое вычислено по НОМИНАЛЬНОМУ НАПРЯЖЕНИЮ ПРИНАДЛЕЖНОСТИ, указанному изготовителем ВЧ ЭЛЕКТРОХИРУРГИЧЕСКОЙ ПРИНАДЛЕЖНОСТИ в инструкции по эксплуатации [см. 201.7.9.2.14, перечисление e)], как описано ниже. Для шнуров АКТИВНЫХ ПРИНАДЛЕЖНОСТЕЙ и АКТИВНЫХ ЭЛЕКТРОДОВ образец изоляции, который был предварительно выдержан в солевом растворе, наматывают на проводящий стержень диаметром 0,4 мм +/- 10% с шагом по крайней мере 3 мм и с числом витков до пяти без деформации поверхности образца. Если необходимо предотвратить случайный дуговой разряд, ПУТЬ УТЕЧКИ между стержнем и рабочими проводящими частями АКТИВНЫХ ЭЛЕКТРОДОВ может быть увеличен до 10 мм за счет применения изоляции. Данная дополнительная изоляция должна иметь толщину не более 1 мм и покрывать не более 2 мм ИЗОЛЯЦИИ АКТИВНЫХ ЭЛЕКТРОДОВ. Один полюс источника испытательного ВЧ напряжения соединяют с испытательным проводящим стержнем, а противоположный полюс соединяют одновременно со всеми рабочими проводниками испытуемого образца.
АКТИВНЫЕ РУКОЯТКИ вместе с любыми отсоединяемыми шнурами и отсоединяемыми АКТИВНЫМИ ЭЛЕКТРОДАМИ, указанными как совместимые, обертывают пористой тканью, вымоченной в 0,9%-ном солевом растворе. Ткань должна покрывать всю внешнюю поверхность рукоятки и по крайней мере 150 мм поверхности шнура и 5 мм ИЗОЛЯЦИИ АКТИВНОГО ЭЛЕКТРОДА. Если необходимо, ПУТЬ УТЕЧКИ между тканью и неизолированными рабочими проводящими частями АКТИВНЫХ ЭЛЕКТРОДОВ может быть изолирован, как описано выше. Среднюю часть ткани, вымоченной в солевом растворе, оборачивают металлической фольгой и соединяют с одним полюсом источника испытательного ВЧ напряжения. Все рабочие внутренние проводники испытуемого образца, включая рабочий конец(ы) АКТИВНОГО ЭЛЕКТРОДА, замыкают между собой и соединяют с противоположным полюсом.
Контролируют пиковое испытательное ВЧ напряжение между выходными полюсами источника ВЧ напряжения. ВЧ напряжение затем увеличивают, пока не будет достигнуто напряжение, равное 120% НОМИНАЛЬНОГО НАПРЯЖЕНИЯ ПРИНАДЛЕЖНОСТИ, и поддерживают в течение 30 с таким образом, чтобы оно воздействовало на изоляцию испытуемого образца. Не должно быть пробоя изоляции, и эта же изоляция затем должна быть испытана на сетевой частоте в соответствии с 201.8.8.3.104.
&Примечание. Голубая электрическая корона является нормой и не считается пробоем&.
Те части испытуемых образцов, которые являются неизолированными при НОРМАЛЬНОЙ ЭКСПЛУАТАЦИИ, должны быть адекватно защищены от контакта с солевым раствором во время предварительной выдержки, и данная защита должна быть сохранена во время испытания.
Испытания:
Прикладывают напряжение, по форме близкое к синусоидальному, частотой (400 +/- 100) кГц или, альтернативно, модулированное напряжение (частота модуляции более 10 кГц), с пиковым испытательным напряжением, равным 120% НОМИНАЛЬНОГО НАПРЯЖЕНИЯ ПРИНАДЛЕЖНОСТИ, указанного изготовителем ВЧ ЭЛЕКТРОХИРУРГИЧЕСКОЙ ПРИНАДЛЕЖНОСТИ, и с испытательным КРЕСТ-ФАКТОРОМ (cfисп), который определяют следующим образом:
Для НОМИНАЛЬНЫХ НАПРЯЖЕНИЙ ПРИНАДЛЕЖНОСТИ менее или равных 1600 В:
cfисп <= 2.
Для НОМИНАЛЬНЫХ НАПРЯЖЕНИЙ ПРИНАДЛЕЖНОСТИ более 1600 В и менее или равных 4000 В:
(В),
где Uпринад - НОМИНАЛЬНОЕ НАПРЯЖЕНИЕ ПРИНАДЛЕЖНОСТИ, В.
Для НОМИНАЛЬНЫХ НАПРЯЖЕНИЙ ПРИНАДЛЕЖНОСТИ более 4000 В:
cfисп = 6 +/- 10%.
АКТИВНЫЕ ПРИНАДЛЕЖНОСТИ, предназначенные для использования с ВЧ ЭЛЕКТРОХИРУРГИЧЕСКИМИ РЕЖИМАМИ или выходными настройками, требующими специального подтверждения, должны выдерживать 120% пикового выходного напряжения, подобного ВЧ ЭЛЕКТРОХИРУРГИЧЕСКОГО РЕЖИМА или выходных настроек. Они должны быть испытаны при тех же условиях, которые описаны выше, но с реальным КРЕСТ-ФАКТОРОМ данного ВЧ ЭЛЕКТРОХИРУРГИЧЕСКОГО РЕЖИМА или выходных настроек [см.
201.7.9.2.2.101, перечисление c), 3)].
201.8.8.3.104*. Электрическая прочность изоляции АКТИВНЫХ ПРИНАДЛЕЖНОСТЕЙ на сетевой частоте
Изоляция АКТИВНЫХ ПРИНАДЛЕЖНОСТЕЙ, включая те ее части, которые были испытаны в соответствии с
201.8.8.3.103, должна выдерживать постоянное напряжение или пиковое напряжение сетевой частоты на 1000 В более, чем НОМИНАЛЬНОЕ НАПРЯЖЕНИЕ ПРИНАДЛЕЖНОСТИ, указанное изготовителем ВЧ ЭЛЕКТРОХИРУРГИЧЕСКОЙ ПРИНАДЛЕЖНОСТИ.
Соответствие проверяют следующим образом:
Источник испытательного напряжения должен обеспечивать постоянное напряжение или напряжение сетевой частоты. Продолжительность испытания должна составлять 30 с для АКТИВНЫХ РУКОЯТОК и АКТИВНЫХ СОЕДИНИТЕЛЕЙ. Продолжительность испытания для шнуров АКТИВНЫХ ПРИНАДЛЕЖНОСТЕЙ должна составлять 5 мин. Допускается коронный разряд, но не должно возникать перекрытия или пробоя изоляции. Сразу после данного испытания на электрическую прочность изоляции все имеющиеся РУЧНЫЕ ВЫКЛЮЧАТЕЛИ должны сработать 10 раз. Для проверки работы механизма выключения должен использоваться омметр для гарантии того, что при подсоединении ВЧ ЭЛЕКТРОХИРУРГИЧЕСКОГО АППАРАТА ВЧ выход будет деактивирован при прекращении воздействия на РУЧНОЙ ВЫКЛЮЧАТЕЛЬ.
Изолированные части АКТИВНЫХ СОЕДИНИТЕЛЕЙ с ПУТЯМИ УТЕЧКИ более 10 мм от неизолированных рабочих проводников оборачивают пористой тканью, смоченной 0,9%-ным солевым раствором. Среднюю часть ткани затем оборачивают металлической фольгой. Испытательное напряжение прикладывают между фольгой и всеми рабочими контактами АКТИВНОГО СОЕДИНИТЕЛЯ.
Вся длина изоляции шнуров АКТИВНЫХ ПРИНАДЛЕЖНОСТЕЙ, включая ту часть, которая предварительно была испытана при ВЧ в соответствии с 201.8.8.3.103, но исключая части в пределах 100 мм от концов, должна быть погружена в емкость с 0,9%-ным солевым раствором. Испытательное напряжение прикладывают между проводящим электродом, погруженным в емкость с солевым раствором, и всеми замкнутыми проводниками шнура.
АКТИВНЫЕ РУКОЯТКИ, снабженные отсоединяемыми электродами, подготавливают для испытания и подсоединения к источнику испытательного напряжения, используя те же методы, что описаны в 201.8.8.3.103. Ткань, смоченную в солевом растворе, и фольгу, применяемые для предыдущего испытания, можно оставить на месте для данного испытания, приняв меры, гарантирующие, что ткань остается полностью влажной.
201.8.9.1.5. МЕ ИЗДЕЛИЕ, предназначенное для работы на больших высотах над уровнем моря
Изменение:
Данное требование не применяют к разделению ВЧ ЦЕПИ ПАЦИЕНТА и КОРПУСА, включая СИГНАЛЬНЫЕ ВХОДЫ/ВЫХОДЫ, и разделению между различными ВЧ ЦЕПЯМИ ПАЦИЕНТА.
Для ВЧ ЭЛЕКТРОХИРУРГИЧЕСКИХ АППАРАТОВ И ВСПОМОГАТЕЛЬНЫХ ИЗДЕЛИЙ требования по разделению между ВЧ ЦЕПЯМИ ПАЦИЕНТА и КОРПУСОМ, включая СИГНАЛЬНЫЕ ВХОДЫ/ВЫХОДЫ, и разделению между различными ВЧ ЦЕПЯМИ ПАЦИЕНТА определены в
201.8.5.1.2.
201.8.10.4. РУЧНЫЕ и ножные органы управления, соединяемые шнурами
201.8.10.4.1. Ограничение рабочих напряжений
201.8.10.4.2*. Соединительные шнуры
Замена:
Крепления шнуров АКТИВНЫХ ПРИНАДЛЕЖНОСТЕЙ должны иметь такую конструкцию, которая минимизирует риск для ПАЦИЕНТОВ и ОПЕРАТОРОВ, связанный с повреждением проводников или изоляции, вызванным перегибом кабеля или излишним натяжением.
Соответствие проверяют осмотром и следующим испытанием.
Крепления АКТИВНЫХ РУКОЯТОК и АКТИВНЫХ СОЕДИНИТЕЛЕЙ испытывают по очереди.
Испытуемые АКТИВНЫЕ РУКОЯТКИ и АКТИВНЫЕ СОЕДИНИТЕЛИ фиксируют в аппаратуре, аналогичной показанной на рисунке 201.108, таким образом, чтобы, когда качающаяся часть аппаратуры находится в центре своей траектории, ось шнура в точке соединения с испытуемой частью была вертикальной и проходила через ось колебаний. Шнур проходит через отверстие, находящееся на расстоянии 300 мм от оси колебания, и для приложения к шнуру силы натяжения к нему ниже отверстия прикреплен груз, масса которого равна массе шнура и соединителя АКТИВНОЙ ПРИНАДЛЕЖНОСТИ. Максимальный диаметр отверстия не должен превышать диаметр шнура более чем в два раза.
Рисунок 201.108. Испытательная аппаратура для проверки
крепления шнуров АКТИВНЫХ ПРИНАДЛЕЖНОСТЕЙ
Если крепления испытываемых АКТИВНЫХ РУКОЯТОК или АКТИВНЫХ СОЕДИНИТЕЛЕЙ снабжены двумя или более шнурами, они должны быть испытаны совместно, с общим грузом, приложенным к креплению, равным сумме грузов, которые необходимо приложить к каждому шнуру по отдельности.
Качающаяся часть поворачивается на угол 90° (45° от вертикали в каждую сторону).
Число циклов, приложенных к креплению шнура АКТИВНЫХ РУКОЯТОК, должно быть 10000 (200 для АКТИВНЫХ ПРИНАДЛЕЖНОСТЕЙ, маркированных только для одноразового использования) с частотой примерно 30 циклов в минуту. Число циклов, приложенных к креплению шнура АКТИВНЫХ СОЕДИНИТЕЛЕЙ, должно быть 5000 (100 для АКТИВНЫХ ПРИНАДЛЕЖНОСТЕЙ, маркированных только для одноразового использования) с частотой примерно 30 циклов в минуту.
После испытания шнур должен быть работоспособен и не иметь видимых повреждений. Для многопроводниковых шнуров не должно быть короткого замыкания между отдельными проводниками. Нагрузку на растяжение увеличивают до 1 кг и отдельные проводники проверяют на неразрывность, используя постоянный ток, не превышающий 1 А.
Дополнительные подпункты:
201.8.10.4.101*. ДАТЧИКИ ВЫКЛЮЧЕНИЯ
201.8.10.4.101.1. Общие положения
За исключением случаев, указанных в
201.8.10.4.101.2, ВЧ ЭЛЕКТРОХИРУРГИЧЕСКИЕ АППАРАТЫ и ВСПОМОГАТЕЛЬНЫЕ ИЗДЕЛИЯ должны быть снабжены ДАТЧИКАМИ ВЫКЛЮЧЕНИЯ, требующими постоянной активации для активации АКТИВНЫХ ВЫХОДОВ.
ДАТЧИКИ ВЫКЛЮЧЕНИЯ должны питаться от источников, изолированных от СЕТЕВОЙ ЧАСТИ и от земли, с напряжением не более 12 В, если существуют ПРОВОДЯЩИЕ СОЕДИНЕНИЯ с РАБОЧИМИ ЧАСТЯМИ, и не более 24 В переменного тока или 34 В постоянного тока в других случаях.
&Примечание. Данное требование применяют к напряжениям внутри ДАТЧИКОВ ВЫКЛЮЧЕНИЯ. Синфазное ВЧ напряжение не принимают во внимание&.
При условии ЕДИНИЧНОГО НАРУШЕНИЯ ДАТЧИКИ ВЫКЛЮЧЕНИЯ не должны вызывать низкочастотные ТОК(И) УТЕЧКИ на ПАЦИЕНТА, превышающий(ие) допустимые пределы (см.
201.8.7.3).
Соответствие проверяют осмотром, функциональной проверкой и измерениями напряжений и тока(ов) утечки.
Если ДАТЧИК ВЫКЛЮЧЕНИЯ имеет вход, предназначенный для соединения с контактами внешнего электрического выключателя, то любой выход ВЧ ЭЛЕКТРОХИРУРГИЧЕСКОГО АППАРАТА не может быть активирован, если этот вход шунтирован сопротивлением, равным или превышающим 1000 Ом.
Соответствие проверяют функциональными испытаниями.
Каждый ДАТЧИК ВЫКЛЮЧЕНИЯ должен активировать только один предусмотренный для него АКТИВНЫЙ ВЫХОД и управлять только одним ВЧ ЭЛЕКТРОХИРУРГИЧЕСКИМ РЕЖИМОМ в любой момент времени.
&Примечание. В рамках данного требования две рукоятки рычажного выключателя считают двумя отдельными выключателями&.
201.8.10.4.101.2. Не непрерывная активация
Не непрерывный режим активации ДАТЧИКА ВЫКЛЮЧЕНИЯ допустим только в том случае, если:
a) выход ВЧ ЭЛЕКТРОХИРУРГИЧЕСКОГО АППАРАТА автоматически отключается в соответствии со специальным применением аппарата;
b) предусмотрен визуальный индикатор, показывающий ОПЕРАТОРУ, что ВЧ ЭЛЕКТРОХИРУРГИЧЕСКИЙ АППАРАТ установлен в данный специальный режим работы, и
c) предусмотрены средства ручной деактивации выхода.
Соответствие проверяют рассмотрением ЭКСПЛУАТАЦИОННЫХ ДОКУМЕНТОВ и функциональными испытаниями.
201.8.10.4.101.3. Активация по импедансу
ДАТЧИК ВЫКЛЮЧЕНИЯ, предназначенный для активации ВЧ выхода по импедансу между контактами БИПОЛЯРНОГО АКТИВНОГО ВЫХОДА, допустим только для БИПОЛЯРНОЙ КОАГУЛЯЦИИ.
Если предусмотрен такой ДАТЧИК ВЫКЛЮЧЕНИЯ по импедансу как альтернатива или дополнение к ДАТЧИКУ ВЫКЛЮЧЕНИЯ по замыканию контактов, тогда:
a) ни при каких условиях не должно быть активации ВЧ выхода в результате только прерывания и восстановления ПИТАЮЩЕЙ СЕТИ;
b) активация по импедансу должна допускаться только при специальном выборе ОПЕРАТОРА;
c) этот выбор должен визуально отображаться для ОПЕРАТОРА.
ДАТЧИКИ ВЫКЛЮЧЕНИЯ по импедансу не должны использоваться для активации МОНОПОЛЯРНОГО ВЧ выхода. Требования данного подпункта не применяют к ДАТЧИКАМ ВЫКЛЮЧЕНИЯ, которые способны только автоматически отключать ВЧ выход в соответствии с целями специальных режимов использования [см.
201.8.10.4.101.2, перечисление a)].
Соответствие проверяют рассмотрением ЭКСПЛУАТАЦИОННЫХ ДОКУМЕНТОВ и функциональными испытаниями.
201.8.10.4.101.3. Ножные выключатели
Ножные выключатели должны соответствовать следующим требованиям (см. также
201.11.6.5 и
201.12.2).
Сила, необходимая для срабатывания выключателя, не должна быть менее 10 Н при ее приложении на площади 625 мм2 в любой области рабочей поверхности ножного выключателя.
Соответствие проверяют измерением силы срабатывания.
201.9. Защита от МЕХАНИЧЕСКИХ ОПАСНОСТЕЙ, создаваемых
МЕ ИЗДЕЛИЯМИ и МЕ СИСТЕМАМИ
Применяют пункт 9 общего стандарта.
201.10. Защита от ОПАСНОСТЕЙ воздействия нежелательного
или чрезмерного ИЗЛУЧЕНИЯ
Применяют пункт 10 общего стандарта.
201.11. Защита от чрезмерных температур
и других ОПАСНОСТЕЙ
Применяют пункт 11 общего стандарта, за исключением:
201.11.1.1*. МАКСИМАЛЬНАЯ температура при НОРМАЛЬНОЙ ЭКСПЛУАТАЦИИ
Дополнение:
РАБОЧИЙ ЦИКЛ: ВЧ ЭЛЕКТРОХИРУРГИЧЕСКИЙ АППАРАТ, настроенный на выдачу НОМИНАЛЬНОЙ ВЫХОДНОЙ МОЩНОСТИ на резистивной нагрузке с использованием кабелей электродов, работает в течение 1 ч с РАБОЧИМ ЦИКЛОМ, указанным ИЗГОТОВИТЕЛЕМ, но с временем активации ВЧ выхода не менее 10 с и временем деактивации ВЧ выхода не более 30 с.
201.11.1.2.1. РАБОЧИЕ ЧАСТИ, предназначенные для передачи тепла ПАЦИЕНТУ
Дополнение:
АКТИВНЫЕ ЭЛЕКТРОДЫ считают РАБОЧИМИ ЧАСТЯМИ, предназначенными для подачи тепла ПАЦИЕНТУ с целью получения предусмотренного клинического воздействия (РЕЗАНИЕ И КОАГУЛЯЦИЯ). Представления данных о температурах и клиническом воздействии не требуется.
201.11.1.2.2. Рабочие части, не предназначенные для передачи тепла ПАЦИЕНТУ
Дополнение:
НЕЙТРАЛЬНЫЕ ЭЛЕКТРОДЫ считают РАБОЧИМИ ЧАСТЯМИ, не предназначенными для подачи тепла ПАЦИЕНТУ.
201.11.6.3*. Расплескивание жидкостей на МЕ ИЗДЕЛИЕ и МЕ СИСТЕМУ
Замена:
КОРПУС ВЧ ЭЛЕКТРОХИРУРГИЧЕСКОГО АППАРАТА и ВСПОМОГАТЕЛЬНОГО ИЗДЕЛИЯ должен иметь такую конструкцию, при которой расплескивание жидкости при НОРМАЛЬНОЙ ЭКСПЛУАТАЦИИ не приводит к смачиванию электрической изоляции или других компонентов, которые при смачивании с большой вероятностью могут негативно влиять на безопасность ВЧ ЭЛЕКТРОХИРУРГИЧЕСКОГО АППАРАТА и ВСПОМОГАТЕЛЬНОГО ИЗДЕЛИЯ.
Соответствие проверяют следующим испытанием:
Один литр воды равномерно выливают на середину верхней поверхности ВЧ ЭЛЕКТРОХИРУРГИЧЕСКОГО АППАРАТА и ВСПОМОГАТЕЛЬНОГО ИЗДЕЛИЯ в течение 15 с. ВЧ ЭЛЕКТРОХИРУРГИЧЕСКИЙ АППАРАТ и ВСПОМОГАТЕЛЬНОЕ ИЗДЕЛИЕ, предназначенные для встраивания в стену или шкаф, испытывают закрепленными, как рекомендовано, воду выливают на стену выше панели управления. После этого ВЧ ЭЛЕКТРОХИРУРГИЧЕСКИЙ АППАРАТ и ВСПОМОГАТЕЛЬНОЕ ИЗДЕЛИЕ должны выдерживать испытание на электрическую прочность изоляции, определенное в 201.8.8.3, и осмотр должен показать, что вода, которая могла проникнуть в КОРПУС, не может негативно повлиять на безопасность ВЧ ЭЛЕКТРОХИРУРГИЧЕСКОГО АППАРАТА и ВСПОМОГАТЕЛЬНОГО ИЗДЕЛИЯ. В частности, на изоляции, для которой определены ПУТИ УТЕЧКИ, определенные в 8.9.1 общего стандарта, не должно быть следов воды.
201.11.6.5. Проникание воды или твердых частиц в МЕ ИЗДЕЛИЯ и МЕ СИСТЕМЫ
Дополнение:
a)* Электрические переключающие части НОЖНЫХ ВЫКЛЮЧАТЕЛЕЙ ВЧ ЭЛЕКТРОХИРУРГИЧЕСКИХ АППАРАТОВ и ВСПОМОГАТЕЛЬНЫХ ИЗДЕЛИЙ, предназначенных для использования в операционных, должны быть защищены от проникания жидкости, которое может вызвать непредусмотренную активацию РАБОЧЕЙ ЧАСТИ.
Соответствие проверяют следующим испытанием:
Ножной выключатель должен быть полностью погружен в 0,9%-ный солевой раствор на глубину 150 мм на 30 мин. Во время погружения он должен быть соединен с ДАТЧИКОМ ВЫКЛЮЧЕНИЯ, соответствующим его НОРМАЛЬНОЙ ЭКСПЛУАТАЦИИ, и активирован 50 раз. ДАТЧИК ВЫКЛЮЧЕНИЯ должен регистрировать деактивацию после каждого прекращения воздействия на ножной выключатель.
b)* Электрические части РУЧНЫХ ВЫКЛЮЧАТЕЛЕЙ должны быть защищены от влияния проникания жидкости, которое может вызвать непредусмотренную активацию РАБОЧЕЙ ЧАСТИ (см. также
201.8.8.3.103).
Соответствие проверяют следующим испытанием.
АКТИВНУЮ РУКОЯТКУ держат горизонтально на высоте не менее 50 мм над любой поверхностью таким образом, чтобы РУЧНЫЕ ВЫКЛЮЧАТЕЛИ находились в самом верхнем положении. Один литр 0,9%-ного солевого раствора равномерно выливают на АКТИВНУЮ РУКОЯТКУ в течение 15 с так, чтобы АКТИВНАЯ РУКОЯТКА смачивалась по всей длине, и дают раствору свободно стекать. Для каждого РУЧНОГО ВЫКЛЮЧАТЕЛЯ измеряют импеданс на переменном токе частотой не менее 1 кГц и напряжением не более 12 В, используя для этого соответствующие контакты АКТИВНОГО СОЕДИНИТЕЛЯ. Измеренный импеданс должен быть не менее 2000 Ом.
Сразу после этого для каждого РУЧНОГО ВЫКЛЮЧАТЕЛЯ проводят 10 циклов срабатывания. Импеданс на переменном токе должен быть не менее 2000 Ом в течение 0,5 с после прекращения воздействия на РУЧНОЙ ВЫКЛЮЧАТЕЛЬ в каждом цикле.
201.11.6.7*. Стерилизация МЕ ИЗДЕЛИЯ и МЕ СИСТЕМЫ
Дополнение:
За исключением маркированных для одноразового использования, АКТИВНЫЕ ПРИНАДЛЕЖНОСТИ и все их отсоединяемые части, за исключением АКТИВНЫХ СОЕДИНИТЕЛЕЙ, отсоединяемых от шнуров без использования инструментов, должны соответствовать требованиям настоящего частного стандарта после испытания в соответствии с данным подпунктом общего стандарта.
201.11.8. Прерывание питания/ПИТАЮЩЕЙ СЕТИ МЕ ИЗДЕЛИЯ
Дополнение:
Если ВЧ ЭЛЕКТРОХИРУРГИЧЕСКИЙ АППАРАТ выключают и снова включают или если происходит прерывание и восстановление ПИТАЮЩЕЙ СЕТИ, то:
- выходная мощность для данных настроек регулятора выхода не должна увеличиваться более чем на 20% и
- ВЧ ЭЛЕКТРОХИРУРГИЧЕСКИЙ РЕЖИМ не должен изменяться, за исключением перехода в режим ожидания, при котором отсутствует выходная мощность.
Соответствие проверяют измерением мощности, усредненной за 1 с, и наблюдением за режимом работы:
a) при выключении и включении сетевого выключателя ВЧ ЭЛЕКТРОХИРУРГИЧЕСКОГО АППАРАТА;
b) при прерывании и восстановлении ПИТАЮЩЕЙ СЕТИ (и сетевого выключателя) ВЧ ЭЛЕКТРОХИРУРГИЧЕСКОГО АППАРАТА, оставленного в положении "ВКЛ.".
201.12. Точность органов управления и измерительных
приборов и защита от опасных значений выходных
характеристик
Применяют пункт 12 общего стандарта, за исключением:
201.12.1. Точность органов управления и измерительных приборов
Дополнительные подпункты:
201.12.1.101. Точность уставок регулятора выхода
Для выходных мощностей, превышающих 10% НОМИНАЛЬНОЙ ВЫХОДНОЙ МОЩНОСТИ, действительная мощность как функция от сопротивления нагрузки и уставок регулятора выхода не должна отклоняться от показанной на диаграмме
201.7.9.3.1 более чем на +/- 20%.
Соответствие проверяют проведением испытаний по 201.12.1.102, но используя соответствующие значения сопротивления нагрузки.
201.12.1.102. Монотонность уставок регулятора выхода
1 - ПИТАЮЩАЯ СЕТЬ; 2 - стол, изготовленный из
изолирующего материала; 3 - ВЧ ЭЛЕКТРОХИРУРГИЧЕСКИЙ
АППАРАТ; 4 - АКТИВНЫЙ ЭЛЕКТРОД; 5 - НЕЙТРАЛЬНЫЙ ЭЛЕКТРОД,
металлический или контактирующий с металлической фольгой
такого же размера; 9 - заземленная проводящая поверхность;
11 - требуемое сопротивление нагрузки с устройством
измерения ВЧ мощности
Рисунок 201.109. Измерение выходной мощности -
МОНОПОЛЯРНЫЙ выход
1 - ПИТАЮЩАЯ СЕТЬ; 2 - стол, изготовленный из изолирующего
материала; 3 - ВЧ ЭЛЕКТРОХИРУРГИЧЕСКИЙ АППАРАТ;
9 - заземленная проводящая поверхность;
10 - активированный БИПОЛЯРНЫЙ ЭЛЕКТРОД; 11 - требуемое
сопротивление нагрузки с устройством измерения ВЧ мощности
Рисунок 201.110. Измерение выходной мощности -
БИПОЛЯРНЫЙ выход
Соответствие проверяют следующим испытанием:
Выходную мощность как функцию от уставок регулятора выхода измеряют как минимум при пяти значениях сопротивления нагрузки, включая 100, 200, 500, 1000, 2000 Ом и НОМИНАЛЬНУЮ НАГРУЗКУ. Для подсоединения сопротивления нагрузки следует использовать АКТИВНЫЕ ПРИНАДЛЕЖНОСТИ и НЕЙТРАЛЬНЫЕ ЭЛЕКТРОДЫ, поставляемые с ВЧ ЭЛЕКТРОХИРУРГИЧЕСКИМ АППАРАТОМ, или изолированные провода длиной 3 м.
Выходную мощность как функцию от уставок регулятора выхода измеряют как минимум при пяти значениях сопротивления нагрузки, включая 10, 50, 200, 500, 1000 Ом и НОМИНАЛЬНУЮ НАГРУЗКУ. Для подсоединения сопротивления нагрузки следует использовать БИПОЛЯРНЫЙ шнур, поставляемый с ВЧ ЭЛЕКТРОХИРУРГИЧЕСКИМ АППАРАТОМ, или изолированный двухпроводный шнур длиной 3 м с НОМИНАЛЬНЫМ напряжением 600 В или более.
ИЗГОТОВИТЕЛИ должны предоставить специальные инструкции по проведению данных измерений для альтернативных конструкций БИПОЛЯРНЫХ ЭЛЕКТРОДОВ.
201.12.1.103*. Точность МАКСИМАЛЬНОГО ВЫХОДНОГО НАПРЯЖЕНИЯ
Для каждого ВЧ ЭЛЕКТРОХИРУРГИЧЕСКОГО РЕЖИМА ВЧ ЭЛЕКТРОХИРУРГИЧЕСКОГО АППАРАТА МАКСИМАЛЬНОЕ ВЫХОДНОЕ НАПРЯЖЕНИЕ на АКТИВНОМ ВЫХОДЕ не должно превышать значений, определенных в
201.7.9.3.1.
Соответствие проверяют измерениями на осциллографе. См. также 201.5.4, перечисление aa). Измерения проводят при уставках регулятора выхода и условиях нагрузки, приводящих к максимальному пиковому выходному напряжению для каждого ВЧ ЭЛЕКТРОХИРУРГИЧЕСКОГО РЕЖИМА.
201.12.2. ЭКСПЛУАТАЦИОННАЯ ПРИГОДНОСТЬ
Дополнение:
a) Если для выбора выходных режимов РЕЗАНИЯ и КОАГУЛЯЦИИ используется двойная сборка НОЖНЫХ ВЫКЛЮЧАТЕЛЕЙ, то их расположение должно быть таким, чтобы при взгляде со стороны ОПЕРАТОРА левая педаль активировала РЕЗАНИЕ, а правая педаль активировала КОАГУЛЯЦИЮ.
Соответствие проверяют осмотром.
b)* В АКТИВНЫХ РУКОЯТКАХ с отдельными РУЧНЫМИ ВЫКЛЮЧАТЕЛЯМИ для выбора активации ВЧ ЭЛЕКТРОХИРУРГИЧЕСКИХ РЕЖИМОВ РЕЗАНИЯ и КОАГУЛЯЦИИ выключатель, активирующий РЕЗАНИЕ, должен располагаться ближе к АКТИВНОМУ ЭЛЕКТРОДУ, чем выключатель КОАГУЛЯЦИИ.
Соответствие проверяют осмотром.
c) Не должна быть возможна одновременная активация более одного АКТИВНОГО ВЫХОДА, за исключением случаев, когда:
1) каждый АКТИВНЫЙ ВЫХОД имеет независимый набор органов управления для выбора ВЧ ЭЛЕКТРОХИРУРГИЧЕСКОГО РЕЖИМА, ВЧ уставок выхода и независимые ДАТЧИКИ ВЫКЛЮЧЕНИЯ, или
2) два МОНОПОЛЯРНЫХ АКТИВНЫХ ВЫХОДА имеют независимые ДАТЧИКИ ВЫКЛЮЧЕНИЯ и являются частью общего выхода, обеспечивающего ФУЛЬГУРАЦИЮ.
Соответствие проверяют осмотром и функциональными проверками.
d)* Во время одновременной активации тональность звукового сигнала должна отличаться от тональности сигнала при активации одного выхода. См. также
201.12.4.2.101. Ни при каких обстоятельствах любая цепь ПАЦИЕНТА не должна создавать ток больший, чем указано в
201.8.7.3.101, перечисление c), за исключением случая, когда эта цепь ПАЦИЕНТА активирована ОПЕРАТОРОМ.
Соответствие проверяют осмотром и функциональными проверками.
e)* АКТИВНЫЕ ВЫХОДЫ ВЧ ЭЛЕКТРОХИРУРГИЧЕСКОГО АППАРАТА и ВСПОМОГАТЕЛЬНОГО ИЗДЕЛИЯ должны достаточно различаться по конфигурации, чтобы исключить некорректное подключение МОНОПОЛЯРНЫХ АКТИВНЫХ ПРИНАДЛЕЖНОСТЕЙ, НЕЙТРАЛЬНЫХ ЭЛЕКТРОДОВ и БИПОЛЯРНЫХ АКТИВНЫХ ПРИНАДЛЕЖНОСТЕЙ.
Соответствие проверяют осмотром.
f)* АКТИВНЫЕ СОЕДИНИТЕЛИ должны иметь ЗАКРЕПЛЕННЫЕ контакты. Не допускается использование "подвижных контактов".
Соответствие проверяют осмотром.
g)* Если одним ДАТЧИКОМ ВЫКЛЮЧЕНИЯ можно активировать более одного ВЧ ХИРУРГИЧЕСКОГО РЕЖИМА, то должна быть предусмотрена индикация выбранного ВЧ ЭЛЕКТРОХИРУРГИЧЕСКОГО РЕЖИМА до активации выхода.
Соответствие проверяют осмотром и функциональными испытаниями.
201.12.4.2*. Индикация параметров, относящихся к безопасности
Дополнение:
Если полная выходная мощность, усредненная за одну секунду, в любом ВЧ ЭЛЕКТРОХИРУРГИЧЕСКОМ РЕЖИМЕ, включая одновременную активацию независимых выходов, если она доступна, превышает 400 Вт на НОМИНАЛЬНОЙ НАГРУЗКЕ, то тогда в ФАЙЛЕ МЕНЕДЖМЕНТА РИСКА следует уделить особое внимание возможным ОПАСНОСТЯМ, особенно связанным с НЕЙТРАЛЬНЫМ ЭЛЕКТРОДОМ.
Соответствие проверяют измерениями.
Дополнительный подпункт:
201.12.4.2.101. Индикатор выхода
ВЧ ЭЛЕКТРОХИРУРГИЧЕСКИЕ АППАРАТЫ должны быть оснащены устройством звуковой сигнализации активации любой выходной цепи при срабатывании ДАТЧИКА ВЫКЛЮЧЕНИЯ или при возникновении УСЛОВИЯ ЕДИНИЧНОГО НАРУШЕНИЯ. Основная энергия звукового сигнала должна находиться в полосе частот от 100 Гц до 3 кГц, а его уровень должен быть не менее 65 дБА на расстоянии 1 м от ВЧ ЭЛЕКТРОХИРУРГИЧЕСКОГО АППАРАТА в одном направлении, указанном ИЗГОТОВИТЕЛЕМ. Может быть предусмотрена регулировка уровня звука ОПЕРАТОРОМ до не менее 40 дБА. Для одновременной активации см. также
201.12.2, перечисление d).
Для того чтобы ОПЕРАТОР мог отличить звуковой сигнал тревоги, срабатывающий в соответствии с
201.8.4.101, от сигналов, определенных выше, либо форма сигнала должна быть импульсной, либо должны использоваться две различные частоты.
&Примечание. Звуковой сигнал не должен соответствовать определению СИГНАЛА ОПАСНОСТИ в МЭК 60601-1-8. См. также
пункт 208 настоящего стандарта&.
Соответствие проверяют функциональными проверками и измерениями уровня звука.
201.12.4.3. Случайная установка чрезмерных значений выходных характеристик
Дополнительный подпункт:
201.12.4.3.101*. Средства снижения выхода
За исключением случаев, указанных в
201.7.9.2.2.101, перечисление a) 7) и
201.7.9.3.1, для каждого ВЧ ЭЛЕКТРОХИРУРГИЧЕСКОГО РЕЖИМА ВЧ ЭЛЕКТРОХИРУРГИЧЕСКИЙ АППАРАТ должен включать средства, позволяющие снизить выходную мощность до уровня не более 5% НОМИНАЛЬНОЙ ВЫХОДНОЙ МОЩНОСТИ или 10 Вт, выбирают меньшее значение (см. также
201.12.1.102).
Соответствие проверяют измерениями выходной мощности и осмотром.
201.12.4.4. Отклонение выходных характеристик от установленных значений
Дополнительные подпункты:
201.12.4.4.101*. Максимальная допустимая выходная мощность в УСЛОВИЯХ ЕДИНИЧНОГО НАРУШЕНИЯ
МОНОПОЛЯРНЫЙ ВЧ ЭЛЕКТРОХИРУРГИЧЕСКИЙ АППАРАТ, имеющий НОМИНАЛЬНУЮ ВЫХОДНУЮ МОЩНОСТЬ более 50 Вт, и все БИПОЛЯРНЫЕ выходы ВЧ ЭЛЕКТРОХИРУРГИЧЕСКОГО АППАРАТА должны быть снабжены тревожной сигнализацией и/или системой блокировки, отображающей и/или препятствующей существенному увеличению выходной мощности относительно уставок выхода.
Максимально допустимая выходная мощность в УСЛОВИЯХ ЕДИНИЧНОГО НАРУШЕНИЯ должна быть рассчитана отдельно для каждой ЦЕПИ ПАЦИЕНТА и каждого режима работы.
Максимально допустимая выходная мощность в УСЛОВИЯХ ЕДИНИЧНОГО НАРУШЕНИЯ указана в таблице 201.102.
&Таблица 201.102
Максимальная выходная мощность в УСЛОВИЯХ
ЕДИНИЧНОГО НАРУШЕНИЯ
Уставки (диапазон в % от НОМИНАЛЬНОЙ ВЫХОДНОЙ МОЩНОСТИ) | Максимально допустимая выходная мощность в УСЛОВИЯХ ЕДИНИЧНОГО НАРУШЕНИЯ |
Менее 10 | 20% НОМИНАЛЬНОЙ ВЫХОДНОЙ МОЩНОСТИ |
От 10 до 25 | Настройки, умноженные на 2 |
Более 25 и до 80 | Уставка +25% НОМИНАЛЬНОЙ ВЫХОДНОЙ МОЩНОСТИ |
Более 80 и до 100 | Уставка +30% НОМИНАЛЬНОЙ ВЫХОДНОЙ МОЩНОСТИ& |
Соответствие проверяют проверкой технической документации и испытанием путем моделирования соответствующих УСЛОВИЙ ЕДИНИЧНОГО НАРУШЕНИЯ.
201.12.4.4.102*. Выходная мощность при одновременной активации
Для ВЧ ЭЛЕКТРОХИРУРГИЧЕСКОГО АППАРАТА, обеспечивающего одновременную активацию более одной цепи ПАЦИЕНТА (см.
201.12.2), активированные цепи ПАЦИЕНТА должны обеспечивать выходную мощность, не превышающую диапазон отклонений, определенный в
201.12.1.101, более чем на 20% при любых доступных комбинациях ВЧ ЭЛЕКТРОХИРУРГИЧЕСКИХ РЕЖИМОВ.
Любая одна активированная цепь ПАЦИЕНТА должна соответствовать
201.12.1.101.
1 - ВЧ ЭЛЕКТРОХИРУРГИЧЕСКИЙ АППАРАТ; 2 - Соединитель для
НЕЙТРАЛЬНОГО ЭЛЕКТРОДА; R1 - НОМИНАЛЬНАЯ НАГРУЗКА для
данного АКТИВНОГО ВЫХОДА; R2 - НОМИНАЛЬНАЯ НАГРУЗКА для
данного АКТИВНОГО ВЫХОДА; R3 - НОМИНАЛЬНАЯ НАГРУЗКА для
данного АКТИВНОГО ВЫХОДА; АО1 - МОНОПОЛЯРНЫЙ АКТИВНЫЙ
ВЫХОД; АО2 - МОНОПОЛЯРНЫЙ АКТИВНЫЙ ВЫХОД;
АО3 - БИПОЛЯРНЫЙ АКТИВНЫЙ ВЫХОД
Рисунок 201.111. Метод испытания обратной связи между
активными выходами при их одновременной активации
Испытуемый выход активируют на 20% его НОМИНАЛЬНОЙ ВЫХОДНОЙ МОЩНОСТИ и измеряют ВЧ ток данного выхода. Затем активируют любой другой выход при максимальной мощности. ВЧ ток испытуемого выхода не должен увеличиться более чем на 10%.
Затем испытуемый выход активируют при уставках 50% и 100% и измеряют значения тока. Эти значения не должны увеличиваться более чем на 10% при активации другого выхода на максимальной мощности.
Испытания повторяют для всех возможных комбинаций выходов, которые могут быть активированы совместно в любой момент времени.
201.13. ОПАСНЫЕ СИТУАЦИИ и условия нарушения
Применяют пункт 13 общего стандарта, за исключением следующего:
201.13.2.13. Перегрузка
Дополнительный подпункт:
201.13.2.13.101*. Защита от влияния короткого замыкания электродов
ВЧ ЭЛЕКТРОХИРУРГИЧЕСКИЙ АППАРАТ должен выдерживать без повреждений закорачивание или размыкание выхода при активации на максимальных уставках выхода.
Соответствие проверяют следующим испытанием.
Подсоединяют провода, описанные в 201.12.1.102, перечисления a) и b), к соединителям цепи ПАЦИЕНТА и для каждого ВЧ ЭЛЕКТРОХИРУРГИЧЕСКОГО РЕЖИМА устанавливают регулятор ВЧ мощности в максимальное положение. Активируют выход и удаленные концы активированной пары проводов замыкают на 5 с, а затем размыкают на 15 с. Затем выход деактивируют на 1 мин. Указанный выше цикл повторяют 10 раз.
После этого испытания ВЧ ЭЛЕКТРОХИРУРГИЧЕСКИЙ АППАРАТ должен соответствовать всем требованиям настоящего частного стандарта.
201.14. Программируемые электрические медицинские
системы (PEMS)
Применяют пункт 14 общего стандарта.
201.15. Конструкция МЕ ИЗДЕЛИЯ
Применяют пункт 15 общего стандарта, за исключением:
201.15.4.1. Конструкция соединителей
Дополнительные подпункты:
201.15.4.1.101*. Совместимость с АКТИВНЫМИ ЭЛЕКТРОДАМИ третьей стороны
ИЗГОТОВИТЕЛЬ АКТИВНЫХ ПРИНАДЛЕЖНОСТЕЙ с отсоединяемыми АКТИВНЫМИ ЭЛЕКТРОДАМИ по требованию должен предоставить размеры и соответствующие допуски сопрягаемых деталей любых АКТИВНЫХ ЭЛЕКТРОДОВ, предназначенных для подсоединения к АКТИВНЫМ ПРИНАДЛЕЖНОСТЯМ.
ИЗГОТОВИТЕЛЬ АКТИВНЫХ ПРИНАДЛЕЖНОСТЕЙ с отсоединяемыми АКТИВНЫМИ ЭЛЕКТРОДАМИ должен указать в ЭКСПЛУАТАЦИОННЫХ ДОКУМЕНТАХ совместимые АКТИВНЫЕ ЭЛЕКТРОДЫ.
Соответствие проверяют рассмотрением ЭКСПЛУАТАЦИОННЫХ ДОКУМЕНТОВ.
201.15.4.1.102. Фиксация отсоединяемых АКТИВНЫХ ЭЛЕКТРОДОВ
ИЗГОТОВИТЕЛЬ отсоединяемых АКТИВНЫХ ЭЛЕКТРОДОВ должен указать в ЭКСПЛУАТАЦИОННЫХ ДОКУМЕНТАХ АКТИВНЫЕ ПРИНАДЛЕЖНОСТИ, с которыми электроды могут быть использованы.
Отсоединяемые АКТИВНЫЕ ЭЛЕКТРОДЫ должны надежно фиксироваться в указанных АКТИВНЫХ ПРИНАДЛЕЖНОСТЯХ.
Соответствие проверяют осмотром и следующим испытанием:
Отсоединяемый АКТИВНЫЙ ЭЛЕКТРОД вставляют десять раз в указанную АКТИВНУЮ ПРИНАДЛЕЖНОСТЬ. После этого АКТИВНЫЙ ЭЛЕКТРОД не должен отсоединяться при приложении тянущей силы по оси вставления, равной десятикратному весу АКТИВНОГО ЭЛЕКТРОДА, но не более 10 Н, в течение 1 мин.
При вставлении отсоединяемого АКТИВНОГО ЭЛЕКТРОДА в указанную АКТИВНУЮ ПРИНАДЛЕЖНОСТЬ получаемая комбинация должна соответствовать всем другим применимым требованиям настоящего частного стандарта.
Дополнительные подпункты:
201.15.101*. НЕЙТРАЛЬНЫЕ ЭЛЕКТРОДЫ
201.15.101.1. Общие требования к НЕЙТРАЛЬНЫМ ЭЛЕКТРОДАМ
ВЧ ЭЛЕКТРОХИРУРГИЧЕСКИЕ АППАРАТЫ с МОНОПОЛЯРНЫМИ ЦЕПЯМИ ПАЦИЕНТА, обеспечивающими подачу ВЧ мощности более 50 Вт, должны иметь НЕЙТРАЛЬНЫЙ ЭЛЕКТРОД.
Соответствие проверяют осмотром.
201.15.101.2*. Соединение шнура с НЭ
НЕЙТРАЛЬНЫЙ ЭЛЕКТРОД должен надежно соединяться со шнуром. За исключением МОНИТОРИРУЕМЫХ НЭ, любой ток для мониторинга электрической неразрывности шнура и его соединений должен проходить через электрод.
Соответствие проверяют следующим испытанием.
Испытание на электрическую неразрывность проводят путем пропускания тока не менее 1 А, но не более 5 А от источника постоянного или переменного тока сетевой частоты с напряжением холостого хода, не превышающим 6 В. Сопротивление должно быть не более 1 Ом.
201.15.101.3*. Соединитель ШНУРА НЭ, непроводящие части на ПАЦИЕНТЕ
Любые контакты электрического соединителя ШНУРА НЭ должны иметь такую конструкцию, чтобы их проводящие части не могли контактировать с телом ПАЦИЕНТА в случае непреднамеренного отсоединения.
Соответствие проверяют следующим испытанием:
Шнур НЭ отсоединяют от НЭ и, используя стандартный испытательный палец, показанный на рисунке 6 общего стандарта, проверяют, что контакт с проводящими частями контактов соединителя невозможен.
201.15.101.4*. Изоляция ШНУРА НЭ
Изоляция ШНУРА НЭ должна быть адекватной для предотвращения ожога ПАЦИЕНТА и ОПЕРАТОРА.
Соответствие проверяют выполнением следующих испытаний в указанном порядке:
Iутечки [мА] = 1,8·10-5·d·L·fисп·Uпик;
Cутечки [пФ] = 4·d·L,
где d - наименьший внешний диаметр изоляции, мм;
L - длина образца изоляции, погруженного в емкость с солевым раствором, см;
- испытание ВЧ электрической прочности изоляции в соответствии с 201.8.8.3.103 с испытательным напряжением 500 Впик. Не должно возникать пробоя изоляции;
- испытание электрической прочности изоляции на сетевой частоте в соответствии с 201.8.8.3.104 с испытательным напряжением 2100 Впик. Не должно возникать пробоя изоляции.
201.15.101.5*. Температурные характеристики НЭ
НЭ не должен подвергать ПАЦИЕНТА РИСКУ получения ожога в области наложения НЭ при условиях НОРМАЛЬНОЙ ЭКСПЛУАТАЦИИ и при наложении в соответствии с инструкцией по эксплуатации.
Соответствие проверяют следующим испытанием:
Для НЭ и ПАЦИЕНТОВ с диапазоном массы, указанным ниже, максимальное увеличение температуры любого 1 см2 поверхности под областью контакта НЭ и на расстоянии до 1 см от данной области на ПАЦИЕНТЕ не должно превышать 6 °C сразу после пропускания испытательного тока Iисп в течение 60 с.
&Таблица 201.103
Испытательный ток в зависимости от диапазона массы
Диапазон массы ПАЦИЕНТОВ | Iисп, мА |
< 5 кг | 350 |
От 5 кг до 15 кг | 500 |
> 15 кг или не определен | 700& |
Для всех МОНИТОРИРУЕМЫХ НЭ площадь контакта должна совпадать с Aa, площадью срабатывания тревожной сигнализации, установленной при испытании на соответствие 201.8.4.101.
Для всех других НЭ площадь контакта должна совпадать с площадью НЭ при его наложении в соответствии с инструкцией по эксплуатации.
Для НЭ, предназначенных для использования на маленьких ПАЦИЕНТАХ, эти испытания могут быть проведены на взрослых субъектах. Испытательная поверхность, на которую накладывают испытуемый НЭ, должна представлять собой кожу человека или электрически и температурно-эквивалентную замещающую среду, или испытательное устройство. Данные испытания должны повторяться с использованием минимум четырех различных образцов испытываемого НЭ на каждом человеке. Если используется замещающая среда или испытательное устройство, необходимо испытать по крайней мере 10 различных образцов НЭ.
Температуры НЭ и испытательной поверхности замещающей среды или испытательного устройства должны быть (23 +/- 2) °C, и исходная температура испытательной поверхности должна быть измерена непосредственно перед наложением на нее НЭ. После наложения НЭ выдерживают на испытательной поверхности в течение 30 мин при стабильной температуре окружающей среды перед пропусканием испытательного тока. Если используют замещающую среду или испытательное устройство, испытание можно начинать сразу после достижения температурного равновесия.
Испытательный ток Iисп, пропускаемый через испытуемые электроды, должен иметь примерно ВЧ синусоидальную форму и достигать своего значения в течение 5 с от начала испытания и поддерживаться на уровне между 100% и 110% Iисп в течение (60 +/- 1) с.
Второе измерение температуры испытательной поверхности должно быть выполнено в течение 15 с после прекращения испытательного тока. По сравнению с исходным измерением увеличение температуры на любой 1 см2 площади не должно превышать 6 °C.
Аппаратура для измерения температуры должна иметь точность не хуже, чем 0,5 °C, и пространственное разрешение, по крайней мере, один замер на см2 для всей площади поверхности НЭ плюс площадь, охватываемая границами на расстоянии 1 см от кромок поверхности НЭ. Пространственная корреляция между исходным и вторым измерениями температуры должна быть в пределах +/- 1,0 см.
Если в качестве субъекта используются люди, то их выборка должна включать по крайней мере пять мужчин и пять женщин с различной морфологией кожных тканей, т.е. с тонким, средним и толстым подкожно-жировым слоем.
Для любой замещающей среды или испытательного устройства должно быть документальное подтверждение того, что они обеспечат рост температуры не менее, чем при применении данного протокола испытаний на выборке по крайней мере из 20 людей.
201.15.101.6*. Импеданс контакта НЭ
Импеданс электрического контакта между поверхностью наложения НЭ и соединением ШНУРА НЭ должен быть достаточно низким, чтобы предотвратить РИСК ожога ПАЦИЕНТА, связанного с омическим нагревом при прохождении ВЧ рабочего тока.
Для проводящих НЭ импеданс контакта не должен превышать 50 Ом, а для емкостных НЭ емкость контакта должна быть не менее чем 4 нФ в диапазоне частот от 200 кГц до 5 МГц.
&Примечание. В соответствии с настоящим стандартом, если изготовителем не определено иное, проводящий НЭ представляет импеданс контакта со сдвигом фазы менее 45° при 200 кГц, а емкостной НЭ при 200 кГц сдвиг фазы 45° или более&.
Соответствие проверяют следующим испытанием, используя случайную выборку по крайней мере из 10 образцов испытуемых НЭ.
Испытуемый НЭ располагают на плоской металлической пластине так, чтобы был полный и плотный контакт. Между пластиной и проводниками ШНУРА НЭ для измерения напряжения Uисп подсоединяют вольтметр переменного тока, измеряющий среднеквадратическое значение и имеющий входной импеданс более 2 кОм и точность лучше 5% в диапазоне от 200 кГц до 5 МГц. Примерно синусоидальный испытательный ток Uисп значением примерно 200 мА и частотой fисп в диапазоне от 200 кГц до 5 МГц пропускают между шнуром НЭ и пластиной и измеряют его амперметром переменного тока, показывающим среднеквадратическое значение.
Uисп и Iисп измеряют при f = 200, 500 кГц, 1, 2 и 5 МГц. Затем для каждой fисп вычисляют импеданс контакта ZK по формуле
и вычисляют емкость контакта по формуле
,
где Iисп - среднеквадратическое значение испытательного ВЧ тока, A;
Uисп - среднеквадратическое значение испытательного ВЧ напряжения, B;
fисп - ВЧ частота испытательного напряжения, кГц.
201.15.101.7*. Приклеиваемые НЭ
НЭ, за исключением МОНИТОРИРУЕМЫХ НЭ и НЭ, маркированных для использования на ПАЦИЕНТАХ массой менее 15 кг, для которых в инструкции по эксплуатации указано, что их приклеивают к ПАЦИЕНТУ, прочность клеевого соединения на отрыв должна быть достаточной для обеспечения надежного контакта при ожидаемых условиях использования.
Соответствие проверяют следующими испытаниями:
Для НЭ, предназначенных для использования на детях, испытания могут быть проведены на взрослых. Может использоваться замещающая испытательная поверхность, для которой доказана эквивалентность.
a) Испытание тянущей силой
Как минимум два образца испытуемых НЭ накладывают по крайней мере на 10 мужчин и 10 женщин в соответствии с инструкциями по эксплуатации. После наложения НЭ выдерживают без механических воздействий в течение 5 - 10 мин. Для НЭ, предназначенных для использования на взрослых пациентах, прикрепленный шнур НЭ подвергают воздействию тянущей силы 10 Н в течение 10 мин в каждом из двух ортогональных направлений на плоскости, параллельной поверхности кожи, в точке подсоединения ШНУРА НЭ. По крайней мере в 90% испытаний от поверхности кожи не должно отделиться более 5% поверхности НЭ.
b) Испытание на прилегаемость
Испытуемые НЭ накладывают по крайней мере на пять мужчин и пять женщин на примерно цилиндрические области (например, конечности), имеющие обхват от 1,0 до 1,25 длины большей оси НЭ, так чтобы НЭ по своей большей оси обхватывал всю область. Через 1 ч после наложения от поверхности кожи не должно отделиться более 10% поверхности НЭ.
&Примечание. Испытание на прилегаемость не проводят, если в инструкции по эксплуатации данный тип области наложения указан как нежелательный&.
c) Испытание на устойчивость к жидкости
Испытуемые НЭ накладывают по крайней мере на пять мужчин и пять женщин. Если НЭ предназначен для использования с кабелем многократного использования, к НЭ подсоединяют соответствующий соединитель. В течение от 5 с до 15 с с высоты 300 мм прямо над НЭ выливают один литр 0,9%-ного солевого раствора. В течение 15 мин после попадания солевого раствора от поверхности кожи не должно отделиться более 10% поверхности НЭ.
201.15.101.8*. Срок годности НЭ
НЭ, маркированные для одноразового использования, должны соответствовать требованиям
201.15.101.5 -
201.15.101.7 до даты окончания срока годности, определенной изготовителем НЭ. Испытуемые образцы могут быть получены в результате реального хранения НЭ в соответствии с их инструкциями по эксплуатации или в результате ускоренного старения НЭ в цикле, для которого показано, что он, по крайней мере, настолько же жесткий, что и рекомендуемые условия хранения.
Соответствие проверяют испытанием изделий в течение 30 дней после окончания срока годности или даты завершения ускоренного старения.
Применяют пункт 16 общего стандарта.
201.17. Электромагнитная совместимость МЕ ИЗДЕЛИЙ
и МЕ СИСТЕМ
Применяют пункт 17 общего стандарта.
202*. Электромагнитная совместимость. Требования
и испытания
Применяют МЭК 60601-1-2, за исключением:
202.6.1. Помехоэмиссия
202.6.1.1.1. Требования
Дополнение:
aa) эти требования и испытания не применяют к ВЧ ЭЛЕКТРОХИРУРГИЧЕСКИМ АППАРАТАМ при активированном ВЧ выходе;
bb) ВЧ ЭЛЕКТРОХИРУРГИЧЕСКИЕ АППАРАТЫ должны соответствовать требованиям СИСПР 11, группа 1, если они включены и находятся в режиме ожидания без активации ВЧ выхода. ИЗГОТОВИТЕЛЬ должен указать, является ли ВЧ ЭЛЕКТРОХИРУРГИЧЕСКИЙ АППАРАТ изделием класса A или класса B в соответствии с его предполагаемым использованием.
202.6.2. ПОМЕХОУСТОЙЧИВОСТЬ
202.6.2.1.10. Критерии соответствия
Дополнение:
Следующее должно считаться УХУДШЕНИЕМ функционирования, не влияющим на ОСНОВНЫЕ ФУНКЦИОНАЛЬНЫЕ ХАРАКТЕРИСТИКИ или ОСНОВНУЮ БЕЗОПАСНОСТЬ.
- прерывание ВЧ мощности на выходе или переход в режим ожидания, если это четко индицируется на рабочей панели ВЧ ЭЛЕКТРОХИРУРГИЧЕСКОГО АППАРАТА;
- изменение выходной мощности, допустимое согласно
201.12.1.101.
Считают, что соответствие установлено, если выполнены требования МЭК 60601-1-2 с вышеуказанными изменениями.
208. Общие требования, испытания и руководящие указания
по применению систем сигнализации медицинских
электрических изделий и медицинских электрических систем
Применяют МЭК 60601-1-8, за исключением:
Изменение:
Звуковая сигнализация и красный предупреждающий световой индикатор, описанные в
201.8.4.101, не должны считаться СИГНАЛОМ ОПАСНОСТИ, определенным в настоящем дополнительном стандарте.
Звуковой сигнал, описанный в
201.12.4.2.101, не должен считаться СИГНАЛОМ ОПАСНОСТИ, определенным в настоящем дополнительном стандарте.
Применяют приложения общего стандарта.
(справочное)
ОБЩИЕ ПОЛОЖЕНИЯ И ОБОСНОВАНИЯ
AA.1. Общее руководство
В данном Приложении приведено краткое обоснование основных требований настоящего частного стандарта, предназначенное для тех, кто близко знаком с объектом стандарта, но не принимал участия в его разработке.
Считается, что понимание причин основных требований важно для корректного применения стандарта. Кроме того, т.к. клиническая практика и технологии изменяются, считается, что обоснование существующих требований облегчит любой пересмотр стандарта, связанный с этими изменениями.
Примечание. Испытание данных изделий на соответствие или работу при включенном ВЧ режиме может привести к тому, что оборудование будет работать за пределами нормального функционирования из-за воздействия ВЧ электрического поля. Необходимо принимать во внимание соответствующие меры предосторожности и проверки испытательных инструментов. Данная ситуация также может возникнуть с медицинскими поддерживающими инструментами, расположенными рядом с изделием.
AA.2. Обоснование специальных пунктов и подпунктов
Ниже приведено обоснование отдельных пунктов и подпунктов настоящего частного стандарта с нумерацией пунктов и подпунктов, параллельной нумерации в тексте стандарта.
Подпункт 201.1.1. Область распространения
Область распространения не включает оборудование для прижигания, т.е. для медицинской обработки электрически нагреваемыми металлическими стержнями или проволочными петлями. В настоящем стандарте приведены в той степени, в которой это целесообразно, отдельные требования и испытания для ВЧ ЭЛЕКТРОХИРУРГИЧЕСКОГО АППАРАТА и ВЧ ЭЛЕКТРОХИРУРГИЧЕСКИХ ПРИНАДЛЕЖНОСТЕЙ, независимо от производства. ВСПОМОГАТЕЛЬНОЕ ИЗДЕЛИЕ включено в определение принадлежностей.
Определение 201.3.207. ВСПОМОГАТЕЛЬНОЕ ИЗДЕЛИЕ
Примерами ВСПОМОГАТЕЛЬНОГО ИЗДЕЛИЯ являются адаптеры аргонового луча, мониторы утечки от стороны принадлежностей, мониторы контакта НЕЙТРАЛЬНОГО ЭЛЕКТРОДА и аналогичное оборудование. Текст "не предназначено для самостоятельного использования" означает, что изделие используется только совместно с ВЧ ЭЛЕКТРОХИРУРГИЧЕСКИМ АППАРАТОМ. См.
рисунок AA.1.
Рисунок AA.1. Пример различных частей ВЧ
электрохирургической системы
Определение 201.3.208. БИПОЛЯРНЫЙ
Данный термин предназначен для использования применительно к изделию и принадлежностям и, следовательно, отличается и, возможно, может заменять термин в существующем
подпункте 201.3.209 (БИПОЛЯРНЫЙ ЭЛЕКТРОД).
Определение 201.3.213. КРЕСТ-ФАКТОР
Измерение КРЕСТ-ФАКТОРА математически легко выполнимо, однако его измерение трудно выполнить достаточно надежным способом. Крайне сложно измерить среднеквадратическое выходное напряжение. В определении сказано, что измерения должны быть проведены в режиме холостого хода. Это означает, что на выходе ВЧ ЭЛЕКТРОХИРУРГИЧЕСКОГО АППАРАТА отсутствует обычная нагрузка. Нагрузка, обеспечиваемая датчиком высокого напряжения, используемым для измерения данных напряжений (обычно от 10 до 100 МОм), считается существенной в разомкнутом контуре. Ниже предложен метод данных измерений, который обеспечивает достаточную точность.
Измерения должны быть выполнены между выходом НЭ относительно МОНОПОЛЯРНЫХ выходов и между двумя полюсами БИПОЛЯРНЫХ выходов, с использованием пробника ВЧ напряжения 1000x или 100x, подсоединенного к осциллоскопу с цифровым запоминающим устройством (digital storage oscilloscope, DSO) высокого разрешения с возможностью выполнения автоматических измерений.
Затем измеряется величина первого четкого периода сигнала. Для непрерывной синусоидальной формы сигнала (cf = 1,4) она является величиной, обратной основной частоте сигнала. Для не непрерывной формы сигнала измеряется временной период между импульсами. Например, форма сигнала для КОАГУЛЯЦИИ может иметь основную частоту 400 кГц со скоростью повторения импульсов 20 кГц. Необходимо точно измерить именно скорость повторения импульсов в 20 кГц. После измерения данного периода шкала времени DSO должна быть изменена таким образом, чтобы на всем экране точно помещалось от 5 до 10 периодов. Например, если скорость повторения импульсов точно 20 кГц, период должен быть 50 мкс. Установив шкалу времени DSO на 50 мкс на деление, на экране должны получить ровно 10 импульсов сигнала.
Затем сигнал фиксируется и запоминается. Измеряют и записывают МАКСИМАЛЬНОЕ ВЫХОДНОЕ НАПРЯЖЕНИЕ (абсолютное значение наивысшего пика). Затем вычисляют среднеквадратическое значение. Наиболее надежным методом является установка DSO на вычисление среднеквадратического значения на основании данных всего экрана. Так как шкала времени установлена на точный захват нескольких волн, вычисление среднеквадратического напряжения должно быть точным.
Альтернативным методом измерения среднеквадратического напряжения является подсоединение выхода датчика высокого напряжения в термочувствительный вольтметр для измерения истинного среднеквадратического напряжения, который измеряет КРЕСТ-ФАКТОР измеряемого сигнала.
Теперь может быть вычислен КРЕСТ-ФАКТОР.
Определение 201.3.214. РЕЗАНИЕ
Общепризнанно, что ВЧ хирургическое РЕЗАНИЕ включает микроскопическую клеточную абляцию в результате вспышек короткого замыкания, проходящих между АКТИВНЫМ ЭЛЕКТРОДОМ и тканями.
Определение 201.3.215. ВЧ ЗАЗЕМЛЕННАЯ ЦЕПЬ ПАЦИЕНТА
В рамках настоящего частного стандарта - сопротивление данного пути с наименьшей рабочей ВЧ частотой 10 Ом или менее. См.
рисунок AA.3.
Определение 201.3.217. ФУЛЬГУРАЦИЯ
Для ФУЛЬГУРАЦИИ обычно требуется ВЧ пиковое выходное напряжение по крайней мере 2 кВ для образования и поддержания длительного разряда. Данный режим также известен как струйная или неконтактная КОАГУЛЯЦИЯ и может быть усилен включением потока инертного газа, такого как аргон.
Определение 201.3.218. ВЫСОКОЧАСТОТНЫЙ, ВЫСОКАЯ ЧАСТОТА, ВЧ
Для МОНОПОЛЯРНОГО использования должны применяться частоты выше 200 кГц для того, чтобы избежать нежелательной стимуляции нервов и мышц, которая может возникнуть при использовании токов низкой частоты. В БИПОЛЯРНЫХ методиках могут использоваться более низкие частоты, если АНАЛИЗ РИСКОВ покажет, что вероятность нейромышечной стимуляции снижена до приемлемого уровня.
Обычно частоты выше 5 МГц не используются для минимизации проблем, связанных с ВЫСОКОЧАСТОТНЫМИ ТОКАМИ УТЕЧКИ. Тем не менее в БИПОЛЯРНЫХ методиках могут использоваться более высокие частоты. Общепризнанно, что 10 мА является нижним пределом температурного влияния на ткани.
Определение 201.3.223. ВЧ ЭЛЕКТРОХИРУРГИЧЕСКИЙ РЕЖИМ
Термин ВЧ ЭЛЕКТРОХИРУРГИЧЕСКИЙ РЕЖИМ следует четко разделять с термином "режим работы", который используется в подпунктах 6.6 и 7.2.11 общего стандарта применительно к рабочему циклу.
Определение 201.3.224. МАКСИМАЛЬНОЕ ВЫХОДНОЕ НАПРЯЖЕНИЕ
Данный параметр предназначен для сравнения ОПЕРАТОРОМ с НОМИНАЛЬНЫМ НАПРЯЖЕНИЕМ ПРИНАДЛЕЖНОСТИ для подтверждения безопасности.
Определение 201.3.225. МОНИТОРИРУЕМЫЙ НЭ
МОНИТОР КАЧЕСТВА КОНТАКТА работает только при использовании с МОНИТОРИРУЕМЫМ НЭ. МОНИТОРИРУЕМЫЙ НЭ также известен как пластинчатый или разделенный на пластины, где проводящая часть разделена на две или более частей.
Определение 201.3.226. МОНОПОЛЯРНЫЙ
Данное определение предназначено для использования применительно к изделию и принадлежностям и, следовательно, отличается от приведенного в
подпункте 201.3.203 (АКТИВНЫЙ ЭЛЕКТРОД).
Подпункт 201.4.2. ПРОЦЕСС МЕНЕДЖМЕНТА РИСКА для МЕ ИЗДЕЛИЯ или МЕ СИСТЕМЫ
В МОНОПОЛЯРНОЙ хирургии в качестве системы используются три элемента: ВЧ ЭЛЕКТРОХИРУРГИЧЕСКИЕ ПРИНАДЛЕЖНОСТИ, ВЧ генератор и НЕЙТРАЛЬНЫЙ ЭЛЕКТРОД (НЭ). ИЗГОТОВИТЕЛИ любого одного или нескольких этих элементов должны учитывать возможность использования их изделий в нетрадиционной ситуации со среднеквадратическими токами. Данные ситуации могут привести, но не ограничиваться: к повреждению тканей, абляции тканей, испарению тканей и процедуры, где в хирургическую область вводятся проводящие растворы для расширения или для проведения ВЧ токов. В ситуации со среднеквадратическими токами существует риск нагрева под НЕЙТРАЛЬНЫМ ЭЛЕКТРОДОМ настолько, что это приведет к нанесению ВРЕДА ПАЦИЕНТУ.
Подпункт 201.4.3. ОСНОВНЫЕ ФУНКЦИОНАЛЬНЫЕ ХАРАКТЕРИСТИКИ
После тщательного рассмотрения пунктов настоящего стандарта было принято решение, что они все имеют дело с ОСНОВНОЙ БЕЗОПАСНОСТЬЮ, как определено в общем стандарте. Изготовители имеют возможность определить те функции ВЧ ЭЛЕКТРОХИРУРГИЧЕСКОГО АППАРАТА, которые считаются ОСНОВНЫМИ ФУНКЦИОНАЛЬНЫМИ ХАРАКТЕРИСТИКАМИ в соответствии с их ПРОЦЕССАМИ МЕНЕДЖМЕНТА РИСКА.
Подпункт 201.5.4. Прочие условия испытаний
Инструменты, используемые для измерения ВЧ токов, включая комбинации ВЧ вольтметров/амперметров, должны фиксировать истинное среднеквадратическое выходное значение напряжения с общей верифицированной точностью 5% показания или лучше в диапазоне от 10 кГц до частоты, превышающей основную частоту испытуемого ВЧ ЭЛЕКТРОХИРУРГИЧЕСКОГО РЕЖИМА по крайней мере в 5 раз. Инструменты с ВЧ выходом должны регистрировать с указанной точностью за 3 с применения измеряемого параметра. Неустойчивые показания продолжительностью менее 1 с можно игнорировать.
Резисторы, используемые для ВЧ испытаний, должны быть рассчитаны на не менее 50% рассеиваемой мощности, ожидаемой для данного испытания, и должны представлять резистивный компонент с сопротивлением в пределах 3% отклонения от определенного значения и фазу сопротивления не более 8,5 градусов от 10 кГц до частоты, превышающей основную частоту испытуемого ВЧ ЭЛЕКТРОХИРУРГИЧЕСКОГО РЕЖИМА по крайней мере в 5 раз.
Инструменты, используемые для измерения ВЧ напряжений, должны быть НОРМИРОВАНЫ на не менее чем 150% ожидаемого пикового напряжения и иметь верифицированную точность в 5% показания или лучше в диапазоне от 10 кГц до частоты, превышающей основную частоту измеряемого сигнала по крайней мере в 5 раз.
Для каждого ВЧ ЭЛЕКТРОХИРУРГИЧЕСКОГО РЕЖИМА термин "основная частота" означает частоту спектральной линии с максимальной амплитудой для измеряемого ВЧ выходного напряжения при работе на настройках максимальной мощности в разомкнутой цепи.
Основной целью пересмотра настоящего частного стандарта является отделение требований и испытаний для ВЧ ЭЛЕКТРОХИРУРГИЧЕСКИХ ПРИНАДЛЕЖНОСТЕЙ от требований и испытаний для любого другого специального ВЧ ЭЛЕКТРОХИРУРГИЧЕСКОГО АППАРАТА. В дальнейшем в настоящем стандарте должны быть четко определены инструменты для требуемых испытаний для обеспечения корректировки результатов, особенно для организаций, проводящих испытания, которые могут быть не знакомы с принятыми методами ВЧ испытаний. В связи с кратковременностью приложения мощности и большей доступностью маломощных резисторов, удовлетворяющих требованиям к низкой реактивности, подходящими считаются резисторы, НОРМИРОВАННЫЕ на настолько низкую мощность, как 50% ожидаемой мощности, но никак не ниже.
Подпункт 201.7.4.2. Органы управления
Так как мощность, подаваемая на нагрузку, зависит от сопротивления нагрузки, считается адекватным формирование шкалы в относительных единицах. Тем не менее, если индикатор выхода отображает реальную мощность выхода в ваттах, он должен делать это во всем диапазоне сопротивлений нагрузки, в противном случае мощность, подаваемая к ПАЦИЕНТУ, может отличаться от отображаемой, создавая тем самым неприемлемый РИСК. Если отображается цифра "0", ОПЕРАТОР ожидает нулевой выход при данных настройках управления.
Подпункт 201.7.8.1. Цвета световых индикаторов
Стандартизация цветов индикаторных ламп рассматривается как мера обеспечения безопасности.
В течение многих лет желтый цвет индикатора использовался для отображения выбора или использования на ВЧ ЭЛЕКТРОХИРУРГИЧЕСКОМ АППАРАТЕ режима РЕЗАНИЯ. Во время хирургических операций "смешанный" режим используется главным образом для РЕЗАНИЯ с добавлением в различной степени КОАГУЛЯЦИИ. Так как основной функцией в "смешанном режиме" является РЕЗАНИЕ, считается, что при использовании "смешанного режима" лучше подходит желтый цвет.
Подпункт 201.7.8.2. Цвета органов управления
В других местах должно использоваться такое же цветовое кодирование, что определено для световых индикаторов, для предотвращения путаницы.
Подпункт 201.7.9.2.2.101, перечисление a)
Советы, касающиеся предотвращения нежелательных ожогов, основаны на опыте. В частности:
1) в предыдущем издании настоящего стандарта данная часть включала советы по размещению НЕЙТРАЛЬНОГО ЭЛЕКТРОДА настолько близко к рабочему полю, насколько это возможно. В целом снижение расстояния между рабочим полем и НЕЙТРАЛЬНЫМ ЭЛЕКТРОДОМ снижает сопротивление нагрузки и, для данной мощности в области АКТИВНОГО ЭЛЕКТРОДА, - выходную мощность, которую необходимо получить от ВЧ ЭЛЕКТРОХИРУРГИЧЕСКОГО АППАРАТА, а также ВЧ напряжение у ПАЦИЕНТА. Тем не менее, если прямой путь между АКТИВНЫМ ЭЛЕКТРОДОМ и НЕЙТРАЛЬНЫМ ЭЛЕКТРОДОМ включает ткани с небольшой площадью поперечного сечения, плотность тока может вызвать нежелательный нагрев и повреждение тканей. Следовательно, ОПЕРАТОР должен полагаться на инструкции по эксплуатации, представленные ИЗГОТОВИТЕЛЕМ НЕЙТРАЛЬНОГО ЭЛЕКТРОДА, в частности, на инструкции по определенному размещению;
2) малые области контакта с телом, имеющие низкое сопротивление на землю на ВЫСОКИХ ЧАСТОТАХ, могут привести к токам высокой плотности и, тем самым, к нежелательному ожогу;
3) может присутствовать небольшое различие в ВЧ напряжениях частей тела ПАЦИЕНТА, что может привести к нежелательному протеканию токов;
4) токи, протекающие по проводам оборудования для мониторинга, могут привести к ожогу в области электрода для мониторинга;
5) емкость между кабелем электрода и ПАЦИЕНТОМ может привести в некоторых областях к токам высокой плотности;
6) в некоторых случаях БИПОЛЯРНАЯ методика может помочь избежать нежелательного повреждения ткани, особенно если вовлечены костные структуры, имеющие относительно высокое сопротивление, или части тела, имеющие относительно маленькую площадь поперечного сечения;
8) в данном случае следует проверить наложение НЕЙТРАЛЬНОГО ЭЛЕКТРОДА и его соединения, прежде чем выбрать более высокую выходную мощность.
Не все советы являются необходимыми, если доступен только БИПОЛЯРНЫЙ выход или НОМИНАЛЬНАЯ ВЫХОДНАЯ МОЩНОСТЬ не превышает 50 Вт без НЕЙТРАЛЬНОГО ЭЛЕКТРОДА.
Подпункт 201.7.9.2.2.101, перечисление c)
МЭК 60601-2-18 содержит требования, предписывающие, чтобы ИЗГОТОВИТЕЛЬ устройств для эндотерапии с ВЧ питанием определял их как подходящие для некоторого максимально допустимого ВЧ пикового выходного напряжения, которое должно быть определено в ЭКСПЛУАТАЦИОННЫХ ДОКУМЕНТАХ данных ПРИНАДЛЕЖНОСТЕЙ.
Тем не менее МЭК 60601-2-18-А1 требует определения "НОМИНАЛЬНОГО пикового напряжения" совместно с "режимом (режимами) предусмотренного применения". Эксперты Группы Обслуживания 17 считают, что эта информация, с одной стороны, является недостаточной, т.к. такие режимы предполагаемого использования, как, например, "струйная КОАГУЛЯЦИЯ", неточно определены технически и могут различаться достаточно сильно у различных брендов и моделей ВЧ ЭЛЕКТРОХИРУРГИЧЕСКОГО АППАРАТА. С другой стороны, считается, что непрактично предоставлять такую достаточно сложную информацию пользователю оборудования.
Следовательно, было решено, что наиболее практично предоставить пользователю только информацию о НОМИНАЛЬНОМ НАПРЯЖЕНИИ ПРИНАДЛЕЖНОСТИ и МАКСИМАЛЬНОМ ВЫХОДНОМ НАПРЯЖЕНИИ для всех настроек выхода для того, чтобы дать возможность оценить, могут ли данная ВЧ ЭЛЕКТРОХИРУРГИЧЕСКАЯ ПРИНАДЛЕЖНОСТЬ или ВСПОМОГАТЕЛЬНОЕ ИЗДЕЛИЕ безопасно использоваться с данными настройками выхода генератора.
На ВЫСОКИХ ЧАСТОТАХ на стабильность изоляции влияет диэлектрический нагрев, так что взаимосвязь между МАКСИМАЛЬНЫМ ВЫХОДНЫМ НАПРЯЖЕНИЕМ и КРЕСТ-ФАКТОРОМ является очень важной.
Далее было учтено, что у всех генераторов известных брендов и моделей в режимах и настройках, обеспечивающих высокое напряжение выхода, КРЕСТ-ФАКТОР всегда увеличивается вместе с напряжением. Следовательно, общая взаимосвязь между выходным напряжением и КРЕСТ-ФАКТОРОМ была принята, как показано на
рисунке AA.2.
Рисунок AA.2. КРЕСТ-ФАКТОР в зависимости от
пикового напряжения
Безопасными являются ситуации, когда НОМИНАЛЬНОЕ НАПРЯЖЕНИЕ ПРИНАДЛЕЖНОСТИ соответствует выходному напряжению ВЧ ЭЛЕКТРОХИРУРГИЧЕСКОГО АППАРАТА, имеющего КРЕСТ-ФАКТОР, который лежит на или выше линии диаграммы. НОМИНАЛЬНОЕ НАПРЯЖЕНИЕ ПРИНАДЛЕЖНОСТИ не должно быть меньше МАКСИМАЛЬНОГО ВЫХОДНОГО НАПРЯЖЕНИЯ, т.к. ВЧ ЭЛЕКТРОХИРУРГИЧЕСКИЕ ПРИНАДЛЕЖНОСТИ или ВСПОМОГАТЕЛЬНОЕ ИЗДЕЛИЕ должны соответствовать требованиям
201.8.8.3.103, которые учитывают КРЕСТ-ФАКТОР.
Был рассмотрен случай, когда генератор при некоторых настройках имеет МАКСИМАЛЬНОЕ ВЫХОДНОЕ НАПРЯЖЕНИЕ с соответствующим КРЕСТ-ФАКТОРОМ, лежащим ниже линии диаграммы. В данном случае для обеспечения безопасности НОМИНАЛЬНОЕ НАПРЯЖЕНИЕ ПРИНАДЛЕЖНОСТИ должно быть достаточно высоким, чтобы гарантировать, что не произойдет пробоя изоляции ВЧ ЭЛЕКТРОХИРУРГИЧЕСКОЙ ПРИНАДЛЕЖНОСТИ или ВСПОМОГАТЕЛЬНОГО ИЗДЕЛИЯ при использовании с данным конкретным ВЧ ЭЛЕКТРОХИРУРГИЧЕСКИМ АППАРАТОМ в данном конкретном ВЧ ЭЛЕКТРОХИРУРГИЧЕСКОМ РЕЖИМЕ при данных конкретных настройках выхода. Эти меры предосторожности необходимы для учета диэлектрического нагрева, связанного с более низким КРЕСТ-ФАКТОРОМ сигнала. Безопасное значение НОМИНАЛЬНОГО НАПРЯЖЕНИЯ ПРИНАДЛЕЖНОСТИ можно определить испытанием ВЧ ЭЛЕКТРОХИРУРГИЧЕСКОЙ ПРИНАДЛЕЖНОСТИ или ВСПОМОГАТЕЛЬНОГО ИЗДЕЛИЯ с ВЧ ЭЛЕКТРОХИРУРГИЧЕСКИМ АППАРАТОМ.
Подпункт 201.7.9.2.2.101, перечисление e)
ОПЕРАТОР должен знать, какие МОНИТОРИРУЕМЫЕ НЭ безопасны и функционируют с МОНИТОРОМ КАЧЕСТВА КОНТАКТА (МКК). Многие ОПЕРАТОРЫ ошибочно считают, что с введением МКК контроль контакта НЭ во время операции больше не требуется.
Подпункт 201.7.9.2.2.101, перечисление g)
Хотя требуемые в
201.8.4.102 измерения предназначены для существенного снижения нейромышечной стимуляции, ее невозможно полностью исключить, особенно при образовании электрической дуги. Следовательно, пользователю необходимо осознавать, что все равно может возникать нейромышечная стимуляция чувствительных структур, что приведет к вторичным рискам, таким как повреждения, вызванные мышечным сокращением. См. также
обоснование для 201.8.4.102.
Подпункт 201.7.9.2.2.101, перечисление h)
Для систем ВЧ хирургических устройств, используемых при данных условиях, следует обратить усиленное внимание на ожоги под НЕЙТРАЛЬНЫМ ЭЛЕКТРОДОМ.
Подпункт 201.7.9.2.14. ПРИНАДЛЕЖНОСТИ, вспомогательные изделия, используемые материалы
Некоторые ОПЕРАТОРЫ некорректно считают, что МКК относится либо к МОНИТОРУ КАЧЕСТВА КОНТАКТА, либо к МОНИТОРИРУЕМОМУ НЭ по отдельности. Важно, чтобы все ОПЕРАТОРЫ понимали все физические требования, необходимые для достижения надлежащей функциональности МКК.
Подпункт 201.7.9.2.14, перечисление e)
Данная информация должна позволять ОПЕРАТОРУ оценивать соответствие ВЧ ЭЛЕКТРОХИРУРГИЧЕСКОГО АППАРАТА или настроек его выхода для конкретной ПРИНАДЛЕЖНОСТИ, учитывая качество ее изоляции.
Подпункт 201.7.9.2.14, перечисление f)
ОПЕРАТОР должен знать, какие системы CQM (Clinical Quality Measures) работают с данным НЭ.
Подпункт 201.7.9.2.14, перечисление g)
Утверждение о совместимости может быть представлено в различных формах так, чтобы его мог понять ОПЕРАТОР (например, система CQM, основанная на импедансе, в которой звуковая сигнализация основывается на следующих условиях..., система CQM из следующего списка оборудования..., система CQM следующих ИЗГОТОВИТЕЛЕЙ..., а также другие формы).
Подпункт 201.7.9.3.1. Общие положения
Некоторые специальные ВЧ ЭЛЕКТРОХИРУРГИЧЕСКИЕ АППАРАТЫ не дают возможность ОПЕРАТОРУ регулировать настройки выхода.
Эти диаграммы должны позволить ОПЕРАТОРУ оценивать соответствие ВЧ ЭЛЕКТРОХИРУРГИЧЕСКОГО АППАРАТА для конкретной задачи. Если ВЧ ЭЛЕКТРОХИРУРГИЧЕСКИЙ АППАРАТ имеет дискретный выбор комбинаций (например, комбинация 1, комбинация 2 и т.д.), должны быть созданы диаграммы для каждого дискретного режима. Если ВЧ ЭЛЕКТРОХИРУРГИЧЕСКИЙ АППАРАТ имеет различное комбинированное управление, в котором настройки могут регулироваться непрерывно, то управление должно быть установлено в такую комбинацию настроек, которая обеспечивает максимальный гемостаз.
Подпункт 201.8.4.101. Цепь мониторинга НЕЙТРАЛЬНОГО ЭЛЕКТРОДА
Необнаруженный разрыв кабеля НЕЙТРАЛЬНОГО ЭЛЕКТРОДА в ВЧ ЭЛЕКТРОХИРУРГИЧЕСКОМ АППАРАТЕ или недостаточный электрический контакт между НЕЙТРАЛЬНЫМ ЭЛЕКТРОДОМ и ПАЦИЕНТОМ может привести к тяжелым ожогам. Следовательно, в качестве минимальных требований для такого ВЧ ЭЛЕКТРОХИРУРГИЧЕСКОГО АППАРАТА, имеющего НОМИНАЛЬНУЮ ВЫХОДНУЮ МОЩНОСТЬ, превышающую 50 Вт, требуется наличие контроля нарушения цепи НЕЙТРАЛЬНОГО ЭЛЕКТРОДА или его соединений.
Изменение: наименование подпункта предназначено для выделения именно этого нарушения среди других цепей мониторинга, таких как определения отказа выходной мощности и аналогичные, которые могут присутствовать в ВЧ ЭЛЕКТРОХИРУРГИЧЕСКОМ АППАРАТЕ.
Необходимо показать, что МОНИТОР КАЧЕСТВА КОНТАКТА функционирует эффективно, если он используется с любым МОНИТОРИРУЕМЫМ НЭ, указанным как совместимый. Совместно с новыми требованиями к рабочим характеристикам НЭ данные требования существенно снижают риск ожогов в области НЭ. Из-за технического различия и запатентованности существующих МКК схем наложение независимых требований на ПРИНАДЛЕЖНОСТЬ целиком было признано непрактичным.
Полный контакт означает, что НЭ приложен в соответствии с инструкциями по эксплуатации так, что проводящая часть на НЭ расположена настолько близко к человеку (или соответствующей замещающей поверхности), насколько возможно без любых пустот или пространств.
Литература, перечисленная в
[1] -
[4], рекомендована как руководство для оценки соответствия замещающих поверхностей.
Подпункт 201.8.4.102. Нейромышечная стимуляция
Из-за эффекта сглаживания дуговых разрядов между АКТИВНЫМ ЭЛЕКТРОДОМ и тканью постоянные и низкочастотные компоненты могут вызвать нейромышечную стимуляцию. Данная нежелательная стимуляция эффективно снижается использованием соответствующих значений последовательно включенных емкостей и шунтирующих сопротивлений.
Подпункт 201.8.5.1.2. СРЕДСТВА ЗАЩИТЫ ПАЦИЕНТА (MEANS OF PATIENT PROTECTION, MOPP)
Данные сниженные требования считаются адекватными, т.к. напряжения, действующие на изоляцию, являются напряжениями ВЫСОКОЙ ЧАСТОТЫ, и, следовательно, если произойдет нарушение изоляции между ВЧ РАБОЧИМИ ЧАСТЯМИ и КОРПУСОМ, РИСК будет существенно ниже, чем для более низких частот.
Подпункт 201.8.5.2.3. Отведения ПАЦИЕНТА
Данный подпункт общего стандарта разработан для предотвращения соединений между ПАЦИЕНТОМ и либо землей, либо опасным напряжением. В этом подпункте подразумевается, что соединение может возникнуть в любое время и что контакт с ПАЦИЕНТОМ либо непрерывный, либо неконтролируемый.
Ситуация для ВЧ ЭЛЕКТРОХИРУРГИЧЕСКИХ ПРИНАДЛЕЖНОСТЕЙ совершенно другая, т.к. оборудование данного типа предназначено для использования только под контролем врача или обученного медицинского персонала. Возможные опасные ситуации, которые могут возникнуть при вставлении соединителей НЕЙТРАЛЬНЫХ ЭЛЕКТРОДОВ в ПРИБОРНЫЕ РОЗЕТКИ, а также сетевые розетки или гнезда съемных шнуров подачи питания, учтены в данном подпункте частного стандарта.
В отличие от электродов для электрокардиографического наблюдения, для которых ожидается, что их будут накладывать ОПЕРАТОРЫ, не знакомые с электрическими ОПАСНОСТЯМИ, ВЧ ЭЛЕКТРОХИРУРГИЧЕСКИЙ АППАРАТ и ПРИНАДЛЕЖНОСТИ доступны только высококвалифицированным ОПЕРАТОРАМ, прошедшим обучение применительно к областям ограниченного доступа.
АКТИВНЫЕ и БИПОЛЯРНЫЕ ЭЛЕКТРОДЫ прикрепляются только под непосредственным контролем хирургов, которые, как ожидается, прервут контакт с ПАЦИЕНТОМ при малейших сигналах о неожиданной реакции ПАЦИЕНТА.
Подпункт 201.8.6.1. Применимость требований
Для маломощного МОНОПОЛЯРНОГО ВЧ ЭЛЕКТРОХИРУРГИЧЕСКОГО АППАРАТА, используемого без НЕЙТРАЛЬНЫХ ЭЛЕКТРОДОВ, это является общепринятым; считается, что это не вызывает никаких проблем с безопасностью.
Подпункт 201.8.7.1. Общие требования
Требования к ТОКАМ УТЕЧКИ, определенные в общем стандарте, предназначены для обеспечения защиты от риска поражения электрическим током.
В настоящем частном стандарте некоторые требования к ВЧ ТОКАМ УТЕЧКИ также приведены для снижения риска получения нежелательного ожога.
Данный подпункт общего стандарта касается ТОКОВ УТЕЧКИ, которые приводят к поражению электрическим током, а не терапевтическим током, таким как получаемый в ВЧ ЭЛЕКТРОХИРУРГИЧЕСКОМ АППАРАТЕ. Соответствующие испытания ВЧ ТОКОВ УТЕЧКИ для ВЧ ЭЛЕКТРОХИРУРГИЧЕСКОГО АППАРАТА с несколькими ЦЕПЯМИ ПАЦИЕНТА приведены в
201.8.7.3.101, перечисление c) - Перекрестное взаимодействие между различными ВЧ ЦЕПЯМИ ПАЦИЕНТА.
Подпункт 201.8.7.3. Допустимые значения
Считается, что мониторируемые токи, которые протекают только между частями пластинчатого НЕЙТРАЛЬНОГО ЭЛЕКТРОДА, не ограничиваются в соответствии с РАБОЧЕЙ ЧАСТЬЮ ТИПА CF, независимо от степени защиты от поражения электрическим током (РАБОЧИЕ ЧАСТИ ТИПА BF ИЛИ CF), т.к. можно рассчитывать, что эти токи никогда не пройдут через сердце.
Подпункт 201.8.7.3.101, перечисление a) - Эффекты нагревания от ВЧ ТОКОВ УТЕЧКИ
ВЧ ЭЛЕКТРОХИРУРГИЧЕСКИЙ АППАРАТ, разработанный для использования без НЕЙТРАЛЬНЫХ ЭЛЕКТРОДОВ, не рассматривают, т.к. в таком ВЧ ЭЛЕКТРОХИРУРГИЧЕСКОМ АППАРАТЕ невозможно отделить функциональные и ВЧ ТОКИ УТЕЧКИ. Следовательно, измерение функциональных токов и ВЧ ТОКОВ УТЕЧКИ является бессмысленным.
В отличие от измерений ТОКОВ УТЕЧКИ в общем стандарте сопротивление для измерений 200 Ом определено для моделирования сопротивления нагрузки, преобладающей в реальных ситуациях так, чтобы обеспечить максимальную мощность утечки. Определенные значения приведут к мощности 2 Вт, которая считается обоснованным пределом. Испытание 2 для случая с заземлением определено для проверки того, что сопротивление на землю при ВЫСОКИХ ЧАСТОТАХ достаточно мало.
Заземленная проводящая поверхность под изолированным столом и отделение шнура подачи питания, а не его сворачивание, существенно улучшают воспроизводимость измерений.
1 - соединитель для АКТИВНОГО ЭЛЕКТРОДА; 2 - соединитель
для НЕЙТРАЛЬНОГО ЭЛЕКТРОДА; 3 - монитор; C1 не превышает
5 нФ; C2 = C3 не превышают 25 нФ; XC2 и XC3 (на рабочей
частоте каждый) не превышают 20 Ом; ZL при 50 Гц
не превышает 1 Ом
Рисунок AA.3. Пример цепи ПАЦИЕНТА с заземленным
НЕЙТРАЛЬНЫМ ЭЛЕКТРОДОМ на рабочей частоте
Подпункт 201.8.7.3.101, перечисление a) 3)
Опыт испытаний БИПОЛЯРНОГО ВЧ ЭЛЕКТРОХИРУРГИЧЕСКОГО АППАРАТА показал, что данные пределы являются обоснованными и реалистичными для испытания. Можно просмотреть ФАЙЛ МЕНЕДЖМЕНТА РИСКА для адекватного обоснования альтернативных средств измерения и/или снижения риска.
Подпункт 201.8.7.3.101, перечисление b)
Испытание изоляции ВЧ ЭЛЕКТРОХИРУРГИЧЕСКОГО АППАРАТА на ВЫСОКИХ ЧАСТОТАХ легко реализовать, поместив сопротивление нагрузки и измеряющие устройства непосредственно на контактах выхода. В данном случае определен предел в 100 мА, т.к. не включается вклад от кабелей электродов. Тем не менее для обеспечения того, что весь комплексный импеданс от выводов и ПРИНАДЛЕЖНОСТЕЙ (например, АКТИВНЫХ ЭЛЕКТРОДОВ с РУЧНЫМИ ВЫКЛЮЧАТЕЛЯМИ) учтен, также включено испытание
201.8.7.3.101, перечисление a).
Подпункт 201.8.8.3.101. Изоляция АКТИВНЫХ ПРИНАДЛЕЖНОСТЕЙ
ВЧ ЭЛЕКТРОХИРУРГИЧЕСКИЙ АППАРАТ обеспечивает высокое напряжение, которое появляется на изолированных проводящих частях ВЧ ЭЛЕКТРОХИРУРГИЧЕСКИХ ПРИНАДЛЕЖНОСТЕЙ. Изоляция этих принадлежностей должна выдерживать это напряжение и ограничивать плотность ВЧ ТОКОВ УТЕЧКИ, появляющихся на поверхностях, подвергающихся воздействию, для снижения риска нежелательных ожогов ПАЦИЕНТА и ОПЕРАТОРА. Данная изоляция подвергается рассматриваемой нагрузке при практическом использовании, и, следовательно, требования содержат коэффициент запаса. Изоляция любой части АКТИВНЫХ ПРИНАДЛЕЖНОСТЕЙ должна поддерживать адекватную электрическую прочность изоляции после длительного воздействия проводящих растворов и, за исключением принадлежностей, предназначенных для одноразового использования, повторной стерилизации.
Примечание. Данный подпункт был полностью изменен для того, чтобы покрывать только электрическую прочность изоляции различных частей изоляции АКТИВНЫХ ПРИНАДЛЕЖНОСТЕЙ независимо от любого конкретного ВЧ ЭЛЕКТРОХИРУРГИЧЕСКОГО АППАРАТА. Пересмотренные требования и испытания на соответствие взяты из текущих изданий ANSI/AAMI HF18 и МЭК 60601-2-18 с целью гармонизации.
Подпункт 201.8.8.3.102. ВЧ утечка АКТИВНЫХ ПРИНАДЛЕЖНОСТЕЙ
Требования к ВЧ утечки основаны на ANSI/AAMI HF18:2001, подпункт 4.2.5.2. Обоснование этих требований представлено ниже. Для использования общепринятых единиц СИ текст и формулы нормативного соглашения и обоснования были изменены по сравнению с оригиналом.
Максимальная рабочая частота 1 МГц и НОМИНАЛЬНОЕ НАПРЯЖЕНИЕ ПРИНАДЛЕЖНОСТИ обеспечивают разумный коэффициент запаса между испытательными пределами и рабочими характеристиками кабелей, существующих на настоящий момент, обеспечивая при этом поддержание существенного коэффициента запаса между испытательными пределами и параметрами, обеспечивающими плотности тока 100 мА/см2.
Все выбранные значения в комбинации допускают эквивалентную плотность тока 11,46 мА/см2, которая примерно на порядок меньше признанного предела получения ожога в 100 мА/см2 в течение 10 с. Следовательно, хотя может быть указано, что уровень одного или более факторов может быть выше при экстремальных клинических условиях, коэффициент запаса, заложенный в требования, считается достаточным.
Для кабелей НЕЙТРАЛЬНЫХ ЭЛЕКТРОДОВ допускается удвоенная утечка по сравнению с кабелями АКТИВНЫХ ПРИНАДЛЕЖНОСТЕЙ, т.к. уровни напряжений, получаемые между проводниками таких кабелей и кожей ПАЦИЕНТОВ, обычно существенно ниже. Для БИПОЛЯРНЫХ принадлежностей допускается удвоенная утечка по сравнению с МОНОПОЛЯРНЫМИ кабелями, т.к. используемые напряжения обычно существенно ниже, чем в МОНОПОЛЯРНОМ режиме.
Следующие допуски, включенные в настоящий частный стандарт для того, чтобы допустить использование обычного ВЧ ЭЛЕКТРОХИРУРГИЧЕСКОГО АППАРАТА, приводят к следующим испытательным напряжениям:
Допустимый диапазон испытательных напряжений для МОНОПОЛЯРНЫХ ПРИНАДЛЕЖНОСТЕЙ должен превышать минимум Пашена около 280 Впик для того, чтобы позволить образование короны, но не должен превышать типичного выходного напряжения РЕЗАНИЯ около 1000 Впик. Также пиковое испытательное напряжение не должно превышать НОМИНАЛЬНОГО НАПРЯЖЕНИЯ ПРИНАДЛЕЖНОСТИ.
Эти допуски приспособлены для гармонизации с ANSI/AAMI HF18 за счет оценки допустимого предела ВЧ ТОКА УТЕЧКИ как:
Iутечки [мА] = 9,0·10-6·d·L·fисп·Uпик.
Для БИПОЛЯРНЫХ шнуров и шнуров НЭ ВЧ ТОК УТЕЧКИ удваивается:
Iутечки [мА] = 1,8·10-5·d·L·fисп·Uпик.
Риск прохождения ВЧ ТОКОВ УТЕЧКИ через изоляцию АКТИВНЫХ ЭЛЕКТРОДОВ и изоляцию шнуров НЭ оценивается настолько серьезно, что эти шнуры АКТИВНЫХ ПРИНАДЛЕЖНОСТЕЙ и, следовательно, эти части включены в данные требования.
Альтернативное испытание ВЧ УТЕЧКИ:
Эквивалентная емкость ANSI/AAMI HF18 испытательных путей ВЧ УТЕЧКИ получена следующим образом:
Дано
и

,
тогда

,
следовательно

. (AA.1)
Эффективное значение синусоидального испытательного напряжения оценивается как:

.
Константы, используемые для испытаний на ВЧ УТЕЧКУ:
Vп-п = 800 [В];
Uисп = 282,8 [В];
fисп = 1000 [кГц];
Iутечки = 3,6d·L [мА].
Следовательно, ограничение емкости в соответствии с
формулой AA.1 будет:
C[пФ] = 2,026·d[мм]·L[см]
для всех БИПОЛЯРНЫХ АКТИВНЫХ ПРИНАДЛЕЖНОСТЕЙ и НЭ шнуров. Допустив удвоенный ТОК УТЕЧКИ:
C[пФ] = 4,052·d[мм]·L[см].
В рамках настоящего стандарта эти результаты округлены до 2dL и 4dL [в пФ] соответственно.
Техническое соответствие приведенного выше альтернативного метода испытания, основанного на емкости, существующему методу испытания ВЧ ТОКА УТЕЧКИ валидировано
[5] и
[6].
Подпункт 201.8.8.3.103. ВЧ электрическая прочность изоляции АКТИВНЫХ ПРИНАДЛЕЖНОСТЕЙ
Так как на практике диэлектрическое напряжение прикладывается на ВЫСОКИХ ЧАСТОТАХ, требуются дополнительные испытания на ВЫСОКИХ ЧАСТОТАХ. Испытательный электрод с солевым раствором достоверно моделирует влажные ткани ПАЦИЕНТА и ОПЕРАТОРА в или рядом с областью хирургических действий. Было показано, что использование тонкой проволочной обмотки вокруг изоляции индуцирует повреждение от коронного разряда, которое можно обнаружить в последующих испытаниях на электрическую прочность изоляции на сетевой частоте. Каждое испытание было независимо выбрано для представления наихудшего случая напряжения изоляции. Измерения Vпик и КРЕСТ-ФАКТОРА должны проходить одновременно с испытанием принадлежностей для гарантии того, что их значения не изменяются из-за нагружения принадлежностями. Во время данных испытаний допустимо измерять КРЕСТ-ФАКТОР в нагруженном состоянии.
Данные требования и испытания гармонизированы с МЭК 60601-2-18.
Подпункт 201.8.8.3.104. Электрическая прочность изоляции АКТИВНЫХ ПРИНАДЛЕЖНОСТЕЙ на сетевой частоте
Известно, что ВЧ испытательное напряжение больше, чем 120% доступного напряжения от ВЧ ЭЛЕКТРОХИРУРГИЧЕСКОГО АППАРАТА, и сложно достижимо. Повышающий трансформатор имеет тенденцию к искажению ВЧ сигнала, и емкость испытываемого диэлектрика может нагружать источник ВЧ испытательного напряжения. Для того чтобы нагрузить изоляцию с приемлемым высоким коэффициентом запаса, требуется испытание с постоянным напряжением или напряжением промышленной частоты. Это испытание следует после испытания на ВЧ электрическую прочность изоляции для того, чтобы можно было выявить любые слабые индуцированные коронные разряды.
Повышенные температуры, связанные с напряжением на диэлектрике, могут изменять внутреннюю структуру ВЧ АКТИВНЫХ ПРИНАДЛЕЖНОСТЕЙ. Любые включенные РУЧНЫЕ ПЕРЕКЛЮЧАТЕЛИ должны надежно функционировать и не активировать случайно соответствующие выходы после всех испытаний на электрическую прочность изоляции.
Примечание. Металлическая фольга, используемая во время испытаний на соответствие, должна быть хорошо проводящей.
Подпункт 201.8.10.4.2. Соединительные шнуры
Требования данных двух подпунктов (по МЭК 60601-2-4) определены, т.к. АКТИВНЫЕ ПРИНАДЛЕЖНОСТИ и их шнуры подвергаются значительным напряжениям при использовании и типичные режимы отказа могут представлять опасность для персонала и/или ПАЦИЕНТОВ. Так как шнур изнашивается при использовании, часто встречается, что он перегревается и либо воспламеняется сам, либо воспламеняет прилегающие материалы, подвергая опасности персонал и ПАЦИЕНТОВ. Эти требования устанавливают эталонный уровень износостойкости таких шнуров.
Подпункт 201.8.10.4.101. ДАТЧИКИ ВЫКЛЮЧЕНИЯ
Выключатели выхода должны быть моментального типа для предотвращения нежелательной подачи питания на выход. Требования к изолированным экстранизким напряжениям учитывают неблагоприятные условия окружающей среды, в которой используются эти ножные ВЫКЛЮЧАТЕЛИ, РУЧНЫЕ ВЫКЛЮЧАТЕЛИ и их шнуры. Требования по влиянию попадания жидкости также определены в
201.11.6.5 настоящего частного стандарта.
Считается, что использование РУЧНЫХ ВЫКЛЮЧАТЕЛЕЙ для выбора сложной функции, например РЕЗАНИЯ или КОАГУЛЯЦИИ, может привести к ошибке и потенциальной опасности, если хирург не знаком с используемой системой. Одним из примеров, демонстрирующих это, является то, что легкое нажатие на выключатель может привести к КОАГУЛЯЦИИ, более сильное - к РЕЗАНИЮ.
В данном подпункте подразумевается, что изделие включено.
Подпункт 201.11.1.1. МАКСИМАЛЬНАЯ температура при НОРМАЛЬНОЙ ЭКСПЛУАТАЦИИ
Указанные рабочие условия считаются наиболее сложными условиями, которые могут возникнуть при практическом использовании.
Подпункт 201.11.6.3. Расплескивание жидкостей на МЕ ИЗДЕЛИЕ и МЕ СИСТЕМУ
Испытательный объем воды в 1 л представляет бутылку, заполненную жидкостью (например, инфузионным раствором), наличие которой в операционной можно ожидать.
Подпункт 201.11.6.5, перечисление a)
Ножные выключатели могут подвергаться воздействию существенного количества воды или других жидкостей во время некоторых операций, а также во время чистки (например, полным погружением); требуется полная водонепроницаемость.
Рассматривается пересмотр испытания погружением на предмет замены осмотра испытаниями на функциональность и электрическую прочность изоляции. Ни одно из текущих испытаний МЭК 60529 не считается приемлемым для ожидаемых условий операционной.
Подпункт 201.11.6.5, перечисление b)
Некоторая степень защиты от воды требуется и для РУЧНЫХ ВЫКЛЮЧАТЕЛЕЙ для предотвращения случайной активации выхода за счет попадания проводящих жидкостей. Данное испытание не зависит от определенного ВЧ ЭЛЕКТРОХИРУРГИЧЕСКОГО АППАРАТА. Сопротивление по переменному току для измерений 1 кГц предотвращает ошибки измерения, связанные с эффектами поляризации в солевом растворе, который может замкнуть переключающие контакты, а напряжение соответствует
201.8.10.4.101. Предельное сопротивление было выбрано как удвоенный максимальный предел, оговоренный в
201.8.10.4.101.
Подпункт 201.11.6.7. Стерилизация МЕ ИЗДЕЛИЯ и МЕ СИСТЕМЫ
Требования, применимые ко всем ПРИНАДЛЕЖНОСТЯМ. Ожидается, что определенные части вводятся в стерильное хирургическое поле во время использования, и, следовательно, они должны быть повторно стерилизованы после каждого использования. Не существует требований или испытаний, которые были бы обоснованы данным требованием.
АКТИВНЫЕ ПРИНАДЛЕЖНОСТИ, маркированные для одноразового использования, не подходят для повторной стерилизации, и, следовательно, данное требование к ним не относится.
Подпункт 201.12.1.102, перечисление a)
В диапазоне сопротивлений нагрузки, преобладающем обычно при практическом использовании, уменьшение выходных уставок никогда не приведет к увеличению выходной мощности.
Подпункт 201.12.1.102, перечисление b)
Можно просмотреть ФАЙЛ МЕНЕДЖМЕНТА РИСКА на предмет адекватного объяснения альтернативных способов измерения.
Подпункт 201.12.1.103. Точность МАКСИМАЛЬНОГО ВЫХОДНОГО НАПРЯЖЕНИЯ
Максимальное пиковое выходное напряжение может появляться при настройках выхода, отличных от максимальных, и при подсоединении нагрузки, отличной от разомкнутой цепи.
Подпункт 201.12.2, перечисление b)
Стандартизация положения активирующих управляющих элементов необходима для снижения человеческой ошибки. Управляющие элементы с функциями, отличными от активации РЕЗАНИЯ и КОАГУЛЯЦИИ, могут также присутствовать на АКТИВНОЙ РУКОЯТКЕ.
Подпункт 201.12.2, перечисление d)
В рамках данного подпункта термин "одновременная активация" относится к любой ситуации, описанной в
201.12.2, перечисление c).
При клиническом использовании проблемы согласования одновременного использования более одного АКТИВНОГО ВЫХОДА считаются создающими неприемлемые опасности, если включен только один выходной выключатель и комбинация управляющих элементов.
Подпункт 201.12.2, перечисления e) и f)
В частности, размещение вторичной нагрузки для предотвращения некорректного подсоединения на оборудовании. Тонкие проволочные выводы недостаточно препятствуют некорректному подсоединению. Некорректное подсоединение ПРИНАДЛЕЖНОСТЕЙ с одним выводом не представляет возможных ОПАСНОСТЕЙ.
Рассматриваются примеры конфигурации БИПОЛЯРНЫХ АКТИВНЫХ СОЕДИНИТЕЛЕЙ, соответствующих данному требованию.
Подпункт 201.12.2, перечисление g)
Предварительная индикация выхода и/или функции (например, РЕЗАНИЯ или КОАГУЛЯЦИИ) является особенно важным свойством, обеспечивающим безопасность, если подача питания на них осуществляется одним и тем же выходным переключателем.
Подпункт 201.12.4.2. Индикация параметров, относящихся к безопасности
Подпункт 201.12.4.3.101. Средства снижения выхода
В диапазоне сопротивлений нагрузки, преобладающем обычно при практическом использовании, понижение выходных настроек никогда не приведет к увеличению выходной мощности.
Подпункт 201.12.4.4.101. Максимальная допустимая выходная мощность в УСЛОВИЯХ ЕДИНИЧНОГО НАРУШЕНИЯ
Хотя для МОНОПОЛЯРНОГО ВЧ ЭЛЕКТРОХИРУРГИЧЕСКОГО АППАРАТА не требуется иметь НОМИНАЛЬНУЮ ВЫХОДНУЮ МОЩНОСТЬ, не превышающую 50 Вт, рекомендуется соответствие данному подпункту. Требование предназначено для применения ко всем БИПОЛЯРНЫМ выводам ВЧ ЭЛЕКТРОХИРУРГИЧЕСКОГО АППАРАТА.
Подпункт 201.12.4.4.102. Выходная мощность во время одновременной активации
Независимые выходы для предотвращения опасностей должны обеспечивать их предусмотренную выходную мощность. Это особенно важно, когда один выход устанавливается на уровень, который существенно ниже другого, но оба при этом активируются одновременно.
Если несколько выходов распределяют мощность одного режима (например, одновременная КОАГУЛЯЦИЯ), могут возникать опасности, если один выход обеспечивает большую мощность, чем предусмотренная мощность, или если общая сумма мощностей, обеспечиваемая всеми одновременно активированными выходами, превышает предусмотренную мощность.
Подпункт 201.13.2.13.101. Защита от влияния короткого замыкания электродов
Некоторые ПРИНАДЛЕЖНОСТИ, например резектоскопы или БИПОЛЯРНЫЕ ЭЛЕКТРОДЫ, могут иметь закороченный выход при НОРМАЛЬНОЙ ЭКСПЛУАТАЦИИ, а также часто подается питание на выходной контур, когда он разомкнут. Считается целесообразным разрабатывать ВЧ ЭЛЕКТРОХИРУРГИЧЕСКИЙ АППАРАТ, который не повреждается при повторяющемся коротком замыкании и разомкнутом состоянии цепи в течение короткого периода времени. Пересмотр текста предназначен для снятия вопросов, какой БИПОЛЯРНЫЙ выход считается НЕЙТРАЛЬНЫМ ЭЛЕКТРОДОМ и применяется ли данное требование к БИПОЛЯРНЫМ выходам.
Подпункты 201.15.4.1.101 и 201.15.4.1.102
Требования данных подпунктов касаются совместимости отсоединяемых частей АКТИВНЫХ ПРИНАДЛЕЖНОСТЕЙ. Эти моменты важны для принадлежностей, поставляемых сторонними поставщиками, и могут вызывать трудности в работе в клинической практике, приводящие к задержке и прерыванию процедур.
Многие АКТИВНЫЕ РУКОЯТКИ обеспечивают использование любых специализированных, выбираемых ОПЕРАТОРОМ, отсоединяемых АКТИВНЫХ ЭЛЕКТРОДОВ. Не существует стандартизированного интерфейса с электродами для АКТИВНЫХ РУКОЯТОК различных изготовителей. Известно, что хотя ОПЕРАТОР может обнаружить, что АКТИВНЫЙ ЭЛЕКТРОД одного изготовителя может подходить для АКТИВНОЙ РУКОЯТКИ другого, могут возникать повреждения ПАЦИЕНТОВ, связанные с несовместимостью, такой как:
- неадекватное РАЗДЕЛЕНИЕ между проводящими частями интерфейса АКТИВНАЯ РУКОЯТКА - АКТИВНЫЙ ЭЛЕКТРОД и тканью ПАЦИЕНТА;
- образование электрического разряда в зазоре между частями, для которых предусмотрено электрическое сопряжение, приводящего к плавлению и/или возгоранию изоляции;
- неадекватная механическая сила зажима, что может привести к падению в полости тела ПАЦИЕНТА АКТИВНОГО ЭЛЕКТРОДА, который может быть достаточно горячим.
Подпункт 201.15.101. НЕЙТРАЛЬНЫЕ ЭЛЕКТРОДЫ
Для маломощного ВЧ ЭЛЕКТРОХИРУРГИЧЕСКОГО АППАРАТА, например для стоматологического использования, опыт показывает, что удовлетворительной является схема с заземлением нейтрального конца выходной цепи. Возврат ВЧ токов от ПАЦИЕНТА реализуется с помощью емкости, например на заземленную металлическую рамку стоматологического кресла. Следовательно, данный ВЧ ЭЛЕКТРОХИРУРГИЧЕСКИЙ АППАРАТ не подвергается действию требований к НЕЙТРАЛЬНЫМ ЭЛЕКТРОДАМ.
Подпункт 201.15.101.2. Подсоединение ШНУРА НЭ
Электрическое соединение ШНУРА НЭ с частью НЭ, за исключением МОНИТОРИРУЕМЫХ НЭ, которые контактируют с ПАЦИЕНТОМ, должно быть выполнено так, чтобы МОНИТОР НЕРАЗРЫВНОСТИ НЭ мог выявлять любые прерывания в данном соединении. МОНИТОРИРУЕМЫЕ НЭ исключаются, т.к. ожидается, что такое прерывание будет выявлено как снижение площади контакта с ПАЦИЕНТОМ.
Метод испытания подходит для выявления соединений, которые могут расплавиться во время НОРМАЛЬНОЙ ЭКСПЛУАТАЦИИ, тем не менее данное использование, как ожидается, не превышает 1 А.
Подпункт 201.15.101.3. Соединитель ШНУРА НЭ, непроводящие части на ПАЦИЕНТЕ
В случае отсоединения НЭ шнура от НЭ контролирующие токи МОНИТОРА НЕРАЗРЫВНОСТИ НЭ или МОНИТОРА КАЧЕСТВА КОНТАКТА не должны иметь возможности пройти через ПАЦИЕНТА, тем самым обеспечив ложную индикацию корректного прикрепления НЭ.
Подпункт 201.15.101.4. Изоляция ШНУРА НЭ
Хотя разница напряжений в области приложения НЭ на ПАЦИЕНТЕ и на проводниках ШНУРА НЭ может быть небольшой, существенный градиент напряжений может возникнуть на теле ПАЦИЕНТА рядом с областью хирургического вмешательства, особенно во время приложения ВЧ хирургического тока. Следовательно, из-за существующего риска ожога шнур НЭ должен вступать в контакт с наиболее близкой частью тела ПАЦИЕНТА. Применение требований к ВЧ ТОКАМ УТЕЧКИ по
201.8.8.3.102 снижает этот риск. Так как ожидается, что будут присутствовать более низкие напряжения, более высокий предел ТОКА УТЕЧКИ считается приемлемым.
Электрический пробой изоляции ШНУРА НЭ представляет одинаковый риск как для ПАЦИЕНТА, так и для ОПЕРАТОРА, и, следовательно, считается необходимым определить требования к электрической прочности изоляции как на ВЧ, так и на сетевой частоте. Амплитуды испытательных напряжений не изменились с предыдущего издания настоящего частного стандарта.
Кабели НЕЙТРАЛЬНЫХ ЭЛЕКТРОДОВ допускают удвоенную утечку по сравнению с кабелями АКТИВНЫХ ПРИНАДЛЕЖНОСТЕЙ, т.к. уровни напряжений, получаемых между проводниками этих кабелей и кожей ПАЦИЕНТОВ, обычно существенно ниже.
Метод испытания, основанный на альтернативном измерении емкости ВЧ утечки, может оказаться проще для использования, чем приведенный метод, основанный на ВЧ ТОКЕ УТЕЧКИ. См.
201.8.8.3.102 для обоснования.
Подпункт 201.15.101.5. Температурные характеристики НЭ
Литература, перечисленная в
[1] -
[4], рекомендована как руководство для оценки соответствия замещающих поверхностей для испытаний.
Данные требования были адаптированы из ANSI/AAMI HF18, подпункт 4.2.3.1. Обоснование этих требований также адаптировано для настоящего частного стандарта с незначительными лексическими изменениями и изменениями ссылок на подпункты следующим образом:
Назначением НЕЙТРАЛЬНОГО ЭЛЕКТРОДА (НЭ) в МОНОПОЛЯРНЫХ электрохирургических процедурах является надежное проведение требуемого ВЧ хирургического тока с минимальным ростом температуры кожи.
Измерения с нагреваемыми металлическими блоками (Moritz & Henriques, 1947
[10]) и с маленькими круглыми электродами, проводящими ВЧ хирургический ток (Pearce at al, 1983
[12]), показывают, что максимальная безопасная температура кожи для кратковременного и долговременного воздействия составляет 45 °C. Кроме того, сославшись на CENELES Руководство 29
[15], таблица А1, и интерполировав между температурами 48 °C и 43 °C для 8 ч и более, получим максимальную допустимую температуру поверхности 45 °C в течение 100 мин. Нормальная температура кожи в состоянии покоя колеблется между 29 °C и 33 °C в зависимости от комнатной температуры и влажности. Следовательно, НЭ, обеспечивающие рост температуры в зоне приложения на 12 °C, не могут считаться безопасными. Шесть градусов по шкале Цельсия обеспечивают консервативный коэффициент безопасности (два) и максимальный допустимый прирост температуры приемлемых НЭ. Ни один приемлемый НЭ не должен показывать рост температуры более 6 °C при воздействии требуемого тока в течение требуемой продолжительности испытания.
Признано, что использование людей для проверки НЭ на соответствие требованиям настоящего частного стандарта может быть проблематичным или запрещенным во многих лабораториях. Тем не менее определенные испытания на соответствие основаны на большом объеме эмпирических данных от испытаний на людях с использованием 10 мкм инфракрасного устройства отображения, собранных и валидированных несколькими изготовителями и испытательными лабораториями с 1980 г. Хотя допускается использование среды и аппаратуры, обеспечивающих эквивалентные результаты, должна присутствовать документация, подтверждающая данную эквивалентность. Следовательно, худший случай электрических и тепловых свойств области приложения НЭ на различных людях является эталоном, по которому проверяют точность замещающей среды и другой альтернативной аппаратуры для испытания роста температуры.
Так как ожоги области НЭ могут быть ограничены очень маленькой площадью, измерения должны иметь адекватное пространственное разрешение для гарантии того, что всегда будет обнаружено несоответствие НЭ. Требование одной пробы на один квадратный сантиметр является минимальным. Современные технологии обеспечивают намного больше проб на квадратный сантиметр. Тем не менее, т.к. шумы теплового датчика могут привести к появлению одного супернагретого элемента, следует использовать методику статистического усреднения для определения роста температуры в пределах любой отдельной площади в один квадратный сантиметр. Начальная температура НЭ, прикладываемого к коже человека, должна быть такой же, как и во всех испытаниях, чтобы все результаты были сравнимыми.
В конце 60 с приложения ВЧ тока НЭ удаляют с испытательной поверхности до измерения конечной температуры.
ВЧ хирургические токи обычно реализуются в виде многократных коротких вспышек различной амплитуды и продолжительности. Максимальные токи и продолжительность активации зависят от отдельной методики использования и типа хирургической процедуры. Ток в испытании на соответствие предназначен моделировать худший случай отдельной активации с большим коэффициентом запаса. Для оценки вероятного предела тока и продолжительности были использованы два источника информации:
- статья 1973 г. в Health Devices, представляющая данные в терминах среднего тока, напряжения, импеданса и минимального коэффициента заполнения во всех исследуемых процедурах (ECRI, 1973);
- неопубликованные данные Milligan и коллеги, представляющие данные в терминах максимального, минимального и среднего токов и продолжительности каждой исследуемой процедуры.
Эти данные могут быть использованы для оценки изменчивости популяции. В обоих исследованиях было обнаружено, что максимальные токи и самые большие продолжительности были обнаружены в трансуретральных (transurethral, TUR) процедурах. Для TUR процедур ECRI исследование показало средний ток РЕЗАНИЯ - 680 мА и ток КОАГУЛЯЦИИ - 480 мА с коэффициентом заполнения 15% средний и 45% максимальный. Milligan изучил меньшую выборку в 25 TUR процедурах, проведенных 13 хирургами, используя пять электрохирургических блоков в восьми госпиталях.
Зафиксированные данные для всех TUR процедур объединены в следующую таблицу. Средние и стандартные отклонения

вычислены на основании 25 случаев. Эти данные дают полезную оценку среднего и стандартного отклонений измеряемых токов и продолжительности.
Таблица AA.1
Обобщающая таблица измеренных токов и продолжительностей
для 25 TUR процедур
| Среднее | Стандартное отклонение |
Продолжительность операции, ч | 0,86 | 0,49 |
Число активаций (в час) | 225 | 105 |
Ток РЕЗАНИЯ | | |
Максимальный ток, мА | 407 | 297 |
Средний ток, мА | 297 | 200 |
Максимальная продолжительность, с | 3,8 | 2,3 |
Средняя продолжительность, с | 2,1 | 0,7 |
Ток КОАГУЛЯЦИИ | | |
Максимальный ток, мА | 339 | 130 |
Средний ток, мА | 258 | 88 |
Максимальная продолжительность, с | 5,7 | 7,6 |
Средняя продолжительность, с | 2,0 | 0,7 |
Общая рассеиваемая энергия в области приложения НЭ вычисляется как:
E = (Iэфф)2·R·t,
где E - рассеиваемая энергия, Дж;
I - ток НЭ, А;
t - продолжительность течения тока, с;
R - действительная часть импеданса области НЭ, Ом.
Импеданс R, в общем, не определяем, т.к. его значение зависит от конструкции НЭ и анатомической структуры ткани, к которой он прикладывается. Для описания нагрузки, прикладываемой на НЭ, может быть определен коэффициент нагрева

:

(А
2с).
Коэффициент нагрева несет значение энергии, рассеянной на Ом импеданса. НЭ должны быть способны поддерживать

, характерный для хирургических процедур. Ток 700 мА, приложенный в течение 60 с, обеспечивает

. Данное значение намного превышает максимальный вероятный ток и продолжительность для TUR процедур. Максимальное вероятное значение

можно найти, умножив квадрат наибольшего вероятного тока, т.е. 0,68 А из данных ECRI (1973)
[7] (средний) плюс одно стандартное отклонение, т.е. 0,2 А из данных Milligan, на максимальную вероятную продолжительность, т.е. 5,0 с (средняя) плюс одно стандартное отклонение, т.е. 7,6 с из данных Milligan, получим:

А
2с.
Следовательно, 30A2c является консервативным критерием для испытаний.
Сходный консервативный критерий для испытаний может быть получен для НЭ, маркированных "НОВОРОЖДЕННЫЕ". Так как TUR процедуры не проводятся на НОВОРОЖДЕННЫХ, логичным подходом будет использование токов и продолжительности, доступных в общих хирургических процедурах. Эти данные, опубликованные Pearce (1981), приведены в следующей таблице:
Таблица AA.2
Обобщающая таблица измеренных токов и продолжительностей
для общих хирургических процедур
| Среднее | Стандартное отклонение |
Продолжительность операции, ч | 1,56 | 0,84 |
Число активаций (в час) | 63 | 84 |
Ток РЕЗАНИЯ | | |
Максимальный ток, мА | 340 | 101 |
Средний ток, мА | 281 | 147 |
Максимальная продолжительность, с | 7,6 | 11 |
Средняя продолжительность, с | 2,2 | 1,8 |
Ток КОАГУЛЯЦИИ | | |
Максимальный ток, мА | 267 | 157 |
Средний ток, мА | 198 | 114 |
Максимальная продолжительность, с | 11 | 7,5 |
Средняя продолжительность, с | 6,5 | 5,2 |
Используя эти данные для общих хирургических процедур и умножив квадрат наибольшего вероятного тока плюс одно стандартное отклонение на максимальную вероятную продолжительность плюс одно стандартное отклонение, получим:

А
2с.
Следовательно,

А
2с
является консервативным критерием для испытаний и получается при токе 500 мА, прикладываемом в течение 60 с.
Коэффициент безопасности, заложенный в это значение

, предназначен для поддержания приемлемого коэффициента безопасности даже в случае непредусмотренного уменьшения площади контакта между НЭ и кожей ПАЦИЕНТА. Если используются НЭ, отличные от МОНИТОРИРУЕМЫХ НЭ, рекомендации ОПЕРАТОРУ, приведенные в
201.7.9.2.2.101, перечисление d), касаются предотвращения опасного снижения площади контакта. Тем не менее, если используются МОНИТОР КАЧЕСТВА КОНТАКТА и МОНИТОРИРУЕМЫЙ НЭ, ожидается, что ОПЕРАТОР полностью основывается на данных контроля за контактом НЭ, считая, что МОНИТОР КАЧЕСТВА КОНТАКТА предупредит ОПЕРАТОРА об уменьшении площади до того, как оно станет опасным.
Следовательно, МОНИТОРИРУЕМЫЕ НЭ испытываются с тем же уменьшением площади контакта, которое вызовет срабатывание звуковой сигнализации МОНИТОРА КАЧЕСТВА КОНТАКТА.
| | ИС МЕГАНОРМ: примечание. В официальном тексте документа, видимо, допущена опечатка: таблица 201.3 в тексте документа отсутствует. Возможно, имеется в виду таблица 201.103. | |
Испытательные токи по весовым категориям в
таблице 201.3 были получены следующим образом. НЕЙТРАЛЬНЫЕ ЭЛЕКТРОДЫ для взрослых при испытании на токе 700 мА в соответствии со стандартом HF18 обеспечивают коэффициент нагрева 30A
2c.
НЕЙТРАЛЬНЫЕ ЭЛЕКТРОДЫ для детей (ПАЦИЕНТЫ массой от 5 кг до 15 кг) имеют эффективную площадь контакта размером примерно в половину НЕЙТРАЛЬНОГО ЭЛЕКТРОДА для взрослых. При испытании с током 500 мА, основываясь на стандарте HF18, они обеспечивают коэффициент нагрева 15A2c, который представляет половину максимально допустимого значения для взрослых.
НЕЙТРАЛЬНЫЕ ЭЛЕКТРОДЫ для НОВОРОЖДЕННЫХ (ПАЦИЕНТЫ массой менее 5 кг) имеют эффективную площадь контакта размером примерно в половину площади НЕЙТРАЛЬНОГО ЭЛЕКТРОДА для детей и, следовательно, было выбрано использование коэффициента нагрева, равного половине коэффициента нагрева для детей. Это привело к коэффициенту нагрева 7,5A2c, который обеспечивает испытательный ток 350 мА. Хотя нет статистических данных для подтверждения выбора данного испытательного тока, настройки хирургической мощности для таких маленьких ПАЦИЕНТОВ всегда очень низкие, так что считается, что испытательный ток 350 мА в течение 60 с обеспечивает разумный коэффициент запаса.
Подпункт 201.15.101.6. Импеданс контакта НЭ
Данное требование было адаптировано из ANSI/AAMI HF18, подпункт 4.2.3.2. Критерий к фазовому углу при 200 кГц отдельно для резистивных и емкостных НЭ был разработан, не имея четкого опубликованного определения, априори или любого другого.
Обоснование для настоящего частного стандарта было также адаптировано из ANSI/AAMI HF18, подпункт А.4.2.3.2 с незначительными лексическими изменениями и изменениями ссылок на подпункты следующим образом:
Импеданс контакта должен быть достаточно низким, чтобы НЭ представлял предпочтительный путь протекания тока. В случае ВЧ ЭЛЕКТРОХИРУРГИЧЕСКОГО АППАРАТА, имеющего ВЧ ЗАЗЕМЛЕННУЮ ЦЕПЬ ПАЦИЕНТА, это минимизирует вероятность альтернативного пути протекания тока, отличного от пути через НЭ. Значение 75 Ом считается приемлемым максимальным импедансом контакта для резистивных НЭ при измерении в соответствии с ANSI/AAMI HF18 на людях. Тем не менее в данном стандарте предложен предел в 50 Ом, если вместо человека используется металлическая пластина; данное снижение компенсирует распределение импеданса по более глубоким подкожно-жировым слоям, которые становятся частью измеряемого импеданса контакта НЭ.
Так как импеданс емкостного НЭ меняется обратно противоположно частоте, возможно описать характеристики его импеданса в терминах емкости. Значение 4 нФ было определено как минимально допустимая емкость, т.к. это соответствует характеристикам большинства емкостных НЭ, коммерчески доступных в течение многих лет и считающихся клинически приемлемыми.
Испытательный ток 200 мА представляет нижний предел средних токов на основании двух исследований, процитированных выше. Импеданс ткани - НЭ обычно увеличивается при снижении тока, делая нижний предел более предпочтительным. Считается, что диапазон частот от 200 кГц до 5 МГц покрывает диапазон, в котором находится большая часть энергетических уровней МОНОПОЛЯРНОГО ВЧ ЭЛЕКТРОХИРУРГИЧЕСКОГО АППАРАТА.
Размеры металлической испытательной пластины должны соответствовать размерам НЕЙТРАЛЬНОГО ЭЛЕКТРОДА.
Емкостные НЭ допускают более высокий импеданс, т.к. они не рассеивают тепло.
Подпункт 201.15.101.7. Приклеиваемые НЭ
Данное требование было адаптировано из ANSI/AAMI HF18, подпункт 4.2.3.3.
После прикрепления НЭ, за исключением МОНИТОРИРУЕМЫХ НЭ, должен оставаться на месте при приложении нагрузки, которая может возникнуть во время обычного использования как результат небрежного вытягивания области, выбранной для размещения, или случайного контакта с приготовленными растворами или физиологическими жидкостями. МОНИТОРИРУЕМЫЕ НЭ исключены из области действия данных требований, т.к. ожидается, что снижение площади контакта, связанное с отказом клеящего вещества, вызовет срабатывание сигнализации МОНИТОРА КАЧЕСТВА КОНТАКТА, предотвратив тем самым опасность для ПАЦИЕНТА.
Подпункт 201.15.101.8. Срок годности НЭ
Клеящие и проводящие гели, применяемые на НЭ одноразового использования, могут ухудшаться со временем даже при хранении в соответствии с инструкциями по эксплуатации. Следовательно, важно определить, что данные изделия остаются соответствующими после хранения до маркированного срока годности.
Подпункт 202
ВЧ хирургия является способом воздействия, который устанавливается в течение длительного периода времени, с характерными помехами во время активации. Так как клинические преимущества ВЧ ЭЛЕКТРОХИРУРГИЧЕСКОГО АППАРАТА превышают риски, связанные с помехами, и ВЧ ЭЛЕКТРОХИРУРГИЧЕСКИЙ АППАРАТ обычно работает только в течение короткого периода времени, оборудование данного типа исключено из области действия требований МЭК 60601-1-2, подпункт 6.1.1.1, во время его активации.
ВЧ ЭЛЕКТРОХИРУРГИЧЕСКИЙ АППАРАТ реализует функции РЕЗАНИЯ и КОАГУЛЯЦИИ за счет использования энергии радиочастот, и часто присутствует ВЧ излучение, существенно превышающее пределы CISPR 11. Уровни мощности и коэффициенты гармоник выхода ВЧ ЭЛЕКТРОХИРУРГИЧЕСКОГО АППАРАТА должны быть достаточными для эффективного выполнения ВЧ ЭЛЕКТРОХИРУРГИЧЕСКИМ АППАРАТОМ своих клинических функций.
ИЗЛУЧЕНИЕ в большой степени зависит от расположения и длины шнуров активных и НЕЙТРАЛЬНЫХ ЭЛЕКТРОДОВ, рабочего режима (с дуговым разрядом или без) и от многих других условий применения. Кроме того, многое диагностическое, контролирующее, анестезирующее и инфузионное ОБОРУДОВАНИЕ имеет РАБОЧИЕ ЧАСТИ и ЦЕПИ ПАЦИЕНТА, которые непосредственно подсоединены к ПАЦИЕНТУ. Для такого оборудования для испытания электромагнитной совместимости необходима специальная схема испытаний, моделирующая непосредственное подсоединение ВЧ ЭЛЕКТРОХИРУРГИЧЕСКОГО АППАРАТА к ЦЕПИ ПАЦИЕНТА (см. 202.6.2.101 и МЭК 60601-2-34, рисунки 201.109, 201.110 и 201.111). Это считается лучшим путем подтверждения электромагнитной совместимости между ВЧ ЭЛЕКТРОХИРУРГИЧЕСКИМ АППАРАТОМ и некоторыми другими медицинскими изделиями, используемыми рядом с ним.
Для стандартных источников ЭЛЕКТРОМАГНИТНЫХ ПОМЕХ, используемых для данного испытания, следующие условия определены в МЭК 60601-2-34:
"ВЧ ЭЛЕКТРОХИРУРГИЧЕСКИЙ АППАРАТ, соответствующий МЭК 60601-2-2, должен иметь минимальный режим РЕЗАНИЯ 300 Вт, минимальный режим КОАГУЛЯЦИИ 100 Вт и рабочую частоту (450 +/- 100) кГц".
Тем не менее во время операций по подготовке на ВЧ ЭЛЕКТРОХИРУРГИЧЕСКИЙ АППАРАТ может подаваться питание в течение длительного периода времени и поэтому считается необходимым соответствие требованиям ЕМС.
Во время испытаний на устойчивость по МЭК 61000-4-3 и МЭК 61000-4-6 ИЗГОТОВИТЕЛЬ должен определять, как проверяют соответствие стандарту. Это включает меры предосторожности, необходимые для обеспечения того, чтобы коэффициент заполнения генератора не был превышен. Также необходимо определить, как оценить отклонения выходной мощности.
Дополнительная информация по электромагнитному излучению от ВЧ ЭЛЕКТРОХИРУРГИЧЕСКОГО АППАРАТА приведена в Приложении BB.
(справочное)
ЭЛЕКТРОМАГНИТНЫЕ ПОМЕХИ, СОЗДАВАЕМЫЕ ВЧ
ЭЛЕКТРОХИРУРГИЧЕСКИМ АППАРАТОМ
BB.1. Обзор
Медицинские изделия, используемые в хирургии, подвергаются воздействию многих источников ЭЛЕКТРОМАГНИТНЫХ ПОМЕХ (ELECTROMAGNETIC DISTURBANCE, EMD). Наиболее распространенным источником является ВЧ ЭЛЕКТРОХИРУРГИЧЕСКИЙ АППАРАТ, используемый для РЕЗАНИЯ и КОАГУЛЯЦИИ тканей. Хотя существуют стандарты на многие типы EMD, мало доступной информации, касающейся ЭЛЕКТРОМАГНИТНЫХ ПОМЕХ, создаваемых ВЧ ЭЛЕКТРОХИРУРГИЧЕСКИМ АППАРАТОМ.
Целью данного Приложения является предоставление изготовителям медицинских изделий информации об особых типах и уровнях излучений, обеспечиваемых ВЧ ЭЛЕКТРОХИРУРГИЧЕСКИМ АППАРАТОМ. Оно также включает испытания, которые изготовители могут использовать при определении, является ли их конструкция устойчивой к данному типу ЭЛЕКТРОМАГНИТНЫХ ПОМЕХ.
BB.2. Термины и определения
В рамках данного Приложения определения терминов, приведенных прописными буквами, совпадают с приведенными в настоящем частном стандарте и стандартах, перечисленных в пункте 1.3 общего стандарта, а также применимы следующие термины с соответствующими определениями.
Примечание. Определения ЭЛЕКТРОМАГНИТНЫХ ПОМЕХ и ИЗЛУЧЕНИЯ приведены в МЭК 60601-1-2.
BB.2.1. E-ПОЛЕ (E-FIELD): Электрическое поле, представленное на удалении, индуцированное магнитным полем ВЧ ЭЛЕКТРОХИРУРГИЧЕСКОГО АППАРАТА.
BB.2.2. H-ПОЛЕ (H-FIELD): Магнитное поле, индуцированное протеканием токов от ВЧ ЭЛЕКТРОХИРУРГИЧЕСКОГО АППАРАТА.
BB.3. Техническая информация
BB.3.1. Общая информация о ВЧ ЭЛЕКТРОХИРУРГИЧЕСКОМ АППАРАТЕ
Во время проведения хирургических операций ВЧ энергия может использоваться для РЕЗАНИЯ тканей или для обеспечения гемостаза (КОАГУЛЯЦИИ). Данная энергия генерируется ВЧ ЭЛЕКТРОХИРУРГИЧЕСКИМ АППАРАТОМ и доставляется в хирургическую область с использованием различных ПРИНАДЛЕЖНОСТЕЙ. Частота ВЧ энергии обычно между 200 кГц и 1 МГц. Эти частоты достаточно высоки для того, чтобы ткани человека не реагировали на них, и, следовательно, не возникало нервной и мышечной стимуляции. Все хирургические эффекты связаны с плотностью тока ВЧ энергии.
ВЧ энергия может доставляться в хирургическую область одним из двух путей. Первый метод называется МОНОПОЛЯРНЫМ или униполярным. Это означает, что хирургический эффект возникает на одном полюсе, который находится под контролем хирурга. Энергия образуется в ВЧ ЭЛЕКТРОХИРУРГИЧЕСКОМ АППАРАТЕ, проходит через шнур ПРИНАДЛЕЖНОСТИ, которую держит хирург, через ПАЦИЕНТА, собирается большой площадью поверхности возвратного электрода ПАЦИЕНТА (НЕЙТРАЛЬНЫЙ ЭЛЕКТРОД) и проводится обратно в ВЧ ЭЛЕКТРОХИРУРГИЧЕСКИЙ АППАРАТ. Локальный хирургический эффект вызывает плотность тока на кончике АКТИВНОГО ЭЛЕКТРОДА(ОВ) ПРИНАДЛЕЖНОСТИ. После попадания в тело ПАЦИЕНТА ток рассеивается, ограничивая область хирургического воздействия. Большая площадь поверхности НЕЙТРАЛЬНОГО ЭЛЕКТРОДА предусмотрена для поддержания низкой плотности тока для предотвращения нагревания и другого влияния на ткани. Возвратный электрод ПАЦИЕНТА является вторым полюсом контура. Наиболее часто встречающейся МОНОПОЛЯРНОЙ ПРИНАДЛЕЖНОСТЬЮ является ВЧ хирургический карандаш, называемый так, потому что он похож на тонкий карандаш в руках хирурга.
Второй метод доставки энергии называется БИПОЛЯРНЫМ. Хирургические ПРИНАДЛЕЖНОСТИ, используемые хирургом, имеют два электрода, каждый с небольшой площадью поверхности. ВЧ энергия проходит из ВЧ хирургического блока на один электрод, через ткань, на другой электрод и возвращается в ВЧ хирургический блок. Площадь электродов и ткани между ними мала, и поэтому плотность тока велика. Следовательно, хирургический эффект возникает только в ткани, зажатой между электродами. НЕЙТРАЛЬНЫЙ ЭЛЕКТРОД не требуется. Наиболее часто встречающейся БИПОЛЯРНОЙ ПРИНАДЛЕЖНОСТЬЮ являются ВЧ хирургические щипцы.
Большая часть ВЧ ЭЛЕКТРОХИРУРГИЧЕСКИХ АППАРАТОВ позволяет использовать управление выходной мощностью как средство контроля глубины и скорости хирургического воздействия. Выходное напряжение и токи могут меняться в зависимости от ВЧ ЭЛЕКТРОХИРУРГИЧЕСКОГО РЕЖИМА, настроек мощности и нагрузки на ВЧ ЭЛЕКТРОХИРУРГИЧЕСКИЙ АППАРАТ.
Хирургическое воздействие в виде РЕЗАНИЯ обычно достигается с использованием синусоидального сигнала напряжением от 200 В до 1200 В. Плотность тока на кончике электрода вызывает нагрев содержимого клеток, непосредственно прилегающих к электроду. Содержимое клеток превращается в пар, и стенки клетки лопаются. Электрод двигается через этот паровой слой, и очень маленькие разряды проходят между кончиком электрода и тканью. Чистый синусоидальный сигнал режет с маленьким гемостазом или с его полным отсутствием. Тем не менее понижение коэффициента заполнения также требует увеличения пикового напряжения для достижения такой же выходной мощности.
Хирургическое воздействие в виде КОАГУЛЯЦИИ может достигаться использованием нескольких различных методов. Чистый синусоидальный сигнал ниже 200 В не режет ткани, но обезвоживает и коагулирует их. Сигнал данной формы не образует разрядов. Он используется для контактной КОАГУЛЯЦИИ как в МОНОПОЛЯРНОМ, так и в БИПОЛЯРНОМ режимах. Если хирургу необходимо коагулировать кровоточащую ткань, не прикасаясь к ней, обычно используется импульсный синусоидальный сигнал с высоким напряжением. Данный сигнал может использовать напряжение от 1200 до 4600 В. Уровни мощности, используемые для МОНОПОЛЯРНОГО режима КОАГУЛЯЦИИ, лежат в диапазоне от 10 до 120 Вт. Уровни мощности, используемые для БИПОЛЯРНОГО режима КОАГУЛЯЦИИ, лежат в диапазоне от 1 до 100 Вт.
Худший случай ИЗЛУЧЕНИЯ, создаваемого ВЧ ЭЛЕКТРОХИРУРГИЧЕСКИМ АППАРАТОМ, возникает во время активации режима КОАГУЛЯЦИИ на максимальных настройках выхода при образовании разрядов на ткани или металл.
BB.3.2. Типы ИЗЛУЧЕНИЯ, создаваемого ВЧ ЭЛЕКТРОХИРУРГИЧЕСКИМ АППАРАТОМ
BB.3.2.1. Излучаемое
Во время хирургических операций терапевтические токи протекают из ВЧ хирургического блока через кабель ПРИНАДЛЕЖНОСТИ, через ПАЦИЕНТА, снова через кабель ПРИНАДЛЕЖНОСТИ и возвращаются в блок. Эта цепь может иметь различные формы, размеры и расположение элементов. Протекающие токи создают ИЗЛУЧЕНИЕ как E-ПОЛЕЙ, так и H-ПОЛЕЙ. Эти поля могут проникать в ПРИНАДЛЕЖНОСТИ или ШНУРЫ ПОДАЧИ ПИТАНИЯ, используемые на другом изделии. Худшим сценарием проникновения E-ПОЛЯ является кабель ВЧ ЭЛЕКТРОХИРУРГИЧЕСКОЙ ПРИНАДЛЕЖНОСТИ, расположенный близко и параллельно кабелю другой ПРИНАДЛЕЖНОСТИ. Проникновение E-ПОЛЯ также оказывает негативное влияние в клинических ситуациях, при которых возникает разряд. Худшим сценарием проникновения H-ПОЛЯ является ВЧ хирургический контур, рассредоточенный по большому кругу, и другие кабели ПРИНАДЛЕЖНОСТЕЙ, прикрепленные к ПАЦИЕНТУ, находящемуся внутри этого круга. Проникновение E-ПОЛЯ обычно приводит к худшему случаю ИЗЛУЧЕНИЯ, которое выше по частоте (от десятков до сотен мегагерц), чем проникновение H-ПОЛЯ (от десятков до сотен килогерц).
BB.3.2.2. Проходящее через ШНУР ПОДАЧИ ПИТАНИЯ от сети
Электромагнитные шумы, проходящие через ШНУР ПОДАЧИ ПИТАНИЯ от сети, увеличиваются во время активации ВЧ ЭЛЕКТРОХИРУРГИЧЕСКОГО АППАРАТА за счет смешения проникающего во внутрь ВЧ выхода и подаваемой мощности высокого напряжения, которая активизируется только во время генерирования ВЧ выхода.
BB.3.2.3. Проходящее через ПАЦИЕНТА
Терапевтические токи, прикладываемые к ПАЦИЕНТУ для достижения РЕЗАНИЯ и КОАГУЛЯЦИИ, подают к ПАЦИЕНТУ напряжение, которое может проникать в другое оборудование. Данное проникновение может быть прямым или емкостным. Прямое проникновение возникает на входах изделий, измеряющих различные виды электрической активности ПАЦИЕНТА (например, ЭКГ, ЭЭГ, ЭМГ, вызванные потенциалы). Емкостное проникновение возникает, если кабели или датчики оборудования находятся в тесном контакте с ПАЦИЕНТОМ (например, датчики пульсоксиметра, датчики инвазивного измерения давления крови, температурные датчики, системы для съемки). Возможна комбинация данных методов. Значение напряжения, приложенного к ПАЦИЕНТУ, в большой степени зависит от используемого ВЧ ЭЛЕКТРОХИРУРГИЧЕСКОГО РЕЖИМА. В БИПОЛЯРНОМ режиме используется размах напряжений в диапазоне от десятков до нескольких сотен вольт и образуются малочисленные или совсем отсутствуют разряды. В режиме РЕЗАНИЯ используется размах напряжения от нескольких сотен до нескольких тысяч вольт и образуется малое число разрядов. Режим КОАГУЛЯЦИИ использует размах напряжений от нескольких тысяч до четырнадцати тысяч вольт с большим числом часто образуемых разрядов. Обычно только часть ВЧ напряжения проникает в другое оборудование, однако для устройств, измеряющих электрическую активность в диапазоне милливольт или микровольт, это может быть проблемой.
BB.3.3. Методики измерения
В рамках данного Приложения измерения проводятся с использованием методик, предназначенных для получения значений худшего случая, который можно ожидать от МЕ ИЗДЕЛИЯ во время хирургических операций.
Измерения, приведенные ниже, проводят несколько раз с использованием всех доступных выходных режимов и максимальной доступной на данном блоке выходной мощности. Моделируется четыре различных клинических ситуации. Эти ситуации: активация при разомкнутом контуре, активация при НОМИНАЛЬНОЙ НАГРУЗКЕ ВЧ ЭЛЕКТРОХИРУРГИЧЕСКОГО АППАРАТА (нагрузка, обеспечивающая максимальную выходную мощность), разряд на металл, разряд на губку, вымоченную в солевом растворе, для моделирования разряда на ткань.
Все эти измерения повторяют несколько раз с использованием ВЧ ЭЛЕКТРОХИРУРГИЧЕСКИХ АППАРАТОВ различных изготовителей. Полученные данные используются для получения значений худшего случая по
BB.3.4.4.
BB.3.3.1. Измерения E-ПОЛЯ
Для поддержки кабелей ПРИНАДЛЕЖНОСТИ от испытываемого ВЧ ЭЛЕКТРОХИРУРГИЧЕСКОГО АППАРАТА используется непроводящий стол высотой 1 м над заземленной поверхностью. Используется методика измерения, описанная в СИСПР 11. Схема установки приведена на
рисунке BB.1. Измерения записывают как пиковые или квазипиковые значения, получаемые между 30 МГц и 1 ГГц.
1 - АКТИВНАЯ ПРИНАДЛЕЖНОСТЬ; 2 - нагрузка; 3 - НЭ или
губка, вымоченная в солевом растворе; 4 - ножной
выключатель; 5 - ВЧ ЭЛЕКТРОХИРУРГИЧЕСКИЙ АППАРАТ;
6 - непроводящий стол; 7 - антенна - расстояние 10 м,
вертикальная поляризация
Рисунок BB.1. Схема установки для испытания
ИЗЛУЧЕНИЯ E-ПОЛЯ
BB.3.3.2. Измерения H-ПОЛЯ
Для поддержки кабелей ПРИНАДЛЕЖНОСТИ от испытываемого ВЧ ЭЛЕКТРОХИРУРГИЧЕСКОГО АППАРАТА используют непроводящий стол высотой 1 м над заземленной поверхностью. Схема установки приведена на
рисунке BB.2.
1 - АКТИВНАЯ ПРИНАДЛЕЖНОСТЬ; 2 - нагрузка; 3 - НЭ или
губка, вымоченная в солевом растворе; 4 - ножной
выключатель; 5 - ВЧ ЭЛЕКТРОХИРУРГИЧЕСКИЙ АППАРАТ;
6 - непроводящий стол; 7 - антенна;
8 - кабель измерительного оборудования
Рисунок BB.2. Схема установки для испытания
ИЗЛУЧЕНИЯ H-ПОЛЯ
Измерения записывают как пиковые или квазипиковые значения, получаемые между 10 кГц и 30 МГц.
BB.3.3.3. Измерения основных проводников
Для поддержки кабелей ПРИНАДЛЕЖНОСТИ от испытываемого ВЧ ЭЛЕКТРОХИРУРГИЧЕСКОГО АППАРАТА используют непроводящий стол высотой 1 м над заземленной поверхностью. Схема установки приведена на
рисунке BB.3.
1 - АКТИВНАЯ ПРИНАДЛЕЖНОСТЬ; 2 - нагрузка; 3 - НЭ или
губка, вымоченная в солевом растворе; 4 - ножной
выключатель; 5 - ВЧ ЭЛЕКТРОХИРУРГИЧЕСКИЙ АППАРАТ;
6 - непроводящий стол; 7 - испытательное оборудование;
8 - анализатор
Рисунок BB.3. Схема установки для испытания
ИЗЛУЧЕНИЯ проводников
Измерения записывают как пиковые или квазипиковые значения, получаемые между 150 кГц и 30 МГц.
BB.3.4. Сводка данных
BB.3.4.1. ИЗЛУЧЕНИЕ E-ПОЛЯ
Наибольшее значение обычно на частоте ниже 50 МГц, более низкая энергия на более ВЫСОКИХ ЧАСТОТАХ. Разряды увеличивают энергию на всех частотах, разряд на металл представляет худший случай в клинической ситуации.
BB.3.4.2. ИЗЛУЧЕНИЕ H-ПОЛЯ
Наибольшее значение обычно на основной частоте ВЧ ЭЛЕКТРОХИРУРГИЧЕСКОГО АППАРАТА с дополнительными пиками на частотах, кратных основной. Разряды увеличивают энергию на всех частотах, разряд на металл представляет худший случай в клинической ситуации.
BB.3.4.3. ИЗЛУЧЕНИЕ основных проводников
Наибольшее значение обычно на основной частоте ВЧ ЭЛЕКТРОХИРУРГИЧЕСКОГО АППАРАТА с дополнительными пиками на частотах, кратных основной. Разряды увеличивают энергию на всех частотах, разряд на металл представляет худший случай в клинической ситуации.
BB.3.4.4. Максимальные уровни ИЗЛУЧЕНИЯ ВЧ ЭЛЕКТРОХИРУРГИЧЕСКОГО АППАРАТА
Наибольшие уровни ИЗЛУЧЕНИЯ образуются в блоках с искровым промежутком. ВЧ ЭЛЕКТРОХИРУРГИЧЕСКИЕ АППАРАТЫ данного типа уже сняты с продаж, но до сих пор есть в наличии во многих больницах. Данный тип блоков создает худший случай EMD среды из-за очень высокого выходного напряжения и использования искрового промежутка для получения сигнала для КОАГУЛЯЦИИ. Использование искрового промежутка имеет тенденцию к получению намного более высоких уровней ИЗЛУЧЕНИЯ на более высоких частотах. Значения для худшего случая ИЗЛУЧЕНИЯ приведены в таблицах BB.1 и
BB.2. Измерения E-ПОЛЯ велись с расстояния 10 м.
Таблица BB.1
Худший случай ИЗЛУЧЕНИЯ ВЧ ЭЛЕКТРОХИРУРГИЧЕСКОГО
АППАРАТА с искровым промежутком
Тип ИЗЛУЧЕНИЯ | Нет разряда | Разряд на солевой раствор | Разряд на металл |
E-ПОЛЕ | 92 дБмкВ/м (40 мВ/м) | 80 дБмкВ/м (10 мВ/м) | 95 дБмкВ/м (56 мВ/м) |
H-ПОЛЕ | 96,47 дБмкА/м (67 мА/м) | 99,47 дБмкА/м (94 мА/м) | 96,47 дБмкА/м (67 мА/м) |
Основные соединители | 117 дБмкВ (708 мВ) | Не измерялось | Не измерялось |
Таблица BB.2
Худший случай ИЗЛУЧЕНИЯ ВЧ ЭЛЕКТРОХИРУРГИЧЕСКОГО АППАРАТА
без искрового промежутка (современное)
Тип ИЗЛУЧЕНИЯ | Нет разряда | Разряд на солевой раствор | Разряд на металл |
E-ПОЛЕ | 78 дБмкВ/м (8 мВ/м) | 77 дБмкВ/м (7 мВ/м) | 83 дБмкВ/м (56 мВ/м) |
H-ПОЛЕ | 61,47 дБмкА/м (1,1 мА/м) | 63,47 дБмкА/м (1,5 мА/м) | 62,47 дБмкА/м (1,3 мА/м) |
Основные соединители | 97 дБмкВ (71 мВ) | Не измерялось | 100 дБмкВ (100 мВ) |
BB.4. Предложенные испытания
BB.4.1.
Следующая информация описывает некоторые специальные испытания, которые используются ИЗГОТОВИТЕЛЯМИ оборудования для определения, способно ли их изделие выдерживать ИЗЛУЧЕНИЕ, получаемое от ВЧ ЭЛЕКТРОХИРУРГИЧЕСКОГО АППАРАТА. Эти испытания предназначены для использования только в качестве руководства и могут быть изменены в зависимости от того, как оборудование расположено относительно ВЧ ЭЛЕКТРОХИРУРГИЧЕСКОГО АППАРАТА. Приведенные ниже испытания предназначены для моделирования близкого расположения оборудования двух типов (как КОРПУСОВ, так и кабелей). Так же, как и в МЭК 606061-1-2, ИЗГОТОВИТЕЛЬ оборудования до проведения испытания должен определить, какой должен быть приемлемый ответ на испытание.
Устанавливают испытываемое оборудование. Обматывают шнур МОНОПОЛЯРНОГО ВЧ ЭЛЕКТРОХИРУРГИЧЕСКОГО АППАРАТА вокруг оборудования так, чтобы было, как минимум, две полные петли шнура, как показано на рисунке BB.4.
1 - ВЧ ЭЛЕКТРОХИРУРГИЧЕСКИЙ АППАРАТ; 2 - испытуемый блок;
3 - металлическая пластина
Рисунок BB.4. Специальное испытание блока
Подсоединяют один конец шнура к соединителю НЕЙТРАЛЬНОГО ЭЛЕКТРОДА ВЧ ЭЛЕКТРОХИРУРГИЧЕСКОГО АППАРАТА, а другой конец к металлической пластине. Используя МОНОПОЛЯРНУЮ ВЧ ЭЛЕКТРОХИРУРГИЧЕСКУЮ ПРИНАДЛЕЖНОСТЬ, активируют ВЧ ЭЛЕКТРОХИРУРГИЧЕСКОГО АППАРАТА в каждом возможном выходном режиме и разряжают принадлежность на металлическую пластину. Для каждого режима настраивают ВЧ ЭЛЕКТРОХИРУРГИЧЕСКИЙ АППАРАТ так, чтобы он обеспечивал максимальное пиковое выходное напряжение.
В данном испытании получаются E-ПОЛЯ и H-ПОЛЯ с максимальным возможным разбросом частот.
Повторяют испытание по
BB.4.2 с МОНОПОЛЯРНОЙ ВЧ ЭЛЕКТРОХИРУРГИЧЕСКОЙ ПРИНАДЛЕЖНОСТЬЮ, закороченной на металлическую пластину (касанием). ВЧ ЭЛЕКТРОХИРУРГИЧЕСКИЙ АППАРАТ должен быть настроен так, чтобы получать максимальную выходную мощность для каждого выходного режима.
В данном испытании получаются максимальные выходные токи и, следовательно, максимальное H-ПОЛЕ. В нем также получается высокое E-ПОЛЕ на основной выходной частоте.
Повторяют испытания по
BB.4.2 и
BB.4.3 со шнуром МОНОПОЛЯРНОЙ ВЧ ЭЛЕКТРОХИРУРГИЧЕСКОЙ ПРИНАДЛЕЖНОСТИ, обмотанным вокруг сетевого шнура питания испытываемого блока, как показано на
рисунке BB.5.
Данное испытание моделирует шум, который может проникать в оборудование через сетевой шнур питания.
1 - ВЧ ЭЛЕКТРОХИРУРГИЧЕСКИЙ АППАРАТ; 2 - испытуемый
блок; 3 - металлическая пластина; 4 - сетевой шнур
питания испытуемого блока
Рисунок BB.5. Специальное испытание шнура питания
BB.4.5.
Если оборудование имеет шнуры, входящие в стерильную область, проникновение может также происходить между этими шнурами и шнуром МОНОПОЛЯРНОГО ВЧ ЭЛЕКТРОХИРУРГИЧЕСКОГО АППАРАТА. Для испытания данной возможности повторяют испытания
BB.4.4 и
BB.4.3 со шнуром МОНОПОЛЯРНОЙ ВЧ ЭЛЕКТРОХИРУРГИЧЕСКОЙ ПРИНАДЛЕЖНОСТИ, обмотанным вокруг шнура ПРИНАДЛЕЖНОСТИ испытуемого блока, как показано на
рисунке BB.6.
1 - ВЧ ЭЛЕКТРОХИРУРГИЧЕСКИЙ АППАРАТ; 2 - испытуемый блок;
3 - металлическая пластина; 4 - шнур ПРИНАДЛЕЖНОСТИ
испытуемого блока
Рисунок BB.6. Специальное испытание шнура питания
BB.4.6.
Результаты испытаний для определения негативного влияния ИЗЛУЧЕНИЯ, проходящего через ПАЦИЕНТА, могут изменяться в широком диапазоне, основываясь на том, насколько сильно связаны оборудование и ПАЦИЕНТ. Следует проконсультироваться в частных стандартах для оборудования данного типа на предмет дополнительной информации. Многие из этих стандартов уже включают данный тип испытаний.
(справочное)
СВЕДЕНИЯ О СООТВЕТСТВИИ ССЫЛОЧНЫХ МЕЖДУНАРОДНЫХ
СТАНДАРТОВ НАЦИОНАЛЬНЫМ СТАНДАРТАМ
РОССИЙСКОЙ ФЕДЕРАЦИИ
Таблица ДА.1
Обозначение ссылочного международного стандарта | Степень соответствия | Обозначение и наименование соответствующего национального стандарта |
МЭК 60601-1:2005 | IDT | ГОСТ Р МЭК 60601-1-2010 "Изделия медицинские электрические. Часть 1. Общие требования безопасности с учетом основных функциональных характеристик" |
МЭК 60601-1-2:2007 | - | |
МЭК 60601-1-8:2006 | - | |
МЭК 60601-2-34:2011 | - | |
<*> Соответствующий национальный стандарт отсутствует. До его утверждения рекомендуется использовать перевод на русский язык данного международного стандарта. Перевод данного международного стандарта находится в Федеральном информационном фонде технических регламентов и стандартов. Примечание. В настоящей таблице использовано следующее условное обозначение степени соответствия стандартов: - IDT - идентичные стандарты. |
| Nessler N., Reischer W., Salchner М., Measurement Science Review, 2003, Volume 3, Section 2 |
[2] | Nessler N. Current Density distribution in Human skin under the Grounding electrode of Electrosurgery, BEMS 17th Annual Meeting, Boston, MA., 1995 |
[3] | Nessler N., Huter H., Wang L. Sicherheitstester  HF-Chirurgie-Neutralelektroden. Biomedizinsche Technik, 1993, Volume 38, pp.5 - 9 |
| Nessler N., Reischer W., Salchner М., Electronic Skin - Test Device For Electrosurgical Electrodes. 12th IMEKO TC4 International Symposium, Zagreb 2002 |
| Keller A., Rosenfelder G., "DIN EN 60601-2-2, 4th edition, clause 59.103.5/59.104 4 - comparison of alternative test methods - leakage current test method versus capacitance test method", Aesculap AG & Co KG, 25-Aug-05 |
|  A., Heinrich М., Comparative test of HF leakage current on cables with different measuring methods. BOWA Electronic, 11.03.05 |
| Emergency care research institute. Clinical studies. Health Devices, 1973 volume 2, numbers 8 - 9, pp. 194 - 195 |
[8] | Emergency care research institute. Draft Environmental Requirements and Test Methods for Non-Implantable Medical Devices (Contract No. FDA-74-230). Plymouth Meeting, PA: ECRI, July 1978 |
[9] | Emergency care research institute. Development of Environmental Test Methods for Non-Implantable Medical Devices, Final Report (Contract No. 223-77-5035). Plymouth Meeting, PA: ECRI, April 1979 |
| Moritz, AR, HENRIQUES, FC., Studies in thermal injury: II. The relative importance of time and surface temperature in the causation of cutaneous burns. American Journal of Pathology, 1947, volume 23, number 5, pp. 695 - 720 |
[11] | Pearce, JA, Foster, KS, Mullikin, JC, Geddes, LA., Investigations and Studies on Electrosurgery (HHS publication FDA 84-4186). Rockville, MD: U.S. Food and Drug Administration, 1981 |
| Pearce, JA, Geddes, LA, Van Vleet, JF, Foster, K, Allen, J. Skin burns from electrosurgical current. Medical Instrumentation, 1983, volume 17, number 3, pp. 225 - 231 |
[13] | IEC 60601-2-18:1996, Medical electrical equipment - Part 2-18: Particular requirements for the safety of endoscopic equipment Amendment 1, 2000 |
[14] | ANSI/AAMI HF18:2001, Electrosurgical Devices |
| CENELEC Guide 29:2007, Temperatures of hot surfaces likely to be touched& |