Главная // Актуальные документы // ГОСТ Р (Государственный стандарт)
СПРАВКА
Источник публикации
М.: Стандартинформ, 2015
Примечание к документу
Документ утратил силу с 01.10.2023 в связи с изданием Приказа Росстандарта от 23.06.2023 N 441-ст. Взамен введен в действие ГОСТ ISO 22649-2023.

Документ введен в действие с 1 января 2016 года.
Название документа
"ГОСТ Р ИСО 22649-2014. Национальный стандарт Российской Федерации. Обувь. Методы испытаний стелек и вкладных стелек. Адсорбция и десорбция воды"
(утв. и введен в действие Приказом Росстандарта от 26.11.2014 N 1925-ст)

"ГОСТ Р ИСО 22649-2014. Национальный стандарт Российской Федерации. Обувь. Методы испытаний стелек и вкладных стелек. Адсорбция и десорбция воды"
(утв. и введен в действие Приказом Росстандарта от 26.11.2014 N 1925-ст)


Содержание


Утвержден и введен в действие
Приказом Федерального
агентства по техническому
регулированию и метрологии
от 26 ноября 2014 г. N 1925-ст
НАЦИОНАЛЬНЫЙ СТАНДАРТ РОССИЙСКОЙ ФЕДЕРАЦИИ
ОБУВЬ
МЕТОДЫ ИСПЫТАНИЙ СТЕЛЕК И ВКЛАДНЫХ СТЕЛЕК.
АДСОРБЦИЯ И ДЕСОРБЦИЯ ВОДЫ
Footwear. Test methods for insoles and insocks.
Water absorption and desorption
ISO 22649:2003
Footwear - Test methods for insoles and insocks -
Water absorption and desorption
(IDT)
ГОСТ Р ИСО 22649-2014
ОКС 61.060
Дата введения
1 января 2016 года
Предисловие
1. Подготовлен Техническим комитетом по стандартизации ТК 412 "Текстиль", Открытым акционерным обществом "Всероссийский научно-исследовательский институт сертификации" (ОАО "ВНИИС") на основе аутентичного перевода на русский язык международного стандарта, указанного в пункте 4.
2. Внесен Управлением технического регулирования и стандартизации Федерального агентства по техническому регулированию и метрологии.
3. Утвержден и введен в действие Приказом Федерального агентства по техническому регулированию и метрологии от 26 ноября 2014 г. N 1925-ст.
4. Настоящий стандарт идентичен международному стандарту ИСО 22649:2003 "Обувь. Методы испытаний стелек и вкладных стелек. Адсорбция и десорбция воды" (ISO 22649:2003 "Footwear - Test methods for insoles and insocks - Water absorption and desorption").
В разделе "Нормативные ссылки" и тексте стандарта ссылки на международные стандарты актуализированы.
При применении настоящего стандарта рекомендуется использовать вместо ссылочных международных стандартов соответствующие им национальные стандарты Российской Федерации, сведения о которых приведены в дополнительном Приложении ДА.
5. Введен впервые.
Правила применения настоящего стандарта установлены в ГОСТ Р 1.0-2012 (раздел 8). Информация об изменениях к настоящему стандарту публикуется в ежегодном (по состоянию на 1 января текущего года) информационном указателе "Национальные стандарты", а официальный текст изменений и поправок - в ежемесячном информационном указателе "Национальные стандарты". В случае пересмотра (замены) или отмены настоящего стандарта соответствующее уведомление будет опубликовано в ближайшем выпуске информационного указателя "Национальные стандарты". Соответствующая информация, уведомление и тексты размещаются также в информационной системе общего пользования - на официальном сайте Федерального агентства по техническому регулированию и метрологии в сети Интернет (gost.ru).
1. Область применения
Настоящий стандарт устанавливает два метода испытаний для определения адсорбции и десорбции воды стельками и вкладными стельками, независимо от материала, из которого они изготовлены.
Эти методы следующие:
- метод A: статическое определение адсорбции и десорбции воды стельками и вкладными стельками;
- метод B: динамическое определение адсорбции и десорбции воды стельками и вкладными стельками.
2. Нормативные ссылки
В настоящем стандарте используются ссылки на следующие международные стандарты:
ЕН 12222:1997 Обувь. Стандартные атмосферные условия для кондиционирования и испытаний обуви и деталей обуви (EN 12222:1997 Footwear - Standard atmospheres for conditioning and testing of footwear and components for footwear)
ЕН 13400:2001 Обувь. Место отбора, подготовка и продолжительность кондиционирования проб и образцов (EN 13400:2001 Footwear - Sampling location, preparation and duration of conditioning of samples and test pieces).
3. Термины и определения
В настоящем стандарте применены следующие термины с соответствующими определениями:
3.1. Адсорбция воды: увеличение массы образца на единицу его площади за счет поглощения воды в течение одного или нескольких заданных периодов времени.
3.2. Десорбция воды: процент потери массы образца, выраженный в пересчете на массу адсорбированной воды.
4. Аппаратура и материалы
Должны быть использованы следующие аппаратура и материалы:
4.1. Метод A
4.1.1. Весы лабораторные точностью до 0,01 г.
4.1.2. Резак квадратной формы для вырезания образца размером [(50 +/- 1) x (50 +/- 1)] мм. Режущая часть лезвия ножа должна быть отклонена под вертикальным углом приблизительно 5° в направлении наружу от кромки, чтобы при подготовке образца нож проходил через материал без ущерба для края образца.
4.1.3. Фильтровальная бумага.
4.1.4. Дистиллированная вода.
4.1.5. Химический стакан или приемник подходящих размеров с плоским дном.
4.1.6. Штангенциркули с нониусом, обеспечивающие измерение с точностью до 0,2 мм.
4.2. Метод B
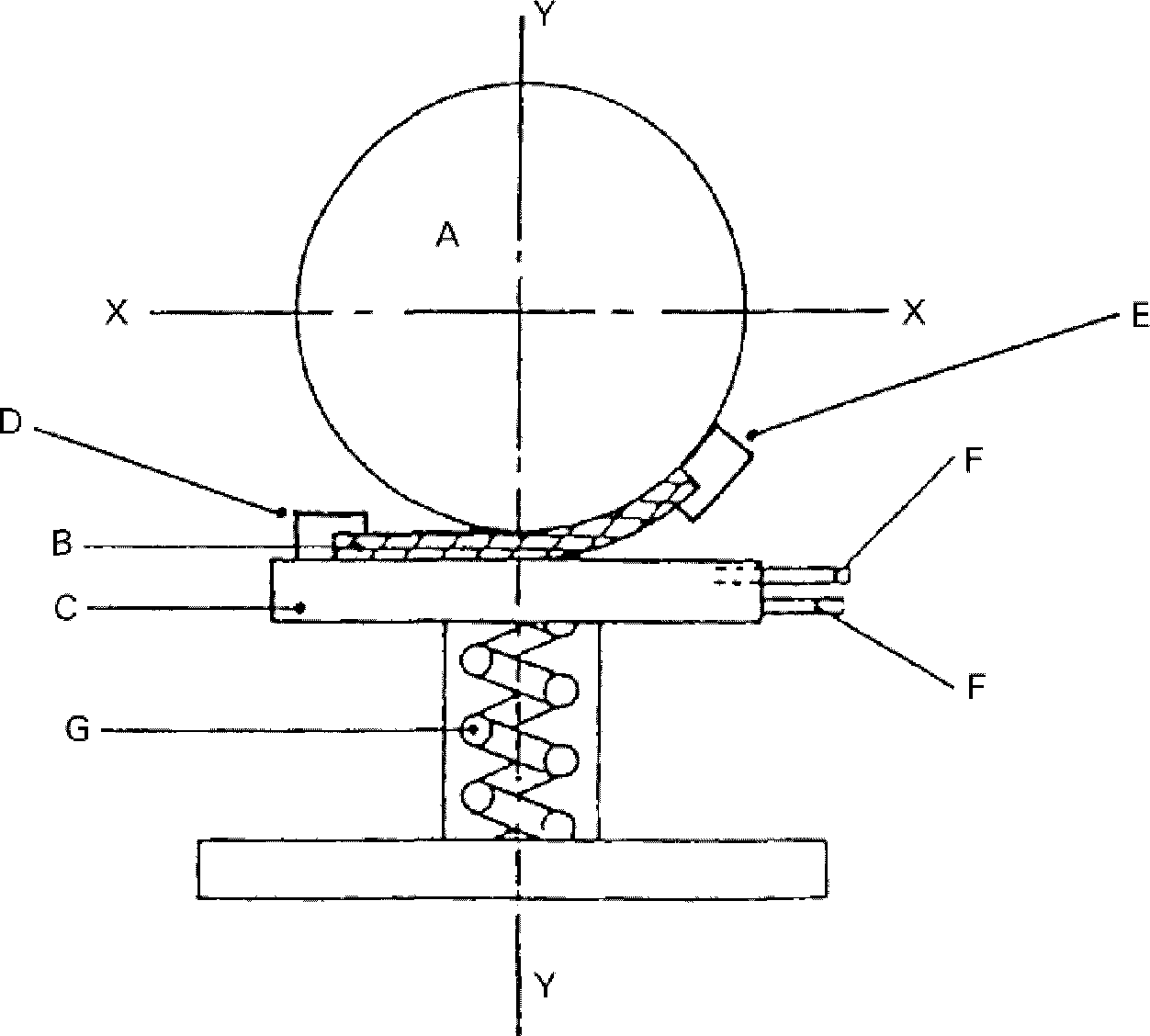
4.2.1. Аппаратура (как показано на рисунке 1), включающая:
4.2.1.1. Латунный валик (A) диаметром (120 +/- 1) мм и шириной (50 +/- 1) мм, расположенный над образцом (B).
Рисунок 1. Устройство для измерения адсорбции
и десорбции воды
4.2.1.2. Платформа (C) с шероховатой верхней поверхностью, достаточно перфорированная для того, чтобы поверхность поддерживалась во влажном состоянии при протекании воды через платформу. Верхняя поверхность платформы (C) накрыта хлопчатобумажной марлей.
4.2.1.3. Зажим (D) для удерживания одной (короткой) стороны образца (B) на платформе (C) в горизонтальном положении.
4.2.1.4. Зажим (E) для прикрепления другой короткой стороны образца к валику таким образом, чтобы прикрепленная сторона была параллельна оси валика. Зажим удерживается слабой пружиной для создания постоянного небольшого натяжения образца.
4.2.1.5. Подача воды (F) через платформу (C) и средства для устранения излишков воды.
4.2.1.6. Средства перемещения оси валика при возвратно-поступательном движении его вдоль оси X-X с амплитудой (50 +/- 2) мм от точки, расположенной непосредственно над средней точкой образца и с частотой (20 +/- 1) циклов в минуту.
Движение оси перемещает валик вперед и назад вдоль образца, поднимая один его конец и сгибая в форме валика.
4.2.1.7. Средства прижима валика к образцу на платформе с силой (80 +/- 5) Н.
4.2.2. Резак для вырезания образцов для испытаний размерами [(110 +/- 1) x (40 +/- 1)] мм.
4.2.3. Весы со считыванием до 0,001 г.
4.2.4. Часы, со считыванием до 1 с.
4.2.5. Силиконовая смазка.
5. Отбор и кондиционирование образцов
5.1. Метод A
С помощью резака квадратной формы (см. 4.1.2) подготавливают образец размерами [(50 +/- 1) x (50 +/- 1)] мм из стельки или вкладной стельки готовой обуви, или из вырезанной стельки или вкладной стельки, или из имеющихся деталей обуви. Если образцы берут от целого изделия или от вырезанных деталей изделия, то отбор производят в соответствии с ЕН 13400.
Кондиционируют образцы в соответствии с ЕН 12222 в течение не менее 24 ч.
5.2. Метод B
5.2.1. Образцы из готовой обуви следует отбирать от передней части стельки по длине. Для листовых материалов образцы отбирают в двух основных взаимно перпендикулярных направлениях.
5.2.2. Образцы представляют собой полоски размерами [(110 +/- 1) x (40 +/- 1)] мм, которые помещают на 48 ч перед испытанием в атмосферные условия для кондиционирования в соответствии с ЕН 12222.
5.2.3. На края образца наносят небольшое количество силиконовой смазки для предотвращения доступа воды с торцов.
6. Методы испытаний
6.1. Метод A
6.1.1. Определение адсорбции воды
Измеряют (см. 4.1.6) длину и ширину образца в миллиметрах с точностью до 0,2 мм. Вычисляют площадь A в квадратных метрах.
Взвешивают образец (см. 4.1.1) с точностью до 0,01 г и записывают массу MO.
Помещают образец в дистиллированную воду, кондиционированную в соответствии с ЕН 12222, на 6 ч. Затем извлекают его, удаляют все капли воды фильтровальной бумагой и снова взвешивают. Записывают массу MF. Испытание проводят при температуре (20 +/- 2) °C.
6.1.2. Определение десорбции воды
По завершении испытания, установленного в 6.1.1, кондиционируют образец в течение 16 ч в соответствии с ЕН 12222 и снова взвешивают (см. 4.1.1), записывают массу MR
6.2. Метод B
6.2.1. Принцип
Образец размещают на мокрой подставке и подвергают многократному орошению при заданном давлении (так же, как это происходит со стельками обуви во время прогулки).
6.2.2. Определение адсорбции воды
6.2.2.1. Взвешивают образец с точностью до 0,001 г (MO).
6.2.2.2. Помещают марлю на платформу (C).
6.2.2.3. Помещают образец в устройство для испытания поверхностью, контактирующей с ногой, на накрытую марлей платформу (C). Соединяют узкие стороны образца с платформой и валиком и прикладывают усилие (80 +/- 5) Н.
6.2.2.4. Подают воду и регулируют поток воды на уровне 7,5 мл/мин над платформой.
6.2.2.5. Запускают машину и отмечают время.
6.2.2.6. Через определенный период (15 мин) прекращают подачу воды за 1 мин до остановки машины.
6.2.2.7. Извлекают образец и взвешивают с точностью до 0,001 г.
6.2.2.8. Заменяют образец в аппарате, открывают кран, подающий воду, и продолжают испытание.
6.2.2.9. Если образец извлекают до истечения периода 8 ч, выдерживают его в пластиковом пакете в течение достаточного времени, чтобы соблюсти период ночной сушки (16 ч), установленный в 6.2.3.
6.2.3. Определение десорбции воды
Снова кондиционируют образец в стандартных контролируемых условиях, установленных в ЕН 12222, в течение 16 ч, затем снова взвешивают образец с точностью до 0,001 г (MR).
7. Представление результатов
7.1. Метод A
7.1.1. Адсорбция воды
Рассчитывают адсорбцию воды WA, выраженную в граммах на квадратный метр, по следующей формуле
где MO - начальная масса испытуемого образца, т.е. в сухом состоянии, в граммах;
MF - конечная масса испытуемого образца, т.е. в мокром состоянии, в граммах;
A - площадь образца, в метрах квадратных.
Адсорбцию воды выражают с точностью до 1 г/м2.
Результат берут как среднее двух результатов.
7.1.2. Десорбция воды
Рассчитывают десорбцию воды WD, выраженную в процентах по массе, по следующей формуле
где MO - начальная масса испытуемого образца, в граммах;
MF - конечная масса испытуемого образца, в граммах;
MR - масса повторно кондиционированного испытуемого образца, в граммах.
Десорбцию воды выражают с точностью до 1%.
7.2. Метод B
7.2.1. Адсорбция воды
Рассчитывают адсорбцию воды WA, выраженную в граммах на квадратный метр, по следующей формуле
где MO - начальная масса испытуемого образца, в граммах;
MF - конечная масса испытуемого образца, в граммах;
A - площадь образца, в метрах квадратных.
Адсорбцию воды выражают с точностью до 1 г/м2.
7.2.2. Десорбция воды
Рассчитывают десорбцию воды WD, выраженную в процентах по массе от адсорбированной воды, по следующей формуле
где MO - начальная масса испытуемого образца, в граммах;
MF - конечная масса испытуемого образца, в граммах;
MR - масса повторно кондиционированного испытуемого образца, в граммах.
Десорбцию воды выражают с точностью до 1%.
8. Протокол испытания
Протокол испытания должен включать следующую информацию:
8.1. Метод A
a) результаты по адсорбции и десорбции воды, выраженные в соответствии с 7.1.1 и 7.1.2;
b) тип и полную идентификацию образца;
c) описание процедуры отбора образцов, если необходимо;
d) ссылку на метод испытания;
e) описание всех отклонений от стандартного метода;
f) дату проведения испытания.
8.2. Метод B
a) результаты по адсорбции и десорбции воды, выраженные в соответствии с 7.2.1 и 7.2.2;
b) тип и полную идентификацию образца;
c) описание процедуры отбора образцов, если необходимо;
d) ссылку на метод испытания;
e) описание всех отклонений от стандартного метода;
f) дату проведения испытания.
Приложение ДА
(справочное)
СВЕДЕНИЯ О СООТВЕТСТВИИ НАЦИОНАЛЬНЫХ СТАНДАРТОВ
РОССИЙСКОЙ ФЕДЕРАЦИИ ССЫЛОЧНЫМ МЕЖДУНАРОДНЫМ СТАНДАРТАМ
Таблица ДА.1
Обозначение ссылочного международного стандарта
Степень соответствия
Обозначение и наименование национального стандарта
ЕН 12222:1997
(ИСО 18454:2001)
IDT
ГОСТ Р ИСО 18454-2008 "Обувь. Стандартные атмосферные условия для проведения кондиционирования и испытаний обуви и деталей обуви"
ЕН 13400:2001
(ИСО 17709:2004)
IDT
ГОСТ Р ИСО 17709-2009 "Обувь. Место отбора проб, подготовка и время кондиционирования проб и образцов для испытаний"
Примечание. В настоящей таблице использованы следующие условные обозначения степени соответствия стандартов:
IDT - идентичные стандарты.
БИБЛИОГРАФИЯ
[1]
ЕН 344-1:1992/ЕН ИСО 20344:2004 Требования и методы испытаний безопасности защитной и специальной обуви для профессионального использования.