Главная // Актуальные документы // ГОСТ Р (Государственный стандарт)
СПРАВКА
Источник публикации
М.: Стандартинформ, 2015
Примечание к документу
Документ утратил силу с 01.05.2021 в связи с изданием Приказа Росстандарта от 01.12.2020 N 1225-ст. Взамен введен в действие ГОСТ Р 56442-2020.

Документ введен в действие с 01.07.2016.
Название документа
"ГОСТ Р 56442-2015. Национальный стандарт Российской Федерации. Тренажеры стационарные. Велотренажеры с фиксированным колесом или без муфты свободного хода. Дополнительные специальные требования безопасности и методы испытаний"
(утв. и введен в действие Приказом Росстандарта от 15.06.2015 N 660-ст)

"ГОСТ Р 56442-2015. Национальный стандарт Российской Федерации. Тренажеры стационарные. Велотренажеры с фиксированным колесом или без муфты свободного хода. Дополнительные специальные требования безопасности и методы испытаний"
(утв. и введен в действие Приказом Росстандарта от 15.06.2015 N 660-ст)


Содержание


Утвержден и введен в действие
Приказом Федерального
агентства по техническому
регулированию и метрологии
от 15 июня 2015 г. N 660-ст
НАЦИОНАЛЬНЫЙ СТАНДАРТ РОССИЙСКОЙ ФЕДЕРАЦИИ
ТРЕНАЖЕРЫ СТАЦИОНАРНЫЕ
ВЕЛОТРЕНАЖЕРЫ С ФИКСИРОВАННЫМ КОЛЕСОМ ИЛИ БЕЗ МУФТЫ
СВОБОДНОГО ХОДА
ДОПОЛНИТЕЛЬНЫЕ СПЕЦИАЛЬНЫЕ ТРЕБОВАНИЯ
БЕЗОПАСНОСТИ И МЕТОДЫ ИСПЫТАНИЙ
Sationary training equipment. Exercise bicycles with
a fixed wheel or without freewheel.
Additional specific safety requirements and test methods
ISO 20957-10:2005
(NEQ)
ГОСТ Р 56442-2015
ОКС 97.220.30
Дата введения
1 июля 2016 года
Предисловие
1 РАЗРАБОТАН Саморегулируемой организацией Некоммерческим партнерством "Отраслевое объединение национальных производителей в сфере физической культуры и спорта "Промспорт" (СРО "Промспорт")
2 ВНЕСЕН Техническим комитетом по стандартизации ТК 444 "Спортивные и туристские изделия, оборудование, инвентарь, физкультурные и спортивные услуги"
3 УТВЕРЖДЕН И ВВЕДЕН В ДЕЙСТВИЕ Приказом Федерального агентства по техническому регулированию и метрологии от 15 июня 2015 г. N 660-ст
4 Настоящий стандарт разработан с учетом основных нормативных положений международного стандарта ИСО 20957-10:2005 "Тренажеры стационарные. Часть 10. Велотренажеры с фиксированным колесом или без муфты свободного хода. Дополнительные специальные требования безопасности и методы испытаний" (ISO 20957-10:2005 "Stationary training equipment - Part 10: Exercise bicycles with a fixed wheel or without freewheel, additional specific safety requirements and test methods", NEQ)
5 ВВЕДЕН ВПЕРВЫЕ
Правила применения настоящего стандарта установлены в ГОСТ Р 1.0-2012 (раздел 8). Информация об изменениях к настоящему стандарту публикуется в ежегодном (по состоянию на 1 января текущего года) информационном указателе "Национальные стандарты", а официальный текст изменений и поправок - в ежемесячном информационном указателе "Национальные стандарты". В случае пересмотра (замены) или отмены настоящего стандарта соответствующее уведомление будет опубликовано в ближайшем выпуске ежемесячного информационного указателя "Национальные стандарты". Соответствующая информация, уведомление и тексты размещаются также в информационной системе общего пользования - на официальном сайте Федерального агентства по техническому регулированию и метрологии в сети Интернет (www.gost.ru)
1. Область применения
Настоящий стандарт распространяется на велотренажеры классов S и H.
Стандарт устанавливает требования безопасности для велотренажеров с фиксированным колесом или без муфты свободного хода, величина инерции которых составляет более 0,6 кг/м2.
2. Нормативные ссылки
В настоящем стандарте использованы нормативные ссылки на следующие стандарты:
ГОСТ Р 51337-99 Безопасность машин. Температуры касаемых поверхностей. Эргономические данные для установления предельных величин горячих поверхностей
ГОСТ Р 56445-2015 Тренажеры стационарные. Общие требования безопасности и методы испытаний
Примечание - При пользовании настоящим стандартом целесообразно проверить действие ссылочных стандартов в информационной системе общего пользования - на официальном сайте Федерального агентства по техническому регулированию и метрологии в сети Интернет или по ежегодному информационному указателю "Национальные стандарты", который опубликован по состоянию на 1 января текущего года, и по выпускам ежемесячного информационного указателя "Национальные стандарты" за текущий год. Если заменен ссылочный стандарт, на который дана недатированная ссылка, то рекомендуется использовать действующую версию этого стандарта с учетом всех внесенных в данную версию изменений. Если заменен ссылочный стандарт, на который дана датированная ссылка, внесено изменение, затрагивающее положение, на которое дана ссылка, то это положение рекомендуется применять без учета данного изменения. Если ссылочный стандарт отменен без замены, то положение, в котором дана ссылка на него, рекомендуется применять в части, не затрагивающей эту ссылку.
3. Термины и определения
В настоящем стандарте применяют термины по ГОСТ Р 56445, а также следующие термины с соответствующими определениями:
3.1 маховик: Вращающийся груз, предназначенный для создания инерции.
3.2 муфта свободного хода: Зубчатый механизм, предназначенный для освобождения маховика от механизма педали в одном направлении.
3.3 стойка сиденья: Соединение между рамой и сиденьем, предназначенное для регулировки сиденья по высоте.
3.4 подседельная труба рамы: Часть рамы, куда вставляется стойка сиденья.
3.5 вынос поручня: Соединение поручня с рамой, предназначенное для регулировки поручня по высоте.
3.6 аварийный тормоз: Устройство, позволяющее остановить движение педалей в случае необходимости.
3.7 защита с блокировкой: Механизм, предназначенный для иммобилизации любой вращающейся части оборудования, которая не будет работать без использования специального инструмента, например ключа.
3.8 динамическое направление: Направление, в котором применяется усилие при нормальном выполнении упражнения в соответствии с руководством пользователя.
3.9 кожух: Облицовка потенциально опасных элементов.
3.10 защита трансмиссии: Облицовка потенциально опасных элементов трансмиссии.
4. Классификация велотренажеров
Классификация велотренажеров по ГОСТ Р 56445.
5. Требования безопасности
5.1 Требования к конструкции
5.1.1 Элементы трансмиссии, вращающиеся части, застревания, зажим и сдвиг
5.1.1.1 Пример велотренажера без муфты свободного хода представлен на рисунке 1.
1 - руль; 2 - регулятор поручня; 3 - регулятор напряжения;
4 - аварийный тормоз; 5 - система сопротивления (тормоз);
6 - маховик; 7 - сиденье; 8 - стойка сиденья; 9 - регулятор
высоты сиденья; 10 - подседельная труба рамы; 11 - шатун
педали; 12 - педаль; 13 - защита трансмиссии; 14 - рама
Рисунок 1 - Пример велотренажера без муфты свободного хода
5.1.1.2 Расстояние между шатуном педали и неподвижными частями велотренажеров, шатуны педалей которых имеют больший диаметр, чем защитный кожух, должны должно быть не менее 10 мм.
Примечание - Требование не распространяется на велотренажеры, кожух которых имеет больший диаметр, чем ход шатуна педали.
5.1.1.3 Элементы трансмиссии должны быть закрыты.
5.1.1.4 При испытаниях на застревание пальцев по приложениям Г и Д ГОСТ Р 56445 испытательный штифт не должен застревать или контактировать с движущимися частями, которые не имеют гладкой поверхности.
5.1.1.5 Края маховика должны иметь радиус закругления не менее 2,5 мм.
5.1.1.6 Края педалей должны быть без заусенцев, закруглены или защищены другим способом.
5.1.2 Температура поверхности
При испытаниях по приложению А температура элементов оборудования, находящихся в свободном доступе, не должна превышать 65 °C.
Примечание - См. также требования ГОСТ Р 51337.
5.2 Несущая способность
5.2.1 Стойка сиденья велотренажеров класса S должна выдерживать четырехкратную максимальную массу тела, указанную производителем, но не менее 4000 Н. Стойка сиденья велотренажеров класса H должна выдерживать трехкратную максимальную массу тела, указанную производителем, но не менее 3000 Н.
5.2.2 Педали и шатуны велотренажеров классов S и H должны выдерживать четырехкратную максимальную массу тела, указанную производителем, но не менее 4000 Н.
5.2.3 Испытания несущей способности стоек, сидений и шатунов велотренажеров проводят по приложению Б. Во время испытаний стойки сиденья и педалей тренажер не должен опрокидываться. При испытаниях величина смещения зафиксированной стойки сиденья внутрь подседельной трубы должна быть не более 5 мм. После испытаний тренажер должен функционировать в соответствии с инструкцией по эксплуатации, предоставленной производителем.
5.3 Сиденье и стойка сиденья
5.3.1 Общие положения
5.3.1.1 Высоту сиденья велотренажеров класса S следует регулировать без применения инструмента.
5.3.1.2 Если для регулировки высоты сиденья велотренажеров класса H необходим инструмент, то он должен входить в комплект, поставляемый вместе с оборудованием и четкими инструкциями по применению.
5.3.2 Глубина фиксации стойки сиденья
5.3.2.1 Минимальная глубина фиксации стойки сиденья в крайнем верхнем положении составляет 55 мм.
5.3.2.2 На стойке сиденья должна быть отметка и слово "СТОП", указывающие на минимальную глубину погружения стойки в подседельную трубу рамы. Маркировку допускается не наносить, если минимальная глубина определена конструкцией.
5.3.2.3 В случае оборудования с системами фиксации минимальная глубина составляет 55 мм в самом высоком положении.
5.4 Руль
5.4.1 Вынос руля
5.4.1.1 Вынос руля велотренажеров класса S следует регулировать с помощью инструмента, или должны быть предусмотрены различные положения захвата.
5.4.1.2 Если для регулировки выноса руля велотренажеров класса H необходим инструмент, то его должны поставлять в комплекте вместе с оборудованием и четкими инструкциями по применению.
5.4.1.3 Минимальная глубина фиксации выноса руля составляет 55 мм в самом высоком положении.
5.4.1.4 На стойке рулевой системы должны быть отметка и слово "СТОП", указывающие на минимальную глубину погружения выноса поручня. Маркировку допускается не наносить, если минимальная глубина определена конструкцией.
5.4.2 Несущая способность руля
При испытаниях несущей способности по приложению В на конструкции руля не должно быть повреждений, а величина остаточной деформации должна быть не более 10%.
После проведения испытаний руль должен функционировать в соответствии с инструкцией по эксплуатации, предоставленной производителем.
5.5 Устойчивость
При проведении испытаний по приложению Г велотренажер не должен опрокидываться во время выполнения любого из упражнений, указанных в руководстве пользователя.
5.6 Система блокировки
Велотренажер с фиксированным колесом или без муфты свободного хода для домашнего использования (класс H) должен быть оборудован системой блокировки для предотвращения бесконтрольного использования или перемещения вращающихся частей оборудования третьими лицами, особенно детьми.
5.7 Аварийный тормоз
5.7.1 Велотренажер с фиксированным колесом или без муфты свободного хода должен быть оборудован аварийным тормозом. Этот тормоз должен быть легко доступным и видимым с позиции пользователя и остановить тренажер (в обоих направлениях) в течение одного полного оборота шатуна педали при активации от себя (толчком) с максимальным усилием величиной 100 Н или на себя (тяга) с максимальным усилием величиной 50 Н.
5.7.2 Испытания проводят по приложению Д.
5.7.3 Рычаг тормоза должен выдерживать нагрузку в соответствии с приложением Д без повреждений, а величина деформации должна быть не более 3%.
5.7.4 Приводы аварийной остановки должны быть красного цвета. При наличии фона за приводом его цвет должен быть желтым. Привод переключателя должен быть выполнен в виде ладони или шляпки гриба.
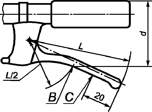
5.7.5 Тормозная система по образцу устанавливаемого на велосипеде ручного тормоза должна иметь размеры в соответствии с рисунком 2. Расстояние захвата не должно превышать 90 мм в точке B и 100 мм между точками B и C.
Рисунок 2 - Размеры рычага тормоза
5.8 Педали
Педали должны быть оснащены системой, которая поддерживает стопу в положении, исключающем возможность непреднамеренного смещения стопы.
5.9 Шатун педали
При испытаниях по приложению Е шатун педали в собранном состоянии должен выдерживать динамично прикладываемую нагрузку величиной (750 +/- 10) Н в течение 106 циклов с максимальной частотой 25 Гц для велотренажеров класса S и 120000 циклов для велотренажеров класса H. После приложения статической нагрузки величиной 4000 Н шатун педали в собранном состоянии не должен показывать признаков повреждений или неработоспособности конструкции.
5.10 Зазор между педалью и полом
Вертикальное расстояние от любой детали педали и полом или элементом основания должно составлять не менее 60 мм.
6. Методы испытаний
6.1 Требования безопасности в соответствии с разделом 5 проверяют органолептическими или инструментальными методами.
6.2 Испытание элементов трансмиссии и вращающихся частей по ГОСТ Р 56445.
6.3 Испытания температурного режима - по приложению А.
6.4 Испытание несущей способности - по приложению Б.
6.5 Испытание руля - по приложению В.
6.6 Испытание велотренажера на устойчивость - по приложению Г.
6.7 Испытание аварийного тормоза - по приложению Д.
6.8 Испытание шатуна педали - по приложению Е.
6.9 По результатам испытаний оформляют отчет или протокол.
7. Дополнительные требования к инструкциям
по эксплуатации и применению
В дополнение к требованиям ГОСТ Р 56445 каждый велотренажер с фиксированным колесом или без муфты свободного хода должен быть снабжен доступной для понимания инструкцией по эксплуатации и применению.
Инструкция должна содержать следующие обязательные положения:
- предупреждения о рисках, связанных с отсутствием системы свободного хода;
- указания принципов работы системы экстренного торможения;
- последовательность действий при остановке тренажера;
- описание работы механизма блокировки для велотренажеров класса H;
- пояснения о том, что велотренажеры класса S следует всегда эксплуатировать под контролем;
- требования к системе позиционирования стопы (см. 5.8);
- требование необходимости регулировки руля и сиденья под каждого отдельного пользователя;
- требование ограничения диапазона регулировки руля отметкой "СТОП", указывающей минимальный уровень глубины вставки, если иное не предусмотрено конструкцией;
- пояснения по использованию инструментов для настройки оборудования класса H.
8. Дополнительная маркировка
8.1 Все велотренажеры с фиксированным колесом или без муфты свободного хода должны быть обозначены пиктограммой, инструктирующей пользователя об информации, предоставляемой изготовителем, согласно рисунку 3.
Рисунок 3 - Маркировочная пиктограмма
8.2 Используемые в домашних условиях велотренажеры с фиксированным колесом или без муфты свободного хода следует маркировать предупредительной табличкой, инструктирующей пользователя блокировать тренажер, когда его не используют.
8.3 Велотренажеры с фиксированным колесом или без муфты свободного хода класса S следует маркировать предупредительной табличкой, инструктирующей пользователя, что оборудование должны использовать под контролем.
8.4 Все таблички должны быть расположены на видном месте.
Приложение А
(обязательное)
ИСПЫТАНИЯ ТЕМПЕРАТУРНОГО РЕЖИМА
А.1 Сущность метода
Во время работы тренажера в установленном режиме измеряют температуру доступных элементов.
А.2 Измерительное устройство
Для измерения температуры доступных элементов велотренажера применяют контактный термометр с диапазоном измерения от 0 до 100 °C, погрешность которого составляет +/- 1 °C.
А.3 Процедура
При проведении испытаний температура окружающего воздуха должна быть от 18 до 25 °C.
Тренажер включают и оставляют в рабочем состоянии (мощность - 200 Вт, скорость - 60 об/мин) на 20 мин. Тренажер выключают и делают перерыв в течение 5 мин. Затем подход повторяют.
По окончании третьего подхода измеряют температуру доступных элементов.
Температура доступных элементов оборудования должна быть не более 65 °C.
Приложение Б
(обязательное)
ИСПЫТАНИЕ НЕСУЩЕЙ СПОСОБНОСТИ
Б.1 Сущность метода
Стойка сиденья велотренажера класса S должна выдерживать четырехкратную максимальную массу тела, указанную производителем, но не менее 4000 Н.
Стойка сиденья велотренажера класса H должна выдерживать трехкратную максимальную массу тела, указанную производителем, но не менее 3000 Н.
Педали и шатуны тренажеров классов S и H должны выдерживать четырехкратную максимальную массу тела, указанную производителем, но не менее 4000 Н.
Фиксируют отсутствие опрокидывания тренажера, проверяют степень деформации или повреждений, а также функционирование велотренажера после проведения испытаний.
Б.2 Устройство нагружения
Устройство нагружения должно обеспечивать:
- вертикальную статическую нагрузку к стойке сиденья велотренажера класса S величиной 4000 Н или четырехкратную максимальную массу тела, указанную производителем, в течение 5 мин;
- вертикальную статическую нагрузку к стойке сиденья велотренажера класса H величиной 3000 Н или трехкратную максимальную массу тела, указанную производителем, в течение 5 мин;
- вертикальную статическую нагрузку к педалям и шатунам велотренажеров классов S и H величиной 4000 Н или четырехкратную максимальную массу тела, указанную производителем, в течение 5 мин.
Б.3 Процедура
Испытания проводят без сиденья в наименее устойчивом положении тренажера.
Прикладывают установленную в Б.2 нагрузку к стойке сиденья велотренажера класса S в течение 5 мин.
Прикладывают установленную в Б.2 нагрузку к стойке сиденья велотренажера класса H в течение 5 мин.
Прикладывают установленную в Б.2 нагрузку к педалям и шатунам велотренажеров классов S и H в течение 5 мин.
Фиксируют отсутствие опрокидывания тренажера.
Измеряют величину деформаций.
При испытаниях величина смещения зафиксированной стойки сиденья внутрь подседельной трубы должна быть не более 5 мм.
После испытаний тренажер должен функционировать в соответствии с инструкцией производителя.
Приложение В
(обязательное)
ИСПЫТАНИЕ РУЛЯ
В.1 Сущность метода
Испытания руля велотренажеров классов S и H проводят, прикладывая вертикальную статическую нагрузку, величина которой в полтора раза превышает максимальную массу тела, указанную производителем, но не менее 1500 Н, и горизонтальную статическую нагрузку, величина которой составляет 50% максимальной массы тела, указанной производителем, но не менее 500 Н, в течение 5 мин.
Руль должен выдерживать нагрузку без повреждений, а остаточная деформация должна быть не более 10%.
По окончании испытания руль должен функционировать в соответствии с инструкцией по эксплуатации, предоставленной производителем.
В.2 Устройство нагружения
Устройство нагружения должно обеспечивать:
- вертикальную статическую нагрузку, величина которой в полтора раза превышает максимальную массу тела, указанную производителем, но не менее 1500 Н;
- горизонтальную статическую нагрузку, величина которой составляет 50% максимальной массы тела, указанной производителем, но не менее 500 Н.
В.3 Процедура
Прикладывают установленные в В.2 вертикальную и горизонтальную нагрузки к рулю в течение 5 мин.
Руль должен выдерживать нагрузку без повреждений, а остаточная деформация должна быть не более 10%.
По окончании испытания руль должен функционировать в соответствии с инструкцией по эксплуатации, предоставленной производителем.
Приложение Г
(обязательное)
ИСПЫТАНИЕ ВЕЛОТРЕНАЖЕРА НА УСТОЙЧИВОСТЬ
Г.1 Сущность метода
Велотренажер не должен опрокидываться во время выполнения любого из упражнений, указанных в руководстве пользователя.
Г.2 Устройство нагружения
Испытатель в защитном костюме, масса тела которого равна максимальной массе тела, указанной в руководстве пользователя, но не менее (100 +/- 5) кг.
Центр тяжести испытателя должен быть расположен в (300 +/- 20) мм над сиденьем.
Г.3 Процедура
Испытания проводят при наклоне оборудования на 10° в наименее устойчивом направлении при скорости 100 об/мин в течение 1 мин в следующих положениях:
- сидя, руки на руле;
- сидя, руки не на руле;
- стоя, руки на руле.
Велотренажер размещают на ровной поверхности. Сиденье устанавливают в крайнее верхнее положение и в самое дальнее заднее положение.
Сиденье велотренажера нагружают согласно Г.2.
При испытаниях тренажер не должен опрокидываться во время выполнения любого из упражнений, указанных в руководстве пользователя.
Приложение Д
(обязательное)
ИСПЫТАНИЕ АВАРИЙНОГО ТОРМОЗА
Д.1 Сущность метода
Проверяют остановку тренажера (в обоих направлениях) в течение одного полного оборота шатуна педали при активации аварийного ножного тормоза от себя (толчком) с максимальным усилием величиной 100 Н или на себя (тяга) с максимальным усилием величиной 50 Н.
Проверяют остановку тренажера при активации ручного тормоза с усилием величиной 300 Н.
Рычаг тормоза должен выдерживать приложенную нагрузку без повреждений, а величина деформации должна быть не более 3%.
Д.2 Устройство нагружения
Д.2.1 Устройство нагружения при испытаниях ножного тормоза должно обеспечивать усилие:
- в направлении от себя (толчком) величиной 100 Н;
- в направлении на себя (тяга) величиной 50 Н.
Д.2.2 Устройство нагружения при испытаниях ручного тормоза должно обеспечивать усилие величиной 300 Н в течение не менее 15 с.
Д.3 Процедура
Обеспечивают работу велотренажера с фиксированным колесом или без муфты свободного хода при скорости 120 об/мин без сопротивления.
Д.3.1 Активируют ножной тормоз с соответствующим усилием в соответствии с Д.2.1 в центре тормозного механизма (например, рычаг).
Шатун педали должен остановиться в течение одного круга.
Д.3.2 Активируют ручной тормоз с усилием 300 Н в соответствии с Д.2.2 в течение не менее 15 с.
Д.3.3 Рычаг тормоза должен выдерживать приложенную нагрузку без повреждений, а величина деформации должна быть не более 3%.
Приложение Е
(обязательное)
ИСПЫТАНИЕ ШАТУНА ПЕДАЛИ
Е.1 Сущность метода
Проводят динамические испытания шатуна педали, прикладывая динамическую нагрузку величиной (750 +/- 10) Н с частотой 25 Гц в течение 106 циклов для велотренажеров класса S и 120000 циклов для велотренажеров класса H, после чего проводят статические испытания.
Шатун педали должен выдерживать заданные динамическую и статическую нагрузки.
Е.2 Испытательное устройство
Е.2.1 Испытательное устройство должно обеспечить динамическую нагрузку величиной (750 +/- 10) Н с частотой 25 Гц в течение:
- 106 циклов для велотренажеров класса S;
- 120000 циклов для велотренажеров класса H.
Е.2.2 Испытательное устройство должно обеспечить статическую нагрузку величиной 4000 Н.
Е.3 Процедура
Раму велотренажера в комплекте с шатуном педали в собранном состоянии закрепляют на испытательном стенде и прикладывают указанную в Е.2.1 динамическую нагрузку на одну педаль в ее нижнем положении. Нагрузку прикладывают в центральной точке оси или вала педали согласно рисунку Е.1.
Рисунок Е.1 - Схема приложения нагрузки при испытаниях
шатуна педали
По окончании динамических испытаний прикладывают статическую нагрузку величиной 4000 Н в течение 5 мин.
После приложения статической нагрузки на шатуне педали в собранном состоянии не должно быть повреждений или нарушений работоспособности конструкции.