Главная // Актуальные документы // ГОСТ Р (Государственный стандарт)СПРАВКА
Источник публикации
М.: ИПК Издательство стандартов, 2002
Примечание к документу
Документ
введен в действие с 1 января 2004 года.
Название документа
"ГОСТ Р МЭК 61223-2-11-2001. Государственный стандарт Российской Федерации. Оценка и контроль эксплуатационных параметров рентгеновской аппаратуры в отделениях (кабинетах) рентгенодиагностики. Часть 2-11. Испытания на постоянство параметров. Аппараты для общей прямой рентгенографии"
(принят и введен в действие Постановлением Госстандарта России от 28.12.2001 N 605-ст)
"ГОСТ Р МЭК 61223-2-11-2001. Государственный стандарт Российской Федерации. Оценка и контроль эксплуатационных параметров рентгеновской аппаратуры в отделениях (кабинетах) рентгенодиагностики. Часть 2-11. Испытания на постоянство параметров. Аппараты для общей прямой рентгенографии"
(принят и введен в действие Постановлением Госстандарта России от 28.12.2001 N 605-ст)
Принят и введен в действие
Госстандарта России
от 28 декабря 2001 г. N 605-ст
ГОСУДАРСТВЕННЫЙ СТАНДАРТ РОССИЙСКОЙ ФЕДЕРАЦИИ
ОЦЕНКА И КОНТРОЛЬ ЭКСПЛУАТАЦИОННЫХ ПАРАМЕТРОВ
РЕНТГЕНОВСКОЙ АППАРАТУРЫ В ОТДЕЛЕНИЯХ
(КАБИНЕТАХ) РЕНТГЕНОДИАГНОСТИКИ
ЧАСТЬ 2-11
ИСПЫТАНИЯ НА ПОСТОЯНСТВО ПАРАМЕТРОВ.
АППАРАТЫ ДЛЯ ОБЩЕЙ ПРЯМОЙ РЕНТГЕНОГРАФИИ
Evaluation and routine testing
in medical imaging departments. Part 2-11. Constancy tests.
Equipment for general direct radiography
ГОСТ Р МЭК 61223-2-11-2001
Дата введения
1 января 2004 года
1. Разработан Всероссийским научно-исследовательским и испытательным институтом медицинской техники (ВНИИИМТ).
Внесен Техническим комитетом по стандартизации ТК 411 "Аппараты и оборудование для лучевой диагностики, терапии и дозиметрии".
2. Принят и введен в действие
Постановлением Госстандарта России от 28 декабря 2001 г. N 605-ст.
3. Настоящий стандарт представляет собой аутентичный текст международного стандарта МЭК 61223-2-11-99 "Оценка и контроль эксплуатационных параметров рентгеновской аппаратуры в отделениях (кабинетах) рентгенодиагностики. Часть 2-11. Испытания на постоянство параметров. Аппараты для общей прямой рентгенографии".
4. Введен впервые.
Настоящий стандарт является прямым применением международного стандарта МЭК 61223-2-11-99 "Оценка и контроль эксплуатационных параметров рентгеновской аппаратуры в отделениях (кабинетах) рентгенодиагностики. Часть 2-11. Испытания на постоянство параметров. Аппараты для общей прямой рентгенографии", подготовленного Подкомитетом 62В "Аппараты для лучевой диагностики" Технического комитета МЭК 62 "Изделия медицинские электрические".
В настоящем стандарте используемые термины выделены прописным шрифтом, методы испытаний - курсивом.
1.1. Область распространения
Настоящий стандарт распространяется на компоненты РЕНТГЕНОВСКОГО АППАРАТА, которые:
a) генерируют, влияют на распространение и регистрируют РЕНТГЕНОВСКОЕ ИЗЛУЧЕНИЕ;
b) обрабатывают, представляют и хранят диагностическую рентгеновскую информацию в РЕНТГЕНОРАДИОЛОГИЧЕСКОМ ОБОРУДОВАНИИ с диагностическими рентгеновскими системами, использующими РЕНТГЕНОГРАФИЧЕСКУЮ ПЛЕНКУ в ПРЯМОЙ РЕНТГЕНОГРАФИИ.
Настоящий стандарт является очередным в серии частных стандартов, определяющих методы испытаний постоянства функционирования различных подсистем диагностического РЕНТГЕНОВСКОГО АППАРАТА.
Настоящий стандарт не распространяется на аппараты специального назначения, такие как РЕНТГЕНОВСКИЙ АППАРАТ для маммографии или дентальный РЕНТГЕНОВСКИЙ АППАРАТ.
Настоящий стандарт определяет методы проверки постоянства свойств диагностического РЕНТГЕНОВСКОГО АППАРАТА по
ГОСТ Р 51746.
Настоящий стандарт разработан для общей прямой рентгенографии без цифровых устройств визуализации изображения.
Требования настоящего стандарта являются обязательными.
1.2. Цель
Настоящий стандарт определяет:
- эксплуатационные параметры, характеризующие работу или влияющие на работу узлов РЕНТГЕНОВСКОГО АППАРАТА;
- методы испытаний, позволяющие установить, что значения измеряемых параметров находятся в установленных пределах, обеспечивая тем самым получение соответствующего качества изображения и предотвращая неоправданное ОБЛУЧЕНИЕ ПАЦИЕНТА.
Методы испытаний основаны на оценке РЕНТГЕНОГРАММ соответствующих ТЕСТ-ОБЪЕКТОВ.
Цель испытаний:
- определить и зафиксировать базовый уровень эксплуатационных параметров аппарата;
- определить любое значительное отклонение эксплуатационных параметров, которое может потребовать принятия необходимых мер.
Так как РЕНТГЕНОРАДИОЛОГИЧЕСКОЕ ОБОРУДОВАНИЕ имеет существенные отличия друг от друга, невозможно в настоящем стандарте конкретно указать значения и допуски параметров, являющихся критериями приемлемости. Однако указана степень изменений, требующих принятия необходимых мер.
Настоящий стандарт не рассматривает вопросы:
- механической и электрической безопасности;
- контроля эффективности средств защиты от РЕНТГЕНОВСКОГО ИЗЛУЧЕНИЯ;
- улучшения качества изображения.
Методы измерений, проводимые до методов настоящего стандарта, - по нормативным документам
(раздел 2).
В настоящем стандарте использованы ссылки на следующие стандарты:
ГОСТ Р 50267.0.3-99 (МЭК 60601-1-3-94) Изделия медицинские электрические. Часть 1. Общие требования к безопасности. 3. Общие требования к защите от излучения в диагностических рентгеновских аппаратах
ГОСТ Р 51746-2001 (МЭК 61223-1-93) Оценка и контроль эксплуатационных параметров рентгеновской аппаратуры в отделениях (кабинетах) рентгенодиагностики. Общие требования
ГОСТ Р 51818-2001 (МЭК 61223-2-3-93) Оценка и контроль эксплуатационных параметров рентгеновской аппаратуры в отделениях (кабинетах) рентгенодиагностики. Часть 2-3. Испытания на постоянство параметров. Неактиничность освещения фотолабораторий
ГОСТ Р МЭК 61223-2-1-2001 Оценка и контроль эксплуатационных параметров рентгеновской аппаратуры в отделениях (кабинетах) рентгенодиагностики. Часть 2-1. Испытания на постоянство параметров. Устройства для фотохимической обработки пленки
ГОСТ Р МЭК 61223-2-2-2001 Оценка и контроль эксплуатационных параметров рентгеновской аппаратуры в отделениях (кабинетах) рентгенодиагностики. Часть 2-2. Испытания на постоянство параметров. Рентгенографические кассеты и сменщики пленки
МЭК 60788-84 <*> Медицинская радиационная техника. Термины и определения.
--------------------------------
<*> Международный стандарт находится во ВНИИКИ Госстандарта России.
3.1. Степень обязательности требований
В настоящем стандарте использованы следующие вспомогательные термины:
должен - соответствие требованиям обязательно;
рекомендуется - соответствие требованиям рекомендовано, но необязательно;
может - используется для описания допустимых путей достижения соответствия настоящим требованиям;
установленный - при употреблении в сочетании с параметрами или условиями относится к конкретному значению или стандартизованным положениям, обычно к таким, которые установлены стандартом или требованием закона (МЭК 60788, определение МР-74-01);
нормируемый - при употреблении в сочетании с параметрами или условиями относится к нормам или положениям, которые подлежат выбору для рассматриваемых целей и обычно указываются в ЭКСПЛУАТАЦИОННЫХ ДОКУМЕНТАХ (МЭК 60788, определение МР-74-02).
3.2. Используемые термины
В настоящем стандарте термины, выделенные прописным шрифтом, применяют в соответствии с МЭК 60788,
ГОСТ Р 51746, ГОСТ Р 51818, ГОСТ Р МЭК 61223-2-1, ГОСТ Р МЭК 61223-2-2
(Приложение A).
4. Общие принципы ИСПЫТАНИЙ НА ПОСТОЯНСТВО ПАРАМЕТРОВ
Методы ИСПЫТАНИЙ НА ПОСТОЯНСТВО ПАРАМЕТРОВ предназначены для того, чтобы ОПЕРАТОР мог обнаружить изменения качества изображений, получаемых с помощью РЕНТГЕНОВСКОГО АППАРАТА.
Для обеспечения достоверности результатов ИСПЫТАНИЙ НА ПОСТОЯНСТВО ПАРАМЕТРОВ необходимо убедиться, что на эти результаты повлияло только изменение проверяемых параметров.
В частности, следует обратить особое внимание на неактиничность освещения лабораторий и условия обработки пленки
(раздел 2). При использовании НЕГАТОСКОПОВ особое внимание следует обратить на условия освещенности.
Следует тщательно подготовить рабочие и испытательные условия, учитывая воздействие факторов окружающей среды.
Все испытываемые аппараты и измерительные устройства должны иметь четкую маркировку для облегчения их идентификации при первичных и последующих ИСПЫТАНИЯХ НА ПОСТОЯНСТВО ПАРАМЕТРОВ.
В
Приложении D приводится подробное описание отдельных ТЕСТ-ОБЪЕКТОВ, необходимых для выполнения измерений, проводимых по
разделу 5 настоящего стандарта. На практике можно использовать составной (комбинированный) ТЕСТ-ОБЪЕКТ, объединяющий свойства нескольких отдельных ТЕСТ-ОБЪЕКТОВ. Более того, часть описанных в
разделе 5 испытаний может быть выполнена одновременно.
Примечание. Если ИЗГОТОВИТЕЛЬ в ЭКСПЛУАТАЦИОННЫХ ДОКУМЕНТАХ дает указания по методам и частоте проведения ИСПЫТАНИЙ НА ПОСТОЯНСТВО ПАРАМЕТРОВ, необходимо следовать этим указаниям.
4.1. Условия, влияющие на проведение испытаний
ИСПЫТАНИЯ НА ПОСТОЯНСТВО ПАРАМЕТРОВ, описанные в настоящем стандарте, проводят так, чтобы на результаты испытаний влияли только изменения проверяемых параметров. При проведении испытаний количество тестовых инструментов и измерительных приборов сводят к минимуму и ограничиваются, по возможности, пассивными, простыми и надежными в эксплуатации устройствами.
Важно:
- проводить ИСПЫТАНИЯ НА ПОСТОЯНСТВО ПАРАМЕТРОВ с ПАРАМЕТРАМИ НАГРУЗКИ, наиболее часто используемыми в клинической практике;
- регистрировать и воспроизводить при каждом испытании все основные установки РЕНТГЕНОВСКОГО АППАРАТА и ПРИСПОСОБЛЕНИЙ и проверять, чтобы использовалась та же аппаратура, компоненты и ПРИСПОСОБЛЕНИЯ;
- при оценке результатов испытаний учитывать воздействие колебаний сетевого напряжения;
- использовать РЕНТГЕНОГРАФИЧЕСКУЮ ПЛЕНКУ, обработанную и проверенную в соответствии с нормативными документами
(раздел 2);
- регулярно проверять функциональные характеристики контрольно-измерительной аппаратуры, в частности, при подозрении на какое-либо значительное изменение в РЕНТГЕНОВСКОМ АППАРАТЕ.
Примечание. Измерительная аппаратура должна соответствовать нормативным документам.
До начала ИСПЫТАНИЙ НА ПОСТОЯНСТВО ПАРАМЕТРОВ необходимо проверить качество РЕНТГЕНОГРАФИЧЕСКИХ КАССЕТ, РЕНТГЕНОГРАФИЧЕСКОЙ ПЛЕНКИ, условия обработки и просмотра пленки.
4.2. Определение БАЗОВЫХ ЗНАЧЕНИЙ
При введении в эксплуатацию нового РЕНТГЕНОВСКОГО АППАРАТА либо при замене компонентов РЕНТГЕНОВСКОГО АППАРАТА, ПРИСПОСОБЛЕНИЙ, которые могут повлиять на результаты испытаний, проводят первичные ИСПЫТАНИЯ НА ПОСТОЯНСТВО ПАРАМЕТРОВ непосредственно после проведения ПРИЕМОЧНЫХ ИСПЫТАНИЙ или ПЕРИОДИЧЕСКИХ ИСПЫТАНИЙ, подтверждающих удовлетворительный уровень эксплуатационных параметров. Цель первичных ИСПЫТАНИЙ НА ПОСТОЯНСТВО ПАРАМЕТРОВ - установить новые БАЗОВЫЕ ЗНАЧЕНИЯ проверяемых параметров.
4.3. Периодичность ИСПЫТАНИЙ НА ПОСТОЯНСТВО ПАРАМЕТРОВ
Частоту проведения ИСПЫТАНИЙ НА ПОСТОЯНСТВО ПАРАМЕТРОВ определяют в соответствии с соответствующими разделами настоящего стандарта. Кроме этого, ИСПЫТАНИЯ НА ПОСТОЯНСТВО ПАРАМЕТРОВ проводят:
- при подозрении на неисправность аппарата;
- сразу после проведения технического обслуживания, которое могло изменить проверяемые параметры;
- для подтверждения результатов испытания в тех случаях, когда эти результаты вышли за установленные пределы.
Протоколы испытаний с БАЗОВЫМИ ЗНАЧЕНИЯМИ хранят до следующих первичных ИСПЫТАНИЙ НА ПОСТОЯНСТВО ПАРАМЕТРОВ. Результаты ИСПЫТАНИЙ НА ПОСТОЯНСТВО ПАРАМЕТРОВ хранят не менее двух лет.
4.4. Идентификация аппаратов, контрольно-измерительных приборов и условий испытаний
Все подвергающиеся испытаниям и используемые при испытаниях РЕНТГЕНОВСКИЕ АППАРАТЫ должны быть идентифицированы.
Взаимозаменяемые компоненты РЕНТГЕНОВСКОГО АППАРАТА, такие как:
- ДОПОЛНИТЕЛЬНЫЕ ФИЛЬТРЫ;
- УСТРОЙСТВО ФОРМИРОВАНИЯ ПУЧКА;
- СТОЛ ДЛЯ ПАЦИЕНТА или другой ослабляющий материал в ПУЧКЕ ИЗЛУЧЕНИЯ;
- ДЕТЕКТОР ИЗЛУЧЕНИЯ СИСТЕМЫ АВТОМАТИЧЕСКОГО УПРАВЛЕНИЯ;
- ОТСЕИВАЮЩИЙ РАСТР,
совместно с частями испытательного оборудования, такими как:
- комбинация РЕНТГЕНОГРАФИЧЕСКОЙ КАССЕТЫ и УСИЛИВАЮЩИХ ЭКРАНОВ;
- ТЕСТ-ОБЪЕКТЫ;
- РЕНТГЕНОГРАФИЧЕСКИЕ ПЛЕНКИ (тип и номер эмульсии);
- УСТРОЙСТВО ДЛЯ ФОТОХИМИЧЕСКОЙ ОБРАБОТКИ ПЛЕНКИ;
- сенситометр;
- денситометр,
а также с уставками переменных параметров, такими как:
- РАССТОЯНИЕ ОТ ФОКУСНОГО ПЯТНА ДО ПРИЕМНИКА ИЗОБРАЖЕНИЯ;
- плотность почернения и положение датчика в СИСТЕМЕ АВТОМАТИЧЕСКОГО УПРАВЛЕНИЯ;
- ПАРАМЕТРЫ НАГРУЗКИ;
- номинальный размер ФОКУСНОГО ПЯТНА (при необходимости), необходимо промаркировать и/или зарегистрировать, чтобы узлы и уставки, используемые при первичных ИСПЫТАНИЯХ НА ПОСТОЯНСТВО ПАРАМЕТРОВ, также использовались с аппаратом и при последующих испытаниях.
Примечания. 1. Большинство испытаний следует проводить с РЕНТГЕНОГРАФИЧЕСКОЙ КАССЕТОЙ, которая использовалась при первичных ИСПЫТАНИЯХ НА ПОСТОЯНСТВО ПАРАМЕТРОВ. Эту кассету (далее - испытательную кассету) можно использовать только для испытаний и хранить отдельно либо использовать ее вместе с другими кассетами в клинической практике, но с соответствующей пометкой. В первом случае мы имеем надежный способ выявления изменений параметров аппаратуры, во втором случае выявляются общие изменения параметров всей системы, включая изменения, обусловленные старением кассеты.
2. Все РЕНТГЕНОГРАФИЧЕСКИЕ ПЛЕНКИ, используемые для испытаний, должны быть того же типа, что и пленка, используемая при ИСПЫТАНИИ НА ПОСТОЯНСТВО ПАРАМЕТРОВ УСТРОЙСТВА для ФОТОХИМИЧЕСКОЙ ОБРАБОТКИ ПЛЕНКИ.
РЕНТГЕНОГРАММЫ ТЕСТ-ОБЪЕКТА следует выполнять с испытательной кассетой с теми же УСИЛИВАЮЩИМИ ЭКРАНАМИ и тем же типом пленки. РЕНТГЕНОГРАФИЧЕСКАЯ ПЛЕНКА должна быть обработана в аналогичных условиях; следует также обратить внимание на то, чтобы замена партии пленки проводилась по методу, указанному в ГОСТ Р МЭК 61223-2-1. При изменении типа пленки и/или условий ее обработки следует провести новые первичные ИСПЫТАНИЯ НА ПОСТОЯНСТВО ПАРАМЕТРОВ.
4.5. Измеряемые эксплуатационные параметры
Способность аппарата для прямой РЕНТГЕНОГРАФИИ получать изображения считают постоянной, если изменения следующих показателей удовлетворяют применяемым критериям:
- выходное ИЗЛУЧЕНИЕ из БЛОКА ИСТОЧНИКА РЕНТГЕНОВСКОГО ИЗЛУЧЕНИЯ
(5.1);
- входное ИЗЛУЧЕНИЕ на ПОВЕРХНОСТИ ПРИЕМНИКА ИЗОБРАЖЕНИЯ
(5.2);
- геометрические характеристики
(5.3);
- разрешающая способность для высококонтрастных деталей
(5.4);
- изменения оптической плотности на всей РЕНТГЕНОГРАММЕ
(5.5).
На постоянство параметров могут влиять изменения одного или нескольких следующих параметров:
- значение и форма сетевого напряжения;
- значение и форма АНОДНОГО НАПРЯЖЕНИЯ;
- АНОДНЫЙ ТОК;
- ВРЕМЯ НАГРУЗКИ;
- ВРЕМЯ ОБЛУЧЕНИЯ в режиме АВТОМАТИЧЕСКОГО УПРАВЛЕНИЯ ЭКСПОЗИЦИОННОЙ ДОЗОЙ;
- ФИЛЬТРАЦИЯ и ОСЛАБЛЕНИЕ слоями материала в ПУЧКЕ ИЗЛУЧЕНИЯ;
- неровность МИШЕНИ в АНОДЕ РЕНТГЕНОВСКОЙ ТРУБКИ;
- расстояния между областями интереса и ФОКУСНЫМ ПЯТНОМ;
- ограничение ПУЧКА ИЗЛУЧЕНИЯ;
- направление ПУЧКА ИЗЛУЧЕНИЯ;
- ориентация ПУЧКА ИЗЛУЧЕНИЯ по отношению к ПОВЕРХНОСТИ ПРИЕМНИКА ИЗОБРАЖЕНИЯ;
- совпадение РАДИАЦИОННОГО ПОЛЯ и поля, определенного СВЕТОВЫМ УКАЗАТЕЛЕМ ПОЛЯ;
- движение ДВИЖУЩЕГОСЯ РАСТРА;
- расположение ОТСЕИВАЮЩЕГО РАСТРА;
- свойства ФОКУСНОГО ПЯТНА, влияющие на изображение;
- механическая стабильность.
5.1. Выходное ИЗЛУЧЕНИЕ из БЛОКА ИСТОЧНИКА РЕНТГЕНОВСКОГО ИЗЛУЧЕНИЯ
5.1.1. Общие положения
Значение выходного ИЗЛУЧЕНИЯ из БЛОКА ИСТОЧНИКА РЕНТГЕНОВСКОГО ИЗЛУЧЕНИЯ измеряют ИЗМЕРИТЕЛЕМ ИЗЛУЧЕНИЯ. В зависимости от типа или назначения РЕНТГЕНОВСКОГО АППАРАТА измерения проводят в режиме ручного и/или АВТОМАТИЧЕСКОГО УПРАВЛЕНИЯ ЭКСПОЗИЦИОННОЙ ДОЗОЙ.
5.1.2. Испытательное оборудование
Для измерений используют интегрирующий ИЗМЕРИТЕЛЬ ИЗЛУЧЕНИЯ общей воспроизводимостью +/- 5% (с учетом долговременной стабильности, шума прибора и погрешности считывания результата).
При испытании в РЕЖИМЕ АВТОМАТИЧЕСКОГО УПРАВЛЕНИЯ ЭКСПОЗИЦИОННОЙ ДОЗОЙ в качестве имитации ПАЦИЕНТА используют ФАНТОМ для ОСЛАБЛЕНИЯ, который обеспечивает соответствующее ОСЛАБЛЕНИЕ и увеличение жесткости ПУЧКА РЕНТГЕНОВСКОГО ИЗЛУЧЕНИЯ. Подробное описание, включая рассмотрение корректного выбора ФАНТОМА для ОСЛАБЛЕНИЯ, приводится в
Приложении D.
5.1.3. Проведение испытаний
ДЕТЕКТОР ИЗЛУЧЕНИЯ ИЗМЕРИТЕЛЯ ИЗЛУЧЕНИЯ помещают в ПУЧОК ИЗЛУЧЕНИЯ, выходящий из БЛОКА ИСТОЧНИКА РЕНТГЕНОВСКОГО ИЗЛУЧЕНИЯ.
Условия проведения испытаний:
- расстояние ДЕТЕКТОРА ИЗЛУЧЕНИЯ от ФОКУСНОГО ПЯТНА;
- положение ДЕТЕКТОРА ИЗЛУЧЕНИЯ в РАДИАЦИОННОМ ПОЛЕ - должны воспроизводиться с пределами допускаемых отклонений +/- 1% расстояния от ФОКУСНОГО ПЯТНА до ДЕТЕКТОРА ИЗЛУЧЕНИЯ, используемого при первичных ИСПЫТАНИЯХ НА ПОСТОЯНСТВО ПАРАМЕТРОВ. Используют РАДИАЦИОННОЕ ПОЛЕ такого же размера, как и при первичных ИСПЫТАНИЯХ НА ПОСТОЯНСТВО ПАРАМЕТРОВ.
По возможности, испытание проводят в режиме как ручного, так и АВТОМАТИЧЕСКОГО УПРАВЛЕНИЯ ЭКСПОЗИЦИОННОЙ ДОЗОЙ.
5.1.3.1. Испытание в режиме ручного управления экспозицией
РЕНТГЕНОВСКИЙ АППАРАТ включают, установив вручную ПАРАМЕТРЫ НАГРУЗКИ, которые использовались при первичном ИСПЫТАНИИ НА ПОСТОЯНСТВО ПАРАМЕТРОВ.
Показания ИЗМЕРИТЕЛЯ ИЗЛУЧЕНИЯ регистрируют.
5.1.3.2. Испытание в режиме АВТОМАТИЧЕСКОГО УПРАВЛЕНИЯ ЭКСПОЗИЦИОННОЙ ДОЗОЙ
БЛОК ИСТОЧНИКА РЕНТГЕНОВСКОГО ИЗЛУЧЕНИЯ центрируют по отношению к ПРИЕМНИКУ РЕНТГЕНОВСКОГО ИЗОБРАЖЕНИЯ, как это делают в обычной клинической практике.
ФАНТОМ для ОСЛАБЛЕНИЯ размещают в ПУЧКЕ ИЗЛУЧЕНИЯ между ДЕТЕКТОРОМ ИЗЛУЧЕНИЯ ИЗМЕРИТЕЛЯ ИЗЛУЧЕНИЯ и ДЕТЕКТОРАМИ ИЗЛУЧЕНИЯ СИСТЕМЫ АВТОМАТИЧЕСКОГО УПРАВЛЕНИЯ.
Следят за тем, чтобы положение ДЕТЕКТОРА ИЗЛУЧЕНИЯ ИЗМЕРИТЕЛЯ ИЗЛУЧЕНИЯ не влияло на работу СИСТЕМЫ АВТОМАТИЧЕСКОГО УПРАВЛЕНИЯ.
Примечание. Каждый ДЕТЕКТОР ИЗЛУЧЕНИЯ должен иметь инструкцию по его размещению для сведения к минимуму воздействия на систему АВТОМАТИЧЕСКОГО УПРАВЛЕНИЯ ЭКСПОЗИЦИОННОЙ ДОЗОЙ. При использовании ФАНТОМА для ОСЛАБЛЕНИЯ, который прикреплен к БЛОКУ ИСТОЧНИКА РЕНТГЕНОВСКОГО ИЗЛУЧЕНИЯ (А2 или А3), необходимо учитывать, что измерение проводят за ФАНТОМОМ (если чувствительность ДЕТЕКТОРА ИЗЛУЧЕНИЯ допускает это).
Незаряженную РЕНТГЕНОГРАФИЧЕСКУЮ КАССЕТУ помещают в СМЕНЩИК КАССЕТ и включают РЕНТГЕНОВСКИЙ АППАРАТ с СИСТЕМОЙ АВТОМАТИЧЕСКОГО УПРАВЛЕНИЯ, используя те же значения АНОДНОГО НАПРЯЖЕНИЯ, что и при первичном ИСПЫТАНИИ НА ПОСТОЯНСТВО ПАРАМЕТРОВ. Используют такую же РЕНТГЕНОГРАФИЧЕСКУЮ КАССЕТУ.
Регистрируют показания ИЗМЕРИТЕЛЯ ИЗЛУЧЕНИЯ. Кроме этого, после каждого проведенного ОБЛУЧЕНИЯ регистрируют ВРЕМЯ ОБЛУЧЕНИЯ, ПРОИЗВЕДЕНИЕ ТОК-ВРЕМЯ и т.д., если они индицируются.
5.1.4. Оценка результатов
Сравнивают измеренные значения выходного ИЗЛУЧЕНИЯ и установленные БАЗОВЫЕ ЗНАЧЕНИЯ.
5.1.5. Критерии оценки
5.1.5.1. Испытание в режиме ручного управления
Значение выходного ИЗЛУЧЕНИЯ должно отличаться от БАЗОВОГО ЗНАЧЕНИЯ в пределах +/- 20%.
5.1.5.2. Испытание в режиме АВТОМАТИЧЕСКОГО УПРАВЛЕНИЯ ЭКСПОЗИЦИОННОЙ ДОЗОЙ
Критерии оценки зависят от материала используемого ОСЛАБЛЯЮЩЕГО ФАНТОМА.
Если используют материал с небольшим атомным номером (максимум 14), например воду, полиметилметакрилат (ПММА), алюминий, отклонение выходного ИЗЛУЧЕНИЯ должно быть в пределах от плюс 25% до минус 20% БАЗОВОГО ЗНАЧЕНИЯ. Для материалов с большим атомным номером, например медь или свинец, отличие выходного ИЗЛУЧЕНИЯ не должно превышать +/- 25% БАЗОВОГО ЗНАЧЕНИЯ.
При использовании свинца и АНОДНОГО НАПРЯЖЕНИЯ более 90 кВ отличие выходного ИЗЛУЧЕНИЯ должно соответствовать отличию выходного ИЗЛУЧЕНИЯ для материалов с небольшим атомным номером.
5.1.6. Необходимые меры
Если система не соответствует установленным критериям, необходимо принять меры, указанные в
Приложении C.
Примечание. Выходное ИЗЛУЧЕНИЕ постепенно уменьшается в связи со старением РЕНТГЕНОВСКОЙ ТРУБКИ. Учитывая этот фактор, следует время от времени регистрировать новые БАЗОВЫЕ ЗНАЧЕНИЯ. Это особенно важно для испытаний в режиме ручного управления, поскольку в РЕЖИМЕ АВТОМАТИЧЕСКОГО УПРАВЛЕНИЯ ЭКСПОЗИЦИОННОЙ ДОЗОЙ снижение выходного ИЗЛУЧЕНИЯ не фиксируется, так как имеет место его компенсация.
5.1.7. Периодичность ИСПЫТАНИЙ НА ПОСТОЯНСТВО ПАРАМЕТРОВ
Сначала серию ИСПЫТАНИЙ НА ПОСТОЯНСТВО ПАРАМЕТРОВ проводят ежедневно в течение не менее недели для получения БАЗОВЫХ ЗНАЧЕНИЙ по средним значениям измеренного выходного излучения.
Затем в течение 6 мес ИСПЫТАНИЯ НА ПОСТОЯНСТВО ПАРАМЕТРОВ повторяют один раз в две недели для оценки надежности работы БЛОКА ИСТОЧНИКА РЕНТГЕНОВСКОГО ИЗЛУЧЕНИЯ, РЕНТГЕНОВСКОГО ПИТАЮЩЕГО УСТРОЙСТВА и СИСТЕМЫ АВТОМАТИЧЕСКОГО УПРАВЛЕНИЯ. В дальнейшем ИСПЫТАНИЯ НА ПОСТОЯНСТВО ПАРАМЕТРОВ проводят в соответствии с требованиями ИНСТРУКЦИЙ ПО ЭКСПЛУАТАЦИИ, предоставляемых ИЗГОТОВИТЕЛЕМ. При их отсутствии ИСПЫТАНИЯ НА ПОСТОЯНСТВО ПАРАМЕТРОВ проводят не реже одного раза в квартал.
5.2. Входное ИЗЛУЧЕНИЕ на ПОВЕРХНОСТИ ПРИЕМНИКА ИЗОБРАЖЕНИЯ
5.2.1. Общие положения
Значение входного ИЗЛУЧЕНИЯ на ПОВЕРХНОСТИ ПРИЕМНИКА ИЗОБРАЖЕНИЯ определяют по оптической плотности, измеренной в определенных точках РЕНТГЕНОГРАММЫ. Также входное ИЗЛУЧЕНИЕ можно получить с помощью ИЗМЕРИТЕЛЯ ИЗЛУЧЕНИЯ.
Примечание. В то же время ИЗМЕРИТЕЛЬ ИЗЛУЧЕНИЯ не учитывает качества ПУЧКА РЕНТГЕНОВСКОГО ИЗЛУЧЕНИЯ. Таким образом, предпочтительнее использовать пленку.
В зависимости от типа и назначения РЕНТГЕНОВСКОГО АППАРАТА измерения проводят в режиме ручного и/или АВТОМАТИЧЕСКОГО УПРАВЛЕНИЯ ЭКСПОЗИЦИОННОЙ ДОЗОЙ.
5.2.2. Испытательное оборудование
Для испытания используют такие же ОТСЕИВАЮЩИЙ РАСТР, РЕНТГЕНОГРАФИЧЕСКУЮ КАССЕТУ и комбинацию экран-пленка, которые обычно используют с испытуемым РЕНТГЕНОВСКИМ АППАРАТОМ. Систематическая ошибка оптического денситометра должна быть в пределах +/- 0,02.
Можно также использовать интегрирующий ИЗМЕРИТЕЛЬ ИЗЛУЧЕНИЯ общей воспроизводимостью +/- 5% (с учетом долговременной стабильности, шума аппарата и качества считывания результата).
С целью имитации ПАЦИЕНТА используют ФАНТОМ для ОСЛАБЛЕНИЯ, который обеспечивает соответствующее ОСЛАБЛЕНИЕ и увеличение жесткости ПУЧКА РЕНТГЕНОВСКОГО ИЗЛУЧЕНИЯ. Кроме того, используют ТЕСТ-ОБЪЕКТ с маркером пленки для идентификации на РЕНТГЕНОГРАММЕ определенных точек, в которых измеряют оптическую плотность почернения.
Детальное описание и указание по корректному выбору ФАНТОМА ДЛЯ ОСЛАБЛЕНИЯ и ТЕСТ-ОБЪЕКТА с маркером пленки приводится в
Приложении D.
5.2.3. Методика испытания
Если в аппарате предусмотрено АВТОМАТИЧЕСКОЕ УПРАВЛЕНИЕ ЭКСПОЗИЦИОННОЙ ДОЗОЙ, ИСПЫТАНИЕ НА ПОСТОЯНСТВО ПАРАМЕТРОВ проводят в режиме автоматического управления. Кроме того, по возможности, испытания проводят и в режиме ручного управления.
БЛОК ИСТОЧНИКА РЕНТГЕНОВСКОГО ИЗЛУЧЕНИЯ центрируют по отношению к ПРИЕМНИКУ РЕНТГЕНОВСКОГО ИЗОБРАЖЕНИЯ, как это делают в обычной клинической практике.
Если испытания проводят с РЕНТГЕНОГРАФИЧЕСКОЙ КАССЕТОЙ, ее устанавливают в рабочее положение. При использовании ИЗМЕРИТЕЛЯ ИЗЛУЧЕНИЯ ДЕТЕКТОР ИЗЛУЧЕНИЯ размещают на ПОВЕРХНОСТИ ПРИЕМНИКА ИЗОБРАЖЕНИЯ. ФАНТОМ для ОСЛАБЛЕНИЯ и ТЕСТ-ОБЪЕКТ с маркером пленки размещают в ПУЧКЕ РЕНТГЕНОВСКОГО ИЗЛУЧЕНИЯ между ФОКУСНЫМ ПЯТНОМ и ПРИЕМНИКОМ РЕНТГЕНОВСКОГО ИЗОБРАЖЕНИЯ.
Для всех элементов испытательного оборудования расстояние от ФОКУСНОГО ПЯТНА и расположение в РАДИАЦИОННОМ ПОЛЕ должны воспроизводиться с точностью +/- 1% расстояния до ФОКУСНОГО ПЯТНА, используемого при ПЕРВИЧНОМ ИСПЫТАНИИ НА ПОСТОЯНСТВО ПАРАМЕТРОВ. Используют РАДИАЦИОННОЕ ПОЛЕ такого же размера.
Выбирают не менее двух уставок АНОДНОГО НАПРЯЖЕНИЯ, идентичных уставкам, используемым при первичных ИСПЫТАНИЯХ НА ПОСТОЯНСТВО ПАРАМЕТРОВ.
a) Испытание в режиме ручного управления
Перед включением РЕНТГЕНОВСКОГО АППАРАТА вручную устанавливают ПАРАМЕТРЫ НАГРУЗКИ, идентичные тем, которые использовались при первичном ИСПЫТАНИИ НА ПОСТОЯНСТВО ПАРАМЕТРОВ.
Экспонированную пленку обрабатывают в соответствии с процедурой, ссылка на которую дана в 4.4.
Измеряют оптическую плотность в определенных точках РЕНТГЕНОГРАММЫ или регистрируют показания ИЗМЕРИТЕЛЯ ИЗЛУЧЕНИЯ.
При замене партии пленки или изменении условий ее обработки измеренные значения оптической плотности корректируют в соответствии с процедурой, ссылка на которую дана в 4.4.
b) Испытание в РЕЖИМЕ АВТОМАТИЧЕСКОГО УПРАВЛЕНИЯ ЭКСПОЗИЦИОННОЙ ДОЗОЙ
Включают РЕНТГЕНОВСКИЙ АППАРАТ с СИСТЕМОЙ АВТОМАТИЧЕСКОГО УПРАВЛЕНИЯ, используя те же значения АНОДНОГО НАПРЯЖЕНИЯ и все соответствующие уставки, что и при первичном ИСПЫТАНИИ НА ПОСТОЯНСТВО ПАРАМЕТРОВ.
Повторяют процедуру по перечислению a) для испытания в режиме ручного управления.
5.2.4. Оценка результатов
Измеренные значения оптической плотности или входного ИЗЛУЧЕНИЯ сравнивают с БАЗОВЫМИ ЗНАЧЕНИЯМИ.
5.2.5. Критерии оценки
a) Испытания в режиме ручного управления
Отклонение оптической плотности почернения должно быть в пределах +/- 0,3 БАЗОВОГО ЗНАЧЕНИЯ. Если для измерений используют ИЗМЕРИТЕЛЬ ИЗЛУЧЕНИЯ, отклонение входного ИЗЛУЧЕНИЯ должно быть в пределах +/- 30% БАЗОВОГО ЗНАЧЕНИЯ.
b) Испытание в режиме АВТОМАТИЧЕСКОГО УПРАВЛЕНИЯ ЭКСПОЗИЦИОННОЙ ДОЗОЙ
Отклонение оптической плотности почернения должно быть в пределах +/- 0,15 БАЗОВОГО ЗНАЧЕНИЯ. Если для измерений используют ИЗМЕРИТЕЛЬ ИЗЛУЧЕНИЯ, отклонение значения входного ИЗЛУЧЕНИЯ должно быть в пределах +/- 15% БАЗОВОГО ЗНАЧЕНИЯ.
Указанные выше пределы применимы к РЕНТГЕНОГРАФИЧЕСКИМ ПЛЕНКАМ со средним градиентом от 2 до 3.
5.2.6. Необходимые меры
Если система не соответствует установленным критериям, необходимо принять меры, указанные в
Приложении C.
5.2.7. Периодичность ИСПЫТАНИЙ НА ПОСТОЯНСТВО ПАРАМЕТРОВ
Вначале серию ИСПЫТАНИЙ НА ПОСТОЯНСТВО ПАРАМЕТРОВ проводят ежедневно в течение не менее недели для получения БАЗОВЫХ ЗНАЧЕНИЙ по средним значениям оптической плотности или входного ИЗЛУЧЕНИЯ.
Затем ИСПЫТАНИЯ НА ПОСТОЯНСТВО ПАРАМЕТРОВ проводят согласно требованиям ИНСТРУКЦИИ ПО ЭКСПЛУАТАЦИИ, предоставляемой ИЗГОТОВИТЕЛЕМ. При отсутствии такой информации испытания проводят не реже одного раза в квартал.
5.3. Измерение геометрических характеристик
Испытания проводят для проверки постоянства следующих геометрических характеристик:
- обозначенного РАССТОЯНИЯ ОТ ФОКУСНОГО ПЯТНА ДО ПРИЕМНИКА ИЗОБРАЖЕНИЯ;
- перпендикулярности ОСИ ПУЧКА ИЗЛУЧЕНИЯ к ПЛОСКОСТИ ПРИЕМНИКА ИЗОБРАЖЕНИЯ.
Примечание. Обычно достаточно проверить опорное направление БЛОКА ИСТОЧНИКА РЕНТГЕНОВСКОГО ИЗЛУЧЕНИЯ по отношению к поверхности СТОЛА ДЛЯ ПАЦИЕНТА или к ВХОДНОЙ ПОВЕРХНОСТИ ПРИЕМНИКА РЕНТГЕНОВСКОГО ИЗОБРАЖЕНИЯ. В большинстве случаев отклонение от параллельности между этими поверхностями и ПЛОСКОСТЬЮ ПРИЕМНИКА ИЗОБРАЖЕНИЯ маловероятно;
- совпадения РАДИАЦИОННОГО и СВЕТОВОГО ПОЛЕЙ (
рисунок 202, ГОСТ Р 50267.0.3);
- совпадения РАДИАЦИОННОГО ПОЛЯ и ПРИЕМНИКА РЕНТГЕНОВСКОГО ИЗОБРАЖЕНИЯ (
рисунок 203, ГОСТ Р 50267.0.3);
- численного обозначения размера РАДИАЦИОННОГО ПОЛЯ (при его наличии).
5.3.2. Испытательное оборудование
Для испытания используют:
- рулетку;
- две кассеты разного формата с УСИЛИВАЮЩИМИ ЭКРАНАМИ (например 24 x 30 см и 35 x 43 см);
- РЕНТГЕНОГРАФИЧЕСКУЮ ПЛЕНКУ;
- линейку;
- уровень;
- ТЕСТ-ОБЪЕКТ для проверки перпендикулярности;
- ТЕСТ-ОБЪЕКТ для проверки ориентирования.
Для проверки перпендикулярности ОСИ ПУЧКА ИЗЛУЧЕНИЯ и ПЛОСКОСТИ ПРИЕМНИКА ИЗОБРАЖЕНИЯ используют соответствующий ТЕСТ-ОБЪЕКТ.
ТЕСТ-ОБЪЕКТ для проверки ориентирования используют для получения на РЕНТГЕНОГРАММЕ четкого обозначения ориентации этого ТЕСТ-ОБЪЕКТА, а также краев и центра СВЕТОВОГО ПОЛЯ.
Если ОБЛУЧЕНИЕ проводят в режиме АВТОМАТИЧЕСКОГО УПРАВЛЕНИЯ ЭКСПОЗИЦИОННОЙ ДОЗОЙ, при испытании в качестве имитации ПАЦИЕНТА используют ФАНТОМ для ОСЛАБЛЕНИЯ с целью обеспечения соответствующего ОСЛАБЛЕНИЯ и увеличения жесткости ПУЧКА РЕНТГЕНОВСКОГО ИЗЛУЧЕНИЯ.
Детальные описания ФАНТОМА для ОСЛАБЛЕНИЯ, ТЕСТ-ОБЪЕКТОВ для проверки перпендикулярности и ориентирования приводятся в
Приложении D.
5.3.3. Проведение испытания
5.3.3.1. Обозначенное РАССТОЯНИЕ ОТ ФОКУСНОГО ПЯТНА ДО ПРИЕМНИКА ИЗОБРАЖЕНИЯ
Этап 1. С помощью шкалы РЕНТГЕНОВСКОГО АППАРАТА устанавливают значение РАССТОЯНИЯ ОТ ФОКУСНОГО ПЯТНА ДО ПРИЕМНИКА ИЗОБРАЖЕНИЯ, используемое при первичных ИСПЫТАНИЯХ НА ПОСТОЯНСТВО ПАРАМЕТРОВ.
Этап 2. РАССТОЯНИЕ ОТ ФОКУСНОГО ПЯТНА ДО ПРИЕМНИКА ИЗОБРАЖЕНИЯ измеряют рулеткой. Если ФОКУСНОЕ ПЯТНО нечетко обозначено на поверхности БЛОКА ИСТОЧНИКА РЕНТГЕНОВСКОГО ИЗЛУЧЕНИЯ, измерения проводят от той точки поверхности БЛОКА ИСТОЧНИКА РЕНТГЕНОВСКОГО ИЗЛУЧЕНИЯ, которую использовали при первичных ИСПЫТАНИЯХ НА ПОСТОЯНСТВО ПАРАМЕТРОВ, например от самой близкой точки к ПРИЕМНИКУ РЕНТГЕНОВСКОГО ИЗОБРАЖЕНИЯ на БЛОКЕ ИСТОЧНИКА РЕНТГЕНОВСКОГО ИЗЛУЧЕНИЯ.
5.3.3.2 Другие геометрические характеристики РЕНТГЕНОВСКОГО ИЗЛУЧАТЕЛЯ, расположенного сверху (над декой стола) с постоянно заданными, регулируемыми вручную или автоматически СИСТЕМАМИ ФОРМИРОВАНИЯ ПУЧКА
Ниже приведена процедура одновременной проверки всех характеристик, перечисленных в
5.3.1.
Этап 1. Проверку горизонтальности СТОЛА ДЛЯ ПАЦИЕНТА проводят с помощью уровня. При использовании встроенного указателя угла наклона его проверяют, сравнивая с независимым уровнем, и, при необходимости, регулируют. Если регулировка невозможна, регистрируют отклонение.
Если СТОЛ ДЛЯ ПАЦИЕНТА нельзя привести в горизонтальное положение, регистрируют отклонение.
Этап 2. БЛОК ИСТОЧНИКА РЕНТГЕНОВСКОГО ИЗЛУЧЕНИЯ устанавливают в центре СТОЛА ДЛЯ ПАЦИЕНТА или ПОВЕРХНОСТИ ПРИЕМНИКА ИЗОБРАЖЕНИЯ, а ось РЕНТГЕНОВСКОГО ИЗЛУЧАТЕЛЯ устанавливают параллельно продольной оси СТОЛА ДЛЯ ПАЦИЕНТА, используя средства и индикаторные устройства, имеющиеся в аппарате. Выбирают то РАССТОЯНИЕ ОТ ФОКУСНОГО ПЯТНА ДО ПРИЕМНИКА ИЗОБРАЖЕНИЯ, которое использовалось при первичных ИСПЫТАНИЯХ НА ПОСТОЯНСТВО ПАРАМЕТРОВ.
Этап 3. Заряженную РЕНТГЕНОГРАФИЧЕСКУЮ КАССЕТУ размером 24 x 30 см (кассета P, рисунки 5a, 5b, 5c) помещают в центр СМЕНЩИКА КАССЕТ, определяемый зажимами. Центр СМЕНЩИКА КАССЕТ центрируют по отношению к РЕНТГЕНОВСКОМУ ИЗЛУЧАТЕЛЮ с помощью имеющихся в аппарате средств и фиксируют в этом положении.
Этап 4. При наличии постоянно заданной или регулируемой вручную СИСТЕМЫ ФОРМИРОВАНИЯ ПУЧКА переходят сразу к этапу 5.
Заряженную РЕНТГЕНОГРАФИЧЕСКУЮ КАССЕТУ размером 24 x 30 см (кассета Q, рисунок 5b) удерживают в плоскости, параллельной плоскости СТОЛА ДЛЯ ПАЦИЕНТА или ПРИЕМНИКА РЕНТГЕНОВСКОГО ИЗОБРАЖЕНИЯ, причем расстояние от кассеты до РЕНТГЕНОВСКОГО ИЗЛУЧАТЕЛЯ должно быть на 20 - 30 см меньше, чем до СТОЛА ДЛЯ ПАЦИЕНТА или ПРИЕМНИКА РЕНТГЕНОВСКОГО ИЗОБРАЖЕНИЯ. Кассету ориентируют таким образом, чтобы нормальная ВХОДНАЯ ПОВЕРХНОСТЬ была со стороны, противоположной РЕНТГЕНОВСКОМУ ИЗЛУЧАТЕЛЮ, и полностью перекрывала ПУЧОК РЕНТГЕНОВСКОГО ИЗЛУЧЕНИЯ.
С помощью СВЕТОВОГО УКАЗАТЕЛЯ ПОЛЯ измеряют расстояние от ФОКУСНОГО ПЯТНА до центра СВЕТОВОГО ПОЛЯ на кассете Q, значение регистрируют; края кассеты ориентируют параллельно краям СВЕТОВОГО ПОЛЯ.
Примечание. Кассеты P и Q находятся на разных расстояниях от ФОКУСНОГО ПЯТНА, кроме того, перед кассетой P находятся такие поглощающие предметы, как СТОЛ ДЛЯ ПАЦИЕНТА, ОТСЕИВАЮЩИЙ РАСТР и кассета Q. Таким образом, ВОЗДУШНАЯ КЕРМА для двух кассет может значительно отличаться; для облегчения выбора уставок ПАРАМЕТРОВ НАГРУЗКИ, которые дают подходящую экспозиционную дозу на каждую кассету, ориентирование кассеты Q должно быть обратным по отношению к обычно используемому.
Если испытание нельзя провести удовлетворительно за одно ОБЛУЧЕНИЕ, проводят два ОБЛУЧЕНИЯ с разными ПАРАМЕТРАМИ НАГРУЗКИ.
Этап 5. При использовании постоянно заданной или регулируемой вручную СИСТЕМЫ ФОРМИРОВАНИЯ ПУЧКА ТЕСТ-ОБЪЕКТ для проверки ориентирования помещают на СТОЛ ДЛЯ ПАЦИЕНТА или на ВХОДНУЮ ПОВЕРХНОСТЬ ПРИЕМНИКА РЕНТГЕНОВСКОГО ИЗОБРАЖЕНИЯ. Если СТОЛ ДЛЯ ПАЦИЕНТА имеет изогнутую форму, то для удержания ТЕСТ-ОБЪЕКТА в плоскости, параллельной ПРИЕМНИКУ РЕНТГЕНОВСКОГО ИЗОБРАЖЕНИЯ, поперек СТОЛА ДЛЯ ПАЦИЕНТА устанавливают ровную тонкую пластинку из материала с низким ОСЛАБЛЕНИЕМ, например из дерева.
При использовании автоматических СИСТЕМ ФОРМИРОВАНИЯ ПУЧКА ТЕСТ-ОБЪЕКТ для проверки ориентирования размещают на поверхности кассеты Q, обращенной к РЕНТГЕНОВСКОМУ ИЗЛУЧАТЕЛЮ.
ТЕСТ-ОБЪЕКТ для проверки ориентирования снабжен рентгеноконтрастными метками для определения размеров РАДИАЦИОННОГО ПОЛЯ.
Этап 6. ТЕСТ-ОБЪЕКТ для проверки ориентирования центрируют в СВЕТОВОМ ПОЛЕ по УКАЗАТЕЛЮ СВЕТОВОГО ПОЛЯ, а края ТЕСТ-ОБЪЕКТА размещают параллельно краям СВЕТОВОГО ПОЛЯ.
- При работе с автоматически регулируемыми СИСТЕМАМИ ФОРМИРОВАНИЯ ПУЧКА регистрируют размеры и положение СВЕТОВОГО ПОЛЯ по отношению к меткам на поверхности ТЕСТ-ОБЪЕКТА.
- При работе с постоянно заданными или регулируемыми вручную СИСТЕМАМИ ФОРМИРОВАНИЯ ПУЧКА размеры СВЕТОВОГО ПОЛЯ регулируют по меткам малого поля ТЕСТ-ОБЪЕКТА для проверки ориентирования, например 15 x 20 см. Регистрируют показания указателей УСТРОЙСТВА ФОРМИРОВАНИЯ ПУЧКА. Отмечают любую асимметрию СВЕТОВОГО ПОЛЯ, которая препятствует совмещению одного или нескольких краев СВЕТОВОГО ПОЛЯ и краев поля, ограниченного ТЕСТ-ОБЪЕКТОМ для проверки ориентирования.
Этап 7. ТЕСТ-ОБЪЕКТ для проверки перпендикулярности помещают на ТЕСТ-ОБЪЕКТ для проверки ориентирования так, чтобы центр окружности на нижнем основании ТЕСТ-ОБЪЕКТА для проверки перпендикулярности совпадал с центром СВЕТОВОГО ПОЛЯ, обозначенным на поверхности ТЕСТ-ОБЪЕКТА для проверки ориентирования (рисунки 5a и 5b).
Этап 8. Проводят ОБЛУЧЕНИЕ с теми же ПАРАМЕТРАМИ НАГРУЗКИ, что и при первичных ИСПЫТАНИЯХ НА ПОСТОЯНСТВО ПАРАМЕТРОВ, для получения на РЕНТГЕНОГРАФИЧЕСКОЙ ПЛЕНКЕ после фотохимической обработки оптической плотности почернения в диапазоне 0,5 - 1,5.
Примечание. Если ОБЛУЧЕНИЕ возможно только в режиме АВТОМАТИЧЕСКОГО УПРАВЛЕНИЯ ЭКСПОЗИЦИЕЙ, то для имитации ПАЦИЕНТА необходимо использовать ФАНТОМ для ОСЛАБЛЕНИЯ (5.1.2) с целью соответствующего ОСЛАБЛЕНИЯ и ужесточения ПУЧКА РЕНТГЕНОВСКОГО ИЗЛУЧЕНИЯ, взаимодействующего с СИСТЕМОЙ АВТОМАТИЧЕСКОГО УПРАВЛЕНИЯ. Расположение ФАНТОМА для ОСЛАБЛЕНИЯ - рисунки 5a и 5b.
- При работе с автоматически регулируемыми СИСТЕМАМИ ФОРМИРОВАНИЯ ПУЧКА проявляют пленки двух кассет.
- При работе с постоянно заданными или регулируемыми вручную СИСТЕМАМИ ФОРМИРОВАНИЯ ПУЧКА СВЕТОВОЕ ПОЛЕ снова устанавливают на максимальный размер кассеты. Пленку из кассеты проявляют.
Этап 9. Убирают ТЕСТ-ОБЪЕКТ для проверки перпендикулярности и повторяют приведенную выше процедуру (этапы 1 - 8), используя РЕНТГЕНОГРАФИЧЕСКИЕ КАССЕТЫ размером 35 x 43 см, как кассеты P и Q.
Примечание. В качестве кассеты Q можно использовать кассету меньшего размера.
В дополнение для постоянно заданных или устанавливаемых вручную СИСТЕМ ФОРМИРОВАНИЯ ПУЧКА на
этапе 6 используют наибольшие уставки поля, указанные на ТЕСТ-ОБЪЕКТЕ для проверки ориентирования, например 30 x 40 см.
5.3.3.3. РЕНТГЕНОВСКИЙ АППАРАТ с возможностью установки ПУЧКА ИЗЛУЧЕНИЯ только в горизонтальном направлении
Методика, приведенная в 5.3.3.1 и 5.3.3.2, применима к РЕНТГЕНОВСКИМ ИЗЛУЧАТЕЛЯМ, размещенным над декой стола. Эту же процедуру применяют и при испытаниях РЕНТГЕНОВСКОГО АППАРАТА, в котором ПУЧОК ИЗЛУЧЕНИЯ направлен горизонтально, но при этом в методику вносят следующие изменения:
- с помощью встроенного указателя угла наклона или, при его отсутствии, с помощью уровня проверяют установку СТОЛА ДЛЯ ПАЦИЕНТА или ПРИЕМНИКА РЕНТГЕНОВСКОГО ИЗОБРАЖЕНИЯ в вертикальное (взамен горизонтального) положение;
- обеспечивают наличие вспомогательных средств для фиксации ТЕСТ-ОБЪЕКТОВ напротив вертикальной части ПОВЕРХНОСТИ ТЕЛА ПАЦИЕНТА или входной поверхности ПРИЕМНИКА РЕНТГЕНОВСКОГО ИЗОБРАЖЕНИЯ.
5.3.3.4. РЕНТГЕНОВСКИЙ АППАРАТ с РЕНТГЕНОВСКИМИ ИЗЛУЧАТЕЛЯМИ, расположенными под декой стола
Поскольку у РЕНТГЕНОВСКИХ ИЗЛУЧАТЕЛЕЙ, расположенных под декой стола, отсутствует индикация светового поля, то проверить все их геометрические характеристики, указанные в 5.3.1, не представляется возможным. Единственной характеристикой, которую можно проверить, не проводя сложных испытаний, является совпадение РАДИАЦИОННОГО ПОЛЯ с ПРИЕМНИКОМ РЕНТГЕНОВСКОГО ИЗОБРАЖЕНИЯ.
Методика такой проверки приведена ниже.
Этап 1. С помощью встроенного указателя угла или, при его отсутствии, с помощью уровня проверяют горизонтальность СТОЛА ДЛЯ ПАЦИЕНТА. При наличии отклонения от горизонтальности и невозможности его корректировки отклонение регистрируют.
Этап 2. Обычно расположенный под декой стола БЛОК ИСТОЧНИКА РЕНТГЕНОВСКОГО ИЗЛУЧЕНИЯ автоматически устанавливают в центре ПОВЕРХНОСТИ ПРИЕМНИКА ИЗОБРАЖЕНИЯ, находящегося в рабочем положении. Выбирают то же РАССТОЯНИЕ ОТ ФОКУСНОГО ПЯТНА ДО ПРИЕМНИКА ИЗОБРАЖЕНИЯ, что и при первичном ИСПЫТАНИИ НА ПОСТОЯНСТВО ПАРАМЕТРОВ.
Для удобства это может быть максимальная высота от СТОЛА ДЛЯ ПАЦИЕНТА до ПРИЕМНИКА РЕНТГЕНОВСКОГО ИЗОБРАЖЕНИЯ.
Убирают все вторичные УСТРОЙСТВА ФОРМИРОВАНИЯ ПУЧКА между ПАЦИЕНТОМ и приемником изображения.
Этап 3. Заряженную РЕНТГЕНОГРАФИЧЕСКУЮ КАССЕТУ (кассету P) размером 24 x 30 см помещают в центр СМЕНЩИКА КАССЕТ, определяемый зажимами, СМЕНЩИК КАССЕТ располагают относительно ПРИЕМНИКА РЕНТГЕНОВСКОГО ИЗОБРАЖЕНИЯ в соответствии с рисунком 5c).
Этап 4. Далее испытание проводят в соответствии с методикой для автоматически регулируемых СИСТЕМ ФОРМИРОВАНИЯ ПУЧКА (5.3.3.2, этапы 4, 5, 8 и 9).
5.3.4. Оценка результатов
5.3.4.1. Постоянно установленные или регулируемые вручную СИСТЕМЫ ФОРМИРОВАНИЯ ПУЧКА
Этап 1. Измеряют расстояния между краями РАДИАЦИОННОГО ПОЛЯ, ограниченными более темной экспонированной поверхностью на каждой РЕНТГЕНОГРАММЕ кассеты P, и краями СВЕТОВОГО ПОЛЯ, обозначенными рентгеноконтрастными метками. Для каждой пары противолежащих краев эти значения складывают для определения степени несовпадения (рисунок 6a).
Этап 2. Измеряют размеры РАДИАЦИОННОГО ПОЛЯ, ограниченного более темной экспонированной поверхностью на каждой РЕНТГЕНОГРАММЕ кассеты P. Индицированные значения размеров поля вычитают из измеренных значений (рисунок 6b).
5.3.4.2. Автоматические СИСТЕМЫ ФОРМИРОВАНИЯ ПУЧКА, за исключением тех случаев, когда РЕНТГЕНОВСКИЕ ИЗЛУЧАТЕЛИ расположены под декой стола
Этап 1. Измеряют расстояния между краями РАДИАЦИОННОГО ПОЛЯ, ограниченными более темной экспонированной поверхностью на каждой РЕНТГЕНОГРАММЕ кассеты Q, и краями СВЕТОВОГО ПОЛЯ, обозначенными рентгеноконтрастными метками, которые соответствуют размеру и положению СВЕТОВОГО ПОЛЯ, зафиксированным во время испытания (5.3.3.2, этап 2). Для каждой пары противолежащих краев эти значения складывают для определения степени несовпадения.
Этап 2. Измеряют расстояния
и
между двумя видимыми рентгеноконтрастными метками на обеих РЕНТГЕНОГРАММАХ кассет P и Q. Определяют увеличение m по отношению
.
Измеряют расстояния между краями РАДИАЦИОННОГО ПОЛЯ, ограниченными более темной экспонированной поверхностью на РЕНТГЕНОГРАММЕ кассеты Q. Чтобы определить расстояния между краями радиационного поля для кассеты P, измеренные значения умножают на множитель m.
Определяют разницу расстояний между противоположными краями РАДИАЦИОННОГО ПОЛЯ и соответствующими расстояниями между краями ПОВЕРХНОСТИ ПРИЕМНИКА ИЗОБРАЖЕНИЯ. Для каждой пары противолежащих краев эти разницы складывают для определения степени несовпадения.
5.3.4.3. РЕНТГЕНОВСКИЙ ИЗЛУЧАТЕЛЬ, расположенный под декой стола.
Примечание. Если край РАДИАЦИОННОГО ПОЛЯ выходит за границы ПРИЕМНИКА РЕНТГЕНОВСКОГО ИЗОБРАЖЕНИЯ, проведение испытания невозможно.
5.3.5. Критерии оценки
5.3.5.1. Индицированное РАССТОЯНИЕ ОТ ФОКУСНОГО ПЯТНА ДО ПРИЕМНИКА ИЗОБРАЖЕНИЯ
Отклонение РАССТОЯНИЯ ОТ ФОКУСНОГО ПЯТНА ДО ПРИЕМНИКА ИЗОБРАЖЕНИЯ должно быть в пределах +/- 1% индицированного расстояния и +/- 1% расстояния, полученного при первичном ИСПЫТАНИИ НА ПОСТОЯНСТВО ПАРАМЕТРОВ.
5.3.5.2. Перпендикулярность ОСИ ПУЧКА ИЗЛУЧЕНИЯ по отношению к ПРИЕМНИКУ РЕНТГЕНОВСКОГО ИЗОБРАЖЕНИЯ
(примечание к 5.3.1)
Отклонение от перпендикулярности ОСИ ПУЧКА ИЗЛУЧЕНИЯ относительно ПОВЕРХНОСТИ ПРИЕМНИКА ИЗОБРАЖЕНИЯ должно быть в пределах 1,5°. Для выполнения этого требования изображение центра перекрестия должно попадать в пределы внутреннего круга ТЕСТ-ОБЪЕКТА при перпендикулярном положении.
5.3.5.3. Совпадение РАДИАЦИОННОГО и СВЕТОВОГО ПОЛЕЙ
Измеренные расхождения представлены на
рисунке 6a отрезками

и

на одной оси и отрезками

и

на другой оси. Если S - расстояние от ФОКУСНОГО ПЯТНА, то должны быть выдержаны следующие соотношения:

;

.
5.3.5.4. Совпадение РАДИАЦИОННОГО ПОЛЯ с ПРИЕМНИКОМ РЕНТГЕНОВСКОГО ИЗОБРАЖЕНИЯ
Измеренные расхождения представлены на
рисунке 6b отрезками

и

на одной оси и отрезками

и

на другой оси. Если S - расстояние от ФОКУСНОГО ПЯТНА, то должны быть выдержаны следующие соотношения:

;

;

.
Если кроме автоматического устройства устанавливают вторичное УСТРОЙСТВО ФОРМИРОВАНИЯ ПУЧКА (обычно между ПАЦИЕНТОМ и ПРИЕМНИКОМ РЕНТГЕНОВСКОГО ИЗОБРАЖЕНИЯ), то этот критерий несовпадения относится к проекции РАДИАЦИОННОГО ПОЛЯ без учета наличия вторичного УСТРОЙСТВА ФОРМИРОВАНИЯ ПУЧКА.
5.3.5.5. Точность цифровой индикации размера РАДИАЦИОННОГО ПОЛЯ
Разность обозначенных и измеренных значений размера РАДИАЦИОННОГО ПОЛЯ должна быть в пределах +/- 2% РАССТОЯНИЯ ОТ ФОКУСНОГО ПЯТНА ДО ПРИЕМНИКА ИЗОБРАЖЕНИЯ.
5.3.6. Необходимые меры
Если система не отвечает этим критериям, необходимо принять меры, указанные в
Приложении C.
5.3.7. Периодичность ИСПЫТАНИЙ НА ПОСТОЯНСТВО ПАРАМЕТРОВ
Испытания проводят в соответствии с требованиями ИНСТРУКЦИИ ПО ЭКСПЛУАТАЦИИ, предоставляемой ИЗГОТОВИТЕЛЕМ. При отсутствии такой информации ИСПЫТАНИЯ НА ПОСТОЯНСТВО ПАРАМЕТРОВ проводят не реже одного раза в квартал.
5.4. Разрешающая способность для высококонтрастных деталей
5.4.1. Общие положения
Если не исключены изменения размера ФОКУСНОГО ПЯТНА с течением времени, должны быть проведены следующие испытания.
Эти испытания подтверждают постоянство разрешающий СПОСОБНОСТИ РЕНТГЕНОВСКОГО АППАРАТА при получении рентгенографического изображения высококонтрастного ТЕСТ-ОБЪЕКТА.
5.4.2. Испытательное оборудование
Для проведения испытания необходимо следующее оборудование:
- лупа с увеличением в 2,5 раза;
- высококонтрастный ТЕСТ-ОБЪЕКТ с периодическими полосами из рентгеноконтрастных материалов (описание высококонтрастного ТЕСТ-ОБЪЕКТА -
Приложение D);
- РЕНТГЕНОГРАФИЧЕСКАЯ КАССЕТА и комплект экран-пленка тех же типов, что обычно используют с РЕНТГЕНОВСКИМ АППАРАТОМ в клинической практике.
5.4.3. Методика испытания
Заряженную кассету размещают в ПЛОСКОСТИ ПРИЕМНИКА ИЗОБРАЖЕНИЯ на РАССТОЯНИИ ОТ ФОКУСНОГО ПЯТНА ДО ПРИЕМНИКА ИЗОБРАЖЕНИЯ, обычно используемого в клинической практике.
Высококонтрастный ТЕСТ-ОБЪЕКТ устанавливают на СТОЛЕ ДЛЯ ПАЦИЕНТА или на ВХОДНОЙ ПЛОСКОСТИ УСТРОЙСТВА ДЛЯ ПРИЦЕЛЬНЫХ СНИМКОВ, так что мира расположена на расстоянии 200 мм от поверхности (Приложение D). РЕНТГЕНОВСКИЙ ИЗЛУЧАТЕЛЬ центрируют с ПРИЕМНИКОМ РЕНТГЕНОВСКОГО ИЗОБРАЖЕНИЯ, а испытательную миру - с РЕНТГЕНОВСКИМ ИЗЛУЧАТЕЛЕМ.
Направление полос испытательной миры должно быть примерно под углом 45° по отношению к оси РЕНТГЕНОВСКОЙ ТРУБКИ. Расположение всех элементов испытательного оборудования должно быть выбрано так, чтобы расстояние от ФОКУСНОГО ПЯТНА и положение в РАДИАЦИОННОМ ПОЛЕ всегда можно было воспроизвести в пределах +/- 1% того расстояния и положения, которые использовались при первичном ИСПЫТАНИИ НА ПОСТОЯНСТВО ПАРАМЕТРОВ.
АНОДНОЕ НАПРЯЖЕНИЕ должно быть установлено около 70 кВ, а ПАРАМЕТРЫ НАГРУЗКИ выбраны так, чтобы обеспечить оптическую плотность почернения в пределах 0,7 - 1,3 над ПЛОТНОСТЬЮ ОСНОВЫ ПЛЮС ВУАЛЬ на неослабленном участке обработанной пленки. Следует использовать те же ПАРАМЕТРЫ НАГРУЗКИ, что и при первичных ИСПЫТАНИЯХ НА ПОСТОЯНСТВО ПАРАМЕТРОВ.
Примечание. Если проведение ОБЛУЧЕНИЯ возможно только в режиме АВТОМАТИЧЕСКОГО УПРАВЛЕНИЯ ЭКСПОЗИЦИОННОЙ ДОЗОЙ, то для имитации ПАЦИЕНТА используют ФАНТОМ для ОСЛАБЛЕНИЯ (5.1.2), который обеспечивает соответствующее ОСЛАБЛЕНИЕ и увеличение жесткости ПУЧКА РЕНТГЕНОВСКОГО ИЗЛУЧЕНИЯ, взаимодействующего с СИСТЕМОЙ АВТОМАТИЧЕСКОГО УПРАВЛЕНИЯ. В этом случае ФАНТОМ для ОСЛАБЛЕНИЯ следует поместить в ПУЧОК РЕНТГЕНОВСКОГО ИЗЛУЧЕНИЯ как можно ближе к ФОКУСНОМУ ПЯТНУ, насколько позволяет БЛОК ИСТОЧНИКА РЕНТГЕНОВСКОГО ИЗЛУЧЕНИЯ.
РЕНТГЕНОГРАММУ получают с ПУЧКОМ РЕНТГЕНОВСКОГО ИЗЛУЧЕНИЯ размером 100 x 100 мм, измеренным в плоскости СТОЛА ДЛЯ ПАЦИЕНТА. Процедуру повторяют для каждого возможного размера ФОКУСНОГО ПЯТНА.
Для каждого испытания записывают ПАРАМЕТРЫ НАГРУЗКИ.
Экспонированные пленки обрабатывают согласно 4.4.
5.4.4. Оценка результатов
РЕНТГЕНОГРАММУ рассматривают в лупу и регистрируют видимые максимальные пространственные частоты. Это - граничные частоты в условиях испытания.
Для сравнения эту процедуру каждый раз при проведении испытания выполняют также с РЕНТГЕНОГРАММАМИ, полученными при первичных ИСПЫТАНИЯХ НА ПОСТОЯНСТВО ПАРАМЕТРОВ.
5.4.5. Критерии оценки
В сравнении с граничной частотой, полученной при первичных ИСПЫТАНИЯХ НА ПОСТОЯНСТВО ПАРАМЕТРОВ, граничная частота, полученная при последующих испытаниях, не должна отличаться более чем на:
- 20% для испытательных мир с плавно меняющимся разрешением или
- одну группу пар линий.
5.4.6. Необходимые меры
Если система не соответствует установленным критериям, необходимо принять меры, указанные в
Приложении C.
5.4.7. Периодичность ИСПЫТАНИЙ НА ПОСТОЯНСТВО ПАРАМЕТРОВ
Испытания проводят в соответствии с требованиями ИНСТРУКЦИИ ПО ЭКСПЛУАТАЦИИ, предоставляемой ИЗГОТОВИТЕЛЕМ, а при отсутствии такой информации испытания проводят не реже одного раза в квартал.
5.5. Изменение оптической плотности почернения на РЕНТГЕНОГРАММЕ
5.5.1. Общие положения
Цель испытаний - проверить постоянство относительных изменений оптической плотности, измеренной в определенных точках РЕНТГЕНОГРАММЫ. Это испытание можно проводить одновременно с испытаниями по
5.2, т.е. одна РЕНТГЕНОГРАММА дает информацию, требуемую для двух испытаний.
5.5.2. Испытательное оборудование
Измерения проводят с РЕНТГЕНОГРАФИЧЕСКОЙ КАССЕТОЙ и комплектом экран-пленка тех же типов, которые обычно используют с испытываемым РЕНТГЕНОВСКИМ АППАРАТОМ. Для измерений используют оптический денситометр с систематической погрешностью +/- 0,02.
В качестве имитации ПАЦИЕНТА используют ФАНТОМ для ОСЛАБЛЕНИЯ, обеспечивающий соответствующее ОСЛАБЛЕНИЕ и увеличение жесткости ПУЧКА РЕНТГЕНОВСКОГО ИЗЛУЧЕНИЯ. В дополнение используют ТЕСТ-ОБЪЕКТ с маркером пленки для обозначения на РЕНТГЕНОГРАММЕ определенных точек, в которых измеряют оптическую плотность почернения
(рисунок 1). Описание ФАНТОМА для ОСЛАБЛЕНИЯ и ТЕСТ-ОБЪЕКТА для маркировки пленки -
Приложение D.
5.5.3. Методика испытания
БЛОК ИСТОЧНИКА РЕНТГЕНОВСКОГО ИЗЛУЧЕНИЯ центрируют по отношению к ПРИЕМНИКУ РЕНТГЕНОВСКОГО ИЗОБРАЖЕНИЯ, как это обычно делают в клинической практике.
Заряженную РЕНТГЕНОГРАФИЧЕСКУЮ КАССЕТУ помещают на ПОВЕРХНОСТЬ ПРИЕМНИКА ИЗОБРАЖЕНИЯ, а ТЕСТ-ОБЪЕКТ для маркировки пленки - в ПУЧОК РЕНТГЕНОВСКОГО ИЗЛУЧЕНИЯ между ФОКУСНЫМ ПЯТНОМ и ПРИЕМНИКОМ РЕНТГЕНОВСКОГО ИЗОБРАЖЕНИЯ.
Если ОБЛУЧЕНИЕ можно проводить только в режиме АВТОМАТИЧЕСКОГО УПРАВЛЕНИЯ ЭКСПОЗИЦИОННОЙ ДОЗОЙ, в качестве имитации ПАЦИЕНТА следует использовать ФАНТОМ для ОСЛАБЛЕНИЯ, обеспечивающий соответствующее ОСЛАБЛЕНИЕ и увеличение жесткости ПУЧКА ИЗЛУЧЕНИЯ.
Геометрическое расположение всех элементов испытательного оборудования должно быть таким же, как при первичных ИСПЫТАНИЯХ НА ПОСТОЯНСТВО ПАРАМЕТРОВ в пределах +/- 1%. Используют РАДИАЦИОННОЕ ПОЛЕ такого же размера.
Для первичных ИСПЫТАНИЙ НА ПОСТОЯНСТВО ПАРАМЕТРОВ выбирают не менее двух уставок АНОДНОГО НАПРЯЖЕНИЯ, типичных для рентгенологических процедур с данным РЕНТГЕНОВСКИМ АППАРАТОМ. В последующих ИСПЫТАНИЯХ НА ПОСТОЯНСТВО ПАРАМЕТРОВ используют те же уставки, что и при первичном ИСПЫТАНИИ НА ПОСТОЯНСТВО ПАРАМЕТРОВ.
5.5.3.1. Испытания в режиме ручного управления
Включают РЕНТГЕНОВСКИЙ АППАРАТ, установив вручную те же ПАРАМЕТРЫ НАГРУЗКИ, что и при первичных ИСПЫТАНИЯХ НА ПОСТОЯНСТВО ПАРАМЕТРОВ.
Экспонированную пленку обрабатывают согласно 4.4.
Оптическую плотность измеряют в определенных точках РЕНТГЕНОГРАММЫ, обозначенных рентгеноконтрастными маркерами (рисунок 1).
При замене партии пленки или изменении условий ее обработки измеренное значение оптической плотности почернения корректируют согласно 4.4.
5.5.3.2. Испытания в режиме АВТОМАТИЧЕСКОГО УПРАВЛЕНИЯ ЭКСПОЗИЦИОННОЙ ДОЗОЙ
РЕНТГЕНОВСКИЙ АППАРАТ включают с СИСТЕМОЙ АВТОМАТИЧЕСКОГО УПРАВЛЕНИЯ, используя те же уставки АНОДНОГО НАПРЯЖЕНИЯ и всех других параметров, например плотности почернения, что и при первичном ИСПЫТАНИИ НА ПОСТОЯНСТВО ПАРАМЕТРОВ.
Экспонированную пленку обрабатывают согласно 4.4.
Оптическую плотность почернения измеряют в определенных точках РЕНТГЕНОГРАММЫ, обозначенных рентгеноконтрастными маркерами (рисунок 1).
При замене партии пленки или изменении условий ее обработки измеренное значение оптической плотности почернения корректируют согласно 4.4.
5.5.4. Оценка результатов
Сначала РЕНТГЕНОГРАММУ осматривают визуально и сравнивают ее с РЕНТГЕНОГРАММОЙ, полученной при первичных ИСПЫТАНИЯХ НА ПОСТОЯНСТВО ПАРАМЕТРОВ, что позволяет выявить большие различия в распределении оптической плотности почернения по всей РЕНТГЕНОГРАММЕ.
Определяют разницу между оптической плотностью почернения, измеренной в определенных точках РЕНТГЕНОГРАММЫ, обозначенных рентгеноконтрастными маркерами, и оптической плотностью почернения, измеренной в опорной точке. Полученное значение сравнивают с результатами первичных ИСПЫТАНИЙ НА ПОСТОЯНСТВО ПАРАМЕТРОВ. Проводят дополнительные измерения и определяют разницу оптических плотностей почернения в других точках РЕНТГЕНОГРАММЫ, где по результатам визуального осмотра могут быть значительные изменения плотности почернения.
5.5.5. Критерии оценки
Допустимые отклонения оптической плотности почернения должны быть в пределах +/- 0,10 БАЗОВЫХ ЗНАЧЕНИЙ.
5.5.6. Необходимые меры
Если система не отвечает этим критериям, необходимо принять меры, указанные в
Приложении C.
5.5.7. Периодичность испытаний
Испытания проводят в соответствии с ИНСТРУКЦИЕЙ ПО ЭКСПЛУАТАЦИИ, предоставляемой ИЗГОТОВИТЕЛЕМ. При отсутствии такой информации испытания проводят не реже одного раза в квартал.
6. Указание о соответствии
Протокол испытаний должен иметь заголовок:
Протокол испытаний на постоянство параметров аппарата для прямой рентгенографии согласно ГОСТ Р МЭК 61223-2-11-2001.
Если соответствие с настоящим стандартом установлено, должна быть запись:
Аппарат для прямой рентгенографии, ... <*>, соответствует ГОСТ Р МЭК 61223-2-11-2001.
--------------------------------
<*> Идентификация (наименование, модель, тип).
1 - рентгеноконтрастные буквы;
2 - рентгеноконтрастные проволочные маркеры
Рисунок 1. ТЕСТ-ОБЪЕКТ с маркером пленки
1 - рентгеноконтрастные буквы;
2 - рентгеноконтрастные проволочные маркеры
Рисунок 2. ТЕСТ-ОБЪЕКТ для проверки перпендикулярности
1 - рентгеноконтрастные буквы;
2 - рентгеноконтрастные проволочные маркеры
Рисунок 3. ТЕСТ-ОБЪЕКТ для проверки ориентирования
A
B
Рисунок 4. Высококонтрастный ТЕСТ-ОБЪЕКТ
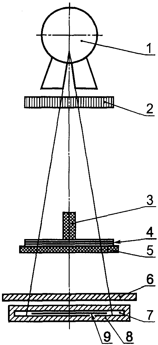
1 - БЛОК ИСТОЧНИКА РЕНТГЕНОВСКОГО ИЗЛУЧЕНИЯ;
2 - ТЕСТ-ОБЪЕКТ для проверки перпендикулярности;
3 - ТЕСТ-ОБЪЕКТ для проверки ориентирования; 4 - ФАНТОМ
для ОСЛАБЛЕНИЯ; 5 - СТОЛ ДЛЯ ПАЦИЕНТА; 6 - кассета P;
7 - ПРИЕМНИК РЕНТГЕНОВСКОГО ИЗОБРАЖЕНИЯ;
8 - ПОВЕРХНОСТЬ ПРИЕМНИКА ИЗОБРАЖЕНИЯ
Рисунок 5a. Устройство для проверки геометрических
характеристик (излучатель над декой стола)
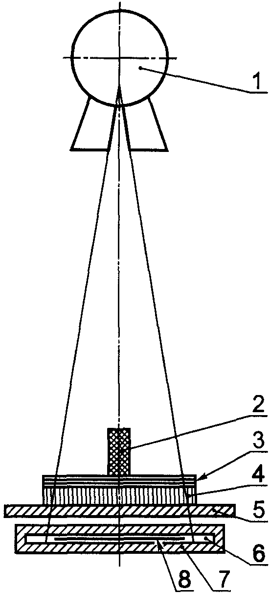
1 - БЛОК ИСТОЧНИКА РЕНТГЕНОВСКОГО ИЗЛУЧЕНИЯ;
2 - ФАНТОМ для ОСЛАБЛЕНИЯ; 3 - ТЕСТ ОБЪЕКТ для проверки
перпендикулярности; 4 - ТЕСТ-ОБЪЕКТ для проверки
ориентирования; 5 - кассета Q; 6 - СТОЛ ДЛЯ ПАЦИЕНТА;
7 - кассета P; 8 - ПРИЕМНИК РЕНТГЕНОВСКОГО ИЗОБРАЖЕНИЯ;
9 - ПОВЕРХНОСТЬ ПРИЕМНИКА ИЗОБРАЖЕНИЯ
Рисунок 5b. Устройство для проверки геометрических
характеристик (излучатель над декой стола)
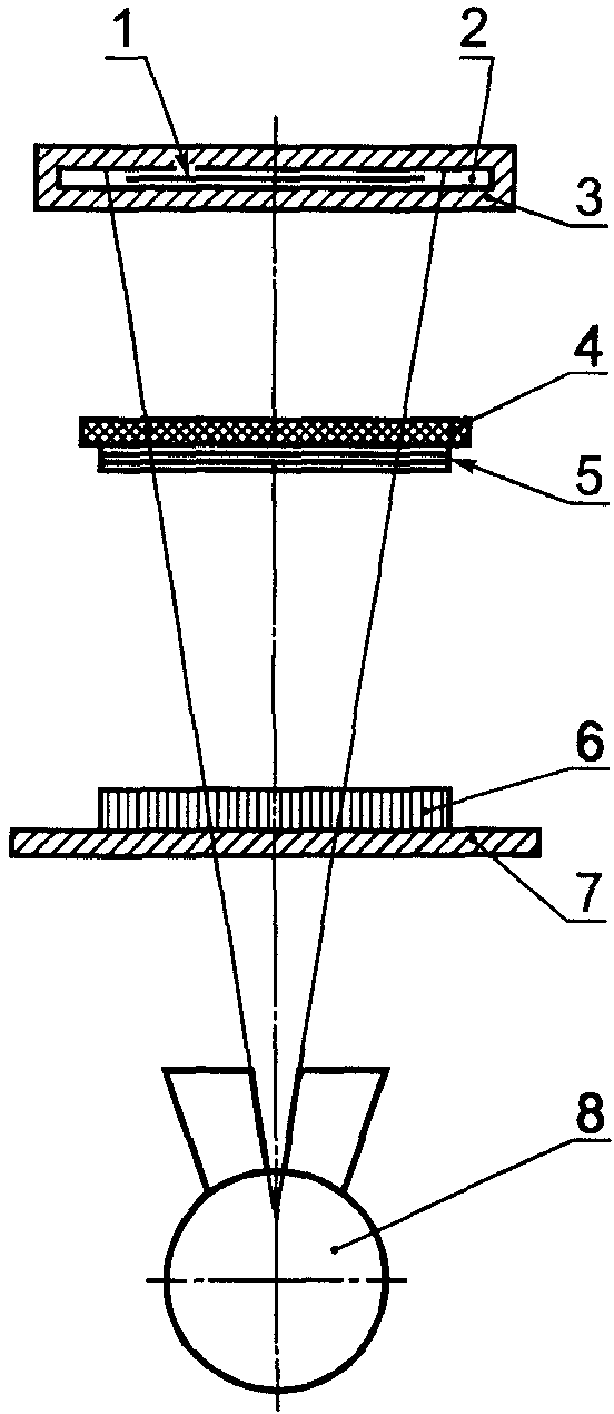
1 - ПОВЕРХНОСТЬ ПРИЕМНИКА ИЗОБРАЖЕНИЯ;
2 - кассета P; 3 - ПРИЕМНИК РЕНТГЕНОВСКОГО ИЗОБРАЖЕНИЯ;
4 - кассета Q; 5 - ТЕСТ-ОБЪЕКТ для проверки ориентирования;
6 - ФАНТОМ для ОСЛАБЛЕНИЯ; 7 - СТОЛ ДЛЯ ПАЦИЕНТА;
8 - БЛОК ИСТОЧНИКА РЕНТГЕНОВСКОГО ИЗЛУЧЕНИЯ
Рисунок 5c. Устройство для проверки геометрических
характеристик (излучатель под декой стола)
1 - РАДИАЦИОННОЕ ПОЛЕ; 2 - СВЕТОВОЕ ПОЛЕ;
3 - ПОВЕРХНОСТЬ ПРИЕМНИКА ИЗОБРАЖЕНИЯ
Рисунок 6. Определение геометрического несовпадения
(обязательное)
В настоящем указателе для каждого термина указан соответствующий номер пункта
ГОСТ Р 51746 (А-3.2...), ГОСТ Р МЭК 61223-2-1 (1-...), ГОСТ Р МЭК 61223-2-2 (2-...) или обозначение термина по МЭК 60788 (МР-...-...). Знаком "-" отмечен термин без определения; знаком "+" отмечен производный термин без определения; знаком "с" отмечен сокращенный термин.
АВТОМАТИЧЕСКОЕ УПРАВЛЕНИЕ ЭКСПОЗИЦИОННОЙ ДОЗОЙ | МР-36-46 |
АНОД | МР-22-06 |
АНОДНОЕ НАПРЯЖЕНИЕ | МР-36-02 |
АНОДНЫЙ ТОК | МР-36-07 |
БАЗОВОЕ ЗНАЧЕНИЕ | |
БЛОК ИСТОЧНИКА РЕНТГЕНОВСКОГО ИЗЛУЧЕНИЯ | МР-20-05+ |
ВОЗДУШНАЯ КЕРМА | МР-13-11 |
ВРЕМЯ НАГРУЗКИ | МР-36-10 |
ВРЕМЯ ОБЛУЧЕНИЯ | МР-36-11 |
ВХОДНАЯ ПЛОСКОСТЬ УРИ | МР-32-42 |
ВХОДНАЯ ПОВЕРХНОСТЬ | МР-37-17 |
ДВИЖУЩИЙСЯ РАСТР | МР-32-15 |
ДЕТЕКТОР ИЗЛУЧЕНИЯ | МР-51-01 |
ДОПОЛНИТЕЛЬНЫЙ ФИЛЬТР | МР-35-02 |
ИЗГОТОВИТЕЛЬ | МР-85-03- |
ИЗЛУЧЕНИЕ | МР-11-01 |
ИЗМЕРИТЕЛЬ ИЗЛУЧЕНИЯ | МР-50-01 |
ИНСТРУКЦИЯ ПО ЭКСПЛУАТАЦИИ | МР-82-02 |
ИОНИЗАЦИОННАЯ КАМЕРА | МР-51-03 |
ИСПЫТАНИЕ НА ПОСТОЯНСТВО ПАРАМЕТРОВ | |
МИШЕНЬ | МР-20-08 |
НЕГАТОСКОП | 2-3.2.1 |
Нормируемый | МР-74-02 |
ОБЛУЧЕНИЕ | МР-12-09 |
ОБЩАЯ ФИЛЬТРАЦИЯ | МР-13-48 |
ОПЕРАТОР | МР-85-02 |
ОСЛАБЛЕНИЕ | МР-12-08 |
ОСЬ ПУЧКА ИЗЛУЧЕНИЯ | МР-37-06+ |
ОТСЕИВАЮЩИЙ РАСТР | МР-32-06 |
ПАРАМЕТР НАГРУЗКИ | МР-36-01 |
ПАЦИЕНТ | МР-62-03 |
ПЕРВИЧНОЕ ИЗЛУЧЕНИЕ | МР-11-06 |
ПЕРИОДИЧЕСКИЕ ИСПЫТАНИЯ | |
ПЛОСКОСТЬ ПРИЕМНИКА ИЗОБРАЖЕНИЯ | МР-37-15 |
ПЛОТНОСТЬ ОСНОВЫ ПЛЮС ВУАЛЬ | 1-3.2.2 |
ПОВЕРХНОСТЬ ПРИЕМНИКА ИЗОБРАЖЕНИЯ | МР-37-16 |
ПОВЕРХНОСТЬ ТЕЛА ПАЦИЕНТА | МР-37-18 |
ПОЛЬЗОВАТЕЛЬ | МР-85-01 |
ПРИЕМНИК РЕНТГЕНОВСКОГО ИЗОБРАЖЕНИЯ | МР-32-29 |
ПРИЕМОЧНЫЕ ИСПЫТАНИЯ | |
ПРИСПОСОБЛЕНИЕ | МР-83-06 |
ПРОГРАММА КОНТРОЛЯ КАЧЕСТВА | |
ПРОИЗВЕДЕНИЕ ТОК-ВРЕМЯ | МР-36-13 |
ПРЯМАЯ РЕНТГЕНОГРАФИЯ | МР-41-07 |
ПУЧОК ИЗЛУЧЕНИЯ | МР-37-05 |
ПУЧОК РЕНТГЕНОВСКОГО ИЗЛУЧЕНИЯ | МР-37-05+ |
РАДИАЦИОННОЕ ПОЛЕ | МР-37-07 |
РАССЕЯННОЕ ИЗЛУЧЕНИЕ | МР-11-13 |
РАССТОЯНИЕ ОТ ФОКУСНОГО ПЯТНА ДО ПРИЕМНИКА ИЗОБРАЖЕНИЯ | МР-37-13 |
РЕНТГЕНОВСКАЯ ТРУБКА | МР-22-03 |
РЕНТГЕНОВСКИЙ АППАРАТ | МР-20-20 |
РЕНТГЕНОВСКИЙ ИЗЛУЧАТЕЛЬ | МР-22-01 |
РЕНТГЕНОВСКОЕ ИЗЛУЧЕНИЕ | МР-11-01- |
РЕНТГЕНОВСКОЕ ПИТАЮЩЕЕ УСТРОЙСТВО | МР-21-01 |
РЕНТГЕНОГРАММА | МР-32-02 |
РЕНТГЕНОГРАФИЧЕСКАЯ КАССЕТА | МР-35-14 |
РЕНТГЕНОГРАФИЧЕСКАЯ ПЛЕНКА | МР-32-32 |
РЕНТГЕНОГРАФИЯ | МР-41-06 |
РЕНТГЕНОРАДИОЛОГИЧЕСКОЕ ОБОРУДОВАНИЕ | МР-20-24 |
СВЕТОВОЕ ПОЛЕ | МР-37-09 |
СВЕТОВОЙ УКАЗАТЕЛЬ ПОЛЯ | МР-37-31 |
СИСТЕМА АВТОМАТИЧЕСКОГО УПРАВЛЕНИЯ | МР-36-45 |
СИСТЕМА ФОРМИРОВАНИЯ ПУЧКА | МР-37-27 |
СМЕНЩИК КАССЕТ | МР-36-01 |
СПЕКТР РЕНТГЕНОВСКОГО ИЗЛУЧЕНИЯ | МР-13-34+ |
СТОЛ ДЛЯ ПАЦИЕНТА | МР-30-02 |
ТЕСТ-ОБЪЕКТ | МР-71-04 |
УСИЛИВАЮЩИЙ ЭКРАН | МР-32-38 |
УСТАНОВЛЕННЫЕ ПРЕДЕЛЫ | |
УСТРОЙСТВО для ФОТОХИМИЧЕСКОЙ ОБРАБОТКИ ПЛЕНКИ | 1-3.2.1 |
УСТРОЙСТВО ФОРМИРОВАНИЯ ПУЧКА | МР-37-28 |
УСТРОЙСТВО для ПРИЦЕЛЬНЫХ СНИМКОВ | МР-31-05 |
ФАНТОМ | МР-54-01 |
ФИЛЬТРАЦИЯ | МР-12-11 |
ФОКУСНОЕ ПЯТНО | МР-20-13с |
ЭКСПЛУАТАЦИОННЫЕ ДОКУМЕНТЫ | МР-82-01 |
(рекомендуемое)
ПРИМЕР ФОРМЫ СТАНДАРТНОГО ПРОТОКОЛА ИСПЫТАНИЙ
Протокол испытания на постоянство параметров аппарата для прямой
рентгенографии по ГОСТ Р МЭК 61223-2-11-2001
Специалист, ответственный
за проведение испытаний _______________________
фамилия, имя, отчество,
должность
Аппарат и его составные части:
Обозначение:
- БЛОК ИСТОЧНИКА РЕНТГЕНОВСКОГО
ИЗЛУЧЕНИЯ
- РЕНТГЕНОВСКИЙ ИЗЛУЧАТЕЛЬ
- РЕНТГЕНОВСКОЕ ПИТАЮЩЕЕ УСТРОЙСТВО
- УСТРОЙСТВО ФОРМИРОВАНИЯ ПУЧКА
Компоненты и приспособления:
- ДОПОЛНИТЕЛЬНЫЕ ФИЛЬТРЫ
- СТОЛ ДЛЯ ПАЦИЕНТА
- ИОНИЗАЦИОННАЯ КАМЕРА (СИСТЕМА
АВТОМАТИЧЕСКОГО УПРАВЛЕНИЯ)
- ОТСЕИВАЮЩИЙ РАСТР
- РЕНТГЕНОГРАФИЧЕСКАЯ ПЛЕНКА
[тип, номер эмульсии, дата первого
использования (партия)]
- РЕНТГЕНОГРАФИЧЕСКАЯ КАССЕТА
- УСИЛИВАЮЩИЕ ЭКРАНЫ
Фотолаборатории
Устройства для фотохимической
обработки пленки
Испытательное оборудование: Обозначение:
- ФАНТОМ для ОСЛАБЛЕНИЯ, ТЕСТ-ОБЪЕКТ
с маркером пленки, ТЕСТ-ОБЪЕКТ для
проверки перпендикулярности, ТЕСТ-ОБЪЕКТ
для проверки ориентирования,
высококонтрастный ТЕСТ-ОБЪЕКТ
- ИЗМЕРИТЕЛЬ ИЗЛУЧЕНИЯ
- денситометр
- свинцовая пластина
Расположение оборудования при испытании
- расстояние между ФОКУСНЫМ ПЯТНОМ
и ДЕТЕКТОРОМ ИЗЛУЧЕНИЯ
- расположение УСТРОЙСТВА ФОРМИРОВАНИЯ
ПУЧКА
- ориентирование:
1) РЕНТГЕНОГРАФИЧЕСКОЙ КАССЕТЫ
2) ИЗМЕРИТЕЛЯ ИЗЛУЧЕНИЯ
3) ОТСЕИВАЮЩЕГО РАСТРА
4) ТЕСТ-ОБЪЕКТА для проверки
перпендикулярности
Условия испытаний:
- выбранный РЕНТГЕНОВСКИЙ ИЗЛУЧАТЕЛЬ
- выбранное ФОКУСНОЕ ПЯТНО
- ОБЩАЯ ФИЛЬТРАЦИЯ БЛОКА ИСТОЧНИКА
РЕНТГЕНОВСКОГО ИЗЛУЧЕНИЯ
- поле, заданное световым индикатором
- РАДИАЦИОННОЕ ПОЛЕ
- выбранное АНОДНОЕ НАПРЯЖЕНИЕ
- выбранный/измеренный АНОДНЫЙ ТОК
- измерительное поле СИСТЕМЫ
АВТОМАТИЧЕСКОГО УПРАВЛЕНИЯ
- уставка СИСТЕМЫ АВТОМАТИЧЕСКОГО
УПРАВЛЕНИЯ
- выдержка при ручном управлении
Примечание. Ручные установки ПАРАМЕТРОВ НАГРУЗКИ следует производить с
одного направления диапазона шкалы.
Перечень ранее выполненных испытаний:
- последняя проверка неактиничности
освещения фотолаборатории _______________________
дата
- последняя проверка устройства для
фотохимической обработки пленки _______________________
дата
- последнее первичное ИСПЫТАНИЕ
НА ПОСТОЯНСТВО ПАРАМЕТРОВ _______________________
дата
- предыдущее ИСПЫТАНИЕ НА ПОСТОЯНСТВО
ПАРАМЕТРОВ _______________________
дата
Результаты испытаний
Результаты испытаний, выполняемых
в режиме ручного управления:
- значение выходного ИЗЛУЧЕНИЯ
(ИЗМЕРИТЕЛЬ ИЗЛУЧЕНИЯ)
- значение входного ИЗЛУЧЕНИЯ:
1) оптическая плотность
2) ИЗМЕРИТЕЛЬ ИЗЛУЧЕНИЯ
- геометрические характеристики:
1) РАССТОЯНИЕ ОТ ФОКУСНОГО ПЯТНА
ДО ПРИЕМНИКА ИЗОБРАЖЕНИЯ
2) ориентирование краев
РАДИАЦИОННОГО ПОЛЯ
3) совпадение РАДИАЦИОННОГО
И СВЕТОВОГО ПОЛЕЙ
- разрешение высококонтрастных
элементов:
1) максимальная пространственная
частота, видимая в направлении,
параллельном оси РЕНТГЕНОВСКОЙ ТРУБКИ
2) максимальная пространственная
частота, видимая в направлении,
перпендикулярном к оси РЕНТГЕНОВСКОЙ
ТРУБКИ
- изменение оптической плотности
на РЕНТГЕНОГРАММЕ (разница
оптических плотностей)
Результаты испытаний, выполняемых
в режиме АВТОМАТИЧЕСКОГО УПРАВЛЕНИЯ
ЭКСПОЗИЦИОННОЙ ДОЗОЙ:
- значение выходного ИЗЛУЧЕНИЯ
(ИЗМЕРИТЕЛЬ ИЗЛУЧЕНИЯ)
- значение входного ИЗЛУЧЕНИЯ
1) оптическая плотность
2) ИЗМЕРИТЕЛЬ ИЗЛУЧЕНИЯ
(обязательное)
C.1. Если результаты испытания не соответствуют нормируемым параметрам или выходят за УСТАНОВЛЕННЫЕ ПРЕДЕЛЫ, проверяют эксплуатационные характеристики испытательной аппаратуры и приборов. Испытания повторяют.
C.2. Если результаты повторного испытания снова не соответствуют нормируемым параметрам или выходят за УСТАНОВЛЕННЫЕ ПРЕДЕЛЫ, необходимо:
a) предпринять действия, предусмотренные ПРОГРАММОЙ КОНТРОЛЯ КАЧЕСТВА для испытуемого оборудования:
b) информировать специалиста, ответственного за выполнение ПРОГРАММЫ КОНТРОЛЯ КАЧЕСТВА;
c) информировать специалиста, обслуживающего аппаратуру.
C.3. Если результаты испытания незначительно отличаются от нормируемых параметров или выходят за УСТАНОВЛЕННЫЕ ПРЕДЕЛЫ:
a) ожидают результатов следующих ИСПЫТАНИЙ НА ПОСТОЯНСТВО ПАРАМЕТРОВ, но в течение этого времени тщательно следят за качеством получаемых клинических изображений;
b) чаще проводят ИСПЫТАНИЯ НА ПОСТОЯНСТВО ПАРАМЕТРОВ;
c) на отрицательные результаты ИСПЫТАНИЙ НА ПОСТОЯНСТВО ПАРАМЕТРОВ обращают особое внимание при проведении следующего технического обслуживания.
C.4. Если при ИСПЫТАНИЯХ НА ПОСТОЯНСТВО ПАРАМЕТРОВ результаты в течение некоторого времени незначительны, но все более выходят за УСТАНОВЛЕННЫЕ ПРЕДЕЛЫ, лица, указанные в
C.2, перечисления b) и
c), решают вопрос:
a) проведения ПЕРИОДИЧЕСКИХ ИСПЫТАНИЙ;
b) расширения УСТАНОВЛЕННЫХ ПРЕДЕЛОВ;
c) ограничения применения аппаратуры в рентгенологических исследованиях;
d) включения аппаратуры в список оборудования, подлежащего замене.
C.5. Если результаты испытаний существенно отличаются от нормируемых параметров или выходят за УСТАНОВЛЕННЫЕ ПРЕДЕЛЫ, то:
a) проводят ПЕРИОДИЧЕСКИЕ ИСПЫТАНИЯ, результаты которых доводят до сведения лиц, указанных в
C.2, перечисления b) и
c);
b) рассматривают своевременность и необходимость проведения технического обслуживания аппаратуры:
- либо своевременно;
- либо немедленно;
c) принимают решение о дальнейшем клиническом использовании аппаратуры или меры по
C.4.
C.6. По усмотрению ПОЛЬЗОВАТЕЛЯ могут быть приняты другие необходимые меры.
(обязательное)
Общие положения
Для проверки постоянства параметров РЕНТГЕНОВСКОГО АППАРАТА используют несколько ФАНТОМОВ и ТЕСТ-ОБЪЕКТОВ, служащих для:
- имитации тела ПАЦИЕНТА с целью обеспечения ОСЛАБЛЕНИЯ и увеличения жесткости ПУЧКА ИЗЛУЧЕНИЯ;
- получения информации о геометрических характеристиках и качестве изображения с помощью специальных испытательных устройств.
Для проведения испытаний, указанных в
разделе 5, необходимо использовать один ФАНТОМ и четыре ТЕСТ-ОБЪЕКТА, основные характеристики которых рассматриваются ниже.
Несмотря на то, что каждый ФАНТОМ и ТЕСТ-ОБЪЕКТ может быть изготовлен и использован отдельно, более правильно и удобно объединить все или несколько характеристик в одном ТЕСТ-ОБЪЕКТЕ.
ФАНТОМ для ОСЛАБЛЕНИЯ
В качестве ФАНТОМА для ОСЛАБЛЕНИЯ может быть использовано одно из нижеописанных устройств
А1,
А2 или
А3. Выбор каждого из них является компромиссным решением. Рекомендуется использовать ФАНТОМ для ОСЛАБЛЕНИЯ
А1 во всех случаях, когда это возможно. Только этот ФАНТОМ можно применять в тех случаях, когда необходимо обеспечить передачу клинически достоверного первичного СПЕКТРА РЕНТГЕНОВСКОГО ИЗЛУЧЕНИЯ и присутствует существенная для клинической практики величина РАССЕЯННОГО ПЕРВИЧНОГО ИЗЛУЧЕНИЯ. ФАНТОМ для ОСЛАБЛЕНИЯ
А1 имеет большие размеры и, соответственно, большую массу, что в некоторых случаях неприемлемо. Если использование ФАНТОМА
А1 невозможно, рекомендуется использовать ФАНТОМ
А2 для проведения тех ИСПЫТАНИЙ НА ПОСТОЯНСТВО ПАРАМЕТРОВ, в которых спектральное распределение передаваемого ПЕРВИЧНОГО ИЗЛУЧЕНИЯ является важным фактором, а отсутствие РАССЕЯННОГО ПЕРВИЧНОГО ИЗЛУЧЕНИЯ не оказывает отрицательного воздействия на результаты ИСПЫТАНИЯ НА ПОСТОЯНСТВО ПАРАМЕТРОВ. ФАНТОМ для ОСЛАБЛЕНИЯ
А3 рекомендуется использовать только для проведения тех ИСПЫТАНИЙ НА ПОСТОЯНСТВО ПАРАМЕТРОВ, в которых использование ФАНТОМА
А1 чрезвычайно затруднительно, а отсутствие клинически достоверного спектрального распределения передаваемого первичного РЕНТГЕНОВСКОГО ИЗЛУЧЕНИЯ и наличие рассеянного РЕНТГЕНОВСКОГО ИЗЛУЧЕНИЯ не имеют значения.
Никаких конкретных рекомендаций относительно материала или конструкции, используемой для ФАНТОМОВ для ОСЛАБЛЕНИЯ
А1,
А2 и
А3, в настоящем стандарте не приводится. Использовать можно любой материал, но при этом необходимо предусмотреть все последствия выбора.
ФАНТОМ для ОСЛАБЛЕНИЯ
А1 предназначен для имитации тела ПАЦИЕНТА и обеспечения соответствующего ОСЛАБЛЕНИЯ и увеличения жесткости ПУЧКА ИЗЛУЧЕНИЯ. Длина и ширина ФАНТОМА для ОСЛАБЛЕНИЯ
А1 определяются расстоянием от ФОКУСНОГО ПЯТНА, на котором он располагается в ПУЧКЕ ИЗЛУЧЕНИЯ. ФАНТОМ должен быть достаточно большим, чтобы проекция его краев, находящихся на определенном расстоянии от ФОКУСНОГО ПЯТНА, на ПЛОСКОСТЬ ПРИЕМНИКА ИЗОБРАЖЕНИЯ перекрывала не менее чем на 15% самую большую ПОВЕРХНОСТЬ ПРИЕМНИКА ИЗОБРАЖЕНИЯ, используемую при ИСПЫТАНИИ НА ПОСТОЯНСТВО ПАРАМЕТРОВ (например РЕНТГЕНОГРАФИЧЕСКОЙ КАССЕТЫ 35 x 43 см).
Если ИСПЫТАНИЯ НА ПОСТОЯНСТВО ПАРАМЕТРОВ выполняют при нескольких значениях АНОДНОГО НАПРЯЖЕНИЯ, ФАНТОМ для ОСЛАБЛЕНИЯ
А1 должен состоять по толщине из двух или более отдельных слоев.
При выборе материала, толщины и условий использования ФАНТОМА для ОСЛАБЛЕНИЯ
А1 следует руководствоваться требованием того, что испытание должно как можно точнее повторять рентгенологические процедуры, выполняемые в повседневной клинической практике. ФАНТОМЫ, обеспечивающие ОСЛАБЛЕНИЕ, увеличение жесткости и рассеяние падающего РЕНТГЕНОВСКОГО ИЗЛУЧЕНИЯ в той же степени, что и ПАЦИЕНТ, изготовляют из тканеэквивалентных материалов [например воды, полиметилметакрилата (ПММА), политетрафторэтилена (ПТФЭ) или алюминия для имитации костей] и помещают как можно ближе к ПРИЕМНИКУ РЕНТГЕНОВСКОГО ИЗОБРАЖЕНИЯ.
ФАНТОМ для ОСЛАБЛЕНИЯ
А2, выполненный из тканеэквивалентного материала и подобный по конструкции ФАНТОМУ для ОСЛАБЛЕНИЯ
А1, предназначен для закрепления на СВЕТОВОМ УКАЗАТЕЛЕ ПОЛЯ и поэтому имеет небольшую площадь поверхности и незначительную массу. Спектральное распределение передаваемого первичного рентгеновского излучения эквивалентно спектральному распределению ФАНТОМА для ОСЛАБЛЕНИЯ
А1, но при этом количество РАССЕЯННОГО ИЗЛУЧЕНИЯ, достигающего ПРИЕМНИКА РЕНТГЕНОВСКОГО ИЗОБРАЖЕНИЯ, значительно меньше из-за зазора между ФАНТОМОМ для ОСЛАБЛЕНИЯ
А2 и ПРИЕМНИКОМ РЕНТГЕНОВСКОГО ИЗОБРАЖЕНИЯ. Однако при использовании ФАНТОМА для ОСЛАБЛЕНИЯ
А2 удается избежать многих проблем, связанных с использованием ФАНТОМА для ОСЛАБЛЕНИЯ
А3 (см. ниже), изготовляемого из тяжелых металлов. Тем не менее, дополнительные проблемы могут возникнуть при проверке РЕНТГЕНОВСКОГО АППАРАТА с БЛОКОМ ИСТОЧНИКА РЕНТГЕНОВСКОГО ИЗЛУЧЕНИЯ, установленным под столом ДЛЯ ПАЦИЕНТА, из-за сложности размещения ФАНТОМА для ОСЛАБЛЕНИЯ
А2 и ДЕТЕКТОРА ИЗЛУЧЕНИЯ относительно БЛОКА ИСТОЧНИКА РЕНТГЕНОВСКОГО ИЗЛУЧЕНИЯ.
ФАНТОМ для ОСЛАБЛЕНИЯ
А3, состоящий из тяжелых металлов (с атомным номером, значительно превышающим атомный номер ткани, например медь, свинец), имеет уменьшенную толщину и массу. Однако количество РАССЕЯННОГО ИЗЛУЧЕНИЯ от этих материалов значительно меньше, чем от тканеэквивалентных материалов.
Кроме того, эквивалентная толщина ФАНТОМА для ОСЛАБЛЕНИЯ
А3 может соответствовать либо степени ОСЛАБЛЕНИЯ, либо увеличению жесткости РАДИАЦИОННОГО ПУЧКА тканеэквивалентного ФАНТОМА, но не обоим этим параметрам одновременно. Это приводит к получению значений дозы ОБЛУЧЕНИЯ, времени ОБЛУЧЕНИЯ и оптической плотности, которые могут существенно отличаться от значений, встречающихся в обычной клинической практике. Отличия измеренных величин, возникающие из-за изменения АНОДНОГО НАПРЯЖЕНИЯ, будут значительно большими, чем отличия, появляющиеся вследствие изменения других параметров аппарата.
Во многих случаях РАССЕЯННОЕ ИЗЛУЧЕНИЕ не имеет особой важности, поскольку изменение параметров компонентов из-за воздействия РАССЕЯННОГО ИЗЛУЧЕНИЯ на ПОВЕРХНОСТЬ ПРИЕМНИКА ИЗОБРАЖЕНИЯ, как правило, незначительно и в расчет не принимается. Следовательно, выбор ФАНТОМА определяется особенностями его использования в конкретном ИСПЫТАНИИ НА ПОСТОЯНСТВО ПАРАМЕТРОВ.
ТЕСТ-ОБЪЕКТ с маркером пленки
ТЕСТ-ОБЪЕКТ с маркером пленки используют для обозначения специальных точек на РЕНТГЕНОГРАММЕ, в которых измеряют оптическую плотность.
Он представляет собой тонкий рентгенопрозрачный трафарет, имеющий, как минимум, два кольца из рентгеноконтрастной проволоки, служащие для обозначения точек, по которым проводят сравнение различий оптической плотности.
Расположение маркеров должно обеспечивать безошибочное ориентирование ТЕСТ-ОБЪЕКТА на РЕНТГЕНОГРАММЕ.
ТЕСТ-ОБЪЕКТ с маркером пленки должен обеспечивать возможность проведения ИСПЫТАНИЙ НА ПОСТОЯНСТВО ПАРАМЕТРОВ для двух установленных размеров РАДИАЦИОННОГО ПОЛЯ, например 15 x 20 см и 30 x 40 см.
Экспонируемая поверхность ТЕСТ-ОБЪЕКТА должна иметь маркировку, позволяющую разместить ее в центре СВЕТОВОГО ПОЛЯ и ограничить это поле до размеров, выбранных для ИСПЫТАНИЯ НА ПОСТОЯНСТВО ПАРАМЕТРОВ.
Пример ТЕСТ-ОБЪЕКТА с маркером пленки представлен на
рисунке 1.
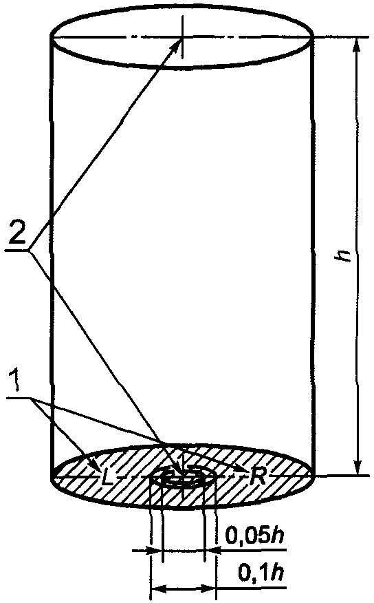
ТЕСТ-ОБЪЕКТ для проверки перпендикулярности
Этот ТЕСТ-ОБЪЕКТ используют для проверки перпендикулярности ОСИ ПУЧКА ИЗЛУЧЕНИЯ относительно ПЛОСКОСТИ ПРИЕМНИКА ИЗОБРАЖЕНИЯ.
ТЕСТ-ОБЪЕКТ состоит из полой прямой трубки (например цилиндрической) высотой не менее 200 мм, верхнее и нижнее основания которой выполнены в форме тонких параллельных пластин из рентгено- и светопрозрачного материала (например поликарбоната или акрила). К обеим пластинам прикреплены рентгеноконтрастные проволочные маркеры (диаметр проволоки 1 мм), размещенные так, что их центры лежат на одной прямой линии, перпендикулярной к плоскостям обеих пластин. Обычно маркеры состоят:
- из двух перекрещенных проволочек с длиной плеча около 15 мм на верхнем основании;
- двух концентрических колец на нижнем основании; внутренний диаметр колец составляет 5% и 10% расстояния от верхнего до нижнего основания.
Пример ТЕСТ-ОБЪЕКТА для проверки перпендикулярности дан на
рисунке 2.
ТЕСТ-ОБЪЕКТ для проверки ориентирования
Этот ТЕСТ-ОБЪЕКТ используют для проверки всех остальных геометрических характеристик изображения, за исключением перпендикулярности.
ТЕСТ-ОБЪЕКТ представляет собой тонкий жесткий рентгенопрозрачный шаблон с рентгеноконтрастными проволочными маркерами (подобными тем, что используют в ТЕСТ-ОБЪЕКТЕ для проверки перпендикулярности), которые позволяют идентифицировать на РЕНТГЕНОГРАММЕ края и центр СВЕТОВОГО ПОЛЯ и безошибочно ориентировать ТЕСТ-ОБЪЕКТ.
Конструкция ТЕСТ-ОБЪЕКТА должна обеспечивать возможность проведения ИСПЫТАНИЙ НА ПОСТОЯНСТВО ПАРАМЕТРОВ для двух заданных размеров РАДИАЦИОННОГО ПОЛЯ, например 15 x 20 см и 30 x 40 см. Кроме того, экспонируемая поверхность ТЕСТ-ОБЪЕКТА должна иметь маркировку, позволяющую разместить ее в центре СВЕТОВОГО ПОЛЯ и ограничить СВЕТОВОЕ ПОЛЕ до размеров, выбранных для испытаний.
Пример ТЕСТ-ОБЪЕКТА для проверки ориентации дан на
рисунке 3.
Высококонтрастный ТЕСТ-ОБЪЕКТ
Высококонтрастный ТЕСТ-ОБЪЕКТ используют при проверке постоянства параметров РЕНТГЕНОВСКОГО АППАРАТА в части его способности раздельно передавать небольшие высококонтрастные элементы изображения. ТЕСТ-ОБЪЕКТ (штриховая мира) должен состоять из расположенных по двум перпендикулярным направлениям периодических штрихов, которые представляют собой полоски тонкой фольги из материала с высоким атомным номером (например свинца толщиной 0,05 мм), разделенные равными им по ширине рентгенопрозрачными промежутками. Периодическая мира должна создавать сигнал прямоугольной формы и обеспечивать пространственные частоты в диапазоне, как минимум, от 0,5 до 10 пар линий на 1 мм либо непрерывно, либо группами по три пары линий (не менее). Увеличение пространственных частот между соседними группами не должно превышать 20%.
Штриховую миру укрепляют на пластмассовом штативе толщиной не более 2 мм. Полоски ориентируют не менее чем в двух перпендикулярных направлениях. Вся мира должна занимать поверхность не более 70 x 70 мм. На внешней поверхности устройства должна быть маркировка, позволяющая разместить его в центре СВЕТОВОГО ПОЛЯ и ограничить размеры поля в соответствии с условиями испытания.
Миру закрепляют на подставке, удерживающей ее параллельно плоскости, на которой размещена подставка, на расстоянии 200 мм от этой плоскости. Подобная компоновка соответствует клиническим условиям и позволяет учитывать возможные отклонения, связанные с ФОКУСНЫМ ПЯТНОМ.
Пример высококонтрастного ТЕСТ-ОБЪЕКТА представлен на
рисунке 4.