Главная // Актуальные документы // ГОСТ Р (Государственный стандарт)СПРАВКА
Источник публикации
М.: Стандартинформ, 2018
Примечание к документу
По сведениям, размещенным на Информационном портале Росстандарта по адресу http://standard.gost.ru/, данный документ утратил силу с 01.01.2023 в связи с изданием Приказа Росстандарта от 23.08.2022 N 804-ст. Взамен введен в действие
ГОСТ 34730.2-6-2022.
Документ
введен в действие с 01.02.2019.
Название документа
"ГОСТ Р МЭК 60704-2-6-2018. Национальный стандарт Российской Федерации. Приборы электрические бытовые и аналогичного назначения. Испытательный код по шуму. Часть 2-6. Частные требования для сушильных машин барабанного типа"
(утв. и введен в действие Приказом Росстандарта от 14.06.2018 N 339-ст)
"ГОСТ Р МЭК 60704-2-6-2018. Национальный стандарт Российской Федерации. Приборы электрические бытовые и аналогичного назначения. Испытательный код по шуму. Часть 2-6. Частные требования для сушильных машин барабанного типа"
(утв. и введен в действие Приказом Росстандарта от 14.06.2018 N 339-ст)
Утвержден и введен в действие
агентства по техническому
регулированию и метрологии
от 14 июня 2018 г. N 339-ст
НАЦИОНАЛЬНЫЙ СТАНДАРТ РОССИЙСКОЙ ФЕДЕРАЦИИ
ПРИБОРЫ ЭЛЕКТРИЧЕСКИЕ БЫТОВЫЕ И АНАЛОГИЧНОГО НАЗНАЧЕНИЯ
ИСПЫТАТЕЛЬНЫЙ КОД ПО ШУМУ
ЧАСТЬ 2-6
ЧАСТНЫЕ ТРЕБОВАНИЯ ДЛЯ СУШИЛЬНЫХ МАШИН
БАРАБАННОГО ТИПА
Household and similar electrical appliances. Test code
for noise. Part 2-6. Particular requirements
for tumble dryers
(IEC 60704-2-6:2012,
Household and similar electrical
appliances - Test code for determination of airborne
acoustical noise - Part 2-6: Particular
requirements for tumble dryers,
IDT)
ГОСТ Р МЭК 60704-2-6-2018
Дата введения
1 февраля 2019 года
1 ПОДГОТОВЛЕН Открытым акционерным обществом "Научно-исследовательский центр контроля и диагностики технических систем" (АО "НИЦ КД") на основе собственного перевода на русский язык англоязычной версии стандарта, указанного в
пункте 4
2 ВНЕСЕН Техническим комитетом по стандартизации ТК 358 "Акустика"
3 УТВЕРЖДЕН И ВВЕДЕН В ДЕЙСТВИЕ
Приказом Федерального агентства по техническому регулированию и метрологии от 14 июня 2018 г. N 339-ст
4 Настоящий стандарт идентичен международному стандарту МЭК 60704-2-6:2012 "Приборы электрические бытовые и аналогичного назначения. Испытательный код для определения воздушного акустического шума. Часть 2-6. Частные требования для сушильных машин барабанного типа" (IEC 60704-2-6:2012 "Household and similar electrical appliances - Test code for determination of airborne acoustical noise - Part 2-6: Particular requirements for tumble dryers", IDT).
Наименование настоящего стандарта изменено для приведения в соответствие с ГОСТ Р 1.5-2012
(пункт 3.5).
При применении настоящего стандарта рекомендуется использовать вместо ссылочных международных стандартов соответствующие им национальные стандарты, сведения о которых приведены в дополнительном
приложении ДА
5 ВВЕДЕН ВПЕРВЫЕ
Правила применения настоящего стандарта установлены в
статье 26 Федерального закона от 29 июня 2015 г. N 162-ФЗ "О стандартизации в Российской Федерации". Информация об изменениях к настоящему стандарту публикуется в ежегодном (по состоянию на 1 января текущего года) информационном указателе "Национальные стандарты", а официальный текст изменений и поправок - в ежемесячном информационном указателе "Национальные стандарты". В случае пересмотра (замены) или отмены настоящего стандарта соответствующее уведомление будет опубликовано в ближайшем выпуске ежемесячного информационного указателя "Национальные стандарты". Соответствующая информация, уведомление и тексты размещаются также в информационной системе общего пользования - на официальном сайте Федерального агентства по техническому регулированию и метрологии в сети Интернет (www.gost.ru)
Настоящий стандарт дополняет, изменяет или заменяет положения МЭК 60704-1:2010 в той части, в которой их используют для испытаний сушильных машин барабанного типа (далее - сушильных машин). Если какой-либо раздел, подраздел, пункт или подпункт МЭК 60704-1:2010 не упомянут в настоящем стандарте, то его применяют непосредственно, руководствуясь соображениями целесообразности.
Вместе с МЭК 60704-1:2010 настоящий стандарт составляет единый испытательный код по шуму для сушильных машин.
Подразделы, пункты, подпункты, таблицы и рисунки, введенные дополнительно к используемым в МЭК 60704-1:2010, пронумерованы, начиная с 101. Дополнительно введенные приложения обозначены AA, BB и т.д.
Условия проведения измерений, устанавливаемые настоящим стандартом, обеспечивают, с одной стороны, достаточную точность измерения шумовых характеристик и возможность их сопоставления с результатами, полученными в других испытательных лабораториях, и, с другой стороны, соответствуют, насколько это возможно, типичным условиям применения сушильных машин.
Определение шумовой характеристики рекомендуется осуществлять одновременно (в рамках общих комплексных испытаний) с измерениями других рабочих характеристик оборудования данного вида.
Примечание - Как указано во введении к МЭК 60704-1:2010, данный испытательный код по шуму распространяется только на воздушный шум оборудования.
1 Область применения и измеряемые величины
Применяют раздел 1 МЭК 60704-1:2010 за следующими исключениями.
1.1 Область применения
1.1.1 Общие положения
Дополнить следующим:
Устанавливаемые настоящим стандартом частные требования применяют к испытаниям единичных экземпляров сушильных машин барабанного типа бытового или аналогичного назначения (далее - сушильных машин) различного исполнения: напольных для пристенной установки, встраиваемых или размещаемых под рабочей поверхностью (столешницей, раковиной), настенных и настольных. Стиральные машины барабанного типа с функцией сушки белья в настоящем стандарте рассматриваются как сушильные машины.
Примечание 101 - Частные требования для испытаний стиральных машин - по МЭК 60704-2-4.
Настоящий стандарт распространяется также на электрические сушильные машины с газовым нагревом.
1.1.2 Виды шума
Заменить следующим:
Для измерений шума сушильных машин применяют методы по ИСО 3743-1, ИСО 3743-2 и ИСО 3744.
1.1.3 Размеры источника
Заменить следующим:
Метод, описанный в ИСО 3744, применяют к источникам шума любого размера. В случае применения метода по ИСО 3743-1 или ИСО 3743-2 следует руководствоваться ограничениями на максимальный размер испытуемого оборудования, установленными этими стандартами.
1.2 Измеряемые величины
Дополнить следующим:
Настоящий стандарт не устанавливает методы заявления и подтверждения шумовой характеристики сушильных машин.
Примечание 101 - Определение и подтверждение заявляемой шумовой характеристики - по МЭК 60704-3.
1.3 Неопределенность измерения
Заменить следующим:
Оценки стандартных отклонений повторяемости

и воспроизводимости

уровней звуковой мощности, определенных в соответствии с настоящим стандартом, приведены в таблице 101.
Таблица 101
Стандартные отклонения уровней звуковой мощности
Стандартные отклонения, дБ |
| |
0,4 | 0,8 |
Дополнить следующим:
1.101 Стандартные отклонения, используемые в целях заявления и подтверждения шумовой характеристики
В целях заявления и подтверждения шумовой характеристики по МЭК 60704-3 применяют значения стандартного отклонения производства

, общего стандартного отклонения

и справочного стандартного отклонения

, указанные в таблице 102.
Таблица 102
Стандартные отклонения, применяемые с целью заявления
и подтверждения шумовой характеристики сушильных машин
Стандартные отклонения, дБ |
| | |
От 0,7 до 1,0 | От 1,1 до 1,3 | 1,5 |
Применяют раздел 2 МЭК 60704-1:2010 за следующим исключением.
Дополнить следующим:
IEC 60456:2010, Clothes washing machines for household use - Methods for measuring the performance (Стиральные машины бытового назначения. Методы измерений рабочих характеристик)
IEC 61121:2012, Tumble dryers for household use - Methods for measuring the performance (Сушильные машины барабанного типа бытового назначения. Методы измерений рабочих характеристик)
ISO 7235, Acoustics - Laboratory measurement procedures for ducted silencers and air-terminal units - Insertion loss, flow noise and total pressure loss (Акустика. Лабораторные методы измерений для шумоглушителей в воздуховодах и воздухораспределительных устройств. Вносимые потери, шум потока и суммарное падение давления)
Применяют раздел 3 МЭК 60704-1:2010 за следующими исключениями.
Дополнить следующим:
3.101 сушильная машина барабанного типа (tumble dryer): Бытовой электроприбор для сушки текстильных изделий посредством их переворачивания во вращающемся барабане, через который пропускают нагретый воздух.
3.102 номинальная вместимость (rated capacity): Максимальная масса (в килограммах) сухих текстильных изделий определенного вида, которая, по заявлению изготовителя, может быть обработана по выбранной программе сушки.
Примечание 1 - Номинальная вместимость должна быть такой же, что и при измерениях рабочих характеристик и энергопотребления сушильной машины по МЭК 61121:2012.
Примечание 2 - Если номинальная вместимость изготовителем не указана, то ее определяют, исходя из свободного объема барабана из расчета 1 кг загрузки на 24 л объема барабана.
3.103 испытательная загрузка (хлопчатобумажными изделиями) (cotton test load): Используемая в испытаниях загрузка сушильной машины только хлопчатобумажными полотенцами по МЭК 60456:2011 (приложение C).
4 Методы измерений и акустические условия
Применяют раздел 4 МЭК 60704-1:2010 за следующими исключениями.
4.2 Прямой метод измерений
Дополнить следующим:
Примечание 101 - Наличие в шуме тональных составляющих при испытаниях в реверберационном помещении может привести к повышению стандартного отклонения уровней звукового давления. В таком случае следует использовать дополнительные точки расположения микрофона и испытуемого объекта как указано в ИСО 3743-2.
4.3 Метод сравнения
Дополнить следующим:
Примечание 101 - Наличие в шуме тональных составляющих при испытаниях в реверберационном помещении или в помещении с твердыми стенами может привести к повышению стандартного отклонения уровней звукового давления. В таком случае следует использовать дополнительные точки расположения микрофона и испытуемого объекта как указано в ИСО 3743-1 и ИСО 3743-2.
Применяют раздел 5 МЭК 60704-1:2010.
6 Расположение, установка и работа изделия во время испытаний
Применяют раздел 6 МЭК 60704-1:2010 за следующими исключениями.
6.1 Сборка и предварительная подготовка изделия
6.1.1
Дополнить следующим:
Перед проведением измерений все имеющиеся в изделии фильтры должны быть тщательно прочищены в соответствии с инструкцией изготовителя.
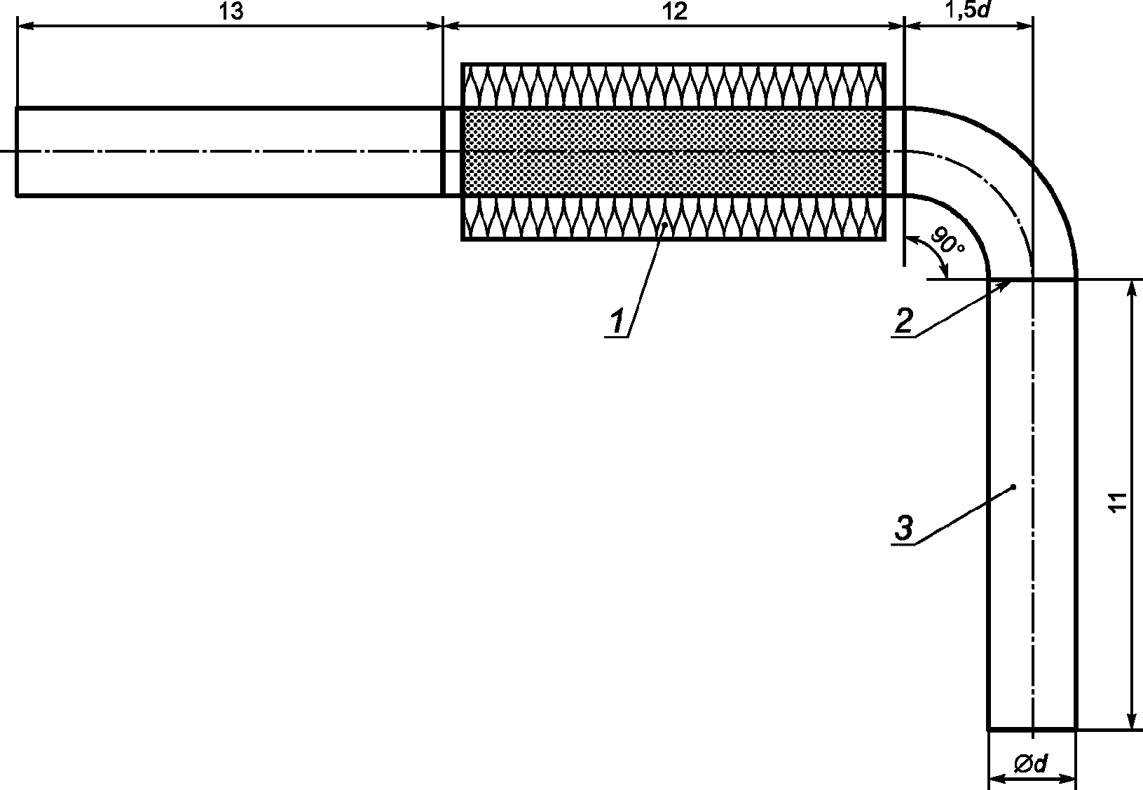
Если в соответствии с документацией изготовителя изделие допускает подсоединение вытяжного воздуховода, то в испытаниях используют стандартный воздуховод в виде соединенного с трубой глушителя, как показано на
рисунке 101. Труба должна быть жесткой, с гладкой внутренней поверхностью и иметь максимальный диаметр из предлагаемых изготовителем. Если иное не указано, то используют стандартную трубу с диаметром, соответствующим диаметру выпускного отверстия изделия. Вносимые глушителем потери указаны в
таблице рисунка 101. Глушитель должен иметь круглое сечение с внутренним диаметром, совпадающим с диаметром трубы, и длину, указанную на
рисунке 101. Глушитель не должен иметь выступающих внутрь элементов, которые могут привести к дополнительному падению давления. Дополнительные характеристики трубы и глушителя приведены на
рисунке 101. Следует принять меры, чтобы не допустить излучения стандартным воздуховодом воздушного шума. Стандартный воздуховод допускается подсоединять к изделию под любым углом. Если изделие имеет встроенную гибкую выходную трубу, то ее используют в качестве первого участка стандартного воздуховода, заменяющего прямой участок трубы с коленом и непосредственно соединенного с глушителем.
Если в комплект поставки изготовителя входит гибкий воздуховод, то он в испытаниях не используется, а его заменяют стандартным воздуховодом.
Если изделие допускает применение разных выпускных устройств, то измерения проводят с устройством, которое обеспечивает наивысший уровень звукового давления.
Следует убедиться, что шум от воздуховода незначительно влияет на шум, создаваемый испытуемым изделием.
1 - глушитель (см.
таблицу); 2 - соединение с коленом
(не должно искажать поток воздуха, приводить к потерям
давления и излучению дополнительного шума); 3 - труба
с гладкими внутренними стенками;
11 + 12 + 13 = 3000 мм; 11 >= 5d
Минимальные вносимые потери <*> в октавных полосах частот, дБ |
125 Гц | 250 Гц | 500 Гц | 1 кГц | 2 кГц | 4 кГц | 8 кГц |
8 | 20 | 20 | 20 | 20 | 20 | 20 |
<*> Измеренные по ИСО 7235. |
Рисунок 101 - Стандартный воздуховод
6.1.3
Заменить следующим:
Перед проведением измерений сушильная машина должна совершить не менее двух полных циклов сушки. При этом допускается использовать любую загрузку в пределах номинальной вместимости.
6.1.4
Заменить следующим:
Создают условия окружающей среды для проведения испытаний согласно
6.3.
6.2 Подача электрической энергии, воды и газа
6.2.2 и 6.2.3
Не применяют.
6.2.4
Дополнить следующим:
Сушильные машины с газовым нагревом испытывают при номинальном давлении и номинальном составе газовой смеси в соответствии с категорией изделия (указывают на заводской табличке сушильной машины).
6.3 Условия окружающей среды
Дополнить следующим:
Указанные условия окружающей среды должны поддерживаться в течение всего времени выполнения стандартной программы работы изделия.
6.4 Нагружение и работа изделия во время испытаний
6.4.2
Заменить следующим:
В процессе измерений шума изделие работает по стандартной программе согласно
6.101 с загрузкой согласно
6.102.
6.4.3
Не применяют.
6.5 Расположение и установка изделия
6.5.2
Не применяют.
6.5.3
Внести изменение:
D = (25 +/- 1) см.
Дополнить следующим:
Если на задней стороне изделия имеется выходной воздуховод, то при его соединении со стандартным воздуховодом должно быть использовано колено с углом 90° такое же, как в стандартном воздуховоде.
Примечание 101 - Выпускное отверстие стандартного воздуховода может быть выведено за пределы испытательного помещения или подведено к системе воздухоотвода таким образом, чтобы влиянием шума и падения давления можно было пренебречь.
6.5.5
Дополнить следующим:
Изделия с фронтальной загрузкой, предназначенные для установки или встраивания под рабочую поверхность перед испытанием устанавливают в соответствии с рекомендациями изготовителя в специальном испытательном шкафу, описанном в приложении B МЭК 60704-1:2010.
Дополнительно ввести следующие подразделы, пункты и подпункты:
6.101 Стандартная программа работы изделия при измерениях шума
При испытаниях автоматических сушильных машин стандартной программой работы изделия является полная сушка хлопчатобумажной ткани, при которой остаточное содержание влаги в загруженном материале после завершения программы должно составлять

.
Для неавтоматических стиральных машин время работы изделия выбирают таким, чтобы после ее завершения было достигнуто то же значение остаточного содержания влаги.
Примечание 1 - Требуемое время работы неавтоматической сушильной машины определяют при контроле процесса сушки. Одним из возможных вариантов является установка испытуемого изделия на весы, что позволяет наблюдать изменение массы испытуемой загрузки. Другим способом является проведение предварительных испытаний.
Примечание 2 - После завершения стандартной программы работы изделие может продолжать работать по другой программе в рамках комплексных испытаний, например в режиме "против сминания".
Конечное содержание влаги

в испытательной загрузке определяют по формуле
где Wf - масса стандартной испытательной загрузки после завершения стандартной программы работы изделия;
W0 - масса стандартной испытательной загрузки после этапа кондиционирования (см.
6.102.2).
6.102 Стандартная испытательная загрузка при измерениях шума
6.102.1 Общие положения
Стандартная испытательная загрузка, применяемая в целях определения шумовой характеристики, представляет собой испытательную загрузку, прошедшую этап кондиционирования, масса которой близка к максимальной, исходя из номинальной вместимости изделия, но не превышает ее.
Непосредственно перед каждым измерением шума стандартную испытательную нагрузку увлажняют, доводя содержание влаги до начального значения

, равного (60 +/- 2)%.
Начальное содержание влаги

в испытательной загрузке определяют по формуле
где Wi - масса стандартной испытательной загрузки после увлажнения;
W0 - масса стандартной испытательной загрузки после этапа кондиционирования (см.
6.102.2).
Примечание - Обычно заданное начальное содержание влаги получают, помещая испытательную загрузку в стиральную машину и запуская режим ополаскивания, после чего в режиме отжима на скорости приблизительно 1100 мин-1 доводят содержание влаги до требуемого.
Чтобы свести к минимуму влияние на результаты измерений шума степени износа материала, составляющего испытательную загрузку, используют материал разного срока службы со средним значением, соответствующим диапазону от 30 до 50 применений в стандартной программе работы сушильной машины при испытаниях. Число предметов (полотенец) в испытательной загрузке, а также их средний срок службы должны оставаться одинаковым на всем периоде испытаний.
Средний срок службы

вычисляют по формуле
где
ai - срок службы одного полотенца в испытательной загрузке, выраженный через число испытаний после предварительной обработки, как указано в
6.102.3 (каждое значение индекса суммирования
i соответствует определенному сроку службы);
ni - число полотенец в испытательной загрузке с одним и тем же сроком службы.
После каждых, как максимум, 10 использований в стандартной программе работы сушильной машины полотенца, составляющие испытательную загрузку, должны пройти этап нормализации в соответствии с
6.102.4.
Не следует включать в испытательную загрузку полотенца, выдержавшие более 80 использований в стандартной программе работы. В это число не входят процедуры предварительной обработки и нормализации.
6.102.2 Кондиционирование предметов испытательной загрузки
6.102.2.1 Общие положения
Кондиционирование представляет собой процесс приведения предметов испытательной загрузки к заданному содержанию влаги после этапа нормализации и сушки для обеспечения их готовности к последующей серии испытаний.
Кондиционирование может быть выполнено одним из следующих способов: помещением в пространство (камеру или комнату) с контролируемыми условиями окружающей среды или приведением предметов в полностью сухое состояние.
Примечание - Предметы испытательной загрузки необязательно подвергать кондиционированию между каждыми двумя пусками по стандартной программе работы, однако перед каждым таким пуском их высушивают, доводя содержание влаги в испытательной загрузке до заданного значения в пределах 2%.
6.102.2.2 Кондиционирование в камере (комнате) с контролируемыми условиями окружающей среды
При использовании данного метода кондиционируемые предметы помещают в камеру (комнату), температура и влажность в которой поддерживаются в соответствии с требованиями МЭК 60704-1:2010 (6.3). Существуют два варианта данного метода:
- предметы (полотенца) развешивают по отдельности таким образом, чтобы обеспечить свободную циркуляцию воздуха между ними, и оставляют на время не менее 15 ч;
- с периодичностью не менее 2 ч измеряют общую массу испытательной загрузки и прекращают процесс кондиционирования, когда изменение массы в двух последующих измерениях будет менее 0,5%.
6.102.2.3 Кондиционирование приведением предметов в полностью сухое состояние
В данном методе используют сушильную машину с известными техническими характеристиками. Испытательную загрузку высушивают в этой машине до полностью сухого состояния. Измеряют массу каждого предмета испытательной загрузки в полностью сухом состоянии, после чего умножением ее на коэффициент, известный из технических характеристик машины, получают значение массы предмета, которую тот должен иметь после кондиционирования.
Технические характеристики используемой в методе сушильной машины, метод приведения испытательной загрузки в состояние полной сухости перед проведением серии испытаний, а также расчет массы после кондиционирования приведены в МЭК 60456:2010 (приложение G).
6.102.3 Предварительная обработка новых предметов испытательной загрузки перед их применением
Новые предметы испытательной нагрузки перед их применением подвергают обработке, представляющей собой процесс нормализации (см.
6.102.4) пятикратной стиркой без промежуточного высушивания.
6.102.4 Нормализация предметов испытательной загрузки
Нормализация предметов испытательной загрузки достигается путем их стирки в стиральной машине с установленной программой для хлопчатобумажных тканей при температуре 60 °C.
Для стирки используют стиральный порошок из расчета 15 г порошка на 1 кг загрузки. Применяемый стиральный порошок должен соответствовать требованиям к эталонному моющему средству А* по МЭК 60456:2010 (приложение B).
7 Измерение уровней звукового давления
Применяют раздел 7 МЭК 60704-1:2010 за следующими исключениями.
7.1.1
Не применяют.
7.1.5 и 7.1.6
Не применяют.
7.4 Проведение измерений
7.4.1
Дополнить следующим:
Шумовой характеристикой сушильной машины является эквивалентный уровень корректированной по
А звуковой мощности, полученный усреднением по времени работы машины по стандартной программе в соответствии с
6.101.
7.4.4
Не применяют.
8 Расчет уровней звукового давления и звуковой мощности
Применяют раздел 8 МЭК 60704-1:2010.
9 Регистрируемая информация
Применяют раздел 9 МЭК 60704-1:2010 за следующим исключением.
9.6 Оснащение оборудованием и предварительная подготовка изделия
9.6.3
Не применяют.
9.7 Энерго-, водоснабжение и т.п.
9.7.2
Не применяют.
Применяют раздел 10 МЭК 60704-1:2010 за следующими исключениями.
10.3 Условия испытаний прибора
10.3.3
Не применяют.
10.3.5
Не применяют.
Применяют приложения МЭК 60704-1:2010 за следующим исключением.
(обязательное)
СТОЛ ДЛЯ ИСПЫТАНИЙ
Настоящее приложение МЭК 60704-1:2010 не применяют.
(справочное)
СВЕДЕНИЯ О СООТВЕТСТВИИ ССЫЛОЧНЫХ МЕЖДУНАРОДНЫХ СТАНДАРТОВ
НАЦИОНАЛЬНЫМ И МЕЖГОСУДАРСТВЕННЫМ СТАНДАРТАМ
Таблица ДА.1
Обозначение ссылочного международного стандарта | Степень соответствия | Обозначение и наименование соответствующего национального, межгосударственного стандарта |
IEC 60456:2010 | IDT | |
IEC 61121:2012 | IDT | ГОСТ IEC 61121-2015 "Сушилки барабанные для бытового использования. Методы измерения функциональных характеристик" |
ISO 7235:2003 | MOD | ГОСТ 28100-2007 (ИСО 7235:2003) "Акустика. Измерения лабораторные для заглушающих устройств, устанавливаемых в воздуховодах, и воздухораспределительного оборудования. Вносимые потери, потоковый шум и падение полного давления" |
Примечание - В настоящей таблице использованы следующие условные обозначения степени соответствия стандартов: - IDT - идентичные стандарты; - MOD - модифицированные стандарты. |