Главная // Актуальные документы // ГОСТ Р (Государственный стандарт)СПРАВКА
Источник публикации
М.: Стандартинформ, 2018
Примечание к документу
Документ
введен в действие с 01.03.2019.
Название документа
"ГОСТ Р МЭК 60086-4-2018. Национальный стандарт Российской Федерации. Батареи первичные. Часть 4. Безопасность литиевых батарей"
(утв. и введен в действие Приказом Росстандарта от 11.10.2018 N 751-ст)
"ГОСТ Р МЭК 60086-4-2018. Национальный стандарт Российской Федерации. Батареи первичные. Часть 4. Безопасность литиевых батарей"
(утв. и введен в действие Приказом Росстандарта от 11.10.2018 N 751-ст)
Утвержден и введен в действие
по техническому регулированию
и метрологии
от 11 октября 2018 г. N 751-ст
НАЦИОНАЛЬНЫЙ СТАНДАРТ РОССИЙСКОЙ ФЕДЕРАЦИИ
БАТАРЕИ ПЕРВИЧНЫЕ
ЧАСТЬ 4
БЕЗОПАСНОСТЬ ЛИТИЕВЫХ БАТАРЕЙ
Primary batteries. Part 4. Safety of lithium batteries
(IEC 60086-4:2014, IDT)
ГОСТ Р МЭК 60086-4-2018
ОКП 27.20.11.000
Дата введения
1 марта 2019 года
1 ПОДГОТОВЛЕН Национальной ассоциацией производителей источников тока "РУСБАТ" (Ассоциация "РУСБАТ") на основе собственного перевода на русский язык англоязычной версии стандарта, указанного в
пункте 4
2 ВНЕСЕН Техническим комитетом по стандартизации ТК 044 "Аккумуляторы и батареи"
3 УТВЕРЖДЕН И ВВЕДЕН В ДЕЙСТВИЕ
Приказом Федерального агентства по техническому регулированию и метрологии от 11 октября 2018 г. N 751-ст
4 Настоящий стандарт идентичен международному стандарту МЭК 60086-4:2014 "Батареи первичные. Часть 4. Безопасность литиевых батарей" (IEC 60086-4:2014 "Primary batteries - Part 4: Safety of lithium batteries", IDT).
При применении настоящего стандарта рекомендуется использовать вместо ссылочных международных стандартов соответствующие им национальные стандарты Российской Федерации, сведения о которых приведены в дополнительном
приложении ДА
6 Некоторые положения настоящего стандарта могут являться объектами патентных прав. Международная электротехническая комиссия (МЭК) не несет ответственности за идентификацию подобных патентных прав
Правила применения настоящего стандарта установлены в статье 26 Федерального закона от 29 июня 2015 г. N 162-ФЗ "О стандартизации в Российской Федерации". Информация об изменениях к настоящему стандарту публикуется в ежегодном (по состоянию на 1 января текущего года) информационном указателе "Национальные стандарты", а официальный текст изменений и поправок - в ежемесячно издаваемом информационном указателе "Национальные стандарты". В случае пересмотра (замены) или отмены настоящего стандарта соответствующее уведомление будет опубликовано в ближайшем выпуске ежемесячного информационного указателя "Национальные стандарты". Соответствующая информация, уведомление и тексты размещаются также в информационной системе общего пользования - на официальном сайте Федерального агентства по техническому регулированию и метрологии (www.gost.ru)
Концепция безопасности тесно связана с обеспечением недопущения нанесения вреда жизни и здоровью людей и ущерба имуществу. Настоящий стандарт устанавливает требования и методы испытания для первичных литиевых батарей и подготовлен в соответствии с руководящими принципами ИСО/МЭК, с учетом требований всех соответствующих применимых национальных и международных стандартов.
Литиевые батареи отличаются от обычных первичных элементов и батарей с использованием водного электролита тем, что они содержат огнеопасные материалы.
Следовательно, важно тщательно рассматривать вопросы безопасности при разработке, производстве, поставках, использовании и утилизации литиевых батарей. Вследствие особых характеристик литиевые батареи для бытовых приложений изначально были небольшими по размеру и имели низкую выходную мощность. Были также литиевые батареи с высокой выходной мощностью, которые использовались для специальных промышленных и военных применений и были охарактеризованы как "заменяемые специалистами". Первая редакция настоящего стандарта была разработана с учетом этой ситуации.
Однако приблизительно от конца 1980-х годов литиевые батареи с высокой выходной мощностью стали широко использоваться на вторичном рынке замены потребителями, в основном в качестве источника питания в фотокамерах. Так как спрос на такие литиевые батареи с высокой выходной мощностью значительно увеличился, эти типы литиевых батарей начали выпускать многие изготовители. Как следствие этой ситуации, аспекты безопасности для литиевых батарей с высокой выходной мощностью были включены во второе издание настоящего стандарта.
Первичные литиевые батареи как для потребительских, так и для промышленных приложений - хорошо отлаженные безопасные и надежные продукты на рынке, что, по крайней мере, частично зависело от наличия стандартов безопасности, таких как настоящий стандарт и стандарт для транспортировки МЭК 62281. Поэтому четвертое издание настоящего стандарта отражает лишь незначительные изменения, которые необходимы для того, чтобы привести его в соответствие с МЭК 62281 и постоянно улучшать пользовательскую информацию по вопросам, связанным с безопасностью.
Рекомендации, посвященные вопросам безопасности при проектировании литиевых батарей, приведены в приложении A. В
приложении B приводятся рекомендации в отношении вопросов безопасности при проектировании оборудования, в котором устанавливаются литиевые батареи. Оба
приложения A и
B отражают опыт работы с литиевыми батареями, используемыми в приложениях фотокамер, и основаны на
[20].
Безопасность - это отсутствие неприемлемого риска. Необходимо учитывать, что абсолютной безопасности быть не может, всегда остается некоторая доля риска. Поэтому сам продукт, процесс или услуга могут быть только относительно безопасными. Безопасность достигается за счет снижения риска до приемлемого уровня, определяемого оптимальным балансом между идеалом абсолютной безопасности и требованиями, предъявляемые к продукции, процессам и услугам, а также такими факторами, как выгода для пользователя, пригодность для конкретной цели, экономическая эффективность, а также обычаи общества.
Поскольку обеспечение безопасности имеет множество различных аспектов, то невозможно обеспечить набор точных положений и рекомендаций, которые будут применяться в каждом конкретном случае. Тем не менее настоящий стандарт при разумном "использовании, если это применимо", обеспечит достаточно твердую основу для безопасности.
Данная часть МЭК 60086 определяет требования и методы испытания для первичных литиевых батарей для обеспечения их безопасной эксплуатации в соответствии с назначением с учетом возможного неправильного использования.
Примечание - Первичные литиевые батареи, которые стандартизированы в МЭК 60086-2, должны отвечать всем применимым требованиям, устанавливаемым настоящим стандартом. Настоящий стандарт также может быть применен при определении и/или для обеспечения безопасности не стандартизированных первичных литиевых батарей. В любом случае не дается гарантия и не могут предъявляться претензии к тому, что соблюдение или несоблюдение этого стандарта будет выполнять или не выполнять какие-либо из конкретных целей или потребностей потребителя.
В настоящем стандарте использованы нормативные ссылки на следующие международные стандарты. Для датированных ссылок следует использовать только указанное издание, для недатированных ссылок следует использовать последнее издание указанного документа, включая все поправки.
IEC 60086-1:2011 Primary batteries - Part 1: General (Батареи первичные. Часть 1. Общие требования)
<*>
--------------------------------
<*> Заменен на IEC 60086-1:2015.
IEC 60086-2 Primary batteries - Part 2: Physical and electrical specifications (Батареи первичные. Часть 2. Физические и электрические характеристики)
Примечание - При пользовании настоящим стандартом целесообразно проверить действие ссылочных стандартов и классификаторов в информационной системе общего пользования - на официальном сайте Федерального агентства по техническому регулированию и метрологии в сети Интернет или по информационному указателю "Национальные стандарты", который опубликован по состоянию на 1 января текущего года), и по выпускам ежемесячного информационного указателя "Национальные стандарты" за текущий год. Если заменен ссылочный стандарт, на который дана недатированная ссылка, то рекомендуется использовать действующую версию этого стандарта с учетом всех внесенных в данную версию изменений. Если заменен ссылочный стандарт, на который дана датированная ссылка, то рекомендуется использовать версию этого стандарта с указанным выше годом утверждения (принятия). Если после утверждения настоящего стандарта в ссылочный стандарт, на который дана датированная ссылка, внесено изменение, затрагивающее положение, на которое дана ссылка, то это положение рекомендуется применять без учета данного изменения. Если ссылочный стандарт отменен без замены, то положение, в котором дана ссылка на него, рекомендуется применять в части, не затрагивающей эту ссылку.
В настоящем стандарте применены следующие термины с соответствующими определениями.
Примечание - Некоторые определения, взятые из МЭК 60050-482, МЭК 60086-1 и Руководства ИСО/МЭК 51, повторяются ниже для удобства.
3.1
батарея (battery): Один или несколько элементов электрически соединенных между собой и размещенных в корпусе, снабженном выводами, маркировкой и защитными устройствами и т.п., необходимыми для ее использования. [МЭК 60050-482:2004, статья 482-01-04, модифицированный ("оборудованы устройствами, необходимыми для использования, например корпусом" заменен "электрически соединенных между собой и размещенных в корпусе", добавление "и т.д., необходимыми для ее использования")] |
3.2
дисковый элемент, монетный элемент (coin cell, coin battery): Маленький круглый элемент или батарея, в которых общая высота меньше диаметра. Примечание - В английском языке термин "монетный" (элемент или батарея) используется в основном для литиевых батарей, в то время как термин "пуговичный" (элемент или батарея) используется только для нелитиевых батарей. В других языках кроме английского термины "монетный" и "пуговичный" часто используются как взаимозаменяемые, независимо от электрохимической системы <*>. [МЭК 60050-482:2004, статья 482-02-40, модифицированный (термин "button" ("пуговичный") удален). Примечание "С точки зрения практики, термин монетный используется исключительно для неводных литиевых элементов" заменено на другое примечание] |
--------------------------------
<*> Справочно - Устоявшимся термином в русском языке является "дисковый" (примечание разработчика стандарта).
3.3
элемент (cell): Основное функциональное устройство источника тока, состоящее из блока электродов, электролита, корпуса, выводов и, как правило, сепараторов, являющееся источником электрической энергии, которая получается путем непосредственного преобразования из химической энергии. [МЭК 60050-482:2004, статья 482-01-01] |
3.4 составляющий элемент (component cell): Элемент, входящий в состав батареи.
3.5
цилиндрический <элемент или батарея> (cylindrical <cell or battery>): Круглый элемент или батарея, в которых общая высота равна или больше диаметра. [МЭК 60050-482:2004, статья 482-02-39, модифицированный ("элемент цилиндрической формы" заменено на "круглый элемент или батарея")] |
3.6 глубина разряда; ГР (depth of discharge, DOD): Доля емкости, полученной при разряде, от величины номинальной емкости, выраженная в процентах.
3.7 полностью разряженный <элемент, батарея> (fully discharged): Степень заряженности элемента или батареи, отвечающая 100% ГР.
3.8
вред (harm): Телесные повреждения или ущерб здоровью людей, или ущерб имуществу, или окружающей среде. [ИСО/МЭК Руководство 51:1999, статья 3.3] |
3.9
опасность (hazard): Потенциальный источник нанесения вреда. [МЭК 60050-486, статья 486-01-11] |
3.10
использование по назначению (intended use): Использование продукта, процесса или услуги в соответствии с информацией, предоставленной поставщиком. [ИСО/МЭК Руководство 51:1999, статья 3.13] |
3.11 большая батарея (large battery): Батарея с массой брутто более 12 кг.
3.12 большой элемент (large cell): Элемент с массой брутто более 500 г.
3.13
литиевый элемент (lithium cell): Элемент, содержащий неводный электролит и отрицательный электрод из лития или содержащий литий. [МЭК 60050-482:2004, статья 482-01-06, модифицированный (удаление примечания)] |
3.14
номинальное напряжение (nominal voltage): Условная приблизительная величина напряжения, используемая для обозначения или идентификации элемента, батареи или электрохимической системы. [МЭК 60050-482:2004, статья 482-03-31] |
3.15
напряжение разомкнутой цепи; НРЦ; напряжение холостого хода; Uрц (open circuit voltage, OCV, UOC, off-load voltage): Напряжение на выводах элемента или батареи при отсутствии тока во внешней цепи. [МЭК 60050-482:2004, статья 482-03-32, модифицированный (добавлены альтернативные термины "НРЦ, UOC, напряжение холостого хода", добавлено "на выводах", "когда ток разряда равен нулю" заменяется на "при отсутствии тока во внешней цепи")] |
3.16
призматический элемент, призматическая батарея (prismatic cell, prismatic battery): Химический источник тока в форме параллелепипеда с прямоугольными сторонами. [МЭК 60050-482:2004, статья 482-02-38] |
3.17 защитные устройства (protective devices): Устройства, такие как предохранители, диоды или другие электрические или электронные ограничители тока, предназначенные для прерывания электрического тока, блокирования протекания тока в одном направлении или ограничения тока в электрической цепи.
3.18
нормируемая емкость (rated capacity): Значение емкости элемента или батареи, определенное в установленных условиях и заявленное производителем. [МЭК 60050-482:2004, статья 482-03-15, модифицированный (добавлено "элемента или")] |
3.19
возможное неправильное использование (foreseeable misuse): Использование продукта, процесса или услуги способом, не предназначенным поставщиком, но которые могут быть результатом легко предсказуемого поведения человека. [ИСО/МЭК Руководство 51:1999, статья 3.14] |
3.20
риск (risk): Сочетание вероятности возникновения ущерба и его серьезности. [ИСО/МЭК Руководство 51:1999, статья 3.2] |
3.21
безопасность (safety): Отсутствие неприемлемого риска. [ИСО/МЭК Руководство 51:1999, статья 3.1] |
3.22 неразряженный (undischarged): Степень заряженности первичного элемента или батареи, соответствующая ГР = 0%.
4 Требования, предъявляемые к безопасности
Литиевые источники тока классифицируются по их химическому составу (анод, катод, электролит), внутренней конструкции (бобинная, спиральная) и доступны в цилиндрической, дисковой и призматической конфигурации. Учитывая тот факт, что они могут значительно различаться в зависимости от конкретной литиевой системы
<*>, мощности и конфигурации батареи, необходимо рассмотреть все соответствующие аспекты безопасности еще на стадии проектирования источника тока.
--------------------------------
<*> Справочно - В основном в зависимости от используемого катода (примечание разработчика стандарта).
Для обеспечения безопасности общими для всех литиевых элементов питания и батарей являются следующие требования к конструкции:
a) должна быть конструктивно предотвращена возможность аномального повышения температуры выше критического значения, определенного производителем;
b) повышение температуры в батарее должно контролироваться конструкцией, которая в этом случае должна ограничивать ток;
c) литиевые элементы и батареи должны быть сконструированы таким образом, чтобы уменьшить чрезмерное внутреннее давление или исключить интенсивное разрушение в условиях транспортировки, использования по назначению и возможном неправильном использовании.
Принципы, которыми необходимо руководствоваться для обеспечения безопасности литиевых источников тока, приведены в
приложении A.
Изготовитель должен подготовить и внедрить план качества, определяющий порядок проверки материалов, компонентов, элементов и батарей в процессе производства, который должен применяться к общему процессу производства определенного типа батареи. Изготовители должны понимать свои технологические возможности и должны внедрить необходимые механизмы контроля процессов, имеющих отношение к безопасности.
Образцы должны быть взяты из произведенных партий в соответствии с общепринятыми статистическими методами.
Число образцов для испытаний приведено в
таблице 1.
Испытания от A до
E проводятся последовательно на одних и тех же образцах. Для проведения
испытаний от F до
M требуются новые образцы для каждого испытания.
Таблица 1
Количество испытуемых образцов
Испытания | Степень разряженности | Элементы и одноэлементные батареи <a> | Батареи из нескольких элементов |
| Неразряженный | 10 | 4 |
Полностью разряженный | 10 | 4 |
| Неразряженный | 5 | 5 составляющих элементов |
Полностью разряженный | 5 | 5 составляющих элементов |
| Полностью разряженный | 10 | 10 составляющих элементов |
| Неразряженный | 5 | 5 |
| Неразряженный | | н/п |
| Разряженный на 50% | | н/п |
Разряженный на 75% | | н/п |
<a> Одноэлементные батареи, содержащие один, уже испытанный составляющий элемент, не требуют повторного испытания, если только изменения при установке его в батарею не могут привести к отказу в любом из испытаний. |
Условное обозначение: н/п - не применяется. |
Примечания 1 Четыре элемента (батареи), соединенные последовательно, причем один из элементов установлен с обратной полярностью (5 комплектов). 2 Четыре элемента (батареи), соединенные последовательно, причем один из элементов предварительно разряжен на 50% (5 комплектов). 3 Четыре элемента (батареи), соединенные последовательно, причем один из элементов предварительно разряжен на 75% (5 комплектов). |
6 Испытания и требования к ним
6.1.1 Матрица применимости методов испытаний
Применимость методов испытания для элементов и батарей показана в
таблице 2.
Таблица 2
Матрица проводимых испытаний
Тип | Проводимые испытания |
| | | | | | | | | | | | |
s | x | x | x | x | x | x <a> | x <a> | x | x | x | x | x <b> | x <c> |
m | x | x | x | x | x | x <a>, <d> | x <a>, <d> | x <d> | x | x | x | н/п | н/п |
Описание испытания | Условные обозначения |
Испытания на использование по назначению | Испытания на возможное неправильное применение | Тип |
| Высота | | Внешнее короткое замыкание | s: | Элемент или одноэлементная батарея |
| Циклическое изменение температуры | | Динамический удар | m: | Батарея из нескольких элементов |
| Раздавливание |
| Вибрация | | Принудительный разряд |
| Одиночный удар | | Нештатный заряд | Применимость |
| Свободное падение | x: | Применяется |
| Термическое воздействие | н/п: | Не применяется |
| Неправильная установка |
| Переразряд |
<b> Применяется только к CR17345, CR15H270 и батареям аналогичных типов, имеющих спиральную конструкцию, допускающую установку с обратной полярностью и возможность подзаряда. <c> Применяется только к CR17345, CR15H270 и батареям аналогичных типов, имеющих спиральную конструкцию, которые могут быть переразряжены. <d> Испытание применяется к составляющим элементам. |
6.1.2 Уведомление для обеспечения безопасности
ПРЕДОСТЕРЕЖЕНИЕ: | Эти испытания требуют использования процедур, которые могут привести к травмам, если не будут приняты соответствующие меры предосторожности. При составлении этих испытаний предполагалось, что их выполнение должно осуществляться надлежащим образом квалифицированными и опытными специалистами с применением адекватных мер защиты. |
6.1.3 Температура окружающей среды
Если не указано иное, то испытания проводят при температуре окружающей среды (20 +/- 5) °C.
6.1.4 Допустимые отклонения по параметрам
Суммарная точность контролируемых или измеряемых значений относительно заданных или фактических параметров должна находиться в пределах следующих допусков:
a) +/- 1% для напряжения;
b) +/- 1% для тока;
c) +/- 2 °C для температуры;
d) +/- 0,1% для времени;
e) +/- 1% для габаритных размеров;
f) +/- 1% для емкости.
Эти допуски включают в себя суммарную точность измерительных приборов, используемых технологий измерения и все другие источники ошибок в процедуре испытаний.
6.1.5 Предварительный разряд
Если испытание требует проведения предварительного разряда, испытуемые элементы или батареи должны быть разряжены до соответствующей ГР на омическую нагрузку, при которой определяется нормируемая емкость, или током, величина которого указана изготовителем.
6.1.6 Дополнительные элементы
В тех случаях, когда для выполнения испытания требуются дополнительные элементы, они должны быть того же самого типа и, предпочтительно, из той же производственной партии, что и испытуемые элементы.
6.2 Оценка критериев испытаний
Считается, что во время испытания произошло короткое замыкание, если НРЦ элемента или батареи сразу после испытания составляет менее 90% от величины его НРЦ до испытания. Этот критерий не применяется для испытания элементов и батарей в полностью разряженном состоянии
<*>.
--------------------------------
<*> Справочно - Также данный критерий нельзя использовать, если испытанию подвергается батарея, содержащая защитный элемент типа самовосстанавливающегося предохранителя ("полисвич", PTC) (примечание разработчика стандарта).
6.2.2 Чрезмерное повышение температуры
Считается, что во время испытания произошло чрезмерное повышение температуры, если температура внешнего корпуса элемента или батареи поднялась выше 170 °C.
Считается, что во время испытания произошла утечка, если визуально видны следы течи электролита или другого материала из испытуемого элемента или батареи, или имеются потери массы материала (за вычетом веса корпуса батареи, частей для установки или этикетки) из испытуемого элемента или батареи более пределов, указанных в
таблице 3.
Таблица 3
Масса элемента или батареи m, г | Предельная величина потери массы  , % |
m < 1 | 0,5 |
1 <= m <= 75 | 0,2 |
m > 75 | 0,1 |
Для количественной оценки потери массы

используется формула

, (1)
где m1 - масса перед испытанием;
m2 - масса после проведения испытания.
Считается, что во время испытания произошел выброс, если при чрезмерном увеличении внутреннего давления газа он выходит из элемента или батареи с помощью предназначенных для этой цели конструктивных элементов, обеспечивающих безопасность. Этот газ может включать захваченные материалы.
Считается, что во время испытания произошло возгорание, если из испытуемого элемента или батареи испускается пламя.
Считается, что во время испытания произошло вскрытие, если корпус элемента или батареи механически разрушен, в результате чего произошли выход газа, утечка жидкости или выброс твердых материалов, но нет взрыва.
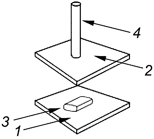
Считается, что во время испытания произошел взрыв, если твердое вещество из любой части элемента или батареи, находящихся в центре экрана из проволочной сетки, размещенного на стальной плите, как показано на
рисунке 1, проникло через него. Экран должен быть изготовлен из отожженной алюминиевой проволоки диаметром 0,25 мм и плотностью сетки от 6 до 7 проволок на 1 см.
Примечание - На рисунке показан сетчатый экран восьмиугольной формы из алюминиевой проволоки (1), опирающийся на стальную пластину (2).
Рисунок 1 - Сетчатый экран
6.3 Испытания и требования: обзор
Настоящий стандарт предусматривает испытания на безопасность для использования по назначению (
испытания от A до
D) и при возможном неправильном использовании (
испытания от E до
M).
Таблица 4 содержит перечень испытаний и требований, предъявляемых при использовании по назначению и при возможном неправильном использовании.
Таблица 4
Номер испытания | Целевой параметр | Требования |
Испытания на использование по назначению | | Высота | NL, NV, NC, NR, NE, NF |
| Циклическое изменение температуры | N NL, NV, NC, NR, NE, NF |
| Вибрация | NL, NV, NC, NR, NE, NF |
| Одиночный удар | NL, NV, NC, NR, NE, NF |
Испытания на возможное неправильное использование | | Внешнее короткое замыкание | NT, NR, NE, NF |
| Динамический удар | NT, NE, NF |
| Раздавливание | NT, NE, NF |
| Принудительный разряд | NE, NF |
| Нештатный заряд | NE, NF |
| Свободное падение | NV, NE, NF |
| Термическое воздействие | NE, NF |
| Неправильная установка | NE, NF |
| Переразряд | NE, NF |
Испытания от A до E осуществляются последовательно на одних и тех же элементах или батареях. Испытания F и G предусмотрены как альтернативные. Должно быть проведено только одно из них. |
Обозначения: NC: Нет короткого замыкания (No short-circuit); NE: Нет взрыва (No explosion); NF: Нет возгорания (No fire); NL: Нет утечки (No leakage); NR: Нет вскрытия (No rupture); NT: Нет чрезмерного повышения температуры (No excessive temperature rise); NV: Нет выброса (No venting). Подробное описание критериев испытания приведено в 6.2. |
6.4 Испытания на использование по назначению
6.4.1 Испытание A: высота
a) Цель
Это испытание имитирует перевозку на воздушном транспорте при условиях низкого давления.
b) Метод проведения испытания
Испытуемые элементы и батареи должны храниться при давлении 11,6 кПа или менее в течение по крайней мере 6 ч при комнатной температуре.
c) Требования
Во время проведения испытания не должно быть никакой утечки, выброса, короткого замыкания, вскрытия, взрыва или возгорания.
6.4.2 Испытание B: циклическое изменение температуры
a) Цель
Это испытание оценивает сохранение герметичности элементов и батарей и внутренних электрических соединений. Испытание проводится с применением циклического изменения температуры.
b) Метод проведения испытания
Испытуемые элементы и батареи должны храниться в течение не менее 6 ч при температуре испытания 72 °C, затем не менее 6 ч при температуре минус 40 °C. Максимальное время перехода на другую температуру должно составлять 30 мин. Каждый испытуемый элемент и батарея должны пройти эту процедуру 10 раз. Затем следует период хранения в течение не менее 24 ч при температуре окружающей среды.
Примечание - На
рисунке 2 показан один из десяти циклов.
Обозначения:
t1 <= 30 мин;
t2 >= 6 ч (12 ч для больших элементов и батарей).
Рисунок 2 - Процедура циклического изменения температуры
Для больших элементов и батарей продолжительность воздействия испытательных температур должна быть не менее 12 ч вместо 6 ч.
Испытание должно проводиться с использованием испытуемых элементов и батарей, предварительно подвергнутых испытанию на воздействие высоты.
c) Требования
Во время проведения испытания не должно быть никакой утечки, выброса, короткого замыкания, вскрытия, взрыва или возгорания.
6.4.3 Испытание C: вибрация
a) Цель
Этот испытание имитирует вибрацию во время транспортировки. Условие испытания базируется на диапазоне вибрации, установленном Международной организацией гражданской авиации (ICAO)
[2].
b) Метод проведения испытания
Испытуемые элементы и батареи должны быть прочно закреплены на платформе вибрационного стенда, не деформируя их и таким образом, чтобы точно передавать вибрацию. Испытуемые элементы и батареи должны подвергаться синусоидальной вибрации согласно
таблице 5 (для больших батарей там же приведены другие верхние амплитуды ускорения). Цикл по 3 ч для каждого из трех взаимно перпендикулярных направлений воздействия повторяют в общей сложности 12 раз. Одно из направлений должно быть перпендикулярно к поверхности, на которой располагаются выводы батарей.
Таблица 5
Профиль синусоидальной вибрации
Диапазон частот | Амплитуды | Длительность логарифмической развертки цикла (7 Гц - 200 Гц - 7 Гц) | Ось | Кол-во циклов |
от | до |
f1 = 7 Гц | f2 | a1 = 1 gn | 15 мин | X | 12 |
f2 | f3 | s = 0,8 мм | Y | 12 |
f3 | f4 = 200 Гц | a2 | Z | 12 |
и обратно к f1 = 7 Гц | Всего | 36 |
Примечание - Амплитуда вибрации - это максимальное абсолютное значение виброперемещения или виброускорения. Например, амплитуда виброперемещения 0,8 мм соответствует размаху колебаний (Пик-Пик) 1,6 мм. |
Обозначения: |
f1, f4 | - нижняя и верхняя частота; |
f2, f3 | - частоты перехода; |
f2 | - ~= 17,62 Гц; и |
f3 | - ~= 49,84 Гц, за исключением больших батарей, для которых f3 ~= 24,92 Гц; |
a1, a2 | - амплитуда виброускорения; |
a2 = 8 gn | - за исключением больших батарей, для которых a2 = 2 gn; |
s | - амплитуда виброперемещения. |
Примечание - gn = 9,80665 м/с2. |
Испытание должно проводиться с использованием испытуемых элементов и батарей, предварительно подвергнутых испытанию на циклическое изменение температуры.
c) Требования
Во время проведения испытания не должно быть никакой утечки, выброса, короткого замыкания, вскрытия, взрыва или возгорания.
6.4.4 Испытание D: одиночный удар
a) Цель
Это испытание имитирует грубое обращение во время транспортировки.
b) Метод проведения испытания
Испытуемые элементы и батареи должны быть закреплены на ударном стенде с помощью жесткой опоры, поддерживающей все поверхности крепления каждого испытуемого элемента или батареи. Каждый испытуемый элемент или батарея должны подвергаться трем ударам в каждом направлении трех взаимно перпендикулярных положений крепления элемента или батареи, в общей сложности 18 ударов. Для каждого одиночного удара должны быть применены параметры, приведенные в
таблице 6.
Таблица 6
Параметры одиночного удара
Объекты | Форма волны | Пиковое ускорение, gn | Продолжительность воздействия, мс | Число ударов по каждой оси |
Элементы или батареи, за исключением крупных | Половина синусоиды | 150 | 6 | 3 |
Большие элементы или батареи | Половина синусоиды | 50 | 11 | 3 |
Примечание - gn = 9,80665 м/с2. |
Испытание должно проводиться с использованием испытуемых элементов и батарей, предварительно подвергнутых испытанию на вибрацию.
c) Требования
Во время проведения испытания не должно быть никакой утечки, выброса, короткого замыкания, вскрытия, взрыва или возгорания.
6.5 Испытания на возможное неправильное применение
6.5.1 Испытание E: внешнее короткое замыкание
a) Цель
Это испытание имитирует условия, приводящие к внешнему короткому замыканию.
b) Метод проведения испытания
Испытуемый элемент или батареи должны быть стабилизированы при внешней температуре корпуса 55 °C, а затем подвергнуты воздействию состояния короткого замыкания при 55 °C с общим сопротивлением внешней нагрузки менее 0,1 Ом. Это состояние короткого замыкания должно быть сохранено в течение не менее 1 ч после того, как температура внешнего корпуса элемента или батареи опустится до 55 °C.
Испытуемый образец должен находиться под наблюдением еще в течение 6 ч.
Испытание должно проводиться с использованием испытуемых образцов, предварительно подвергнутых испытанию на воздействие одиночного удара.
c) Требования
Во время проведения испытания и в течение 6 ч после него не должно быть никакого чрезмерного повышения температуры, вскрытия, взрыва или возгорания.
6.5.2 Испытание F: испытание на динамический удар
a) Цель
Это испытание имитирует механическое воздействие от смятия, которое может привести к внутреннему короткому замыканию.
b) Метод проведения испытания
Испытание на динамический удар применяется к цилиндрическим элементам с диаметром более 20 мм.
Испытуемый элемент или составляющий элемент батареи помещают на горизонтальную плоскую гладкую поверхность. Стержень из нержавеющей стали (марки 316 или эквивалентной ей) диаметром (15,8 +/- 0,1) мм и длиной не менее 60 мм или наибольшего линейного размера элемента, в зависимости от того, что больше, помещают по центру испытуемого образца. Груз массой (9,1 +/- 0,1) кг бросают с высоты (61 +/- 2,5) см на пересечении стержня и испытуемого образца контролируемым образом, используя вертикальные направляющие дорожки или канал с минимальным сопротивлением по трению падающей массе. Вертикальные направляющие или канал, используемые для направления падающего груза должны быть ориентированы на 90° от горизонтальной поверхности поддержки.
Испытуемый образец должен быть продавлен по его продольной оси, параллельной плоской поверхности, и перпендикулярно к продольной оси стержня из нержавеющей стали, лежащей поперек центра испытуемого образца (см.
рисунок 3).
Примечание - На рисунке показана плоская гладкая поверхность (1) и стержень из нержавеющей стали (2), который расположен по центру испытуемого образца (3). Груз (4) сбрасывается на пересечение контролируемым образом с использованием вертикального канала, по которому он скользит (5).
Рисунок 3 - Пример испытательной установки для испытания
на динамический удар
Каждый испытуемый элемент или составляющий элемент батареи должен подвергаться испытанию только один раз. Испытуемый образец должен находиться под наблюдением еще в течение 6 ч.
Испытание должно проводиться с использованием испытуемых элементов или составляющих элементов батареи, которые не были ранее подвергнуты другим испытаниям.
c) Требования
Во время проведения испытания и в течение 6 ч после него не должно быть никакого чрезмерного повышения температуры, взрыва или возгорания.
6.5.3 Испытание G: раздавливание
a) Цель
Это испытание имитирует механическое воздействие от раздавливания, которое может привести к внутренним коротким замыканиям.
b) Метод проведения испытания
Испытание на раздавливание применимо к призматическим, гибким
<*>, дисковым элементам и цилиндрическим элементам не более 20 мм в диаметре.
--------------------------------
<*> Термин "гибкий элемент" используется в данном документе вместо термина "мешочный элемент", который используется в
[19]. Он также используется вместо термина "элемент с корпусом из ламинированной пленки", а также "ламинированный пленкой элемент".
Элемент или составляющий элемент батареи должен быть раздавлен между двумя плоскими поверхностями. Сдавливание должно быть постепенным со скоростью примерно 1,5 см/с начиная с первой точки контакта. Сдавливание должно продолжаться, пока не будет достигнуто одно из трех условий:
1) Приложенная сила достигает (13 +/- 0,78) кН.
Пример - Усилие может быть приложено с помощью гидравлического цилиндра с поршнем диаметром 32 мм до тех пор, пока давление в гидравлическом цилиндре не достигнет 17 МПа;
2) Напряжение элемента падает по меньшей мере на 100 мВ; или
3) Элемент деформирован на 50% или более от его первоначальной толщины.
Как только достигнуто одно из указанных выше условий, давление должно быть сброшено.
Призматический или гибкий элемент должны быть раздавлены путем применения усилия к стороне с самой большой площадью поверхности. Дисковый элемент должен быть раздавлен путем применения усилия на своих плоских поверхностях. Для цилиндрических элементов сдавливающее усилие должно быть приложено перпендикулярно к продольной оси (см.
рисунок 4).
a) Призматический или гибкий элемент
c) Цилиндрический элемент
Примечание -
Рисунки a),
b),
c) показывают две плоские поверхности (
1 и
2) с батареями (
3) различной формы, помещенными между ними для раздавливания с помощью поршня (
4).
Рисунок 4 - Примеры установки для испытания на раздавливание
Каждый испытуемый элемент или составляющий элемент батареи должен быть подвергнут раздавливанию только однократно. Испытуемый образец должен находиться под наблюдением еще в течение 6 ч.
Испытание должно проводиться с использованием испытуемых элементов или составляющих элементов батареи, которые не были ранее подвергнуты другим испытаниям.
c) Требования
Во время проведения испытания и в течение 6 ч после него не должно быть никакого чрезмерного повышения температуры, взрыва или возгорания.
6.5.4 Испытание H: принудительный разряд
a) Цель
Это испытание проводится для оценки способности элементов противостоять принудительному разряду.
b) Метод проведения испытания
Каждый элемент должен быть принудительно разряжен при температуре окружающей среды путем подключения его последовательно с источником постоянного тока напряжением 12 В при начальном токе, равном максимальному току непрерывного разряда, определенного изготовителем.
Требуемый разрядный ток получается путем подключения омической нагрузки соответствующей мощности и номинала последовательно с испытуемым элементом и источником питания постоянного тока. Каждый элемент должен принудительно разряжаться в течение промежутка времени, равного его номинальной емкости, деленной на начальный ток.
Это испытание проводится с полностью разряженными испытуемыми элементами или составляющими элементами батарей, которые не были ранее подвергнуты другим испытаниям
c) Требования
Во время проведения испытания и в течение 7 сут после него не должно быть взрыва или возгорания.
6.5.5 Испытание I: нештатный заряд
a) Цель
Это испытание имитирует состояние, когда батарея установлена в устройство и подвергается воздействию напряжения большего, чем НРЦ, значения от внешнего источника питания, например в устройстве поддержки памяти с неисправным диодом (см.
7.1.2). Условия испытаний основаны на требованиях UL 1642
[17].
b) Метод проведения испытания
Каждый испытуемый элемент или батарея должны быть подвергнуты зарядному току, по величине в три раза превышающему допустимый ток нештатного подзаряда Ic, заявленный изготовителем батареи, путем подключения их против источника постоянного тока. Если источник питания не может регулировать ток, то требуемый ток получается путем подключения омической нагрузки соответствующей мощности и номинала последовательно с испытуемым элементом.
Продолжительность испытания рассчитывается с использованием формулы
td = 2,5·Cn/(3·Ic), (2)
где td - продолжительность испытания. Для того чтобы ускорить испытание, разрешается регулировать параметры испытания таким образом, чтобы td не превышало 7 сут;
Cn - нормированная емкость;
Ic - допустимое значение тока нештатного подзаряда, заявленное изготовителем.
c) Требования
Во время проведения испытания не должно быть взрыва или возгорания.
6.5.6 Испытание J: свободное падение
a) Цель
Это испытание имитирует ситуацию, когда батарею случайно роняют. Условия испытаний базируются на
[7].
b) Метод проведения испытания
Испытуемые батареи должны быть сброшены с высоты 1 м на бетонную поверхность. Каждая испытуемая батарея должна сбрасываться шесть раз, причем призматическая батарея по одному разу на каждую из ее шести граней, а круглая батарея по два раза по каждой из трех осей, как показано на
рисунке 5. После этого испытуемые батареи должны выдерживаться в течение 1 ч.
Рисунок 5 - Оси для испытания свободным падением
Испытание проводится с использованием неразряженных испытуемых элементов и батарей.
c) Требования
Во время проведения испытания и в течение 1 ч после него не должно быть вскрытия, взрыва или возгорания.
6.5.7 Испытание K: термическое воздействие
a) Цель
Это испытание имитирует состояние, когда батарея подвергается воздействию чрезвычайно высокой температуры.
b) Метод проведения испытания
Испытуемая батарея должна быть помещена в печь, где производят повышение температуры со скоростью 5 °C/мин до температуры 130 °C, при которой батарея должна оставаться в течение 10 мин.
c) Требования
Во время проведения испытания не должно быть взрыва или возгорания.
6.5.8 Испытание L: неправильная установка
a) Цель
Это испытание имитирует состояние, когда один элемент в батарее установлен с обратной полярностью.
b) Метод проведения испытания
Испытуемую батарею соединяют последовательно с тремя неразряженными дополнительными элементами той же марки и типа таким образом, чтобы выводы испытуемой батареи были подключены в обратном направлении. Сопротивление соединительной цепи не должно быть больше 0,1 Ом. Схема должна находиться в соединенном состоянии в течение 24 ч или до тех пор, пока температура корпуса элемента не вернется к температуре окружающей среды (см.
рисунок 6).
Обозначения:
B1 - испытуемый элемент;
B2... B4 - дополнительные элементы в неразряженном состоянии.
Рисунок 6 - Принципиальная схема имитации неправильной
установки
c) Требования
Во время проведения испытания не должно быть взрыва или возгорания.
6.5.9 Испытание M: переразряд
a) Цель
Это испытание имитирует состояние, когда одна разряженная одноэлементная батарея соединена последовательно с другими неразряженными одноэлементными батареями. Испытание имитирует также использование батарей в электроприводах, где обычно требуются токи свыше 1 А.
Примечание - Для питания электроприводов, где требуются токи свыше 1 А, широко используются элементы CR17345 и CR15H270. Ток для нестандартных батарей может быть другой.
b) Метод проведения испытания
Каждая испытуемая батарея должна быть предварительно разряжена до ГР = 50%. Затем она должна быть соединена последовательно с тремя неразряженными дополнительными одноэлементными батареями того же типа.
Омическая нагрузка
R1 соединяется последовательно с батареями, как показано на
рисунке 7, причем значения
R1 берутся из
таблицы 7.
Таблица 7
Омическая нагрузка для испытания на переразряд
Тип батареи | Омическая нагрузка R1, Ом |
CR17345 | 8,20 |
CR15H270 | 8,20 |
Примечание - Таблица должна быть изменена или дополнена при стандартизации новых батарей спиральной конструкции. Пример - Когда были стандартизированы батареи CR17345 и CR15H270, R1 была определена исходя из конечного напряжения разряда сборки, представленной на рисунке 7, используя формулу R = 4·2,0 В/1 А, (3) где 2,0 В - это конечное напряжение разряда, которое берется из таблиц спецификаций в МЭК 60086-2, а 1 А - ток при испытании; R1 затем получается округлением величины R до ближайшего значения в таблице 6 МЭК 60086-1:2011. |
Обозначения:
B1 - испытуемый элемент;
B2... B4 - дополнительные элементы в неразряженном состоянии;
R1 - омическая нагрузка.
Рисунок 7 - Принципиальная схема испытания на переразряд
Испытание должно продолжаться в течение 24 ч или пока температура корпуса батареи не вернется к температуре окружающей среды.
Испытание должно быть повторено с батареями, предварительно разряженными до ГР = 75%.
c) Требования
Во время проведения испытания не должно быть взрыва или возгорания.
6.6 Информация, которая должна быть представлена в спецификации
Когда в спецификации батареи дана ссылка на настоящий стандарт, в ней должны быть указаны параметры, приведенные в
таблице 8, настолько полно, насколько они применимы.
Таблица 8
Параметры, которые должны быть указаны
Пункт | Параметры | Пункт и/или подпункт |
a) | Ток предварительного разряда или омическая нагрузка и конечное напряжение разряда, установленное изготовителем для проведения испытаний | |
b) | Форма: призматическая, гибкая, дисковая или цилиндрическая; Диаметр: не более 20 мм или более чем 20 мм | |
c) | Максимальный непрерывный ток разряда, указанный изготовителем для испытания HПримечание - Принудительный разряд элемента может происходить, если он подключен последовательно с другими элементами, а также когда он не защищен байпасным диодом. | |
d) | Нормированная емкость, установленная изготовителем для испытания H | |
e) | Ток нештатного заряда, заявленный изготовителем для испытания IПримечание - Нештатный заряд элемента может происходить, когда он соединен последовательно с другими элементами, причем один элемент установлен с обратной полярностью или, когда он установлен параллельно с источником питания, а защитные устройства не работают должным образом. | |
f) | Значение величины нормального обратного тока, заявленного изготовителем, который может быть применен к батарее в течение всей ее жизни. Примечание - Нормальный обратный ток через элемент может проходить, если он подключен параллельно с источником питания и защитные устройства работают должным образом. | |
Отчет по испытаниям (протокол) должен содержать следующие сведения:
a) наименование и адрес предприятия, проводившего испытания;
b) наименование и адрес заявителя (где возможно);
c) уникальный идентификационный номер протокола испытаний;
d) дата отчета испытаний;
e) конструктивные характеристики испытуемых элементов или батарей в соответствии с
4.1;
f) описания и результаты испытаний, в том числе параметры в соответствии с
6.6;
g) тип испытуемого образца(ов): элемент, составляющий элемент батареи, батарея или сборка батарей;
h) масса испытуемого образца(ов);
i) содержание лития в образце(ах);
j) подпись с указанием имени и должности подписавшего.
7 Информация о безопасности
7.1 Меры предосторожности при проектировании оборудования
Принципы, которыми должны руководствоваться разработчики оборудования, в котором используются литиевые батареи, приведены в
приложении B.
При включении первичного литиевого элемента в цепь питания от независимого основного источника питания для того, чтобы не допустить заряда батареи от основного источника питания, должны использоваться устройства защиты, например:
a) блокирующий диод и резистор для ограничения тока (см
рисунок 8, a);
b) два последовательно включенных блокирующих диода (см
рисунок 8, b);
c) схемы с аналогичной функцией блокировки на основе двух или более независимых защитных устройств, при условии что первое защитное устройство способно ограничить зарядный ток через литиевую батарею до нормального обратного тока, указанного изготовителем, который может быть приложен к батарее в течение всего срока эксплуатации, в то время как второе защитное устройство способно ограничивать ток заряда до значения зарядного тока нештатного подзаряда, указанного изготовителем батареи и используемого для проведения
испытания I (нештатный заряд). Схема должна быть спроектирована таким образом, чтобы по меньшей мере одно из этих защитных устройств оставалось в рабочем состоянии, когда другой компонент выходит из строя.
Рисунок 8 - Примеры цепей безопасности для защиты от заряда
7.1.3 Параллельное подключение
При проектировании отсеков батарей следует избегать параллельного соединения. В случае такой необходимости следует обратиться за консультацией к изготовителю батарей.
7.2 Защитные меры предосторожности во время эксплуатации батарей
При правильном использовании литиевые батареи представляют собой достаточно безопасный и надежный источник энергии. Тем не менее в случае неправильного использования или плохого обращения может произойти утечка электролита, вскрытие или даже взрыв и/или воспламенение.
a)
Храните батареи в месте, недоступном для детей.
Держите батареи в недоступном для детей месте, особенно те, которые считаются возможными для проглатывания, то есть размеры которых находятся в пределах шаблона проглатывания, как определено на
рисунке 9. В случае проглатывания элемента или батареи необходимо в кратчайшие сроки обратиться за медицинской помощью. Проглоченные литиевые элементы или батареи могут вызвать химические ожоги, перфорацию мягких тканей, что в тяжелых случаях может привести к смерти. При проглатывании они должны быть немедленно удалены. Пример соответствующего предупреждающего текста приведен на
рисунке 10.
Примечание - Общая информация об опасностях, которые могут иметь место от батарей, приведены в
[14].
Размеры в миллиметрах
Примечание - Этот шаблон определяет конфигурацию компонентов, которые возможно проглотить, и описан в
[16].
Рисунок 9 - Шаблон проглатывания
Рисунок 10 - Пример для предупреждения против глотания,
в частности литиевых дисковых элементов и батарей
b) Не позволяйте детям заменять батареи без наблюдения взрослых.
c) При установке батарей всегда соблюдайте полярность в соответствии со знаками полярности (+ и -), отмеченными на батарее и оборудовании.
Если батареи вставлены в обратном направлении, они могут оказаться замкнутыми или начать заряжаться. Это может привести к перегреву, утечке, вскрытию, разрыву, взрыву, возгоранию и травмам.
d) Не допускайте короткого замыкания батареи.
Когда положительная (+) и отрицательная (-) клеммы батареи находятся в электрическом контакте друг с другом, батарея будет замкнута накоротко. Например, незащищенные батареи в кармане с ключами или монетами могут замкнуться накоротко. Это может привести к их вскрытию, утечке электролита, взрыву, возгоранию и травмам.
e) Не заряжайте батареи.
Попытка зарядить незаряжаемые (первичные) батареи может вызвать выделение газа и/или тепла внутри батареи, что приводит к их вскрытию, утечке электролита, взрыву, возгоранию и травмам.
f) Не разряжайте батареи принудительно.
Когда батарею разряжают принудительно с помощью внешнего источника питания, напряжение батареи будет снижаться ниже пределов, определенных ее конструкцией, и внутри батареи будет генерироваться газ. Это может привести к утечке электролита, взрыву, возгоранию и травмам.
g) Никогда не устанавливайте совместно новые и использованные батареи или батареи различных типов или марок.
При замене батарей замените их все одновременно на новые батареи той же марки и типа. Когда используются совместно батареи разных марок или типов, или новые и использованные батареи, то некоторые батареи могут быть чрезмерно разряжены (переразряжены)/принудительно разряжены из-за разницы напряжения или емкости. Это может привести к утечке, вскрытию, взрыву, возгоранию и травмам.
h) Разряженные батареи должны быть немедленно удалены из оборудования и надлежащим образом утилизированы.
Когда разряженные батареи остаются установленными в оборудовании в течение длительного времени, может произойти утечка электролита, что вызовет причинение ущерба оборудованию и/или может привести к травмам.
i) Не нагревайте батареи.
Когда батарея подвергается воздействию тепла, может произойти утечка электролита, вскрытие, взрыв, возгорание, что может привести к травмам.
j) Не приваривайте и не припаивайте провода непосредственно к батарее.
Тепло от сварки или пайки непосредственно к батарее может привести к утечке электролита, вскрытию, взрыву, возгоранию и травмам.
k) Не разбирайте батареи.
Когда батарею вынимают из корпуса или разбирают, возможен контакт с находящимися в них вредными компонентами, что может привести к травмам или воспламенению.
l) Не деформируйте батареи.
Нельзя допускать, чтобы батареи были раздавлены, проколоты или разрушены иным образом. Такое действие может привести к утечке электролита, вскрытию, взрыву, возгоранию и травмам.
m) Не бросайте батареи в огонь.
Когда батареи попадают в огонь, возрастание температуры может привести к взрыву и/или воспламенению и травмам. Не сжигайте батареи для утилизации, за исключением утвержденных вариантов контролируемого сжигания отходов.
n) Литиевая батарея с поврежденным корпусом не должна попасть в воду.
Металлический литий при контакте с водой может приводить к выделению газообразного водорода, что вызовет воспламенение, взрыв и/или может привести к травмам.
o) Не инкапсулируйте и/или не модифицируйте батареи.
Инкапсуляция (помещение в герметичную оболочку) или любая модификация батареи могут привести к блокировке расположенного внутри механизма аварийного сброса давления, что приведет к последующему взрыву и телесным повреждениям. В случае необходимости проведения любых модификаций следует обратиться за консультацией к изготовителю батарей.
p) Храните неиспользованные батареи в их оригинальной упаковке вдали от металлических предметов. Если они уже распакованы, не смешивайте их и не допускайте попадания к ним посторонних предметов.
Неупакованные батареи могут быть случайно перемешаны с металлическими предметами. Это может привести к короткому замыканию батареи, которое в свою очередь может привести к утечке, вскрытию, взрыву, возгоранию и травмам. Один из лучших способов, чтобы не допустить этого, это хранить неиспользованные батареи в их оригинальной упаковке.
q) Удалите батареи из оборудования, если оно не будет использоваться длительное время, за исключением оборудования для чрезвычайных целей.
Желательно сразу удалить батареи из оборудования, которое перестало функционировать удовлетворительно, или предполагается длительный период, в течение которого они не будут эксплуатироваться (например, видеокамеры, цифровые камеры, фотовспышки и т.д.). Хотя большинство современных литиевых батарей имеют хорошую защиту от утечки электролита, батареи, которые были частично или полностью разряжены, могут быть более склонны к утечкам, чем те, которые не использовались.
Упаковка должна быть достаточной, чтобы предотвратить механические повреждения при транспортировке, грузообработке и штабелировании. Конструкция и материалы упаковки должны быть выбраны таким образом, чтобы предотвратить случайный электрический контакт, короткое замыкание, сдвиг и коррозию клемм и обеспечить защиту от воздействия окружающей среды.
7.4 Обращение с картонными упаковками батарей
С картонными упаковками, в которых находятся батареи, следует обращаться с осторожностью. Неосторожное обращение может привести к короткому замыканию батарей или их повреждению. Это в свою очередь может привести к утечке электролита, взрыву или воспламенению.
Испытания и требования к перевозке литиевых элементов или батареи приведены в
[12].
Правила, касающиеся международной перевозки литиевых батарей, базируются на основе Рекомендаций ООН по перевозке опасных грузов
[18].
Правила транспортировки могут быть изменены. Для транспортировки литиевых батарей необходимо использовать последние издания правил, приведенных ниже.
7.5.2 Воздушный транспорт
Правила, касающиеся воздушной перевозки литиевых батарей, указаны в Технических инструкциях по безопасной перевозке опасных грузов воздушным путем, опубликованных Международной организацией гражданской авиации (ICAO)
[2], а также в Правилах перевозки опасных грузов, опубликованных Международной ассоциацией воздушного транспорта (IATA)
[1].
Правила, касающиеся морской перевозки литиевых батарей, установлены в Международном кодексе морской перевозки опасных грузов (IMDG), опубликованном Международной морской организацией (IMO)
[13].
Правила, касающиеся автомобильного и железнодорожного транспорта, устанавливаются на национальной или многосторонней основе. Несмотря на то что все большее число регуляторов принимают Типовые правила ООН
[18], рекомендуется перед перевозкой в конкретных странах обращаться за консультацией о правилах перевозки, установленных в них.
7.6 Размещение и хранение
a) Храните батареи в хорошо вентилируемых, сухих и прохладных условиях.
Высокая температура и высокая влажность могут привести к ухудшению характеристик батареи и/или коррозии поверхности.
b) Не укладывайте картонные коробки батареи друг на друга, превышая указанную высоту.
Если друг на друга укладываются слишком много картонных коробок с батареями, батареи в самых нижних картонных коробках могут быть деформированы, и может произойти утечка электролита.
c) Избегайте хранения или размещения батарей на прямом солнечном свете или в местах, где они подвергаются воздействию атмосферных осадков.
Когда батареи промокают, сопротивление изоляции может быть нарушено и может произойти саморазряд и коррозия. Тепло может вызвать порчу батарей.
d) Храните батареи в их оригинальной упаковке.
Когда батареи распакованы и смешаны, они могут быть закорочены или повреждены. См.
приложение C для получения более детальной информации.
Батареи могут быть выброшены с помощью механизмов сбора коммунального мусора при условии, если не существует никаких местных правил, запрещающих это делать.
Во время транспортировки, хранения и обработки для утилизации необходимо учитывать следующие меры безопасности:
a) Не разбирайте батареи.
Некоторые ингредиенты литиевых батарей могут быть огнеопасными или вредными. Они могут стать причиной травмы, воспламенения, разрыва или взрыва.
b) Не бросайте батареи в огонь за исключением утвержденных случаев утилизации в условиях контролируемого сжигания.
Литий активно горит. Литиевые батареи могут взорваться в огне. Продукты сгорания от литиевых батарей могут быть едкими и токсичными.
c) Храните собранные батареи по возможности в чистом и сухом месте, не допуская попадания прямых солнечных лучей, и вдали от экстремально высоких температур.
Грязь и влага могут привести к короткому замыканию и тепловыделению. Тепло может привести к выходу горючего газа. Это в свою очередь может привести к воспламенению, разрыву или взрыву.
d) Храните собранные использованные батареи в хорошо вентилируемом месте.
Использованные батареи могут содержать остаточный заряд. Если они окажутся замкнуты, то они будут заряжаться или принудительно разряжаться, при этом может произойти утечка горючего газа. Это может привести к воспламенению, разрыву или взрыву.
e) Не смешивайте собранные использованные батареи с другими материалами.
Использованные батареи могут содержать остаточный заряд. Если они окажутся замкнуты, то они будут заряжаться или принудительно разряжаться, генерируемое тепло может воспламенить горючие отходы, такие как промасленная ветошь, бумага или дерево, и вызвать пожар.
f) Защищайте выводы батарей.
Следует обеспечивать защиту выводов путем их изоляции, особенно для батарей с высоким напряжением. Незащищенные выводы могут привести к короткому замыканию, ненормальному заряду и принудительному разряду. Это может привести к утечке, воспламенению, взрыву или разрыву.
8 Инструкция по эксплуатации
a) Всегда выбирайте правильный размер и тип батареи, наиболее подходящий для использования по назначению. Чтобы помочь правильному выбору батареи, на оборудовании должна быть представлена соответствующая информация.
b) Заменяйте все батареи из комплекта установки единовременно.
c) До установки батарей очистите их контакты, а также контакты на оборудовании.
d) Убедитесь в том, что батареи будут установлены правильно, с соблюдением полярности (+ и -).
e) Удалите разряженные батареи из устройства в кратчайшие сроки.
За исключением небольших батарей (см
9.2) каждая батарея должна иметь маркировку, содержащую следующую информацию:
a) обозначение по МЭК или тривиальное;
b) окончание рекомендованного срока использования или год и месяц или неделя изготовления. Год и месяц или неделя изготовления могут быть приведены в виде кода;
c) полярность положительного (+) вывода;
d) номинальное напряжение;
e) наименование или товарный знак изготовителя или поставщика;
f) предупреждающие надписи;
g) предостережение от приема внутрь для батарей, которые могут быть проглочены, см. также в
7.2, a).
9.2 Батареи малого размера
На батареи, которые соответствуют шаблону заглатывания (см.
рисунок 9), должны быть нанесены как минимум обозначение
9.1, a) и полярность
9.1, c). Все другие маркировки, указанные в
9.1, в том числе предупреждения относительно приема внутрь
9.1, g), должны быть представлены на наименьшей упаковке.
9.3 Пиктограммы безопасности
Пиктограммы безопасности, которые могут применяться как альтернатива письменным предостерегающим надписям, приводятся в
приложении D.
(справочное)
РЕКОМЕНДАЦИИ ПО ОБЕСПЕЧЕНИЮ БЕЗОПАСНОСТИ ЛИТИЕВЫХ БАТАРЕЙ
Рекомендации, приведенные в
рисунке A.1, использовались в ходе разработки батарей с высокой мощностью для бытового использования. Они приведены здесь справочно.
Рисунок A.1 - Руководство по проектированию батарей
(справочное)
РУКОВОДСТВО ДЛЯ ПРОЕКТИРОВЩИКОВ ОБОРУДОВАНИЯ, В КОТОРОМ
ИСПОЛЬЗУЮТСЯ ЛИТИЕВЫЕ БАТАРЕИ
В
таблице B.1 приведены принципы, которые должны быть применены разработчиками оборудования, использующего литиевые батареи (см. также
[8], приложение B, где приведены принципы, которыми должны руководствоваться разработчики при проектировании батарейных отсеков).
Таблица B.1
Руководство по проектированию оборудования
Пункт | Подпункт | Рекомендации | Возможные последствия, если эти рекомендации не соблюдаются |
(1) Когда литиевая батарея используется в качестве основного источника питания | (1.1) Выбор подходящей батареи | Выберите наиболее подходящую батарею для оборудования на основании ее электрических характеристик | Батарея может перегреться |
(1.2) Количество батарей (последовательное или параллельное соединение) для использования и способ использования | a) Многоэлементные батареи (2CR5, CR-P2, 2CR13252 и др.); только одна штука | Если емкость батарей в последовательном соединении отличается, батарея с более низкой емкостью будет переразряжаться. Это может привести к утечке электролита, перегреву, разрыву, взрыву или воспламенению |
b) Цилиндрические батареи (CR17345 и др.); менее трех штук |
c) Дисковые батареи (CR2016, CR2025, CR11108 и др.); менее трех штук |
d) При использовании более одной батареи различные типы не должны использоваться в одном и том же батарейном отсеке |
e) Когда батареи используются с параллельным соединением <a>, должна быть обеспечена защита от заряда | Если напряжения батарей в параллельном соединении различны, батарея с меньшим напряжением будет заряжаются. Это может привести к утечке электролита, перегреву, разрыву, взрыву или воспламенению |
| (1.3) Проектирование цепи батареи | a) Цепь батареи должна быть изолирована от любого другого источника питания | Батарея может заряжаться. Это может привести к утечке электролита, перегреву, разрыву, взрыву или воспламенению |
b) В схему должны быть включены защитные устройства, такие как, например, предохранители | Короткое замыкание батареи может привести к утечке электролита, перегреву, разрыву, взрыву или воспламенению |
|
(2) Когда литиевая батарея используется в качестве резервного источника питания | (2.1) Проектирование цепи батареи | Батарея должна быть использована в отдельном контуре таким образом, чтобы она не могла принудительно разряжаться или заряжаться от основного источника питания | Батарея может быть переразряжена до смены полярности или заряжаться. Это может привести к утечке электролита, перегреву, разрыву, взрыву или воспламенению |
(2.2) Проектирование схемы батареи для поддержки памяти | Когда батарея подключена к цепи с основным источником питания с возможностью ее заряда, должно быть обеспечено применение защитной схемы, включающей диод и резистор. Суммарное количество электричества, отвечающее току утечки диода за ожидаемый срок использования батареи, должно быть менее 2% от емкости батареи | Батарея может быть заряжена. Это может привести к утечке электролита, перегреву, разрыву, взрыву или воспламенению |
(3) Держатель батареи и отсек батареи | a) Отсеки для батарей должны быть сконструированы таким образом, что если батарея устанавливается с нарушением полярности, цепь должна оставаться разомкнутой. Отсеки для батарей должны иметь четкую и нестирающуюся маркировку, показывающую правильную ориентацию батарей | Если не будет обеспечена защита от неправильной установки батарей, может происходить повреждение оборудования из-за возможной утечки электролита, перегрева, разрыва, взрыва или воспламенения |
b) Отсеки для батарей должны быть сконструированы так, чтобы батареи иных, чем указано, размеров не могли быть вставлены и замкнуть цепь | Оборудование может быть повреждено или не сможет работать |
c) Отсеки для батарей должны быть разработаны так, чтобы позволять выходить газам, которые могут в некоторых случаях выделяться | Отсеки для батарей могут быть повреждены, когда внутреннее давление батареи становится слишком высоким из-за генерации газа |
d) Отсеки для батарей должны быть защищены от попадания в них воды |
e) Отсеки для батарей должны быть разработаны так, чтобы быть взрывозащищенными при плотном закрытии |
| f) Отсеки для батарей должны быть изолированы от тепла, выделяемого оборудованием | Батарея может деформироваться и вызвать утечку электролита из-за чрезмерно высокой температуры |
g) Отсеки для батарей должны быть сконструированы таким образом, чтобы они не могли быть легко открыты детьми | Дети могут извлечь батареи из отсека и проглотить их |
(4) Контакты и выводы | a) Материал и форма контактов и клемм должны быть выбраны таким образом, чтобы поддерживался эффективный электрический контакт | Из-за недостаточной проводимости в контакте может генерироваться тепло |
b) Вспомогательный контур должен быть предназначен для предотвращения установки батарей с нарушением полярности | Оборудование может быть повреждено или не сможет работать |
c) Контакты и выводы должны быть разработаны таким образом, чтобы не допустить установки батарей с нарушением полярности | Оборудование может быть повреждено. В батарее может произойти утечка электролита, перегрев, разрыв, взрыв или воспламенение |
d) Следует избегать пайки или сварки непосредственно к батарее | В батарее может произойти утечка, перегрев, разрыв, взрыв или воспламенение |
(5) Индикация необходимых мер предосторожности | (5.1) На оборудовании | Ориентация батарей (полярность) должна быть четко обозначена на батарейном отсеке | Когда батарея вставлена наоборот и заряжается, это может привести к утечке электролита, перегреву, разрыву, взрыву или воспламенению |
(5.2) В руководстве по эксплуатации | Следует указать меры предосторожности для правильного обращения с батареями | Батареи могут быть неправильно использованы и привести к несчастным случаям |
(справочное)
ДОПОЛНИТЕЛЬНАЯ ИНФОРМАЦИЯ ПО РАЗМЕЩЕНИЮ И ХРАНЕНИЮ
В настоящем приложении содержатся сведения, касающиеся размещения и хранения литиевых батарей дополнительно к тем, которые уже приведены в
7.6.
Зона хранения должна быть чистой, прохладной, сухой, проветриваемой и защищенной от атмосферных воздействий.
Для нормального хранения температура должна быть в пределах от +10 до +25 °C и не должна превышать +30 °C. Также следует избегать превышения предельных значений влажности (свыше 95% и ниже 40% относительной влажности) на продолжительное время, так как они являются вредными как для батарей, так и для герметизирующих узлов. Поэтому батареи не должны храниться рядом с радиаторами или котлами, а также на прямом солнечном свету.
Хотя срок хранения батарей при комнатной температуре большой, хранение улучшается при более низких температурах, при условии что соблюдаются особые меры предосторожности. Батареи должны быть заключены в специальную защитную упаковку (например, запечатаны в пластиковые или аналогичные им пакеты) для защиты от конденсации во время их нагрева до комнатной температуры. Ускоренное поднятие температуры до температуры окружающей среды вредно.
Батареи, которые хранились на холоде, могут быть введены в эксплуатацию после возвращения к нормальной температуре окружающей среды.
Батареи могут храниться непосредственно в оборудовании или в пакетах, если такое допускается изготовителем батареи.
Высота, до которой упаковки батарей могут быть уложены друг на друга в штабели, зависит от прочности упаковки. В общем случае эта высота не должна превышать 1,5 м для картонных упаковок или 3 м для деревянных ящиков.
Приведенные выше рекомендации в равной степени справедливы для условий хранения при длительной транспортировке. Таким образом, батареи должны храниться вдали от судовых двигателей и не оставаться в течение длительного времени в непроветриваемых металлических крытых вагонах (контейнерах) в летний период.
Батареи сразу же после изготовления должны быть отправлены в распределительные центры и к пользователям. Для того чтобы основной принцип складского прохождения ("первый пришел - первый ушел") мог быть реализован на практике, должны быть надлежащим образом разработаны места размещения и хранения, а упаковки адекватно маркированы.
(справочное)
D.1 Общие положения
Предостережения для выполнения требований к маркировке, установленных в настоящем стандарте, исторически вначале были в форме письменного текста. В последние годы наблюдается возрастающая тенденция к использованию пиктограмм как дополнительных или альтернативных средств оповещения о возможных источниках опасности и правилах безопасного обращения с продукцией.
Целями настоящего приложения являются: (1) установить единые рекомендации использования пиктограмм, которые привязаны к давно используемым и конкретным письменным текстам, (2) чтобы свести к минимуму вариации пиктограмм безопасности, (3) чтобы заложить основу для использования пиктограмм безопасности вместо написанного текста для оповещения о возможных источниках опасности и правилах безопасного обращения с продукцией.
D.2 Пиктограммы
Рекомендованные пиктограммы и соответствующие им предостережения приведены в
таблице D.1.
Таблица D.1
Ссылка | Пиктограмма | Предостережения |
A | | НЕ ЗАРЯЖАТЬ |
B | | НЕ ДЕФОРМИРОВАТЬ И НЕ РАЗРУШАТЬ |
C | | НЕ БРОСАТЬ В ОГОНЬ |
| | НЕ ДОПУСКАТЬ НЕПРАВИЛЬНУЮ ПОЛЯРНОСТЬ ПРИ УСТАНОВКЕ |
E | Примечание - В процессе рассмотрения замена пиктограмм E в [8], таблица C.1 | ХРАНИТЬ В НЕДОСТУПНОМ ДЛЯ ДЕТЕЙ МЕСТЕ Примечание - См. 7.2, a) для критической информации |
F | | НЕ СМЕШИВАТЬ ПРИ УСТАНОВКЕ РАЗЛИЧНЫЕ ТИПЫ И МАРКИ |
G | | НЕ СМЕШИВАТЬ НОВЫЕ И ИСПОЛЬЗОВАННЫЕ |
H | | НЕ ОТКРЫВАТЬ И НЕ РАЗБИРАТЬ |
I | | НЕ ЗАКОРАЧИВАТЬ |
| | СОБЛЮДАТЬ ПОЛЯРНОСТЬ ПРИ УСТАНОВКЕ |
Примечание - Серая заливка показывает границы белой окантовки, появляющейся, когда пиктограмма печатается на цветном или черном фоне. |
D.3 Инструкция по применению
Следующие инструкции предназначены для использования пиктограмм.
a) Пиктограммы должны быть четко читаемыми.
b) Хотя цвета разрешены, они не должны отвлекать от отображаемой информации. Если будут использованы цвета, то фон для
пиктограмм J должен быть синим, а круг и линия по диагонали других пиктограмм должны быть красного цвета.
c) Не все из пиктограмм нужно использовать вместе для конкретного типа или марки батареи. В частности,
пиктограммы D и
J являются альтернативными для одной и той же цели.
(справочное)
СВЕДЕНИЯ О СООТВЕТСТВИИ ССЫЛОЧНЫХ МЕЖДУНАРОДНЫХ СТАНДАРТОВ
НАЦИОНАЛЬНЫМ СТАНДАРТАМ
Таблица ДА.1
Обозначение ссылочного международного стандарта | Степень соответствия | Обозначение и наименование соответствующего национального стандарта |
| IDT | |
МЭК 60086-2 | IDT | |
Примечание - В настоящей таблице использовано следующее условное обозначения степени соответствия стандартов: - IDT - идентичные стандарты. |
--------------------------------
<*> Заменен на МЭК 60086-1:2015.
| IATA, International Air Transport Association, Quebec: Dangerous Goods Regulations (revised annually) [Международная авиатранспортная ассоциация, Квебек: Регламенты об опасных грузах (пересматривается ежегодно)] |
| ICAO, International Civil Aviation Organization, Montreal: Technical Instructions for the Safe Transport of Dangerous Goods by Air (revised biennially) [Международная организация гражданской авиации, Монреаль: Технические инструкции по безопасному транспортированию опасных грузов воздушным путем (пересматривается раз в 2 года)] |
[3] | IEC 60050-482:2004 | International Electrotechnical Vocabulary - Chapter 482: Primary and secondary cells and batteries (Международный электротехнический словарь. Часть 482. Первичные и вторичные элементы, аккумуляторы и батареи) |
[4] | IEC 60027-1:1992 | Letter symbols to be used in electrical technology - Part 1: General (Обозначения буквенные, применяемые в электротехнике. Часть 1. Основные положения) |
[5] | IEC 60068-2-6:1995 | Environmental testing - Part 2-6: Tests - Test Fc: Vibration (sinusoidal) [Основные методы испытаний на воздействие внешних факторов. Часть 2-6. Испытания. Испытание Fc и руководство: Вибрация (синусоидальная)] |
[6] | IEC 60068-2-27:1987 | Environmental testing - Part 2-27: Tests - Test Ea and guidance: Shock [Основные методы испытаний на воздействие внешних факторов. Часть 2-27. Испытания. Испытание Ea и руководство: Одиночный удар)] |
| IEC 60068-2-31:2008 | Environmental testing - Part 2-31: Tests - Test Ec: Rough handling shocks, primarily for equipment-type specimens (Основные методы испытаний на воздействие внешних факторов. Часть 2-31. Испытания. Испытание Ec: Грубые удары при обработке, в первую очередь для оборудования) |
| IEC 60086-5:2011 | Primary batteries - Part 5: Safety of batteries with aqueous electrolyte (Батареи первичные. Часть 5. Безопасность батарей с водным электролитом) |
[9] | IEC 60617 (all parts) | Graphical symbols for diagrams (available at http://std.iec.ch/iec60617) [Графические символы для схем (в формате базы данных)] |
[10] | IEC 62133 | Secondary cells and batteries containing alkaline or other non-acid electrolytes - Safety requirements for portable sealed secondary cells, and for batteries made from them, for use in portable applications (Аккумуляторы и аккумуляторные батареи, содержащие щелочной и другие некислотные электролиты. Требования безопасности для портативных герметичных аккумуляторов и батарей из них при портативном применении) |
[11] | IEC 61960 | Secondary cells and batteries containing alkaline or other non-acid electrolytes - Secondary lithium cells and batteries for portable applications (Аккумуляторы и аккумуляторные батареи, содержащие щелочной и другие некислотные электролиты. Аккумуляторы и батареи литиевые для портативного применения) |
| IEC 62281 | Safety of primary and secondary lithium cells and batteries during transport (Безопасность при транспортировании первичных литиевых элементов и батарей, литиевых аккумуляторов и аккумуляторных батарей) |
| IMO, International Maritime Organization, London: International Maritime Dangerous Goods (IMDG) Code (revised biennially) [Международная морская организация, Лондон: Международный морской свод опасных грузов (IMDG) (пересматривается раз в 2 года)] |
| ISO/IEC GUIDE 50:2002 | Safety aspects - Guidelines for child safety (Безопасность детей и стандарты. Общие требования) |
[15] | ISO/IEC GUIDE 51:1999 | Safety aspects - Guidelines for their inclusion in standards (Требования безопасности. Рекомендации по их включению в стандарты) |
| ISO 8124-1 | Safety of toys - Part 1: Safety aspects related to mechanical and physical properties (Безопасность игрушек. Часть 1. Механические и физические свойства) |
| UL 1642, Underwriters Laboratories, Standard for Lithium batteries (Стандарт для литиевых батарей) |
| United Nations, New York and Geneva: Recommendations on the Transport of Dangerous Goods, Model Regulations (revised biennially) [Организация Объединенных Наций: Рекомендации по транспортированию опасных грузов, модельные инструкции (пересматривается раз в 2 года)] |
| United Nations, New York and Geneva: 2011, Recommendations on the Transport of Dangerous Goods, Manual of Tests and Criteria, Chapter 38.3 (Организация Объединенных Наций: Рекомендации по транспортированию опасных грузов. Руководство по испытаниям и критерии. Глава 38.3) |
| Battery Association of Japan: Guideline for the design and production of safe Lithium batteries for camera application, 2nd edition, March 1998 (Ассоциация источников тока Японии. Руководство по проектированию и производству безопасных литиевых батарей для применения в фотокамерах. 2-е изд., март 1998) |