Главная // Актуальные документы // ГОСТ Р (Государственный стандарт)
СПРАВКА
Источник публикации
М.: Стандартинформ, 2018
Примечание к документу
Документ утратил силу с 01.01.2023 в связи с изданием Приказа Росстандарта от 30.03.2022 N 172-ст. Взамен введен в действие ГОСТ Р 58281-2022.

Документ введен в действие с 01.08.2019.
Название документа
"ГОСТ Р 58281-2018. Национальный стандарт Российской Федерации. Костыли и трости опорные. Технические условия"
(утв. и введен в действие Приказом Росстандарта от 13.11.2018 N 992-ст)

"ГОСТ Р 58281-2018. Национальный стандарт Российской Федерации. Костыли и трости опорные. Технические условия"
(утв. и введен в действие Приказом Росстандарта от 13.11.2018 N 992-ст)


Содержание


Утвержден и введен в действие
Приказом Федерального агентства
по техническому регулированию
и метрологии
от 13 ноября 2018 г. N 992-ст
НАЦИОНАЛЬНЫЙ СТАНДАРТ РОССИЙСКОЙ ФЕДЕРАЦИИ
КОСТЫЛИ И ТРОСТИ ОПОРНЫЕ
ТЕХНИЧЕСКИЕ УСЛОВИЯ
Crutches and support canes. Specifications
ГОСТ Р 58281-2018
ОКС 11.180.10
ОКП 93 9670
Дата введения
1 августа 2019 года
Предисловие
1 РАЗРАБОТАН Федеральным государственным унитарным предприятием "Российский научно-технический центр информации по стандартизации, метрологии и оценке соответствия" (ФГУП "СТАНДАРТИНФОРМ")
2 ВНЕСЕН Техническим комитетом по стандартизации ТК 381 "Технические средства для инвалидов и других маломобильных групп населения"
3 УТВЕРЖДЕН И ВВЕДЕН В ДЕЙСТВИЕ Приказом Федерального агентства по техническому регулированию и метрологии от 13 ноября 2018 г. N 992-ст
4 ВВЕДЕН ВПЕРВЫЕ
Правила применения настоящего стандарта установлены в статье 26 Федерального закона от 29 июня 2015 г. N 162-ФЗ "О стандартизации в Российской Федерации". Информация об изменениях к настоящему стандарту публикуется в ежегодном (по состоянию на 1 января текущего года) информационном указателе "Национальные стандарты", а официальный текст изменений и поправок - в ежемесячном информационном указателе "Национальные стандарты". В случае пересмотра (замены) или отмены настоящего стандарта соответствующее уведомление будет опубликовано в ближайшем выпуске информационного указателя "Национальные стандарты". Соответствующая информация, уведомление и тексты размещаются также в информационной системе общего пользования - на официальном сайте Федерального агентства по техническому регулированию и метрологии в сети Интернет (www.gost.ru)
1 Область применения
Настоящий стандарт распространяется на подмышечные и локтевые костыли, опорные трости для ходьбы, включая опорные трости с тремя и более ножками, а также белые опорные трости, являющиеся вспомогательными техническими средствами для ходьбы людей с ограничениями жизнедеятельности, в том числе инвалидов (далее - вспомогательные средства для ходьбы).
Настоящий стандарт устанавливает классификацию, технические требования, требования безопасности и методы испытаний этих вспомогательных средств для ходьбы.
Настоящий стандарт не распространяется на ходунки и тактильные трости.
2 Нормативные ссылки
В настоящем стандарте использованы нормативные ссылки на следующие стандарты:
ГОСТ 2.601 Единая система конструкторской документации. Эксплуатационные документы
ГОСТ 9.032 Единая система защиты от коррозии и старения. Покрытия лакокрасочные. Группы, технические требования и обозначения
ГОСТ 9.301 Единая система защиты от коррозии и старения. Покрытия металлические и неметаллические неорганические. Общие требования
ГОСТ 9.302 Единая система защиты от коррозии и старения. Покрытия металлические и неметаллические неорганические. Методы контроля
ГОСТ 166 (ИСО 3599-76) Штангенциркули. Технические условия
ГОСТ 427 Линейки измерительные металлические. Технические условия
ГОСТ 2140 Видимые пороки древесины. Классификация, термины и определения, способы измерения
ГОСТ 7502 Рулетки измерительные металлические. Технические условия
ГОСТ 13837 Динамометры общего назначения. Технические условия
ГОСТ 15150 Машины, приборы и другие технические изделия. Исполнения для различных климатических районов. Категории, условия эксплуатации, хранения и транспортирования в части воздействия климатических факторов внешней среды
ГОСТ ISO 10993-1 Изделия медицинские. Оценка биологического действия медицинских изделий. Часть 1. Оценка и исследования
ГОСТ ISO 10993-5 Изделия медицинские. Оценка биологического действия медицинских изделий. Часть 5. Исследование на цитотоксичность: методы in vitro
ГОСТ ISO 10993-10-2011 Изделия медицинские. Оценка биологического действия медицинских изделий. Часть 10. Исследования раздражающего и сенсибилизирующего действия
ГОСТ ISO 14971 Изделия медицинские. Применение менеджмента риска к медицинским изделиям
ГОСТ Р 15.013 Система разработки и постановки продукции на производство. Медицинские изделия
ГОСТ Р 15.111-2015 Система разработки и постановки продукции на производство. Технические средства реабилитации инвалидов
ГОСТ Р 50444 Приборы, аппараты и оборудование медицинские. Общие технические условия
ГОСТ Р 51632 Технические средства реабилитации людей с ограничениями жизнедеятельности. Общие технические требования и методы испытаний
ГОСТ Р 52770 Изделия медицинские. Требования безопасности. Методы санитарно-химических и токсикологических испытаний
ГОСТ Р 53228 Весы неавтоматического действия. Часть 1. Метрологические и технические требования. Испытания
ГОСТ Р ИСО 9999 Вспомогательные средства для людей с ограничениями жизнедеятельности. Классификация и терминология
ИС МЕГАНОРМ: примечание.
Взамен ГОСТ Р ИСО 11334-1-2010 Приказом Росстандарта от 16.05.2022 N 303-ст с 01.01.2023 введен в действие ГОСТ Р 70097-2022.
ГОСТ Р ИСО 11334-1 Средства вспомогательные для ходьбы, управляемые одной рукой. Требования и методы испытаний. Часть 1. Костыли локтевые
ГОСТ Р ИСО 11334-4 Средства для ходьбы, управляемые одной рукой. Требования и методы испытания. Часть 4. Трости для ходьбы с тремя или более ножками
Примечание - При пользовании настоящим стандартом целесообразно проверить действие ссылочных стандартов в информационной системе общего пользования - на официальном сайте Федерального агентства по техническому регулированию и метрологии в сети Интернет или по ежегодному информационному указателю "Национальные стандарты", который опубликован по состоянию на 1 января текущего года, и по выпускам ежемесячного информационного указателя "Национальные стандарты" за текущий год. Если заменен ссылочный стандарт, на который дана недатированная ссылка, то рекомендуется использовать действующую версию этого стандарта с учетом всех внесенных в данную версию изменений. Если заменен ссылочный стандарт, на который дана датированная ссылка, то рекомендуется использовать версию этого стандарта с указанным выше годом утверждения (принятия). Если после утверждения настоящего стандарта в ссылочный стандарт, на который дана датированная ссылка, внесено изменение, затрагивающее положение, на которое дана ссылка, то это положение рекомендуется применять без учета данного изменения. Если ссылочный стандарт отменен без замены, то положение, в котором дана ссылка на него, рекомендуется применять в части, не затрагивающей эту ссылку.
3 Термины и определения
В настоящем стандарте применены следующие термины с соответствующими определениями:
3.1
технические средства реабилитации (людей с ограничениями жизнедеятельности) [инвалидов] [реабилитационные (технические) средства]: Средства реабилитации, содержащие технические решения, в том числе специальные, используемые для компенсации или устранения стойких ограничений жизнедеятельности людей, связанных с нарушением здоровья, в том числе инвалидов.
3.2
ограничение жизнедеятельности: Полная или частичная утрата лицом способности и возможности осуществлять самообслуживание, самостоятельно передвигаться, ориентироваться, общаться, контролировать свое поведение, обучаться и заниматься трудовой деятельностью.
3.3 вспомогательное средство для ходьбы: Техническое реабилитационное средство, обеспечивающее человеку с нарушением статодинамической функции возможность ходьбы, манипулируемое одной (двумя) рукой(ами) или в комбинации с верхней частью тела пользователя.
Примечание - Вспомогательные средства для ходьбы включают локтевые и подмышечные костыли, трости опорные для ходьбы, рамы для боковой поддержки при ходьбе, ходунки (на колесиках и без них).
3.4 костыль: Вспомогательное средство для ходьбы, управляемое одной рукой, имеющее ножку, рукоятку и верхнюю опору для пользователя.
Примечание - Классификационные группы 12 03 06 и 12 03 09 по ГОСТ Р ИСО 9999.
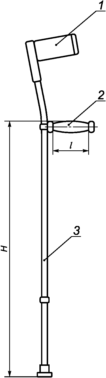
3.5 подмышечный костыль: Костыль, имеющий ножку, рукоятку и верхнюю опору для подмышки.
Примечания
1 Классификационная группа 12 03 12 по ГОСТ Р ИСО 9999.
2 Подмышечный костыль изображен на рисунке 1.
1 - опора подмышечная; 2 - рукоятка;
3 - верхняя секция ножки; 4 - нижняя секция ножки;
H - высота рукоятки; l - длина рукоятки
Рисунок 1 - Пример подмышечного костыля
3.6 костыль с опорой под локоть: Костыль, имеющий полукруглую опору для локтя, горизонтальную рукоятку, одну ножку и один наконечник.
Примечание - Классификационная группа 12 03 06 по ГОСТ Р ИСО 9999.
3.7 костыль с опорой на предплечье: Костыль, имеющий одну ножку, полукруглую опору для предплечья, горизонтальную рукоятку и один наконечник.
Примечания
1 Классификационная группа 12 03 09 по ГОСТ Р ИСО 9999.
2 Костыль с опорой на предплечье изображен на рисунке 2.
1 - опора для предплечья; 2 - рукоятка; 3 - ножка;
H - высота рукоятки; l - длина рукоятки
Рисунок 2 - Пример костыля с опорой на предплечье
3.8 опорная трость (для ходьбы): Вспомогательное техническое средство для ходьбы, управляемое одной рукой, имеющее ножку (одну или более), рукоятку (захватную часть) без опоры для предплечья и один наконечник.
Примечания
1 Классификационные группы 12 03 03 и 12 03 16 по ГОСТ Р ИСО 9999.
2 Опорная трость изображена на рисунке 3.
1 - рукоятка; 2 - верхняя секция ножки;
3 - нижняя секция ножки; 4 - наконечник;
H - высота рукоятки; l - длина рукоятки
Рисунок 3 - Примеры опорных тростей
3.9 трость для ходьбы с тремя и более ножками: Трость для ходьбы с тремя или более ножками и ручкой, но не имеющая опоры для подмышки или предплечья.
Примечания
1 Классификационная группа 12 03 16 по ГОСТ Р ИСО 9999.
2 Трость для ходьбы с тремя и более ножками изображена на рисунке 4.
1 - рукоятка; 2 - стойка; 3 - ножка; 4 - наконечник;
l - длина рукоятки
Рисунок 4 - Примеры опорных тростей с тремя и более ножками
3.10 белая опорная трость: Устройство, обеспечивающее человеку с нарушением зрительных функций опору при ходьбе, и которое имеет рукоятку без опоры для предплечья, одну ножку и один наконечник.
Примечание - Классификационная группа 12 39 03 по ГОСТ Р ИСО 9999.
3.11 рукоятка технического средства для ходьбы: Элемент технического средства для ходьбы, который непосредственно обхватывается кистью руки пользователя.
3.12 ручное техническое средство реабилитации: Средство реабилитации, которое во время нормальной эксплуатации держат в руке.
3.13 максимальная допустимая нагрузка: Предельное значение механической нагрузки на техническое средство реабилитации, установленное в нормативной документации.
3.14 нормальная эксплуатация: Использование костыля и трости в соответствии с эксплуатационной документацией.
3.15 опасность костыля и трости: Потенциальная возможность вредного воздействия на пользователя, других людей или окружающую среду, создаваемого непосредственно костылем или тростью при их использовании.
3.16 техническая документация: Комплект инструкций, руководств по применению, обслуживанию и ремонту, гарантий на средства для ходьбы и других документов производителя, связанных с нормальной эксплуатацией средств для ходьбы.
3.17 клиническая оценка средств для ходьбы: Средства, подтверждающие, что подмышечные костыли и опорные трости для ходьбы соответствуют требованиям [2], если они будут использованы в соответствии с предписанием производителя.
Примечание - Клиническая оценка может включать в себя набор клинических данных научной литературы и результатов проведенных клинических обследований.
3.18 реабилитационный эффект средств для ходьбы: Показатели эффективности (полезности) применения средств для ходьбы в целях устранения или компенсации ограничений жизнедеятельности вследствие нарушений статодинамической функции человека (инвалида) - пользователя средством для ходьбы, или реализации его реабилитационного потенциала.
3.19
реабилитационный потенциал: Комплекс биологических и психофизиологических характеристик человека, а также социально-средовых факторов, позволяющих в той или иной степени реализовать его потенциальные способности.
[ГОСТ Р 15.111-2015, пункт 3.1.7]
4 Сокращения
В настоящем стандарте приняты следующие сокращения:
ВСХ - вспомогательное средство для ходьбы;
НД - нормативный документ;
ЭД - эксплуатационная документация.
5 Классификация вспомогательных средств для ходьбы
В настоящем стандарте ВСХ, управляемые одной рукой, подразделены на следующие группы в соответствии с ГОСТ Р ИСО 9999 и виды (в соответствии с [3]):
5.1 Трости опорные:
- трость опорная, регулируемая по высоте, без устройства противоскольжения (6-01-01) <1>;
--------------------------------
<1> Здесь и далее наименование вида ВСХ и его номер, указанный в скобках, приведены в соответствии с [3] и [4].
- трость опорная, регулируемая по высоте, с устройством противоскольжения (6-01-02);
- трость опорная, не регулируемая по высоте, без устройства противоскольжения (6-01-03);
- трость опорная, не регулируемая по высоте, с устройством противоскольжения (6-01-04);
- трость опорная с анатомической ручкой, регулируемая по высоте, без устройства противоскольжения (6-01-05);
- трость опорная с анатомической ручкой, регулируемая по высоте, с устройством противоскольжения (6-01-06);
- трость опорная с анатомической ручкой, не регулируемая по высоте, без устройства противоскольжения (6-01-07);
- трость опорная с анатомической ручкой, не регулируемая по высоте, с устройством противоскольжения (6-01-08);
- трость 3-опорная, регулируемая по высоте, без устройства противоскольжения (6-01-09);
- трость 3-опорная, регулируемая по высоте, с устройством противоскольжения (6-01-10);
- трость 3-опорная, не регулируемая по высоте, без устройства противоскольжения (6-01-11);
- трость 3-опорная, не регулируемая по высоте, с устройством противоскольжения (6-01-12);
- трость 3-опорная с анатомической ручкой, регулируемая по высоте, без устройства противоскольжения (6-01-13);
- трость 3-опорная с анатомической ручкой, регулируемая по высоте, с устройством противоскольжения (6-01-14);
- трость 3-опорная с анатомической ручкой, не регулируемая по высоте, без устройства противоскольжения (6-01-15);
- трость 3-опорная с анатомической ручкой, не регулируемая по высоте, с устройством противоскольжения (6-01-16);
- трость 4-опорная, регулируемая по высоте, без устройства противоскольжения (6-01-17);
- трость 4-опорная, регулируемая по высоте, с устройством противоскольжения (6-01-18);
- трость 4-опорная, не регулируемая по высоте, без устройства противоскольжения (6-01-19);
- трость 4-опорная, не регулируемая по высоте, с устройством противоскольжения (6-01-20);
- трость 4-опорная с анатомической ручкой, регулируемая по высоте, без устройства противоскольжения (6-01-21);
- трость 4-опорная с анатомической ручкой, регулируемая по высоте, с устройством противоскольжения (6-01-22);
- трость 4-опорная с анатомической ручкой, не регулируемая по высоте, без устройства противоскольжения (6-01-23);
- трость 4-опорная с анатомической ручкой, не регулируемая по высоте, с устройством противоскольжения (6-01-24).
5.2 Трости белые опорные:
- трость белая опорная, не регулируемая по высоте, с устройством противоскольжения (6-03-01);
- трость белая опорная, не регулируемая по высоте, без устройства противоскольжения (6-03-02);
- трость белая опорная, регулируемая по высоте, с устройством противоскольжения (6-03-03);
- трость белая опорная, регулируемая по высоте, без устройства противоскольжения (6-03-04).
5.3 Костыли:
- костыли с опорой под локоть с устройством противоскольжения (6-04-01);
- костыли с опорой под локоть без устройства противоскольжения (6-04-02);
- костыли с опорой на предплечье с устройством противоскольжения (6-04-03);
- костыли с опорой на предплечье без устройства противоскольжения (6-04-04);
- костыли подмышечные с устройством противоскольжения (6-04-05);
- костыли подмышечные без устройства противоскольжения (6-04-06).
6 Технические требования
6.1 Общие требования
6.1.1 Подмышечные костыли и опорные трости должны соответствовать требованиям настоящего стандарта и санитарно-эпидемиологическим требованиям действующих санитарных правил.
ИС МЕГАНОРМ: примечание.
Взамен ГОСТ Р ИСО 11334-1-2010 Приказом Росстандарта от 16.05.2022 N 303-ст с 01.01.2023 введен в действие ГОСТ Р 70097-2022.
6.1.2 Костыли с опорой под локоть и костыли с опорой на предплечье должны соответствовать требованиям настоящего стандарта и ГОСТ Р ИСО 11334-1.
6.1.3 Трости для ходьбы с тремя и более ножками должны соответствовать требованиям настоящего стандарта, а также требованиям к устойчивости, статической и усталостной прочности, требованиям безопасности, эргономики, а также требованиям к маркировке и оформлению надписей, установленным в ГОСТ Р ИСО 11334-4.
6.1.4 ВСХ следует подвергать клинической оценке в соответствии с [2].
6.1.5 Исследования и обоснования разработки, разработка, производство, сертификация, эксплуатация, ремонт, снятие с производства ВСХ должны соответствовать требованиям ГОСТ Р 15.013.
6.2 Требования назначения
6.2.1 В исходных документах на разработку ВСХ в НД на средства для ходьбы конкретных типов (видов, моделей) должны быть установлены требования назначения, характеризующие свойства ВСХ, в том числе их основные размеры, массу и другие параметры, обеспечивающие реабилитационный эффект.
6.2.2 Максимальная масса опорных тростей и подмышечных костылей не должна превышать:
- тростей опорных - 1,5 кг;
- костылей подмышечных - 3 кг.
Примечание - По согласованию с заказчиком максимальная масса опорных тростей и подмышечных костылей может быть увеличена.
6.2.3 Высота рукоятки опорных тростей и подмышечных костылей от опорной поверхности должна быть в пределах 900 и 1200 мм.
6.3 Конструктивные требования
6.3.1 Значение номинальной механической нагрузки на ВСХ от воздействия массы пользователя, кг, выбирают из ряда: 15, 25, 35, 45, 60, 80, 100, 125, 150.
Опорные детали костылей и тростей для взрослых пользователей рассчитывают, исходя из массы пользователя 150 кг (номинальная нагрузка).
6.3.2 Номинальные нагрузки на костыли и трости от воздействия массы пользователя допускается умножать на соответствующий коэффициент запаса для обеспечения гарантии безопасности этих ВСХ.
6.3.3 Рукоятки костылей и тростей должны быть выполнены так, чтобы обеспечить (по возможности) равномерное давление на кисть руки. Подмышечная опора подмышечного костыля должна обеспечивать, по возможности, рассредоточение нагрузки на тело пользователя.
6.3.4 Наименьшая длина рукоятки ВСХ должна составлять 75 мм, а диаметр (ширина) рукоятки должен находиться в пределах 20 и 50 мм. Это требование не применимо к анатомическим рукояткам.
6.3.5 Подмышечные опоры и рукоятки костылей и тростей не должны иметь трещин, вмятин, острых кромок и заусенцев. Места снятия облоя на деталях из пластмасс должны быть зачищены.
6.3.6 Стойка трости должна быть прямолинейна, за исключением случаев конструктивно предусмотренной изогнутости. Отклонение от прямолинейности по длине стойки не должно быть более 2 мм для нерегулируемых тростей и не более 3 мм для регулируемых тростей.
6.3.7 Несимметричность боковых стоек подмышечного костыля к оси подмышечного костыля не должна быть более 5 мм.
6.3.8 Стойка (нижняя секция изделия, регулируемого по высоте) должна оканчиваться наконечником, сконструированным так, чтобы исключить его протыкание во время испытаний на статическую прочность и усталость. Наконечник должен быть съемным, но надежно закрепленным без перекосов. Минимальный диаметр части наконечника, соприкасающейся с поверхностью перемещения, должен быть 35 мм.
6.3.9 Конструкция наконечника не должна препятствовать свободному ходу стержня встроенного устройства противоскольжения либо должна обеспечивать надежное крепление съемного наружного устройства противоскольжения.
6.3.10 Стержень механизма встроенного устройства противоскольжения в рабочем положении не должен выступать из наконечника более чем на 10 мм, в нерабочем - утопать в наконечник более чем на 3 мм. Острия съемного устройства противоскольжения не должны выступать за опорную поверхность наконечника более чем на 10 мм.
6.3.11 Элементы регулировки ВСХ должны надежно фиксировать элементы конструкции в любой фиксированной позиции. Должны быть ясно помечены максимально допустимые значения регулировок, если они не ограничиваются механически.
6.3.12 Выступление резьбовых частей крепежных и фиксирующих элементов регулировки над гайками не должно быть более 2 мм для подмышечных костылей из металла и пластика и 3 мм - для подмышечных костылей из дерева.
6.3.13 При необходимости разборки для хранения и транспортирования ВСХ способ разборки/сборки средства для ходьбы должен быть безопасным. При этом ослабляемые (освобождаемые) или удаляемые элементы креплений (фиксаций) не должны быть одноразового использования.
6.3.14 Конструкция ВСХ должна обеспечивать очистку и не должна способствовать удержанию пыли, жидких и/или загрязняющих материалов.
6.4 Требования к сырью, материалам, покупным изделиям
6.4.1 Конструктивные элементы ВСХ, контактирующие с телом человека, должны быть изготовлены из материалов, соответствующих требованиям биологической безопасности по ГОСТ ISO 10993-1, ГОСТ ISO 10993-5 и ГОСТ ISO 10993-10, ГОСТ Р 52770.
ИС МЕГАНОРМ: примечание.
В официальном тексте документа, видимо, допущена опечатка: имеется в виду пункт [6] Библиографии, а не [5].
6.4.2 Рукоятки опорных тростей и подмышечных костылей, а также опоры костылей, контактирующие с выделениями тканей человека, должны быть устойчивыми к воздействию биологической жидкости - пота по [5].
6.4.3 Металлические части ВСХ должны быть изготовлены из коррозионно-стойких материалов или защищены от коррозии защитными или защитно-декоративными покрытиями в соответствии с ГОСТ 9.032, ГОСТ 9.301.
6.4.4 ВСХ должны выдерживать многократную дезинфекцию простыми доступными дезинфицирующими средствами без их повреждений.
6.4.5 При изготовлении элементов опорных тростей и подмышечных костылей не допускается применять легковоспламеняющиеся горючие материалы.
6.4.6 Если при изготовлении конструктивных элементов ВСХ используют материалы вторичной переработки, то данные конструктивные элементы должны сохранять эквивалентную прочность в течение всего срока службы изделия.
6.5 Требования к конструктивным элементам вспомогательных средств для ходьбы, выполненным из дерева
6.5.1 Не допускаются наружная трухлявая гниль, червоточина, частично сросшиеся сучки и отверстия от выпавших сучков, внутренняя заболонь.
6.5.2 Допускаются не портящие внешний вид ВСХ побурение, продубины, желтизна, грибные ядровые пятна (полосы).
6.5.3 Допускается наличие ложного ядра без признаков загнивания.
6.5.4 Наличие сросшихся, здоровых и темных сучков диаметром до 3 мм не учитывается, а диаметром до 5 мм не должно быть более 1 шт. на один погонный метр.
6.5.5 Наклон волокон от продольной оси брусковой детали не должен быть более 5%. Допускается свилеватость, завиток шириной не более 1/4 толщины или ширины детали.
6.5.6 Влажность древесины деталей для изготовления опорных тростей и подмышечных костылей не должна быть более 11% абс.
6.5.7 Деревянные конструктивные элементы ВСХ должны иметь лакокрасочные покрытия не ниже класса IV по ГОСТ 9.032.
6.5.8 Потеки лака, непокрытые участки, полосы и темные пятна не допускаются.
6.6 Требования прочности и надежности
6.6.1 ВСХ должны быть устойчивыми к механическим воздействиям по ГОСТ Р 50444.
6.6.2 ВСХ должны выдерживать нагрузки при неправильном обращении и случайном падении их на твердую поверхность с высоты 1 м.
6.6.3 ВСХ должны выдерживать циклические нагрузки, сохраняя их внешний вид и работоспособность.
6.6.4 Требования надежности - по ГОСТ Р 51632.
6.6.5 Назначенный срок использования ВСХ должен быть не менее сроков, установленных в [4].
6.7 Требования стойкости к внешним воздействующим факторам
6.7.1 Климатическое исполнение ВСХ - У1, У1.1, УХЛ4.2 по ГОСТ 15150.
6.7.2 ВСХ климатических исполнений, указанных в 6.7.1, должны сохранять работоспособность в процессе нормальной эксплуатации при воздействии температуры, номинальные значения которой приведены в таблице 1.
Таблица 1
Климатическое исполнение
Номинальные значения температуры, °C
Верхнее
Нижнее
У1, У1.1
Плюс 40
Минус 40 <1>
УХЛ4.2
Плюс 35
Плюс 10
<1> При кратковременной эксплуатации технических средств для ходьбы (не более 30 мин). При длительной эксплуатации ВСХ устанавливают нижнее номинальное значение температуры минус 25 °C.
6.7.3 Для ВСХ, предназначенных для работы в условиях, отличных от указанных в таблице 1, в качестве климатических факторов принимают факторы, соответствующие условиям эксплуатации, установленным в НД на конкретные типы (виды, модели) этих средств для ходьбы.
6.7.4 ВСХ исполнения У1 по ГОСТ 15150 должны сохранять работоспособность при воздействии дождя, пыли и снега, значения параметров которых установлены в ГОСТ 15150.
6.7.5 Если производитель не указал иное, то ВСХ в упаковке для транспортирования и хранения должны в течение не менее 15 недель выдерживать воздействие внешних факторов окружающей среды:
- температура от минус 40 до плюс 70 °C;
- относительная влажность от 10 до 100%, включая конденсацию;
- атмосферное давление от 500 до 1060 гПа.
6.7.6 ВСХ, подвергшиеся в процессе эксплуатации резкому изменению температуры внешней среды, должны сохранять свою работоспособность.
6.7.7 Перепад температур и продолжительность воздействия перепада температур на ВСХ устанавливают в НД на конкретные типы (виды, модели) этих средств для ходьбы.
6.7.8 Если существуют ограничения для использования ВСХ по назначению в части каких-либо факторов окружающей среды, производитель должен в ЭД четко описать условия, которых необходимо избегать, а также последствия воздействия на ВСХ потенциально опасных для него воздействующих факторов.
6.8 Требования эргономики
6.8.1 ВСХ должны удовлетворять эргономическим требованиям и требованиям эстетики с учетом специальных нужд людей с ограничениями жизнедеятельности, для которых эти изделия предназначены.
6.8.2 Элементы регулировки и фиксации подвижных элементов конструкции ВСХ по размерам, конфигурации, а также по максимально допустимым усилиям должны соответствовать физиологическим возможностям пользователя.
6.8.3 В качестве управляющих органов регулировки и фиксации подвижных элементов конструкции ВСХ применяют поворотные, клавишные, кнопочные и рычажные устройства.
6.8.4 Усилия управления элементами фиксации ВСХ не должны превышать значений, приведенных в таблице 2.
Таблица 2
Усилия управления элементами фиксации, Н, не более
Поворотные и рычажные
Клавишные и кнопочные
Посредством пальцев
Посредством рук
Посредством пальцев
Посредством ладони
5,0
35,0
5,0
15,0
7 Требования безопасности
7.1 Анализ рисков
Безопасность технических средств для ходьбы следует оценивать посредством анализа рисков, который заключается в идентификации угроз и оценке связанных с ними рисков, применяя методы в соответствии с ГОСТ ISO 14971.
Примечание - Соответствие требованиям настоящего стандарта может быть обеспечено согласованием заданных в настоящем стандарте опасностей и рисков с требованиями, установленными ГОСТ ISO 14971.
7.2 Если конструктивные меры, предпринятые производителем, не могут полностью устранить опасность для пользователя, то в ЭД должны быть изложены предостережения и указания по соблюдению мер безопасности при эксплуатации соответствующих ВСХ.
7.3 Подвижные регулируемые элементы ВСХ (например, верхняя секция ножек опорных тростей) должны соответствовать требованиям безопасности по ГОСТ Р 51632.
ИС МЕГАНОРМ: примечание.
В официальном тексте документа, видимо, допущена опечатка: имеется в виду пункт 13.18, а не 14.18.
7.4 Если для хранения и транспортирования ВСХ предусмотрена их разборка (складывание), то во время испытаний этих ВСХ по 14.18 они не должны самопроизвольно разбираться (складываться).
7.5 Все доступные для пользователя кромки, узлы и поверхности ВСХ должны быть гладкими, а также чистыми от заусенцев и острых кромок.
8 Требования к эксплуатационной документации
Эксплуатационная документация должна соответствовать требованиям ГОСТ 2.601 и ГОСТ Р 51632.
9 Комплектность
Комплект поставки ВСХ должен соответствовать ГОСТ Р 50444.
10 Маркировка
10.1 Маркировка ВСХ должна соответствовать ГОСТ Р 50444.
10.2 Маркировка ВСХ должна содержать:
- максимальную массу пользователя;
- минимальный и максимальный рост пользователя;
- ограничения по регулировке высоты костыля или трости.
11 Упаковка
Упаковка ВСХ должна соответствовать ГОСТ Р 50444.
12 Правила приемки
12.1 ВСХ должны быть подвергнуты приемо-сдаточному контролю.
12.2 ВСХ должны быть приняты техническим контролем предприятия-изготовителя на соответствие требованиям настоящего стандарта, соответствующей конструкторской документации и утвержденному образцу-эталону.
12.3 Проверку готовых ВСХ следует проводить выборочно - 2% от партии, но не менее 5 шт. Партией считается число ВСХ, сдаваемых одновременно и оформленных одним документом.
12.4 При неудовлетворительных результатах проверки хотя бы по одному из показателей, приведенных в разделах 6 - 11, следует проводить повторную проверку удвоенного числа ВСХ, взятых от той же партии. При неудовлетворительных результатах повторной проверки вся партия бракуется.
13 Методы испытаний
13.1 Методы испытаний (контроля, проверки) ВСХ должны соответствовать методам испытаний, установленным в настоящем стандарте и в технических условиях на эти средства для ходьбы.
ИС МЕГАНОРМ: примечание.
Взамен ГОСТ Р ИСО 11334-1-2010 Приказом Росстандарта от 16.05.2022 N 303-ст с 01.01.2023 введен в действие ГОСТ Р 70097-2022.
13.2 Методы испытаний (контроля, проверки) костылей с опорой под локоть и костылей с опорой на предплечье должны соответствовать установленным в настоящем стандарте, а также в ГОСТ Р ИСО 11334-1.
13.3 Методы испытаний (контроля, проверки) опорных тростей с тремя или более ножками должны соответствовать установленным в настоящем стандарте, а также в ГОСТ Р ИСО 11334-4.
13.4 Условия испытаний ВСХ и их компонентов должны соответствовать нормальным климатическим условиям испытаний по ГОСТ 15150 и условиям, установленным настоящим стандартом. Все испытания, если не установлено иное, необходимо проводить при максимальной высоте ВСХ.
13.5 Массу ВСХ (6.2.1 и 6.2.2) проверяют взвешиванием на весах по ГОСТ Р 53228 с допустимой погрешностью, которую указывают в ТУ на конкретное ВСХ. Проверку основных размеров проводят с помощью рулетки по ГОСТ 7502.
13.6 Проверку сборки/разборки ВСХ осуществляют опробованием с визуальным контролем элементов крепления.
13.7 Размеры рукоятки изделия (6.3.4) проверяют штангенциркулем по ГОСТ 166.
13.8 Проверку надежности элементов регулировки ВСХ проводят в ходе их испытаний на механическую прочность и визуально.
13.9 Проверку внешнего вида подмышечных опор и рукояток костылей и тростей (6.3.5) проводят визуальным осмотром после испытаний на устойчивость к воздействию механических и климатических факторов (13.20, 13.22), а также после проверки на прочность (13.18).
13.10 Проверку прямолинейности стойки опорной трости (6.3.6) проводят прямым шаблоном и штангенциркулем по ГОСТ 166. Для регулируемых опорных тростей проверку проводят с учетом разницы диаметров верхней и нижней частей стойки.
13.11 Проверку несимметричности боковых стоек подмышечного костыля к оси подмышечного костыля (6.3.7) проводят с помощью измерительной металлической линейки по ГОСТ 427.
13.12 Проверку выступания резьбовых частей крепежных и фиксирующих элементов регулировки над гайками (6.3.12) проводят с помощью штангенциркуля по ГОСТ 166.
13.13 Проверку наконечника на прочность (6.3.8) проводят во время испытаний на статическую прочность и усталость изделия в целом. Диаметр части наконечника, соприкасающейся с поверхностью перемещения, проверяют штангенциркулем по ГОСТ 166.
13.14 Функционирование устройства противоскольжения (6.3.9) проверяют до испытаний на статическую прочность и усталость изделия в целом и после данных испытаний.
13.15 Значения выступания/утопания стержня механизма встроенного устройства противоскольжения и выступания острых частей съемного устройства противоскольжения (6.3.10) проверяют штангенциркулем по ГОСТ 166.
13.16 Проверку конструкции ВСХ на возможность очистки (6.3.14) проводят при проверке устойчивости к дезинфекции.
13.17 Проверку прочности ВСХ (6.6.1) проводят следующим методом.
13.17.1 ВСХ подвергают статической нагрузке согласно рисунку 5. Значение испытательной нагрузки должно быть равно 1,5 максимально допустимой с допуском плюс 5%, нормированной производителем в НД на конкретное ВСХ. Испытательное усилие при испытании подмышечных костылей прикладывается поочередно к рукоятке и подмышечной опоре. Испытательное усилие прикладывается равномерно к участку подмышечной рукоятки или опоры длиной (70 +/- 5) мм. Испытательное усилие выдерживают в течение 60 - 70 с.
1 - направление испытательной нагрузки;
2 - участок приложения испытательной нагрузки
Рисунок 5 - Испытание опорных тростей
и подмышечных костылей на прочность
13.17.2 Испытание регулируемых ВСХ проводят как минимум в трех положениях (двух крайних и среднем). При наличии встроенного или съемного устройства противоскольжения одно из испытаний проводят при установке устройства противоскольжения в рабочее состояние. При этом под опору подкладывают металлическую пластину достаточной прочности.
13.17.3 После испытаний конструктивные элементы ВСХ не должны иметь следов остаточной деформации, искривлений, растрескиваний, признаков снижения прочности (устойчивости) или других свидетельств (признаков) дефектов.
13.17.4 После испытаний ВСХ должно работать в соответствии со своим назначением, как установлено производителем.
13.18 Проверку на прочность ВСХ при неправильном обращении и случайном падении на твердую поверхность с высоты 1 м (6.6.2) проводят по ГОСТ Р 51632. После испытания изделие должно соответствовать требованиям настоящего стандарта.
13.19 Проверку на надежность (6.6.3) проводят, прилагая циклическую нагрузку, равную 450 Н +/- 2%. Если установленная для данной трости максимально допустимая масса пользователя отлична от 100 кг, следует прилагать нагрузку в расчете 4,5 Н на каждый килограмм максимальной массы пользователя +/- 2%. Нагрузка должна быть не менее 157,5 Н +/- 2%. Частота испытательной нагрузки не должна превышать 1 Гц. Число циклов нагружения должно быть равным 200 000.
13.20 Проверку устойчивости изделия к механическим воздействиям (6.6.1) проводят по ГОСТ Р 50444.
13.21 Правила контроля изделий в части надежности (6.6.4) - по [5].
13.22 Методы испытаний изделия на устойчивость к воздействию климатических факторов (6.7) при эксплуатации, транспортировании и хранении указываются производителем в НД на конкретное изделие в соответствии с ГОСТ Р 50444.
13.23 Проверку требований эргономики (6.8) проводят по ГОСТ Р 51632. Проверку усилий управления элементами регулировки и фиксации изделия проводят при помощи динамометра по ГОСТ 13837.
13.24 Проверку требований биологической безопасности материалов конструктивных элементов изделия, контактирующих с телом человека (6.4.1), проводят по ГОСТ ISO 10993-1, ГОСТ ISO 10993-5, ГОСТ ISO 10993-10, ГОСТ Р 52770.
13.25 Устойчивость рукояток опорных тростей и костылей, а также подмышечных опор подмышечных костылей, контактирующих с выделениями тканей человека, к воздействию биологической жидкости - пота (6.4.2) проверяют по [6].
13.26 Контроль покрытий (6.4.3) - в соответствии ГОСТ 9.302.
13.27 Проверку устойчивости к дезинфекции проводят пятикратной обработкой ВСХ или его частей агентами и методами, указанными производителем в НД на конкретное ВСХ в соответствии с [7]. Результаты испытаний считаются положительными, если по их окончании они соответствует требованиям НД.
13.28 Требование 6.4.5 подтверждают наличием соответствующих сертификатов соответствия.
13.29 Если при изготовлении конструктивных элементов ВСХ используют материалы вторичной переработки (6.4.6), то данные конструктивные элементы проверяют по 13.17.1.
13.30 Проверку конструктивных элементов (6.5), выполненных из дерева, проводят по ГОСТ 2140.
13.31 Состав и содержание эксплуатационной документации (раздел 8), комплектность (раздел 9), маркировку (раздел 10) и упаковку (раздел 11) проверяют визуально на предмет соответствия требованиям НД на конкретное ВСХ.
13.32 Безопасность изделий (7.1 и 7.2) оценивают по ГОСТ ISO 14971.
14 Транспортирование и хранение
Транспортирование и хранение ВСХ должны осуществляться в соответствии с ГОСТ Р 50444.
15 Гарантии изготовителя
15.1 Изготовитель гарантирует соответствие ВСХ требованиям настоящего стандарта при соблюдении условий хранения и транспортирования, указанных в настоящем стандарте.
15.2 Гарантийный срок эксплуатации - один год со дня приобретения ВСХ.
БИБЛИОГРАФИЯ
[1]
Федеральный закон от 24 ноября 1995 г. N 181-ФЗ "О социальной защите инвалидов в Российской Федерации" (в редакции от 19 декабря 2016 г., действующий в 2017 г.)
[2]
MEDDEV 2.7.1 Оценка клинических данных: Руководство для изготовителей и уполномоченных органов согласно Директивам 93/42/ЕЕС и 90/385/ЕЕС
[3]
Приказ Министерства труда и социальной защиты РФ от 28 декабря 2017 г. N 888н "Об утверждении перечня показаний и противопоказаний для обеспечения инвалидов техническими средствами реабилитации"
[4]
Распоряжение Правительства Российской Федерации от 30 декабря 2005 г. N 2347-р "О федеральном перечне реабилитационных мероприятий, технических средств реабилитации и услуг, предоставляемых инвалиду"
[5]
РД 50-707-91 Методические указания. Изделия медицинской техники. Требования к надежности. Правила и методы контроля показателей надежности
[6]
МУ 25.1-001-86 Устойчивость изделий медицинской техники к воздействию агрессивных биологических жидкостей
ИС МЕГАНОРМ: примечание.
В официальном тексте документа, видимо, допущена опечатка: Методические указания имеют номер МУ-287-113, а не РМУ-287-113.
[7]
РМУ-287-113 Методические указания по дезинфекции, предстерилизационной очистке и стерилизации изделий медицинского назначения