Главная // Актуальные документы // ГОСТ Р (Государственный стандарт)
СПРАВКА
Источник публикации
М.: Стандартинформ, 2018
Примечание к документу
Документ утратил силу с 30.11.2021 в связи с изданием Приказа Росстандарта от 13.08.2021 N 715-ст. Взамен введен в действие ГОСТ Р 58160-2021.

В соответствии с Приказом Росстандарта от 03.07.2018 N 378-ст данный документ вводился в действие с 01.11.2019. В соответствии с изменением, внесенным Приказом Росстандарта от 22.03.2019 N 100-ст, срок введения в действие данного документа перенесен на 01.03.2021.
Название документа
"ГОСТ Р 58160-2018. Национальный стандарт Российской Федерации. Контейнеры-цистерны малотоннажные и среднетоннажные с сосудом из полимерных композитов. Общие технические требования и методы испытаний"
(утв. и введен в действие Приказом Росстандарта от 03.07.2018 N 378-ст)

"ГОСТ Р 58160-2018. Национальный стандарт Российской Федерации. Контейнеры-цистерны малотоннажные и среднетоннажные с сосудом из полимерных композитов. Общие технические требования и методы испытаний"
(утв. и введен в действие Приказом Росстандарта от 03.07.2018 N 378-ст)


Содержание


Утвержден и введен в действие
Приказом Федерального
агентства по техническому
регулированию и метрологии
от 3 июля 2018 г. N 378-ст
НАЦИОНАЛЬНЫЙ СТАНДАРТ РОССИЙСКОЙ ФЕДЕРАЦИИ
КОНТЕЙНЕРЫ-ЦИСТЕРНЫ МАЛОТОННАЖНЫЕ И СРЕДНЕТОННАЖНЫЕ
С СОСУДОМ ИЗ ПОЛИМЕРНЫХ КОМПОЗИТОВ
ОБЩИЕ ТЕХНИЧЕСКИЕ ТРЕБОВАНИЯ И МЕТОДЫ ИСПЫТАНИЙ
Small and medium capacity tank-containers with vessel
from polymer composites. General technical
requirements and test methods
ГОСТ Р 58160-2018
ОКС 55.180.10
ОКПД2 29.20.21.120
Приказом Росстандарта от 22.03.2019 N 100-ст дата введения в действие перенесена на 01.03.2021.
Дата введения
1 ноября 2019 года
Предисловие
1 РАЗРАБОТАН Закрытым акционерным обществом "ПРОМТРАНСНИИПРОЕКТ" (ЗАО "ПРОМТРАНСНИИПРОЕКТ")
2 ВНЕСЕН Техническим комитетом по стандартизации ТК 246 "Контейнеры"
3 УТВЕРЖДЕН И ВВЕДЕН В ДЕЙСТВИЕ Приказом Федерального агентства по техническому регулированию и метрологии от 3 июля 2018 г. N 378-ст
4 Настоящий стандарт разработан для соблюдения требований Технического регламента Таможенного союза ТР ТС 032/2013 "О безопасности оборудования, работающего под избыточным давлением"
5 ВВЕДЕН ВПЕРВЫЕ
Правила применения настоящего стандарта установлены в статье 26 Федерального закона от 29 июня 2015 г. N 162-ФЗ "О стандартизации в Российской Федерации". Информация об изменениях к настоящему стандарту публикуется в ежегодном (по состоянию на 1 января текущего года) информационном указателе "Национальные стандарты", а официальный текст изменений и поправок - в ежемесячном информационном указателе "Национальные стандарты". В случае пересмотра (замены) или отмены настоящего стандарта соответствующее уведомление будет опубликовано в ближайшем выпуске ежемесячного информационного указателя "Национальные стандарты". Соответствующая информация, уведомление и тексты размещаются также в информационной системе общего пользования - на официальном сайте Федерального агентства по техническому регулированию и метрологии в сети Интернет (www.gost.ru)
1 Область применения
Настоящий стандарт распространяется на контейнеры-цистерны с сосудом из полимерных композитов (ПК) (далее - контейнеры-цистерны), предназначенные для перевозки грузов классов опасности 3; 5.1; 6.1; 6.2 несколькими видами транспорта, и устанавливает общие технические требования и методы испытаний контейнеров-цистерн.
Примечание - В настоящем стандарте применены классы опасности по ГОСТ 19433.
Требования настоящего стандарта являются минимальными и распространяются на среднетоннажные и малотоннажные контейнеры-цистерны с сосудом из полимерных композитов.
2 Нормативные ссылки
В настоящем стандарте использованы нормативные ссылки на следующие стандарты:
ГОСТ 8.010 Государственная система обеспечения единства измерений. Методики выполнения измерений. Основные положения
ГОСТ 8617 Профили прессованные из алюминия и алюминиевых сплавов. Технические условия
ГОСТ 18579 Устройства подъемные среднетоннажных универсальных и специализированных контейнеров массой брутто до 6,0 т включительно. Технические условия
ГОСТ 19433 Грузы опасные. Классификация и маркировка
ГОСТ 26380 Контейнеры специализированные групповые. Типы, основные параметры и размеры
ГОСТ 31314.3 (ИСО 1496-3:1995) Контейнеры грузовые серии 1. Технические требования и методы испытаний. Часть 3. Контейнеры-цистерны для жидкостей, газов и сыпучих грузов под давлением
ГОСТ 32650 (ISO 2078:1993) Стекловолокно. Нити. Типы и марки
ГОСТ 32657 (ISO 75-1:2004, ISO 75-3:2004) Композиты полимерные. Методы испытаний. Определение температуры изгиба под нагрузкой
Примечание - При пользовании настоящим стандартом целесообразно проверить действие ссылочных стандартов в информационной системе общего пользования - на официальном сайте Федерального агентства по техническому регулированию и метрологии в сети Интернет или по ежегодному информационному указателю "Национальные стандарты", который опубликован по состоянию на 1 января текущего года, и по выпускам ежемесячного информационного указателя "Национальные стандарты" за текущий год. Если заменен ссылочный стандарт, на который дана недатированная ссылка, то рекомендуется использовать действующую версию этого стандарта с учетом всех внесенных в данную версию изменений. Если заменен ссылочный стандарт, на который дана датированная ссылка, то рекомендуется использовать версию этого стандарта с указанным выше годом утверждения (принятия). Если после утверждения настоящего стандарта в ссылочный стандарт, на который дана датированная ссылка, внесено изменение, затрагивающее положение, на которое дана ссылка, то это положение рекомендуется применять без учета данного изменения. Если ссылочный стандарт отменен без замены, то положение, в котором дана ссылка на него, рекомендуется применять в части, не затрагивающей эту ссылку.
3 Термины и определения
В настоящем стандарте применены следующие термины с соответствующими определениями:
3.1
жидкость: Жидкое вещество с абсолютным давлением испарения не выше 300 кПа при 50 °C или другим давлением, установленным компетентным органом.
[ГОСТ Р 52202-2004, пункт 7.3.5]
3.2 запорные устройства: Элементы конструкции, включающие штангу клапана, шаровой клапан, заглушку, расположенные на корпусе цистерны, обеспечивающие сохранность перевозимой продукции.
3.3
испытательное давление: Внутреннее манометрическое давление в верхней части цистерны, при котором она проходит испытание.
[ГОСТ Р 52202-2004, пункт 7.3.9]
3.4
каркас: Конструкция, включающая рамные элементы, защищающие цистерну, торцевую раму, все элементы которых способны выдерживать нагрузки, но не предназначены для размещения транспортируемого груза, и передающие статические и динамические нагрузки, возникающие при выполнении погрузочно-разгрузочных работ и транспортировании контейнера-цистерны.
[ГОСТ 52202-2004, пункт 7.3.1]
3.5 контейнер-цистерна: Контейнер, состоящий из следующих основных элементов: цистерны (или цистерн) и каркаса (или рамных элементов для контейнеров-цистерн, не имеющих продольных несущих элементов).
3.6
компетентный орган: Орган или органы, назначенные правительством в каждой стране для проведения технического контроля за контейнерами-цистернами.
Примечание - Это определение также применимо для контейнеров для сухих сыпучих грузов.
[ГОСТ Р 52202-2004, пункт 7.3.6]
3.7
опасные грузы: Грузы, причисляемые к опасным Комитетом экспертов ООН по перевозке опасных грузов или соответствующим органом, как указано в 7.3.6.
[ГОСТ Р 52202-2004, пункт 7.3.7]
3.8 сосуд из ПК: Замкнутое изделие цилиндрической формы, имеющее внутренний объем, предназначенное для хранения и транспортировки жидких агрессивных веществ, продуктов химии и нефтехимии.
3.9 цистерна контейнера-цистерны с сосудом из ПК: Сосуд из ПК с установленной на нем запорной арматурой, предохранительными устройствами и другим вспомогательным оборудованием.
Примечание - Термин "цистерна контейнера-цистерны с сосудом из ПК" далее по тексту - "цистерна".
4 Параметры, размеры и обозначения
Основные параметры, размеры контейнеров-цистерн и допуски к ним должны соответствовать таблице 1, обозначения - по ГОСТ 26380.
Таблица 1
Обозначение типа контейнера
Наружные размеры, мм
Длина L
Ширина B
Высота H
Объем, м3
Масса брутто R, т
Номин.
Пред. откл.
Номин.
Пред. откл.
Номин.
Пред. откл.
СКЦ-5
2100
+/- 5
1325
+/- 3
2400
+/- 5
5
5
СКЦ-3
5
3
СКЦ-1,25
1050
1325
1400
+/- 3
2
1,25
5 Технические требования
5.1 Общие положения
5.1.1 Типы контейнеров-цистерн, требования к которым установлены в настоящем стандарте, приведены в таблице 2 и ГОСТ 31314.3.
Таблица 2
Тип груза и код типа контейнера-цистерны
Минимальное испытательное давление, кПа
неопасные
опасные
Т0
45
Т1
Т3
150
Т2
Т4
265
Т5
400
Т6
600
5.1.2 Способность контейнера-цистерны выдерживать заданные нагрузки следует определять опытным путем.
5.1.3 Требования прочности конструкции контейнера-цистерны изложены в виде схем в приложении А.
5.1.4 Контейнер-цистерна должен выдерживать испытательные нагрузки в соответствии с разделом 6.
5.1.5 Цистерна, опоры и крепления при загрузке до максимально допустимой массы брутто R должны выдерживать следующие раздельно действующие статически приложенные силы:
а) в направлении движения - удвоенную массу брутто R, умноженную на ускорение свободного падения g (2Rg). При проектировании контейнеров-цистерн, предназначенных для опасных грузов, статически приложенные силы в продольном направлении должны составлять 4Rg;
б) горизонтально под прямыми углами к направлению движения - массу брутто R, умноженную на ускорение свободного падения g (Rg). Если направление движения точно не установлено, то нагрузки должны быть приняты равными 2Rg;
в) вертикально снизу вверх - массу брутто R, умноженную на ускорение свободного падения g (Rg);
г) вертикально сверху вниз - удвоенную массу брутто R, умноженную на ускорение свободного падения g (2Rg).
5.1.6 Каждый контейнер-цистерна должен соответствовать требованиям настоящего стандарта и выдерживать гидростатическое давление, возникающее при его загрузке до массы брутто R.
5.1.7 Значения нагрузок, зафиксированных в ходе испытаний контейнеров-цистерн в соответствии с разделом 6, не следует превышать при эксплуатации.
5.1.8 Материалы, применяемые для изготовления контейнеров-цистерн, должны быть стойкими к воздействию перевозимого груза и окружающей среды и иметь гарантированные свойства (прочность, упругость и т.д.).
Материалы, применяемые для изготовления сосудов из ПК, должны обеспечивать их надежную работу в течение расчетного срока службы с учетом заданных условий эксплуатации (расчетного давления, минимальной и максимальной расчетных температур), состава и характера среды (взрывоопасное, токсичности и др.), влияния температуры окружающего воздуха, а также возможных экологических последствий при разрушении сосуда.
5.1.9 Любое запорное устройство на контейнере-цистерне должно быть обеспечено надежной системой закрытия, имеющей по возможности систему внешней индикации рабочего положения запорного устройства.
5.1.10 Процедура пломбирования цистерны должна соответствовать национальным стандартам и международным таможенным соглашениям.
5.1.11 Все отверстия цистерн, за исключением оборудованных предохранительными устройствами для сброса избыточного давления, должны быть оснащены надежными запорными устройствами, позволяющими проводить их пломбирование. Проушины запорного узла должны быть диаметром не менее 2,5 мм.
5.1.12 Каркас цистерны должен иметь соответствующее заземление.
5.2 Рымные узлы
Все среднетоннажные и малотоннажные контейнеры-цистерны, подвергающиеся при перевозке перегрузкам на станциях, пристанях и в портах, должны быть оборудованы рымными узлами. Требования к рымным узлам и их расположению установлены в ГОСТ 18579.
5.3 Металлический каркас
5.3.1 Конструкция каркаса должна обеспечивать защиту цистерны из ПК от механического повреждения.
В нижней части основания каркаса располагают "ложе" для установки сосуда из ПК через резиновые прокладки.
Сосуд из ПК крепят к верхней части "ложа" посредством специальных болтов и резиновых прокладок согласно конструкторской документации.
5.3.2 Все контейнеры-цистерны должны опираться на опорную (контактную) площадку основания каркаса.
5.3.3 Никакая часть цистерны не должна выступать за габариты каркаса.
5.4 Цистерна
Конструкция основания контейнера-цистерны должна удовлетворять требованиям [1], часть IV, пункт 2.1.
Цистерна должна быть спроектирована и изготовлена организацией, у которой имеется система менеджмента качества, признанная компетентным органом, и должна отвечать требованиям [1], а также требованиям нормативных документов.
Цистерна должна быть жестко соединена с элементами каркаса контейнера. Опоры и крепления цистерны к каркасу не должны вызывать опасных местных концентраций напряжений в сосуде из ПК.
5.4.1 Материалы
5.4.1.1 Многослойная оболочка сосуда из ПК состоит из следующих элементов:
- внутреннего химически стойкого слоя (лэйнера), который служит основным барьерным слоем, обеспечивающим длительное сопротивление химическому воздействию перевозимых веществ, и препятствует любой опасной реакции с содержимым сосуда или образованию опасных соединений, а также любому существенному снижению прочности конструкционных слоев сосуда в результате диффузии перевозимого продукта через внутренний слой (лэйнер).
Внутренний слой (лэйнер) изготовляют как из армированного волокнами термореактивного ПКМ, так и термопластичного ПК.
Лэйнер из армированного волокнами термореактивного ПКМ включает в себя: поверхностный химически стойкий слой (гель-покрытие), состоящий из смолы, армированной вуалью, совместимой со смолой и перевозимыми веществами (этот слой должен содержать не более 30% вуали по массе и иметь толщину 0,25 - 0,6 мм); упрочняющий(е) слой(и) вуали общей толщиной не менее 2 мм, содержащий(е) не менее 900 г/м2 стекломата или ПК, хаотично армированного рублеными волокнами с массовой долей стекловолокна не менее 30%, если эквивалентный уровень безопасности продемонстрирован при более низком содержании стекловолокна.
Лэйнер из термопластичного ПК состоит из листов, указанных в 5.4.1.2.3, соединяемых с конструкционными слоями сосуда;
- конструкционных слоев сосуда, которые должны воспринимать расчетные и испытательные нагрузки в соответствии с требованиями 5.1.4. Эта часть сосуда состоит из нескольких армированных волокнами слоев, ориентированных в заданных направлениях;
- наружного слоя, который является частью сосуда, на которую непосредственно воздействует окружающая среда. Он состоит из одного слоя с высоким содержанием смол, толщиной не менее 0,2 мм. При толщине более 0,5 мм следует использовать стекломат. Массовое содержание стекловолокна в таком слое должно составлять не более 30%.
Наружный слой должен выдерживать воздействие перевозимых веществ при случайных контактах с ними (проливы и пр.). Смола наружного слоя содержит наполнители и добавки, обеспечивающие защиту конструкционных слоев сосуда из ПК от разрушения при воздействии ультрафиолетового излучения.
Допускается применять другие материалы, обеспечивающие эквивалентную (указанную выше) защиту стенки сосуда из ПК от воздействия внешних факторов.
5.4.1.2 Исходные материалы и компоненты
5.4.1.2.1 Смолы
При изготовлении связующего и/или смесей на основе исходных смол следует строго соблюдать рекомендации изготовителя.
При изготовлении сосудов из ПК можно использовать следующие виды смол: ненасыщенные полиэфирные смолы; винилэфирные смолы; эпоксидные смолы; фенольные смолы.
Температура тепловой деформации (ТТД) смолы, определяемая в соответствии с ГОСТ 32657, должна не менее чем на 20 °C превышать максимальную рабочую температуру сосуда из ПК и во всех случаях составлять не менее 70 °C.
5.4.1.2.2 Армирующие волокна
В качестве армирующего материала конструкционных слоев сосуда из ПК следует использовать стекловолокна типа E и ECR в соответствии с ГОСТ 32650.
Допускается применять армирующие волокна других типов, обеспечивающие эквивалентные характеристики.
Для внутренней поверхности лэйнера может быть использовано стекловолокно типа C в соответствии с ГОСТ 32650.
Термопластичные вуали могут быть использованы при изготовлении лэйнера лишь при условии подтверждения их совместимости с грузами, предназначенными для транспортирования.
При изготовлении термопластичного лэйнера могут быть использованы непластифицированный поливинилхлорид (ПВХ-Н), полипропилен (ПП), поливинилиденфторид (ПВДФ) и политетрафторэтилен (ПТФЭ).
5.4.1.2.3 Добавки
Добавки, необходимые для обработки смол (катализаторы, ускорители, отвердители и тиксотропные вещества), а также материалы, используемые для улучшения свойств сосуда из ПК (наполнители, красители, пигменты и т.д.), не должны вызывать снижения прочности материала сосуда, учитывая срок эксплуатации и рабочие температуры, на которые рассчитан данный тип конструкций контейнера-цистерны с сосудом из ПК.
Допускается применять другие материалы, обеспечивающие надежную защиту стенки сосуда из ПК от воздействия внешних факторов на все время службы сосуда.
Огнестойкость следует обеспечивать нанесением наружных покрытий или применением огнестойких ПК по всей толщине.
По пожаробезопасности материал покрытия или ПК должен быть трудновоспламеняемым (коэффициент горючести Kmax - менее 2,1), самозатухающим (длина зоны обугливания - менее 25 мм) и медленно распространяющим пламя по поверхности (индекс распространения пламени - не более 20).
При выборе материалов сосуда из ПК и его элементов следует учитывать возможность образования электрохимических пар, наличие которых может привести к ускоренному коррозионному разрушению.
Силовые оболочки сосудов из ПК, насколько это допустимо из конструктивных соображений, не должны содержать металлических элементов. Во всех случаях следует избегать прямого контакта металлического элемента с содержимым сосуда.
Материалы с истекшим сроком хранения могут быть допущены к применению после подтверждения их качества по всем показателям технических условий.
Примечание - В качестве материалов защитных покрытий рекомендуется использовать или ПКМ с большим содержанием смолы (более 50% масс.), или термопласты.
5.4.2 Устройство и конструкция
5.4.2.1 Цистерна должна иметь конструкцию, удобную для использования по назначению, варианты конструкций контейнеров-цистерн приведены в приложении Б.
5.4.2.2 Цистерна должна быть жестко соединена с элементами каркаса контейнера. Конструкция должна обеспечивать возможность загрузки или разгрузки цистерны без снятия с каркаса.
5.4.2.3 Все эксплуатационные отверстия цистерн, за исключением клапанов для сброса избыточного давления, должны быть оснащены надежными запорными устройствами для предотвращения случайной утечки содержимого.
5.4.3 Эксплуатационное оборудование
5.4.3.1 Располагаемое на цистерне оборудование должно быть прочным и крепиться к цистерне таким образом, чтобы уменьшить риск ее повреждения. При необходимости следует устанавливать защитные чехлы и кожухи с соблюдением настоящего требования.
5.4.3.2 Сливное устройство следует блокировать внутренним клапаном с ручным управлением и заглушкой на сливной трубе для предотвращения возможной утечки.
5.4.3.3 Все эксплуатационные устройства и клапаны цистерны должны иметь надписи, указывающие их назначение.
Эксплуатационные устройства приведены в приложении Б, к ним относятся:
- люк для налива;
- сливное устройство;
- тяга для открывания внутреннего клапана;
- люк-лаз;
- рымный узел;
- вилочные проемы;
- штуцер для обеспечения сообщения цистерны с атмосферой при нижнем наливе;
- узел крепления провода заземления;
- переходные мостки (при наличии);
- лестница (при наличии).
Сливное устройство используют как для слива, так и для нижнего налива в случае заполнения цистерны взрывоопасными жидкостями.
Контейнер-цистерна должен иметь люк-лаз, позволяющий провести полный внутренний осмотр. Диаметр люка-лаза должен быть не менее 500 мм и должен соответствовать диаметру, необходимому для проведения проверок персоналом с использованием оборудования, а также необходимости обслуживания и выполнения ремонта внутри цистерны, учитывая требования компетентного органа.
5.4.4 Предохранительные устройства и вакуумные клапаны
5.4.4.1 Каждый контейнер-цистерна должен быть оснащен предохранительным клапаном для сброса избыточного внутреннего давления.
Контейнер-цистерна, рассчитанный на внешнее расчетное давление менее 40 кПа, должен быть оснащен вакуумным клапаном, срабатывающим при абсолютном давлении 79 кПа. Вакуумное предохранительное устройство должно иметь минимальную площадь проходного сечения 284 мм2 и должно соответствовать требованиям компетентного органа.
Разрешается использовать комбинации обычных предохранительных устройств от избыточного давления и вакуумных предохранительных устройств.
Такое устройство должно быть расположено в зоне парового пространства цистерны как можно ближе к верху цистерны и к середине длины цистерны.
5.4.4.2 Предохранительные устройства должны иметь минимальную пропускную способность стандартного воздуха (абсолютное давление - 100 кПа при 15 °C).
5.4.4.3 На каждом предохранительном устройстве должно быть четко указано давление, на которое предохранительное устройство настроено.
5.5 Необязательные конструкции
5.5.1 Переходные мостки
Переходные мостки должны выдерживать равномерно распределенную нагрузку на площади 600 x 300 мм не менее чем 300 кг. Продольные переходные мостки должны быть шириной не менее 400 мм.
5.5.2 Лестницы
Лестницы должны выдерживать нагрузку, равную 200 кг, на любую ступеньку.
6 Испытания
6.1 Общие положения
Контейнер-цистерна, отвечающая техническим требованиям по устройству и конструкции, должна выдерживать испытания по 6.2 - 6.13, если иное не предусмотрено. Гидравлическому испытанию и контролю герметичности должен быть подвержен каждый контейнер-цистерна, и по возможности эти испытания следует проводить в последнюю очередь.
6.1.1 Максимальную полезную нагрузку P, кг, испытуемого контейнера-цистерны определяют по формуле
P = R - T, (1)
где R - максимальная масса брутто контейнера-цистерны, кг;
T - масса тары, кг.
Примечание - R, P, T в соответствии с определением измеряют в единицах массы. В случае, когда требования к испытаниям основываются на гравитационных силах, эти силы являются инерционными, обозначаются как Rg, Pg, Tg и измеряются в ньютонах или единицах, производных от ньютона.
6.1.2 Испытуемый контейнер-цистерна, если не предусмотрено иное, должен быть загружен подходящим жидким грузом для достижения указанной испытательной нагрузки или усилия.
Если испытательная нагрузка или усилие не могут быть получены вышеупомянутым методом или такой метод нежелателен, контейнер-цистерна должен быть загружен подходящим жидким грузом и к нему должна быть приложена дополнительная нагрузка или усилие.
Приложенная общая нагрузка или усилие должна быть равномерно распределена.
6.1.3 Испытательные нагрузки и усилия, указанные для всех перечисленных испытаний, являются минимальными.
6.1.4 Контейнер-цистерна должен находиться под действием испытательных нагрузок в течение 5 мин, если иное не оговорено.
6.1.5 Требования к размерам контейнеров-цистерн указаны в таблице 1.
6.1.6 Работы по подготовке и проведению испытаний проводят рабочие и инженерно-технические работники только после проверки знаний инструкций по безопасности обслуживания оборудования и производственных инструкций по проведению гидравлических и воздушных испытаний.
6.1.7 Испытуемые контейнеры-цистерны должны быть установлены в специально отведенном помещении (на участке помещения) с установлением "запретной зоны", равной 10 м от испытуемого изделия.
Перед началом работ необходимо:
- проверить состояние мест разъемов (крышки, вентили, штуцера);
- проверить правильность сборки, наличие и затяжки болтов и гаек;
- проверить наличие ограждающих устройств и необходимость их крепления;
- установить контрольные приборы;
- предупредить обслуживающий персонал о начале испытаний.
6.1.8 Проверку размеров, установленных в разделе 4, проводят измерительными инструментами с погрешностью не более 0,5 мм. Методику измерений устанавливает предприятие-изготовитель. Размеры должны быть в пределах допусков, указанных в рабочей документации.
6.1.9 Работоспособность сливных, наливных, измерительных и предохранительных устройств проверяют их 5-кратным запиранием и открыванием вручную, без дополнительных приспособлений. Прикладываемые усилия на рукоятках запоров должны быть не более 150 Н, их следует измерять динамометром. Проводят также пробный подъем за рымные узлы и подъем вилами погрузчика.
6.1.10 Собственную массу контейнера-цистерны определяют на весах с пределом взвешивания не более 10 т и с погрешностью взвешивания, не превышающей установленную для данного типа весов.
6.1.11 Визуальным осмотром проверяют качество:
- изготовления контейнеров-цистерн в целом и отдельных устройств их конструкции;
- сварных швов каркаса по ГОСТ 8617;
- устройств для пломбирования и др.
6.1.12 Очередность проведения испытаний контейнеров-цистерн на прочность и жесткость конструкции - по усмотрению комиссии.
Гидравлическому испытанию и контролю герметичности должен быть подвержен каждый контейнер-цистерна, и по возможности эти испытания должны быть проведены в последнюю очередь.
6.1.13 На каждый контейнер-цистерну, подвергаемый приемочным испытаниям, заводят журнал.
В журнале следует фиксировать: состав комиссии по испытаниям; дату, время начала и окончания каждого испытания; результаты измерения деформаций под нагрузкой и после ее снятия, если она возникла при испытании, и другие дефекты.
6.1.14 При испытании следует учитывать массу брутто контейнера-цистерны R (кг), массу тары T (кг), ускорение свободного падения g, равное 9,81 м/с2.
Испытания контейнера-цистерны должны включать:
- штабелирование в три яруса;
- подъем за четыре рымных узла;
- подъем вилами погрузчика;
- сжатие основания;
- закрепление цистерны в каркасе;
- проверку жесткости конструкции;
- установку на продольное ребро;
- динамические испытания;
- гидравлические испытания;
- испытания на герметичность;
- испытания переходных мостков;
- испытания лестницы.
6.1.15 При испытаниях контейнеров-цистерн измеряют остаточные деформации каркаса и цистерны. Измерение деформации осуществляют измерительным инструментом, предусмотренным методикой выполнения измерений, аттестованной ведомственной метрологической службой в соответствии с требованиями ГОСТ 8.010, с погрешностью не более 0,5 мм (с соблюдением требований соглашения [2], подпункты 6.8.2.1.3 и 6.9.2.5 - 6.9.2.7).
6.1.16 Нагрузки и усилия, указанные для всех перечисленных испытаний, являются минимальными.
6.1.17 Контейнер-цистерна должен находиться под действием испытательных нагрузок в течение 5 мин, если иное не оговорено.
6.1.18 Требования к размерам каркаса, на которые делаются ссылки в требованиях по испытаниям, указаны в разделе 4.
Приложенная общая нагрузка или усилие должна быть равномерно распределена.
Увеличение на 20% расчетного изгибающего момента равномерно загруженного контейнера-цистерны следует принимать как допустимое.
Примечание - Могут быть применены другие альтернативные методы приложения испытательных нагрузок или усилий (например, при испытаниях на продольное и поперечное крепления) при условии, что они обеспечивают достижение требуемых усилий.
6.2 Штабелирование
6.2.1 Общие положения
Испытание проводят с целью проверки способности контейнера-цистерны выдерживать массу контейнеров при штабелировании, учитывая условия, возникающие на борту судна в море, и выявления относительного смещения поставленных друг на друга контейнеров.
В таблице 3 указаны силы, которые необходимо приложить в ходе испытания к каждой из стоек, и статические нагрузки на основание штабеля.
Таблица 3
Тип контейнера
Сила, прикладываемая к одному контейнеру (на четыре стойки одновременно), кН
Сила, прикладываемая к одной стойке, кН
Статические нагрузки на основание штабеля, кг
СКЦ-5
196,2
49
15 000
СКЦ-3
117,7
29,4
9000
СКЦ-1,25
49
12,26
3750
Примечание - Штабелирование проводят в три яруса.
6.2.2 Методика проведения испытания
Контейнер-цистерну полностью заполняют водой, помещают на четыре равные опоры, расположенные на одном уровне. Центры опор и площадок, а также их размеры в плане должны совпадать.
Контейнер-цистерна должен быть подвергнут воздействию вертикальных сил, указанных в таблице 3, приложенных или ко всем четырем угловым стойкам одновременно, или к каждой паре торцевых стоек (см. рисунок А.1 приложения А).
Усилия должны быть приложены таким образом, чтобы смещение поверхностей, через которые прилагаются силы и на которые опирается контейнер, было минимальным.
В случае, если конструкция торцевых рам контейнера-цистерны одинаковая, достаточно испытать только одну торцевую раму.
6.2.3 Требования
После завершения испытания в контейнере-цистерне не должно быть протечек, остаточных деформаций или неисправностей, которые могут повлечь за собой непригодность его к эксплуатации. Требования к размерам, связанным с перегрузкой, креплением и транспортированием, должны быть соблюдены.
6.3 Подъем за четыре верхних рымных узла
6.3.1 Общие положения
Испытание проводят с целью проверки способности контейнера-цистерны выдерживать нагрузки, возникающие при подъеме за четыре верхних рымных узла, с вертикальным приложением сил, а также способности контейнера-цистерны выдерживать нагрузки, возникающие при подъеме за четыре верхних рымных узла, с приложением сил под любым углом к вертикали и углом 60° к горизонтали.
Испытание проводят для проверки способности контейнера-цистерны выдерживать испытательные нагрузки, возникающие в результате действия сил ускорения при подъеме контейнера-цистерны.
6.3.2 Методика проведения испытания
Контейнер-цистерна должен быть загружен таким образом, чтобы его собственная масса и масса испытательной нагрузки были равны 2R каждая (см. 6.1.2), и поднят за все четыре верхних рымных узла таким образом, чтобы не возникли значительные силы ускорения или торможения.
Для контейнеров-цистерн усилия необходимо прикладывать вертикально. После подъема контейнер-цистерну следует удерживать в течение 5 мин и затем опустить на землю по рисунку А.2 приложения А.
6.3.3 Требования
После завершения испытания в контейнере-цистерне не должно быть протечек, остаточных деформаций или неисправностей, которые могут повлечь за собой непригодность его к эксплуатации.
Требования к размерам, связанным с перегрузкой, креплением и транспортированием, должны быть соблюдены.
6.4 Подъем вилами погрузчика
6.4.1 Общие положения
Это испытание применимо ко всем контейнерам-цистернам, оснащенным одной парой вилочных проемов.
6.4.2 Методика проведения испытания
Контейнер-цистерну массой груза 1,25R - T следует поднимать на 1,2 м вилами погрузчика, вводимыми в вилочные проемы в основании на 3/4 их длины, а затем плавно опускать.
Испытание следует проводить пять раз.
Схема проведения испытания приведена на рисунке А.3 приложения А.
6.4.3 Требования
После завершения испытаний не должно быть остаточных деформаций и других отклонений. Должны быть также соблюдены требования к размерам, определяющие пригодность контейнера к перегрузке, креплению и взаимозаменяемости.
6.5 Сжатие основания
6.5.1 Общие положения
Испытание проводят с целью проверки способности контейнера-цистерны выдерживать внешнее продольное сжатие и растяжение под воздействием динамических нагрузок при железнодорожных операциях, вызываемых ускорением 2g.
6.5.2 Методика проведения испытаний
Контейнер-цистерна с массой груза R - T должен быть загружен таким образом, чтобы собственная масса контейнера-цистерны и масса испытательной нагрузки были равны R (см. 6.1.2).
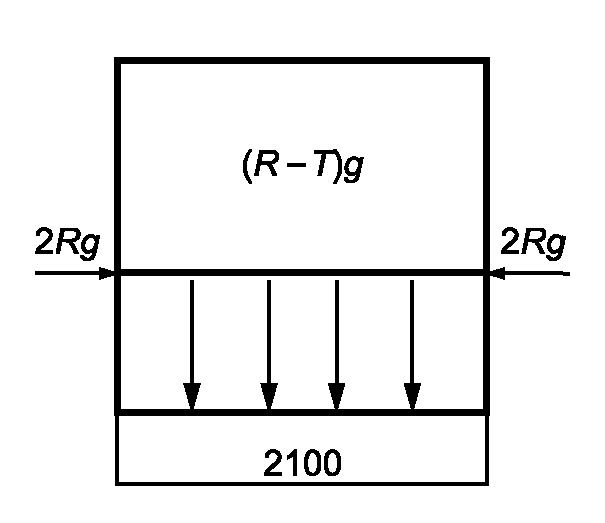
Контейнер-цистерна с массой груза R - T должен быть жестко закреплен в продольном направлении с использованием деревянного бруска размерами 2100 x 160 x 160 мм, закрепленного на твердом основании с одного из торцов контейнера-цистерны.
Усилие 2Rg должно быть приложено горизонтально к каркасу контейнера-цистерны через нижнюю обвязку в течение 5 мин, сначала по направлению к закрепленному торцу, затем контейнер-цистерну поворачивают и испытания повторяют по рисунку А.4 приложения А.
6.5.3 Требования
После завершения испытания в контейнере-цистерне не должно быть протечек, остаточных деформаций или неисправностей, которые могут повлечь за собой непригодность его к эксплуатации.
Требования к размерам, связанным с перегрузкой, креплением и транспортированием, должны быть соблюдены.
6.6 Закрепление цистерны в каркасе
6.6.1 Общие положения
Испытание проводят с целью проверки способности контейнера-цистерны выдерживать взаимодействие инерции содержимого цистерны на цистерну и соединения цистерны с каркасом в условиях поперечного ускорения.
6.6.2 Методика проведения испытания
Для проведения испытания контейнер-цистерну, загруженную массой 2R - T, необходимо опрокинуть на каждую из боковых поверхностей поочередно и проследить отсутствие смещения цистерны относительно каркаса.
6.6.3 Требования
После завершения испытания в контейнере-цистерне не должно быть протечек, остаточных деформаций или неисправностей, которые могут повлечь за собой непригодность его к эксплуатации.
Требования к размерам, связанным с перегрузкой, креплением и транспортированием, должны быть соблюдены.
6.7 Проверка жесткости конструкции
6.7.1 Методика проведения испытания
Контейнер-цистерну следует устанавливать на три подкладки размерами 200 x 300 x 50 мм и одну - 200 x 300 x 35 мм. Подкладку с пониженной высотой устанавливают сначала под одним, а затем под другим углом каркаса контейнера-цистерны со стороны устройств нагрузки массой R - T (см. рисунок А.5 приложения А).
6.7.2 Требования
После завершения испытания в контейнере-цистерне не должно быть протечек, остаточных деформаций или неисправностей, которые могут повлечь за собой непригодность его к эксплуатации.
Требования к размерам, связанным с перегрузкой, креплением и транспортированием, должны быть соблюдены.
6.8 Установка на продольное ребро
6.8.1 Методика проведения испытания
Контейнер-цистерну следует загружать грузом массой R - T. Далее с использованием упоров и предохранительной подвески его следует устанавливать сначала на одно, затем на другое нижнее продольное ребро так, чтобы угол наклона контейнера к горизонтальной плоскости составлял 45° (см. рисунок А.6 приложения А).
6.8.2 Требования
После завершения испытания в контейнере-цистерне не должно быть протечек, остаточных деформаций или неисправностей, которые могут повлечь за собой непригодность его к эксплуатации.
Требования к размерам, связанным с перегрузкой, креплением и транспортированием, должны быть соблюдены.
6.9 Динамические испытания
6.9.1 Общие положения
Испытания проводят с целью проверки способности контейнера-цистерны выдерживать динамические нагрузки при железнодорожных операциях, которые вызывают действие в продольном направлении сил с ускорением 4g для контейнеров-цистерн, предназначенных для транспортирования опасных грузов, и 2g - для остальных контейнеров-цистерн.
6.9.2 Методика проведения испытаний
Испытания следует проводить по методике, согласованной с компетентным органом.
6.9.3 Требования
После завершения испытаний в контейнере-цистерне не должно быть протечек, остаточных деформаций или неисправностей, которые могут повлечь за собой непригодность его к эксплуатации. Требования к размерам, связанным с перегрузкой, креплением и транспортированием, должны быть соблюдены.
6.10 Гидравлические испытания
6.10.1 Общие положения
Испытания проводят на каждом контейнере-цистерне для проверки его способности выдерживать заданное внутреннее давление. По возможности данные испытания необходимо проводить последними, если проводились другие испытания, но перед установкой теплоизоляции в случае ее применения.
Нанесение изоляции или защитного покрытия, дробеструйную или иную обработку поверхностей цистерны не следует проводить до испытаний.
6.10.2 Методика проведения испытаний
Испытания цистерны следует проводить жидкостью. Если цистерна имеет отсеки, должны быть проведены испытания каждого отсека, при этом смежные с испытуемым отсеки должны быть порожними и давление в них должно соответствовать атмосферному.
Испытательное давление должно быть измерено в верхней части цистерны или отсека при нахождении контейнера-цистерны в эксплуатационном положении.
Испытательное давление следует поддерживать так долго, как это необходимо для осуществления полной проверки цистерны и ее оборудования, но в любом случае не менее 30 мин.
Предохранительные устройства, при наличии, должны быть нейтрализованы или сняты на время проведения настоящих испытаний. Давление, при котором цистерну испытывают, следует выбирать с учетом предполагаемого использования цистерны в соответствии с правилами, применяемыми компетентным органом, и требованиями 5.1.6. Это давление будет определяющим для кода типа контейнера-цистерны в соответствии с таблицей 1.
6.10.3 Требования
Максимальная деформация растяжения в любом направлении должна быть не более 0,2% по требованиям соглашения [2]. В процессе и после завершения испытаний в контейнере-цистерне не должно быть протечек или остаточных деформаций и неисправностей, которые могут повлечь за собой непригодность его к эксплуатации. Требования к размерам, связанным с перегрузкой, креплением и транспортированием, должны быть соблюдены.
6.11 Испытания на герметичность
6.11.1 Общие положения
Испытания проводят на каждом контейнере-цистерне в сборе со всей предохранительной и эксплуатационной арматурой для проверки герметичности соединений оборудования и арматуры контейнера-цистерны. Данные испытания необходимо проводить после испытаний давлением и при его положительных результатах.
6.11.2 Методика проведения испытаний
Испытания цистерны следует проводить сжатым воздухом. Если цистерна имеет отсеки, должны быть проведены испытания каждого отсека.
Испытательное давление должно быть измерено в верхней части цистерны или отсека при нахождении контейнера-цистерны в эксплуатационном положении.
Испытательное давление следует поддерживать так долго, как это необходимо для осуществления полной проверки цистерны и ее оборудования, но в любом случае не менее 5 мин.
Давление, при котором испытывают цистерну, следует выбирать с учетом требований действующих правил по безопасности для места проведения испытаний и в соответствии с правилами, применяемыми компетентным органом, но не ниже чем 0,256 кПа максимально допустимого рабочего давления.
Примечание - Можно применять другие альтернативные методы испытаний цистерны на герметичность при условии, что они удовлетворяют требованиям компетентного органа.
6.11.3 Требования
В процессе испытаний в соединениях оборудования и арматуры с цистерной не должно быть протечек. После завершения испытаний в контейнере-цистерне не должно быть протечек, остаточных деформаций или неисправностей, которые могут повлечь за собой невозможность его использования в целях, для которых он предназначен.
6.12 Испытания переходных мостков (при наличии)
6.12.1 Общие положения
Испытания проводят для всех контейнеров-цистерн, где предусмотрены мостки, для проверки способности мостков выдерживать нагрузки, возникающие при нахождении на них персонала.
6.12.2 Методика проведения испытаний
Нагрузка, равная не менее 300 кг, должна быть равномерно распределена на площади 600 x 300 мм в центре мостка (см. рисунки А.7, А.7а приложения А).
6.13 Испытания лестниц (при наличии)
6.13.1 Общие положения
Испытаниям подвергают все контейнеры-цистерны, где предусмотрены лестницы, с целью проверки способности выдерживать нагрузки, возникающие при нахождении на них людей.
6.13.2 Методика проведения испытаний
Нагрузку 200 кг помещают в центре самой широкой ступеньки (см. рисунки А.8, А.8а приложения А).
7 Маркировка
7.1 Обязательная маркировка
Контейнер-цистерна должен быть маркирован в соответствии с требованиями, изложенными в [1] (часть I, раздел 4 и часть VIII, раздел 4).
Требования [1] (часть IV, подраздел 4.3) применяют при оформлении таблички с данными для контейнера-цистерны со следующими изменениями: в [2], пункт 4.3.1 следует указать код цистерны в соответствии с [2], подпункт 4.3.4.1.1; знак "U/N" должен быть исключен.
Следует указать: "материал сосуда - ПК" и номер технических условий или технической спецификации на изготовление сосуда из ПК.
Допускается устанавливать металлическую табличку с описанием допустимых эксплуатационных повреждений сосуда из ПК.
Приложение А
(обязательное)
ЗНАЧЕНИЯ СИЛ И СХЕМА ИХ ДЕЙСТВИЯ
НА КОНТЕЙНЕРЫ-ЦИСТЕРНЫ ПРИ ИСПЫТАНИЯХ
R - максимальная масса брутто контейнера-цистерны, кг;
T - его собственная масса, кг; g - ускорение
свободного падения, g = 9,81 м/с2
Рисунок А.1
R - максимальная масса брутто контейнера-цистерны, кг;
T - его собственная масса, кг; g - ускорение
свободного падения, g = 9,81 м/с2
Рисунок А.2
R - максимальная масса брутто контейнера-цистерны, кг;
T - его собственная масса, кг; g - ускорение
свободного падения, g = 9,81 м/с2
Рисунок А.3
R - максимальная масса брутто контейнера-цистерны, кг;
T - его собственная масса, кг; g - ускорение
свободного падения, g = 9,81 м/с2
Рисунок А.4
R - максимальная масса брутто контейнера-цистерны, кг;
T - его собственная масса, кг; g - ускорение
свободного падения, g = 9,81 м/с2
Рисунок А.5
Рисунок А.6
Нагрузка на площадку 600 х 300 мм
Рисунок А.7
Нагрузка на площадку 600 х 300 мм
Рисунок А.7а
Рисунок А.8
Рисунок А.8а
Приложение Б
(справочное)
ВАРИАНТЫ КОНСТРУКЦИЙ КОНТЕЙНЕРОВ-ЦИСТЕРН
1 - металлический каркас; 2 - цистерна контейнера из ПК;
3 - штуцер для обеспечения сообщения цистерны с атмосферой
при нижнем наливе; 4 - рымный узел; 5 - люк для налива
цистерны; 6 - люк-лаз; 7 - предохранительный клапан;
8 - штуцер; 9 - вилочный проем; 10 - сливное устройство
(внутренний клапан, заглушка, шаровой кран); 11 - тяга
для открывания внутреннего клапана; 12 - узел крепления
провода заземления
Рисунок Б.1 - Контейнер-цистерна массой брутто 3 - 5 т
1 - металлический каркас; 2 - рымный узел; 3 - тяга
для открывания внутреннего клапана; 4 - штуцер
для обеспечения сообщения цистерны с атмосферой при нижнем
наливе; 5 - люк-лаз (люк для налива); 6 - предохранительный
клапан; 7 - переходные мостки; 8 - лестница; 9 - вилочные
проемы; 10 - сливное устройство (внутренний клапан,
заглушка, шаровой кран); 11 - узел крепления провода
заземления; 12 - цистерна контейнера из ПК
Рисунок Б.2 - Контейнер-цистерна массой брутто 1,25 т
БИБЛИОГРАФИЯ
[1]
НД N 2-090201-009
Правила изготовления контейнеров (утверждены Российским морским регистром судоходства 28 июля 2015 г.)
[2]
Европейское соглашение о международной дорожной перевозке опасных грузов (ДОПОГ) (Женева, 30 сентября 1957 г.)