Главная // Актуальные документы // ГОСТ Р (Государственный стандарт)
СПРАВКА
Источник публикации
М.: Стандартинформ, 2017
Примечание к документу
Документ утратил силу с 01.09.2024 в связи с изданием Приказа Росстандарта от 02.04.2024 N 392-ст. Взамен введен в действие ГОСТ Р 57539-2024.

Документ введен в действие с 01.06.2018.
Название документа
"ГОСТ Р 57539-2017. Национальный стандарт Российской Федерации. Оборудование гимнастическое. Канаты гимнастические. Размеры, требования безопасности и методы испытаний"
(утв. и введен в действие Приказом Росстандарта от 12.07.2017 N 691-ст)


"ГОСТ Р 57539-2017. Национальный стандарт Российской Федерации. Оборудование гимнастическое. Канаты гимнастические. Размеры, требования безопасности и методы испытаний"
(утв. и введен в действие Приказом Росстандарта от 12.07.2017 N 691-ст)


Содержание


Утвержден и введен в действие
Приказом Федерального агентства
по техническому регулированию
и метрологии
от 12 июля 2017 г. N 691-ст
НАЦИОНАЛЬНЫЙ СТАНДАРТ РОССИЙСКОЙ ФЕДЕРАЦИИ
ОБОРУДОВАНИЕ ГИМНАСТИЧЕСКОЕ
КАНАТЫ ГИМНАСТИЧЕСКИЕ
РАЗМЕРЫ, ТРЕБОВАНИЯ БЕЗОПАСНОСТИ И МЕТОДЫ ИСПЫТАНИЙ
Gymnastic equipment. Gymnastic ropes. Dimensions,
safety requirements and test methods
(DIN 7911-2-1998, NEQ)
ГОСТ Р 57539-2017
ОКС 97.220.30
Дата введения
1 июня 2018 года
Предисловие
1 РАЗРАБОТАН Ассоциацией Саморегулируемой организацией "Отраслевое объединение национальных производителей в сфере физической культуры и спорта "Промспорт" (СРО "Промспорт")
2 ВНЕСЕН Техническим комитетом по стандартизации ТК 444 "Спортивные и туристские изделия, оборудование, инвентарь, физкультурные и спортивные услуги"
3 УТВЕРЖДЕН И ВВЕДЕН В ДЕЙСТВИЕ Приказом Федерального агентства по техническому регулированию и метрологии от 12 июля 2017 г. N 691-ст
4 Настоящий стандарт разработан с учетом основных нормативных положений немецкого национального стандарта DIN 7911-2-1998 "Оборудование гимнастического зала. Канаты гимнастические. Размеры, требования безопасности и методы испытаний" (DIN 7911-2-1998 "Gymnastic equipment - Climbing apparatus - Part 2: Vertical climbing ropes, dimensions, safety requirements and test methods", NEQ)
5 ВВЕДЕН ВПЕРВЫЕ
Правила применения настоящего стандарта установлены в статье 26 Федерального закона от 29 июня 2015 г. N 162-ФЗ "О стандартизации в Российской Федерации". Информация об изменениях к настоящему стандарту публикуется в ежегодном (по состоянию на 1 января текущего года) информационном указателе "Национальные стандарты", а официальный текст изменений и поправок - в ежемесячном информационном указателе "Национальные стандарты". В случае пересмотра (замены) или отмены настоящего стандарта соответствующее уведомление будет опубликовано в ближайшем выпуске ежемесячного информационного указателя "Национальные стандарты". Соответствующая информация, уведомление и тексты размещаются также в информационной системе общего пользования - на официальном сайте Федерального агентства по техническому регулированию и метрологии в сети Интернет (www.gost.ru)
1 Область применения
Настоящий стандарт распространяется на гимнастические канаты для лазанья, закрепленные на несущей шине под потолком спортивного зала.
Настоящий стандарт устанавливает размеры, требования безопасности и методы испытаний гимнастических канатов.
2 Нормативные ссылки
В настоящем стандарте использована нормативная ссылка на следующий стандарт:
ГОСТ 30893.1-2002 Основные нормы взаимозаменяемости. Общие допуски. Предельные отклонения линейных и угловых размеров с неуказанными допусками
Примечание - При пользовании настоящим стандартом целесообразно проверить действие ссылочных стандартов в информационной системе общего пользования - на официальном сайте Федерального агентства по техническому регулированию и метрологии в сети Интернет или по ежегодному информационному указателю "Национальные стандарты", который опубликован по состоянию на 1 января текущего года, и по выпускам ежемесячного информационного указателя "Национальные стандарты" за текущий год. Если заменен ссылочный стандарт, на который дана недатированная ссылка, то рекомендуется использовать действующую версию этого стандарта с учетом всех внесенных в данную версию изменений. Если заменен ссылочный стандарт, на который дана датированная ссылка, то рекомендуется использовать версию этого стандарта с указанным выше годом утверждения (принятия). Если после утверждения настоящего стандарта в ссылочный стандарт, на который дана датированная ссылка, внесено изменение, затрагивающее положение, на которое дана ссылка, то это положение рекомендуется применять без учета данного изменения. Если ссылочный стандарт отменен без замены, то положение, в котором дана ссылка на него, рекомендуется применять в части, не затрагивающей эту ссылку.
3 Основные элементы и размеры
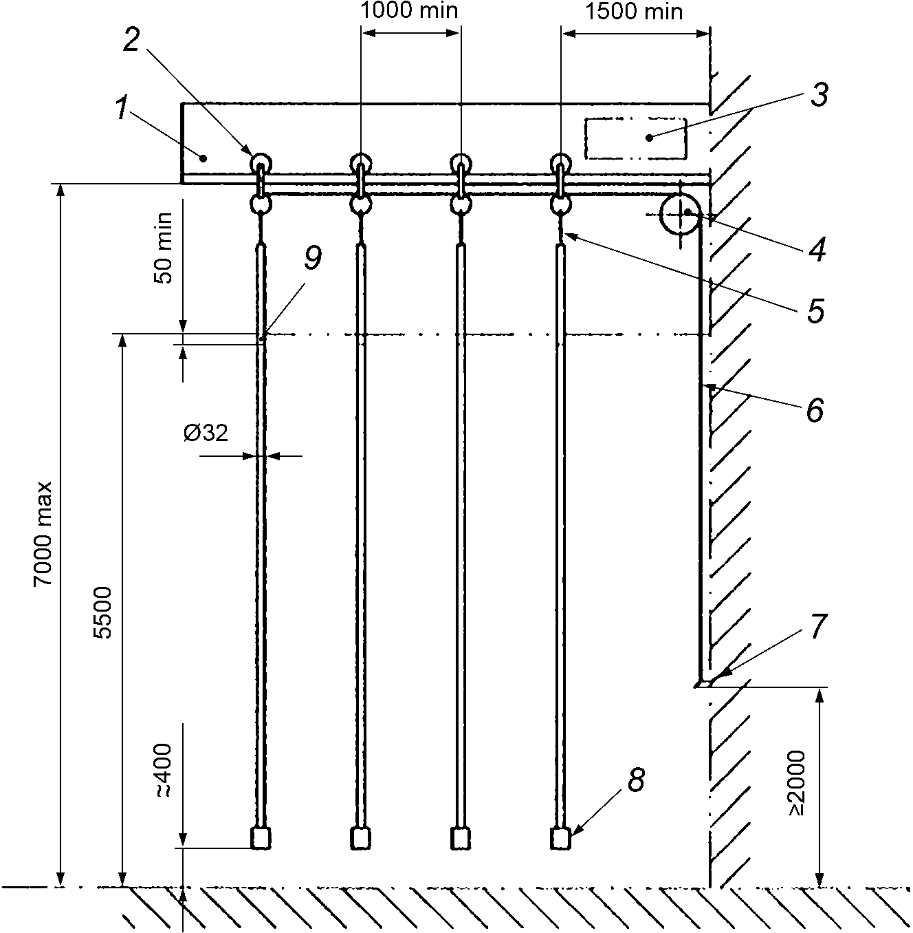
3.1 Основные элементы и размеры оборудованного места для лазанья в спортивном зале показаны на рисунке 1.
1 - несущая шина; 2 - каретка; 3 - место нанесения
маркировки; 4 - поворотный блок; 5 - подвес каната; 6 - трос
ручной тали; 7 - настенное крепление; 8 - защита
от раскручивания; 9 - отметка высоты от уровня пола
Рисунок 1 - Пример оборудованного места для лазанья
в спортивном зале
3.2 Состав оборудованного места для лазанья в спортивном зале:
- гимнастический канат с кареткой;
- несущая шина;
- трос ручной тали с поворотным блоком;
- держатель канатов или подъемное устройство.
Примечание - Место для лазанья может быть оборудовано одним или несколькими гимнастическими канатами при соблюдении требования по 3.4.
3.3 Расстояние от середины каретки до стены или встроенного оборудования в направлении несущей шины должно быть не менее 1500 мм, а вертикально несущей шины с обеих сторон - не менее 4500 мм.
3.4 Межосевое расстояние между соседними гимнастическими канатами должно быть не менее 1000 мм.
3.5 Общие допуски размеров по ГОСТ 30893.1.
4 Требования
4.1 Требования к материалам
4.1.1 Каретка и подвес гимнастического каната должны быть изготовлены из стали, чугуна или пластмассы.
4.1.2 Трос ручной тали и канат подъемного устройства должны быть изготовлены из пеньки или пластмассы.
4.1.3 Поворотный блок должен быть изготовлен из стали или пластмассы.
4.1.4 Несущая шина должна быть изготовлена из стального профиля.
4.1.5 Элементы из стали должны быть защищены от коррозии.
4.2 Требования безопасности
4.2.1 Гимнастические канаты должны иметь четырехпрядную свивку.
4.2.2 Нижний конец гимнастического каната должен быть защищен от раскручивания.
4.2.3 На гимнастическом канате на высоте 5500 мм должна быть нанесена контрастная отметка, например нашивка из кожи или пластмассы.
4.2.4 Подвес каната должен выдерживать сосредоточенную вертикальную нагрузку не менее 2000 Н и сосредоточенную горизонтальную нагрузку не менее 900 Н без повреждений, нарушающих его функционирование по назначению.
4.2.5 В положении для эксплуатации каретки должны фиксироваться. Самопроизвольное расцепление фиксирующих элементов каретки недопустимо.
4.2.6 Подъемное устройство должно быть оснащено защитой от самопроизвольного отцепления гимнастического каната.
5 Методы испытаний
5.1 Общие требования
Требования в соответствии с разделом 4 проверяют измерительными и органолептическими методами.
5.2 Испытание подвеса
5.2.1 К подвесу последовательно прикладывают сосредоточенную вертикальную нагрузку не менее 2000 Н и сосредоточенную горизонтальную нагрузку 900 Н.
5.2.2 После снятия нагрузки регистрируют наличие/отсутствие повреждений, нарушающих функционирование подвеса по назначению.
6 Маркировка
6.1 Маркировка оборудованного места для лазанья в спортивном зале как минимум должна содержать:
- товарный знак предприятия-изготовителя;
- наименование изделия: "Гимнастический канат для лазанья";
- количество гимнастических канатов;
- обозначение настоящего стандарта (без года принятия).
6.2 Маркировка должна быть четкой и нестираемой.
6.3 Около подъемного устройства размещают предупредительную надпись "Не завязывать канат узлом" и табличку (см. рисунок 2).
Рисунок 2 - Пример предупредительной таблички
УДК 796.022:006.352
ОКС 97.220.30
Ключевые слова: гимнастический канат, размеры, требования безопасности, методы испытания