ИС МЕГАНОРМ: примечание. ГОСТ 6495-89 утратил силу на территории Российской Федерации с 01.12.2010 в связи с введением в действие ГОСТ Р 53566-2009 (Приказ Ростехрегулирования от 15.12.2009 N 859-ст). |
ИС МЕГАНОРМ: примечание. ГОСТ 6495-89 утратил силу на территории Российской Федерации с 01.12.2010 в связи с введением в действие ГОСТ Р 53566-2009 (Приказ Ростехрегулирования от 15.12.2009 N 859-ст). |
Параметр согласования | |||
выходной | входной | ||
Наименование | Значение | Наименование | Значение |
Выходное сопротивление источника, кОм, не более | 2,2 | Номинальное сопротивление источника, кОм | 2,2 |
Номинальное сопротивление нагрузки, кОм | 22 | Входное сопротивление, кОм, не менее | 22 |
0,5 | Номинальная ЭДС источника <3>, В | 0,5 | |
0,2 | Минимальная ЭДС источника при номинальном выходном напряжении В, не более | 0,2 | |
2,0 | ЭДС источника при перегрузке <6>, В, не менее | 2,8 | |
а) для ЧМ тюнеров - при уровне высокочастотного сигнала на антенном входе 40 дБ (пВт), то есть 0,86 мВ при сопротивлении 75 Ом или 1,73 мВ при сопротивлении 300 Ом и коэффициенте модуляции 54%; для АМ тюнеров - при ЭДС на антенном входе 1 мВ и коэффициенте модуляции 30%; для ТВ звуковых тюнеров - при уровне несущей сигнала изображения на входе 70 дБ (мкВ) и коэффициенте модуляции 54% для АМ и ЧМ. Значение коэффициента модуляции равно среднему значению коэффициента модуляции реально передаваемых сигналов при времени усреднения не менее 15 с; б) для магнитофонов и видеомониторов - при воспроизведении сигналограммы измерительной ленты на линейном выходе; в) для цифровой аппаратуры - при воспроизведении синусоидального сигнала уровнем на 12 дБ ниже указанного в сноске 5, перечисление в) выходного напряжения записанного цифрового сигнала; г) для остальной аппаратуры - при среднем уровне сигнала источника. Примечание - Допускаемое отклонение выходного напряжения +/- 0,1 В номинального значения. <3> Для магнитофона номинальная ЭДС источника соответствует напряжению при воспроизведении сигналограммы измерительной ленты на линейном выходе. а) для магнитофонов и видеомониторов - при воспроизведении сигналограммы измерительной ленты на линейном выходе с уровнем на 8 дБ ниже уровня сигналограммы, указанной в сноске 2, перечисление б); б) для остальной аппаратуры - при минимальной ЭДС на входе аппаратуры (на 8 дБ ниже номинальной ЭДС источника). Примечания 1 Для тюнеров минимальное выходное напряжение не устанавливают. 2 Для цифровой аппаратуры минимальное выходное напряжение равно номинальному значению. 3 Диапазон допускаемых отклонений выходного напряжения устанавливают в ТУ. | |||
а) для тюнеров - при максимальном уровне высокочастотного сигнала на антенном входе и коэффициентах модуляции, равных 100% для ЧМ тюнеров и 90% для АМ тюнеров; б) для магнитофонов и видеомониторов - при воспроизведении сигналограммы измерительной ленты на линейном выходе с максимальным уровнем записи; в) для цифровой аппаратуры - при полномасштабном ("fullscale") уровне, представляющем собой синусоидальный сигнал, положительные и отрицательные пиковые значения которого представлены в цифровой форме 7FFFH и 8001H 16-разрядного кода. Для системы компакт-диск эти значения соответствуют максимальному (среднему квадратическому) значению аналогового выходного напряжения г) для остальной аппаратуры - при подаче на вход ЭДС перегрузки на 12 дБ выше номинального значения. <6> Для аппаратуры, входы которой подключают к аналоговым источникам звуковых сигналов, напряжение должно быть более или равно 2 В. Для аппаратуры, входы которой подключают к аналоговым выходам цифровых источников звуковых сигналов, напряжение должно быть более или равно 2,8 В. | |||
Параметр согласования | |||
выходной | входной | ||
Наименование | Значение | Наименование | Значение |
Выходное сопротивление источника, кОм, не более | 1,0 | Номинальное сопротивление источника, кОм | 1,0 |
Номинальное сопротивление нагрузки, кОм | 10 | Входное сопротивление, кОм, не менее | 10 |
Номинальное выходное напряжение <1>, В | 0,5 | Номинальная ЭДС источника <1>, В | 0,5 |
Минимальное выходное напряжение <1>, В | 0,2 | Минимальная ЭДС источника при номинальном выходном напряжении, В, не более | 0,2 |
Максимальное выходное напряжение <1>, В | 2,0 | ЭДС источника при перегрузке <1>, В, не менее | 2,8 |
<1> См. сноски к соответствующим параметрам и примечания к таблице 1. | |||
Параметр согласования | |||
Наименование | Значение для ТВ стандарта | ||
НТСЦ | ПАЛ | СЕКАМ | |
Номинальное сопротивление <1>, Ом | 75 | ||
Полный видеосигнал в размахе <2>, В | |||
"У"-сигнал в размахе <2>, В | |||
"С"-сигнал в размахе <3>, В | ![]() | ![]() | Сигнал, как правило, не имеет применения |
Сигнал основных цветов (разность между пиковым значением и уровнем сигнала гашения) <4>, В | 0,7 +/- 0,1 | ||
Наложенное постоянное напряжение, В | - | От 0 до 2,0 | |
<2> Напряжение соответствует разности между пиковым значением уровня сигнала "белого" и уровнем сигнала синхронизации. <3> Значение напряжения соответствует стандартной амплитуде (в размахе) сигнала цветовой синхронизации (для ТВ стандартов НТСЦ и ПАЛ) и немодулированной цветовой поднесущей (для ТВ стандарта СЕКАМ). Стандартная амплитуда цветных полос для ТВ стандарта ПАЛ 100/0/100/0 - 885 мВ, для ТВ стандарта НТСЦ 100/7, 5/100/7,5 - 835 мВ. | |||
Параметр согласования | |||
выходной микрофона | входной усилителя | Значение для микрофона | |
электродинамического | электретного | ||
Номинальное сопротивление, кОм | Номинальное сопротивление источника, кОм | 0,2 | 1,0 |
Номинальное сопротивление нагрузки, кОм | - | 1,0 | 5,0 |
- | Входное сопротивление <1>, кОм, не менее | 1,0 | 5,0 |
Номинальное выходное напряжение <2>, мВ | Номинальная ЭДС источника, мВ | 0,2 | 2,0 |
- | Минимальная ЭДС источника для номинального выходного напряжения <3>, мВ, не более | 0,08 | 0,8 |
Максимальное выходное напряжение <4>, мВ, не более | 20 | 200 | |
<1> Сопротивление соответствует указанному значению в пределах диапазона частот 40 - 16000 Гц. Для аппаратуры с автономным и (или) универсальным питанием - в диапазоне частот, указанном в ТУ на усилитель. <2> Напряжение соответствует указанному значению при воздействии на микрофон звукового давления не более 0,2 Па (80 дБ относительно 20 мкПа). Для микрофонов ближнего действия при воздействии звукового давления не более 3 Па (104 дБ относительно 20 мкПа) значения должны быть на 20 дБ выше указанных. В зависимости от типа остронаправленных микрофонов значение может превышать 100 мВ. | |||
Параметр согласования | |||||
выходной звукоснимателя | входной усилителя | ||||
Наименование | Значение при скоростной чувствительности <1> | Наименование | Значение при скоростной чувствительности <1> | ||
высокой | низкой | высокой | низкой | ||
Номинальное сопротивление, кОм | По ТУ | Номинальное сопротивление источника, кОм | 2,2 <2> | 0,01 | |
Номинальное сопротивление нагрузки, кОм | 47 <3> | 0,1 | Входное сопротивление <4>, кОм | 47 | 0,1 |
Номинальное выходное напряжение <5>, мВ | 5 | 0,3 | Номинальная ЭДС источника, мВ | 5 | 0,3 |
- | Минимальная ЭДС источника, мВ, не менее | 2,0 | 0,12 | ||
Максимальное выходное напряжение <6>, мВ, не более | 35 | 2,8 | ЭДС источника при перегрузке, мВ, не менее | 35 | 2,8 |
<1> Высокая скоростная чувствительность - от 0,7 до 2,0 мВ·см·с-1; низкая скоростная - от 0,04 до 0,16 мВ·см·с-1. К звукоснимателям с высокой скоростной чувствительностью относятся электромагнитный и магнитоэлектрический (с подвижным магнитом, с индуцированным магнитом, с переменным магнитным шунтом) звукосниматели. К звукоснимателям с низкой скоростной чувствительностью относятся электродинамические звукосниматели. <2> Номинальное сопротивление источника представляет собой последовательно включенное эквивалентное сопротивление. <3> Суммарная емкость нагрузки звукоснимателя (емкость соединительного кабеля, входная емкость усилителя и дополнительная емкость) не должна превышать 420 пФ. <5> Значение напряжения относится к скоростям 7 см·с-1 (стерео) и 10 см·с-1 (моно) и к нижним пределам чувствительности, приведенным в сноске 1. <6> Значение напряжения относится к скорости 17,5 см·с-1 и более высоким значениям, приведенным в сноске 1. Максимальное выходное напряжение измеряют в диапазоне частот 700 - 3000 Гц. | |||||
Параметр согласования | |||
выходной предварительного усилителя | входной усилителя мощности <1> | ||
Наименование | Значение | Наименование | Значение |
Выходное сопротивление источника, кОм, не более | 1 | Номинальное сопротивление источника, кОм | 1 |
Номинальное сопротивление нагрузки <2>, кОм | 10 | Входное сопротивление, кОм, не менее | 10 |
Номинальное выходное напряжение <3>, В | 1 | - | - |
- | - | Минимальная ЭДС источника, В | 1 |
- | - | ЭДС источника при перегрузке, В, не менее | 8 |
Выходное напряжение, ограниченное искажениями, В, не менее | 3 | - | - |
<1> Для усилителей мощности, не имеющих регуляторов громкости, номинальная ЭДС источника соответствует минимальному значению при номинальном значении выходного напряжения. Если усилитель мощности имеет регулятор громкости, ЭДС источника при перегрузке должна быть более или равна 8 В. | |||
Параметр согласования | ||
выходной усилителя | входной АС | Значение |
Выходное сопротивление, Ом, не более | - | Менее 1/10 номинального сопротивления нагрузки в номинальном диапазоне частот |
Номинальное сопротивление нагрузки, Ом | Номинальное сопротивление, Ом | 4; 8; 16 |
Параметр согласования | |||
выходной усилителя | входной наушников | ||
Наименование | Значение | Наименование | Значение |
Выходное сопротивление источника <1>, Ом | 120 | Номинальное сопротивление источника <1>, Ом | 120 |
Номинальное сопротивление нагрузки, Ом | От 8 до 2000 | Номинальное сопротивление <2>, Ом | 16; 32; 64; 200; 600 |
Номинальная ЭДС источника <3>, В, не более | 5 | Номинальная ЭДС источника, В | 5 |
<1> Для большинства типов наушников значения сопротивления источника незначительно влияют на согласование. <2> Согласование обеспечивается в диапазоне значений номинальных сопротивлений наушников 8 - 2000 Ом. <3> В случае, когда номинальная ЭДС источника менее 5 В, применение наушников с высоким номинальным сопротивлением не рекомендуется. При значении ЭДС источника, равном 5 В (среднее квадратическое значение), выходное напряжение не должно ограничиваться. | |||

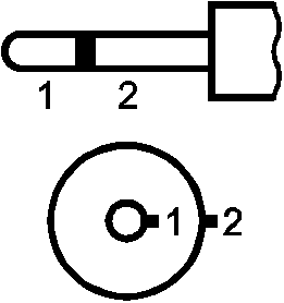
Номер соединителя | Расположение контактов | Область применения | Номер контакта и его распайка | |||||||||
по ГОСТ 19104 | по [1] | Назначение | Тип входа/выхода | 1 | 2 | 3 | 4 | 5 | 6 | 7 | 8 | |
05 | ![]() | Выходы (вилки) микрофонов и входы (розетки) аппаратуры для подключения микрофонов <1> | Моно (симметричный) | Сигнальный провод <2> | Экран | Обратный провод <2> | - | - | - | - | - | |
Моно (несимметричный) | Сигнальный провод | Экран и обратный провод | - | - | - | - | - | - | ||||
05 | ![]() | Стерео (симметричный) | Сигнальный провод левого канала | Экран | Обратный провод левого канала | Сигнальный провод правого канала | Обратный провод правого канала | - | - | - | ||
Стерео (несимметричный) | Сигнальный провод левого канала | Экран и обратный провод | - | Сигнальный провод правого канала | - | - | - | - | ||||
Входы и выходы аппаратуры по напряжению | Моно | - | Экран и обратный провод | Сигнальный провод | - | Соединен с контактом 3 | - | - | - | |||
Стерео | - | Сигнальный провод, левого канала | - | Сигнальный провод правого канала | - | - | - | |||||
Входы и выходы аппаратуры по току <3> | Моно | Сигнальный провод | Экран и обратный провод | - | Соединен с контактом 1 | - | - | - | - | |||
Стерео | Сигнальный провод левого канала | - | Сигнальный провод правого канала | - | - | - | - | |||||
Входы и выходы магнитофонов для подключения ПК | - | - | Экран и обратный провод | Сигнальный провод | - | Соединен с контактом 3 | - | - | - | |||
05 | ![]() | Видеомагнитофон на запись и воспроизведение и видеопроигрыватель на воспроизведение (розетка) при работе с телевизором | - | Коммутирующее напряжение | Видеосигнал | Экран и обратный провод | Звуковой сигнал | Напряжение питания | Дополнительный звуковой сигнал | - | - | |
Видеоигра на воспроизведение при работе с телевизором (розетка) | - | Коммутирующее напряжение <4> | Видеосигнал | Экран и обратный провод | Звуковой сигнал | Коммутирующее напряжение | - | - | - | |||
05 | ![]() | Выходы (вилки) микрофонов и соответствующие входы (розетки) аппаратуры с дистанционным управлением для подключения микрофона | Моно (симметричный) | Сигнальный провод | Экран | Обратный провод | - | - | Сигналы дистанционного управления | - | ||
Моно (несимметричный) | Сигнальный провод | Экран и обратный провод | - | - | - | - | ||||||
Стерео (симметричный) | Сигнальный провод левого канала | Экран | Обратный провод левого канала | Сигнальный провод правого канала | Обратный провод правого канала | - | ||||||
Стерео (несимметричный) | Сигнальный провод левого канала | Экран и обратный провод | - | Сигнальный провод правого канала | - | - | ||||||
05 | ![]() | Автомобильный магнитофон в режимах записи и (или) воспроизведения (розетка) при работе с автомобильным приемником | Моно | Сигнал записи | Земля <5> | Сигнал воспроизведения | Соединен с контактом 1 | Соединен с контактом 3 | Обратный провод питания | Сигнальный провод | Контрольная точка | |
Стерео | Сигнал записи левого канала | Земля <5> | Сигнал воспроизведения левого канала | Сигнал записи правого канала | Сигнал воспроизведения правого канала | Обратный провод питания | Сигнальный провод | Контрольная точка | ||||
ПК, видеоигра на воспроизведение, видеомагнитофон, видеопроигрыватель, имеющие выход основных цветов при работе с телевизором с входами основных цветов | - | Звуковое сопротивление <6> | Сигнал синхронизации | Сигнал синего цвета | Сигнал зеленого цвета | Сигнал красного цвета | Земля | Напряжение коммутации | Дополнительное звуковое сопровождение | |||
- | 06 | ![]() | Выходы и входы для соединительных кабелей (вилка). Выходы и входы аппаратуры по напряжению (розетка) | - | Сигнальный провод | Экран, Земля | - | - | - | - | - | - |
- | 07 <7> | ![]() | Наушники: вилка - кабельная часть, розетка - выход аппаратуры | Моно | Сигнальный провод | Экран, Земля | - | - | - | - | - | - |
- | 08 <8> | |||||||||||
- | 10 <9> | |||||||||||
- | 09 <9> | ![]() | Наушники: вилка - кабельная часть, розетка - выход аппаратуры | Моно | Сигнальный провод | Экран, Земля | Соединен с контактом 1 | - | - | - | - | - |
- | 11 <9> | Стерео | Сигнальный провод левого канала | Сигнальный провод правого канала | ||||||||
- | 19 | ![]() | Вход/выход аппаратуры (розетка) для подключения шины Д2В | - | Передача/Прием Д2В"+" | Передача/Прием Д2В"-" | Земля | - | - | - | - | - |
- | 20 | ![]() | Входы и выходы видеомагнитофона и видеокамеры | - | Обратный провод "У"-сигнала | Обратный провод "С"-сигнала | Вход или выход "У"-сигнала | Вход или выход "С"-сигнала | Экран вилки/розетки | - | - | - |
- | 22 | ![]() | Выносная акустическая система <10> вилка - кабельная часть, розетка - выход аппаратуры | - | Сигнальный провод | Обратный провод | - | - | - | - | - | - |
<2> Сигнальный (обратный) провод - один из сигнальных проводов (маркированный) - для распайки к соответственно маркированному контакту соединителя. В несимметричных линиях обратный провод должен быть соединен с шасси (Землей) аппаратуры. <3> Для малогабаритных магнитофонов допускается использовать один соединитель для записи и воспроизведения, имеющий схему распайки, указанную в ТУ. При этом магнитофон должен поставляться с кабелем, обеспечивающим его стыковку с любым источником сигналов. <5> Корпус вилки и контакт 2 должны быть соединены для заземления экрана. Допускается изолировать экран от Земли (экран соединен с пружиной, находящейся в контакте с корпусом вилки). <10> При мгновенном значении тока нагрузки более 1 А, а также для автомобильной аппаратуры с автономным (универсальным) питанием, поставляемой в едином комплекте и не допускающей внешних подключений, допускается применять соединители, указанные в ТУ. Примечания 1 Соединитель 13 по ГОСТ 19104 допускается использовать в монофонической аппаратуре с распайкой сигнального провода на контакт 3 входа (выхода) по напряжению и (или) на контакт 1 входа (выхода) по току. 2 Малогабаритную аппаратуру с автономным и (или) универсальным питанием допускается оснащать соединителем для подключения наушников по ТУ на соединитель. | ||||||||||||

Номер контакта | Назначение | Входные и выходные параметры | Значение |
Выход звукового сигнала B для <1>: а) моноканала, б) правого стереоканала, в) независимого канала A, г) независимого канала B, д) независимого канала B | Выходное сопротивление <2>, кОм, не более | 1 | |
Номинальное сопротивление нагрузки, кОм | 10 | ||
Номинальное выходное напряжение, В | 0,5 | ||
Максимальное выходное напряжение <3>, В, не более | 2 | ||
Вход звукового сигнала B для <1>: а) моноканала, б) правого стереоканала, в) независимого канала A, г) независимого канала B, д) независимого канала B | Входное сопротивление <2>, кОм, не менее | 10 | |
Номинальное сопротивление источника, кОм | 1 | ||
Номинальная ЭДС источника, В | 0,5 | ||
Минимальная ЭДС источника, В | 0,2 | ||
ЭДС источника при перегрузке, В, не менее | 2 | ||
3 | Выход звукового сигнала A для <1>: а) моноканала, б) левого стереоканала, в) независимого канала A, г) независимого канала B, д) независимого канала A | Аналогичные приведенным для контакта 1 | |
4 | Общий обратный провод звукового сигнала | - | - |
5 | Обратный провод сигнала основного синего цвета | - | - |
6 | Вход звукового сигнала A для <1>: а) моноканала, б) левого стереоканала, в) независимого канала A, г) независимого канала B, д) независимого канала A | Аналогичные приведенным для контакта 2 | |
Вход или выход сигнала основного синего цвета (положительно нарастающего сигнала) | Разность между пиковым значением и уровнем сигнала гашения <4>, В | ||
Сопротивление <5>, Ом | 75 | ||
Наложенное постоянное напряжение, В | От 0 до 2 | ||
Сигнал переключения (вход или выход) <6> | Логический "0", В | Возрастание от 0 до 2 | |
Логическая "1", В (для телевизоров логический "0" соответствует воспроизведению сигнала с выхода детектора, а логическая "1" соответствует воспроизведению сигнала внешнего источника) | Возрастание от 9,5 до 12,5 | ||
Входное сопротивление, кОм, не менее | 10 | ||
Входная емкость, пФ, не более | 2 | ||
Сопротивление нагрузки для проведения сравнительных испытаний, кОм | 10 | ||
При использовании контакта 8 как выхода выходное сопротивление, кОм, не более | 1 | ||
9 | Обратный провод сигнала основного зеленого цвета | - | - |
Распайке не подлежит | - | - | |
11 | Вход или выход сигнала основного зеленого цвета (положительно нарастающего сигнала) | Аналогичные приведенным для контакта 7 | |
Распайке не подлежит | - | - | |
13 | Обратный провод сигнала основного красного цвета | - | - |
14 | Обратный провод сигнала гашения | - | - |
15 | Вход или выход сигнала основного красного цвета (положительно нарастающего сигнала) | Аналогичные приведенным для контакта 7 | |
16 | Вход или выход сигнала гашения (отключение внешнего источника в пределах полосы видеочастот) | Логический "0", В | Возрастание от 0 до 0,4 |
Логическая "1" <7>, В | Возрастание от 1 до 3 | ||
75 | |||
17 | Обратный провод выхода полного телевизионного сигнала | - | - |
18 | Обратный провод входа полного телевизионного сигнала | - | - |
Выход полного телевизионного сигнала (положительно нарастающего сигнала) | Полный видеосигнал: разность между пиковым уровнем сигнала "белого" и уровнем сигнала синхронизации <9>, В | ||
Сопротивление <5>, Ом | 75 | ||
Наложенное постоянное напряжение, В | От 0 до 2 | ||
Размах сигнала (если он используется только для синхронизации) <5>, В | |||
20 | Вход полного телевизионного сигнала (положительно нарастающего сигнала) | Аналогичные приведенным для контакта 19 | |
21 | - | - | |
а) - для источников монофонических звуковых сигналов; б) - д) - для двухканальных звуковых источников. Переключение каналов (моно, стерео, независимые каналы) обеспечивается соответствующим переключением в сигнале источника звука. <2> Рабочая полоса частот - 20 - 20000 Гц. Должны быть исключены перекрестные искажения на частотах, лежащих вне этой полосы. <3> Для телевизоров номинальным выходным напряжением считают значение выходного напряжения звуковой частоты, установленное изготовителем, которое измеряют при подаче на антенный вход сигнала несущей изображения уровнем 70 дБ (мкВ), коэффициентом модуляции 54%. Максимальное значение выходного напряжения не должно быть превышено при подаче на антенный вход максимального допустимого сигнала несущей изображения и девиации несущей звука 50 кГц (коэффициент модуляции 100%). Для тюнеров и усилителей звуковой частоты соотношения должны соответствовать указанным в разделе 4. <4> Для аналоговых монохромных видеосигналов разность между любыми двумя сигналами основных цветов не должна превышать 0,5 дБ. Пиковые значения сигналов основных цветов увеличивают пиковое значение сигнала яркости "белого". <6> Дополнительное применение данного контакта находится в стадии рассмотрения. Значение напряжения огибающей добавочных сигналов переменного тока, наложенных на напряжение коммутации, в размахе не должно превышать 2 В. <7> Логическая "1" соответствует гашению, в это время на экране телевизора воспроизводятся внешние сигналы основных цветов. | |||


Номер контакта | Назначение | Входные и выходные параметры | Значение |
Вход звукового сигнала A для <1>: а) моноканала, б) левого стереоканала, в) независимого канала A, г) независимого канала B, д) независимого канала A | Входное сопротивление <2>, кОм, не менее | 47 | |
Номинальное сопротивление нагрузки, кОм | 10 | ||
Номинальная ЭДС источника, В | 0,5 | ||
Минимальная ЭДС источника для обеспечения номинального напряжения на выходе, В | 0,3 | ||
Значение ЭДС перегрузки, В | 2 | ||
Выход звукового сигнала A для <1>: а) моноканала, б) левого стереоканала, в) независимого канала A, г) независимого канала B, д) независимого канала A <4> | Выходное сопротивление, кОм, не более | 10 | |
Номинальное сопротивление нагрузки, кОм | 47 | ||
Номинальное выходное напряжение <3>, В | 0,5 | ||
Максимальное выходное напряжение, В | 2 | ||
3 | Общий обратный провод входа звукового сигнала | - | - |
4 | Общий обратный провод выхода звукового сигнала | - | - |
5 | Вход звукового сигнала B для <1>: а) моноканала, б) правого стереоканала, в) независимого канала A, г) независимого канала B, д) независимого канала B | Аналогичные приведенным для контакта 1 | |
6 | Выход звукового сигнала A для <1>: а) моноканала, б) правого стереоканала, в) независимого канала A, г) независимого канала B, д) независимого канала B <4> | Аналогичные приведенным для контакта 2 | |
7 | Вход обратного провода входного видеосигнала синхронизации | - | - |
8 | Выход обратного провода выходного видеосигнала синхронизации | - | - |
9 | Вход видеосигнала входной синхронизации (положительно нарастающего сигнала) | 1 +/- 0,2 | |
Сопротивление <8>, Ом | 75 +/- 10% | ||
10 | Выход видеосигнала выходной синхронизации (положительно нарастающего сигнала) | Аналогичные приведенным для контакта 15 | |
Сигнал переключения (вход или выход) | Логический "0", В | Возрастание от 0 до 0,4 | |
Логическая "1", В Для телевизоров логический "0" соответствует воспроизведению внутреннего сигнала, а логическая "1" - воспроизведению сигнала внешнего источника | Возрастание от 3 до 5 | ||
Входное сопротивление <2>, кОм, не менее | 22 | ||
Номинальное выходное сопротивление, кОм | 1 | ||
12 | Управляющий сигнал Ym (вход или выход) | Логический "0", В | Возрастание от 0 до 0,4 |
Логическая "1", В При подаче логической "1" вырабатывается сигнал яркости с пониженным максимальным уровнем (среднесерый), а при подаче логического "0" обеспечивается нормальный уровень яркости Номинальный уровень среднесерого сигнала устанавливается в телевизоре | Возрастание от 1 до 3 | ||
Входное сопротивление <8>, Ом | 75 +/- 10% | ||
Номинальное выходное сопротивление, Ом | 75 | ||
13 | Обратный провод сигнала основного красного цвета | - | - |
14 | Общий обратный провод сигналов "Ym" и гашения "Ys" | - | - |
Вход или выход сигнала основного красного цвета (положительно нарастающего сигнала) | 0,7 +/- 0,2 | ||
Входное сопротивление <8>, Ом | 75 +/- 10% | ||
16 | Сигнал гашения "Ys" в полосе видеочастот (вход или выход) | Логический "0", В | Возрастание от 0 до 0,4 |
Возрастание от 1 до 3 | |||
Входное сопротивление <8>, Ом | 75 +/- 10% | ||
17 | Обратный провод сигнала основного зеленого цвета | - | - |
18 | Обратный провод сигнала основного синего цвета | - | - |
19 | Вход или выход сигнала основного зеленого цвета (положительно нарастающего сигнала) | Аналогичные приведенным для контакта 15 | |
20 | Вход или выход сигнала основного синего цвета (положительно нарастающего сигнала) | Аналогичные приведенным для контакта 15 | |
21 | Общий обратный провод контакта 11, в том числе для общего заземления экранов соединителей | - | - |
а) для источников монофонических звуковых сигналов; б) - д) - для двухканальных звуковых источников. Переключение каналов (моно, стерео, независимые каналы) обеспечивается соответствующим переключением в сигнале источника звука. <3> Для телевизоров номинальным выходным напряжением считают значение выходного напряжения звуковой частоты, установленное изготовителем, которое измеряют при подаче на антенный вход сигнала несущей изображения 70 дБ (мкВ), коэффициентом модуляции 100%. <6> Номинальные напряжения видеосигнала и сигнала синхронизации измеряют при подаче на антенный вход телевизионного сигнала 70 дБ (мкВ). <9> Напряжения на входе и выходе сигнала синхронизации являются значениями сигнала синхронизации в отсутствие видеосигнала и равны напряжению в размахе. <10> Для аналоговых монохромных сигналов разность между любыми двумя сигналами основных цветов не должна превышать 0,5 дБ. Пиковые значения сигналов основных цветов увеличивают пиковое значение сигнала яркости "белого". | |||


Номер контакта | Назначение | Входные и выходные параметры | Значение |
1 | Обратный провод "У"-сигнала | - | - |
2 | Обратный провод "С"-сигнала | - | - |
3 | Вход или выход "У"-сигнала | Значение входного или выходного напряжения для ТВ стандартов НТСЦ, ПАЛ, СЕКАМ в размахе, В | |
Номинальное входное сопротивление, Ом | 75 | ||
4 | Вход "С"-сигнала | Значение входного напряжения для ТВ стандартов НТСЦ, ПАЛ, СЕКАМ - стандартное значение уровня сигнала цветности Uст +/- 3 дБ при входном "У"-сигнале в размахе 1,0 В. | |
Номинальное входное сопротивление, Ом | 75 | ||
4 | Выход "С"-сигнала | Значение выходного напряжения для ТВ стандартов НТСЦ, ПАЛ, СЕКАМ - стандартное значение уровня сигнала цветности Uст +/- 3 дБ при выходном "У"-сигнале, в размахе 1,0 В. | |
Номинальное выходное сопротивление, Ом | 75 | ||
5 | Экран вилки | Не подключается или подключается к экрану кабеля. Экран не должен подключаться к обратным проводам "У"- и "С"-сигналов | |
Экран розетки | Не подключается или подключается к шасси (земле) аппаратуры. Экран не должен подключаться к обратным проводам "У"- и "С"-сигналов | ||
Примечания 1 Полярность сигналов синхронизации - отрицательная. 2 Для ТВ стандарта ПАЛ: а) время совпадения "У"- и "С"-сигналов измеряют по сигналу стандартной цветной полосы при переходе от зеленого к пурпурному цвету в момент, когда "С"-сигнал переходит через нулевое значение; б) время совпадения "С"- и "У"-сигналов - в пределах 100 нс и измеряется на выходе источника сигнала; в) амплитуды зеленого и пурпурного цветных сигналов должны совпадать с точностью 10%. | |||

Номер контакта | Назначение |
1 | Передача/Прием (+), Д2В "+" |
2 | Передача/Прием (-), Д2В "-" |
3 | Земля |
