Главная // Актуальные документы // ГОСТ Р (Государственный стандарт)
СПРАВКА
Источник публикации
М.: Стандартинформ, 2017
Примечание к документу
Документ утратил силу с 01.12.2022 в связи с изданием Приказа Росстандарта от 23.06.2022 N 528-ст. Взамен введен в действие ГОСТ Р 51261-2022.

Документ введен в действие с 01.01.2019.

Взамен ГОСТ Р 51261-99.
Название документа
"ГОСТ Р 51261-2017. Национальный стандарт Российской Федерации. Устройства опорные стационарные реабилитационные. Типы и технические требования"
(утв. и введен в действие Приказом Росстандарта от 17.11.2017 N 1772-ст)

"ГОСТ Р 51261-2017. Национальный стандарт Российской Федерации. Устройства опорные стационарные реабилитационные. Типы и технические требования"
(утв. и введен в действие Приказом Росстандарта от 17.11.2017 N 1772-ст)


Содержание


Утвержден и введен в действие
Приказом Федерального агентства
по техническому регулированию
и метрологии
от 17 ноября 2017 г. N 1772-ст
НАЦИОНАЛЬНЫЙ СТАНДАРТ РОССИЙСКОЙ ФЕДЕРАЦИИ
УСТРОЙСТВА ОПОРНЫЕ СТАЦИОНАРНЫЕ РЕАБИЛИТАЦИОННЫЕ
ТИПЫ И ТЕХНИЧЕСКИЕ ТРЕБОВАНИЯ
Support stationary devices for disabled persons. Types
and technical requirements
ГОСТ Р 51261-2017
ОКС 11.180
ОКП 94 5210
ОКПД 2 32.50.50
Дата введения
1 января 2019 года
Предисловие
1 РАЗРАБОТАН Федеральным государственным унитарным предприятием "Российский научно-технический центр информации по стандартизации, метрологии и оценке соответствия" (ФГУП "СТАНДАРТИНФОРМ")
2 ВНЕСЕН Техническим комитетом по стандартизации ТК 381 "Технические средства и услуги для инвалидов и других маломобильных групп населения"
3 УТВЕРЖДЕН И ВВЕДЕН В ДЕЙСТВИЕ Приказом Федерального агентства по техническому регулированию и метрологии от 17 ноября 2017 г. N 1772-ст
4 ВЗАМЕН ГОСТ Р 51261-99
5 Настоящий стандарт разработан по государственной программе Российской Федерации "Доступная среда" на 2011 - 2020 гг., утвержденной Постановлением Правительства Российской Федерации от 1 декабря 2015 г. N 1297, подпрограмма "Совершенствование системы комплексной реабилитации и абилитации инвалидов"
Правила применения настоящего стандарта установлены в статье 26 Федерального закона от 29 июня 2015 г. N 162-ФЗ "О стандартизации в Российской Федерации". Информация об изменениях к настоящему стандарту публикуется в ежегодном (по состоянию на 1 января текущего года) информационном указателе "Национальные стандарты", а официальный текст изменений и поправок - в ежемесячном информационном указателе "Национальные стандарты". В случае пересмотра (замены) или отмены настоящего стандарта соответствующее уведомление будет опубликовано в ближайшем выпуске информационного указателя "Национальные стандарты". Соответствующая информация, уведомление и тексты размещаются также в информационной системе общего пользования - на официальном сайте Федерального агентства по техническому регулированию и метрологии в сети Интернет (www.gost.ru)
1. Область применения
Настоящий стандарт распространяется на стационарные опорные реабилитационные устройства (далее - опорные устройства), устанавливаемые в общественных зданиях, сооружениях и средствах общественного пассажирского транспорта и предназначенные для использования инвалидами, в том числе инвалидами, использующими для передвижения кресла-коляски, и другими маломобильными группами населения (далее - инвалиды). Стандарт определяет типы опорных устройств и устанавливает технические требования к опорным устройствам.
Стандарт не распространяется на опорные технические средства реабилитации инвалидов, предназначенные для индивидуального пользования (костыли, ходунки, трости и опорные устройства кресел-колясок).
Технические требования к стационарным опорным устройствам из композиционных материалов для реабилитационных пандусов - по ПНСТ 104-2016.
2. Нормативные ссылки
В настоящем стандарте использованы ссылки на следующие стандарты:
ГОСТ 9.032 Единая система защиты от коррозии и старения. Покрытия лакокрасочные. Группы, технические требования и обозначения
ГОСТ 9.301 Единая система защиты от коррозии и старения. Покрытия металлические и неметаллические неорганические. Общие требования
ГОСТ 9.303 Единая система защиты от коррозии и старения. Покрытия металлические и неметаллические неорганические. Общие требования к выбору
ГОСТ 14193 Монохлорамин ХБ технический. Технические условия
ИС МЕГАНОРМ: примечание.
В официальном тексте документа, видимо, допущена опечатка: стандарт имеет номер ГОСТ 15150-69, а не ГОСТ 1515.
ГОСТ 1515 Машины, приборы и другие технические изделия. Исполнения для различных климатических районов. Категории, условия эксплуатации, хранения и транспортирования в части воздействия климатических факторов внешней среды
ГОСТ 33652-2015 (EN 81-70:2003) Лифты пассажирские. Технические требования доступности, включая доступность для инвалидов и других маломобильных групп населения
ГОСТ Р 15.111 Система разработки и постановки продукции на производство. Технические средства реабилитации инвалидов
ГОСТ Р ИСО 9999 Вспомогательные средства для людей с ограничениями жизнедеятельности. Классификация и терминология
ГОСТ Р 51090-97 Средства общественного пассажирского транспорта. Общие технические требования доступности и безопасности для инвалидов
ГОСТ Р 51764-2001 Устройства подъемные транспортные реабилитационные для инвалидов. Общие технические требования
ИС МЕГАНОРМ: примечание.
Взамен ГОСТ Р 55137-2012 Приказом Росстандарта от 05.08.2021 N 686-ст с 01.10.2021 введен в действие ГОСТ Р 55137-2021.
ГОСТ Р 55137-2012 Подъемники, встроенные в дорожный транспорт для людей, пользующихся креслами-колясками, и других людей с ограничениями жизнедеятельности. Дополнительные требования безопасности и испытания
ГОСТ Р 55555-2013 Платформы подъемные для инвалидов и других маломобильных групп населения. Требования безопасности и доступности. Часть 1. Платформы подъемные с вертикальным перемещением
ГОСТ Р 55556 Платформы подъемные для инвалидов и других маломобильных групп населения. Требования безопасности и доступности. Часть 2. Платформы подъемные с наклонным перемещением
Примечание - При пользовании настоящим стандартом целесообразно проверить действие ссылочных стандартов в информационной системе общего пользования - на официальном сайте Федерального агентства по техническому регулированию и метрологии в сети Интернет или по ежегодному информационному указателю "Национальные стандарты", который опубликован по состоянию на 1 января текущего года, и по выпускам ежемесячного информационного указателя "Национальные стандарты" за текущий год. Если заменен ссылочный стандарт, на который дана недатированная ссылка, то рекомендуется использовать действующую версию этого стандарта с учетом всех внесенных в данную версию изменений. Если заменен ссылочный стандарт, на который дана датированная ссылка, то рекомендуется использовать версию этого стандарта с указанным выше годом утверждения (принятия). Если после утверждения настоящего стандарта в ссылочный стандарт, на который дана датированная ссылка, внесено изменение, затрагивающее положение, на которое дана ссылка, то это положение рекомендуется применять без учета данного изменения. Если ссылочный стандарт отменен без замены, то положение, в котором дана ссылка на него, рекомендуется принять в части, не затрагивающей эту ссылку.
3. Термины, определения и сокращения
3.1 Термины и определения
В настоящем стандарте применяют следующие термины с соответствующими определениями:
3.1.1
вспомогательное посадочное устройство: Техническое устройство, являющееся штатным оборудованием транспортного средства и предназначенное для обеспечения прохода (проезда) пассажиров-инвалидов, и в первую очередь инвалидов в креслах-колясках или в транспортных колясках, в это транспортное средство при невозможности осуществлять беспрепятственную посадку-высадку и (или) при наличии в транспортном средстве ступеней у входа.
[ГОСТ Р 51090, пункт 3.1.9]
3.1.2
инвалид: Лицо, которое имеет нарушение здоровья со стойким расстройством функций организма, обусловленное заболеваниями, последствиями травм или дефектами, приводящее к ограничению жизнедеятельности и вызывающее необходимость его социальной защиты.
3.1.3 маломобильная группа населения: Люди, испытывающие затруднения при самостоятельном передвижении, получении услуги, необходимой информации или ориентации в пространстве.
К маломобильным группам населения в настоящем стандарте отнесены люди с временным расстройством функций организма, люди пожилого возраста, беременные, люди с детскими колясками и т.п.
3.1.4 общественное здание или сооружение, доступное для инвалидов: Общественное здание или сооружение, отвечающее установленным требованиям доступности и безопасности для инвалидов.
3.1.5
ограничение жизнедеятельности: Полная или частичная утрата лицом способности и возможности осуществлять самообслуживание, самостоятельно передвигаться, ориентироваться, общаться, контролировать свое поведение, обучаться или заниматься трудовой деятельностью.
ИС МЕГАНОРМ: примечание.
В официальном тексте документа, видимо, допущена опечатка: стандарт имеет номер ГОСТ 33652-2015, а не ГОСТ Р 33652.
3.1.6 пассажирский лифт, доступный для инвалидов: Пассажирский лифт, отвечающий требованиям доступности для инвалидов, установленным в ГОСТ Р 33652.
ИС МЕГАНОРМ: примечание.
Взамен ГОСТ Р 55137-2012 Приказом Росстандарта от 05.08.2021 N 686-ст с 01.10.2021 введен в действие ГОСТ Р 55137-2021.
3.1.7
подъемная нагрузочная платформа: Подъемная погрузочная платформа, предназначенная для установки на колесных транспортных средствах для транспортирования пассажиров и которая нужна для осуществления посадки в транспортное средство или высадки из транспортного средства. При этом при определенных условиях, речь может идти о людях с ограничениями жизнедеятельности и о людях, использующих кресла-коляски.
Устройство состоит в основном из платформы, системы привода, несущей системы и одной или нескольких панелей управления.
[ГОСТ Р 55137-2012, пункт 3.1]
3.1.8 реабилитационное опорное устройство: Вспомогательное техническое средство реабилитации, предназначенное для опоры и поддержки инвалидов и маломобильных групп населения в процессе их перемещения (при ходьбе, при поездке в транспортном средстве и т.д.), позволяя в той или иной степени компенсировать, ослаблять или нейтрализовать ограничение способности вышеназванных граждан к самостоятельному передвижению.
3.1.9
реабилитационное транспортное подъемное устройство: Вспомогательное посадочное устройство, имеющее горизонтальную площадку для размещения пользователя в кресле-коляске и сопровождающего (или без него), обеспечивающее движение вверх-вниз и при необходимости вперед-назад.
[ГОСТ Р 51764, пункт 3.2.1]
3.1.10
реабилитационный эффект: Показатель эффективности (полезности) применения ТСР в целях устранения или компенсации ограничений жизнедеятельности инвалида и реализации его реабилитационного потенциала.
[ГОСТ Р 15.111, пункт 3.1.6]
3.1.11
средство общественного пассажирского транспорта, доступное для пассажиров-инвалидов: Транспортное средство, которое сконструировано и оборудовано для перевозки им более 12 пассажиров.
[ГОСТ Р 51090, пункт 3.1.2]
3.1.12 стационарное реабилитационное опорное устройство: Реабилитационное опорное устройство, закрепленное на соответствующем элементе конструкции здания, сооружения или транспортного средства.
3.1.13
универсальный дизайн: Дизайн предметов, обстановок, программ и услуг, призванный сделать их в максимально возможной степени пригодными к пользованию для всех людей без необходимости адаптации или специального дизайна. "Универсальный дизайн" не исключает ассистивные устройства для конкретных групп инвалидов, где это необходимо.
3.2 Сокращения
В настоящем стандарте применены следующие сокращения:
- ДИТС - доступное для пассажиров-инвалидов средство общественного пассажирского транспорта;
- СНиП - строительные нормы и правила.
4. Типы опорных устройств
4.1 В зависимости от назначения опорные устройства подразделяют на следующие типы:
- поручни и опорные перила;
Примечание - Классификационная группировка 18 18 03 по ГОСТ Р ИСО 9999.
- стойки;
- ручки-опоры.
4.2 В зависимости от конструктивного исполнения опорные устройства подразделяют на:
- неразъемные, имеющие цельную конструкцию в соответствии с назначением;
- складные (модульные), позволяющие получать различные по конфигурации и назначению опорные устройства, например поручни-стойки.
Примечание - Классификационная группировка 18 18 11 по ГОСТ Р ИСО 9999.
4.3 Типы поручней и опорных перил
4.3.1 В зависимости от возрастной категории пользователей-инвалидов поручни и опорные перила подразделяют на:
- одиночные для взрослых;
- одиночные для детей;
- парные, когда поручни для взрослых и для детей расположены в одной плоскости параллельно друг другу и на различной высоте в зависимости от возрастной группы пользователей-инвалидов.
4.3.2 В зависимости от места крепления поручни и опорные перила подразделяют на:
- настенные;
- потолочные;
- лестничные;
- дверные;
- поручни пандусов, сидений и др.
4.3.3 В зависимости от конфигурации поручни и опорные перила подразделяют на:
- прямые, имеющие только один прямой участок;
- комбинированные, имеющие как минимум два прямых участка, расположенных под углом друг к другу.
5. Технические требования
5.1. Общие требования к опорным устройствам
5.1.1 Порядок разработки и постановки опорных устройств на производство должен отвечать требованиям ГОСТ Р 15.111.
5.1.2 Разработку опорных устройств и выбор места их установки (размещения) в конкретных помещениях зданий, сооружений или средствах общественного транспорта следует осуществлять в соответствии с требованиями настоящего стандарта на опорные устройства, [3] и стандартов на указанные здания, сооружения и транспортные средства, исходя из необходимости обеспечения качества этих технических средств реабилитации, в том числе по обеспечению реабилитационного эффекта и безопасности жизни, здоровья и имущества инвалидов и других граждан, а также использованию принципов универсального дизайна.
5.1.3 Конструкция и размещение опорных устройств в зданиях, сооружениях и транспортных средствах должны исключать возможность травмирования людей - пользователей зданий, сооружений и пассажиров транспортных средств, в том числе людей с нарушением функции зрения.
5.1.4 Минимальная длина свободного участка опорного устройства в любом его положении должна быть не менее 100 мм для захвата всей кистью руки.
5.1.5 Форма и размеры опорных устройств должны обеспечивать максимальное удобство их захвата и стабильную фиксацию кисти руки для каждой конкретной ситуации в процессе пользования. При этом поручни, устанавливаемые в зданиях и сооружениях, должны быть круглого сечения диаметром не менее 30 мм (поручни для детей) и не более 50 мм (поручни для взрослых) или прямоугольного сечения толщиной от 25 до 30 мм.
5.1.6 Опорные устройства (поручни, стойки и ручки), устанавливаемые в транспортных средствах, должны иметь круглое поперечное сечение или сечение, близкое к круглому. Диаметр их поперечного сечения должен составлять от 32 до 38 мм. Для поручней или ручек на створках дверей или на сиденьях транспортных средств допускается минимальный диаметр поперечного сечения от 15 до 25 мм.
5.1.7 Поверхность опорных устройств, а также любая стенка или поверхность вблизи них должны быть ровными и гладкими или рифлеными (только для поверхности опорных устройств) без острых кромок и заусенцев. Рифленая поверхность опорных устройств должна иметь ребра с закруглением, радиус которого не менее 3 мм.
5.1.8 Опорные устройства, используемые в условиях низкой температуры окружающей среды, должны быть изготовлены из материалов или покрыты материалами, которые обладают низкой теплопроводностью.
5.1.9 При наличии сотрясений, вибраций, ускорений, действующих на инвалида в процессе пользования опорным устройством (например, в транспортном средстве), это опорное устройство должно обеспечивать опору:
- локтю - при больших (широких) захватах опорного устройства кистью руки с предплечьем;
- предплечью - при захватах опорного устройства кистью руки;
- запястью - при захватах опорного устройства пальцами.
5.1.10 Опорные устройства должны иметь контрастную расцветку, позволяющую инвалидам, в том числе с нарушением функции зрения, легко и быстро находить опорные устройства и пользоваться ими.
5.1.11 Опорное устройство должно сохранять прочность, не должно поворачиваться или смещаться относительно крепежной арматуры и должно выдерживать усилие, значение которого составляет не менее 500 Н, приложенное к любой его точке в любом направлении без остаточной деформации составных частей опорного устройства и конструкции, к которой оно крепится.
5.1.12 Опорные устройства должны быть снабжены элементами, обеспечивающими их закрепление на месте установки.
5.1.13 Опорные устройства должны быть устойчивы к воздействию климатических факторов внешней среды по ГОСТ 15150 для видов климатического исполнения У1 и У1.1 при эксплуатации вне помещений и УХЛ 4.2 - при эксплуатации внутри помещений.
5.1.14 Для изготовления опорных устройств используют материалы, разрешенные к применению Минздравом России.
Материалы, применяемые для изготовления опорных устройств, не должны содержать ядовитых (токсичных) компонентов.
5.1.15 Металлические опорные устройства должны быть изготовлены из коррозионно-стойких материалов или защищены от коррозии защитно-декоративными покрытиями в соответствии с требованиями ГОСТ 9.032, ГОСТ 9.301, ГОСТ 9.303.
5.1.16 Наружные поверхности опорных устройств должны быть устойчивы к воздействию 1-процентного раствора монохлорамина ХБ по ГОСТ 14193 и растворов моющих средств, применяемых при дезинфекции.
5.2. Требования доступности и досягаемости опорных устройств для инвалидов
5.2.1 Опорные устройства, предназначенные для пользования инвалидами, сидящими в креслах-колясках, необходимо устанавливать так, чтобы свободные участки этих опорных устройств при любом их положении находились в пределах зоны досягаемости инвалидов в креслах-колясках (приложение А), на высоте не более 1100 мм от уровня пола.
5.2.2 Расстояние между опорным устройством и ближайшим элементом оборудования или стенками помещения должно быть не менее 40 мм (рисунок 1 а). Допускается уменьшение этого расстояния до 35 мм для поручней и ручек, устанавливаемых на створках дверей и сиденьях транспортных средств.
5.2.3 Опорные устройства могут быть расположены в нише, если эта ниша имеет глубину T не менее 70 мм и высоту H над опорными устройствами не менее 450 мм (рисунок 1 б).
а
б
Рисунок 1 - Размеры свободного пространства между опорным
устройством и ближайшим оборудованием или стенками помещения
5.2.4 Опорные устройства, захватываемые одной рукой, необходимо размещать на стороне, соответственно действующей правой или левой руки инвалида в пределах досягаемости при сгибе ее в локтевом суставе под углом 90 - 135° и приложении усилия по направлению прямо "на себя - от себя".
5.2.5 Пространственное расположение прямых участков опорных устройств (горизонтальное, вертикальное, комбинированное, наклонное) должно быть определено в зависимости от характера и особенностей приложения захватывающих и удерживающих усилий при соблюдении соответствия с направлением движения инвалида и (или) с направлением движения объекта, в котором находится инвалид (например, транспортного средства или подъемного устройства).
5.2.6 Поручни, устанавливаемые по обеим сторонам пандусов наземных и подземных пешеходных дорожек (рисунок Б.1), имеющих высоту подъема H более 150 мм или горизонтальную проекцию наклонного участка пандуса L протяженностью более 1800 мм (рисунок 2), должны удовлетворять требованиям 5.1 настоящего стандарта и нижеследующим требованиям.
1 - горизонтальная площадка; 2 - наклонная поверхность;
3 - горизонтальная площадка
Рисунок 2 - Основные параметры пандусов наземных и подземных
пешеходных дорожек
5.2.6.1 Поручни пандусов должны иметь с обеих сторон участки, выходящие за пределы длины наклонного участка пандуса на примыкающие к этому участку горизонтальные площадки протяженностью не менее 300 мм каждый, как показано на рисунке Б.2.
5.2.6.2 Поверхность поручней пандусов должна быть непрерывной по всей длине и должна быть строго параллельна поверхности самого пандуса с учетом примыкающих к нему горизонтальных участков.
5.2.6.3 Концы поручней пандусов должны быть либо скруглены, либо прочно прикреплены к полу, стене или стойкам, а при парном их расположении - соединены между собой (рисунок Б.2).
5.2.7 Одиночные или парные лестничные поручни, расположенные по обеим сторонам или по всей длине доступных для инвалидов лестниц на входе в здания и сооружения, а также внутри зданий и сооружений, должны удовлетворять требованиям 5.1 настоящего стандарта и нижеследующим требованиям.
5.2.7.1 Поверхность лестничных поручней должна быть непрерывной по всей длине лестничного марша.
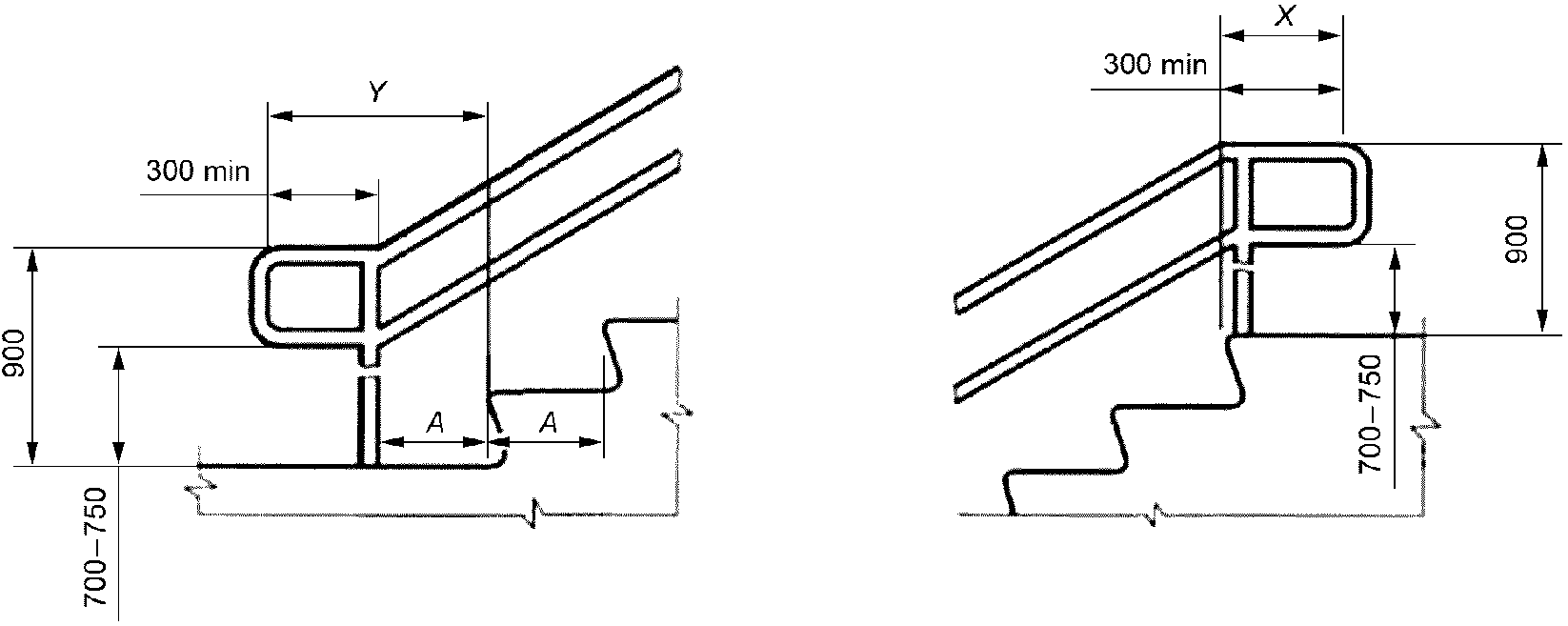
Внутренние поручни на изломе лестницы должны быть всегда непрерывными, как показано на рисунке В.1.
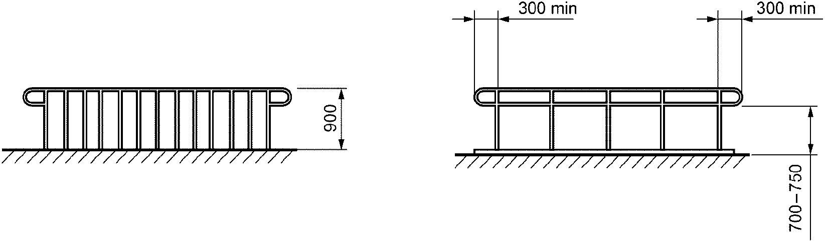
5.2.7.2 Лестничные поручни должны иметь с обеих сторон участки, выходящие за пределы длины лестничного марша - вверху как минимум на 300 мм и внизу как минимум на 300 мм с прибавлением глубины одной ступени лестницы А, как показано на рисунке В.2. Указанные участки должны быть горизонтальными.
5.2.7.3 Высота охватываемой поверхности лестничного поручня над наплывом лестничной ступени должна быть, мм:
- для верхнего парного поручня - 900;
- для нижнего парного поручня - не менее 700 и не более 750.
5.2.7.4 Поверхность лестничного поручня не должна перекрываться стойками, другими конструктивными элементами или препятствиями.
5.2.7.5 Концы лестничного поручня должны быть скруглены или прочно прикреплены к полу, стене или стойке, а при парном их расположении - соединены между собой (рисунок В.2).
5.2.8 Поручни, устанавливаемые в туалетных, ванных и душевых комнатах (кабинах) зданий и сооружений, доступных для инвалидов, в том числе инвалидов, перемещающихся в креслах-колясках, должны удовлетворять требованиям 5.1 настоящего стандарта и нижеследующим требованиям.
5.2.8.1 При выборе типов поручней (в соответствии с 4.1 и 4.2), количества поручней, вариантов их размещения и способов монтажа в туалетных, ванных и душевых комнатах должен быть обеспечен беспрепятственный, удобный и безопасный доступ инвалидов, в том числе инвалидов в креслах-колясках, к санитарно-техническому и другому оборудованию указанных помещений, а также созданы условия, позволяющие инвалидам самостоятельно пользоваться туалетом, ванной и душем.
5.2.8.2 Поручни в туалетной комнате или туалетной кабине не должны препятствовать фронтальному или боковому подступу инвалида, перемещающегося в кресле-коляске, к унитазу.
5.2.8.3 В случае, если в туалетной комнате или в туалетной кабине, доступной для инвалидов в кресле-коляске, установлены как минимум два горизонтальных поручня, один из этих поручней размещают сбоку от унитаза со стороны ближайшей к унитазу стены, а другой - позади унитаза (рисунок Г.1) или с другого бока унитаза (рисунок Г.2).
5.2.8.4 В случае, если в туалетной комнате предусмотрен боковой подступ инвалида в кресле-коляске к унитазу, то при установке двух боковых поручней один из них, расположенный со стороны подступа к унитазу, должен быть поворотным или откидным (рисунок Г.3). Размеры и размещение откидного парного поручня должны соответствовать указанным на рисунке Г.4.
5.2.8.5 Концы боковых откидных и поворотных поручней должны быть скруглены, а поручней парного типа - соединены между собой (рисунок Г.5).
5.2.8.6 Поручни, устанавливаемые в общественных туалетах, доступных для инвалидов, для обеспечения удобства при пользовании настенным писсуаром, должны быть комбинированного типа (рисунок Г.6).
5.2.8.7 Поручни, устанавливаемые в ванных комнатах, доступных для инвалидов, должны быть как минимум прямые одиночного и (или) парного расположения (рисунок Г.7).
При этом горизонтальный участок поручней ванны (для парных поручней - участок верхнего поручня) должен располагаться на высоте от 850 до 900 мм от уровня пола ванны, а горизонтальный участок нижнего парного поручня - на высоте не более 200 мм от верхней кромки ванны.
5.2.8.8 Поручни, устанавливаемые в душевых комнатах, доступных для инвалидов, должны быть как минимум прямые или комбинированные горизонтальные (рисунок Г.8).
5.2.8.9 В случае, если в туалетных, ванных комнатах и других местах общего пользования, где установлены раковины умывальников, предусмотрены поручни для опоры инвалидов при пользовании умывальниками, то размещение этих поручней может быть выполнено в соответствии с рисунком Г.9.
5.2.9 Поручни, устанавливаемые на одной из боковых стен кабины пассажирского лифта, доступного для инвалидов и других маломобильных групп населения, должны удовлетворять требованиям ГОСТ 33652-2015 (пункт 5.3.2) и настоящего стандарта в части, их касающейся.
5.2.10 Поручни ограждений грузонесущего устройства подъемной платформы с вертикальным перемещением для инвалидов и других маломобильных групп населения должны удовлетворять требованиям ГОСТ Р 55555-2013 (пункты 9.2.2.6 и 9.2.2.8) и настоящего стандарта в части, их касающейся.
5.2.11 Поручни, установленные на стороне грузонесущего устройства подъемной платформы с наклонным перемещением для инвалидов и других маломобильных групп населения, должны удовлетворять требованиям ГОСТ Р 55556-2013 (пункт 9.4.5.1) и настоящего стандарта в части, их касающейся.
ИС МЕГАНОРМ: примечание.
В официальном тексте документа, видимо, допущена опечатка: стандарт имеет номер ГОСТ Р 51090-97, а не ГОСТ Р 51090-91.
5.2.12 Опорные устройства ДИТС должны удовлетворять требованиям ГОСТ Р 51090-91 (пункты 6.4.1 - 6.4.8) и настоящего стандарта в части, их касающейся.
5.2.12.1 Выбранные типы опорных устройств (в соответствии с 4.1 и 4.2), количество и расположение их в транспортном средстве должны обеспечивать пассажирам-инвалидам, использующим технические средства реабилитации (кресла-коляски, транспортные коляски, костыли, трости и др.), в любой конкретной ситуации как при посадке в транспортное средство и выходе из него, так и во время нахождения внутри транспортного средства (стоя, сидя или перемещаясь) беспрепятственное и непрерывное пользование опорным устройством.
5.2.12.2 Горизонтальные поручни, которыми оборудуют места, предназначенные для размещения пассажиров-инвалидов в креслах-колясках, должны быть расположены вдоль боковых стенок транспортных средств на высоте от 900 до 1100 мм от поверхности пола.
5.2.12.3 Поручни, стойки или ручки, которыми оснащены проходы пассажирских дверей ДИТС, должны иметь в соответствии с требованиями 5.1.4 свободные участки, за которые инвалид, как стоящий на дороге (остановочном пункте или пассажирской платформе) у пассажирской двери, так и находящийся в дверном проеме или тамбуре транспортного средства, в том числе на любой ступеньке транспортного средства со ступенчатым входом, может удобно держаться (двумя или одной рукой) при посадке в транспортное средство.
Эти участки опорных устройств должны быть расположены по вертикали на высоте (900 +/- 100) мм от поверхности дороги (остановочного пункта или пассажирской платформы), на которой находится пассажир-инвалид, или от поверхности каждой ступеньки, а по горизонтали:
а) для транспортного средства с бесступенчатым входом - не должны выступать наружу за дверной порог, а также отстоять внутрь транспортного средства более чем на 300 мм по отношению к данному дверному порогу;
б) для транспортного средства со ступенчатым входом - не должны выступать наружу за внешний край любой ступеньки, а также отстоять внутрь транспортного средства более чем на 300 мм по отношению к внутренней границе любой ступеньки.
5.2.12.4 Поручни в дверях троллейбусов и трамваев должны быть изготовлены из изоляционного материала или иметь механически прочную изоляцию, значение сопротивления которой составляет не менее 1 МОм при поверхности контакта 1 дм2.
5.2.12.5 Потолочные горизонтальные поручни, которыми оснащают центральный проход между продольными рядами сидений, предназначенных для пользования инвалидами, и накопительную площадку в салоне наземных и подземных транспортных средств должны быть непрерывны, за исключением зон расположения дверных проемов.
Опорные поручни или ручки спинок поперечных сидений, предназначенных для инвалидов, должны обеспечивать удобство пользования ими.
5.2.12.6 Опорные устройства, расположенные внутри ДИТС, не должны создавать препятствий для посадки в транспортное средство пассажиров-инвалидов, использующих кресла-коляски, и для размещения их в этом транспортном средстве на площадках в соответствии с ГОСТ Р 51090 не должны создавать помех для перемещения других пассажиров и должны исключать возможность травмирования пассажиров, в том числе пассажиров с нарушением функции зрения, пользующихся данным транспортным средством.
5.2.12.7 В случае, если в туалетном помещении (санузле) транспортного средства, доступном для инвалидов, в том числе доступном для инвалидов, перемещающихся в креслах-колясках или в транспортных колясках, предусмотрены:
а) как минимум один горизонтальный поручень, смонтированный на одной из сторон туалетного помещения, то длина этого поручня должна быть не менее 1000 мм, а высота размещения от уровня пола туалетного помещения - от 800 до 900 мм;
б) два горизонтальных парных поручня круглого сечения, консольно прикрепленных к задней стене туалетного помещения симметрично с обеих сторон унитаза, то длина каждого из этих поручней должна быть не менее 650 мм, а размещают их на высоте от 800 до 850 мм от поверхности пола и на расстоянии 600 мм друг от друга.
При этом оба парных поручня или один из них, расположенный со стороны подступа к унитазу, выполняют откидными (откидным) или поворотными (поворотным). Откидные или поворотные поручни должны разворачиваться соответственно в вертикальной или горизонтальной плоскостях и фиксироваться в рабочем положении.
5.2.13 Опорные устройства вспомогательного оборудования (подъемники, рампы) для посадки инвалидов в ДИТС должны удовлетворять требованиям 5.1 настоящего стандарта и нижеследующим требованиям.
5.2.13.1 Парные поручни, которыми оборудованы платформы подъемников, должны быть расположены по боковым краям платформы на расстоянии 200 - 250 мм от края платформы, примыкающего к проему двери ДИТС, и должны позволять удобно и крепко за них держаться пассажирам-инвалидам, как сидящим в креслах-колясках, так и стоящим на платформе во время работы подъемника.
5.2.13.2 Поручни платформ подъемников должны иметь свободные участки длиной не менее 300 мм. Нижний парный поручень должен находиться над платформой на высоте не менее 750 мм, а верхний - на высоте не более 900 мм.
5.2.13.3 Если на рампах предусмотрены парные поручни, то они должны соответствовать требованиям 5.1 и позволять инвалидам удобно и крепко держаться за эти поручни снаружи транспортного средства во время начала посадки и продолжать пользоваться ими в течение всего процесса посадки.
5.2.13.4 Поручни рампы располагают на высоте от 750 до 900 мм над поверхностью рампы.
5.2.13.5 Поручни подъемных устройств для посадки инвалидов в ДИТС должны выдерживать нагрузку, значение которой составляет не менее 500 Н, сконцентрированную в любой точке поручня, без остаточной деформации их элементов.
5.2.13.6 Поручни подъемных устройств для посадки инвалидов в троллейбусы и трамваи должны иметь изоляционное покрытие в соответствии с требованиями 5.2.12.4.
5.2.14 Поручни платформы реабилитационных транспортных подъемных устройств для инвалидов должны удовлетворять требованиям ГОСТ Р 51764-2001 (пункт 6.14) и настоящего стандарта в части, их касающейся.
ИС МЕГАНОРМ: примечание.
Взамен ГОСТ Р 55137-2012 Приказом Росстандарта от 05.08.2021 N 686-ст с 01.10.2021 введен в действие ГОСТ Р 55137-2021.
5.2.15 Поручни (перила) предохранительных ограждений, которыми оборудуют нагрузочные платформы подъемников, встроенные в дорожный транспорт и предназначенные для людей, пользующихся креслами-колясками, и других людей с ограничениями жизнедеятельности, должны удовлетворять требованиям ГОСТ Р 55137-2012 (пункт 4.8.2) и настоящего стандарта в части, их касающейся.
Приложение А
(справочное)
ЗОНА ДОСЯГАЕМОСТИ ДЛЯ ИНВАЛИДОВ В КРЕСЛЕ-КОЛЯСКЕ
Рисунок А.1 - Зона досягаемости для инвалидов-мужчин
в кресле-коляске
Рисунок А.2 - Зона досягаемости для инвалидов-женщин
в кресле-коляске
Приложение Б
(справочное)
ПРИМЕРЫ РАСПОЛОЖЕНИЯ ПОРУЧНЕЙ ПАНДУСОВ
Рисунок Б.1
Рисунок Б.2
Приложение В
(справочное)
ПРИМЕРЫ РАСПОЛОЖЕНИЯ ЛЕСТНИЧНЫХ ПОРУЧНЕЙ В ЗДАНИЯХ
И СООРУЖЕНИЯХ
Рисунок В.1
Примечание - x >= 300 мм; y >= 300 мм + ширина проступи (A)
Рисунок В.2
Приложение Г
(справочное)
ПРИМЕРЫ ОБОРУДОВАНИЯ ПОРУЧНЯМИ ТУАЛЕТНЫХ КОМНАТ ИЛИ КАБИН
ВАННЫХ И ДУШЕВЫХ КОМНАТ В ОБЩЕСТВЕННЫХ ЗДАНИЯХ И СООРУЖЕНИЯХ
Рисунок Г.1
Рисунок Г.2
Рисунок Г.3
Рисунок Г.4
Рисунок Г.5
Рисунок Г.6
1 - зона размещения органов управления; 2 - сиденье
Рисунок Г.7
1 - зона размещения органов управления
Рисунок Г.8
Рисунок Г.9
Библиография
[1]
Федеральный закон от 24 ноября 1995 г. N 181-ФЗ "О социальной защите инвалидов в Российской Федерации" (в редакции от 19 декабря 2016 г., действующей в 2017 г.)
[2]
Конвенция о правах инвалидов (принята резолюцией 61/106 Генеральной Ассамблеи ООН от 13 декабря 2006 г.)
[3]
СНиП 35-01-2001 Свод правил. Доступность зданий и сооружений для маломобильных групп населения