Главная // Актуальные документы // ГОСТ Р (Государственный стандарт)
СПРАВКА
Источник публикации
М.: Издательство стандартов, 1994
Примечание к документу
С 1 июля 2003 года до вступления в силу технических регламентов акты федеральных органов исполнительной власти в сфере технического регулирования носят рекомендательный характер и подлежат обязательному исполнению только в части, соответствующей целям, указанным в пункте 1 статьи 46 Федерального закона от 27.12.2002 N 184-ФЗ.

Документ введен в действие с 1 января 1995 года.
Название документа
"ГОСТ Р 50643-94. Государственный стандарт Российской Федерации. Соединение разъемное для антиблокировочной системы тормозов. Основные размеры. Технические требования. Методы испытаний. Указания по установке на транспортных средствах"
(утв. и введен в действие Постановлением Госстандарта России от 16.02.1994 N 31)


"ГОСТ Р 50643-94. Государственный стандарт Российской Федерации. Соединение разъемное для антиблокировочной системы тормозов. Основные размеры. Технические требования. Методы испытаний. Указания по установке на транспортных средствах"
(утв. и введен в действие Постановлением Госстандарта России от 16.02.1994 N 31)


Содержание


Утвержден и введен в действие
Постановлением Госстандарта России
от 16 февраля 1994 г. N 31
ГОСУДАРСТВЕННЫЙ СТАНДАРТ РОССИЙСКОЙ ФЕДЕРАЦИИ
СОЕДИНЕНИЕ РАЗЪЕМНОЕ ДЛЯ АНТИБЛОКИРОВОЧНОЙ СИСТЕМЫ ТОРМОЗОВ
ОСНОВНЫЕ РАЗМЕРЫ. ТЕХНИЧЕСКИЕ ТРЕБОВАНИЯ.
МЕТОДЫ ИСПЫТАНИЙ. УКАЗАНИЯ ПО УСТАНОВКЕ
НА ТРАНСПОРТНЫХ СРЕДСТВАХ
Brake anti-lock device connection.
Main dimensions. Technical requirements and test.
Arrangement of the connection on the vehicles
ГОСТ Р 50643-94
Группа Е71
ОКП 45 1400
Дата введения
1 января 1995 года
Предисловие
1. Разработан и внесен Техническим комитетом ТК 56 "Дорожный транспорт".
2. Утвержден и введен в действие Постановлением Госстандарта России от 16.02.1994 N 31.
3. В настоящем стандарте полностью учтены все показатели и требования международного стандарта ИСО 7638-85 "Дорожный транспорт. Разъемное соединение для антиблокировочного устройства".
4. Введен впервые.
1. ОБЛАСТЬ ПРИМЕНЕНИЯ
Настоящий стандарт распространяется на разъемные соединения, предназначенные для соединения электрических цепей антиблокировочной системы тормозов тягачей с электрическими цепями антиблокировочной системы тормозов буксируемых ими прицепов.
Все требования стандарта являются обязательными.
Обязательные требования к разъемным соединениям антиблокировочной системы тормозов, обеспечивающие их безопасность для жизни, здоровья и имущества населения, охраны окружающей среды, изложены в 5.4 - 5.14, 5.16 и 5.17.
2. НОРМАТИВНЫЕ ССЫЛКИ
В настоящем стандарте использованы ссылки на следующие стандарты:
- ГОСТ 3940-84 Электрооборудование автотракторное. Общие технические условия;
ИС МЕГАНОРМ: примечание.
Взамен ГОСТ 14254-80 Постановлением Госстандарта России от 18.10.1996 N 601 с 1 января 1997 года введен в действие ГОСТ 14254-96.
- ГОСТ 14254-80 Изделия электротехнические. Оболочки. Степени защиты. Обозначения. Методы испытаний.
3. ТЕРМИНЫ, ПРИМЕНЯЕМЫЕ В НАСТОЯЩЕМ СТАНДАРТЕ
3.1. Парковочная розетка - розетка, в которую вставляется вилка после отсоединения ее от рабочей розетки для защиты от повреждения во время стоянки.
3.2. Эжектор - специальное устройство в вилке разъема, автоматически разъединяющее разъем при открывании замка.
3.3. Замок - механическое приспособление для удержания вилки от разъединения из розетки в замкнутом положении и освобождении ее в случае отрыва прицепа от тягача.
3.4. АБС - антиблокировочная система тормозов.
4. ОСНОВНЫЕ РАЗМЕРЫ
4.1. Основные размеры вилки, розетки и парковочной розетки должны соответствовать указанным на рисунках 1 - 3.
1 - прокладка
Рисунок 1
Примечания
1. Вилка должна быть снабжена пятью гнездами (контакты 1 - 5).
2. Размер (28,9 +/- 0,3) мм обеспечен толщиной прокладки 1.
1 - прокладка 2; 2 - прокладка 3; 3 - эжектор
Рисунок 2
Примечания
1. Розетка должна быть снабжена пятью штырями (контакты 1 - 5).
2. Размер (17,9 +/- 0,2) мм обеспечен толщиной прокладки 2.
3. Прокладки 2 и 3 должны быть установлены так, чтобы они не могли выпасть.
1 - прокладка 4; 2 - прокладка 5
Рисунок 3
Примечания
1. Размер (17,9 +/- 0,2) мм обеспечен толщиной прокладки 5.
2. Прокладки 4 и 5 должны быть установлены так, чтобы они не могли выпасть.
5. ТЕХНИЧЕСКИЕ ТРЕБОВАНИЯ
5.1. Разъемные соединения АБС следует изготовлять в соответствии с требованиями настоящего стандарта, ГОСТ 3940, по конструкторской документации, утвержденной в установленном порядке.
5.2. Назначение контактов, приведенных на рисунках 1 и 2, их допустимая токовая нагрузка и площадь сечения провода, подсоединяемого к хвостовику штыря и гнезда, должны соответствовать таблице 1.
Таблица 1
Обозначение контакта
Функция соединения
Допустимая токовая нагрузка, А
Площадь сечения проводника, мм2
1
Плюс, электроклапаны
2 (30 <*>)
6 или 2 x 2,5
2
Положительный вывод
2
1,5
3
Отрицательный вывод
2
1,5
4
Минус, электроклапаны
2 (30 <*>)
6 или 2 x 2,5
5
Предупредительная сигнализация
2 (24 В)
1,5
6
Свободный <**>
2 (30 <*>)
6 или 2 x 2,5
7
Свободный <**>
2 (30 <*>)
6 или 2 x 2,5
<*> Максимальный допустимый кратковременный ток.
<**> Контакты 6 и 7 не заняты. Соответствующие отверстия для размещения контактов 6 и 7 в вилке и розетке должны быть закрыты втулками со стороны соединения.
5.3. Розетки АБС должны быть снабжены крышками, которые автоматически закрываются при отсоединении вилки. Минимальный угол открывания - 120°.
5.4. Элементы вилки должны выдерживать статическую нагрузку не менее 500 Н.
5.5. Разъемное соединение с закрытым замком должно выдерживать растягивающее усилие не менее 1500 Н.
5.6. Усилие соединения и разъединения розетки и вилки должно быть не менее 5 Н и не более 15 Н, без учета усилия эжектора и усилия запирания замка.
5.7. Усилие эжектора должно быть не менее 35 Н и не более 75 Н, включая изменение усилия в зависимости от хода пружины эжектора.
5.8. Усилие запирания замка должно быть не более 160 Н.
5.9. Контакты 1 - 4 разъемного соединения должны выдерживать нагрузку постоянным током 25 А.
5.10. Падение напряжения на разъемном соединении не должно превышать следующих значений при токе 10 А:
3,0 мВ/А - между штырем и соответствующим гнездом;
0,5 мВ/А - между контактом и точкой, находящейся на расстоянии 10 мм от контакта на соединительном проводе.
5.11. Изоляция между контактами и между каждым контактом и корпусом (если он металлический) должна выдерживать без повреждений воздействие практически синусоидального переменного тока частотой 50 Гц эффективным напряжением 1000 В в течение 1 мин.
5.12. Разъемные соединения должны сохранять работоспособность после воздействия циклических температур.
5.13. Пружина должна удерживать крышку розетки и парковочной розетки в закрытом положении после испытаний на вибрацию.
5.14. Разъемные соединения должны выдерживать вибрационные нагрузки - по ГОСТ 3940.
5.15. Защита от коррозии разъемного соединения - по ГОСТ 3940.
ИС МЕГАНОРМ: примечание.
Взамен ГОСТ 14254-80 Постановлением Госстандарта России от 18.10.1996 N 601 с 1 января 1997 года введен в действие ГОСТ 14254-96.
5.16. Степень защиты разъемных соединений - IP65 по ГОСТ 14254.
5.17. Разъемные соединения должны выдерживать 20000 механических циклов соединений со скоростью (500 +/- 100) мм/мин.
6. МЕТОДЫ ИСПЫТАНИЙ
6.1. Методы испытаний разъемных соединений - по ГОСТ 3940 и настоящему стандарту.
6.2. Проверку соответствия разъемных соединений требованиям 4.1 и 5.2 следует проводить внешним осмотром.
6.3. Испытанию по 5.4 следует подвергать каждый наружный элемент вилки. К вилке должна быть приложена вертикальная статическая нагрузка.
После проведения испытаний не должно быть никаких видимых трещин и деформаций.
6.4. Испытание разъемного соединения по 5.5 проводят следующим образом. К вилке, соединенной с розеткой и с закрытым замком, должна быть приложена нагрузка вдоль оси соединения. Усилие, необходимое для вырыва вилки из розетки, определяют как усилие удержания замка.
6.5. Усилия по 5.6 соединения и разъединения вилки и розетки измеряют вдоль оси соединения при первом соединении и первом разъединении. До проведения испытания эжектор приводят в нерабочее состояние.
6.6. Усилия по 5.7 измеряют вдоль оси перемещения эжектора по всему ходу.
6.7. Усилия по 5.8 измеряют касательно к радиусу из точки вращения рычага замка при соединении и разъединении.
6.8. Требования 5.9 считают выполненными, если превышение температуры каждого контакта, измеренное как можно ближе к изоляции, не превышает 20 °C. При этом через каждый контакт, к которому подсоединен провод длиной 1 м и площадью сечения 6 мм2 или 2 x 2,5 мм2, поочередно должен проходить постоянный ток 25 А в течение 30 мин.
6.9. Падение напряжения по 5.10 измеряют на десятом соединении.
6.10. Испытание изоляции на пробивное напряжение по 5.11 проводят отдельно на розетке и вилке.
6.11. Испытание разъемных соединений по 5.12 проводят следующим образом. Разъемное соединение помещают в термостат, в котором заранее установлена и поддерживается температура (80 +/- 2) °C, в течение 1 ч.
После извлечения из термостата и охлаждения разъемного соединения при температуре окружающего воздуха в течение 1 ч его помещают в холодильную камеру при температуре минус (60 +/- 3) °C на 1 ч.
После извлечения из холодильной камеры и прогрева до температуры окружающей среды в течение 1 ч разъемные соединения должны соответствовать требованиям 5.6 и 5.11.
6.12. Испытания по 5.13 проводят на специальном стенде, на котором розетки закрепляют в рабочем положении. Вибростенд должен создавать практически синусоидальные колебания в направлении оси действия усилия пружины крышек в диапазоне частот 20 - 200 Гц и ускорением 50 м/с2.
После испытаний крышки розеток должны плотно прилегать к корпусу.
6.13. Для испытания по 5.14 розетку крепят на столе вибростенда в рабочем положении. К вилке, соединенной с розеткой, подсоединен гибкий жгут проводов, рабочая длина которого около 4,5 м. Жгут проводов закреплен вне вибростенда на расстоянии 1 м от вилки. Методика испытаний - по ГОСТ 3940.
После испытаний разъемные соединения должны соответствовать требованиям 5.16.
Разъемные соединения считают годными, если усилие и падение напряжения составляют не более 50% установленных значений, указанных в 5.6 и 5.10.
6.14. Испытанию по 5.15 следует подвергать следующие сборочные единицы:
- вилка, соединенная с розеткой;
- вилка, соединенная с парковочной розеткой;
- розетка с закрытой крышкой.
Испытания проводят в соответствии с ГОСТ 3940 в течение 48 ч.
После испытания на разъемных соединениях не должно быть никаких видимых следов коррозии.
6.15. Испытания по 5.17 проводят на разъемном соединении без проводов. Испытания проводят без электрической нагрузки по следующему механическому циклу:
- открыть крышку розетки;
- соединить вилку с розеткой;
- запереть и отпереть замок;
- разъединить вилку и розетку;
- закрыть крышку розетки.
После испытаний разъемные соединения считаются годными, если усилие и падение напряжения составляют не более 50% установленных значений, указанных в 5.6 и 5.10.
7. УКАЗАНИЯ ПО УСТАНОВКЕ НА ТРАНСПОРТНЫХ СРЕДСТВАХ
7.1. Вилка должна быть расположена на кабельной части соединителя (см. рисунок 4).
Рисунок 4
Если кабель с вилкой связан с буксирующим транспортным средством с помощью кабеля-удлинителя, то необходимо предусмотреть устройство, исключающее возможность самопроизвольного отсоединения кабеля.
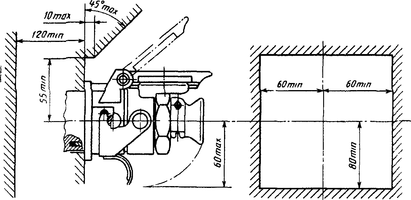
7.2. Установка розетки и вилки и свободное пространство вокруг розетки должны соответствовать рисунку 5.
Рисунок 5
7.3. О неисправности АБС на прицепе должна предупреждать сигнальная лампа, расположенная на приборной панели автомобиля-тягача. Для этой цепи электрический провод, подсоединенный к контакту 5 соединения прицепа, должен быть соединен с контактом предупредительной сигнализации. Этот контакт должен быть нормально разомкнут в рабочем положении, а в случае неисправности АБС должен быть замкнут на минус (см. рисунок 6).
Рисунок 6
Чтобы проверить правильность работы системы, предупредительная сигнализация должна загораться при каждом пуске двигателя и затем гаснуть.