Главная // Актуальные документы // ГОСТ Р (Государственный стандарт)СПРАВКА
Источник публикации
М.: Стандартинформ, 2007
Примечание к документу
Документ
введен в действие с 1 января 2008 года.
Название документа
"ГОСТ Р ИСО 14644-7-2007. Национальный стандарт Российской Федерации. Чистые помещения и связанные с ними контролируемые среды. Часть 7. Изолирующие устройства (укрытия с чистым воздухом, боксы перчаточные, изоляторы и мини-окружения)"
(утв. и введен в действие Приказом Ростехрегулирования от 29.06.2007 N 157-ст)
"ГОСТ Р ИСО 14644-7-2007. Национальный стандарт Российской Федерации. Чистые помещения и связанные с ними контролируемые среды. Часть 7. Изолирующие устройства (укрытия с чистым воздухом, боксы перчаточные, изоляторы и мини-окружения)"
(утв. и введен в действие Приказом Ростехрегулирования от 29.06.2007 N 157-ст)
Утвержден и введен в действие
Приказом Федерального
агентства по техническому
регулированию и метрологии
от 29 июня 2007 г. N 157-ст
НАЦИОНАЛЬНЫЙ СТАНДАРТ РОССИЙСКОЙ ФЕДЕРАЦИИ
ЧИСТЫЕ ПОМЕЩЕНИЯ И СВЯЗАННЫЕ С НИМИ КОНТРОЛИРУЕМЫЕ СРЕДЫ
ЧАСТЬ 7
ИЗОЛИРУЮЩИЕ УСТРОЙСТВА (УКРЫТИЯ С ЧИСТЫМ ВОЗДУХОМ,
БОКСЫ ПЕРЧАТОЧНЫЕ, ИЗОЛЯТОРЫ И МИНИ-ОКРУЖЕНИЯ)
Cleanrooms and associated controlled environments. Part 7.
Separative devices (clean air hoods, gloveboxes, isolators
and mini-environments)
ISO 14644-7:2004
Cleanrooms and associated controlled environments - Part 7:
Separative devices (clean air hoods, gloveboxes, isolators
and mini-environments)
(IDT)
ГОСТ Р ИСО 14644-7-2007
Группа Т58
94 1000
Дата введения
1 января 2008 года
Цели и принципы стандартизации в Российской Федерации установлены Федеральным
законом от 27 декабря 2002 г. N 184-ФЗ "О техническом регулировании", а правила применения национальных стандартов Российской Федерации -
ГОСТ Р 1.0-2004 "Стандартизация в Российской Федерации. Основные положения".
1. Подготовлен Общероссийской общественной организацией "Ассоциация инженеров по контролю микрозагрязнений" (АСИНКОМ) на основе собственного аутентичного перевода стандарта, указанного в пункте 4.
2. Внесен Техническим комитетом по стандартизации ТК 184 "Обеспечение промышленной чистоты".
3. Утвержден и введен в действие
Приказом Федерального агентства по техническому регулированию и метрологии от 29 июня 2007 г. N 157-ст.
4. Настоящий стандарт идентичен международному стандарту ИСО 14644-7:2004 "Чистые помещения и связанные с ними контролируемые среды. Часть 7. Изолирующие устройства (укрытия с чистым воздухом, боксы перчаточные, изоляторы и мини-окружения)" (ISO 14644-7:2004 "Cleanrooms and associated controlled environments - Part 7: Separative devices (clean air hoods, gloveboxes, isolators and mini-environments").
При применении настоящего стандарта рекомендуется использовать вместо ссылочных международных стандартов соответствующие им национальные стандарты, сведения о которых приведены в дополнительном
Приложении G.
5. Введен впервые.
Информация об изменениях к настоящему стандарту публикуется в ежегодно издаваемом информационном указателе "Национальные стандарты", а текст изменений и поправок - в ежемесячно издаваемых информационных указателях "Национальные стандарты". В случае пересмотра (замены) или отмены настоящего стандарта соответствующее уведомление будет опубликовано в ежемесячно издаваемом информационном указателе "Национальные стандарты". Соответствующая информация, уведомление и тексты размещаются также в информационной системе общего пользования - на официальном сайте Федерального агентства по техническому регулированию и метрологии в сети Интернет.
Понятие "изолирующие устройства", предложенное техническим комитетом ИСО/ТК 209, включает в себя большую группу разнообразных устройств - от открытых, не ограничивающих движение воздуха, до полностью закрытых систем. Общие термины, такие как укрытия с чистым воздухом, боксы перчаточные, изоляторы и мини-окружения, имеют различный смысл в зависимости от области применения.
Особенности производства некоторых продуктов или материалов и работы с ними обусловили создание изолирующих устройств. Эти особенности включают в себя чувствительность продуктов к частицам, химическим веществам, газам или микроорганизмам; чувствительность оператора к рабочим материалам или сопутствующим продуктам, а также чувствительность как продукта, так и оператора одновременно.
Изолирующие устройства обеспечивают надежную защиту различного уровня путем создания физических или динамических барьеров или тех и других одновременно, обеспечивая разделение процесса и оператора. Некоторые процессы могут потребовать создания специальных условий окружающей среды, чтобы предотвратить возникновение опасной ситуации или взрыва. Некоторые системы могут обеспечивать 100%-ную рециркуляцию в замкнутом контуре атмосферы для работы в среде инертного газа или для дезинфекции с помощью газообразных дезинфицирующих средств.
Обычно в процессе производства люди не находятся внутри изолирующего устройства. Изолирующие устройства могут быть передвижными или стационарными, а также могут использоваться для транспортирования в качестве передаточных устройств. Работа с продуктом или проведение процесса могут осуществляться через устройства доступа как вручную с использованием защитной барьерной технологии в виде разделяющих систем (например, перчаток и полукостюмов), так и с помощью автоматических систем.
Определение чистоты воздуха и методы контроля, приведенные в ИСО 14644-1, ИСО 14644-2 и ИСО 14644-3, в целом применимы и для внутренней среды изолирующих устройств. При работах с биологическими загрязнениями следует использовать ИСО 14698-1 и ИСО 14698-2. Однако для некоторых работ в особых условиях могут понадобиться специальные требования к мониторингу. Эти особые условия рассмотрены в настоящем стандарте.
В настоящем стандарте рассмотрены также передаточные устройства для перемещения материалов внутрь изолирующих устройств и наружу и транспортные контейнеры для передачи материалов из одного изолирующего устройства в другое.
Проектирование и монтаж чистых помещений, включая общие принципы построения чистых зон, приведены в ИСО 14644-4. В ИСО 14644-4 (рисунок A.4) показана аэродинамическая картина, или распределение воздуха, в широко распространенных специальных изолирующих устройствах, называемых укрытиями с чистым воздухом или мини-окружениями. Мини-окружения часто используются в электронной промышленности с транспортными контейнерами (боксами) для обеспечения процессов с очень высокими требованиями к чистоте. Применение барьерной технологии в виде изолирующих устройств (изоляторов) приведено в ИСО 14644-4 (рисунок A.5). Изолирующие устройства, часто называемые боксами перчаточными, изолирующими устройствами (герметичными устройствами) или изоляторами, используются в медицинской и атомной промышленности для защиты оператора и процесса. Изоляторы могут иметь жесткие или гибкие ограждения в зависимости от назначения. В библиографии приведены специфические для отдельных областей применения ссылки. Основополагающим принципом является постоянное разделение процесса и оператора. Это разделение может иметь разные формы: от полностью открытых до полностью изолированных систем в зависимости от назначения. Сплошная изоляция осуществляется в герметичных устройствах.
Применение изолирующих устройств не ограничивается отдельной отраслью промышленности. Эти технологии используются во многих областях применения, предъявляющих специальные требования. Настоящий стандарт дает общие подходы к формулированию этих требований.
Международный стандарт ИСО 14644-7 подготовлен Техническим комитетом ИСО/ТК 209 "Чистые помещения и связанные с ними контролируемые среды".
Международный стандарт ИСО 14644 состоит из следующих частей:
- Часть 1. Классификация чистоты воздуха;
- Часть 2. Требования к контролю и мониторингу для подтверждения постоянного соответствия ИСО 14644-1;
- Часть 3. Методы испытаний;
- Часть 4. Проектирование, строительство и ввод в эксплуатацию;
- Часть 5. Эксплуатация;
- Часть 6. Термины и определения;
- Часть 7. Изолирующие устройства (укрытия с чистым воздухом, боксы перчаточные, изоляторы и мини-окружения);
- Часть 8. Классификация молекулярных загрязнений в воздухе.
Настоящий стандарт устанавливает минимальные требования к расчету, конструированию, монтажу, испытаниям и приемке изолирующих устройств. Эти требования отражают специфику изолирующих устройств, отличающих их от чистых помещений, требования к которым установлены в ИСО 14644-4 и ИСО 14644-5.
При применении настоящего стандарта требования, касающиеся назначения, должны быть согласованы заказчиком и поставщиком.
Настоящий стандарт не рассматривает:
- специальные требования, относящиеся к конкретной области применения;
- специфические процессы, выполняемые в изолирующем устройстве;
- вопросы противопожарной безопасности, общие правила техники безопасности и пр.
При необходимости используются другие нормативные документы.
Настоящий стандарт не распространяется на полностью изолированные комбинезоны.
В настоящем стандарте использованы ссылки на следующие стандарты:
ИСО 10648-2:1994. Оболочки защитные ядерных реакторов. Часть 2. Классификация в зависимости от герметичности и соответствующие методы контроля
ИСО 14644-1:1999. Чистые помещения и связанные с ними контролируемые среды. Часть 1. Классификация чистоты воздуха
ИСО 14644-2:2000. Чистые помещения и связанные с ними контролируемые среды. Часть 2. Требования к контролю и мониторингу для подтверждения постоянного соответствия ИСО 14644-1
ИСО 14644-3:2002. Чистые помещения и связанные с ними контролируемые среды. Часть 3. Методы контроля
ИСО 14644-4:2001. Чистые помещения и связанные с ними контролируемые среды. Часть 4. Проектирование, строительство и ввод в эксплуатацию
ИСО 14698-1:2003. Чистые помещения и связанные с ними контролируемые среды. Контроль биозагрязнений. Часть 1. Общие принципы и методы
ИСО 14698-2:2003. Чистые помещения и связанные с ними контролируемые среды. Контроль биозагрязнений. Часть 2. Анализ данных о биозагрязнениях.
В настоящем стандарте применены термины и определения, приведенные в ИСО 14644-1, ИСО 14644-2 и ИСО 14644-4, а также следующие термины с соответствующими определениями:
3.1. Устройство доступа (access device): устройство для управления процессами, инструментами или работы с продуктами внутри изолирующего устройства.
3.2. Уровень действия (action level): значение контролируемого параметра, установленное пользователем, при достижении которого требуются немедленные действия, включая расследование и устранение причин.
3.3. Уровень предупреждения (alert level): значение контролируемого параметра, установленное пользователем с целью раннего предупреждения о тенденции отклонения параметров от установленных значений, при превышении которых требуется усиленный контроль за процессом.
3.4. Барьер (barrier): средство, обеспечивающее разделение.
3.5. Скорость отсечения (breach velocity): скорость воздуха в отверстии, достаточная для предотвращения движения вещества в направлении, обратном потоку воздуха.
3.6. Изоляция (containment): состояние, достигаемое в изолирующем устройстве с высокой степенью разделения между процессом и оператором.
3.7. Дезинфекция (стерилизация) (decontamination): уменьшение концентрации нежелательных веществ до определенного уровня.
3.8. Удлиненная перчатка (перчатка с рукавом) (gauntlet): перчатка, образующая единое целое с рукавом длиной до локтя.
3.9. Перчатка (glove): часть устройства доступа, обеспечивающая эффективный барьер при манипуляции руками оператора в замкнутом пространстве изолирующего устройства.
3.10. Перчаточный порт (glove port): сторона устройства доступа, предназначенная для крепления перчаток, рукавов или удлиненных перчаток.
3.11. Перчаточно-рукавная система (glove sleeve system): многокомпонентное устройство доступа, обеспечивающее эффективный барьер при замене рукава, манжеты и перчатки.
3.12. Полукостюм (half-suit): устройство доступа, позволяющее голове, туловищу и рукам оператора находиться в рабочем пространстве изолирующего устройства.
3.13. Часовая интенсивность утечки

(hourly leak rate): отношение часовой утечки q изолированного объема при нормальных рабочих условиях (давлении и температуре) к объему V данного замкнутого пространства.
Примечание. Эта величина выражается в обратных часах

[ИСО 10648].
3.14. Утечка (leak): дефект, обнаруживаемый в изолирующих устройствах при испытаниях с перепадом давления по отношению к атмосферному давлению.
3.15. Целостность под давлением (pressure integrity): способность обеспечить оцениваемую в количественном выражении скорость утечки под давлением, воспроизводимую при испытаниях.
3.16. Показатель разделения

(separation descriptor): числовой показатель, характеризующий различие в классах чистоты между двумя зонами при определенных условиях испытаний, где:
A - класс чистоты внутри устройства по ИСО 14644-1;
a - размер частиц, по которым определен класс A;
B - класс чистоты снаружи устройства по ИСО 14644-1;
b - размер частиц, по которым определен класс B.
3.17. Изолирующее устройство (separative device): устройство, имеющее конструктивные и динамические средства для создания надежного разделения между внутренним и внешним пространствами по отношению к определенному объему.
Примечание. Примерами некоторых промышленных изолирующих устройств являются устройства с чистым воздухом, герметичные устройства, боксы перчаточные, изоляторы и мини-окружения.
3.18. Передаточное устройство (transfere device): устройство, позволяющее перемещать материал внутрь или наружу изолирующего устройства с уменьшением риска попадания нежелательного вещества внутрь изолирующего устройства или выхода наружу.
Заказчик и поставщик должны определить, согласовать и документально оформить следующие данные и требования:
a) ссылку на настоящий стандарт с указанием его номера и даты утверждения;
b) функции других лиц и организаций, имеющих отношение к проекту (например, консультантов проектных и обслуживающих организаций, надзорных органов);
c) основное назначение оборудования, выполняемые операции и любые ограничения, обусловленные технологическими требованиями (например, требованиями к совместимости материалов, наличию остатков и отходов);
d) надежность и готовность;
e) метод анализа рисков (при необходимости);
Примечание. Могут использоваться методы HACCP, HAZOP, FMEA, FTA
[23] или аналогичные им.
f) классы чистоты и другие требования по ИСО 14644-1 и ИСО 14644-2. При необходимости следует учитывать молекулярные загрязнения в воздухе
[18],
[19];
g) состояние (построенное, оснащенное, эксплуатируемое);
h) показатель разделения (при необходимости)
[25];
i) контроль перепада давления (при его наличии) и при необходимости в некоторых случаях аварийную сигнализацию;
j) заданную часовую интенсивность утечки (при необходимости); пример методики приведен в
Приложении E;
k) другие параметры:
1) контрольные точки,
2) уровни тревоги и действия для обеспечения надежной работы,
3) методы контроля;
l) концепцию контроля загрязнений, включающую в себя этап установки оборудования, рабочее состояние и показатели эффективности;
m) методы контроля, точки отбора проб и порядок оформления документации;
n) порядок перемещения изолирующих устройств и соответствующих материалов, оборудования и персонала в контролируемое пространство и из него в процессе:
1) монтажа;
2) приемки (аттестации);
3) эксплуатации;
4) технического обслуживания;
o) объемно-планировочные решения устройства;
p) ограничения на размеры, массу и нагрузки, включающие в себя ограничения имеющихся помещений;
q) технологические требования, которые могут оказать влияние на монтаж;
r) перечень оборудования с требованиями к технологическим средам;
s) требования к техническому обслуживанию;
t) ответственность за подготовку, приемку (аттестацию), эксплуатацию, надзор, ведение документации, критерии оценки, подготовку исходных данных для проектирования, изготовления, испытания, обучения, комиссионную приемку (аттестацию), проведение испытаний и оформление их результатов;
u) оценку влияния окружающей среды;
v) дополнительную информацию и требования для специальных областей применения (см. разделы 5,
6,
7 и
8);
w) соответствие другим нормативным документам.
5. Разработка и изготовление
5.1. При разработке изолирующих устройств следует учитывать действующие нормы. В состав конструкторской документации должны входить требования к контролю изолирующего устройства.
5.2. Изолирующее устройство должно обеспечивать защиту процесса, оператора или иного объекта от загрязнения при заданных условиях эксплуатации.
5.3. Следует определять метод разделений (см.
Приложение A). При необходимости следует учитывать показатель разделения. Следует также учитывать риск концентрированных утечек.
5.4. Следует указывать на возможные неисправности и давать инструкции по работе изолирующего устройства с учетом вспомогательных систем (см.
Приложение B).
5.5. Следует обращать внимание на устройства доступа и передаточные устройства (см.
Приложения C и
D).
5.6. Изолирующие устройства должны быть эргономичными и должны предусматривать легкий доступ ко всем внутренним поверхностям и рабочим зонам с учетом технологии работы.
5.7. Число устройств доступа должно быть минимальным. Их размеры должны быть минимальными с учетом технологических требований, а также требований к очистке и обслуживанию (см.
раздел 6).
5.8. Следует определять перепад давления при эксплуатации и методы его контроля.
5.9. При необходимости следует учитывать часовую интенсивность утечки (см.
Приложение A).
5.10. Следует учитывать возможное влияние потока воздуха, вибрации, перепада давлений и других факторов на целостность и функционирование изолирующего устройства.
5.12. При конструировании изолирующих устройств необходимо предусматривать средства очистки или дезинфекции (стерилизации), включая возможное удаление приспособлений и их компонентов.
5.13. Следует предусматривать встроенные устройства для контроля и соответствующие сигнальные устройства.
5.14. Передаточные устройства должны соответствовать требованиям технологического процесса и проводимым операциям.
5.15. Фильтрация должна соответствовать требованиям назначения.
5.16. Расход воздуха должен соответствовать требованиям назначения.
5.17. При необходимости вытяжной воздух следует подвергать обработке.
5.18. Элементы, требующие обслуживания, следует, по возможности, размещать снаружи изолирующего устройства.
5.19. Материалы, используемые в конструкции изолирующего устройства, включая герметизирующие материалы, вентиляторы, вентиляционные системы, трубопроводы и арматуру, должны быть химически и механически совместимы с процессами, для которых предназначены изолирующие устройства, с обрабатываемыми в них материалами, а также применяемыми методами дезинфекции (стерилизации). Необходимо предусматривать меры против коррозии и разрушения в период продолжительной эксплуатации. При необходимости следует учитывать тепловое сопротивление и огнестойкость (см.
Приложение B), а также следует проверять тепловые характеристики применяемых материалов, сорбционные свойства и способность газовыделения. Материалы, выбранные для смотровых панелей, должны быть испытаны, также должно быть доказано, что они остаются прозрачными и способными противостоять факторам, вызывающим снижение прозрачности.
Устройства доступа предназначены для управления процессами, работой с продуктами или инструментами внутри изолирующего устройства. Работы могут проводиться вручную или с помощью автоматических устройств.
6.2.1. Устройства для ручного управления
Устройства для ручного управления состоят:
a) из перчаток;
b) перчаточной системы (например, рукавов, колец манжет, перчаток);
c) полукостюмов или аналогичных устройств, обеспечивающих доступ к рабочей зоне изолирующего устройства;
d) устройства для операций с удаленными элементами (за пределами непосредственной досягаемости).
Полный защитный костюм следует использовать в соответствии с требованиями соответствующих стандартов.
По возможности следует применять такие средства ручного управления, которые позволяют уменьшить число отверстий в корпусе изолирующего устройства.
6.2.2. Перчатки, перчаточные системы, полукостюмы
6.2.2.1. Перчатки, перчаточные системы и полукостюмы являются гибкими изолирующими устройствами доступа. Следует предусматривать возможность замены перчаток без нарушения целостности изолирующего устройства (см.
Приложение C). Ввиду того, что эффективность этих средств для защиты от молекулярных загрязнений может быть недостаточна, следует применять специальные меры в подобных случаях.
6.2.2.2. Перчаточные порты и кольцевые крепления манжет должны легко заменяться, а также обеспечивать удобство контроля тестирования целостности конструкции и безопасности выполнения.
6.2.2.3. При выборе материалов перчаток, перчаточных рукавов и полукостюмов необходимо учитывать следующие факторы, имеющие важное значение в обеспечении изоляции:
a) материалы и инструменты, используемые внутри изолирующего устройства;
b) допустимые пределы измерения температуры для материалов перчаток;
c) допустимую водопроницаемость;
d) химическую стойкость или механическую прочность либо то и другое;
e) сорбционные и десорбционные свойства в отношении химических веществ;
f) срок годности при хранении и эксплуатации;
g) перепады давления, включая отклонения в переходных режимах (нормальные и анормальные давления);
h) операции, для проведения которых предназначено изолирующее устройство.
6.2.3. Дистанционное управление
Системы дистанционного управления, предназначенные для специальных работ, состоят из механических или иных средств (сервоприводов), расположенных между руками оператора и механическими системами внутри изолирующего устройства для выполнения манипуляций.
6.3. Роботизированные системы
Роботизированные системы, предназначенные для манипуляции с материалами специального назначения, предусматривают использование автоматических систем.
7. Передаточные устройства
Передаточные устройства не должны ухудшать характеристики изолирующего устройства. В отдельных случаях передаточные устройства становятся критическим элементом для поддержания чистоты изолирующего устройства или чистоты процесса. Некоторые передаточные устройства используются как независимые изолирующие устройства.
Выбор передаточного устройства должен соответствовать требуемому уровню изоляции. Часовая интенсивность утечки передаточного устройства не должна превышать часовую интенсивность утечки самого изолирующего устройства. Передаточное устройство должно снижать риск попадания посторонних веществ. Описание возможных типов передаточных устройств приведено в
Приложении D (представленные примеры имеют справочный характер).
Передаточное устройство должно иметь блокировку, исключающую доступ в изолирующее устройство при отключении электроэнергии.
8.1. Класс чистоты помещения, в котором располагается изолирующее устройство, зависит от его назначения, конструкции и выполняемых в нем операций (см. ИСО 14644-4).
8.2. При установке изолирующего устройства необходимо учитывать следующие факторы:
a) класс чистоты помещения (см. ИСО 14644-1);
b) требования эргономики;
c) порядок технического обслуживания;
d) токсичность материалов;
e) все виды технологических опасностей;
f) опасность появления побочных продуктов;
g) возможность перекрестной контаминации;
h) удаление отходов;
i) все нормативные требования к изолирующим устройствам.
9.1.1. Выбор метода испытаний зависит от места расположения, конструкции, формы и назначения изолирующего устройства.
9.1.2. Если системы приточной и вытяжной вентиляции являются неотъемлемой частью изолирующего устройства, то они также должны подлежать контролю.
9.1.3. Если чистота воздуха в изолирующем устройстве не регламентируется ИСО 14644-1, то следует предусматривать иные методы испытаний.
Пример 1 - Определение молекулярных загрязнений
[18],
[19].
Пример 2 - Определение загрязнений поверхностного загрязнения частицами
[30].
9.1.4. В некоторых условиях или при наличии определенных видов веществ (например, если в помещении находятся порошки или материалы, выделяющие газы, или их сочетание) невозможно проводить подсчет частиц во время проведения процесса. Могут потребоваться другие методы отбора проб для определения уровня загрязнения внутри изолирующего устройства, например до начала или после проведения операции (но в эксплуатируемом состоянии).
9.1.5. В небольших изолирующих устройствах существует риск нарушения режима поддержания давления или их частичного аэрозольного биозагрязнения при отборе проб, если расход воздуха через пробоотборник близок к расходу воздуха, создаваемому системой вентиляции изолирующего устройства.
9.1.6. Контролируемые параметры должны быть согласованы между заказчиком и поставщиком.
9.1.7. Изолирующие устройства и вспомогательное оборудование для проведения испытаний, а также правила приемки должны соответствовать ИСО 14644-1 - ИСО 14644-4. В приложениях к настоящему стандарту приведены необходимые рекомендации.
9.2. Скорость потока воздуха при открытом перчаточном порте
При необходимости скорость потока воздуха при открытом перчаточном порте может быть определена с помощью анемометра, расположенного в центре порта. Значение скорости потока воздуха должно быть согласовано между заказчиком и поставщиком (рекомендуемая скорость - 0,5 м/с).
9.3.1. Перепад давлений следует определять как в оснащенном, так и в эксплуатируемом состояниях.
9.3.2. Если эффективность изолирующего устройства зависит от перепада давления, то необходимо обеспечивать непрерывный контроль перепада давления и предусмотреть аварийную сигнализацию.
9.4.1. При необходимости следует проводить испытания на утечку (см.
Приложения E и
F).
Примечание. Контроль целостности некоторых изолирующих устройств, которые в закрытом состоянии работают при атмосферном давлении (менее 1000 Па), требует тщательного подхода и применения чувствительных приборов, позволяющих определить очень малые утечки.
9.4.2. По возможности следует применять метод утечек внутрь (см.
Приложение E).
Примечание. Утечка внутрь имеет место, если скорость потока через неплотности возникает за счет разрежения и создает обратный поток через отверстия (эффект Вентури). В устройства, работающие при пониженном давлении, могут попадать загрязнения. Подобно этому в устройствах, работающих при избыточном давлении, или в которые подается воздух для предотвращения попадания внутрь нежелательных веществ, может возникать риск проникновения загрязнений снаружи (например, через перчаточные системы).
9.5. Периодический контроль
9.5.1. Контроль изолирующих устройств следует проводить в соответствии с 9.5.2 и 9.5.3 и ИСО 14644-1, ИСО 14644-2, ИСО 14698-1 и ИСО 14698-2.
9.5.2. Методы контроля определяются назначением устройства и применяемыми приборами. Следует проводить текущий контроль и регистрировать его результаты для выполнения профилактических работ.
9.5.3. Следует проводить:
a) контроль полукостюмов (перчаток):
1) при приемке устройства,
2) до и после завершения работы,
3) после замены перчаток или нарукавников;
b) контроль под давлением:
1) при приемке устройства,
2) при любых изменениях расхода воздуха и сопротивления фильтра,
3) после проведения обслуживания, влияющего на ограждающие конструкции устройств или приборы контроля давления;
c) контроль утечек внутрь при приемке;
d) испытание приборов и системы аварийной сигнализации:
1) при приемке устройства,
2) после проведения обслуживания, влияющего на системы контроля,
3) с периодичностью, устанавливаемой изготовителем оборудования,
4) в определенные периоды в соответствии с технологическими и эксплуатационными требованиями.
(справочное)
КОНЦЕПЦИЯ РАЗДЕЛЕНИЯ С ПОМОЩЬЮ ИЗОЛИРУЮЩИХ УСТРОЙСТВ
Для лучшего разделения внутреннего пространства определенного объема и внешней среды в изолирующем устройстве используются физические, аэродинамические методы или те и другие совместно.
Физическое разделение включает в себя применение твердых и гибких барьеров.
Аэродинамические методы включают в себя использование воздушных (газовых) потоков с фильтрацией и без нее. Надежность разделения увеличивается с ростом степени жесткости физического разделения (см. рисунок A.1).
Рисунок A.1. Иллюстрация эффективности разделения (изоляции)
в зависимости от используемых методов (от аэродинамических
до физических); сдвиг на схеме показывает приблизительную
характеристику эффективности
В
таблице A.1 приведены примеры наиболее распространенных типов изолирующих устройств в зависимости от их назначения. Однако нужно подчеркнуть, что между классами чистоты воздуха и способностью изолирующего устройства разделять сплошные среды нет прямой зависимости. Разделение характеризуется двумя параметрами - показателем разделения и часовой интенсивностью утечки (целостность конструкции, определяемая при избыточном давлении). Показатель разделения

используется в том случае, если нельзя использовать часовую интенсивность утечки
[25].
Таблица A.1
Средства и методы изоляции
┌────────────────┬───────────┬───────────────────┬────────────────────────┐
│Принцип изоляции│ Методы │ Характеристика │ Общепринятые │
│ │ │ устройства │ термины и синонимы │
├────────────────┼───────────┼───────────────────┼────────────────────────┤
│ Отсутствие │ Аэродина- │ Открытая зона │ Модуль чистого воздуха,│
│ограничения │мические │без штор и экранов.│зона с однонаправленным │
│перетекания │методы и │Оператор в обычной │потоком, укрытия │
│воздуха │фильтрация │одежде и перчатках │с чистым воздухом │
│ │ │для чистых │ │
│ │ │помещений может │ │
│ │ │находиться внутри │ │
│ │ │устройства для │ │
│ │ │проведения работы. │ │
│ │ │Чистая зона под │ │
│ │ │положительным │ │
│ │ │давлением │ │
├────────────────┼───────────┼───────────────────┼────────────────────────┤
│ Ограниченное │ Аэродина- │ Вход жестко │ Зона с однонаправленным│
│перетекание │мические и │ограничен шторами │потоком, укрытия │
│воздуха │физические │или фиксированными │с чистым воздухом, │
│ │ │стенками │укрытия с одно- │
│ │ │ │направленным потоком │
│ │ │ │воздуха, чистое │
│ │ │ │рабочее место │
├────────────────┼───────────┼───────────────────┼────────────────────────┤
│ Обычные системы│ Аэродина- │ Обычные │ Зона наполнения, │
│с ограждающими │мические и │конструкции; │туннель для наполнения │
│конструкциями, │физические │могут включать │ │
│не обеспечиваю- │ │устройство доступа │ │
│щими изоляцию │ │и передаточное │ │
│ │ │устройство │ │
├────────────────┼───────────┼───────────────────┼────────────────────────┤
│ Обычные системы│ Аэродина- │ Высокая степень │ Туннель для наполнения,│
│с ограждающими │мические и │физического │зона наполнения, туннель│
│конструкциями, │физические │разделения │с однонаправленным │
│обеспечивающими │ │(герметизации). │потоком, чистый туннель,│
│изоляцию (аэро- │ │Может служить │стерилизационная печь, │
│динамический │ │для создания │мини-окружения │
│и физический │ │изолированных зон │для электронной │
│методы) │ │ │промышленности │
├────────────────┼───────────┼───────────────────┼────────────────────────┤
│ Закрытый объем │ Физические│ Закрытые │ Изоляторы, перчаточные │
│с неопределенным│ │устройства │устройства, устройства │
│давлением │ │с неопределенной │для загрузки порошка │
│(характеристикой│ │целостностью. │или бункер, пленочные │
│может служить │ │Могут иметь гибкие │изоляторы или │
│часовая интен- │ │пленочные │полукостюмы, │
│сивность утечки │ │ограждения │мини-окружения │
│или другой │ │ │электронной │
│параметр) │ │ │промышленности │
├────────────────┼───────────┼───────────────────┼────────────────────────┤
│ Изолятор │ Физические│ Жесткая конструк- │ Изоляторы, боксы │
│с низким давле- │ │ция позволяет │перчаточные, изоляторы │
│нием и высокой │ │испытывать ее │для контрольных │
│часовой интен- │ │целостность методом│животных, биохимические │
│сивностью │ │измерения утечки │исследовательские │
│утечки (работа │ │при избыточном │изоляторы, │
│при избыточном │ │давлении. Может │герметизированные │
│давлении или │ │работать при │конструкции │
│разрежении) │ │отрицательном │ │
│ │ │давлении │ │
├────────────────┼───────────┼───────────────────┼────────────────────────┤
│ Изолятор │ Физические│ Конструкции, │ Изоляторы, боксы │
│со средним │ │имеющие среднюю │перчаточные, │
│давлением и │ │величину │герметизированные │
│средней часовой │ │избыточного │конструкции │
│интенсивностью │ │давления │ │
│утечки (работа │ │ │ │
│при избыточном │ │ │ │
│давлении │ │ │ │
│или разрежении) │ │ │ │
├────────────────┼───────────┼───────────────────┼────────────────────────┤
│ Изолятор │ Физические│ Герметичные │ Изоляторы, перчаточные │
│с высоким │ │конструкции, │боксы, перчаточные боксы│
│давлением │ │работа при высоком │для работы с ядерными │
│и низкой часовой│ │давлении, вакууме, │материалами, │
│интенсивностью │ │с инертным газом, │газонепроницаемые │
│утечки (работа │ │изоляция │конструкции │
│при избыточном │ │на молекулярном │ │
│давлении или │ │уровне │ │
│разрежении) │ │ │ │
├────────────────┴───────────┴───────────────────┴────────────────────────┤
│ Примечания │
│ 1. Примеры не являются рекомендациями для конструирования изолирующих│
│устройств. │
│ 2. Границы видов изолирующих устройств могут смещаться. │
└─────────────────────────────────────────────────────────────────────────┘
Четырехуровневая система классификации часовой интенсивности утечки

приведена в ИСО 10648-2. В основном эта классификация применяется для устройств с жесткими физическими барьерами. Методы разделения (см.
рисунок A.1) приведены также в ИСО 14644-4.
Конструкция изолирующих устройств, в которых используются два способа разделения, позволяет обеспечить различную степень изоляции. Они позволяют проводить работу как с открытой, так и с закрытой атмосферой в разные периоды процесса.
Качество подаваемого в изолирующее устройство воздуха (газа) должно соответствовать требованиям ИСО 14644-1. Вид потока воздуха определяется спецификой процесса.
Динамические и статические условия должны быть заданы с учетом:
a) чистоты воздуха, требуемого для изолирующего устройства;
b) часовой интенсивности утечки или показателя разделения или того и другого вместе;
c) подачи материала (передаточное устройство);
d) удаления материала (передаточное устройство).
(справочное)
СИСТЕМЫ ПОДГОТОВКИ ВОЗДУХА И СИСТЕМЫ С ИСПОЛЬЗОВАНИЕМ ГАЗОВ
B.1. Общие положения
| | ИС МЕГАНОРМ: примечание. Нумерация пунктов дана в соответствии с официальным текстом документа. | |
B.1. Рекомендуется оснащать системы притока и вытяжки воздуха и газов фильтрами, предусматривающими безопасную замену и имеющими крепления внутри устройства.
B.1.2. Для защиты от чрезмерного повышения давления внутри изолятора используется масляный предохранительный клапан. При его срабатывании газ уходит в систему газоудаления.
B.2. Системы подготовки воздуха
B.2.1. Системы подготовки воздуха для изолирующих устройств должны обеспечивать подачу или удаление необходимого количества воздуха, проходящего через установленные в них фильтры и систему воздуховодов.
B.2.2. Функции систем подготовки воздуха:
a) разделение изолирующего устройства от окружающей среды с помощью клапанов или герметизирующих заслонок в приточных и вытяжных воздуховодах с фильтрами для обеспечения безопасности, очистки (стерилизации, дезинфекции), а также возможность проведения проверки целостности;
Примечание. Это не распространяется на случаи неограниченного или ограниченного перетока воздуха и обычные системы с ограждающими конструкциями, не обеспечивающими изоляцию.
b) обеспечение соединений с другими устройствами обработки воздуха;
c) возможность определения начального и конечного перепада давления в системе для оценки загрязнения фильтров;
d) безопасная замена потенциально загрязненных фильтров для защиты оператора и других объектов;
e) обеспечение всех фильтров и соответствующих мест герметизации средствами контроля целостности с помощью аэрозоля;
f) установка второй ступени HEPA (ULPA) фильтров в тракте рециркуляции воздуха;
g) установка датчиков перепада давления (положительного и отрицательного) в изолирующем устройстве, а также сигнализация неисправности вентилятора;
h) наличие при необходимости лючков для отбора проб воздуха в изоляторах и передаточных устройствах для контроля концентрации частиц в воздухе;
i) поддержание в системах удаления воздуха отрицательного давления;
j) обеспечение достаточной минимальной скорости отсечения в месте разрыва для защиты оператора или продукта в случае повреждения перчатки и возникновения какой-либо опасности в связи с этим;
k) соответствие требованиям, предусмотренным действующими нормами.
B.3. Системы с использованием газов
B.3.1. Общие требования
Изолирующие устройства высокой степени герметичности необходимы для защиты на молекулярном уровне при проведении работ в анаэробных условиях или при низкой влажности. Системы с использованием инертных газов могут применяться в изолирующих устройствах только с соблюдением особых предосторожностей и только в оборудовании, предназначенном для этих целей. Системы с использованием газов могут быть прямоточными или рециркуляционными.
B.3.2. Системы с использованием инертных газов
Системы с использованием инертных газов в изолирующих устройствах могут обеспечить атмосферу, почти не содержащую кислород и влагу. В качестве инертных используются (в порядке возрастания стоимости) следующие газы:
a) азот;
b) гелий;
c) аргон.
Инертные системы находят широкое и разнообразное применение.
B.3.3. Активные газы
Активные газы, например озон, перекись водорода, хлорида диоксид, надуксусная кислота и пар, могут применяться для целей дезинфекции (стерилизации)
[24],
[31].
B.3.4. Прямоточные системы
Прямоточные системы обеспечивают подачу потока газа через изолирующее устройство без рециркуляции. Перед подачей в регулятор потока газ из баллонов или газовых систем редуцируется до требуемого давления. От регулятора потока газ по трубопроводу через впускной клапан и центробежную форсунку или распределительную головку подается внутрь изолирующего устройства. Газ распределяется по всему объему изолирующего устройства перед удалением через выпускной клапан.
B.3.5. Системы с рециркуляцией инертного газа
Системы с рециркуляцией инертного газа могут состоять из следующих элементов:
a) рециркуляционного компрессора;
b) каталитической(их) колонны (колонн);
c) молекулярной(ых) колонны (колонн);
d) вакуумного насоса;
e) защитной колонны (необязательно);
f) входного фильтра;
g) соответствующих клапанов;
h) устройства подачи газа;
i) системы регулирования качества газа;
j) системы удаления газа;
k) теплообменников;
l) измерителя влажности;
m) датчика кислорода;
n) манометра.
Компрессор используется для рециркуляции газа. Газ проходит через входной фильтр, входной отсекающий клапан и форсунку внутрь изолирующего устройства подобно прямоточной системе. Возвращающийся из изолирующего устройства газ проходит HEPA фильтр и отсечной клапан к молекулярной(ым) колонне(ам), каталитической колонне или к той и другой. Если выделяются растворители или другие вещества, то всасывающий трубопровод насоса и рабочие колонны должны предохраняться соответствующей защитной колонной, содержащей, например, активированный древесный уголь или другой абсорбер. Обычно используются по две колонны каждого типа - одна в рабочем состоянии, другая в состоянии регенерации. Молекулярные колонны регенерируются подогревом и с помощью вакуума. Каталитические колонны подогреваются и очищаются смесью водорода и инертного газа. Давление внутри изолирующего устройства поддерживается системой подачи газа, соединенной с коммутатором системы мониторинга низкого давления. Предотвращение избыточного давления требует применения предохранительного клапана. Передаточное устройство должно соответствовать классу B2 (см.
Приложение D).
B.3.6. Предохранительный клапан
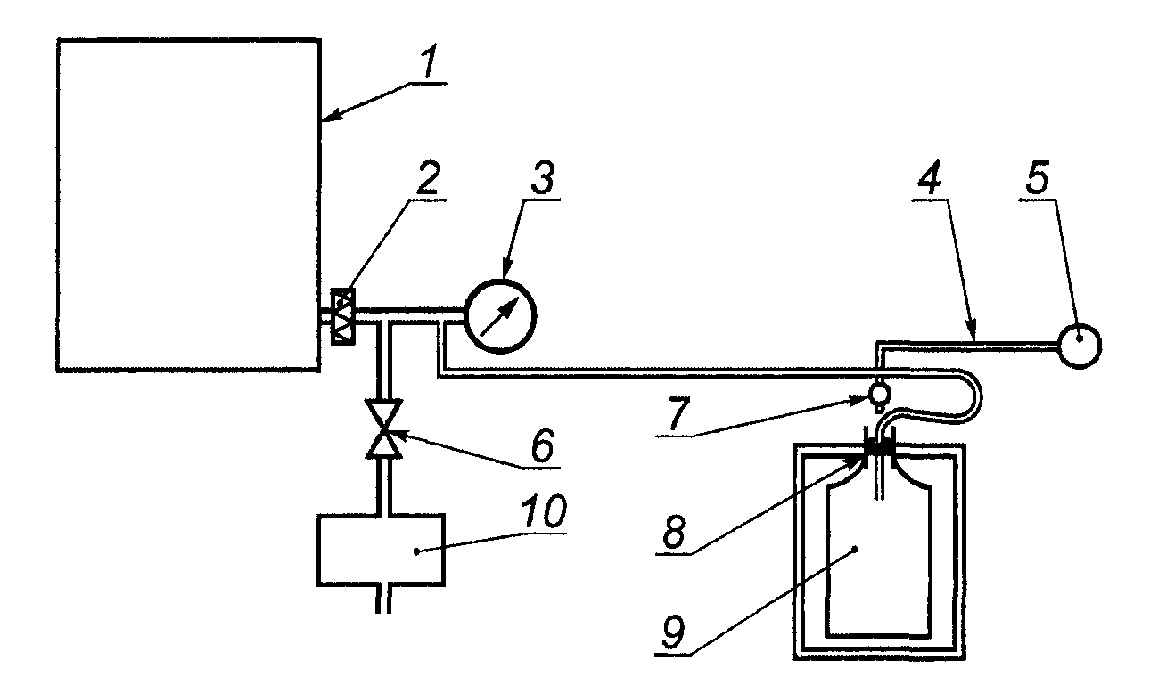
Предохранительный клапан позволяет быстро сбросить излишки газа (например, при вводе перчаток), которые пузырьками проходят через слой масла без нарушения атмосферы инертного газа (см. рисунок B.1).
1 - панель, 2 - направление от HEPA фильтра,
3 - уровень масла
Рисунок B.1. Предохранительный клапан
(справочное)
C.1. Область применения
Настоящее приложение носит справочный характер и не является полным. Оно распространяется на следующие устройства доступа: перчатки, удлиненные перчатки (перчатки с рукавом), перчаточно-рукавные системы и полукостюмы. Перчатки являются критическим элементом конструкции изолирующего устройства с опасностью нарушения его целостности. Ограничивающими факторами в защите оператора и продукта являются перчаточная система и материал перчатки.
C.2. Материалы для перчаток
Материалы для перчаток должны выбираться с учетом назначения устройств и в зависимости от требований к технологическому процессу. Приведенный перечень материалов не является полным и носит справочный характер. Для получения полной информации следует обращаться к производителям перчаток.
a) Латекс, натуральный каучук или цис-1,4-полиизопрен.
Латекс, натуральный каучук или цис-1,4-полиизопрен применяются в тех случаях, когда необходима большая гибкость и хорошие механические свойства.
Латексные изделия газонепроницаемы. Латексные изделия разрушаются в озоне, не обладают огнестойкостью, стойкостью к углеводородам и окислительным солям, обладают слабой стойкостью к эфирам, кислотам и основаниям, могут вызывать аллергические реакции.
b) Полихлоропрен или полимер 2-хлор-1,3-бутадиен.
Полихлоропрен или полимер 2-хлор-1,3-бутадиен рекомендуется специально в качестве материала, стойкого к воздействию масел. Хлоропрен не поддерживает горение, т.е. при удалении источника воспламенения горение прекращается. Полихлоропрен обладает высокой стойкостью к озону, ультрафиолетовому излучению, концентрированным кислотам и основаниям, а также к сильным окислителям.
Изделия из полихлоропрена не пригодны для работ с углеводородами, галогенами и эфирами.
c) Нитрильный каучук, или сополимер бутадиена и акрилонитрила.
Нитрильный каучук, или сополимер бутадиена и акрилонитрила, рекомендуется при работах с растворителями.
Изделия из нитрильного каучука обладают хорошей стойкостью к алифатическим углеводородам и гидроксильным соединениям.
d) Поливинилхлорид.
Поливинилхлорид обладает некоторой эластичностью, хорошими диэлектрическими свойствами и химической стойкостью и рекомендуется для изготовления перчаток.
e) Хлорсульфированный полиэтилен.
Хлорсульфированный полиэтилен обладает очень хорошей стойкостью к перекиси водорода, а белый цвет позволяет осуществлять эффективный визуальный контроль.
Другие материалы также устойчивы к перекиси водорода.
C.3. Двух- и многослойные перчатки
C.3.1. Двух- и многослойные перчатки изготовляются для улучшения газонепроницаемости на полихлоропреновой основе, покрытой слоем бутилкаучука и наружным слоем из полихлоропрена. Полученная перчатка обладает технологическими качествами полихлоропрена, но большей газонепроницаемостью благодаря бутилкаучуковому слою.
C.3.2. В особых случаях при работах с сильными окислителями полихлоропреновые перчатки могут покрываться защитным слоем на основе хлорсульфированного полиэтилена. В этом случае хлорсульфированный полиэтилен обеспечивает защиту от сильнодействующих окислителей.
C.3.3. В случае даже более строгих условий работы полихлоропрен может быть покрыт сополимером фторкаучуком, который обладает превосходной стойкостью к маслам, эфирным маслам, смазкам, большинству неорганических кислот и множеству алифатических и ароматических углеводородов (например, четыреххлористому углероду, толуолу, бензолу и ксилолу).
C.3.4. Поливинилхлорид с включенным в него свинцом создает защитную пленку от ионизирующего излучения. Этот тип перчаток, требующий деликатного обращения, обычно носят как предперчатки или внутренние перчатки.
C.4. Размер перчаток
C.4.1. Общие положения
Изолирующие устройства изготовляются стандартных размеров. Если несколько операторов работают на одних и тех же устройствах, то выбираются перчатки самого большого используемого размера.
Следует предусматривать гигиенические меры в случае использования разными операторами одних и тех же перчаток.
C.4.2. Длина перчатки или рукава
Длина перчатки выбирается по глубине изолирующего устройства. Типовые размеры - 700 мм, 750 мм и 800 мм. Длина рукава выбирается в зависимости от назначения.
C.4.3. Форма перчатки
По форме перчатки бывают двухсторонними, рассчитанными как на правую, так и на левую руку, а также только для левой или правой руки. Для изолирующих устройств с несколькими отверстиями рекомендуется применять двухсторонние перчатки, позволяющие работать как правой, так и левой рукой. Форма манжетов может быть конической, телескопической или цилиндрической.
C.5. Толщина перчаток
Толщина перчаток зависит от требуемой чувствительности на осязание, проницаемости, химической стойкости, механической прочности и износостойкости.
C.6. Перчаточный порт
C.6.1. Перчатки или рукава для изолирующих устройств, как правило, фиксируются на них механически.
C.6.2. Перчаточные порты могут быть снабжены пробочным устройством. Пробочное устройство является съемным, обеспечивающим герметичность в тот момент, когда перчатки или перчаточно-рукавная система не используются.
C.6.3. В C.6.3.1 и
C.6.3.2 приведены два метода (из многочисленных) замены перчаток или перчаточно-рукавных систем.
C.6.3.1. Для замены перчаток или перчаточно-рукавных систем с использованием пробочного устройства, предполагая, что последнее заранее подогнано по месту, необходимо сделать следующее:
a) сдвинуть узел крепления перчатки, вдавливающую манжету и кольцеобразный паз на перчаточном порте,
b) надеть новую перчатку поверх прежней и наживить кольцевую кромку перчатки на внутренний кольцевой паз порта,
c) через новую перчатку освободить старую от порта так, чтобы она осталась внутри новой перчатки; делать это надо осторожно, чтобы не сдвинуть новую перчатку;
d) заменить уплотнительное кольцо, вдавливающую манжету и узел крепления перчатки, сохраняя положение новой перчатки;
e) вставить руку в новую перчатку, удалить пробку и передать старую перчатку в передаточное устройство с последующим удалением наружу.
C.6.3.2. Конструкция перчаточного порта позволяет заменять рукава и перчатки или рукавицы без использования пробочного устройства, что снижает риск нарушения герметичности изолирующего устройства. На рисунках C.1 и
C.2 приведена процедура замены рукавов.
1 - узел крепления перчатки (хомут, бугель),
2 - вдавливающая манжета, 3 - уплотнительное кольцо,
4 - уплотнение, 5 - корпус изолирующего устройства
(внутренняя сторона), 6 - перчатка, 7 - перчаточный порт
Рисунок C.1. Перчаточный порт и перчаточный узел
1 - перчатка, 2 - уплотнительное кольцо перчатки, 3 - кольцо
манжеты, 4 - уплотнительное кольцо рукава, 5 - рукав,
6 - кромка рукава, 7 - кромка перчатки
1 - кромка старой перчатки, 2 - уплотнительное кольцо
рукава, 3 - рукав, 4 - старая перчатка, 5 - кромка рукава
1 - новая перчатка, 2 - кромка старой перчатки, 3 - кромка
новой перчатки, 4 - уплотнительное кольцо рукава, 5 - рукав,
6 - старая перчатка, 7 - кромка рукава
Рисунок C.2. Процедура замены перчатки
При замене перчаток следует:
a) убедиться, что предназначенный для замены рукав снабжен кольцом манжеты и перчаткой;
b) удалить вдавливающую манжету и уплотнительное кольцо и затем, с крайней осторожностью, передвинуть эластичный кант рукава или рукавицы от второго к первому пазу порта;
c) установить новый рукав или удлиненную перчатку (перчатку с рукавом), надвигаясь эластичным кантом поверх существующего рукава на второй паз порта (ближайший к изолирующему устройству);
d) работая внутри новой перчатки, осторожно снять старый рукав с первого паза порта и удалить внутрь изолирующего устройства для последующего использования или совсем удалить из изолирующего устройства через люк проходного бокса или пакет для отходов;
e) снова установить уплотнительное кольцо и металлический зажим, закрепив новый кант в первом пазу.
C.7. Рукава и перчатки
C.7.1. Описание
Рукава имеют эластичные манжеты для обеспечения надежного зажима. Рукава насажены на порт перчаточный и надежно закреплены с помощью уплотнительного кольца и металлического зажима наподобие того, как это сделано у удлиненной перчатки (перчатки с рукавом). Противоположные края рукавов снабжены сменными кольцами манжеты.
C.7.2. Замена перчаток
Возможно проводить замену перчаток с минимальным риском нарушения атмосферы рабочей зоны путем простого удаления старой перчатки из-под манжетного кольца. Рекомендуется при этом обеспечить стерильность. На
рисунках C.2.a -
C.2.c приведена "безопасная смена" перчаток (без нарушения целостности системы).
Замена перчаток должна выполняться подготовленным персоналом.
При замене следует:
a) поместить новую пару перчаток в рабочую зону через передаточное устройство;
b) удалить уплотнительное кольцо перчатки;
c) передвинуть кант перчаточной манжеты от центра паза, в котором находится кольцо, во внешний паз, не нарушая герметичности, обеспечиваемой перчаткой, манжета которой зажата кольцом (см.
рисунок C.2.a);
d) осторожно потянуть перчатку внутрь рукава и придерживать ее (см.
рисунок C.2.b);
e) взять новую перчатку и встряхнуть ее, чтобы она выпрямилась. Пользуясь свободной рукой, повернуть перчатку так, чтобы большой палец перчатки был направлен кверху. Пользуясь большим пальцем руки внутри рукава, поместить кант перчаточной манжеты в центр паза манжетного кольца. Свободной рукой осторожно натянуть манжету перчатки на центр паза (см.
рисунок C.2.c);
f) пальцами руки, держащей старую перчатку, осторожно ослабить кольцо манжеты старой перчатки с одной стороны и вращать старую перчатку по кольцу до тех пор, пока она не освободится совсем; перчатка теперь оказывается внутри и может быть удалена из рукава и выброшена;
g) установить в первоначальную позицию уплотнительное кольцо перчатки, придерживая его через оболочку рукава пальцем.
C.8. Полукостюмы
C.8.1. Обычно полукостюм представляет собой сварную двухслойную конструкцию из поливинилхлорида с прозрачной акриловой панелью, вваренной в шлем. Полукостюм крепится к изолирующему устройству обычно с вертикальным входом.
C.8.2. Двухслойная конструкция полукостюма позволяет поддерживать между слоями избыточное давление. Этим предотвращается попадание пленки на оператора и ограничение его движений. Однослойный полукостюм может применяться в изолирующих устройствах при отрицательном давлении.
C.8.3. Полукостюм следует оснащать эластичными точечными подвесами для удерживания костюма в соответствующем положении и снижения весовой нагрузки в соответствии с эргономическими нормами.
C.8.4. Крепление перчаток к костюму - аналогично креплению манжетов рукавов перчаток.
(справочное)
ПРИМЕРЫ ПЕРЕДАТОЧНЫХ УСТРОЙСТВ
D.1. Общие положения
В настоящем приложении приведены примеры передаточных устройств, указанных в
7.2. Рисунки являются иллюстрацией возможных конфигураций и носят справочный характер
[26]. Примеры также не являются исчерпывающими.
D.2. Передаточное устройство типа A1
В передаточном устройстве типа A1 воздушный поток может свободно проходить между окружающим пространством и внутренним объемом изолирующего устройства через проем, когда он открыт. Порядок передачи предметов в устройство и из него должен быть аттестован.
Примеры - Двери, входные панели, застежки-молнии, хомут и ленточная петля, и шлюзовые затворы, пакет в пакете.
3 - вход, 4 - выход, 5 - герметичная дверь, 6 - рабочая
поверхность контролируемой рабочей зоны
Рисунок D.1. Передаточное устройство типа A1
D.3. Передаточное устройство типа A2
В соответствии с аттестованной процедурой передачи воздушный поток в динамическом режиме свободно проходит через передаточное устройство типа A2 из изолирующего устройства наружу (см. рисунок D.2). Порядок передачи предметов в устройство и из него должен быть аттестован.
3 - вход, 4 - выход, 5 - направление воздушного потока,
6 - рабочая поверхность контролируемой рабочей зоны
Рисунок D.2. Передаточное устройство типа A2
Примеры - Динамические отверстия, "мышиные" щели.
D.4. Передаточное устройство типа B1
Передаточное устройство типа B1 (см. рисунок D.3) не допускает прямого попадания воздуха из окружающего пространства в изолирующее устройство при правильном выполнении последовательности операций передачи или при использовании блокировки. Однако воздух из окружающего пространства может попасть внутрь изолирующего устройства через передаточное устройство и наоборот.
3 - вход, 4 - выход, 5 - герметичная дверь,
6 - рабочая поверхность контролируемой рабочей зоны
Рисунок D.3. Передаточное устройство типа B1
Примеры - Камеры со сдвоенными дверями, контейнерные порты, телескопические порты для отходов и простые стыковочные устройства.
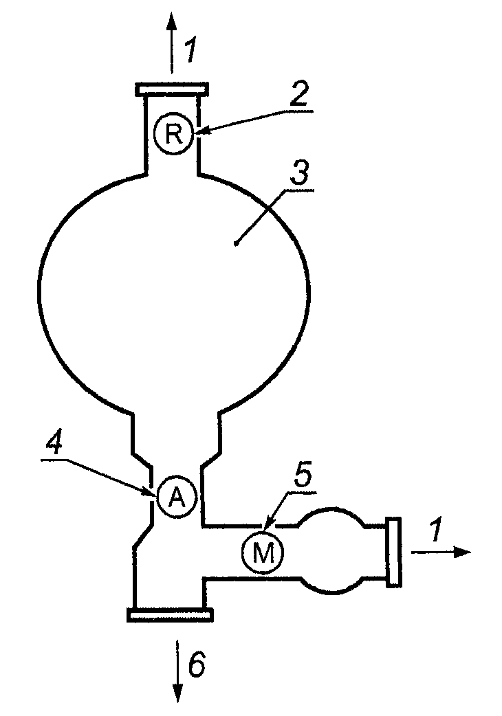
D.5. Передаточное устройство типа B2
Передаточное устройство типа B2 (см. рисунок D.4) имеет двойные герметичные двери и устройства, позволяющие проводить обдув и последующее удаление газов передаточного устройства, чтобы обеспечить совместимость сред перед открыванием внутренней двери изолирующего устройства.
Удаление газов требует обеспечения безопасности при работе с ними.
Примечание. Удаление газов с разряжением может оказаться невозможным при передаче жидкостей с учетом соотношения точки кипения и давления.
3 - вход, 4 - выход, 5 - герметичная дверь, 6 - рабочая
поверхность контролируемой рабочей зоны, 7 - клапан
Рисунок D.4. Передаточное устройство типа B2
D.6. Передаточное устройство типа C1
Передаточное устройство типа C1 (см. рисунок D.5) не допускает попадания не прошедшего фильтрацию воздуха из изолирующего устройства в окружающую среду. Это достигается за счет создания избыточного давления в изолирующем устройстве, наличия HEPA фильтра и дверей в передаточном устройстве и правильной последовательности выполнения операций.
2 - направление воздушного потока, 4 - HEPA фильтр,
6 - вход, 7 - выход, 8 - герметичная дверь, 9 - рабочая
поверхность контролируемой рабочей зоны
Рисунок D.5. Передаточное устройство типа C1
Такое передаточное устройство не может использоваться для изолирующих устройств, работающих при пониженном давлении, поскольку в этом случае не прошедший фильтрацию воздух из окружающего пространства может попасть в изолирующее устройство. Не рекомендуется использовать передаточное устройство типа C1, если требуется защита оператора и других лиц при работе с изолирующими устройствами с пониженным давлением.
Пример - Передаточные камеры с одним фильтром.
D.7. Передаточное устройство типа C2
Передаточное устройство типа C2 (см. рисунок D.6) не допускает попадания не прошедшего фильтрацию воздуха из окружающего пространства в изолирующее устройство (воздух извне проходит под рабочей поверхностью и далее подается в вытяжку) и наоборот (при нахождении изолирующего устройства в рабочем состоянии). Это достигается за счет создания пониженного давления в изолирующем устройстве, наличия HEPA фильтра и дверей в передаточном устройстве, правильной последовательности выполнения операций по передаче и блокировке.
2 - направление воздушного потока, 4 - HEPA фильтр,
6 - вход, 7 - выход, 8 - герметичная дверь, 9 - рабочая
поверхность контролируемой рабочей зоны,
10 - удаление воздуха
Рисунок D.6. Передаточное устройство типа C2
Такое передаточное устройство не может использоваться для изолирующих устройств при избыточном давлении.
Пример - Передаточные камеры с одним фильтром.
D.8. Передаточное устройство типа D1
Передаточное устройство типа D1 (см. рисунок D.7) не допускает попадания не прошедшего фильтрацию воздуха из окружающего пространства в изолирующее устройство и наоборот. Это достигается применением HEPA фильтров, дверей и правильной последовательностью выполнения операций по передаче и блокировке.
2 - вентиль, 4 - HEPA фильтр, 5 - вход, 6 - выход,
7 - герметичная дверь, 8 - рабочая поверхность
контролируемой рабочей зоны
Рисунок D.7. Передаточное устройство типа D1
Пример - Передаточная камера с двумя фильтрами или изолирующее устройство, используемое как передаточное устройство.
D.9. Передаточное устройство типа D2
| | ИС МЕГАНОРМ: примечание. В официальном тексте документа, видимо, допущена опечатка: имеется в виду рисунок D.7, а не D.8. | |
Передаточное устройство типа D2 представляет собой устройство типа D1 (см.
рисунок D.8) с таймером задержки времени передачи материалов внутрь изолирующего устройства и наружу, управляющим системой блокировки дверей передаточного устройства. Порядок передачи должен быть аттестован. Задержка времени должна быть достаточной для проведения дезинфекции (стерилизации) с целью сведения переноса загрязнений к минимуму.
D.10. Передаточное устройство типа E
В передаточном устройстве типа E (см. рисунок D.8) выполняется обработка (дезинфекция) как самого передаточного устройства, так и находящихся в нем предметов до соединения устройства с другими зонами, в которые не допускается попадание загрязнений.
2 - трехходовой вентиль,
3 - быстродействующая соединительная муфта,
5 - HEPA фильтр, 6 - вход, 7 - выход, 8 - герметичная дверь,
9 - рабочая поверхность контролируемой рабочей зоны
Рисунок D.8. Передаточное устройство типа E
Пример - Газовые камеры (автоклавируемые передаточные устройства), включая отдельные изолирующие устройства и стыковочные устройства, постоянно соединенные автоклавы и подобные устройства.
D.11. Передаточное устройство типа F
Передаточное устройство типа F (см. рисунок D.9) стыкуется с изолирующим устройством, и стык герметизируется. Передаточное устройство обычно используется в качестве транспортного контейнера. Некоторые устройства могут иметь разъемные соединения для стравливания воздуха.
3 - быстродействующая соединительная муфта,
4 - двойные сблокированные двери или клапаны,
5 - рабочая поверхность контролируемой рабочей зоны
Рисунок D.9. Передаточное устройство типа F
Пример - Быстродействующие передаточные устройства, стандартные механические интерфейсы и разъединительные клапаны.
(справочное)
ИСПЫТАНИЯ НА ГЕРМЕТИЧНОСТЬ
E.1. Испытания на утечку
E.1.1. Порядок действий
Испытания должны проводиться при нормальных условиях работы. Если для обеспечения необходимой скорости потока воздуха или расхода воздуха, предотвращающих перенос посторонних веществ, используется перепад давления или поток воздуха, то значения этих параметров должны быть согласованы, определены и обеспечены методами контроля.
При проведении испытаний следует учитывать:
a) нормальные условия работы;
b) нерабочее или резервное состояние;
c) переход из состояния a) в состояние b) и наоборот;
d) отказ в системе поддержания давления или потока воздуха.
При использовании перчаток и перчаточно-рукавных систем следует учитывать, что при последовательной замене перчаток кратковременно изменяется объем, при этом давление, при котором проводятся испытания, может превысить 1000 Па.
Процесс контроля должен включать в себя и любое другое оборудование с аналогичным влиянием на объем.
E.1.2. Приборы для испытаний
Приборы и методы испытаний следует выбирать с учетом назначения устройств. Испытательные приборы включают в себя:
a) генератор аэрозолей и фотометр;
b) генератор аэрозолей и дискретный счетчик частиц с двумя каналами;
c) генератор капель с вращающимся диском или другой подобный прибор и соответствующую измерительную систему.
E.1.3. Метод испытаний
Генератор аэрозолей располагается вне изолирующего устройства в нужном месте. Характеристика проникания частиц оценивается по концентрации частиц снаружи и внутри изолирующего устройства.
E.2. Испытания на утечку за счет давления
| | ИС МЕГАНОРМ: примечание. В официальном тексте документа, видимо, допущена опечатка: имеется в виду пункт E.2.1.2, а не E.1.1.2. | |
E.2.1. Большинство утечек может быть определено несколькими методами. Методы по E.2.1.1 и E.1.1.2 являются качественными.
E.2.1.1. При использовании мыльного раствора следует наносить достаточное количество раствора на вызывающие сомнения места изолирующего устройства. Утечки определяются по появлению пузырьков мыльного раствора.
E.2.1.2. Альтернативой методу по E.2.1.1 является определение утечек путем заполнения изолирующего устройства гелием или другим газом под давлением 1000 Па. Для определения утечек используют соответствующий прибор.
Примечания
1. Несмотря на то что методы по
E.2.1 или E.2.1.2 не являются количественными, трассирование газов позволяет судить о величине утечки.
2. Для определения локальных утечек могут быть использованы другие методы, например спрессовывание аммиаком и контролем мокрой тканью, чувствительной к концентрации водородных ионов (pH индикаторный материал), или визуализацией с помощью дыма, фото- или видеодокументированием.
E.2.2. Методы испытаний в порядке возрастания чувствительности следующие:
a) пузырьковый метод с применением поверхностно-активных веществ;
b) испытание с помощью теплопроводного газоанализатора на

, He, Ar и т.д.;
c) ионизационный детектор на

;
d) гелиевый масс-спектрометр.
Как правило, считается, что утечки в изолирующем устройстве распределены равномерно и не сосредоточены в одном месте. Это допущение может быть справедливым не всегда. Локальная утечка может привести к недопустимому ухудшению атмосферы. В связи с этим при конструировании изолирующего устройства должна быть разработана методика его испытаний на утечку.
При использовании инертных газов должны быть приняты меры предосторожности. Инертный газ может вызывать асфиксию.
При использовании гелия необходимо убедиться в хорошем перемешивании газа внутри изолирующего устройства.
Примечания
1. Гелий может проникать через полимерные материалы, и газовыделение может быть причиной ложных результатов контроля.
2. Более подробная информация содержится в
[24].
E.3. Количественные испытания на утечку
E.3.1. Испытания целостности под давлением
E.3.1.1. Испытания изолирующих устройств жесткой конструкции при отрицательном давлении
ИСО 10648-2 устанавливает три метода испытаний герметичности при отрицательном давлении изолирующих устройств жесткой конструкции, описанных в ИСО 10648-1:
a) кислородный метод [см. ИСО 10648-2 (подраздел 5.1)];
b) метод изменяющегося давления [см. ИСО 10648-2 (подраздел 5.2)];
c) метод постоянного давления [см. ИСО 10648-2 (подраздел 5.3)].
Интенсивность утечки измеряется при нормальном рабочем давлении (обычно около 250 Па) в рабочем режиме и при давлении до 1000 Па при приемочных испытаниях.
Указанные методы предусмотрены для испытаний при отрицательном давлении, за исключением кислородного метода, который может применяться как при положительном, так и при отрицательном давлении. Для получения результатов следует выполнить необходимые вычисления.
Метод испытаний Парджо, который может использоваться помимо указанных методов определения часовой интенсивности утечки, приведен в
Приложении F. Тест-метод Парджо может применяться, если требуется минимизация дезинфекции (стерилизации) испытательных приборов или сокращение времени испытаний.
Результаты испытаний под давлением при условиях, близких к атмосферным, зависят от колебаний температуры и других параметров окружающей среды. Использование чувствительных приборов для измерения этих параметров позволяет обеспечить точность испытаний.
Если изолирующие устройства (в рабочем или аварийном состояниях) испытываются при положительном и отрицательном давлении, то интенсивность утечки следует определять в обоих этих случаях.
E.3.1.2. Меры предосторожности перед началом испытаний
Испытание на герметичность под давлением следует проводить в то время, когда риск минимален. Следует иметь в виду, что любые тесты представляют некоторый риск для оборудования и оператора.
При приемочных испытаниях следует соблюдать меры безопасности при превышении заданного уровня давления в изолирующем устройстве. Не допускается превышение давления при испытаниях ввиду опасности повреждения тонких стенок и пр. Испытания при пониженном давлении также могут быть причиной повреждения, т.е. сплющивания легких конструкций.
При испытании оборудования при высоком и среднем уровне давления требуется решение большего количества вопросов. Испытания на локальные утечки при повышенном давлении, т.е. определение интенсивности утечек, требует сохранения постоянного объема. Эти методы испытаний крайне чувствительны к малым изменениям объема. Поэтому любое оборудование, влияющее на изменение объема, может не только привести к ложному результату, но и к высвобождению веществ, например масла или жира.
Если для испытания используется инертный газ из баллона под давлением, то оборудование для поддержания необходимого давления и регулирования газа должно быть установлено и проверено до начала испытаний (см. соответствующие правила безопасности по обращению, хранению и использованию сжатых газов).
Испытания на утечку в "активных" изолирующих устройствах требуют особого внимания. Необходимо выполнять местные нормы безопасности. При выполнении испытаний следует проводить тщательный анализ. Он должен подтвердить, что отключение изолирующего устройства может быть проведено логичным и безопасным способом и в случае аварийной ситуации позволит быстро вернуться к нормальным рабочим условиям.
Если испытания завершены или отложены, то важно убедиться, что изолирующее устройство находится в безопасном состоянии, особенно если оно оставлено без присмотра в неотапливаемом помещении. Снижение температуры на несколько градусов может быть причиной значительного сдавливания тонкостенной секции, оставленной при отрицательном давлении.
E.3.1.3. Обеспечение стабильных условий
До начала испытаний изолирующее устройство должно находиться в неработающем состоянии. Там, где возможно и практически осуществимо, изолирующее устройство, способное изменять объем из-за вибрации, движения панелей или других легких структур, на период испытаний должно быть закреплено. Важными факторами являются допустимая интенсивность утечки и чувствительность метода ее определения. При малой интенсивности утечки поддержание стабильных условий иногда затруднительно из-за влияния меняющихся климатических условий. Следует обеспечить теплоизоляцию изолирующего устройства, если это возможно. Небольшие изменения условий окружающей среды могут вызывать заметные утечки, близкие к допустимым значениям или даже превосходящие их. Контролируемое изолирующее устройство следует размещать в помещении, которое не подвергается воздействию солнечного излучения и в котором нет сквозняков. Чтобы удостовериться, что все оборудование имеет одну и ту же температуру, измерительные приборы должны быть установлены в нужное положение не менее чем за 30 мин до начала контроля, если это возможно.
Если существуют трудности в поддержании стабильных условий окружающей среды и необходимая стабильность не может быть обеспечена, то испытания следует проводить до или после обычного рабочего времени.
Испытания изолирующих устройств в контролируемой атмосфере могут представлять определенные трудности. Неправильные действия могут быть причиной внезапных изменений давления воздуха. При проведении испытаний может потребоваться ограничение доступа через воздушный шлюз. Необходимо выполнять правила безопасности. Лучшим решением может быть проведение испытаний в нерабочие часы или во время обеденного перерыва.
E.3.1.4. Порядок вычислений
Скорость воздуха v, м/с, проходящего через отверстие, при условии, что коэффициенты расхода и расширения струи равны единице, вычисляется по формуле

, (E.1)
где

- плотность, кг/м3 (сухой воздух = 1,205 кг/м3 при 101,3 кПа, 20 °C);

- перепад давлений в отверстии, Па.
Расход воздуха равен произведению скорости воздуха на площадь поперечного сечения отверстия на время. В связи с этим часовая утечка через изолирующее устройство q, м3/ч, вычисляется по формуле

, (E.2)
где A - площадь, м2.
Заменяя

; (E.3)

. (E.4)
Примечания
1. Для вычисления скорости потока воздуха нужно знать площадь отверстия и перепад давления.
2. Опасность возможного риска утечки требует тщательного анализа. Поступление воздуха в устройство снаружи при отрицательном давлении в устройстве через мелкие отверстия может вызывать высокоскоростные струи с загрязнениями, которые необязательно будут растворяться потоком воздуха изолирующего устройства. Подобно этому в устройствах с положительным давлением поток наружу может создать неприемлемый уровень локальных загрязнений.
Методы контроля, изложенные в
E.3, для изолирующего устройства с постоянным объемом подчиняются закону состояния идеального газа.

, (E.5)
где

- абсолютное давление, Па;
T - абсолютная температура, К;
V - объем изолирующего устройства, м3.
Примечания
1. Для постоянного объема изменение температуры на 1 К вызывает изменение давления на 334 Па.
2. Испытания (исключая метод Парджо) проводятся в течение одного часа при начальном давлении, равном или более 1 кПа. Объем истечения газа пропорционален изменению давления с учетом поправок на колебания давления и температуры.
При постоянном объеме, вынося величину объема из обоих членов
формулы (E.5), получаем:

. (E.6)
При вводе в эксплуатацию контроль по
E.3 проводится в течение одного часа и начальном давлении, равном или более 1000 Па. Объем истекающего газа внутрь или наружу из устройства постоянного объема пропорционален изменению давления. Таким образом, часовая интенсивность утечки равна изменению давления в отверстии в один час. Изменения температуры и давления требуют корректировки часовой интенсивности утечки в соответствии с
уравнением (E.6).
E.3.1.5. Часовая интенсивность утечки
Часовая интенсивность утечки

в изолирующем устройстве, выражаемая в

, вычисляется по формуле

, (E.7)
где q - часовая утечка изолирующего устройства, м3/ч,
V - объем устройства, м3.
Примечание. За исключением кислородного метода, в методах контроля предполагается постоянный объем жесткой конструкции устройств. Для гибких и тонких структур утечка, определяемая методом давления, изменяется в зависимости от объема.
Перчатки и полукостюмы при проведении испытаний всеми методами, за исключением кислородного, должны заглушаться.
E.3.1.6. Классификация изолирующих устройств
Классификация изолирующих устройств по часовой интенсивности утечки приведена в таблице E.1.
Таблица E.1
Классификация изолирующих устройств
и соответствующие методы контроля
┌────────────┬──────────────┬─────────────┬───────────────────────────────┐
│ Класс │ Часовая │ Степень │ Метод испытания │
│изолирующего│интенсивность │герметичности│ │
│ устройства │ утечки │ │ │
│ │ -1 │ │ │
│ │ R , ч │ │ │
│ │ h │ │ │
├────────────┼──────────────┼─────────────┼───────────────────────────────┤
│ │ -4 │ │ │
│ 1 │ <= 5 x 10 │ Высокая │ Кислородный метод, метод │
│ │ │ │изменяющегося давления или │
│ │ │ │метод Парджо │
├────────────┼──────────────┼─────────────┼───────────────────────────────┤
│ │ -3│ │ │
│ 2 │ < 2,5 x 10 │ Средняя │ Кислородный метод, метод │
│ │ │ │изменяющегося давления или │
│ │ │ │метод Парджо │
├────────────┼──────────────┼─────────────┼───────────────────────────────┤
│ │ -2 │ │ │
│ 3 │ < 10 │ Низкая │ Кислородный метод, метод │
│ │ │ │изменяющегося давления или │
│ │ │ │метод постоянного давления │
├────────────┼──────────────┼─────────────┼───────────────────────────────┤
│ │ -1 │ │ │
│ 4 │ < 10 │ - │ Метод постоянного давления │
├────────────┴──────────────┴─────────────┴───────────────────────────────┤
│ Примечания │
│ 1. Классификация и указанные в ИСО 10648-2 методы контроля в сочетании│
│с уровнями герметичности позволяют провести сравнение с приведенными в│
│ 2. Метод Парджо применяется при необходимости. │
│ 3. Методы контроля по ИСО 10648-2 предназначены для изолирующих│
│устройств при отрицательном давлении. Для устройств с положительным│
│давлением они могут быть видоизменены, причем использование кислородного│
│метода исключается. │
└─────────────────────────────────────────────────────────────────────────┘
E.3.2. Метод баланса масс для оценки приемлемой часовой интенсивности утечки
E.3.2.1. Общие положения
Метод основан на том, что загрязненный воздух снаружи через неплотности поступает внутрь изолирующего устройства, внутри которого создано отрицательное давление. Если внутри изолирующего устройства создано положительное давление, то загрязненный воздух из него поступает в окружающее пространство. В обоих случаях концентрация загрязнения в объеме, куда проступает воздух, будет ниже концентрации загрязнений в месте утечки за счет эффекта разбавления. Для оценки часовой интенсивности утечки с учетом равновесной концентрации загрязнений в двух объемах воздуха, сообщающихся через неплотности, используется уравнение баланса масс.
E.3.2.2.1. Расчеты не учитывают локальные условия в месте утечки, где может не произойти разбавление концентрации загрязнений до приемлемого значения. На практике для уменьшения локальных эффектов должен применяться коэффициент запаса.
E.3.2.2.2. Принято считать, что при анализе риска исходят из максимума допустимой концентрации загрязнений с точки зрения обеспечения качества продукта в изолирующих устройствах при отрицательном давлении или с точки зрения безопасности оператора в изолирующих устройствах с положительным давлением.
При этом принимается, что:
- концентрация загрязнений в неплотности такая же, как в исходном пространстве (при избыточном давлении);
- воздух в пространстве, на которое действует поток из неплотности, хорошо перемешивается (это условие не соблюдается в однонаправленном потоке или при низкой скорости потока воздуха);
- воздух, смешивающийся с потоком из неплотности, не загрязнен;
- процесс достиг установившегося состояния.
E.3.2.3. Метод оценки
Часовая интенсивность утечки

,

, с учетом ограничений, указанных в
E.3.2.2, вычисляется по формуле

, (E.8)
где

- объем пространства, на которое воздействует поток из неплотности, м3;

- допустимая концентрация загрязнений в пространстве, на которое воздействует поток из неплотности, мл/м3;

- скорость обмена воздуха в пространстве, на которое воздействует поток из неплотности,

;

- начальная концентрация загрязнений в потоке из неплотности, мл/м3;
V - объем изолирующего устройства, м3.
Формула применима как для изолирующего устройства, внутри которого создано отрицательное давление, так и для изолирующего устройства, внутри которого создано избыточное давление.
E.4. Количественное измерение утечки из устройств гибкой конструкции
E.4.1. Изолирующие устройства из пленочных материалов могут быть повреждены во время испытаний перепадом давлений, превышающим рабочий перепад давлений.
E.4.2. Изолирующие устройства из пленочных материалов должны испытываться кислородным методом.
Примечание. Как только будут получены приемлемые количественные результаты, рекомендуется провести сравнительные испытания при положительном рабочем давлении, особенно для изолирующего устройства, контроль которого при отрицательном давлении невозможен, например для стерильного изолирующего устройства.
Изолирующие устройства, которые не могут испытываться для целей классификации при давлении 1000 Па, но для которых требуется определение часовой интенсивности утечки для оценки риска, должны испытываться при давлении 250 Па в течение времени до одного часа. Для проведения анализа результаты определения часовой интенсивности утечки должны быть получены дважды [см.
формулу (E.4)].
E.5. Примеры испытаний перчаток
E.5.1. Общие положения
Приведенные методы испытаний с падением давления являются лишь малой частью множества методов, которые могут использоваться для испытания перчаток и служить иллюстрацией испытаний на утечку через перчатки. По соглашению между потребителем и поставщиком могут использоваться иные методы испытаний перчаток.
E.5.2. Испытания для изолирующего устройства при отрицательном давлении
E.5.2.1. Общие положения
Важно проводить визуальный контроль перчаток, так как давление не всегда может помочь обнаружить нарушение целостности. В
E.5.2.2 изложен метод испытания перчаток для определения утечек в изолирующих устройствах, работающих при отрицательном давлении, при значении падения давления более минус 170 Па. Датчик контроля утечки включает в себя чувствительный манометр или иное устройство с герметизирующей пластиной. Данный метод используется для контроля систем: "Перчатки", "Удлиненная перчатка" ("Перчатка с рукавом"), "Перчаточные манжеты", предназначенных для перчаточных портов.
E.5.2.2. Порядок проведения испытаний
При проведении испытаний необходимо выполнить следующие действия:
a) подключить манометр;
b) если манометр имеет переключатель малых и больших величин, то выбрать шкалу малых величин;
c) установить манометр на ноль. Отклонения от нуля от +/- 3 Па до +/- 4 Па не влияют на результаты контроля; как только выполнена установка нуля, прибор может использоваться для проверки герметичности;
d) осторожно расположить герметизирующую пластину перчаточного датчика контроля утечки напротив кольца устройства, подлежащего контролю, на который надета перчатка, обратив внимание на то, чтобы эта пластина совмещалась с этим устройством; сильный прижим прибора может выдержать небольшое давление воздуха между прибором и перчаткой;
e) сильно прижимать прибор к патрубку с постоянным усилием, внимательно наблюдая за показаниями манометра; воздействие на прибор с различными усилиями может вызывать колебания давления от +/- 3 до +/- 4 Па, это не влияет на результаты или чувствительность теста; для идентификации утечек достаточно проводить контроль в течение 10 с; контроль перчаток с возможным дефектом следует проводить повторно. Может потребоваться больше времени для подтверждения результатов;
f) выполнить контроль всех перчаток при монтаже и перед работой в изолирующем устройстве.
E.5.2.3. Оценка результатов
E.5.2.3.1. Положительный результат
Если перчатка или удлиненная перчатка (перчатка с рукавом) исправна, то показания манометра должны оставаться постоянными в пределах от +/- 2 до +/- 10 Па (рекомендуется +/- 5 Па).
E.5.2.3.2. Неисправность
Если перчатка или удлиненная перчатка (перчатка с рукавом) неисправна, то отрицательные значения давления на шкале манометра постепенно увеличиваются (т.е. минус 10 Па, минус 15 Па, минус 19 Па). Эта тенденция будет видна и будет нарастать.
Скорость изменения давления будет пропорциональна величине нарушения герметичности перчатки.
Вероятные повреждения должны быть подтверждены повторной проверкой любым другим методом. Это легко сделать, снизив давление с помощью контрольного прибора, отжимая уплотнительную пластину, прижатую к перчаточному порту. В результате этого манометр будет установлен на ноль. После этого нужно снова прижать пластину и, создав давление, снова начать испытания. Если перчатка повреждена, то результат испытаний будет все время одинаковым, что подтверждает факт нарушения герметичности.
E.5.2.4. Точность метода
| | ИС МЕГАНОРМ: примечание. В официальном тексте документа, видимо, допущена опечатка: формула E.40 отсутствует. | |
Точность метода пропорциональна значению падения рабочего давления внутри изолирующего устройства. Большее значение падения внутреннего рабочего давления позволяет получить более точный результат испытаний, как это приведено в формуле (E.40). Поэтому удвоение падения давления примерно удваивает интенсивность утечки. Для малых значений падения давления интенсивность утечки практически выражается линейным уравнением.
E.5.3. Испытания на утечку при положительном давлении
E.5.3.1. Общие положения
Испытания устройств при положительном давлении требуют применения герметизирующего колпака с двумя патрубками, которым покрывают отверстие для перчатки. Один патрубок с вентилем используется для подачи газа и снижения давления. Другой патрубок - для присоединения электронного микроманометра.
Данный метод должен использоваться только до проведения очистки и не может применяться в устройствах, находящихся в рабочем состоянии.
E.5.3.2. Порядок испытаний
Как только герметизирующий колпак будет установлен поверх порта перчаточного кольца, между колпаком и внутренней поверхностью перчатки образуется замкнутое пространство. В объеме этого пространства создается давление 1000 Па, после чего оно стабилизируется. Снижение давления будет означать утечку через материал перчатки или страховочное устройство.
При испытаниях следует:
a) убедиться в отсутствии видимых повреждений перчаток до начала контроля;
b) убедиться в том, что пальцы перчатки находятся внутри изолирующего устройства;
c) присоединить воздушную линию к изолирующему устройству;
d) подключить манометр;
e) установить манометр на ноль, нажав кнопку "ноль", удерживая прибор контроля в свободном пространстве (небольшие отклонения от ноля в пределах от +/- 3 до +/- 4 Па не влияют на результат или точность метода);
f) установить герметизирующий колпак тестера на внешнее кольцо порта контролируемой перчатки;
g) открыть вентиль подачи воздуха в перчатку (на манометре появится значение давления в Паскалях; давление в перчатке должно быть от 500 Па до 1000 Па; это поможет обеспечить подачу несколькими порциями воздуха для стабилизации требуемого давления);
h) наблюдать за показаниями шкалы манометра (стабильные показатели свидетельствуют об исправности перчатки).
Опытный оператор может обнаружить утечку в течение 10 с. В сомнительных случаях перчатки должны быть проверены вторично. При этом может потребоваться больше времени для подтверждения результатов.
E.5.3.3. Оценка результатов
E.5.3.3.1. Положительный результат
Если перчатка или удлиненная перчатка (перчатка с рукавом) исправна, то показания манометра должны оставаться постоянными в пределах от +/- 2 до +/- 10 Па. Замечания по поводу колебаний показаний манометра приведены в
E.5.3.2.
E.5.3.3.2. Отрицательный результат
Если перчатка или удлиненная перчатка (перчатка с рукавом) неисправна, то давление на шкале манометра будет постепенно снижаться (т.е. 500 Па, 495 Па, 490 Па). Эта тенденция будет видна и будет нарастать.
Скорость снижения давления будет пропорциональна величине нарушения герметичности перчатки.
Следует повторить контроль любым методом.
Должны быть тщательно изучены другие методы, позволяющие фиксировать изменение давления и дефекты (например, неточно установленное уплотнительное кольцо манжеты, повреждающее перчатку) повторно испытуемой или замененной перчатки. После этого должен быть проведен контроль, подтверждающий качество перчатки.
E.6. Пример определения утечек в полукостюме
E.6.1. Для приемочных испытаний оборудования, содержащего эластичные полукостюмы, может применяться кислородный метод по ИСО 10648-2.
E.6.2. После получения количественных данных при проведении приемочных испытаний могут быть выполнены испытания методом давления с целью получения результатов для сравнения данных по герметичности, полученных при отрицательном давлении, в частности, чтобы избежать противоречий.
(справочное)
ОПРЕДЕЛЕНИЕ УТЕЧЕК ПО МЕТОДУ ПАРДЖО
F.1. Область применения
Метод был разработан и назван именами К. Паркинсона и У. Джонса. Метод Парджо предназначен для определения интенсивности утечки в изолирующем устройстве, работающем при давлениях, близких к атмосферному. Он представляет собой быстрый (относительно) и универсальный метод определения интенсивности утечек. Он может использоваться в загрязненных устройствах, обеспеченных устройством безопасного снижения давления. Таким образом удается сократить время испытаний, поскольку не используются приборы контроля с прониканием внутрь устройства.
Небольшое время испытаний снижает влияние колебаний температуры и атмосферного давления. Этот метод имеет высокую точность при определении малых утечек [12].
F.2. Определение значительных утечек
F.2.1. Основные положения
Методы определения значительных утечек изложены в
E.2.1. Они должны применяться для нового оборудования, прежде чем использовать метод Парджо.
F.2.2. Принцип работы
В методе Парджо используется стеклянная трубка заданного размера с введенным в нее мениском в форме пленки (далее - мениск) детергента и стандартный сосуд установленного объема.
Принципиальная схема испытаний приведена на
рисунке F.1. При открытых вентилях A и B давление в изолирующем устройстве и стандартном сосуде вскоре достигает равновесия. Затем при закрытых вентилях любое изменение давления в изолирующем устройстве приводит к перемещению мениска по направлению к меньшему значению давления. Это перемещение отражает изменение объема. Метод использует трубку Парджо (см.
рисунок F.4), установленную как приведено на
рисунках F.2 и
F.3. Стеклянные стенки стандартного сосуда будут быстро пропускать лучистое тепло в изолирующее устройство. Следует предпринять меры предосторожности для предотвращения повышения температуры в изолирующем устройстве за счет излучения тепла от внешних источников. Смещение мениска будет в таком случае точно соответствовать изменениям атмосферы в изолирующем устройстве и характеризовать изменение объема. Если наблюдение за отклонением мениска проведено за короткое время, например не более пяти минут, то колебаниями температуры и давления можно пренебречь.

1 - вентиль A, 2 - свободный от трения мениск,
3 - манометр, 4 - изолирующее устройство, 5 - стеклянная
трубка, 6 - резиновая пробка, 7 - стандартный сосуд
известного объема из прозрачного стекла, 8 - изолирующий
вентиль B, 9 - направление к источнику давления или вакуума
Рисунок F.1. Принципиальная схема испытаний
1 - соединение изолирующего устройства с рабочим
трубопроводом, 2 - смотровое окно, 3 - резиновая груша
с пипеткой, 4 - резиновая трубка, 5 - трубка Парджо,
6 - резиновая пробка, 7 - стеклянный сосуд, 8 - манометр,
9 - изолирующий вентиль, 10 - источник давления или вакуума
Рисунок F.2. Типовая схема установки
контрольного оборудования
1 - изолирующее устройство, 2 - HEPA фильтр (опция),
3 - манометр, 4 - резиновая трубка, 5 - пипетка,
6 - изолирующий вентиль, 7 - трубка Парджо,
8 - резиновая пробка, 9 - изолированный стеклянный
сосуд, 10 - источник давления или вакуума
Рисунок F.3. Типовая схема установки контрольного
оборудования с его расположением вне изолирующего устройства
1 - шкала, 2 - зажим, 3 - уровень жидкости
в рабочем состоянии
Рисунок F.4. Трубка Парджо (тип A)
F.3. Оборудование
F.3.1. Основные положения
Описание контрольного оборудования приведено в
F.3.2. Для контроля могут применяться только элементы конструкции, установленные так, как это указано в данном разделе. Для того чтобы метод мог использоваться в условиях производства и в лабораториях, контрольное оборудование должно подаваться внутрь устройства с минимальным нарушением его герметичности. Элементы оборудования могут вводиться и затем монтироваться внутри через перчаточный порт диаметром 152 мм или близкого размера.
Если в изолирующее устройство нельзя ввести контрольное оборудование, то следует применять другие методы (см.
F.3.3)
F.3.2. Перечень оборудования
F.3.2.1. Метод Парджо предусматривает использование следующего оборудования:
a) трубки Парджо типа A;
b) метрической шкалы (прикрепляется);
c) зажимов, пружины;
d) пробок, резиновых трубок диаметром, соответствующим диаметру трубки Парджо (19 мм или 21 мм);
e) стеклянного сосуда из прозрачного стекла объемом 2500 см3;
f) резиновой груши с пипеткой (далее - пипетка) и тремя клапанами.
F.3.2.2. Другие элементы (должны быть в состоянии готовности):
a) резиновая трубка внутренним диаметром 6 мм;
b) U-образный манометр или мембранный манометр с нужным диапазоном шкалы;
c) секундомер или хронометр;
d) игольчатый клапан для ввода контролируемой утечки;
e) источник давления или вакуума;
f) изолирующий вентиль, например диафрагменного типа (внутренний диаметр 6 мм);
g) приспособление для соединения с вентилем (резиновый шланг и т.д.);
| | ИС МЕГАНОРМ: примечание. В официальном тексте документа, видимо, допущена опечатка: имеется в виду пункт F.3.4, а не рисунок F.3.4. | |
h) мыльный раствор для образования мениска (см. рисунок
F.3.4).
F.3.3. Конструктивные требования
Для использования метода Парджо нужно вводить контрольные приборы внутрь изолирующего устройства. Трубка Парджо и шкала должны быть ясно видны оператору. Для этого может быть использовано люминесцентное излучение (например, ручной аккумуляторный фонарь). Изолирующее устройство должно быть также оснащено средствами измерения давления внутри устройства, например мембранным или U-образным манометром. Большинство изолирующих устройств имеют несколько штуцеров различных размеров. Эти штуцеры могут использоваться для установки смотровых окон и обеспечения доступа к контрольным приборам.
На
рисунках F.2 и
F.3 приведены типовые схемы установки приборов. На
рисунке F.2 показана схема размещения контрольного оборудования внутри изолирующего устройства, готового для присоединения к любой системе. Схема, приведенная на
рисунке F.3, обеспечивает

универсальность. Стеклянный сосуд (9) должен быть изолирован, чтобы уменьшить колебания температуры. Фильтр на линии выхода из изолирующего устройства защищает пробоотборник, что позволяет проводить контроль загрязненных систем.
Если определение утечек изолирующего устройства проводится в соответствии с методом Парджо, то план или перечень показателей или то и другое должны включать в себя:
a) испытания на утечку ________________ - Па (при положительном
давлении);
b) максимальная интенсивность утечки __ - объемный процент/час
(при отрицательном давлении)
или
- объемный процент/час
(при положительном давлении).
F.3.4. Подготовка оборудования
Трубка Парджо (см.
рисунок F.4) представляет собой цилиндр для нахождения в нем мениска. Для свободного перемещения мениска трубку Парджо следует тщательно вымыть высококачественным моющим раствором, сполоснуть чистой водопроводной водой и оставить внутреннюю полость во влажном состоянии вплоть до присоединения через пробку к стандартному стеклянному сосуду.
Стеклянный сосуд должен иметь установленный объем (обычно 2500 см3 или 2700 см3) и быть чистым и сухим. Некоторое количество конденсата следует испарить до начала работы. Он также может сам испариться во время испытаний. Необходимо использовать чистый стеклянный сосуд. Не следует использовать сосуды из цветного стекла.
Для образования мениска в форме пленки или пузырька нужно небольшое количество мыльного раствора (около 5 см3). Он может быть приготовлен из жидкого хозяйственного высококачественного мыла и чистой водопроводной воды в соотношении 50:50 по объему. Коммерческие детергенты и дешевые жидкости могут оставлять осадки в трубке Парджо, что может вызывать сопротивление движению мениска и быть причиной получения ошибочных результатов. Средства лучшего качества содержат смачивающие добавки. Альтернативой является применение жидких индикаторов утечек. Чтобы облегчить наблюдение, очень аккуратно могут быть использованы красители (например индикаторные чернила или проникающая краска хорошего качества).
Резиновая пробка (19 мм) должна обеспечить плотную установку трубки Парджо по центральной оси горловины сосуда. Установленная трубка Парджо должна быть слегка выдвинута, чтобы был виден ее конец.
Стандартный сосуд в этой конфигурации должен быть изолирован, чтобы свести к минимуму колебания температуры. Использование встроенных в линию точек отбора проб, защищенных HEPA фильтрами, позволяет применять этот метод для загрязненных систем и предотвращает возможное загрязнение от контрольного оборудования.
Свободный конец трубки Парджо соединяется с тестируемым устройством гибким поливинилхлоридным шлангом минимальной длины.
В некоторых случаях интенсивность утечки не удается определить. Чтобы получить представительный результат испытаний, следует создать некоторую утечку с помощью игольчатого клапана хорошего качества, устанавливаемого в изолирующее устройство либо в контрольное оборудование.
Изолирующие устройства часто имеют прозрачную структуру. Под влиянием условий испытаний видимая утечка может колебаться в зависимости от стенок или окон изолирующего устройства. Например, при наличии утечки в изолирующем устройстве с окнами из пластиковой пленки эти окна прогибаются при проведении контроля. Колебания атмосферного давления могут быть причиной значительного изменения объема изолирующего устройства. Влияние окружающей температуры и давления должно быть сведено к минимуму, и любые изменения должны быть оформлены документально.
F.4. Проведение испытаний
F.4.1. Подготовка трубки Парджо
Следует наполнить трубку Парджо мыльным раствором так, чтобы его уровень достигал половины сферического сосуда (см.
рисунок F.4). Зажимами следует прикрепить шкалу. Затем следует соединить верхний конец U-образной трубки с сосудом через резиновый шланг с пипеткой по
F.4.3, расположенной снаружи изолирующего устройства. Стеклянную трубку через резиновую пробку следует вставить в стандартный сосуд.
При стабильных условиях, герметичном изолированном устройстве и контрольном значении давления в нем легким нажатием на резиновую грушу следует создать пузырек и добиться того, чтобы мениск занял положение на пересечении двух измерительных полостей стеклянной трубки. Следует постепенно ослаблять давление на резиновую грушу, чтобы мениск оставался на прежнем месте. При выполнении операции необходимо легко прикасаться к груше. Пипетка имеет три клапана, встроенных в конструкцию. При введении пузырька нужно оперировать соответствующим клапаном.
Следует наблюдать за поведением мениска. Если повышение давления происходит при контроле при отрицательном давлении, то мениск будет прогибаться вдоль полости по направлению к стандартному сосуду. Если повышение давления имеет место при контроле при повышенном давлении, то мениск будет выгибаться в сторону от стандартного сосуда.
F.4.2. Порядок проведения испытаний
Испытания интенсивности утечки должны проводиться для каждого изолирующего устройства при положительном давлении внутри него. Аналогичным образом должны проводиться испытания и при отрицательном давлении.
При проведении испытаний следует:
a) тщательно очистить все элементы, которые должны устанавливаться в изолирующее устройство, убедиться, что трубка Парджо тщательно очищена и увлажнена согласно
F.3.4, заполнить сосуд достаточным количеством раствора; положение стандартного сосуда и трубки Парджо должно быть таким, чтобы через смотровую панель можно было хорошо видеть положение мениска;
b) загерметизировать изолирующее устройство и, пользуясь соответствующими приспособлениями, уменьшать или увеличивать давление так, как это требуется при проведении испытаний; контрольное давление должно быть 1000 Па или соответствовать требованиям документа (договора);
c) выдержать примерно 30 мин, чтобы все оборудование приобрело одинаковую температуру;
d) осторожно сжимая грушу пипетки, ввести в трубку Парджо пузырек, чтобы мениск детергента занял положение на пересечении двух измерительных полостей трубки, осторожно ослабить нажатие на грушу так, чтобы мениск не изменил своего положения:
- если изолирующее устройство находится при отрицательном давлении и негерметично, то пузырек будет двигаться вдоль наклонной полости трубки Парджо по направлению к стандартному сосуду,
- если изолирующее устройство находится при избыточном давлении и негерметично, то пузырек будет двигаться вдоль полости трубки Паджио по направлению к внутреннему объему изолирующего устройства;
e) как только пузырек образует ровный мениск в трубке, следует зафиксировать время движения мениска и отметить его прогиб, при этом следует убедиться, что это не вторичный пузырек, проскочивший из сосуда или изолирующего устройства; движение мениска в трубке Парджо может происходить под влиянием находящегося вблизи конца трубки вторичного пузырька из стандартного сосуда или воздушной среды изолирующего устройства; убедиться, что вторичные пузырьки исчезли до начала отсчета положения мениска; в обоих случаях пузырьки могут быть разрушены с помощью пипетки;
f) измерить смещение мениска в период времени от 3 до 5 мин и записать результаты:
- если смещение неразличимо, то следует ввести небольшую утечку в приемлемом размере, открыв какой-нибудь штуцер, или с помощью игольчатого клапана, установленного для этой цели; затем следует приступить к оформлению документа (протокола);
g) оформить результаты протоколом контроля, форма которого приведена в
F.5.4.
В процессе контроля приблизительная интенсивность утечки оценивается в период времени от 2 до 3 мин. Быстрое движение пузырька свидетельствует о превышении допустимого значения. Результаты такого испытания не оформляются. Если оборудование используется во время поиска утечек, то оно может выявить снижение интенсивности утечек при устранении неплотностей.
Поток воздуха в месте утечки может быть неоднонаправленным. Это, в частности, справедливо для несплошной герметизации с помощью сальниковой набивки.
F.4.3. Использование пипетки
Пипетка представляет собой резиновую грушу, снабженную тремя стеклянными шаровыми клапанами (см.
рисунок F.5). При введении пузырька в центр измерительных полостей трубки Парджо следует:
a) убедиться в том, что в сосуде находится достаточное количество раствора;
b) осторожно сжать рукой резиновую грушу, чтобы создать небольшое давление;
c) большим и указательным пальцами другой руки очень осторожно сжать клапан A, чтобы создать давление в трубке Парджо, одновременно наблюдая за воздействием на мыльный раствор;
d) прекратить сжимать клапан A и резиновую грушу, когда пузырек будет сформирован;
f) сжать клапан R, чтобы сбросить оставшееся давление в резиновой груше.
1 - направление в атмосферу, 2 - клапан R, 3 - резиновая
груша, 4 - клапан A; 5 - клапан M, 6 - направление
к трубке Парджо
Примечание. Клапаны являются нормально закрытыми.
Рисунок F.5. Схема пипетки
F.5. Обработка результатов
F.5.1. Общие положения
Следует применять только аттестованное оборудование установленных размеров и характеристик. Базовый метод расчета интенсивности утечки приведен в F.5.2.
F.5.2. Формула для расчета
Часовая интенсивность утечки

вычисляется по формуле

, (F.1)
где

- площадь поперечного сечения трубки Парджо, см2;
d - смещение мениска в трубке, см;

- объем стандартного сосуда, см3 (стеклянные колбы объемом 2500 см3 или 2700 см3);
t - время испытания, мин.
Внутренний диаметр аттестованной трубки Парджо равен 4 мм, площадь поперечного сечения

- 0,126 см2, но по практическим соображениям принимается 0,127 см2. Следовательно, смещение d, см, мениска в трубке соответствует изменению объема

, см3.
F.5.3. Примеры
При смещении мениска на 0,8 см в течение пяти минут и объеме стеклянной колбы 2500 см3 часовая интенсивность утечки

,

, вычисляется по формуле

.
При смещении мениска на 1,0 см в течение пяти минут и объеме стеклянной колбы 2700 см3 часовая интенсивность утечки

,

, вычисляется по формуле

.
При смещении мениска на 1,5 см в течение трех минут и объеме стеклянной колбы 2700 см3 часовая интенсивность утечки

,

, вычисляется по формуле

.
F.5.4. Оформление результатов испытаний
F.5.4.1. Основные положения
Порядок оформления результатов испытаний зависит от типа оборудования, объема, подлежащего контролю, и допустимой интенсивности утечки. В
F.3.2 приведены основные размеры оборудования. Использование только аттестованного (согласованного) оборудования позволяет оформить протокол в соответствии с требованиями, предусмотренными контрактом или другим документом.
Порядок работы изложен в
разделе F.4. Если утечка поддается обнаружению, то она сопровождается смещением мениска в трубке Парджо. Утечка изолирующего устройства может не обнаруживаться этим методом, если период наблюдения не превышает рекомендованного времени пяти минут. Это не означает, что изолирующее устройство герметично, и в протоколе контроля не должно указываться, что утечка не поддается обнаружению.
Если изолирующее устройство негерметично и утечка не определяется этим методом, то путем открывания клапана, специально установленного с этой целью, должна быть введена предельно допустимая утечка (см.
F.4.2). После приемлемого смещения мениска, наблюдаемого и фиксируемого за определенный период времени, клапан должен быть закрыт, и смещение мениска должно прекратиться. Процедура должна быть проведена повторно. В протоколе может быть указано, что подлинная интенсивность утечки не превышает введенной утечки и, следовательно, является допустимой. В
таблице F.1 приведены рекомендуемые значения смещения и интервалов времени.
В F.5.4.2 приведен пример протокола испытаний изолирующих устройств. При обнаружении утечки рекомендуется использовать два или три отчета. Если значения утечки находятся в допустимых пределах, то следует определить среднее значение утечки.
F.5.4.2. Пример протокола испытаний
Протокол
Определение часовой интенсивности утечки методом Парджо
Дата контроля __________________ Номер контракта __________________________
Изготовитель ______________________________________________________________
Место проведения контроля _________________________________________________
Номер чертежа _____________________________________________________________
Обозначение изолирующего устройства _______________________________________
Давление при контроле изолирующего устройства ___________ кПа положительное
Давление в изолирующем устройстве при определении интенсивности
утечки __________________________________________________ кПа отрицательное
_________________________________________________________ кПа положительное
Максимально допустимая часовая скорость утечки ______________________ макс.
Объем стандартного сосуда _____________________________________________ см3
Время начала контроля ____________ завершения _____________________________
(когда достигнуто стабильное состояние)
┌─────────┬───────────────┬────────────────────────────────┬───────────────┐
│ Номер │ Давление │ Смещение мениска в трубке │ Часовая │
│испытания│(положительное/├───────────────┬────────────────┤ интенсивность │
│ │отрицательное) │ Наблюдаемое │Время, в течение│ утечки │
│ │ │смещение d, см │ которого │ -1 │
│ │ │ │ наблюдается │ R , ч │
│ │ │ │ смещение, │ h │
│ │ │ │ t, мин │ │
├─────────┼───────────────┼───────────────┼────────────────┼───────────────┤
├─────────┼───────────────┼───────────────┼────────────────┼───────────────┤
├─────────┼───────────────┼───────────────┼────────────────┼───────────────┤
├─────────┼───────────────┼───────────────┼────────────────┼───────────────┤
├─────────┼───────────────┼───────────────┼────────────────┼───────────────┤
├─────────┼───────────────┼───────────────┼────────────────┼───────────────┤
└─────────┴───────────────┴───────────────┴────────────────┴───────────────┘
Часовая интенсивность утечки вычисляется по формуле

,
где

- стандартный объем, ...................................... см3;

- площадь поперечного сечения ........................... 0,127 см2;
d - наблюдаемое смещение .......................................... см;
t - время, в течение которого наблюдается смещение, ............... мин
Средняя часовая интенсивность утечки ......................................
Результат контроля <*> (приемлемый)
(неприемлемый)
Расчет произвел _________________________________ Подпись _________________
Протокол проверил _______________________________ Подпись _________________
--------------------------------
<*> Ненужное зачеркнуть.
F.5.5. Значения часовой интенсивности утечки
Таблица F.1
Значения часовой интенсивности утечки
для трубки Парджо типа A
Смещение, см | Время наблюдения, мин |
1 | 2 | 3 | 4 | 5 |
0,2 | 0,00060 | 0,00030 | 0,00020 | 0,00015 | 0,00012 |
0,3 | 0,00091 | 0,00045 | 0,00030 | 0,00022 | 0,00018 |
0,4 | 0,00121 | 0,00060 | 0,00040 | 0,00030 | 0,00024 |
0,5 | 0,00152 | 0,00076 | 0,00050 | 0,00038 | 0,00030 |
0,6 | 0,00182 | 0,00091 | 0,00060 | 0,00045 | 0,00036 |
0,7 | 0,00213 | 0,00106 | 0,00071 | 0,00053 | 0,00042 |
0,8 | 0,00243 | 0,00121 | 0,00081 | 0,00060 | 0,00048 |
0,9 | 0,00274 | 0,00137 | 0,00091 | 0,00068 | 0,00054 |
1,0 | 0,00304 | 0,00152 | 0,00101 | 0,00076 | 0,00060 |
2,0 | 0,00608 | 0,00304 | 0,00202 | 0,00152 | 0,00120 |
3,0 | 0,00912 | 0,00456 | 0,00303 | 0,00228 | 0,00180 |
4,0 | 0,01216 | 0,00608 | 0,00404 | 0,00304 | 0,00240 |
5,0 | 0,01520 | 0,00760 | 0,00505 | 0,00380 | 0,00300 |
6,0 | 0,01824 | 0,00912 | 0,00606 | 0,00456 | 0,00360 |
7,0 | 0,02128 | 0,01064 | 0,00707 | 0,00532 | 0,00420 |
8,0 | 0,02432 | 0,01216 | 0,00808 | 0,00608 | 0,00480 |
9,0 | 0,02736 | 0,01368 | 0,00909 | 0,00684 | 0,00540 |
Примечание. Приблизительные данные относятся к стандартному сосуду объемом 2500 см3. |
(справочное)
СВЕДЕНИЯ О СООТВЕТСТВИИ НАЦИОНАЛЬНЫХ СТАНДАРТОВ
РОССИЙСКОЙ ФЕДЕРАЦИИ ССЫЛОЧНЫМ МЕЖДУНАРОДНЫМ
(РЕГИОНАЛЬНЫМ) СТАНДАРТАМ
Обозначение ссылочного международного стандарта | Обозначение и наименование соответствующего национального стандарта |
ИСО 10648-2:1994 | |
ИСО 13408-1:1998 | медицинской продукции. Часть 1. Общие требования |
ИСО 14644-1:1999 | с ними контролируемые среды. Часть 1. Классификация чистоты воздуха |
ИСО 14644-2:2000 | с ними контролируемые среды. Часть 2. Требования к контролю и мониторингу для подтверждения постоянного |
ИСО 14644-3:2002 | |
ИСО 14644-4:2001 | с ними контролируемые среды. Часть 4. Проектирование, строительство и ввод в эксплуатацию |
ИСО 13408-1:1998 | с ними контролируемые среды. Часть 5. Эксплуатация |
ИСО 14698-1:2003 | ГОСТ ИСО 14698-1-2005. Чистые помещения и связанные с ними контролируемые среды. Контроль биозагрязнений. Часть 1. Общие принципы и методы |
ИСО 14698-2:2003 | ГОСТ ИСО 14698-2-2005. Чистые помещения и связанные с ними контролируемые среды. Контроль биозагрязнений. Часть 2. Анализ данных о биозагрязнениях |
<*> Соответствующий национальный стандарт отсутствует. До его утверждения рекомендуется использовать перевод на русский язык данного международного стандарта. Перевод данного международного стандарта находится в Федеральном информационном фонде технических регламентов и стандартов. |
[1] ISO 10648-1:1997 Containment enclosures - Part 1: Design
principles
[2] ISO 13408-1:1998 Aseptic processing of health care products -
Part 1: General requirements
[3] ISO 13408-5:2006 Aseptic processing of health care products -
Part 5: Aseptic processing of solid medical
devices
[4] ISO 13408-6:2005 Aseptic processing of health care products -
Part 6: Isolator/barrier technologies
[5] ISO 14644-5:2004 Cleanrooms and associated controlled
environments - Part 5: Operations
[6] EN 12296:1998 Biotechnology - Equipment - Guidance on testing
procedures for cleanability
[7] EN 12298:1998 Biotechnology - Equipment - Guidance on testing
procedures for leaktightness
[8] EN 12307:1998 Biotechnology - Large-scale process and
production - Guidance for good practice,
procedures, training and control for personnel
[9] EN 12469:2000 Biotechnology - Performance criteria for
microbiological safety cabinets
[10] ENV 1631:1997 Cleanroom technology - Design, construction and
operation of cleanrooms and clean air devices
[11] AECP 59 Shielded and unshielded glove boxes for "hands
on" operation. United Kingdom Atomic Energy
Authority (UKAEA) Harwell Laboratory,
Oxfordshire, UK
[12] AECP 1062 The Parjo method of leak rate testing low
pressure containers. United Kingdom Atomic
Energy Authority (UKAEA) Harwell Laboratory,
Oxfordshire, UK
[13] BS 3636:1963 Methods for proving the gas tightness of vacuum
for pressurized plants
[14] IEST-RP-CC0028:2002 Minienvironments. Institute of Environmental
Sciences and Technology, Rolling Meadows,
Illinois, USA
[15] NF 0137/1 Leak testing, Code of practice for test
requirements for low working pressure
containers. British Nuclear Fuels, plc,
Technical Standards Group, Risley, UK
[16] SEMI E19-0697:1997 Standard mechanical interface (SMIF). SEMI,
San Jose, California, USA
[17] SEMI E47.1-0303:2001 Provisional mechanical standard for boxes and
pods used to transport and store 300-mm wafers.
SEMI, San Jose, California, USA
[18] SEMI E45-1101:2001 Test method for the determination of inorganic
contamination from mini-environments using
vapor phase decomposition/total reflection X-ray
fluorescence spectroscopy (VPD-TXRF),
VPD/inductively coupled plasma-mass spectrometry
(VPD/ICP-MS). SEMI, San Jose, California, USA
[19] SEMI E46-95:1995 Specification for the determination of organic
contamination from mini-environments. SEMI, San
Jose, California, USA. To be published
[20] SEMI E62-0701:2001 Provisional specification for 300-mm
front-opening interface mechanical standard
(FIMS). SEMI, San Jose, California, USA
[21] SEMI S11-1296:1996 Environmental, safety and health guidelines
for semiconductor manufacturing equipment
minienvironments. SEMI, San Jose, California,
USA
[22] TC 233/N229 DS:1995 Safe biotechnology - Performance criteria
for safety cabinets. CEN, Brussels, Belgium
[23] A guide to hazard and operability studies.
Chemical Industry and Health Council of the
Chemical Industry Association, Publications
Department, 1977, London, UK
[24] COLES T. Isolation technology: A practical
guide. Interpharm Press, 1998, Buffalo Grove,
Illinois, USA
[25] FULTON S., BASS E. and CHRISTAL L. I300I Factory
Guideline Compliance: Factory Integration
Maturity Assessment for 300 mm Production
Equipment: Version 4.0. International Sematech
Technology Transfer # 98023468B-TR, March 31,
1999, Appendix G, Minienvironment Parametric
Test Methods. International Sematech, 1999,
Austin, Texas, USA
[26] Isolators for pharmaceutical applications,
ISBN 0 11 701829 5. HMSO, 1994, London, UK
[27] SHERWOOD E., HOPE D., WHITMORE J., OTTESEN C.
and DAVIS C. Integrated Minienvironment Design
Best Practices. International Sematech
Technology Transfer # 99033693A, March 31,1999,
International Sematech, 1999, Austin, Texas, USA
[28] SIRCH E.C. Isolatortechnik in der
pharmazeutischen Industrie, in: Reinraumtechnik,
Gail, L. and Hortag H.P. (eds.), pp. 168 - 211,
Springer Verlag, 2001, Berlin - Heidelberg -
New York
[29] SIRCH E.C. User requirements and design
specifications of isolator containment for
pharmaceutical production, in 1998 Proceedings
of the 44th Annual Technical Meeting of the IEST
concurrent with the ICCCS 14th International
Symposium on Contamination Control, p. 343,
Institute of Environmental Sciences and
Technology, Phoenix, Arizona, USA
[30] TOLLIVER D.L. (ed.). Handbook of contamination
control in microelectronics: principles,
applications and technology. Noyes Publications,
1988, Park Ridge, New Jersey, USA
[31] WAGNER C.M. and AKERS J.E. (eds.). Isolator
technology applications in the pharmaceutical
and biotechnology industries. Interpharm Press,
1995, Buffalo Grove, Illinois, USA.