Главная // Актуальные документы // ГОСТ Р (Государственный стандарт)СПРАВКА
Источник публикации
М.: ИПК Издательство стандартов, 2003
Примечание к документу
Документ
введен в действие с 1 января 2005 года.
Название документа
"ГОСТ Р ИСО 13862-2003. Государственный стандарт Российской Федерации. Машины валочно-пакетирующие. Параметры конструктивные. Номенклатура и обозначения"
(принят и введен в действие Постановлением Госстандарта России от 21.05.2003 N 152-ст)
"ГОСТ Р ИСО 13862-2003. Государственный стандарт Российской Федерации. Машины валочно-пакетирующие. Параметры конструктивные. Номенклатура и обозначения"
(принят и введен в действие Постановлением Госстандарта России от 21.05.2003 N 152-ст)
Принят и введен в действие
России
от 21 мая 2003 г. N 152-ст
ГОСУДАРСТВЕННЫЙ СТАНДАРТ РОССИЙСКОЙ ФЕДЕРАЦИИ
МАШИНЫ ВАЛОЧНО-ПАКЕТИРУЮЩИЕ
ПАРАМЕТРЫ КОНСТРУКТИВНЫЕ. НОМЕНКЛАТУРА И ОБОЗНАЧЕНИЯ
Feller-bunchers. Definitions and Specifications
ГОСТ Р ИСО 13862-2003
Дата введения
1 января 2005 года
1. Разработан и внесен Техническим комитетом по стандартизации ТК 361 "Лесные машины".
2. Принят и введен в действие
Постановлением Госстандарта России от 21 мая 2003 г. N 152-ст.
3. Настоящий стандарт представляет собой идентичный текст ИСО 13862-2000 "Машины лесные. Валочно-пакетирующие. Обозначения конструктивных параметров и коммерческая спецификация".
4. Введен впервые.
Настоящий стандарт устанавливает единые обозначения конструктивных параметров, размеров и масс валочно-пакетирующих машин по ГОСТ 29008 (далее - ВПМ) на колесной или гусеничной базе.
В настоящем стандарте использована ссылка на ГОСТ 29008-91 (ИСО 6814-83) Машины для лесного хозяйства мобильные и самоходные. Термины и определения
3. ПАРАМЕТРЫ КОНСТРУКТИВНЫЕ И ИХ ОБОЗНАЧЕНИЯ
На
рисунках 1 -
2 приведены обозначения основных параметров ВПМ. При необходимости параметры конкретной машины могут быть дополнены изготовителем.
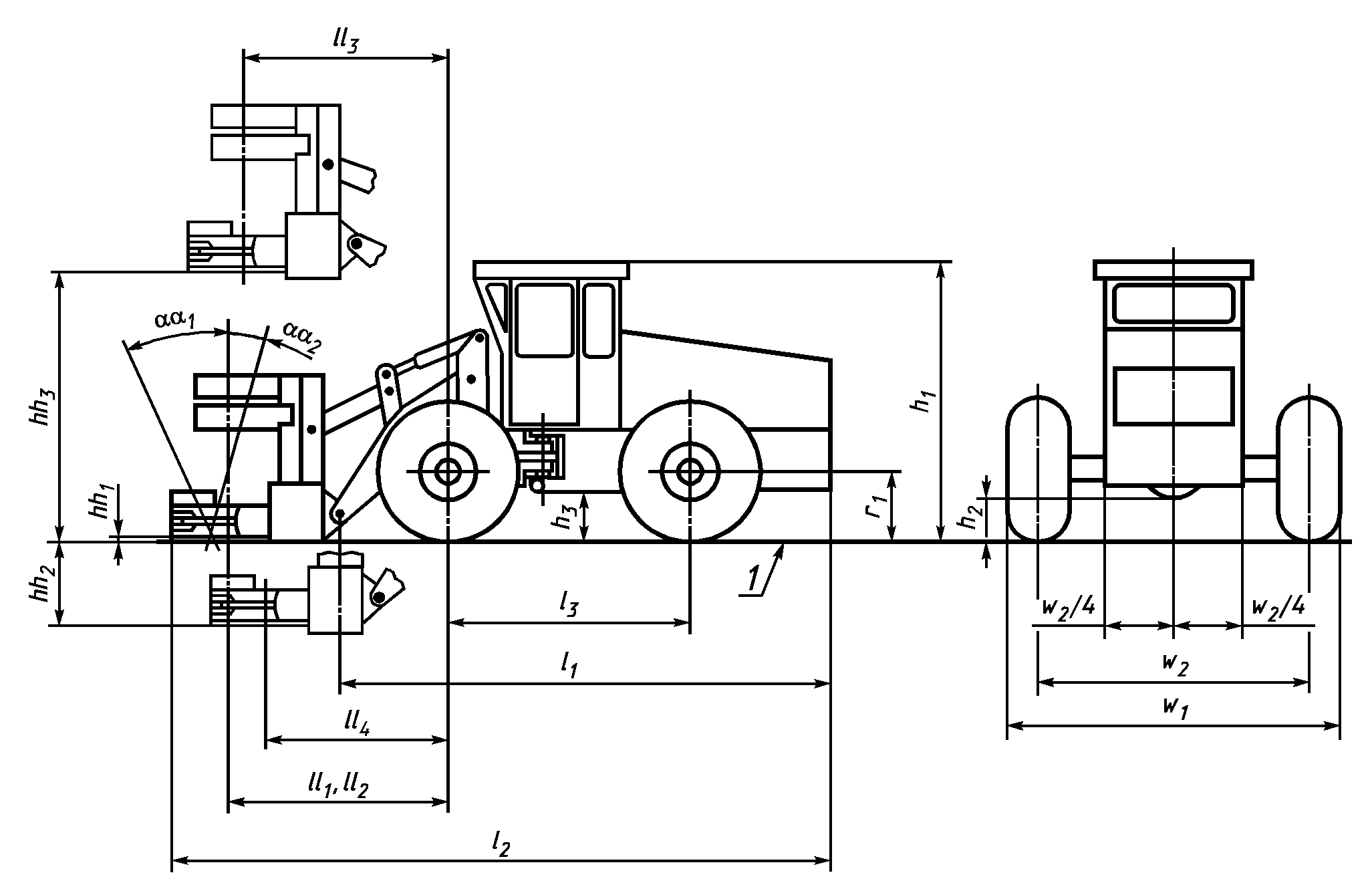
Рисунок 1. Валочно-пакетирующая машина
с поворотной платформой, гусеничный тип
1 - опорная площадь отсчета
Рисунок 2. Валочно-пакетирующая машина с фронтальной
навеской рабочего органа, колесный тип
3.1. Общие положения
3.1.1. Правая (левая) стороны ВПМ - соответственно сторона ВПМ справа (слева) от оператора, находящегося в кабине лицом по направлению движения ВПМ передним ходом.
3.1.2. Передняя (задняя) части ВПМ - соответственно части ВПМ спереди (сзади) от оператора, находящегося в кабине лицом по направлению движения ВПМ передним ходом.
3.1.3. Опорная плоскость отсчета GRP - плоскость с ровной и твердой (бетонное основание и покрытие, не уступающее ему по твердости) поверхностью.
3.2. Масса
3.2.1. Эксплуатационная масса - масса ВПМ, полностью оснащенной (включая инструмент, принадлежности и запасные части), полностью заправленной топливом, маслами, смазками и специальными жидкостями, а также включая массу оператора 75 кг.
3.2.2. Наибольшая эксплуатационная масса - эксплуатационная масса ВПМ по 3.2.1 с наибольшим рабочим и дополнительным оборудованием в комплектации, указанной изготовителем.
3.3. Главные конструктивные параметры
3.3.1. Длина шасси

- расстояние по горизонтали между вертикальной плоскостью, проходящей через центр нижней оси крепления валочной головки и вертикальной плоскостью, проходящей через крайние задние точки ВПМ
(рисунок 2).
3.3.2. Общая длина машины

- расстояние по горизонтали между вертикальной плоскостью, проходящей через крайние задние точки ВПМ, и вертикальной плоскостью, проходящей через крайние передние точки валочной головки, полностью опущенной вниз (
рисунки 1,
2).
3.3.3. Колесная база ВПМ

- расстояние по горизонтали от оси передних колес до оси задних колес, когда обе оси расположены перпендикулярно к продольной вертикальной плоскости.
Гусеничная база ВПМ

- расстояние по горизонтали от оси переднего катка до оси заднего катка.
3.3.4. Общая высота машины

- расстояние по вертикали между GRP и горизонтальной плоскостью, проходящей через самую высокую точку машины (возможно кабины или стрелы) в положении валочной головки, определенном в
3.3.2.
3.3.5. Дорожный просвет ВПМ

- расстояние по вертикали от GRP до самой нижней точки центральной части ВПМ. Ширину центральной части ВПМ определят, как 25% размера колеи

в каждую сторону от центральной продольной вертикальной плоскости машины.
3.3.6. Дорожный просвет под шарниром рамы

- расстояние по вертикали от GRP до самой нижней точки шарнира рамы
(рисунок 2).
3.3.7. Ширина ВПМ

- расстояние по горизонтали между двумя вертикальными плоскостями, параллельными продольной плоскости машины и проходящими через самые крайние точки по обеим сторонам машины, в положении, определенном в
3.3.2.
3.3.8. Колея ВПМ

- расстояние по горизонтали между двумя параллельными вертикальными плоскостями, проходящими через центральные плоскости колес (гусениц). Если переднее и заднее расстояния между центральными плоскостями колес различны, то указывают два размера (
рисунки 1,
2).
3.3.9. Радиус колеса под нагрузкой

- расстояние по вертикали от GRP до оси колеса при наибольшей эксплуатационной массе машины
(рисунок 2).
3.3.10. Угол поворота полурам в горизонтальной плоскости

- наибольшие углы поворота полурам в горизонтальной плоскости в каждую сторону от продольной вертикальной плоскости.
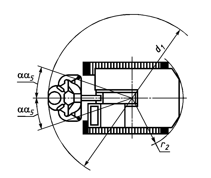
3.3.11. Наименьшая окружность разворота ВПМ

- окружность, которую опишет самая выступающая точка машины или валочная головка, когда стрела и валочная головка поворачиваются в свое крайнее положение. При этом валочная головка должна быть развернута в рабочее положение и приближена к машине, насколько это возможно без контакта с невращающимися деталями машины
(рисунок 1).
3.3.12. Радиус поворота хвостовой части ВПМ

- расстояние от центральной оси вращения поворотной платформы до самой крайней точки верхней конструкции платформы (если ею оснащена машина), параллельной GRP.
3.3.13. Габаритный диаметр поворота ВПМ

- диаметр наименьшего круга, который самая крайняя точка машины опишет при повороте, когда тормоза не задействованы, валочная головка находится на уровне GRP
(рисунок 2).
3.3.14. Продольный наклон поворотной платформы

,

- наибольшие углы наклона поворотной платформы, вперед

и назад

, при котором механизм наклона платформы в состоянии поддерживать горизонтальный уровень поворотной платформы в направлении движения вперед и назад
(рисунок 1).
3.3.15. Боковой наклон поворотной платформы

,

- наибольший угол наклона поворотной платформы, при котором механизм наклона платформы в состоянии поддерживать горизонтальный уровень поворотной платформы в направлении вправо и влево.
3.4. Параметры валочной головки
3.4.1. Наименьшая высота срезаемого пня

- расстояние по вертикали от GRP до нижней кромки режущего устройства валочной головки.
3.4.2. Глубина среза пня

- наибольшее расстояние по вертикали от GRP вниз до горизонтальной плоскости, проходящей по нижней кромке режущего устройства валочной головки, при котором вертикальная осевая линия валочной головки перпендикулярна к GRP.
3.4.3. Наибольшая высота пня

- наибольшее расстояние по вертикали от GRP до нижней кромки режущего устройства валочной головки, при котором валочная головка находится в крайнем верхнем положении и ее вертикальная осевая линия перпендикулярна к GRP.
3.4.4. Наклоны валочной головки
3.4.4.1. Наклон вперед

и наклон назад

- наибольший угол, на который отклоняется осевая линия валочной головки вперед или назад относительно вертикальной плоскости, проходящей через ось крепления валочной головки, с учетом наклона поворотной платформы (
рисунки 1,
2).
3.4.4.2. Боковой наклон

,

- угол наклона валочной головки

и

- наибольший угол, на который валочная головка отклоняется вправо и влево в вертикальной плоскости, перпендикулярной к продольной плоскости ВПМ со стрелой и валочной головкой, совпадающей с продольной плоскостью или расположенной в параллельной продольной плоскости.
3.4.5. Вылет валочной головки

,

,

,

- расстояние по горизонтали от оси поворота стрелы или оси вращения поворотной платформы до осевой линии валочной головки:

- с валочной головкой, находящейся на уровне GRP и на наименьшем удалении от ВПМ;

- с валочной головкой, находящейся на уровне GRP и на наибольшем удалении от ВПМ;

- с валочной головкой, находящейся на наибольшей высоте над GRP;

- с валочной головкой, опущенной ниже GRP в самое низкое положение.
3.4.6. Поворот стрелы

- максимальный угол поворота стрелы в горизонтальной плоскости от осевой линии машины
(рисунок 1).
3.5. Другие параметры
3.5.1. Механизм поддержания горизонтального уровня поворотной платформы - устройство между базой и поворотной платформой, функция которой заключается в поддержании поворотной платформы в горизонтальной плоскости независимо от положения базы (в пределах норм, определенных конструкцией ВПМ).
3.5.2. Наибольший диаметр дерева - наибольший диаметр одиночного дерева, для валки которого изготовлена ВПМ.
3.5.3. Осевая линия валочной головки (дерева) - вертикальная осевая линия наибольшего диаметра дерева, для валки которого изготовлена валочная головка.
3.5.4. Ось крепления валочной головки - соединение между валочной головкой и стрелой.
4. ДОПОЛНИТЕЛЬНАЯ ИНФОРМАЦИЯ
При определении конструктивных параметров, перечисленных в
разделе 3, необходимо дополнительно указать:
- размерность и тип шин;
- норму слойности;
- давление в шинах;
- рабочее давление в гидросистеме.