Главная // Актуальные документы // ГОСТ Р (Государственный стандарт)
СПРАВКА
Источник публикации
М.: Стандартинформ, 2020
Примечание к документу
Документ введен в действие с 01.09.2020.
Название документа
"ГОСТ Р 58890-2020. Национальный стандарт Российской Федерации. Формы стальные для изготовления железобетонных изделий. Проемообразователи и вкладыши. Конструкция"
(утв. и введен в действие Приказом Росстандарта от 23.06.2020 N 286-ст)

"ГОСТ Р 58890-2020. Национальный стандарт Российской Федерации. Формы стальные для изготовления железобетонных изделий. Проемообразователи и вкладыши. Конструкция"
(утв. и введен в действие Приказом Росстандарта от 23.06.2020 N 286-ст)


Содержание


Утвержден и введен в действие
Приказом Федерального
агентства по техническому
регулированию и метрологии
от 23 июня 2020 г. N 286-ст
НАЦИОНАЛЬНЫЙ СТАНДАРТ РОССИЙСКОЙ ФЕДЕРАЦИИ
ФОРМЫ СТАЛЬНЫЕ ДЛЯ ИЗГОТОВЛЕНИЯ ЖЕЛЕЗОБЕТОННЫХ ИЗДЕЛИЙ.
ПРОЕМООБРАЗОВАТЕЛИ И ВКЛАДЫШИ
КОНСТРУКЦИЯ
Steel moulds for precasting reinforced concrete products.
Opening formers and inserts. Design
ГОСТ Р 58890-2020
ОКС 91.220
Дата введения
1 сентября 2020 года
Предисловие
1 РАЗРАБОТАН Научно-исследовательским, проектно-конструкторским и технологическим институтом бетона и железобетона им. А.А. Гвоздева (НИИЖБ им. А.А. Гвоздева) - структурным подразделением Акционерного общества "Научно-исследовательский центр "Строительство" (АО "НИЦ "Строительство")
2 ВНЕСЕН Техническим комитетом по стандартизации ТК 465 "Строительство"
3 УТВЕРЖДЕН И ВВЕДЕН В ДЕЙСТВИЕ Приказом Федерального агентства по техническому регулированию и метрологии от 23 июня 2020 г. N 286-ст
4 ВВЕДЕН ВПЕРВЫЕ
Правила применения настоящего стандарта установлены в статье 26 Федерального закона от 29 июня 2015 г. N 162-ФЗ "О стандартизации в Российской Федерации". Информация об изменениях к настоящему стандарту публикуется в ежегодном (по состоянию на 1 января текущего года) информационном указателе "Национальные стандарты", а официальный текст изменений и поправок - в ежемесячном информационном указателе "Национальные стандарты". В случае пересмотра (замены) или отмены настоящего стандарта соответствующее уведомление будет опубликовано в ближайшем выпуске ежемесячного информационного указателя "Национальные стандарты". Соответствующая информация, уведомление и тексты размещаются также в информационной системе общего пользования - на официальном сайте Федерального агентства по техническому регулированию и метрологии в сети Интернет (www.gost.ru)
1 Область применения
Настоящий стандарт распространяется на сварные проемообразователи и вкладыши стальных форм для изготовления железобетонных изделий по ГОСТ 25781 и элементы их крепления к форме и устанавливает требования к конструкции основных стандартизируемых сборочных единиц и деталей.
Стандарт не распространяется на проемообразователи и вкладыши, изготовляемые из стальных, чугунных и алюминиевых отливок и полимерных материалов, а также на устройства, образующие в изделии каналы для электропроводки, и элементы архитектурного назначения.
2 Нормативные ссылки
В настоящем стандарте использованы нормативные ссылки на следующие стандарты:
ГОСТ 25781 Формы стальные для изготовления железобетонных изделий. Технические условия
ГОСТ 25878 Формы стальные для изготовления железобетонных изделий. Поддоны. Технические условия
ГОСТ 27204 Формы стальные для изготовления железобетонных изделий. Борта. Конструкция и размеры
Примечание - При пользовании настоящим стандартом целесообразно проверить действие ссылочных стандартов в информационной системе общего пользования - на официальном сайте Федерального агентства по техническому регулированию и метрологии в сети Интернет или по ежегодному информационному указателю "Национальные стандарты", который опубликован по состоянию на 1 января текущего года, и по выпускам ежемесячного информационного указателя "Национальные стандарты" за текущий год. Если заменен ссылочный стандарт на который дана недатированная ссылка, то рекомендуется использовать действующую версию этого стандарта с учетом всех внесенных в данную версию изменений. Если заменен ссылочный стандарт, на который дана датированная ссылка, то рекомендуется использовать версию этого стандарта с указанным выше годом утверждения (принятия). Если после утверждения настоящего стандарта в ссылочный стандарт, на который дана датированная ссылка, внесено изменение, затрагивающее положение, на которое дана ссылка, то это положение рекомендуется применять без учета данного изменения. Если ссылочный стандарт отменен без замены, то положение, в котором дана ссылка на него, рекомендуется применять в части, не затрагивающей эту ссылку.
3 Термины и определения
В настоящем стандарте применены термины по ГОСТ 25781, а также следующие термины с соответствующими определениями:
3.1 проемообразователи и вкладыши стационарные: Элементы, закрепленные на форме и не снимаемые с нее в пределах технологического цикла формования изделий.
3.2 проемообразователи и вкладыши съемные: Элементы формы, извлекаемые из бетона до съема изделия или вместе с ним.
3.3 проемообразователи и вкладыши сменные: Элементы формы, заменяемые, перемещаемые или снимаемые при переоснастке формы.
4 Технические требования
4.1 Технические требования, требования безопасности, комплектности, правила приемки, методы контроля, упаковка и маркировка, транспортирование, хранение и гарантийный срок эксплуатации стандартизируемых элементов должны соответствовать ГОСТ 25781.
4.2 Проемообразователи и вкладыши изготовляют сварными из стального листа. Для повышения жесткости проемообразователей и вкладышей следует изготовлять их с каркасом из фасонного металлопроката или гнутого профиля. Формовочные поверхности проемообразователей изготовляют из листа толщиной не менее 8 мм, а вкладышей - из листа толщиной не менее 6 мм.
В технически обоснованных случаях для изготовления вкладышей допускается применение листа толщиной не менее 4 мм.
4.3 Формовочные поверхности проемообразователей и вкладышей должны иметь распалубочные (технологические) уклоны, обеспечивающие беспрепятственное извлечение их из изделия или съем изделия с них.
4.4 Проемообразователи, образующие проемы с двусторонними уклонами по толщине изделия, делают разъемными: нижнюю часть - рамку - крепят к поддону, верхнюю - щит - снимают до извлечения изделия из формы.
4.5 При установке в форме проемообразователей и вкладышей опирание их на настил поддона, отвечающего требованиям ГОСТ 25878, а также прилегание щитов к рамкам в разъемных проемообразователях следует проводить кромками, шероховатость поверхности которых не более Ra 20 мкм.
В местах примыкания зазоры не должны превышать 2 мм. При этом общая длина местных зазоров не должна быть более 1/3 длины примыкания.
4.6 Проемообразователи или их верхние части (щиты), а также вкладыши, извлекаемые из бетона свежеотформованного изделия краном, должны иметь строповочные устройства.
Конструкция строповочных устройств должна отвечать требованиям ГОСТ 27204.
В технически обоснованных случаях допускается применение строповочных устройств другого типа.
4.7 Для обеспечения точности установки в форме в проектном положении съемных проемообразователей, вкладышей или отдельных элементов (щитов) следует применять направляющие штыри. Плотность прилегания проемообразователей, вкладышей или их элементов к соответствующим опорным поверхностям должна быть обеспечена массой устанавливаемого проемообразователя, вкладыша или с применением стягивающих устройств.
4.8 Способы крепления в форме проемообразователей и вкладышей
4.8.1 Несменяемые стационарные проемообразователи и вкладыши крепят посредством резьбовых соединений, элементы которых приваривают к настилу поддона с нижней стороны, или приваркой закрепляемого элемента непосредственно к формовочной поверхности настила поддона.
Стационарные вкладыши крепят к бортам приваркой их непосредственно к формовочной поверхности борта.
4.8.2 Сменные стационарные проемообразователи и вкладыши в форме крепят с применением различных способов стопорения резьбовых соединений (шплинты, пружинные шайбы, контргайки и др.).
4.8.3 Съемные вкладыши крепят к бортам, отвечающим требованиям ГОСТ 27204, с применением фиксаторов. Вкладыши, образующие в изделии штрабы и устанавливаемые на противоположных бортах, фиксируют направляющими штырями.
Съемные проемообразователи и вкладыши крепят к поддону в случае необходимости предотвращения их смещения в вертикальном направлении при формовании.
4.9 Примеры конструкции проемообразователей и вкладышей различного назначения приведены в приложении А.
Примеры конструкции каркаса проемообразователей и вкладышей приведены в приложении Б.
Примеры установки стационарных проемообразователей и вкладышей в форме приведены в приложении В.
Конструкция и размеры фиксаторов для крепления съемных проемообразователей и вкладышей и примеры их применения приведены в приложении Г.
Примеры установки щита проемообразователя приведены в приложении Д.
В технически обоснованных случаях допускается применение других способов и устройств крепления проемообразователей и вкладышей к поддону и бортам формы.
Приложение А
(справочное)
ПРИМЕРЫ КОНСТРУКЦИЙ ПРОЕМООБРАЗОВАТЕЛЕЙ И ВКЛАДЫШЕЙ
А.1 Конструкция проемообразователей с двухсторонними уклонами показана на рисунке А.1.
а - план формы; б - при формовании панели лицевой стороной
вниз; в - при формовании панели лицевой стороной вверх;
1 - проемообразователь оконного проема; 1.1 - щит;
1.2 - рамка; 2 - проемообразователь оконного и дверного
проемов; 3 - вкладыш, образующий штрабу
Рисунок А.1
А.2 Конструкция проемообразователей и вкладышей с односторонними уклонами
А.2.1 Конструкция стационарного проемообразователя (вкладыша) показана на рисунке А.2.
Рисунок А.2
А.2.2 Конструкция съемного проемообразователя (вкладыша) показана на рисунке А.3.
Рисунок А.3
А.3 Конструкция вкладышей, образующих выемки (пазы, полки)
А.3.1 Конструкции вкладышей образующих выемки (пазы, полки), при установке на поддоне, показана на рисунке А.4.
Рисунок А.4
А.3.2 Конструкции вкладышей образующих выемки (пазы, полки), при установке на борту, показана на рисунке А.5.
Рисунок А.5
Приложение Б
(справочное)
КОНСТРУКЦИЯ КАРКАСА ПРОЕМООБРАЗОВАТЕЛЕЙ И ВКЛАДЫШЕЙ
Б.1 Для обеспечения геометрической точности формообразующих поверхностей проемообразователей и вкладышей, выполненных с каркасом, следует выполнять механическую обработку соответствующих поверхностей каркаса.
Б.1.1 Конструкция каркаса из швеллера показана на рисунке Б.1.
Рисунок Б.1
Б.1.2 Конструкция каркаса из уголка показана на рисунке Б.2.
Рисунок Б.2
Б.1.3 Конструкция каркаса из гнутого профиля показана на рисунке Б.3.
Рисунок Б.3
Приложение В
(справочное)
УСТАНОВКА СТАЦИОНАРНЫХ ПРОЕМООБРАЗОВАТЕЛЕЙ
И ВКЛАДЫШЕЙ В ФОРМЕ
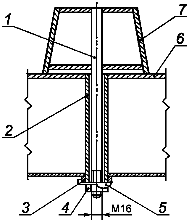
В.1 Стационарные несменяемые элементы
В.1.1 Установка вкладыша на поддоне с приваркой по контуру снаружи показана на рисунке В.1.
Рисунок В.1
В.1.2 Установка вкладыша на поддоне с фиксацией гайки сваркой показана на рисунке В.2.
1 - шпилька; 2 - гайка
Рисунок В.2
В.1.3 Установка разъемного проемообразователя с приваркой рамки с внутренней стороны показана на рисунках В.3 и В.4.
Рисунок В.3
Рисунок В.4
В.1.4 Установка вкладыша с приваркой к формовочной поверхности борта показана на рисунке В.5.
Рисунок В.5
В.2 Стационарные сменные элементы
В.2.1 Установка вкладыша на поддоне на шпильках показана на рисунке В.6.
1 - шпилька; 2 - платик; 3 - гайка; 4 - отгибная шайба
Рисунок В.6
В.2.2 Установка вкладыша на шпильках на поддоне с паровой полостью показана на рисунке В.7.
1 - шпилька; 2 - направляющая; 3 - платик; 4 - гайка;
5 - отгибная шайба; 6 - поддон; 7 - вкладыш
Рисунок В.7
В.2.3 Установка рамки разъемного проемообразователя на шпильках показана на рисунках В.8 и В.9.
1 - щит; 2 - рамка; 3 - отгибная шайба;
4 - гайка; 5 - платик; 6 - шпилька
Рисунок В.8
1 - щит; 2 - рамка; 3 - отгибная шайба;
4 - гайка; 5 - платик; 6 - шпилька
Рисунок В.9
В.2.4 Установка рамки разъемного проемообразователя на болтах показана на рисунке В.10
1 - болт; 2 - гайка; 3 - шплинт
Рисунок В.10
В.2.5 Установка вкладыша на борту с креплением болтами показана на рисунке В.11.
1 - болт; 2 - отгибная шайба; 3 - борт; 4 - вкладыш
Рисунок В.11
В.2.6 Установка вкладыша на борту с креплением на шпильках показана на рисунке В.12.
1 - шпилька; 2 - гайка;
3 - отгибная шайба; 4 - борт; 5 - вкладыш
Рисунок В.12
Приложение Г
(справочное)
УСТАНОВКА СЪЕМНЫХ ПРОЕМООБРАЗОВАТЕЛЕЙ И ВКЛАДЫШЕЙ В ФОРМЕ
Г.1 Установка проемообразователей и вкладышей на поддоне
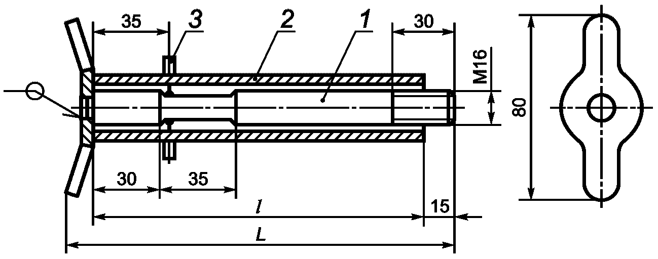
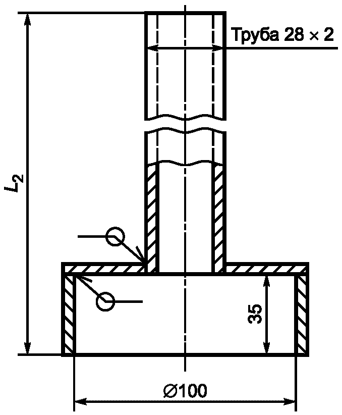
Г.1.1 Конструкция и размеры элементов крепления съемных проемообразователей и вкладышей приведены на рисунках Г.1 - Г.3.
Рисунок Г.1 - Фиксатор для съемных деталей
Рисунок Г.2 - Направляющая
Рисунок Г.3 - Платик
Г.1.2 Примеры применения фиксаторов приведены на рисунках Г.4 - Г.6.
Рисунок Г.4
Рисунок Г.5
Рисунок Г.6
Г.2 Крепление вкладышей к бортам фиксаторами
Г.2.1 Конструкция и размеры фиксаторов для съемных вкладышей приведены на рисунке Г.7 и в таблице Г.1.
1 - фиксатор; 2 - труба; 3 - скоба
Рисунок Г.7
Таблица Г.1
В миллиметрах
L
185
205
225
245
265
285
305
325
l
150
170
190
210
230
250
270
290
Г.2.2 Примеры установки фиксаторов приведены на рисунке Г.8 и в таблице Г.2.
а - для бортов без теплоизоляции;
б - для бортов с теплоизоляцией
Рисунок Г.8
Таблица Г.2
В миллиметрах
B
До 100 включ.
Св. 100 до 120 включ.
Св. 120 до 140 включ.
Св. 140 до 165 включ.
Св. 165 до 185 включ.
Св. 185 до 205 включ.
Св. 205 до 225 включ.
Св. 225 до 245 включ.
L
150
170
190
210
230
250
270
290
Приложение Д
(справочное)
УСТАНОВКА ЩИТА ПРОЕМООБРАЗОВАТЕЛЯ
Д.1 Установка щита проемообразователя на штырях без применения стягивающих устройств показана на рисунке Д.1.
1 - щит; 2 - штырь; 3 - рамка
Рисунок Д.1
Д.2 Установка щита на штырях с креплением с применением замка показана на рисунке Д.2.
1 - щит; 2 - рамка; 3 - замок; 4 - штырь; 5 - планка
Рисунок Д.2
УДК 693.556.41.032.5:006.354
ОКС 91.220
Ключевые слова: стальные формы, железобетонные изделия, проемообразователи, вкладыши, конструкция