Главная // Актуальные документы // ГОСТ Р (Государственный стандарт)
СПРАВКА
Источник публикации
М.: Стандартинформ, 2019
Примечание к документу
Документ введен в действие с 01.01.2020.
Название документа
"ГОСТ Р 58739-2019. Национальный стандарт Российской Федерации. Работы кровельные. Монтаж крыш с кровлей из металлочерепицы. Правила и контроль выполнения работ"
(утв. и введен в действие Приказом Росстандарта от 10.12.2019 N 1365-ст)

"ГОСТ Р 58739-2019. Национальный стандарт Российской Федерации. Работы кровельные. Монтаж крыш с кровлей из металлочерепицы. Правила и контроль выполнения работ"
(утв. и введен в действие Приказом Росстандарта от 10.12.2019 N 1365-ст)


Содержание


Утвержден и введен в действие
Приказом Федерального
агентства по техническому
регулированию и метрологии
от 10 декабря 2019 г. N 1365-ст
НАЦИОНАЛЬНЫЙ СТАНДАРТ РОССИЙСКОЙ ФЕДЕРАЦИИ
РАБОТЫ КРОВЕЛЬНЫЕ
МОНТАЖ КРЫШ С КРОВЛЕЙ ИЗ МЕТАЛЛОЧЕРЕПИЦЫ
ПРАВИЛА И КОНТРОЛЬ ВЫПОЛНЕНИЯ РАБОТ
Roofing handwork. Roof installation with preformed
metal panels. Rules and control of work
ГОСТ Р 58739-2019
ОКС 91.100.99
Дата введения
1 января 2020 года
Предисловие
1 РАЗРАБОТАН Национальным кровельным союзом, ТК 400 "Производство работ в строительстве. Типовые технологические и организационные процессы"
2 ВНЕСЕН Техническим комитетом по стандартизации ТК 400 "Производство работ в строительстве. Типовые технологические и организационные процессы"
3 УТВЕРЖДЕН И ВВЕДЕН В ДЕЙСТВИЕ Приказом Федерального агентства по техническому регулированию и метрологии от 10 декабря 2019 г. N 1365-ст
4 ВВЕДЕН ВПЕРВЫЕ
Правила применения настоящего стандарта установлены в статье 26 Федерального закона от 29 июня 2015 г. N 162-ФЗ "О стандартизации в Российской Федерации". Информация об изменениях к настоящему стандарту публикуется в ежегодном (по состоянию на 1 января текущего года) информационном указателе "Национальные стандарты", а официальный текст изменений и поправок - в ежемесячном информационном указателе "Национальные стандарты". В случае пересмотра (замены) или отмены настоящего стандарта соответствующее уведомление будет опубликовано в ближайшем выпуске ежемесячного информационного указателя "Национальные стандарты". Соответствующая информация, уведомление и тексты размещаются также в информационной системе общего пользования - на официальном сайте Федерального агентства по техническому регулированию и метрологии в сети Интернет (www.gost.ru)
1 Область применения
Настоящий стандарт устанавливает правила выполнения кровельных работ и требования к их контролю при строительстве и капитальном ремонте крыш с кровлей из металлочерепицы зданий различного назначения.
2 Нормативные ссылки
В настоящем стандарте использованы нормативные ссылки на следующие документы:
ГОСТ 427 Линейки измерительные металлические. Технические условия
ГОСТ 7502 Рулетки измерительные металлические. Технические условия
ГОСТ 8486-86 Пиломатериалы хвойных пород. Технические условия
ГОСТ 9416 Уровни строительные. Технические условия
ГОСТ 34180 Прокат стальной тонколистовой холоднокатаный и холоднокатаный горячеоцинкованный с полимерным покрытием с непрерывных линий. Технические условия
ГОСТ Р 53292 Огнезащитные составы и вещества для древесины и материалов на ее основе. Общие требования. Методы испытаний
ГОСТ Р 58153-2018 Листы металлические профилированные кровельные (металлочерепица). Общие технические условия
ГОСТ Р 58405 Элементы систем безопасности для скатных крыш. Общие технические условия
СП 17.13330.2017 "СНиП II-26-76 Кровли"
СП 48.13330.2011 "СНиП 12-01-2004 Организация строительства"
СП 49.13330.2010 "СНиП 12-03-2001 Безопасность труда в строительстве. Часть 1. Общие требования"
Примечание - При пользовании настоящим стандартом целесообразно проверить действие ссылочных стандартов и сводов правил в информационной системе общего пользования - на официальном сайте Федерального агентства по техническому регулированию и метрологии в сети Интернет или по ежегодному информационному указателю "Национальные стандарты", который опубликован по состоянию на 1 января текущего года, и по выпускам ежемесячного информационного указателя "Национальные стандарты" за текущий год. Если заменен ссылочный документ, на который дана недатированная ссылка, то рекомендуется использовать действующую версию этого документа с учетом всех внесенных в данную версию изменений. Если заменен ссылочный документ, на который дана датированная ссылка, то рекомендуется использовать версию этого документа с указанным выше годом утверждения (принятия). Если после утверждения настоящего стандарта в ссылочный документ, на который дана датированная ссылка, внесено изменение, затрагивающее положение, на которое дана ссылка, то это положение рекомендуется применять без учета данного изменения. Если ссылочный документ отменен без замены, то положение, в котором дана ссылка на него, рекомендуется применять в части, не затрагивающей эту ссылку.
3 Термины и определения
В настоящем стандарте применены следующие термины с соответствующими определениями:
3.1 вентиляционный канал (зазор): Воздушное пространство, образованное между конструктивными слоями крыши, обеспечивающее вывод водяного пара.
3.2 волна: Изгиб листа металлочерепицы, имитирующий профиль керамической черепицы.
3.3 ендова: Место пересечения сходящихся скатов крыши, предназначенное для отвода осадков.
Примечание - Ендова иначе называется "разжелобок".
3.4 капельник: Элемент конструкции скатной крыши, выполненный из кровельного листа, который крепится на карнизную доску для обеспечения отвода конденсата с поверхности подкровельного водоизоляционного слоя.
3.5 карнизная доска: Элемент конструкции скатной крыши, выполненный из деревянной доски, который соединяет торцы стропильных ног (кобылок), формирующих карниз.
Примечание - Карнизная доска иначе называется "лобовая доска".
3.6 карнизная планка: Элемент кровли, изготовленный из кровельного листа, который закрывает карнизную доску и нижний край обрешетки, предназначенный для защиты конструкции крыши от проникновения влаги и обеспечивающий функцию отвода осадков в водосточный желоб.
3.7 кляммер: Крепежное изделие, предназначенное для скрытого крепления элементов кровли к обрешетке.
3.8
конек: Верхнее горизонтальное ребро крыши, образующее водораздел.
[СП 17.13330.2017, пункт 3.1.12]
3.9 коньковый элемент: Элемент кровли, изготовленный из кровельного листа, устанавливаемый поверх металлочерепицы на коньке с целью отведения атмосферных осадков и предупреждения попадания влаги в подкровельное пространство.
Примечание - Полукруглый коньковый элемент выполняется методом прокатки и штамповки.
3.10
контробрешетка: Конструктивный элемент поверх стропил, образующий вентиляционный канал (зазор) и закрепляющий диффузную или водозащитную пленку.
[СП 17.13330.2017, пункт 3.1.13]
3.11 кровельный лист: Плоский лист кровельной оцинкованной стали с полимерным покрытием, применяемый для изготовления элементов кровли, соответствующий металлочерепице по цвету, толщине стальной основы, типу полимерного покрытия, классу металлического защитного покрытия.
3.12 мансардное окно: Окно, встроенное в конструкцию ската крыши.
3.13
металлочерепица: Кровельный материал из стального холоднокатаного горячеоцинкованного (или с иным защитным металлическим покрытием) проката с полимерным покрытием, изготавливаемый в виде листов методом холодного профилирования и штамповки.
[Адаптировано из ГОСТ Р 58153-2018, статья 3.1]
3.14 обрешетка: Конструктивный элемент стропильной конструкции крыши, предназначенный для закрепления штучных или листовых кровельных материалов.
3.15
пароизоляционный слой: Слой из рулонных или мастичных материалов, расположенный в ограждающей конструкции для предохранения ее от воздействия водяных паров, содержащихся в воздухе ограждаемого помещения.
[СП 17.13330.2017, пункт 3.1.25]
3.16 планка ендовы верхняя: Элемент кровли из металлочерепицы, изготовленный из кровельного листа, устанавливаемый в ендове поверх листов из металлочерепицы.
3.17 планка ендовы нижняя: Элемент кровли из металлочерепицы, изготовленный из кровельного листа, устанавливаемый в ендове ниже листов металлочерепицы для отвода атмосферных осадков.
3.18 планка примыкания: Элемент кровли, изготовленный из кровельного листа, предназначенный для фиксации и герметизации верхнего края верхней пристенной планки.
3.19 планка пристенная верхняя: Элемент кровли из металлочерепицы, изготовленный из кровельного листа, устанавливаемый в местах примыкания кровли к вертикальной поверхности для обеспечения отвода осадков.
3.20 планка пристенная нижняя: Элемент кровли из металлочерепицы, изготовленный из кровельного листа, устанавливаемый в местах примыкания кровли к вертикальной поверхности для обеспечения отвода осадков.
3.21 пленка водозащитная: Подкровельный водоизоляционный полимерный рулонный материал, защищающий нижерасположенные слои конструкции крыши от атмосферных осадков, применяемый в стропильной конструкции крыши с двумя вентиляционными каналами (зазорами), где удаление водяного пара происходит за счет конвективного движения воздуха в вентиляционном канале.
3.22 пленка пароизоляционная: Изоляционный материал из полимеров, эластомеров или композитных материалов, функция которого заключается в ограничении движения водяного пара и влаги через конструкцию, в полном исключении неконтролируемого движения воздуха.
3.23 пленка диффузионная: Подкровельный водоизоляционный паропроницаемый полимерный рулонный материал, защищающий нижерасположенные слои конструкции крыши от атмосферных осадков и конденсата, применяемый в стропильной конструкции крыши с одним вентиляционным каналом (зазором), ограничивающий конвективное движение воздуха через теплоизоляцию и не препятствующий выводу водяного пара из теплоизоляции.
3.24 подкровельный водоизоляционный слой: Конструктивный слой крыш с кровлей из металлочерепицы, выполненный из подкровельных водоизоляционных полимерных рулонных материалов (диффузионных пленок или водозащитных пленок).
3.25
профиль металлочерепицы: Конструктивная и эстетическая форма листов металлочерепицы (волнистая, имитирующая кладку из керамической черепицы, трапециевидная и т.п.), позволяющая осуществлять стыковку листов по длине и ширине.
[ГОСТ Р 58153-2018, статья 3.2]
3.26 софиты: Декоративные панели с перфорацией или без нее, выполненные из полимерных материалов либо металла, используемые для подшивки карнизных и фронтонных свесов крыши.
3.27 теплоизоляционный слой: Конструктивный слой, предназначенный для снижения переноса теплоты через ограждающие конструкции зданий и сооружений.
3.28 торцевая (ветровая) планка: Элемент кровли, изготовленный из кровельного листа, защищающий профилированные изделия по фронтону от воздействия ветровой нагрузки, предупреждающий отрыв листа и проникновение осадков в конструкцию крыши.
3.29 хребет (ребро): Наклонная линия пересечения расходящихся скатов крыши.
3.30
шаг профиля: Расстояние между центром соседних гребней.
[ГОСТ Р 58153-2018, статья 3.6]
4 Общие положения
4.1 Для монтажа кровель следует применять металлочерепицу из стали по ГОСТ Р 58153, с полимерным покрытием - по ГОСТ 34180.
Паро-, теплоизоляционные материалы, а также материалы для устройства ветрозащиты или подкровельной водоизоляции должны соответствовать требованиям национальных стандартов и проектной документации.
В случае устройства обрешетки и контробрешетки из древесины пиломатериалы применяют в соответствии с требованиями ГОСТ 8486, не ниже 2-го сорта.
4.2 Кровельные работы следует выполнять по проекту производства работ (далее - ППР), который должен быть составлен с учетом требований СП 48.13330.
4.3 Материалы и изделия должны храниться с соблюдением требований их изготовителя по защите от воздействия атмосферных осадков и солнечных лучей.
4.4 Условия для безопасного труда в рабочей зоне должны быть созданы в соответствии с требованиями СП 49.13330, правилами охраны труда [1] - [4], а также требованиями раздела 13.
4.5 При работе с металлочерепицей и элементами кровли из металлочерепицы следует использовать ручные ножницы по металлу, электрические ножницы по металлу, отрезные машинки.
При использовании отрезных машинок применяют только специализированные отрезные круги для резки металла, исключающие сгорание цинка и полимерного покрытия торцов реза.
Применение угловой шлифовальной машины с отрезным кругом запрещается.
4.6 После завершения работ по устройству кровли из металлочерепицы необходимо удалить металлическую стружку от саморезов, весь мусор в системе водостока, в ендове и на других участках крыши.
5 Подготовительные и организационные работы
5.1 До начала кровельных работ должны быть завершены все работы по монтажу стропильной системы.
5.2 В случае если участок крыши прилегает к фасаду здания со штукатурной поверхностью, перед началом монтажа кровли необходимо убедиться, что данные участки стен фасада полностью оштукатурены, выполнены отделочные слои (декоративная штукатурка, покраска). Нижняя граница штукатурки должна быть ниже линии примыкания подкровельного водоизоляционного слоя.
5.3 Производство кровельных работ должно быть согласовано с ведением фасадных работ. В случае если участок крыши прилегает к фасаду здания с навесными системами (вентилируемыми или невентилируемыми), фасадные работы должны выполняться после завершения кровельных работ на данном участке крыши. Окончание фасадной облицовочной системы в зоне примыкания к кровле не должно накрывать выполненное кровельное примыкание к стене. Должен быть обеспечен доступ для возможного демонтажа примыкания в случае необходимости ремонта или замены кровли.
5.4 На объекте должны быть подготовлены механизмы, оборудование и приспособления для проведения кровельных работ, организованы места для хранения материалов и инструмента.
В зимний период на рабочем месте должны быть предусмотрены инструменты для безопасного удаления снега и льда с поверхности материалов.
5.5 Транспортирование и хранение металлочерепицы на строительной площадке - в соответствии с ГОСТ Р 58153-2018 (раздел 9).
5.6 Для обеспечения безопасности проведения кровельных работ следует установить строительные леса пристенные либо подвесные.
Пристенные строительные леса должны быть установлены в соответствии с ППР на надежное основание, обеспечивающее устойчивость конструкции лесов, на расстоянии от стены, обеспечивающем перемещение рабочих по лесам выше линии карниза. Сборку конструкций строительных лесов проводят согласно паспорту изготовителя, защитные ограждения монтируют как с внешней стороны лесов, так и с внутренней.
В случае невозможности установки строительных лесов допускается выполнять монтаж с использованием канатно-тросовой системы безопасности для работы на высоте (страховочных систем) в соответствии с правилами [1].
5.7 Металлочерепицу следует поднимать на крышу по наклонным опорам либо с помощью кранов, лебедок и прочих подъемных механизмов, обеспечивающих ее целостность.
Поднимать металлочерепицу, удерживая ее за верхние углы, запрещается.
5.8 При переносе металлочерепицы следует удерживать лист с боковых сторон в местах нахождения линии штамповки (ступенек листа).
5.9 При перемещении металлочерепицы и элементов кровли должны быть приняты меры по предупреждению появления царапин, вмятин и иных дефектов.
5.10 Перед подъемом металлочерепицы на кровлю необходимо сформировать пачку из листов для захватки в технологической очередности их укладки. Вес пачки металлочерепицы в захватке не должен превышать 500 кг.
Пачки могут быть складированы на крыше на предварительно подготовленном участке (площадке из пиломатериалов), при этом совокупный вес складируемой металлочерепицы не должен превышать расчетную нагрузку на конструкцию, а пачки должны быть закреплены.
Примечание - Площадка из пиломатериалов - это отдельно собранная конструкция для временного складирования на крыше пачки металлочерепицы.
В случае если складирование металлочерепицы предусмотрено на чердачном перекрытии, в конструкции крыши следует оборудовать технологический проем.
5.11 Резку металлочерепицы электроинструментом необходимо осуществлять на горизонтальных поверхностях (на земле, на чердачном перекрытии).
В случае если после резки на кромке металлочерепицы образовались заусенцы, необходимо аккуратно срезать их ручными ножницами по металлу.
5.12 Обрезки в течение рабочей смены следует собирать в одном месте, а по окончании рабочей смены складировать в отведенном для их сбора и хранения месте на территории строительного объекта. Место сбора и хранения обрезков должно быть защищено от воздействия ветра.
6 Монтаж крыши
6.1 Уклон крыши
Кровлю из металлочерепицы следует применять при уклоне крыши не менее 12° (20%) согласно требованиям СП 17.13330.2017 (таблица 4.1). При уменьшении уклона крыши для обеспечения ее водонепроницаемости в соответствии с требованиями пункта 4.3 СП 17.13330.2017 необходимо выполнить подкровельный водоизоляционный слой.
6.2 Пароизоляционный слой
6.2.1 Пароизоляционный слой должен быть непрерывным (сплошным) на всей площади конструкции.
Стыки (нахлесты) пароизоляционной пленки, места ее примыканий к различным конструкциям (стенам, дымовым трубам, вентиляционным шахтам и пр.), а также места кровельных проходок должны быть выполнены с применением герметизирующих материалов, указанных в технической документации изготовителя пароизоляционной пленки.
6.2.2 Пароизоляционная пленка должна быть смонтирована маркировкой вниз, в сторону теплого помещения.
6.2.3 Пароизоляционный слой в конструкциях скатных крыш следует устраивать на стороне теплоизоляционного слоя, обращенной в сторону помещения (см. 6.3).
6.2.4 Полотна пароизоляционной пленки следует монтировать вдоль (рисунок 1) или поперек (рисунок 2) стропильных ног. В обоих случаях для проклейки нахлеста рулонов пленки необходимо использовать односторонние соединительные ленты. Применение двусторонних соединительных лент, рекомендованных изготовителем пароизоляционной пленки, допустимо только в том случае, когда стык полотнищ пароизоляционной пленки выполняется на прочном основании - стропильной ноге или сплошном настиле.
1 - пароизоляционная пленка; 2 - диффузионная пленка;
3 - соединительная лента; 4 - прижимной брусок
Рисунок 1 - Схема укладки пароизоляционной пленки
вдоль стропильных ног
1 - пароизоляционная пленка; 2 - соединительная лента;
3 - диффузионная пленка
Рисунок 2 - Схема укладки пароизоляционной пленки
поперек стропильных ног
В углах и местах примыканий следует использовать клеи или пасты по технической документации изготовителя пароизоляционной пленки.
6.2.5 Монтаж пароизоляционной пленки следует производить с нахлестом не менее 100 мм. Пароизоляционную пленку предварительно фиксируют на стропилах или нижнем настиле скобами степлера или гвоздями с широкой шляпкой.
Точки предварительной фиксации рекомендуется проклеивать односторонними лентами.
Примечание - Дополнительное крепление пароизоляционной пленки может быть обеспечено элементами подконструкции под внутреннюю отделку (деревянными каркасными брусками или рейками, подшивкой из досок, оцинкованными металлическими профилями) или листовыми отделочными материалами.
6.2.6 Пароизоляционную пленку следует монтировать, не допуская провиса и складок, для обеспечения надежной проклейки всех нахлестов.
6.2.7 Повреждения пароизоляционной пленки (порезы, проколы), возникшие при монтаже, необходимо изолировать при помощи соединительных лент, указанных в технической документации изготовителя пароизоляционной пленки.
6.2.8 Крепление отделочных материалов с внутренней стороны конструкции крыши следует производить с помощью деревянных реек или стальных оцинкованных профилей, располагаемых между пароизоляционным слоем и обшивкой. Высота деревянных реек (профилей) должна быть не менее 50 мм и обеспечивать величину канала (зазора), необходимую для прокладки кабелей, крепления розеток и элементов отделки без повреждения пароизоляционного слоя.
6.2.9 Вдоль примыканий пароизоляционной пленки к стенам и трубам следует предусматривать деформационную складку не менее 20 мм, которая предназначена для компенсации усадки стен и стропильной конструкции. Для деревянных домов деформационную складку следует предусматривать на 20 мм больше установленного проектом размера усадки конструкции в месте примыкания пароизоляционной пленки, но не менее 40 мм.
Примыкание пароизоляционной пленки к вертикальным поверхностям с помощью клеев или клеящих лент следует выполнять согласно рекомендациям изготовителя пароизоляционной пленки. Поверхность стены, на которую следует наносить клей, должна соответствовать требованиям, предъявляемым изготовителем клея.
6.2.10 Пароизоляционную пленку следует присоединять к строительным элементам с шероховатой поверхностью (нестроганой древесине, кирпичу, керамическим и газобетонным блокам) при помощи специализированных клеящих лент, клеев или паст, указанных изготовителем пароизоляционного материала (рисунок 3). Все щели и глубокие неровности должны быть заполнены герметизирующим материалом в зоне примыкания пароизоляционной пленки к стене.
1 - пароизоляционная пленка; 2 - двусторонняя
соединительная лента; 3 - прижимной брусок;
4 - компенсационная складка из пароизоляционной
пленки; 5 - клей для водозащитной пленки
Рисунок 3 - Примыкание пароизоляционной пленки
к стене из кирпича или бетона (оштукатуренной)
Пароизоляционную пленку следует присоединять к строительным элементам с гладкой поверхностью (металлу, строганой древесине, полимерным материалам) при помощи одно- или двусторонних соединительных лент или клеев, указанных изготовителем пароизоляционного материала (рисунок 4).
1 - пароизоляционная пленка; 2 - односторонняя
соединительная лента; 3 - компенсационная
складка из пароизоляционного материала;
4 - клей для подкровельной водоизоляции
Рисунок 4 - Примыкание пароизоляционной пленки
к стене из бревна или бруса
6.2.11 Пароизоляционная пленка должна быть герметично присоединена к вентиляционным трубам, воздуховодам, антенным выводам и гибким шланговым соединениям. Для этого применяют специальные уплотнительные манжеты или самоклеящиеся ленты, мастики в сочетании с армирующей тканью.
6.2.12 Примыкание пароизоляционной пленки к коробке мансардного окна следует выполнять при помощи клея, одно- или двусторонних лент согласно технической документации изготовителя мансардных окон.
6.3 Теплоизоляционный слой
6.3.1 Толщину и материал теплоизоляционного слоя принимают на основании проекта.
Примечание - Теплоизоляционный слой располагается в зависимости от конструкции крыши: поверх стропил, между стропилами или под стропилами. В конструкциях крыши с утеплением между стропилами для достижения толщины теплоизоляции, соответствующей теплотехническому расчету, может устраиваться дополнительный слой теплоизоляции поверх стропил или под стропилами.
При утеплении конструкции с деревянной стропильной системой применяют теплоизоляцию из минераловатных плит (матов), укладываемых в один или несколько слоев, либо теплоизоляцию по задувной технологии.
В случае применения металлической стропильной системы используют только варианты с утеплением поверх стропил или под стропилами. В данных конструкциях допускается применять плитные полимерные теплоизоляционные материалы.
6.3.2 Теплоизоляционные минераловатные плиты (маты) должны быть установлены враспор между стропилами (балками, прогонами) или дополнительными брусками, плотно прилегать друг к другу и к конструкциям. Зазоры между минераловатными плитами (матами) не допускаются.
Если высота сечения стропил (балок, прогонов) меньше толщины теплоизоляционного слоя, требуемого по расчету и указанного в проекте, то его необходимо устраивать между стропилами (балками, прогонами) и между брусками контробрешетки, выполненной над стропилами.
6.3.3 В случае применения в качестве теплоизоляционного слоя полимерных плит (теплоизоляция из пенополистирола, экструдированного пенополистирола, пенополиуретана) выполняют их сквозное крепление саморезами с широкой шайбой к несущим конструкциям стропильной системы.
Образование щелей и зазоров между жесткими полимерными плитами необходимо контролировать. При их наличии пустоты заполняют строительной пеной в соответствии с технической документацией изготовителя плит.
6.3.4 В крышах с уклоном менее 30° (57%) или при использовании теплоизоляционных минераловатных плит (матов) плотностью менее 30 кг/м3 монтаж теплоизоляционного слоя необходимо производить на сплошное основание.
6.3.5 Работы по устройству теплоизоляционного слоя в наклонных конструкциях необходимо начинать с нижележащих участков.
6.3.6 Работы по устройству теплоизоляционного слоя в конструкции перекрытия холодных чердаков следует совмещать с работами по устройству пароизоляционного слоя и вести в направлении "на себя".
6.3.7 При устройстве теплоизоляционного слоя из двух и более слоев минераловатных плит (матов) швы между ними следует располагать вразбежку, обеспечивая плотное прилегание минераловатных плит (матов) друг к другу.
Для обеспечения плотного прилегания минераловатные плиты (маты) следует раскраивать с припусками по 5 мм с каждой стороны.
Минераловатные плиты (маты) одного слоя рекомендуется укладывать со смещением в соседних рядах, равным половине их длины. Стыки верхнего слоя минераловатных плит (матов) рекомендуется размещать со смещением не менее 200 мм относительно стыков нижнего слоя.
6.3.8 При утеплении конструкции перекрытия холодных неэксплуатируемых чердаков необходимо уложить поверх минераловатного утеплителя ветрозащитную пленку, предотвращающую выветривание частиц утеплителя в чердачное пространство, и установить ходовые трапы, опирающиеся на несущие конструкции, для передвижения по ним людей.
6.4 Подкровельный водоизоляционный слой
6.4.1 Выбор материала для устройства подкровельного водоизоляционного слоя следует осуществлять согласно проектной документации, технической документации изготовителей и типу кровельной системы.
Для устройства подкровельного водоизоляционного слоя следует применять диффузионные или водозащитные пленки. Диффузионные пленки применяют в случае устройства утепленной крыши с одним вентиляционным каналом (зазором). В конструкциях неутепленных крыш могут быть использованы как диффузионные, так и водозащитные пленки.
При выполнении кровельных работ в зимний период применяют пленки с повышенной прочностью на разрыв.
6.4.2 Подкровельный водоизоляционный слой должен быть непрерывным (сплошным) на всей площади изолируемой поверхности.
Водозащитная пленка должна быть смонтирована маркировкой вверх, в сторону улицы.
6.4.3 Подкровельный водоизоляционный слой укладывают перпендикулярно уклону крыши с нахлестом не менее 100 мм.
Положение нахлеста: верхний рулон всегда перекрывает нижерасположенный.
При монтаже подкровельный водоизоляционный слой должен быть предварительно зафиксирован степлером или гвоздями с широкой шляпкой и окончательно закреплен контробрешеткой.
6.4.4 При монтаже подкровельного водоизоляционного слоя на стропила следует:
- диффузионные пленки укладывать без провиса (с учетом рекомендаций изготовителя по натяжению при монтаже), с проклейкой или без проклейки нахлестов согласно определенной в проекте системе подкровельной изоляции;
- водозащитные пленки укладывать с небольшим провисом (не более 2 см) или внатяжку (с учетом рекомендаций изготовителя по натяжению при монтаже), с проклейкой или без проклейки нахлестов.
Примечание - Проклейку нахлестов полотен диффузионных и водозащитных пленок выполняют с помощью клеящих лент либо специальных клеевых составов, соответствующих технической документации изготовителя пленки.
Место торцевого нахлеста по ширине полотен водозащитных пленок должно быть расположено на стропильной ноге и прижато контробрешеткой.
6.4.5 На карнизном свесе водозащитную пленку укладывают на металлический капельник и приклеивают к капельнику при помощи двусторонней клеящей ленты или специального клея. Водозащитная пленка должна быть приклеена ровно, без складок.
6.4.6 Водозащитную пленку укладывают до края фронтонного свеса и заводят на крайнюю контробрешетку.
6.4.7 На коньке (или хребте) утепленных крыш с одним вентиляционным каналом (зазором) диффузионные пленки укладывают с нахлестом (рисунок 5). Если в конструкции крыши предусмотрено холодное чердачное пространство, то оно должно быть проветриваемым через конек (или хребет). При этом диффузионные пленки следует укладывать с устройством щели в районе конька (хребта). Ширина щели должна составлять не менее 100 мм. При отсутствии рулонного аэроэлемента конька (см. 9.2.1) или других устройств, препятствующих попаданию осадков под кровлю, рекомендуется укладывать на коньке защитную полосу из диффузионной пленки поверх контробрешетки (рисунок 6).
1 - теплоизоляционные минераловатные плиты (маты);
2 - контробрешетка; 3 - диффузионная пленка;
4 - металлочерепица; 5 - коньковый элемент
Рисунок 5 - Укладка диффузионной пленки на коньке
утепленной крыши с одним вентиляционным зазором
1 - слуховое окно или продух; 2 - водозащитная пленка;
3 - обрешетка; 4 - контробрешетка; 5 - металлочерепица;
6 - коньковый элемент
Рисунок 6 - Укладка водозащитной пленки на коньке
холодной крыши с утеплением по чердачному перекрытию
6.4.8 При выполнении примыканий подкровельного водоизоляционного слоя к стенам и трубам следует предусмотреть деформационную складку не менее 20 мм. Подкровельный водоизоляционный слой заводят на вертикальную поверхность стены не менее чем на 50 мм выше поверхности металлочерепицы и герметично присоединяют с помощью клеящей ленты или специального клея.
7 Установка контробрешетки, обрешетки, карнизной, коньковой и торцевой досок
7.1 Контробрешетку выполняют из брусков высотой не менее 50 мм.
7.2 Обрешетку в конструкции крыш с шагом стропил до 1200 мм выполняют из обрезных досок хвойных пород толщиной не менее 32 мм, шириной 100 мм, предварительно обработанных огне- и биозащитным составом, соответствующим требованиям ГОСТ Р 53292.
Доски обрешетки должны располагаться параллельно друг другу по всей поверхности ската, перепад досок по высоте не допускается.
Примечание - В конструкции крыш с кровлей из металлочерепицы применяют шаговую обрешетку, за исключением участков крыши с повышенной нагрузкой, где устанавливается сплошная обрешетка.
7.3 Шаг обрешетки должен соответствовать шагу профиля монтируемой металлочерепицы и соответствовать рекомендациям изготовителя.
7.4 Монтаж обрешетки следует начинать от карниза и от края фронтона.
Ряды обрешетки подряд на одной стропильной ноге стыковать запрещается. Места стыков рядов обрешетки должны быть разнесены в шахматном порядке.
Расстояние между карнизной доской и первой доской обрешетки зависит от выбранного варианта укладки металлочерепицы по отношению к карнизу (с выпуском за карнизную планку или без выпуска) в соответствии с 7.5 и 7.6.
7.5 В случае укладки металлочерепицы с выпуском за карнизную планку нижний край листа должен выступать за край карнизной планки на 50 мм для отвода осадков в водосточный желоб.
Примечание - Применение данного способа рекомендуется в случае отсутствия водосливной системы либо если желоб водосливной системы установлен на короткие крюки, закрепленные к карнизной доске, и карнизная планка не заходит в желоб.
Монтаж металлочерепицы с выпуском за карнизную планку допускается при длине карниза до 6 м.
При укладке металлочерепицы с выпуском за карнизную планку первый шаг между осями обрешетки следует выполнять на 100 мм меньше шага профиля и последующих расстояний между досками обрешетки. Толщина первой укладываемой доски обрешетки должна быть на 10 - 15 мм более толщины всех остальных досок.
7.6 Укладку металлочерепицы без выпуска за карнизную планку (лист расположен поверх карнизной планки и не выступает за ее край) следует применять при длине карниза более 6 м.
Карнизная планка заводится в желоб системы водоотвода, который устанавливается на крюки, закрепленные в плоскости ската на обрешетке. Шаг между карнизной доской и первой доской обрешетки должен совпадать с шагом профиля металлочерепицы. При этом необходимо сразу за первой доской обрешетки установить еще одну доску для крепления крюков водосливной системы. Обе доски обрешетки должны иметь одинаковую толщину.
7.7 После закрепления карнизных досок следует проверить качество их монтажа с помощью разметочного шнура и уровня по ГОСТ 9416. Линия карниза должна быть ровной и горизонтальной: допускается отклонение по горизонтали не более 1,5 мм на 1 м длины карниза.
7.8 Шаг обрешетки определяется типом профиля и рекомендациями изготовителя металлочерепицы. При монтаже обрешетки следует проверять расстояние шага обрешетки не реже чем через пять рядов.
7.9 После монтажа обрешетки в местах повышенных нагрузок и монтажа кровельных элементов безопасности, вокруг дымоходов, вдоль ендов, коньков и хребтов следует выполнить сплошную обрешетку путем заполнения пространства между шаговой обрешеткой. Доски сплошной обрешетки следует крепить как минимум к двум смежным стропильным ногам.
Примечание - К кровельным элементам безопасности относятся: элементы системы снегозадержания, кровельные ограждения, кровельные мостики и ступени, кровельные лестницы.
7.10 Высота выступа торцевой доски определяется рекомендациями изготовителя в зависимости от профиля металлочерепицы. Торцевая доска устанавливается на одном уровне с верхом профиля поверх обрешетки.
7.11 Для обеспечения подкровельной вентиляции на коньке выше верхней доски шаговой обрешетки следует установить дополнительную доску толщиной на 10 - 15 мм более толщины досок шаговой обрешетки, обеспечив при этом зазор между досками соседних скатов не менее 80 мм.
8 Монтаж рядового кровельного покрытия
8.1 Длину листов металлочерепицы определяют по сортаменту изготовителя либо по индивидуальному заказу.
Длина листа металлочерепицы, изготовленного по спецзаказу, не должна превышать 6 м. При длине ската более 4 м рекомендуется монтировать несколько листов с нахлестом в шаг волны.
8.2 Перед устройством рядового кровельного покрытия устанавливают крюки и желоба водосливной системы, а затем - карнизную планку (рисунок 7).
1 - первая доска обрешетки; 2 - капельник;
3 - карнизная планка; 4 - вентиляционная сетка
Рисунок 7 - Установка карнизной планки
Карнизную планку следует монтировать на карнизную доску поверх крюков водосливной системы. Нахлест карнизных планок должен составлять не менее 20 мм.
Длинные крюки водосливной системы следует установить по скату, с креплением в доски обрешетки, предварительно выполнив в них углубления на толщину крюка. Короткие крюки устанавливают на карнизную доску.
Примечание - Короткие крюки имеют крепежную часть, длина которой не превышает 200 мм. У длинных крюков крепежная часть превышает 200 мм.
8.3 Монтаж металлочерепицы производят под прямым углом (90°) к карнизу.
Первые несколько листов металлочерепицы крепят к обрешетке, вворачивая крепеж не до конца, обеспечивая возможность скорректировать положение листа. Затем визуально проверяют ровность расположения металлочерепицы (края листов должны стыковаться ровно и плотно прилегать в местах нахлеста по ширине). При необходимости металлочерепицу дополнительно выравнивают, после чего закрепляют прочно в соответствии с 8.4.
8.4 Металлочерепицу крепят к обрешетке и соединяют между собой кровельными саморезами с прокладкой из ЭПДМ-резины, окрашенными в цвет кровли.
Примечание - Кровельные саморезы 4,8 x 28 (32) мм для крепления к обрешетке различаются в зависимости от типа материала обрешетки - древесина или сталь. Для соединения листов металлочерепицы применяют кровельные саморезы длиной до 20 мм.
Кровельные саморезы закручивают перпендикулярно доскам обрешетки, обеспечив плотное прилегание прокладки самореза, но не пережимая ее (рисунок 8).
а - правильно установленный кровельный саморез;
дефекты установки: б - недостаточно закрученный кровельный
саморез; в - кровельный саморез закручен слишком плотно
и деформировал шайбу из ЭПДМ-резины; г - кровельный
саморез установлен не под углом 90°
Рисунок 8 - Крепление кровельных саморезов
8.5 Образующуюся при закручивании кровельных саморезов стальную стружку необходимо сразу удалять мягкой щеткой.
Повреждения полимерного покрытия, допущенные в процессе монтажа (царапины, порезы), необходимо устранить путем нанесения краски по металлу, подходящей по оттенку и типу полимерного покрытия металлочерепицы, сразу после окончания работ на данном участке.
8.6 Монтаж металлочерепицы на двускатной крыше начинают от торца (фронтонной части), на вальмовой - от хребта.
При монтаже металлочерепицы по направлению слева направо приподнимают край предыдущего листа и под него укладывают следующий. При укладке длинных листов (более 3 м) и/или на крутых скатах (более 30°) крыши рекомендуется производить монтаж металлочерепицы по направлению справа налево.
8.7 Металлочерепицу следует монтировать по рядам, предварительно закрепляя их на стыках между собой в нескольких местах (1 саморез на 1 пог. м) и закрепляя прочно после окончательного выравнивания в соответствии с 8.8.
8.8 Металлочерепицу крепят к обрешетке в основании волны профиля. Кровельные саморезы располагают на 10 - 15 мм ниже линии поперечной штамповки посередине между гребнями соседних волн с шагом в две или три волны (в зависимости от рекомендаций изготовителя) параллельно и перпендикулярно карнизу.
На поперечном стыке металлочерепицы кровельные саморезы требуется установить под каждой ступенькой, на продольном стыке - в верх каждой волны, у карнизов - на каждой второй волне.
Схема крепления кровельных саморезов приведена на рисунке 9.
Рисунок 9 - Схема крепления саморезов
8.9 В процессе монтажа допускается наступать только в прогиб волны, в место прилегания к обрешетке. Наступать на гребень волны, передвигаться по крыше в обуви с жесткой и грязной подошвой запрещается.
8.10 Торцевую (ветровую) планку устанавливают по направлению от карниза к коньку с нахлестом не менее 20 мм и крепят саморезами к торцевой доске с шагом не более 800 мм.
К листам металлочерепицы торцевую (ветровую) планку крепят в верх волны с шагом в каждую вторую волну.
Схема крепления торцевой планки приведена на рисунке 10.
1 - торцевая планка; a - нахлест 20 мм;
b - расстояние между саморезами не менее 800 мм
Рисунок 10 - Схема крепления торцевой планки
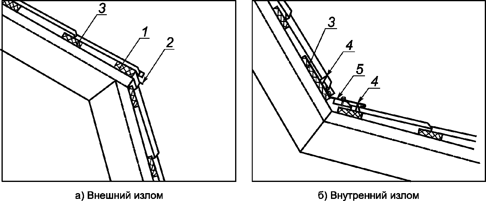
8.11 На местах изломов ската крыши следует установить сопрягающий элемент из кровельного листа.
8.12 Для оформления внешнего излома ската крыши допускается применение карнизной планки, а для оформления внутреннего излома ската крыши - пристенной планки. Схемы установки сопрягающего элемента в местах изломов ската крыши приведены на рисунке 11.
1 - доска обрешетки утолщенная; 2 - карнизная планка;
3 - доска обрешетки; 4 - уплотнитель саморасширяющийся;
5 - пристенная планка
Рисунок 11 - Установка сопрягающего элемента
в местах изломов скатов крыши
9 Монтаж типовых узлов и элементов кровельной системы
9.1 Ендова
9.1.1 В ендове к сплошной обрешетке крепят планки ендовы нижней с нахлестом не менее 200 мм при помощи кляммеров, один конец которых заводят за край планки ендовы нижней, а другой прикручивают саморезами к обрешетке (рисунок 12). Сквозное крепление нижней планки ендовы запрещается.
1 - планка ендовы нижняя; 2 - планка ендовы верхняя;
3 - уплотнитель; 4 - кляммер
Рисунок 12 - Устройство ендовы
9.1.2 Металлочерепицу, граничащую с ендовой, обрезают по предварительно выполненной разметке с последующей обработкой краев реза путем нанесения краски по металлу. Отступ от осевой линии ендовы до края металлочерепицы должен быть не менее 60 мм с каждой стороны.
Между планкой ендовы нижней и металлочерепицей вдоль осевой линии ендовы должен быть уложен расширяющийся уплотнитель.
9.1.3 Сквозное крепление металлочерепицы через планку ендовы нижнюю запрещается.
9.1.4 В случае если ендова заканчивается на скате крыши, выводить планку ендовы нижнюю на вертикальный стык металлочерепицы запрещается.
9.1.5 Монтаж планки ендовы верхней производят по направлению от карниза вверх с наложением ее частей друг на друга не менее чем на 100 мм.
Планки следует крепить в верх волны листов металлочерепицы.
9.1.6 Универсальный уплотнитель между металлочерепицей и планкой ендовы верхней устанавливать запрещается.
9.2 Конек, хребет
9.2.1 Перед установкой конькового элемента между ним и металлочерепицей следует установить универсальный уплотнитель или рулонный аэроэлемент конька.
В случае организации вентиляции подкровельного пространства через продольный профиль металлочерепицы перед установкой конькового элемента необходимо предварительно смонтировать рулонный аэроэлемент конька (рисунок 13).
Примечание - Рулонный аэроэлемент конька - эластичная лента с центральной частью из полимерной сетки, которая применяется вместо универсального уплотнителя для обеспечения защиты крыши от проникновения под металлочерепицу осадков и насекомых, а также вентиляции подкровельного пространства.
Рисунок 13 - Пример установки рулонного аэроэлемента конька
В случае организации вентиляции подкровельного пространства с применением рулонных аэраторов перед установкой конькового элемента следует смонтировать универсальный или профилированный уплотнитель в соответствии с проектом. Пример установки профилированного уплотнителя приведен на рисунке 14.
1 - кровельное покрытие - металлочерепица;
2 - профилированный уплотнитель; 3 - элемент конька;
4 - кровельный саморез
Рисунок 14 - Схема размещения
профилированного уплотнителя конька
9.2.2 Коньковый элемент следует крепить, начиная от одного из фронтонов крыши, через волну в верхний гребень профиля металлочерепицы с обеих сторон специальными кровельными саморезами поверх торцевых планок. При применении штампованных полукруглых элементов конька в торцах конька следует установить заглушки.
Детали нештампованного конькового элемента должны быть установлены с нахлестом не менее 100 мм. Детали штампованного полукруглого конькового элемента необходимо стыковать по линиям штамповки.
9.3 Примыкания к вертикальным поверхностям
9.3.1 При устройстве примыканий металлочерепицы к вертикальным поверхностям, расположенным вдоль ската крыши, предварительно следует установить планку примыкания нижнюю.
Кромка планки примыкания нижней, лежащей на скате крыши, должна иметь внутренний отгиб. Крепят планку примыкания нижнюю к обрешетке кляммером не реже чем через один ряд обрешетки, как это показано на рисунке 15.
1 - планка примыкания нижняя; 2 - отгиб
планки примыкания нижней; 3 - кляммер
Рисунок 15 - Пример крепления планки примыкания нижней
Кромка планки примыкания нижней, лежащей на скате крыши, должна заканчиваться под гребнем волны листа металлочерепицы. Вертикальная часть планки примыкания нижней должна заходить на стену на высоту не менее чем на 150 мм и механически крепиться к поверхности способом, определенным проектом. Крепление планки следует устанавливать с шагом не менее 150 мм.
После монтажа планки примыкания нижней следует приступать к монтажу металлочерепицы и планки примыкания верхней, укладывая между краем планки примыкания верхней и металлочерепицей универсальный уплотнитель. Край пристенной планки верхней следует крепить кровельным саморезом только в верх волны металлочерепицы.
9.3.2 При устройстве примыканий металлочерепицы к вертикальным поверхностям, расположенным поперек ската крыши, выше последней доски обрешетки добавляют дополнительную доску толщиной на 10 - 15 мм более толщины рядовых досок обрешетки для последующей установки специальных кровельных саморезов по краю металлочерепицы.
Между стеной и срезом металлочерепицы оставляют зазор в 50 - 80 мм. Между планкой пристенной верхней и металлочерепицей укладывают профилированный уплотнительный элемент.
9.3.3 Планка примыкания нижняя должна быть установлена с учетом возможной усадки здания (без крепления вертикальной части планки к стене здания).
Планку примыкания верхнюю устанавливают внакладку, с нанесением полиуретанового герметика в отгиб планки, как это приведено на рисунке 16. Отгиб должен быть заполнен полиуретановым герметиком полностью.
1 - уплотнитель саморасширяющийся; 2 - планка примыкания
верхняя; 3 - планка примыкания внакладку; 4 - крепеж
Рисунок 16 - Монтаж планки примыкания верхней внакладку
Крепление накладной планки к стене производят дюбель-гвоздем или кровельным саморезом, в зависимости от типа основания, с шагом 200 - 250 мм.
9.3.4 Монтаж планок примыкания (нижней и верхней) осуществляют снизу вверх по скату крыши с нахлестом, составляющим не менее 100 мм.
9.3.5 В случае если участок крыши прилегает к фасаду здания с рельефной поверхностью (бревно, брус), примыкание металлочерепицы к вертикальным поверхностям следует выполнять с применением самоклеящейся ленты на основе каучука с металлизированной поверхностью или используя для изготовления планки с повторением кривизны фасада более мягкий кровельный металл для фальцевания.
9.4 Примыкания к трубе
9.4.1 При выполнении примыкания к прямоугольной трубе выше трубы по скату на подкровельной водоизоляции следует смонтировать водоотводящий желобок, выполненный из уголка из оцинкованной стали либо из водоизоляционной пленки с применением клеящих лент и герметиков, соответствующих проекту.
9.4.2 При выполнении примыканий к прямоугольной трубе изготавливают металлический фартук из кровельного листа.
Перед монтажом металлического фартука необходимо убедиться, что прямоугольная труба оштукатурена.
9.4.3 Металлический фартук следует завести по трубе на высоту 150 - 200 мм.
Длина металлического фартука по плоскости ската крыши от каждой из четырех сторон прямоугольной трубы должна составлять не менее чем 200 мм.
9.4.4 Верхнюю по плоскости ската крыши часть металлического фартука следует заводить под металлочерепицу, нижнюю и боковые части металлического фартука следует монтировать поверх металлочерепицы.
При обходе прямоугольной трубы, расположенной вблизи конька, верхнюю часть металлического фартука следует заводить под конек.
9.4.5 Поверх края металлического фартука на кирпичной или оштукатуренной поверхности трубы следует монтировать планку примыкания согласно 9.3.3.
9.4.6 При выполнении примыкания к прямоугольной трубе шириной 80 см и более требуется устройство уклонообразующей конструкции над трубой выше по плоскости ската крыши.
Уклонообразующую конструкцию формируют из деревянных деталей обрешетки, образуя два ската, которые сходятся к центру трубы. Ее облицовку выполняют из кровельного листа. Ендовы, образованные пересечением скатов уклонообразующей конструкции с основными скатами крыши, выполняют в соответствии с требованиями 9.1.
9.4.7 При выполнении примыкания к круглой трубе используют фартук заводского изготовления в соответствии с проектом и рекомендациями изготовителя металлочерепицы.
9.5 Установка мансардного окна
9.5.1 Мансардное окно устанавливают в заранее подготовленный проем согласно инструкции изготовителя окна. Схема установки мансардного окна показана на рисунке 17.
1 - водоотводящий желобок; 2 - верхняя секция оклада;
3 - водозащитная пленка; 4 - контробрешетка
мансардного окна; 5 - металлочерепица
Рисунок 17 - Схема установки мансардного окна
В случае установки окна в уже смонтированную металлочерепицу требуется произвести частичный демонтаж кровли на ширину всех листов в месте установки окна и длину всех листов по скату крыши. Допускается также ослабление крепления металлочерепицы путем откручивания кровельных саморезов по периметру проема окна. Для формирования необходимого для проведения монтажных работ пространства между кровлей и обрешеткой устанавливают распорки, обеспечивающие фиксацию и поднятие металлочерепицы от обрешетки. При частичном поднятии листов с помощью распорок необходимо не допускать повреждения и деформации металлочерепицы.
9.5.2 При установке мансардного окна выше окна по скату следует поверх подкровельного водоизоляционного слоя смонтировать водоотводящий желобок, выполненный из кровельного металла. Водоотводящий желобок устанавливают на стропила с уклоном (для этого в контробрешетке выполняют пропил под размер водоотводящего желобка) и заводят под водозащитную пленку путем надреза пленки, обеспечивая отвод конденсата от оконного проема.
9.5.3 Монтаж металлочерепицы следует начинать с подгонки нижележащего листа металлочерепицы, который отрезают с отступом 80 - 100 мм от нижней части оконного короба (рамы) таким образом, чтобы на него лег нижний элемент оклада (рисунок 18).
а - края фартука подгибаются; б - уплотнитель на боковых
секциях оклада подрезается в зависимости от высоты волны
металлочерепицы, попадающей на данную секцию оклада;
в - правильно выполненное примыкание;
1 - нижняя секция оклада; 2 - подрезанный лист
металлочерепицы; 3 - мансардное окно
Рисунок 18 - Установка мансардного окна
После подгонки нижнего листа металлочерепицы следует монтировать элементы оклада мансардного окна. Тип оклада должен соответствовать рекомендациям изготовителя окна для металлочерепицы.
Боковой лист (или нижний лист, если металлочерепица сбоку от окна монтируется внахлест) должен быть длиннее прочих на 1 - 2 волны и закрывать фартук окна (рисунок 19). Аналогичным образом укладывают лист металлочерепицы с другой стороны окна.
A1, A2 - боковые листы металлочерепицы,
которые должны быть длиннее прочих на 1 - 2 волны
Рисунок 19 - Монтаж листов металлочерепицы
вокруг мансардного окна
9.5.4 Сквозное крепление нижнего фартука оклада кровельными саморезами, а также сквозное крепление металлочерепицы через оклад не допускается.
9.5.5 Применение нестандартного оклада мансардного окна, изготовленного на месте производства работ из плоского стального кровельного листа с выполнением соединения в фальц, допускается в случае согласования с изготовителем окна.
9.6 Подшивка карнизного свеса
9.6.1 Подшивку карнизного свеса следует выполнять из софитов с перфорацией, металлических листов, деревянной вагонки или иных материалов.
В случае, если кровля из металлочерепицы выполняется над холодным чердаком с организацией вентиляции через слуховые окна и аэраторы, для подшивки карнизного свеса следует применять софиты с перфорацией либо доски, которые устанавливают с зазором.
9.6.2 При монтаже подшивки карнизного свеса имеющийся зазор между водозащитной пленкой и кровельным покрытием должен быть защищен сеткой с мелкими ячейками (из полимерных материалов или вязаной из металлических коррозионностойких материалов) и прикрыт карнизной планкой.
10 Внешний водоотвод
10.1 Внешний водоотвод на крыше с кровлей из металлочерепицы необходимо монтировать независимо от высоты здания и вылета карнизного свеса.
Для организации внешнего водоотвода следует применять системы, изготовленные из металла или из поливинилхлорида (далее - ПВХ).
10.2 Система внешнего водоотвода должна обеспечивать сбор атмосферных осадков, стекающих по скатам крыши, равномерное разведение воды по водосточным желобам в водоприемные воронки и отведение ее от цоколя здания через водосточные трубы.
10.3 Водосточные желоба должны быть установлены на крюках вдоль карнизов кровли ниже края металлочерепицы с уклоном не менее 3 мм на 1 пог. м.
Перед монтажом водосточных желобов необходимо провести промежуточные измерения установки крюков с помощью уровня по ГОСТ 9416 и разметочного шнура. После установки водосточного желоба следует повторно проверить наличие уклона с помощью уровня и при необходимости сместить крюки для обеспечения необходимого уклона.
Расстояние между крюками должно соответствовать расстоянию, рекомендованному изготовителем водосточной системы для климатических условий региона строительства, но составлять не более 600 мм.
Расстояние от верхней точки водосточного желоба до водоприемной воронки не должно превышать 12 м.
10.4 При установке водосточного желоба на коротких крюках, с креплением к карнизной доске, в желоб заводится капельник.
При установке водосточного желоба на длинных крюках в него может быть заведена карнизная планка. В этом случае капельник располагают под водосточным желобом.
10.5 При монтаже системы внешнего водоотвода из ПВХ необходимо соблюдать рекомендации изготовителя по компенсации температурного расширения.
10.6 Водосточные трубы, которые выходят на тротуары с большим движением людей, должны быть выполнены в антивандальном исполнении или иметь защитные металлические ограждения.
10.7 Край нижнего колена трубы должен располагаться не выше 300 мм и не ниже 100 мм от земли.
10.8 При наличии рядом со зданием деревьев в водосточный желоб или водоприемные воронки следует установить сетки листвоуловителя.
11 Монтаж элементов системы безопасности и инженерных систем
11.1 Монтаж элементов системы безопасности и обслуживания
11.1.1 Элементы системы безопасности и обслуживания (снегозадержания, лестниц, переходных мостиков и др.) должны иметь тип крепления, предназначенный для металлочерепицы, согласно проектной документации и соответствовать требованиям ГОСТ Р 58405. Монтаж элементов системы безопасности и обслуживания производят в соответствии с инструкциями изготовителя.
11.1.2 При монтаже элементов систем безопасности и обслуживания необходимо учитывать высоту волны и тип профиля металлочерепицы. Между кровлей и поперечными перекладинами систем снегозадержания, между ступенями кровельных лестниц должен быть обеспечен минимальный зазор не менее 50 мм.
Вид системы снегозадержания, ее комплектация и количество точек крепления к обрешетке зависят от климатических особенностей региона, угла наклона крыши и длины ската.
11.1.3 Первый ряд элементов систем снегозадержания должен быть смонтирован над наружной стеной (рисунок 20).
1 - кронштейн опоры снегозадержания; 2 - трубка
снегозадержания; 3 - кровельный саморез
с уплотнительной шайбой; 4 - обрешетка
Рисунок 20 - Крепление системы трубчатого
снегозадержания к кровле из металлочерепицы
11.1.4 Кронштейны элементов систем безопасности и обслуживания крепят сквозным креплением в нижнюю волну к доскам шаговой обрешетки (рисунок 21).
Рисунок 21 - Крепление кровельного мостика
к кровле из металлочерепицы
11.2 Монтаж инженерных систем
11.2.1 На крыше с кровлей из металлочерепицы могут быть смонтированы элементы систем антиобледенения и молниезащиты.
11.2.2 Системы антиобледенения и молниезащиты со сквозным креплением не должны нарушать функции водоизоляции кровельного покрытия. В случае нарушения лакокрасочного покрытия при установке место повреждения должно быть покрыто краской, по типу соответствующей типу полимерного покрытия металлочерепицы, по тону - цвету металлочерепицы.
12 Контроль выполнения и требования к результатам кровельных работ
12.1 Входной контроль
12.1.1 Входному контролю подлежат документация, материалы и изделия. На этапе входного контроля производится приемка несущего основания крыши. Этапы входного контроля приведены в приложении А.
12.1.2 При входном контроле документации проверяют всю поступившую документацию, включая проектную и организационно-исполнительную (проект производства работ; ППР).
Проектная документация должна содержать рабочие чертежи, планы, разрезы в объеме, необходимом для выполнения работ. В случае отсутствия в проектной документации необходимой информации для производства работ или ее неточности документация должна быть отправлена на доработку.
Организационно-исполнительная документация должна содержать:
- технологические карты производства работ;
- решения по безопасному выполнению работ и организации рабочих мест;
- последовательность выполнения работ;
- места складирования, последовательность и методы подъема материалов;
- тип лесов и схему их установки либо схему точек крепления средств индивидуальной защиты.
12.1.3 Входной контроль металлочерепицы организуют на основании данных маркировки в соответствии с ГОСТ Р 58153.
12.1.4 Входной контроль паро-, ветро- и водозащитных, теплоизоляционных материалов выполняют путем определения соответствия технических требований поступивших материалов требованиям проектной и нормативной документации.
12.1.5 Входной контроль пиломатериалов производят по ГОСТ 8486-86 (раздел 2).
12.1.6 Входной контроль соответствия материалов следует осуществлять визуально и методом документарной проверки.
При визуальном контроле металлочерепицы и доборных элементов (конькового элемента, планок примыканий) проверяют отсутствие царапин, сколов, иных повреждений, наличие маркировки на листах.
При документарной проверке проверяют соответствие указанных в маркировке металлочерепицы технических характеристик требованиям ГОСТ Р 58153.
Следующие показатели металлочерепицы должны соответствовать требованиям ГОСТ Р 58153:
- толщина стального проката - не менее 0,5 мм;
- минимальный класс металлического защитного покрытия - 140;
- минимальная толщина лицевого полимерного покрытия с учетом грунта - 23 мкм.
12.1.7 В случае несоответствия результатов визуального и документарного контроля данным, указанным в документе о качестве, входной контроль следует осуществлять в лабораторных условиях.
12.1.8 Результаты входного контроля материалов и изделий должны быть занесены в журнал входного учета и контроля качества получаемых деталей, материалов, конструкций и оборудования.
12.1.9 При приемке несущих конструкций (основания) проверяют размеры скатов на соответствие проектным размерам, а также прямолинейность конька, хребтов, карнизов, ендов, торцов. Результат проверки основания оформляют актом, рекомендуемая форма которого приведена в [5] (см. приложение 4).
12.2 Операционный контроль
12.2.1 В ходе операционного контроля лицо, осуществляющее строительство, проверяет соответствие последовательности и состава выполненных работ, соблюдение режимов и соответствие показателей качества выполнения операций и их результатов требованиям проектной, технической и нормативной документации, распространяющейся на данный этап работ.
Результаты операционного контроля следует фиксировать в общем журнале работ или специальном журнале по отдельным видам работ, форма которых приведена в [6].
ИС МЕГАНОРМ: примечание.
В официальном тексте документа, видимо, допущена опечатка: приложение 3 в РД-11-05-2007 [6] отсутствует. Возможно, имеется в виду приложение 3 РД-11-02-2006 [5].
12.2.2 Контролю подлежат скрытые виды работ на каждом этапе строительства с составлением акта освидетельствования скрытых работ согласно [6] (см. приложение 3).
12.2.3 Операционный контроль следует проводить визуально, а также инструментально с помощью линейки по ГОСТ 427 или рулетки по ГОСТ 7502 в соответствии с приложением А.
12.2.4 В процессе монтажа крыши с кровлей из металлочерепицы операционному контролю подлежат следующие виды работ:
- устройство пароизоляционного слоя;
- устройство теплоизоляционного слоя;
- устройство подкровельной изоляции;
- устройство обрешетки и контробрешетки, карнизной доски;
- монтаж вентиляционной сетки, капельника, водоотводящих желобков над препятствиями, нижних планок ендовы, планок карниза, фартуков обхода труб;
- монтаж рядового кровельного покрытия;
- монтаж верхних планок ендовы, конька, фронтонного свеса, планки примыкания;
- монтаж внешнего водоотвода.
12.3 Оценка соответствия выполненных работ по монтажу кровли из металлочерепицы
12.3.1 Оценку соответствия выполненных работ требованиям проектной документации выполняют путем документарной проверки исполнительной документации на полноту сведений в представленных материалах:
- документации, подтверждающей осуществление входного контроля применяемых строительных материалов и изделий;
- актов приемки основания (несущих конструкций);
- актов, оформляемых в ходе освидетельствования скрытых работ и ответственных конструкций;
- общего журнала работ.
12.3.2 Оценку соответствия выполненных работ требованиям нормативной документации проводят в ходе документарной проверки в случае изменений в проекте, внесенных после начала работ.
12.3.3 Результат оценки соответствия кровельных работ требованиям проектной документации следует оформлять актом в соответствии с требованиями СП 48.13330.2011 (пункт 7.3).
12.3.4 Карта контроля выполнения требований настоящего стандарта приведена в приложении А.
13 Требования охраны труда
13.1 Выполнение работ на высоте следует осуществлять с учетом правил по охране труда [1] - [4].
13.2 При выполнении кровельных работ рекомендуется использование строительных лесов, в том числе подвесных, установленных по всему периметру кровли или в местах выполнения кровельных работ. Ограждения лесов должны быть выше уровня поверхности кровли не менее чем на 1,1 м. Для предотвращения падения с высоты инструментов и кровельных материалов ограждения лесов должны иметь защитную сетку.
13.3 Работа с металлочерепицей должна осуществляться в защитных очках, перчатках и спецодежде. Проход под металлочерепицей и упаковками при их перемещении запрещен.
13.4 Подъем металлочерепицы на крышу и выполнение кровельных работ при скорости ветра свыше 15 м/с запрещается производить.
Приложение А
(обязательное)
КАРТА КОНТРОЛЯ ВЫПОЛНЕНИЯ ТРЕБОВАНИЙ НАСТОЯЩЕГО СТАНДАРТА
Таблица А.1
N п/п
Элемент контроля
Требования, предъявляемые при выполнении работ
Способ проверки соответствия
Результат
Примечания
Норма
Соответствие ("+", "-")
1. Подготовительные работы
1.1
Проектная документация
Проверка наличия комплекта проектной документации
Документарный
Наличие комплекта документов в соответствии с СП 48.13330.2011 (пункт 5.4)
1.2
Журнал входного учета и контроля качества получаемых деталей, материалов, конструкций и оборудования
Проверка наличия журнала входного учета и контроля качества получаемых деталей, материалов, конструкций и оборудования (12.1.9)
Документарный
Наличие журнала входного учета и контроля качества получаемых деталей, материалов, конструкций и оборудования (12.1.9)
1.3
Общий или специальный журнал работ
Проверка наличия общего или специального журнала работ (12.2.1)
Документарный
Наличие общего журнала работ, оформленного в соответствии с требованиями [6]
2. Входной контроль применяемых материалов
2.1
Пиломатериалы
Проверка соответствия сортности пиломатериалов по ГОСТ 8486
Визуальный, инструментальный (влажность, геометрия изделия)
Отсутствие дефектов согласно требованиям ГОСТ 8486-86 (раздел 2)
2.2
Изоляционные материалы
Наличие паспорта продукции
Документарный
Соответствие технических характеристик продукции проектной документации
2.3
Металлочерепица
Проверка наличия маркировки на листах металлочерепицы; соответствие заявленных технических характеристик проектной документации
Визуальный, документарный
Наличие маркировки, соответствие указанных параметров проектной документации
3. Операционный контроль
3.1
Пароизоляционный слой
Контроль монтажа пароизоляционного слоя (соответствие требованиям 6.2.1, 6.2.2, 6.2.6)
Визуальный
Стыки и примыкания к вертикальным поверхностям проклеены ровно, пароизоляционный материал расположен маркировкой в сторону помещения, отсутствуют складки по стыку и расхождения полотен.
Наличие акта освидетельствования скрытых работ
Оформляется акт освидетельствования скрытых работ
Соответствие требованиям 6.2.5
Инструментальный
Нахлест полотен пароизоляционного материала - 100 мм
3.2
Теплоизоляционный слой
Контроль монтажа теплоизоляционного слоя (соответствие требованиям 6.3.2, 6.3.3, 6.3.7)
Визуальный
Отсутствие зазоров между плитами или матами, плотное прилегание к конструкциям, швы расположены вразбежку
Оформляется акт скрытых работ
ИС МЕГАНОРМ: примечание.
В официальном тексте документа, видимо, допущена опечатка: пункт 6.4.9 отсутствует.
3.3
Подкровельная водоизоляция
Контроль монтажа подкровельного водоизоляционного слоя (соответствие требованиям 6.4.2, 6.4.9)
Визуальный
Материал расположен маркировкой на улицу. Наличие деформационной складки в местах примыканий к вертикальной поверхности
Проверка выполнения нахлеста (соответствие требованиям 6.4.3, 6.4.9)
Инструментальный
Нахлест полотен не менее 100 мм.
Материал заведен на вертикальную поверхность не менее чем на 50 мм
3.4
Контробрешетка
Соответствие требованиям 7.1
Инструментальный
Высота бруска контробрешетки 50 мм
Запись в журнале производства работ
3.5
Обрешетка
Контроль монтажа обрешетки (соответствие требованиям 7.2, 7.4)
Визуальный
Доски закреплены ровно по горизонтали параллельно карнизу, места стыков рядов обрешетки расположены в шахматном порядке
Соответствие требованиям 7.3
Инструментальный
Шаг обрешетки соответствует шагу волны металлочерепицы
3.6
Карнизная доска
Соответствие требованиям 7.7
Инструментальный
Линия карниза ровная по горизонтали, отклонение не больше 1 - 1,5 мм на 1 м длины карниза
Запись в журнале производства работ
3.7
Торцевая доска
Соответствие требованиям 7.10
Визуальный, инструментальный
Торцевая доска установлена на одном уровне с верхом профиля поверх обрешетки
3.8
Коньковая доска
Соответствие требованиям 7.11
Визуальный, инструментальный
На коньке установлена дополнительная доска толщиной на 10 - 15 мм более толщины досок шаговой обрешетки, зазор между досками соседних скатов составляет не менее 80 мм
3.9
Вентиляционная сетка, капельник, водоотводящие желобки над препятствиями
Контроль установки (соответствие требованиям 9.4.1, 9.5.2, 9.6.2, 10.4)
Визуальный
Наличие вентиляционной сетки, капельника, водоотводящих желобков над препятствиями
3.10
Карнизная планка
Соответствие требованиям 8.2
Инструментальный
Нахлест карнизных планок не менее 20 мм
3.11
Планка ендовы нижняя, планка примыкания нижняя
Соответствие требованиям 9.1.1, 9.3.1
Визуальный
Наличие кляммеров, отсутствие сквозных креплений
3.12
Торцевая планка
Соответствие требованиям 8.10
Инструментальный, визуальный
Нахлест не менее 20 мм, шаг саморезов не более 800 мм, в каждую вторую волну металлочерепицы
3.13
Конек
Контроль монтажа конька (соответствие требованиям 9.2.1, 9.2.2)
Визуальный
Наличие заглушек, элементы конька закреплены в верхний гребень волны.
Универсальный уплотнитель или рулонный аэроэлемент конька, аэратор (при наличии в проекте) установлены
3.14
Планка ендовы верхняя
Контроль монтажа (соответствие требованиям 9.1.5)
Инструментальный
Планка смонтирована с нахлестом не менее 100 мм
Запись в журнале производства работ
ИС МЕГАНОРМ: примечание.
В официальном тексте документа, видимо, допущена опечатка: пункт 8.13 отсутствует.
3.15
Рядовое кровельное покрытие
Соответствие требованиям 8.8
Визуальный
Перед монтажом кровельного покрытия: отсутствует мусор на поверхности подкровельной водоизоляции.
После монтажа: отсутствуют расхождения листов на стыках, саморезы прикручены в верхнюю волну металлочерепицы, количество саморезов и места их расположения соответствуют требованиям 8.13
3.16
Установка мансардного окна
Контроль установки мансардного окна (соответствие требованиям 9.5)
Визуальный, инструментальный
Мансардное окно установлено ровно, отсутствуют сквозное крепление кровельными саморезами через оклад и нижний фартук оклада
3.17
Внешний водоотвод
Контроль монтажа внешнего водоотвода (соответствие требованиям 10.3)
Визуальный, инструментальный
Наличие уклона не менее 3 мм на 1 пог. м, шаг карнизных крюков - не менее 600 мм
ИС МЕГАНОРМ: примечание.
В официальном тексте документа, видимо, допущена опечатка: пункт 4.7 отсутствует.
3.18
Удаление мусора
Соответствие требованиям 4.7
Визуальный, инструментальный
Металлическая стружка от саморезов удалена.
Отсутствует мусор в системе водоотвода, в ендове и на других участках крыши
4. Заключительные работы
4.1
Оценка соответствия выполненных работ
Соответствие проекту и требованиям 12.3
Документарный
Наличие исполнительной документации
БИБЛИОГРАФИЯ
[1]
Правила по охране труда при работе на высоте, утвержденные приказом Министерства труда и социальной защиты Российской Федерации от 28 марта 2014 г. N 155н
[2]
Правила по охране труда в строительстве, утвержденные приказом Министерства труда и социальной защиты Российской Федерации от 1 июня 2015 г. N 336н
[3]
Правила по охране труда при погрузочно-разгрузочных работах и размещении грузов, утвержденные приказом Министерства труда и социальной защиты Российской Федерации от 17 сентября 2014 г. N 642н
[4]
Правила по охране труда при работе с инструментом и приспособлениями, утвержденные приказом Министерства труда и социальной защиты Российской Федерации от 17 августа 2015 г. N 552н
[5]
Требования к составу и порядку ведения исполнительной документации при строительстве, реконструкции, капитальном ремонте объектов капитального строительства и требования, предъявляемые к актам освидетельствования работ, конструкций, участков сетей инженерно-технического обеспечения
[6]
Порядок ведения общего и (или) специального журнала учета выполнения работ при строительстве, реконструкции, капитальном ремонте объектов капитального строительства
УДК 692.415.001.4:006.354
ОКС 91.100.99
Ключевые слова: металлочерепица, кровельные работы, строительство