Главная // Актуальные документы // ГОСТ Р (Государственный стандарт)СПРАВКА
Источник публикации
М.: Стандартинформ, 2019
Примечание к документу
Документ
введен в действие с 1 марта 2020 года.
Название документа
"ГОСТ Р 58559-2019. Национальный стандарт Российской Федерации. Конструкции деревянные. Металлические зубчатые шпонки. Методы испытаний"
(утв. и введен в действие Приказом Росстандарта от 27.09.2019 N 790-ст)
"ГОСТ Р 58559-2019. Национальный стандарт Российской Федерации. Конструкции деревянные. Металлические зубчатые шпонки. Методы испытаний"
(утв. и введен в действие Приказом Росстандарта от 27.09.2019 N 790-ст)
Утвержден и введен в действие
агентства по техническому
регулированию и метрологии
от 27 сентября 2019 г. N 790-ст
НАЦИОНАЛЬНЫЙ СТАНДАРТ РОССИЙСКОЙ ФЕДЕРАЦИИ
КОНСТРУКЦИИ ДЕРЕВЯННЫЕ
МЕТАЛЛИЧЕСКИЕ ЗУБЧАТЫЕ ШПОНКИ. МЕТОДЫ ИСПЫТАНИЙ
Wooden structures. Metal gear pins. Test methods
ГОСТ Р 58559-2019
Дата введения
1 марта 2020 года
1 РАЗРАБОТАН Центральной научно-исследовательской, проектной и строительной лабораторией деревянных конструкций (ООО "ЦНИПС ЛДК")
2 ВНЕСЕН Техническим комитетом по стандартизации ТК 114 "Строительные материалы и изделия"
3 УТВЕРЖДЕН И ВВЕДЕН В ДЕЙСТВИЕ
Приказом Федерального агентства по техническому регулированию и метрологии от 27 сентября 2019 г. N 790-ст
4 ВВЕДЕН ВПЕРВЫЕ
Правила применения настоящего стандарта установлены в статье 26 Федерального закона от 29 июня 2015 г. N 162-ФЗ "О стандартизации в Российской Федерации". Информация об изменениях к настоящему стандарту публикуется в ежегодном (по состоянию на 1 января текущего года) информационном указателе "Национальные стандарты", а официальный текст изменений и поправок - в ежемесячном информационном указателе "Национальные стандарты". В случае пересмотра (замены) или отмены настоящего стандарта соответствующее уведомление будет опубликовано в ближайшем выпуске ежемесячного информационного указателя "Национальные стандарты". Соответствующая информация, уведомление и тексты размещаются также в информационной системе общего пользования - на официальном сайте Федерального агентства по техническому регулированию и метрологии в сети Интернет (www.gost.ru)
Настоящий стандарт распространяется на узловые соединения элементов деревянных конструкций, выполненных с использованием металлических зубчатых шпонок и устанавливает методы определения несущей способности и деформативности зубчатой шпонки в соединении, воспринимающей усилие сдвига.
Настоящий стандарт не устанавливает требований к отбору шпонок, методам определения характеристик элементов соединения и их материалов.
В настоящем стандарте использованы нормативные ссылки на следующие стандарты:
ГОСТ 166 (ИСО 3599-76) Штангенциркули. Технические условия
ГОСТ 577 Индикаторы часового типа с ценой деления 0,01 мм. Технические условия
ГОСТ 8486 Пиломатериалы хвойных пород. Технические условия
ГОСТ 16588 (ИСО 4470-81) Пилопродукция и деревянные детали. Методы определения влажности
ГОСТ 33080 Конструкции деревянные. Классы прочности конструкционных пиломатериалов и методы их определения
ГОСТ 33082-2014 Конструкции деревянные. Методы определения несущей способности узловых соединений
ГОСТ Р 58459 Конструкции деревянные. Определение нормативных и расчетных значений механических свойств древесины и материалов на ее основе
ГОСТ Р 58460 Шпонки металлические зубчатые для деревянных конструкций. Технические условия
Примечание - При пользовании настоящим стандартом целесообразно проверить действие ссылочных стандартов в информационной системе общего пользования - на официальном сайте Федерального агентства по техническому регулированию и метрологии в сети Интернет или по ежегодному информационному указателю "Национальные стандарты", который опубликован по состоянию на 1 января текущего года, и по выпускам ежемесячного информационного указателя "Национальные стандарты" за текущий год. Если заменен ссылочный стандарт, на который дана недатированная ссылка, то рекомендуется использовать действующую версию этого стандарта с учетом всех внесенных в данную версию изменений. Если заменен ссылочный стандарт, на который дана датированная ссылка, то рекомендуется использовать версию этого стандарта с указанным выше годом утверждения (принятия). Если после утверждения настоящего стандарта в ссылочный стандарт, на который дана датированная ссылка, внесено изменение, затрагивающее положение, на которое дана ссылка, то это положение рекомендуется применять без учета данного изменения. Если ссылочный стандарт отменен без замены, то положение, в котором дана ссылка на него рекомендуется применять в части, не затрагивающей эту ссылку.
В настоящем стандарте применены следующие термины с соответствующими определениями:
3.1
шпонка: Деталь в форме пластины, зубчатой пластины или кольца, которая при частичном размещении на каждой или в одной из контактных поверхностей двух элементов удерживается вместе соединительным болтом, способная передавать усилие сдвига от одного элемента к другому. [ГОСТ Р 58460-2019, пункт 3.1] |
3.2
зубчатая шпонка: Шпонка в виде круглой, квадратной, прямоугольной или овальной по форме пластины, имеющей зубья треугольной формы или шипы в форме усеченного конуса, расположенные по окружностям. [ГОСТ Р 58460-2019, пункт 3.2] |
3.3
двухсторонняя зубчатая шпонка: Зубчатая шпонка, симметричная в поперечном разрезе и вдавливаемая в каждую контактирующую поверхность двух смежных деревянных элементов. [ГОСТ Р 58460-2019, пункт 3.3] |
3.4
односторонняя зубчатая шпонка: Зубчатая шпонка, вдавливаемая в контактирующую поверхность деревянного элемента только на одной стороне. [ГОСТ Р 58460-2019, пункт 3.4] |
3.5
соединение деревянной конструкции: Часть конструкции, соединяющая ее элементы и выполняющая определенные несущие функции. |
3.6 несущая способность соединения: Предельная величина усилия (нагрузки), при которой не происходит разрушение или не достигается превышения допустимой деформации соединения.
3.7
эксплуатационная несущая способность соединения: Несущая способность с учетом величины и продолжительности действия эксплуатационных нагрузок. |
3.8 деформирование узлового соединения: Взаимное смещение соединяемых элементов соединения при действии нагрузки.
3.9
упругая деформация соединения: Величина взаимного смещения элементов соединения, линейно зависящая от нагрузки. |
3.10
остаточная деформация соединения: Сохранившаяся величина взаимного смещения элементов соединения при одном или нескольких циклах нагружения после полного снятия нагрузки на соединение. |
В настоящем стандарте применены следующие обозначения:
N - нагрузка, действующая на соединение и вызывающая сдвиг между его элементами, кН;
Nn - нагрузка, достигнутая на определенной ступени нагружения, Н;
Ne,i - предел упругой работы по результатам испытания i-го образца соединения, Н;
Nmax - разрушающая нагрузка при испытании соединения, Н;

- нормативная величина разрушающей нагрузки, Н;
- нормативное значение предела упругой работы, Н;
Rd - расчетное значение несущей способности соединения, Н;
Rexp - несущая способность соединения, определенная по результатам испытаний образцов, Н;
Rш - несущая способность соединения для одной зубчатой шпонки в плоскости сдвига, Н;
a3c - расстояние от центра стяжного болта до ненагруженного торца деревянного элемента соединения, мм;
a3t - расстояние от центра стяжного болта до нагруженного торца деревянного элемента соединения, мм;
a4 - расстояние от центра стяжного болта до боковой грани деревянного элемента соединения, мм;
d - диаметр стяжного болта, мм;
d1 - диаметр отверстия под стяжной болт в стальной пластине шпонки, мм;
d2 - диаметр отверстия в деревянном элементе соединения под стяжной болт, мм;
dш - наружный диаметр шайбы, мм;
dп - величина полной деформации, мм;
dо - остаточная деформация, мм;
dc - диаметр шпонки, мм;
dуi - величина упругой деформации (относительное смещение) для i-го образца соединения, мм;
- нормативная величина упругой деформации (относительное смещение) соединения, мм;
t - толщина листа пластины зубчатой шпонки, мм;
tmax - время нагружения до разрушения, с;
t1 - толщины крайнего деревянного элемента соединения, мм;
t2 - толщина среднего (внутреннего) деревянного элемента соединения, мм;
hc - длина зубьев шпонки, мм;
he - глубина вдавливания зубьев шпонки в рассматриваемый деревянный элемент соединения, мм.
Примечание - Для двухсторонних зубчатых шпонок he = (hc - t)/2, для односторонних he = (hc - t);
n - количество шпонок в соединении;

- нормативное значение плотности древесины элементов соединения, кг/м
3.
5 Требования к образцам соединений для испытаний
5.1.1 Соединения элементов деревянных конструкций с использованием зубчатых шпонок по виду зависимости упругой деформации от прилагаемой нагрузки в диапазоне расчетной
Rd несущей способности, согласно требованиям
ГОСТ 33082, следует относить к соединениям группы II, т.е. соединениям с нелинейной зависимостью упругой деформации от нагрузки.
5.1.2 Образцы для испытаний соединений изготавливают натурных размеров. На каждый тип шпонки и для каждого нормативного значения

плотности древесины пиломатериалов должно быть изготовлено и испытано не менее пяти образцов соединений.
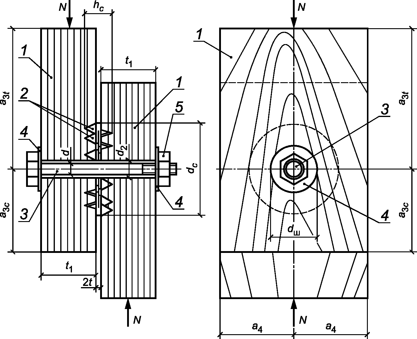
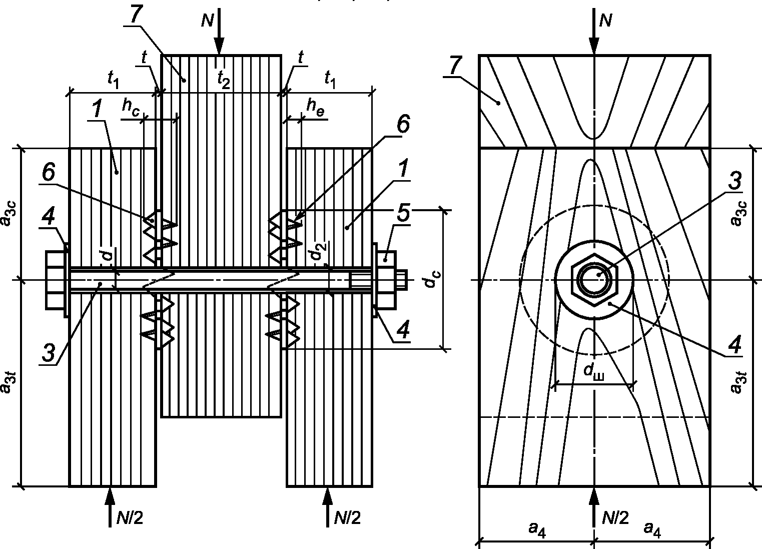
5.1.3 Образцы соединений следует изготавливать с учетом принятых схем испытаний, основные виды которых, в зависимости от типов зубчатых шпонок, приведены на
рисунке 1.
а) Схемы образцов односрезных соединений с односторонними
зубчатыми шпонками типов C2, C4, C7, C9 и C11
б) Схемы образцов двухсрезного соединения с двухсторонними
зубчатыми шпонками типов C1, C5, C6, C8 и C10
1 и 6 - соответственно внешний и внутренний деревянные
элементы соединения; 2 и 7 - соответственно односторонняя
и двухсторонняя зубчатая шпонки; 3 - стяжной болт;
4 - шайбы; 5 - гайка
Рисунок 1 - Схемы образцов соединений на зубчатых шпонках
и приложения нагрузки
5.1.4 Испытания образцов соединений проводят на действие нагрузки
N, вызывающей сдвиг в соединении по схемам, приведенным на
рисунке 1.
5.1.5 Поскольку несущая способность соединений на зубчатых шпонках не зависит от направления прикладываемой нагрузки по отношению к волокнам древесины, то испытания образцов проводят на действие нагрузки
N, приложенной по направлению волокон
(рисунок 1).
5.1.6 Разрушение соединений на зубчатых шпонках относится к пластическому виду и, как правило, происходит в результате смятия древесины в зоне ее контакта с зубьями шпонки и последующим изгибом зубьев от действия сдвигающего усилия в соединении.
5.2 Требования к материалам образцов соединений
5.2.1 Для изготовления деревянных элементов образцов соединений используют пиломатериалы хвойных пород, отсортированные по сортам в соответствии с требованиями
ГОСТ 8486 или классам прочности по
ГОСТ 33080. Класс прочности пиломатериалов должен быть не менее чем C14, но не более C40. Влажность древесины, определяемая в соответствии с требованиями
ГОСТ 16588, должна составлять (12 +/- 1)%, а нормативное значение плотности древесины

, определяемое в соответствии с требованиями
ГОСТ 16483.1 и
ГОСТ Р 58459, не должно быть более 500 кг/м
3.
5.2.2 Перед испытанием все образцы соединений должны быть выдержаны в течение суток в помещении при относительной влажности воздуха (65 +/- 5)% и температуре (20 +/- 2) °C.
5.2.3 В деревянных элементах соединения в зоне расположения зубчатых шпонок наличие сучков не допускается.
5.2.4 Используемые для изготовления образцов соединений металлические зубчатые шпонки должны соответствовать требованиям ГОСТ Р 58460.
5.2.5 Диаметр d стяжного болта следует принимать как минимальное значение, определяемое из двух условий: d = d1 - 2 мм и d = d1/1,1.
5.2.6 Стальные шайбы под стяжные болты могут иметь квадратную или круглую форму. Длина стороны или диаметр шайбы не должны быть менее 3d, а ее толщина - не менее 0,3d.
5.3 Изготовление образцов соединений
5.3.1 Изготовление образцов выполняют в соответствии с разработанной рабочей документацией, в которой следует указать все геометрические параметры элементов соединений, класс прочности древесины, тип шпонки и места ее расположения в соединении, плотность и влажность деревянных элементов соединения, параметры стяжного болта и шайб.
5.3.2 Для изготовления деревянных элементов образцов соединений используют остроганные пиломатериалы.
5.3.3 Размеры деревянных элементов, испытуемых образцов соединений, назначают в зависимости от используемого в соединении типа зубчатой шпонки. Толщина
t1 внешнего деревянного элемента соединения (см.
рисунок 1) должна быть не менее 2,5
he, а толщина
t2 внутреннего (см.
рисунок 1) - не менее 3,75
he. Расстояние
a3c от центра стяжного болта до ненагруженного торца деревянного элемента соединения должно быть не менее 1,5
dc, а до нагруженного -
a3t >= 2,0
dc. Расстояние
a4 от центра стяжного болта до боковой грани деревянного элемента соединения должно быть не менее 0,6
dc.
5.3.4 Диаметр d2 отверстий под стяжные болты в деревянных элементах образцов соединений должен быть более на 8 мм диаметра d стяжного болта.
5.3.5 Сборку элементов образцов соединений осуществляют в следующей последовательности:
- в деревянных элементах высверливают отверстия диаметром d2 = d + 8 мм;
- на пласти деревянных элементов соединения выполняют расстановку шпонок в необходимом положении, а затем соединение подвергают механическому обжатию. Сжатие деревянных элементов осуществляют до полного вдавливания зубьев шпонки в древесину элементов (плотного прилегания пластины шпонки к пласти деревянных элементов). Если используют древесину с относительно небольшой плотностью

, сжатие осуществляют путем натяжения высокопрочных болтов с большими шайбами;
- после полного вдавливания зубьев шпонки в деревянные элементы соединения выполняют установку и фиксацию стяжного болта и его шайб.
5.3.6 После изготовления образцы маркируют и проводят паспортизацию на предмет соответствия рабочей документации. Все отклонения заносят в журнал испытаний.
6 Оборудование и инструмент для проведения испытаний
Для проведения испытаний используют следующие оборудование и инструмент:
- машина испытательная, имеющая погрешность измерения нагрузки не более 1%, используемая для нагружения образцов соединений;
- датчики или автоматизированная система измерения и записи деформаций соединения, или индикаторы часового типа по
ГОСТ 577, позволяющие проводить замеры деформаций с точностью не менее 0,01 мм;
- секундомер с точностью замера не более 1 с, позволяющий фиксировать продолжительность проведения испытаний;
- приборы для измерения температуры и влажности воздуха;
- штангенциркуль по
ГОСТ 166 с погрешностью измерения не более 0,1 мм для измерения поперечного сечения деревянных элементов соединения;
- рулетка для измерения длины деревянных элементов соединения.
7 Порядок проведения испытаний
7.1 Режимы нагружения образцов соединений, значения ступеней и скорость нагружения принимают в соответствии с требованиями
ГОСТ 33082, установленными для соединений группы II.
7.2 Согласно
ГОСТ 33082 нагружения образцов осуществляют ступенями 0,08 - 0,10 от ожидаемой разрушающей нагрузки
Nmax с измерением полных деформаций
dп относительного смещения деревянных элементов, а также их разности на каждой ступени для определения предела упругой работы соединения.
7.3 В процессе испытаний ступенчатой нагрузкой с разгрузкой в журнале испытаний (
подраздел Б.2 приложения Б ГОСТ 33082-2014) следует фиксировать: значения нагрузки на каждой ступени
Nn, замера деформаций: полной
dп и остаточной
dо за цикл; а также продолжительность времени возрастания нагрузки на каждой ступени и общую продолжительность испытаний
tmax до момента разрушения образца.
8 Обработка результатов испытаний
8.1 На основании результатов испытаний в соответствии с требованиями
ГОСТ 33082 для каждого испытанного образца соединения определяют нагрузку
Ne,i, соответствующую пределу упругой работы соединения, упругую деформацию
dуi и разрушающую нагрузку
Nmax.
8.2 Нормативные значения

,

и

испытанных образцов соединений для каждого типа шпонки определяют в соответствии с требованиями
ГОСТ Р 58459 с учетом числа испытанных образцов.
8.3 Несущую способность соединения
Rexp по результатам испытаний определяют для каждого типа шпонки в соответствии с требованиями
ГОСТ 33082.
8.4 Несущую способность соединения для одной зубчатой шпонки в плоскости сдвига
Rш (см.
рисунок 1), по результатам испытаний образцов, вычисляют по формуле
Rш = Rexp/n, (1)
где Rexp - несущая способность соединения с кольцевыми шпонками, определенная по результатам испытаний образцов;
n - число шпонок в соединении.