Главная // Актуальные документы // ГОСТ Р (Государственный стандарт)СПРАВКА
Источник публикации
М.: Стандартинформ, 2019
Примечание к документу
Документ
введен в действие с 1 июня 2019 года.
Название документа
"ГОСТ Р 58401.7-2019. Национальный стандарт Российской Федерации. Дороги автомобильные общего пользования. Смеси асфальтобетонные дорожные и асфальтобетон. Метод определения ползучести и прочности при непрямом растяжении (IDT)"
(утв. и введен в действие Приказом Росстандарта от 31.05.2019 N 269-ст)
"ГОСТ Р 58401.7-2019. Национальный стандарт Российской Федерации. Дороги автомобильные общего пользования. Смеси асфальтобетонные дорожные и асфальтобетон. Метод определения ползучести и прочности при непрямом растяжении (IDT)"
(утв. и введен в действие Приказом Росстандарта от 31.05.2019 N 269-ст)
Утвержден и введен в действие
агентства по техническому
регулированию и метрологии
от 31 мая 2019 г. N 269-ст
НАЦИОНАЛЬНЫЙ СТАНДАРТ РОССИЙСКОЙ ФЕДЕРАЦИИ
ДОРОГИ АВТОМОБИЛЬНЫЕ ОБЩЕГО ПОЛЬЗОВАНИЯ
СМЕСИ АСФАЛЬТОБЕТОННЫЕ ДОРОЖНЫЕ И АСФАЛЬТОБЕТОН
МЕТОД ОПРЕДЕЛЕНИЯ ПОЛЗУЧЕСТИ
И ПРОЧНОСТИ ПРИ НЕПРЯМОМ РАСТЯЖЕНИИ
(IDT)
Automobile roads of general use.
Asphalt mixtures and asphalt concrete for road pavement.
Method for determination of creep compliance
and strength with indirect tensile test
(IDT)
ГОСТ Р 58401.7-2019
Дата введения
1 июня 2019 года
1 РАЗРАБОТАН Обществом с ограниченной ответственностью "Центр метрологии испытаний и стандартизации" (ООО "ЦМИиС") совместно с Автономной некоммерческой организацией "Научно-исследовательский институт транспортно-строительного комплекса" (АНО "НИИ ТСК")
2 ВНЕСЕН Техническим комитетом по стандартизации ТК 418 "Дорожное хозяйство"
3 УТВЕРЖДЕН И ВВЕДЕН В ДЕЙСТВИЕ
Приказом Федерального агентства по техническому регулированию и метрологии от 31 мая 2019 г. N 269-ст
4 ВВЕДЕН ВПЕРВЫЕ
Правила применения настоящего стандарта установлены в статье 26 Федерального закона от 29 июня 2015 г. N 162-ФЗ "О стандартизации в Российской Федерации". Информация об изменениях к настоящему стандарту публикуется в ежегодном (по состоянию на 1 января текущего года) информационном указателе "Национальные стандарты", а официальный текст изменений и поправок - в ежемесячном информационном указателе "Национальные стандарты". В случае пересмотра (замены) или отмены настоящего стандарта соответствующее уведомление будет опубликовано в ближайшем выпуске ежемесячного информационного указателя "Национальные стандарты". Соответствующая информация, уведомление и тексты размещаются также в информационной системе общего пользования - на официальном сайте Федерального агентства по техническому регулированию и метрологии в сети Интернет (www.gost.ru)
Настоящий стандарт распространяется на смеси асфальтобетонные дорожные и асфальтобетон и устанавливает метод определения ползучести, прочности на растяжение и коэффициента Пуассона асфальтобетонов с использованием метода непрямого растяжения.
В настоящем стандарте использованы нормативные ссылки на следующие стандарты:
ГОСТ 12.1.019 Система стандартов безопасности труда. Электробезопасность. Общие требования и номенклатура видов защиты
| | ИС МЕГАНОРМ: примечание. В официальном тексте документа, видимо, допущена опечатка: имеется в виду ГОСТ 12.4.252-2013, а не ГОСТ 12.4.246. | |
ГОСТ 12.4.246 Система стандартов безопасности труда. Средства индивидуальной защиты рук. Перчатки. Общие технические требования. Методы испытаний
ГОСТ 166 Штангенциркули. Технические условия
ГОСТ Р 58401.8 Дороги автомобильные общего пользования. Смеси асфальтобетонные дорожные и асфальтобетон. Метод определения содержания воздушных пустот
ГОСТ Р 58401.10 Дороги автомобильные общего пользования. Смеси асфальтобетонные дорожные и асфальтобетон. Методы определения объемной плотности
ГОСТ Р 58401.16 Дороги автомобильные общего пользования. Смеси асфальтобетонные дорожные и асфальтобетон. Методы определения максимальной плотности
Примечание - При пользовании настоящим стандартом целесообразно проверить действие ссылочных стандартов в информационной системе общего пользования - на официальном сайте Федерального агентства по техническому регулированию и метрологии в сети Интернет или по ежегодному информационному указателю "Национальные стандарты", который опубликован по состоянию на 1 января текущего года, и по выпускам ежемесячного информационного указателя "Национальные стандарты" за текущий год. Если заменен ссылочный стандарт, на который дана недатированная ссылка, то рекомендуется использовать действующую версию этого стандарта с учетом всех внесенных в данную версию изменений. Если заменен ссылочный стандарт, на который дана датированная ссылка, то рекомендуется использовать версию этого стандарта с указанным выше годом утверждения (принятия). Если после утверждения национального стандарта в ссылочный стандарт, на который дана датированная ссылка, внесено изменение, затрагивающее положение, на которое дана ссылка, то это положение рекомендуется применять без учета данного изменения. Если ссылочный стандарт отменен без замены, то положение, в котором дана ссылка на него, рекомендуется применять в части, не затрагивающей эту ссылку.
В настоящем стандарте применены следующие термины с соответствующими определениями:
3.1 ползучесть: Отношение деформации, зависящей от времени к величине приложенного напряжения.
3.2 испытуемый образец: Образец цилиндрической формы диаметром (150 +/- 5) мм и высотой от 38 до 50 мм.
3.3 коэффициент Пуассона: Абсолютная величина отношения поперечной и продольной относительной деформации образца.
3.4 прочность на растяжение: Прочность образца, подверженного растяжению.
3.5 непрямое растяжение: Растяжение, возникающее в горизонтальной плоскости цилиндрического образца при его нагружений по вертикальной (диаметральной) оси.
3.6 вертикальная (диаметральная ось): Вертикальная ось цилиндрического образца, проходящая через его основание.
4 Требования к средствам измерений, вспомогательным устройствам и материалам
При выполнении испытаний применяют следующие средства измерений, вспомогательные устройства и материалы.
4.1 Комплекс испытательный на непрямое растяжение. В состав испытательного комплекса на непрямое растяжение должно входить устройство осевой нагрузки, устройство измерения нагрузки, приборы, измеряющие деформацию образца, климатическая камера и система управления и сбора данных.
4.1.1 Устройство нагружающее, обеспечивающее постоянную нагрузку не менее 100 кН с ценой деления не более 20 Н и постоянную скорость смещения плунжера не менее 12 мм/мин.
4.1.2 Устройство силоизмерительное, состоящее из электронного датчика нагрузки, который расположен между нагрузочной пластиной и плунжером, с чувствительностью 20 Н, и максимальным измерением не менее 100 кН.
4.1.3 Датчики для измерения деформации образца с диапазоном измерения до 25,00 мм, которые с помощью компьютерной программы уменьшают ее до 0,25 мм, и дискретностью 0,0001 мм.
4.1.4 Камера климатическая, способная поддерживать температуры от минус 30 °C до плюс 10 °C внутри камеры с погрешностью до 0,5 °C. Внутренние размеры климатической камеры должны быть достаточными, чтобы термостатировать как минимум три испытуемых образца в течение 12 ч перед испытанием.
4.1.5 Система управления и сбора данных для записи времени приложенной нагрузки и деформации образца. При проведении испытания в течение 100 с цифровые устройства сбора данных должны обеспечивать частоту замеров 10 Гц в течение первых 10 с и 1 Гц в течение следующих 90 с. При проведении испытания в течение 1000 с цифровые устройства сбора данных должны обеспечивать частоту замеров 10 Гц в течение первых 10 с, 1 Гц в течение следующих 90 с и 0,1 Гц для остальных 900 с. При определении прочности на растяжение цифровые устройства сбора данных должны обеспечить частоту замеров 20 Гц в течение всего испытания.
4.1.6 Восемь металлических цилиндров, диаметром (8,00 +/- 0,01) мм и высотой (3,20 +/- 0,01) мм.
Примечание - Допускается применять металлические цилиндры других размеров, которые позволяют правильно установить датчики для измерения горизонтальных и вертикальных деформаций.
4.1.7 Шаблон монтажный с квадратными отверстиями, который применяют для размещения и центрирования металлических цилиндров на каждой стороне испытуемого образца (по четыре с каждой стороны). Схематическое изображение шаблона представлено на
рисунке 1.
Примечание - Допускается применять монтажные шаблоны других видов, которые позволяют правильно разместить и отцентрировать металлические цилиндры.
Примечание - Размеры указаны в миллиметрах с допуском +/- 0,2 мм.
Рисунок 1 - Схематическое изображение установочного шаблона
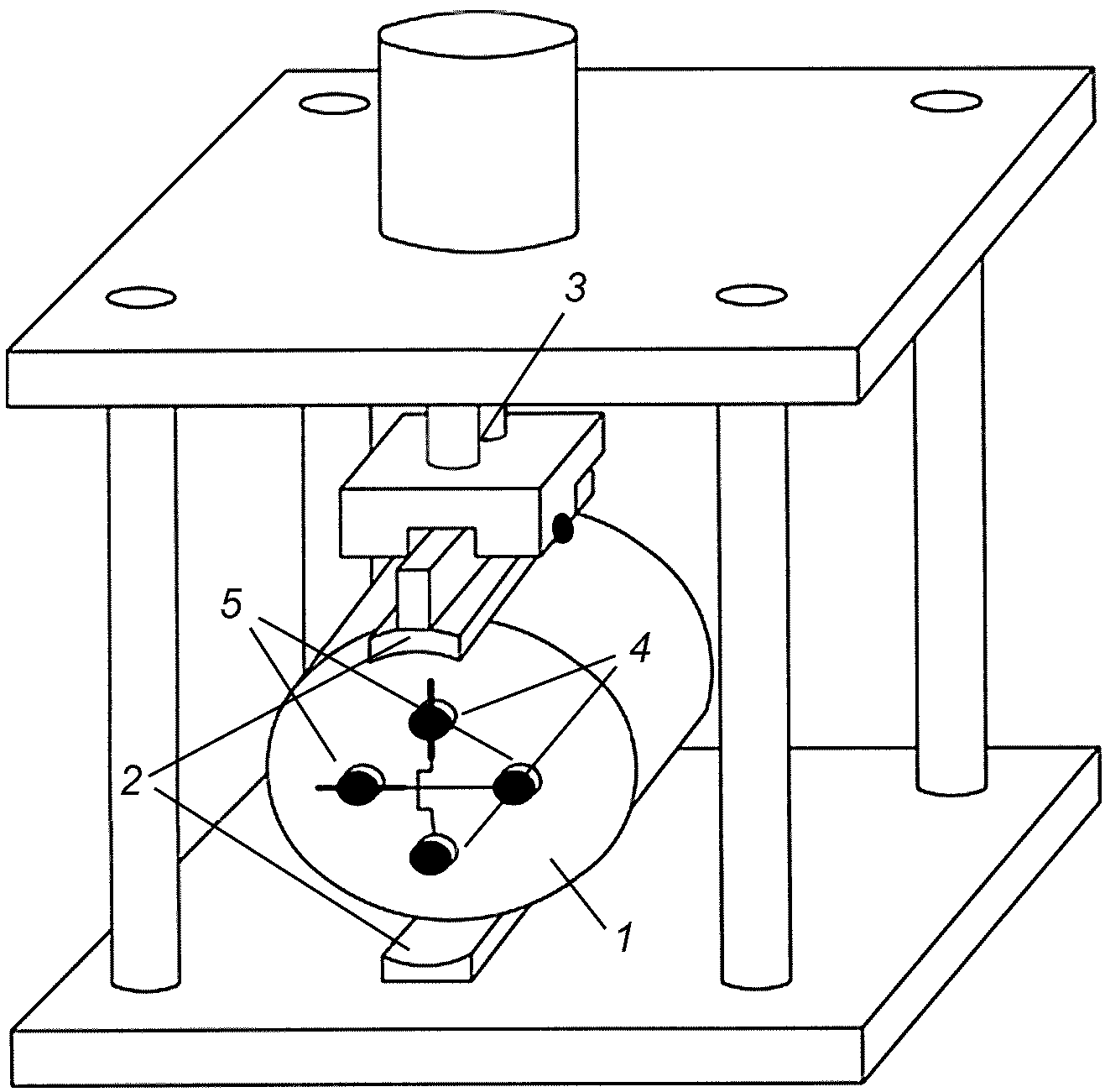
4.1.8 Рама нагрузочная с нагрузочными пластинами, способная передавать вертикальную нагрузку на боковую плоскость образца при силе трения в направляющих не более 20 Н. Нагрузочная рама может быть на двух или четырех опорных колоннах. Схематическое изображение нагрузочной рамы представлено на рисунке 2.
1 - образец асфальтобетона; 2 - нагрузочные пластины;
3 - нагружающее устройство; 4 - вертикальные датчики
перемещений; 5 - горизонтальные датчики перемещений
Рисунок 2 - Схематическое изображение нагрузочной рамы
4.1.8.1 Нагрузочные пластины, через которые передается нагрузка на образец, длиной не менее 50 мм, шириной (19 +/- 1) мм и радиусом кривизны (75 +/- 1) мм.
4.1.9 Установка для распила асфальтобетона (циркулярная пила) и обработки торцов образцов. Циркулярная пила должна иметь алмазную режущую кромку и отпиливать торцы образцов без нагрева и ударной нагрузки.
4.1.11 Клей эпоксидный с прочностью при отрыве не менее 20 МПа.
Сущность метода заключается в определении ползучести асфальтобетона при растяжении путем приложения постоянной статической нагрузки по вертикальной диаметральной оси образца. Для расчета ползучести используют результаты замеров горизонтальных и вертикальных деформаций в центре образцов. Нагрузки выбирают таким образом, чтобы горизонтальные деформации в ходе испытаний выдерживались в диапазоне линейных вязкостно-упругих величин.
6 Требования безопасности, охраны окружающей среды
| | ИС МЕГАНОРМ: примечание. В официальном тексте документа, видимо, допущена опечатка: имеется в виду ГОСТ 12.4.252-2013, а не ГОСТ 12.4.246. | |
При выполнении испытаний соблюдают правила по электробезопасности по
ГОСТ 12.1.019 и инструкции по эксплуатации оборудования.
7 Требования к условиям испытаний
При выполнении испытаний соблюдают следующие условия для помещений, в которых испытывают образцы:
- температура (22 +/- 3) °C;
- относительная влажность не более 80%.
8 Подготовка к выполнению испытаний
8.1 При подготовке к выполнению испытаний проводят следующие работы:
- подготовка образцов;
- подготовка к испытаниям.
8.2 Подготовка образцов
8.2.1 Для испытания формуют на вращательном уплотнителе (гираторе) не менее трех одинаковых образцов.
Примечание - Для проведения испытания допускается применять образцы, отобранные из конструктивных слоев автомобильной дороги или из образцов-плит, уплотненных на вальцовом уплотнителе.
8.2.2 На распиловочной установке с алмазным диском отпиливают у образцов не менее 6 мм с каждого торца для получения ровных параллельных поверхностей, перпендикулярных к высоте образца.
Толщина испытуемых образцов должна быть от 38 до 50 мм, а диаметр (150 +/- 5) мм. Фактическую толщину испытуемых образцов и диаметр измеряют с помощью штангенциркуля с точностью до 1 мм и записывают.
8.2.3 Определяют объемную плотность каждого испытуемого образца по
ГОСТ Р 58401.10.
8.2.4 После определения объемной плотности все испытуемые образцы высушивают при температуре (22 +/- 3) °C.
8.2.5 С помощью монтажного шаблона и эпоксидного клея приклеивают на торцевые стороны каждого испытуемого образца по четыре металлических цилиндра на расстоянии (19,0 +/- 0,1) мм от центра торца образца. Металлические цилиндры размещают по два на вертикальной и по два на горизонтальной оси испытуемого образца таким образом, чтобы расположение металлических цилиндров с одного торца было зеркальным к другому торцу одного образца.
8.2.6 Устанавливают датчики перемещения, схематическое изображение которых представлено на
рисунке 3 на металлические цилиндры таким образом, чтобы осевая линия датчика находилась на расстоянии (6,4 +/- 0,1) мм над поверхностью испытуемого образца.
8.3 Подготовка к испытанию
Испытуемые образцы перед испытанием выдерживают в климатической камере при температуре испытания с точностью до 0,5 °C в течение (3 +/- 1) ч. Испытуемые образы не должны выдерживаться при температуре 0 °C или ниже более 24 ч.
1 - крепежный винт датчика LVDT; 2 - стержень в сборе;
3 - места установки латунных таблеток; 4 - латунная трубка
наружным диаметром 1,6; 5 - поверхность образца
а) Датчик измерения вертикальной деформации
1 - латунная трубка наружным диаметром 1,6, длиной 14,3;
2 - крепежный винт датчика LVDT; 3 - стержень в сборе;
4 - стержень LVDT; 5 - места установки латунных таблеток;
6 - поверхность образца
б) Датчик измерения горизонтальной деформации
Примечание - Размеры указаны в миллиметрах с допуском +/- 0,2 мм.
Рисунок 3 - Схематическое изображение
датчиков измерения деформации
Примечание - Допускается использовать отличающиеся по конструктивным особенностям датчики деформаций, обеспечивающие измерение вертикальной и горизонтальной деформаций образца с заданной точностью.
Испытания проводят в диапазоне температур от минус 30 °C до 10 °C. Температуру испытания выбирают в зависимости от нижнего значения марки вяжущего PG следующим образом:
- для асфальтобетонных смесей, приготовленных на вяжущем марки PG XX-34 или ниже, испытания проводят при температурах минус 30 °C, минус 20 °C и минус 10 °C;
- для асфальтобетонных смесей, приготовленных на вяжущем марки PG XX-28 и PG XX-22, испытания проводят при температурах минус 20 °C, минус 10 °C и 0 °C;
- для асфальтобетонных смесей, приготовленных на вяжущем марки PG XX-16 или выше, испытания проводят при температурах минус 10 °C, 0 °C и плюс 10 °C;
- при испытании образцов, отобранных из покрытия со сроком эксплуатации более трех лет, температура испытания должна быть увеличена на 10 °C.
Примечания
1 Обозначение марки вяжущего включает в себя: первое число, которое характеризует среднее значение самой высокой температуры покрытия на глубине 2 см от поверхности в течение семи дней на определенной автомобильной дороге, а второе - самую низкую температуру покрытия, зафиксированную на поверхности покрытия на той же автомобильной дороге (например, PG 64-34).
2 В случае отсутствия данных о применяемой марке вяжущего испытание проводят при температурах: минус 20 °C, минус 10 °C и 0 °C.
9 Порядок выполнения испытаний
Обнуляют показания электронной измерительной системы и прикладывают на испытуемый образец постоянную статическую нагрузку с точностью не менее 2% на (100 +/- 2) с. Для детального анализа асфальтобетона следует увеличить продолжительность нагружения до (1000,0 +/- 20,5) с.
Горизонтальная деформация образца при приложенной статической нагрузке должна быть от 0,00125 до 0,0190 мм. Если деформация не соответствует установленному пределу, то нагрузку необходимо снять, дать восстановится образцу в течение не менее 5 мин и снова создать нагрузку, которая обеспечит необходимую деформацию испытуемого образца.
После проведение испытаний на определение ползучести при каждой температуре в климатической камере создают температуры, которые находятся, как правило, в серединах диапазонов испытательных температур, при определении ползучести выдерживают образцы при этих температурах в течение (3 +/- 1) ч и определяют прочность на растяжение каждого испытуемого образца путем создания вертикальной нагрузки на испытуемый образец со скоростью 12,5 мм/мин.
Определяют вертикальные и горизонтальные деформации на обоих торцах испытуемого образца, а также максимальную нагрузку.
10 Обработка результатов испытаний
10.1 Определяют максимальную плотность смеси в соответствии
ГОСТ Р 58401.16 и содержание воздушных пустот в каждом испытуемом образце в соответствии с
ГОСТ Р 58401.8.
10.2 Определение ползучести
10.2.1 Определяют среднее значение толщины bср, мм, диаметра Dср, мм, и нагрузки Pср, кН, трех испытуемых образцов.
10.2.2 Приведенные горизонтальные

, мм, и вертикальные

, мм, деформации каждого из трех испытуемых образцов по обоим торцам вычисляют по формулам

; (1)

, (2)
где Xni и Yni - горизонтальная и вертикальная деформации измеренные в процессе испытания на торце i испытуемого образца n, мм;
bn, Dn и Pn - толщина, диаметр и нагрузка соответственно испытуемого образца n, мм.
10.2.3 По
формулам (1) и
(2) определяют приведенные горизонтальную

, мм, и вертикальную

, мм, деформации на каждом из шести торцов испытуемых образцов, которые соответствуют половине времени испытания.
Примечание - Если испытание проводилось в течение 100 с, то определяют деформацию, за время, равное 50 с, а если испытание проводилось в течение 1000 с, то определяют деформацию, за время, равное 500 с.
10.2.4 Среднюю деформацию вычисляют по четырем значениям из шести приведенных горизонтальной

, мм, и вертикальной

, мм, деформаций по формулам:

; (3)

. (4)
Примечание - Наибольшие и наименьшие значения приведенных горизонтальной и вертикальной деформаций отбрасывают.
10.2.5 Определяют соотношение горизонтальной и вертикальной деформаций X/Y по формуле

. (5)
10.2.6 Среднюю величину горизонтальной деформации Xср(t), мм, в любой точке за время проведения испытания по четырем значениям замеренной горизонтальной деформации из шести вычисляют по формуле

. (6)
Примечание - Наибольшие и наименьшие значения замеренной горизонтальной деформации отбрасывают.
10.2.7 Ползучесть асфальтобетона G, кПа-1, вычисляют по формуле

, (7)
где L - длина датчика перемещения равная 0,038 м;
C - коэффициент, вычисляемый по формуле (8) и удовлетворяющий
неравенству (9):

; (8)

. (9)
10.2.8 Коэффициента Пуассона v вычисляют по формуле

. (10)
Примечание - Значение коэффициента Пуассона должно быть в диапазоне от 0,05 до 0,5 включительно.
10.3 Определение прочности на растяжение
10.3.1 Прочность на растяжение Sn, кПа, каждого испытуемого образца n вычисляют по формуле

, (11)
где

- максимальная нагрузка на образец
n, Н.
10.3.2 Рассчитывают среднее арифметическое значение прочности на растяжение трех испытуемых образцов с точностью до 1 кПа.
11 Оформление результатов испытаний
Результаты испытания оформляют в виде протокола, который должен содержать следующее:
- обозначение настоящего стандарта;
- дата проведения испытания;
- наименование организации, проводившей испытание;
- вид (тип) асфальтобетона;
- объемная плотность каждого испытуемого образца;
- содержание воздушных пустот каждого испытуемого образца с точностью до 0,1%;
- высота и диаметр всех испытуемых образцов с точностью до 1 мм;
- температура испытания с точностью до 0,5 °C;
- значение ползучести с точностью до 1 Па-1;
- значение прочности при растяжении с точностью до 1 кПа.
12 Контроль точности результатов испытаний
Точность результатов испытаний обеспечивается:
- соблюдением требований настоящего стандарта;
- проведением периодической оценки метрологических характеристик средств измерений;
- проведением периодической аттестации оборудования.
Лицо, проводящее измерения, должно быть ознакомлено с требованиями настоящего стандарта.