Главная // Актуальные документы // ГОСТ Р (Государственный стандарт)СПРАВКА
Источник публикации
М.: Стандартинформ, 2017
Примечание к документу
Документ
введен в действие с 1 марта 2018 года.
Название документа
"ГОСТ Р 57842-2017. Национальный стандарт Российской Федерации. Кладка из крупноформатных керамических камней. Методы определения теплотехнических характеристик, звукоизоляции и воздухопроницаемости"
(утв. и введен в действие Приказом Росстандарта от 26.10.2017 N 1528-ст)
"ГОСТ Р 57842-2017. Национальный стандарт Российской Федерации. Кладка из крупноформатных керамических камней. Методы определения теплотехнических характеристик, звукоизоляции и воздухопроницаемости"
(утв. и введен в действие Приказом Росстандарта от 26.10.2017 N 1528-ст)
Утвержден и введен в действие
агентства по техническому
регулированию и метрологии
от 26 октября 2017 г. N 1528-ст
НАЦИОНАЛЬНЫЙ СТАНДАРТ РОССИЙСКОЙ ФЕДЕРАЦИИ
КЛАДКА ИЗ КРУПНОФОРМАТНЫХ КЕРАМИЧЕСКИХ КАМНЕЙ
МЕТОДЫ ОПРЕДЕЛЕНИЯ ТЕПЛОТЕХНИЧЕСКИХ ХАРАКТЕРИСТИК,
ЗВУКОИЗОЛЯЦИИ И ВОЗДУХОПРОНИЦАЕМОСТИ
Masonry from large-format ceramic stones. Methods
for determining the thermal properties, sound insulation
and air-tightness
ГОСТ Р 57842-2017
Дата введения
1 марта 2018 года
1 РАЗРАБОТАН Федеральным государственным бюджетным учреждением "Научно-исследовательский институт строительной физики Российской академии архитектуры и строительных наук" (НИИСФ РААСН) при участии Федерального автономного учреждения "Федеральный центр нормирования, стандартизации и технической оценки соответствия в строительстве" (ФАУ "ФЦС")
2 ВНЕСЕН Техническим комитетом по стандартизации ТК 465 "Строительство"
3 УТВЕРЖДЕН И ВВЕДЕН В ДЕЙСТВИЕ
Приказом Федерального агентства по техническому регулированию и метрологии от 26 октября 2017 г. N 1528-ст
4 ВВЕДЕН ВПЕРВЫЕ
Правила применения настоящего стандарта установлены в
статье 26 Федерального закона от 29 июня 2015 г. N 162-ФЗ "О стандартизации в Российской Федерации". Информация об изменениях к настоящему стандарту публикуется в ежегодном (по состоянию на 1 января текущего года) информационном указателе "Национальные стандарты", а официальный текст изменений и поправок - в ежемесячном информационном указателе "Национальные стандарты". В случае пересмотра (замены) или отмены настоящего стандарта соответствующее уведомление будет опубликовано в ближайшем выпуске ежемесячного информационного указателя "Национальные стандарты". Соответствующая информация, уведомление и тексты размещаются также в информационной системе общего пользования - на официальном сайте Федерального агентства по техническому регулированию и метрологии в сети Интернет (www.gost.ru)
Настоящий стандарт распространяется на кладку наружных стен, межквартирных и межкомнатных перегородок, выполненную из керамических крупноформатных камней, изготовляемых по
ГОСТ 530, и устанавливает методы определения теплотехнических характеристик, характеристик звукоизоляции и воздухопроницаемости этой кладки.
Примечания
1 Рекомендуемые значения теплотехнических характеристик кладки из керамического крупноформатного камня приведены в
приложении А.
2 Прочность при сжатии кладки из керамического крупноформатного камня определяют по
ГОСТ 32047.
В настоящем стандарте использованы нормативные ссылки на следующие стандарты:
ГОСТ 530 Кирпич и камень керамические. Общие технические условия
ГОСТ 24816 Материалы строительные. Метод определения равновесной сорбционной влажности
ГОСТ 25380-2014 Здания и сооружения. Метод измерения плотности тепловых потоков, проходящих через ограждающие конструкции
ГОСТ 27296 Здания и сооружения. Методы измерения звукоизоляции ограждающих конструкций
ГОСТ 32047 Кладка каменная. Метод испытания на сжатие
ГОСТ Р 55338-2012 Кладка каменная и изделия для нее. Методы определения расчетных значений показателей теплозащиты
Примечание - При пользовании настоящим стандартом целесообразно проверить действие ссылочных стандартов в информационной системе общего пользования - на официальном сайте Федерального агентства по техническому регулированию и метрологии в сети Интернет или по ежегодному информационному указателю "Национальные стандарты", который опубликован по состоянию на 1 января текущего года, и по выпускам ежемесячного информационного указателя "Национальные стандарты" за текущий год. Если заменен ссылочный стандарт, на который дана недатированная ссылка, то рекомендуется использовать действующую версию этого стандарта с учетом всех внесенных в данную версию изменений. Если заменен ссылочный стандарт, на который дана датированная ссылка, то рекомендуется использовать версию этого стандарта с указанным выше годом утверждения (принятия). Если после утверждения настоящего стандарта в ссылочный стандарт, на который дана датированная ссылка, внесено изменение, затрагивающее положение, на которое дана ссылка, то это положение рекомендуется применять без учета данного изменения. Если ссылочный стандарт отменен без замены, то положение, в котором дана ссылка на него, рекомендуется применять в части, не затрагивающей эту ссылку.
В настоящем стандарте применены термины по
ГОСТ 530, а также следующие термины с соответствующими определениями:
3.1 камень керамический крупноформатный: Керамический камень средней плотностью в сухом состоянии не более 1000 кг/м3, номинальными размерами по толщине не менее 150 мм, формата 4,4 НФ и более, предназначенный для применения в защищенной кладке.
3.2 длина камня: Размер наибольшей грани камня, определяющий толщину кладки.
3.3 ложковая поверхность камня: Плоскость камня в кладке, соприкасающаяся с соседним камнем посредством пазогребневого соединения и образующая вертикальный стык.
3.4 тычковая поверхность камня: Плоскость камня в кладке, образующая поверхность стены.
3.5 межпустотная перегородка: Стенка между пустотами камня.
3.6 эквивалентная теплопроводность

, Вт/(м·°C): Отношение толщины конструктивного элемента каменной кладки к его термическому сопротивлению.
3.7 индекс изоляции воздушного шума Rw, дБ: Величина, служащая для оценки звукоизоляции конструкции одним числом.
4. Методы определения характеристик кладки
4.1 Определение теплотехнических характеристик
4.1.1 Теплопроводность кладки из керамического крупноформатного камня определяют в соответствии с ГОСТ Р 55338-2012
раздел 6 со следующими дополнениями.
Перед проведением испытания камни выдерживают при температуре (20 +/- 2) °C и относительной влажности (45 +/- 5)% в течение не менее семи суток.
Фрагмент кладки выполняют толщиной в один камень (толщина кладки - длина ложковой поверхности камня). Длина и высота фрагмента кладки должны не менее чем в четыре раза превышать толщину. Тычковые грани камней должны быть направлены в холодную и теплую зоны климатической камеры с расположением межпустотных перегородок перпендикулярно направлению теплового потока.
Фрагмент кладки выполняют на растворе подвижностью 7 - 8 см (марка по подвижности П
к2), средней плотностью 800 кг/м
3, марки по прочности М50. Значение максимальной сорбционной влажности кладочного раствора не должно превышать 5% по массе. Сорбционную влажность кладочного раствора определяют по
ГОСТ 24816. Толщина растворного шва - 10 - 14 мм. Технология укладки раствора должна исключать заполнение пустот. Наружную и внутреннюю поверхности фрагмента кладки оштукатуривают раствором средней плотностью 1800 кг/м
3, толщиной 20 мм. После оштукатуривания фрагмент кладки выдерживают при температуре (20 +/- 2) °C и относительной влажности (45 +/- 5)% в течение не менее 14 суток. Затем устанавливают датчики температур и тепловых потоков, фрагмент кладки теплоизолируют по периметру и начинают испытания. По достижении стационарного теплового режима проводят не менее 10 измерений температуры и теплового потока с периодичностью 2 - 3 ч с последующим расчетом значений термического сопротивления и теплопроводности.
По результатам испытаний определяют термическое сопротивление кладки Rк, м2·°C/Вт, с учетом фактической влажности по формуле

(1)
где

- разность температур на поверхностях фрагмента кладки, °C,
qср - среднее значение плотности теплового потока через фрагмент кладки, Вт/м2.
По значению
Rк вычисляют эквивалентный коэффициент теплопроводности кладки

по формуле

(2)
где

- толщина фрагмента кладки, м.
4.1.2 По завершении испытаний определяют влажность камня в кладке w, %. При демонтаже фрагмента кладки извлекают не менее трех камней из центральной зоны, взвешивают и высушивают до постоянной массы. При невозможности извлечь камни неповрежденными допускается послойный отбор проб для определения влажности по толщине кладки (наружная, центральная и внутренняя зона) с последующим вычислением средней влажности w, % по массе. Высушивание проводят в электрошкафу при температуре (105 +/- 5) °C. Высушивание камней и проб до постоянной массы считают оконченным, если разность между двумя последовательными взвешиваниями в процессе высушивания не будет превышать погрешности взвешивания. Погрешность взвешивания камней - +/- 50 г, проб - +/- 5 г.
4.1.3 Теплопроводность кладки в сухом состоянии

, Вт/(м·°C), и теплопроводность при условиях эксплуатационной влажности А и Б

, Вт/(м·°C), определяют по
формулам (3) и
(4) соответственно, используя приращение значения теплопроводности на один процент влажности материала. Приращение значения теплопроводности на один процент влажности следует принимать для камня плотностью до 700 кг/м
3 
, плотностью от 710 до 800 кг/м
3 
, плотностью от 810 до 1000 кг/м
3 
.

(3)

(4)
4.2 Определение характеристик звукоизоляции
4.2.1 Характеристики звукоизоляции кладки, выполненной из керамического крупноформатного камня, оценивают по показателю индекса изоляции воздушного шума.
4.2.2 Индекс изоляции воздушного шума определяют на фрагменте кладки в соответствии с
ГОСТ 27296 со следующими дополнениями.
4.2.3 Реверберационная камера для измерения индекса изоляции воздушного шума должна состоять из двух смежных помещений, разделенных ограждением с проемом для монтажа образцов камня. Площадь проема, предназначенного для монтажа образцов, должна составлять для перегородок 10 м2, для наружных стен - 15 м2, минимально допустимая длина стороны проема - 2,5 м.
4.2.4 Система, излучающая шум в реверберационной камере, должна создавать диффузное звуковое поле, при этом источники шума располагают не менее чем в двух местах измерительного помещения высокого уровня звукового давления - в углах на расстоянии не менее 1,5 м от перегородки или стены. Измерительный микрофон в помещениях высокого и низкого уровней звукового давления устанавливают последовательно не менее чем в десяти точках (в пяти точках для каждой позиции источника шума). Точки измерений должны отстоять не менее чем на 1,5 м от поверхности перегородки или стены, друг от друга и от источника шума.
4.2.5 Индекс изоляции воздушного шума Rw, дБ, рассчитывают по формуле
R = Lm1 - Lm2 + 10lg(S/A), (5)
где Lm1 и Lm2 - средние уровни звукового давления в третьоктавной полосе частот в помещениях высокого и низкого уровней соответственно, дБ;
S - площадь испытуемого образца со стороны помещения низкого уровня, м2;
A - эквивалентная площадь звукопоглощения помещения низкого уровня, м2.
4.3 Определение воздухопроницаемости
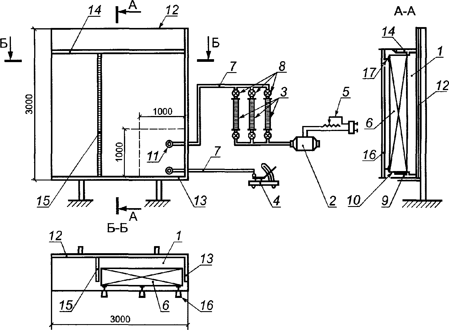
Воздухопроницаемость кладки из керамического крупноформатного камня определяют на установке (см. рисунок 1), состоящей из камеры с пятью жесткими герметичными стенками, трансформируемым проемом для плотной установки образца, опорными штангами и передвижными домкратами для его крепления.
1 - камера; 2 - воздушный насос; 3 - измеритель расхода
воздуха; 4 - микроманометр; 5 - регулятор расхода воздуха;
6 - образец кладки; 7 - резиновые шланги; 8 - воздушные
запорные краны; 9 - плоская пористая резина; 10 - мастика;
11 - штуцер; 12 - днище; 13 - горизонтальная и вертикальная
неподвижные стенки; 14 - горизонтальная подвижная стенка;
15 - вертикальная складывающаяся стенка; 16 - опорные
штанги; 17 - передвижные домкраты
Рисунок 1 - Схема установки для определения
воздухопроницаемости кладки
При помощи воздушного насоса и регулятора расхода воздуха создают разности давлений по обе стороны кладки, верхний предел значения разности давлений не должен быть менее 3 даПа (30 Па или 3 мм вод. ст.), а число значений - не менее четырех.
После стабилизации каждого значения разности давлений одновременно измеряют расход воздуха
Q0 в м
3/ч, разность давлений по обе стороны кладки

в декапаскалях, температуру воздуха
tв, °C, и атмосферное давление
p в декапаскалях. Стабильность разности давлений при измерениях достигается регулятором расхода воздуха или воздушными запорно-регулировочными кранами.
Объемный расход воздуха Q, м3/ч, для каждого значения разности давлений определяют по формуле
Q = kQ0, (6)
где k - поправочный коэффициент, учитывающий реальные атмосферные условия проведения испытаний и определяемый по формуле

(7)
где P0 и P - атмосферные давления при градуировке ротаметра и при испытании соответственно, дПа (мм рт. ст.);
T0 и T - температура воздуха при градуировке ротаметра и при испытании соответственно, К;
Q0 - значение измеренного расхода воздуха, м3/ч.
Измеренный объемный расход воздуха Q переводят в весовой расход q, кг/ч, по формуле

(8)
По значению весового расхода воздуха
q через испытуемый фрагмент кладки площадью
A, м
2, при заданном перепаде давлений воздуха

в декапаскалях (мм вод. ст.) определяют воздухопроницаемость образца
G, кг/м
2·ч, по формуле
G = q/A. (9)
Строят рабочий график зависимости воздухопроницаемости кладки от разности давлений.
Допускается проводить обработку результатов испытаний по экспериментальным точкам методом наименьших квадратов.
(рекомендуемое)
ТЕПЛОТЕХНИЧЕСКИЕ ХАРАКТЕРИСТИКИ КЛАДКИ
ИЗ КЕРАМИЧЕСКОГО КРУПНОФОРМАТНОГО КАМНЯ
Средняя плотность камня, кг/м3 | Характеристики кладки в сухом состоянии | Расчетные характеристики кладки при условиях эксплуатации А и Б |
Влажность, % мас. | Теплопроводность, Вт/(м·°C) | Теплоусвоение за период 24 ч, Вт/м2·°C | Паропроницаемость, мг/(м·ч·Па) |
Плотность, кг/м3 | Удельная теплоемкость, кДж/(кг·°C) | Теплопроводность, Вт/(м·°C) | А | Б | А | Б | А | Б | А, Б |
Кладка на цементно-песчаном растворе плотностью  |
600 | 670 | 0,88 | 0,12 | 1,0 | 1,5 | 0,15 | 0,17 | 2,3 | 2,4 | 0,15 |
800 | 890 | 0,88 | 0,16 | 1,0 | 1,5 | 0,19 | 0,22 | 3,1 | 3,2 | 0,15 |
1000 | 1100 | 0,88 | 0,20 | 1,0 | 1,5 | 0,24 | 0,27 | 3,8 | 3,9 | 0,14 |
Кладка на теплоизоляционном растворе с максимальной сорбционной влажностью 5%, плотностью  |
600 | 630 | 0,88 | 0,10 | 1,0 | 1,5 | 0,13 | 0,15 | 2,1 | 2,2 | 0,16 |
800 | 800 | 0,88 | 0,14 | 1,0 | 1,5 | 0,17 | 0,20 | 2,7 | 2,8 | 0,16 |
1000 | 950 | 0,88 | 0,18 | 1,0 | 1,5 | 0,22 | 0,25 | 3,4 | 3,5 | 0,15 |
Примечание - Промежуточные значения характеристик кладки определяют интерполяцией. |