Главная // Актуальные документы // ГОСТ Р (Государственный стандарт)СПРАВКА
Источник публикации
М.: Стандартинформ, 2018
Примечание к документу
Документ
введен в действие с 01.06.2018.
Название документа
"ГОСТ Р 57719-2017. Национальный стандарт Российской Федерации. Горное дело. Выработки горные. Термины и определения"
(утв. и введен в действие Приказом Росстандарта от 26.09.2017 N 1247-ст)
"ГОСТ Р 57719-2017. Национальный стандарт Российской Федерации. Горное дело. Выработки горные. Термины и определения"
(утв. и введен в действие Приказом Росстандарта от 26.09.2017 N 1247-ст)
Утвержден и введен в действие
агентства по техническому
регулированию и метрологии
от 26 сентября 2017 г. N 1247-ст
НАЦИОНАЛЬНЫЙ СТАНДАРТ РОССИЙСКОЙ ФЕДЕРАЦИИ
ГОРНОЕ ДЕЛО
ВЫРАБОТКИ ГОРНЫЕ
ТЕРМИНЫ И ОПРЕДЕЛЕНИЯ
Mine working. Terms and definitions
ГОСТ Р 57719-2017
Дата введения
1 июня 2018 года
1 РАЗРАБОТАН Закрытым акционерным обществом "Межведомственная комиссия по взрывному делу при Академии горных наук" (ЗАО "МВК по ВД при АГН")
2 ВНЕСЕН Техническим комитетом по стандартизации ТК 269 "Горное дело"
3 УТВЕРЖДЕН И ВВЕДЕН В ДЕЙСТВИЕ
Приказом Федерального агентства по техническому регулированию и метрологии от 26 сентября 2017 г. N 1247-ст
4 ВВЕДЕН ВПЕРВЫЕ
5 ПЕРЕИЗДАНИЕ. Август 2018 г.
Правила применения настоящего стандарта установлены в статье 26 Федерального закона от 29 июня 2015 г. N 162-ФЗ "О стандартизации в Российской Федерации". Информация об изменениях к настоящему стандарту публикуется в ежегодном (по состоянию на 1 января текущего года) информационном указателе "Национальные стандарты", а официальный текст изменений и поправок -
в ежемесячном информационном указателе "Национальные стандарты". В случае пересмотра (замены) или отмены настоящего стандарта соответствующее уведомление будет опубликовано в ближайшем выпуске ежемесячного информационного указателя "Национальные стандарты". Соответствующая информация, уведомление и тексты размещаются также в информационной системе общего пользования -
на официальном сайте Федерального агентства по техническому регулированию и метрологии в сети Интернет (www.gost.ru)
Установленные в настоящем стандарте термины расположены в систематизированном порядке, отражающем систему понятий в области горного дела в части горных выработок горнодобывающих предприятий.
Для каждого понятия установлен один стандартизованный термин.
Нерекомендуемые к применению термины-синонимы приведены в круглых скобках после стандартизованного термина и обозначены пометой "Нрк".
Заключенная в круглые скобки часть термина может быть опущена при использовании термина в документах по стандартизации.
Наличие квадратных скобок в терминологической статье означает, что в нее включены термины, имеющие общие терминоэлементы.
Помета, указывающая на область применения многозначного термина, приведена в круглых скобках светлым шрифтом после термина. Помета не является частью термина.
Приведенные определения можно при необходимости изменять, вводя в них производные признаки, раскрывая значения используемых в них терминов, указывая объекты, входящие в объем определяемого понятия. Изменения не должны нарушать объем и содержание понятий, определенных в данном стандарте.
В алфавитном указателе данные термины приведены отдельно с указанием номера статьи.
Стандартизованные термины набраны полужирным шрифтом, их краткие формы - светлым, недопустимые термины - курсивом.
Настоящий стандарт устанавливает применяемые в науке, технике и производстве термины и определения понятий в области горного дела в части горных выработок горнодобывающих предприятий.
Термины, установленные стандартом, рекомендуются для применения во всех видах документации и литературы в области горных выработок, входящих в сферу работ по стандартизации и/или использующих результаты этих работ.
Примечание - Термины и определения общетехнических понятий, необходимых для понимания текста стандарта, приведены в
приложении А.
Общие понятия
1
горная выработка: Искусственное сооружение в недрах Земли или на ее поверхности, созданное в результате ведения горных работ с целью выполнения ее функционального назначения и сохранения в течение определенного срока времени.
2
подземная выработка: Горная выработка, проводимая в недрах Земли, независимо от того имеет она выход на поверхность или нет, ограниченная по контуру ее поперечного сечения горными породами или частично другими выработками.
Примечания
1 Горные выработки классифицируют по назначению (разведочные и эксплуатационные), положению относительно земной поверхности (открытые и подземные), положению в пространстве (вертикальные, наклонные, горизонтальные), сроку службы, форме, размеру, принципу работы, по способу финансирования ее строительства.
2 Главными обычно считают выработки, служащие для транспортирования, в том числе и для подъема, полезного ископаемого на поверхность, а также для других целей. Главные выработки могут также служить для выполнения всех процессов, осуществляемых во вспомогательных выработках, однако основное их назначение - транспортирование полезного ископаемого.
3 По вспомогательным выработкам доставляют породу, людей, материалы, оборудование, осуществляют вентиляцию, подводят электроэнергию, воду, а также выполняют другие процессы, не связанные с транспортировкой полезного ископаемого.
3
открытая выработка: Горная выработка, образуемая в пределах карьерного поля и имеющая незамкнутый контур поперечного сечения, вследствие ее примыкания к земной поверхности.
4
разведочная выработка: Горная выработка, предназначенная для поиска и разведки месторождений полезных ископаемых.
Примечание - Разведочные выработки служат для получения данных о строении и условиях залегания полезного ископаемого и вмещающих пород, их физико-механических свойствах, качестве полезного ископаемого, а также для установления надежности и достоверности результатов скважинной и геофизической разведки.
5
эксплуатационная выработка: Подземная выработка, предназначенная для эксплуатации месторождений полезных ископаемых.
Примечание - Подземные эксплуатационные выработки делятся на вскрывающие, подготовительные и очистные.
6
вскрывающая выработка: Подземная горная выработка, открывающая доступ к рудному телу, пласту или его части и обеспечивающая возможность проведения подготовительных выработок.
7
подготовительная выработка: Подземная горная выработка, проводимая после вскрытия шахтного поля для оконтуривания и подготовки к очистной выемке отдельных его частей.
Примечание - К подготовительным выработкам относятся нарезные выработки шахт.
8
нарезная выработка: Подземная горная выработка, проводимая в процессе подготовительных работ и непосредственно прилегающая к массиву полезного ископаемого, предусматриваемого к выемке.
Примечание - Нарезная выработка является местом, откуда начинают вести очистную выемку на подготовленном к отработке участке, а также служит для монтажа добычного оборудования.
9
окаймляющая выработка: Нарезная горная выработка, предназначенная для ослабления связи отрабатываемого блока с основным массивом, применяется при разработке непластовых месторождений полезных ископаемых.
10
капитальная выработка: Подземная горная выработка, обслуживающая шахту в течение всего срока работы горного предприятия или значительной части этого срока, предназначенная для вскрытия или подготовки месторождения или его части, проводимая за счет капитальных вложений и числящаяся на балансе основных фондов предприятия.
Примечание - На пластовых месторождениях, отрабатываемых системой разработки ДСО (длинными столбами по простиранию), к капитальным относятся, как правило, все подготовительные выработки, служащие для отработки двух и более выемочных участков. Исключение составляют нарезные выработки (штреки) используемые для отработки соседнего выемочного участка.
11
откаточная выработка: Подземная горная выработка, предназначенная для транспортирования полезных ископаемых и пород к стволу или на поверхность.
12
групповая выработка: Подземная горная выработка, обслуживающая разработку группы пластов, жил и других видов залежей, а также этажей.
13
пластовая выработка: Подземная горная выработка, проводимая по пласту полезного ископаемого.
14
полевая выработка: Подземная горная выработка, проводимая по пустым породам на некотором расстоянии от залежи полезного ископаемого и, как правило, параллельно поверхности залежи или пласта.
15
погашенная [старая] выработка: Горная выработка, использование и поддержание которой после выполнения цикла подземных работ прекращено.
Подземные горные выработки. Очистные выработки
16
очистная выработка: Подземная горная выработка, проводимая по пласту или залежи полезного ископаемого, в которых осуществляется выемка полезного ископаемого.
17
лава: Очистная горная выработка значительной протяженности (от нескольких десятков до нескольких сот метров), один бок которой образован массивом полезного ископаемого, другой - стеной закладочного материала или обрушенной породой выработанного пространства.
18
забой: Поверхность, ограничивающая место непосредственной выемки полезного ископаемого или породы и перемещающаяся в результате ведения горных работ.
19
узкий забой: Забой, ширина которого ограничивается шириной основной проводимой выработки без раскоски.
20
широкий забой: Забой выработки, ширина которого слагается из ширины забоя основной проводимой выработки и ширины забоя раскоски.
21
очистная камера: Очистная горная выработка с забоем небольшой протяженности (до 12 - 16 м), ограниченная по бокам массивом или целиками полезного ископаемого, и не имеющая непосредственного выхода на земную поверхность.
22
заходка: Короткая горная выработка, проводимая из очистной камеры или выемочной печи и служащая для выемки угля из междукамерных целиков, при этом оборудование, используемое при очистной выемке, может находиться как в заходке, так и за ее пределами.
Подземные горные выработки. Вертикальные выработки
23
вертикальная выработка: Подземная выработка, пройденная по вертикали в толще полезного ископаемого или по породе.
Примечание - К вертикальным выработкам относят стволы, шурфы, гезенки, скважины.
24
шахтный ствол: Вертикальная, реже наклонная выработка, имеющая непосредственный выход на земную поверхность и предназначенная для обслуживания подземных работ в пределах шахтного поля, его крыла или блока.
Примечание - Шахтные стволы разделяются по назначению на главный и вспомогательный, а по типу подъемного устройства на скиповые и клетевые.
25
главный ствол [подъемный ствол]: Шахтный ствол, по которому производят подъем полезного ископаемого и породы на поверхность.
26
вспомогательный ствол: Шахтный ствол, по которому осуществляют спуск-подъем людей, материалов и оборудования, а также для вентиляции.
27
закладочный ствол: Ствол, предназначенный для спуска в подземные выработки закладочных материалов.
28
вентиляционный ствол: Ствол, предназначенный для пропуска воздушной струи с целью проветривания подземных выработок.
29
слепой шахтный ствол: Вертикальная или наклонная выработка, не имеющая непосредственного выхода на земную поверхность, проводимая между горизонтами, предназначенная для обслуживания подземных эксплуатационных работ, в первую очередь, для подъема полезных ископаемых с нижних горизонтов на верхние.
30
гезенк: Вертикальная выработка, не имеющая непосредственного выхода на земную поверхность, предназначенная для спуска полезного ископаемого или породы из вышележащих выработок в нижележащие под действием силы собственной массы или в специальных сосудах механическим способом в угольных шахтах.
Примечания
1 Гезенк также может быть использован для спуска-подъема людей, материалов, оборудования, породы.
2 В случае, если гезенк оснащен подземными машинами для спуска полезного ископаемого или породы с верхних горизонтов на нижние, и спуска и подъема людей, материалов и оборудования, существенных различий между гезенком и слепым шахтным стволом нет.
31
скважина: Вертикальная, реже наклонная горная выработка цилиндрического сечения, диаметр которой намного меньше ее глубины, проведенная в горной породе или полезном ископаемом с земной поверхности или из подземных выработок под любым углом наклона к горизонту механическими или не механическими способами бурения в разведочных и эксплуатационных целях.
Примечание - Скважина обычно бывает диаметром более 75 мм при глубине до 5 м или любого диаметра при глубине более 5 м.
32
шурф: Вертикальная, реже наклонная неглубокая выработка, обычно небольшой площади поперечного сечения, проведенная с земной поверхности и предназначенная для геологоразведочных или эксплуатационных работ.
Примечание - Шурфы используют так же, как запасные выходы из шахты. Отличительной особенностью шахтного шурфа является отсутствие подъема полезного ископаемого и породы в период эксплуатации шахты. В тех случаях, когда шурф не оборудуют механическим подъемом, то устраивают специальное отделение для передвижения людей по лестницам и промежуточным полкам.
33
дучка [выпускная дучка]: Короткая вертикальная или наклонная горная выработка квадратного, реже круглого, сечения, служащая для выпуска отбитой или обрушенной руды из очистного пространства на выработки приемного горизонта.
Подземные горные выработки. Горизонтальные выработки
34
горизонтальная выработка: Подземная выработка, проведенная горизонтально или с незначительным углом наклона в толще полезного ископаемого или по породе.
Примечание - Горизонтальная выработка имеет незначительный угол наклона для облегчения транспортирования и обеспечения стока воды к водосборнику.
35
штольня: Вскрывающая горная выработка, пройденная с поверхности к месторождению и предназначенная для транспортирования полезного ископаемого или вспомогательных целей.
Примечания
1 Штольни бывают разведочные и эксплуатационные, а также откаточные, вентиляционные и водоотливные.
2 Штольнями выгодно вскрывать угольные пласты, залегающие в гористой местности. В зависимости от рельефа местности штольня может быть расположена по простиранию, вкрест простирания или под углом к линии простирания пласта.
36
штрек (Нрк.
продольная): Горизонтальная или с углом наклона обычно не более 3° выработка, не имеющая непосредственного выхода на земную поверхность и проведенная по простиранию наклонно залегающего месторождения полезного ископаемого или в любом направлении - при горизонтальном его залегании.
Примечание - На пластовых месторождениях полезных ископаемых угол наклона штрека может составлять более 3°.
37
главный штрек: Штрек, проводимый на протяжении всего шахтного поля до его границ и предназначенный для обслуживания панелей.
38
транспортный штрек: Штрек, расположенный ниже обслуживаемого яруса или подэтажа, оснащен ленточным конвейером для транспортирования полезного ископаемого и рельсовым путем или монорельсовой дорогой для доставки материалов, оборудования и породы от ремонтных работ.
39
главный вентиляционный штрек: Выработка, проведенная по пласту или вне его и предназначенная для отвода исходящей струи из выработок выемочного участка.
40
этажный штрек: Штрек, проводимый от капитальных бремсбергов до границ шахтного поля и предназначенный для обслуживания работ в этаже.
41
полевой штрек: Штрек, проводимый по пустым породам.
42
групповой штрек: Штрек, предназначенный для обслуживания разработки группы пластов, жил и других видов залежей.
43
промежуточный штрек: Штрек, ограничивающий подэтаж, ярус и выемочный столб.
44
квершлаг (Нрк.
поперечная): Горизонтальная или наклонная выработка, не имеющая непосредственного выхода на земную поверхность и проведенная по вмещающим породам вкрест простирания или под некоторым углом к линии простирания месторождения и используемая для транспортирования полезного ископаемого, вентиляции, передвижения людей, водоотлива, для прокладки электрических кабелей и линий связи.
Примечание - Квершлаг бывает откаточным или вентиляционным, служит для вскрытия пластов и выполняет обычно те же функции, что и штрек.
45
этажный квершлаг: Квершлаг, проводимый для вскрытия и обслуживания этажа.
46
промежуточный квершлаг: Квершлаг, предназначенный для обслуживания разработки одного или группы пластов, жил и других видов залежей и проводимый от группового или полевого квершлага.
47
орт: Горизонтальная выработка с углом наклона не более 0 - 3°, не имеющая непосредственного выхода на земную поверхность и проведенная вкрест простирания в пределах залежи месторождения и предназначенная для соединения выработок, пройденных у висячего и лежачего боков мощного пласта.
48
поперечный (выемочный) штрек (Нрк.
поперечник): Горизонтальная выработка, не имеющая выхода на поверхность, проводимая поперек мощной залежи полезного ископаемого между висячим и лежачим боками, которая служит для подготовки длинных столбов и транспортирования песков к основному штреку.
49
рукав: Горизонтальная или слегка наклонная горная выработка небольшого сечения, конечная часть которой служит зарядной камерой.
Подземные горные выработки. Наклонные горные выработки
50
наклонная выработка: Подземная выработка, пройденная в толще полезного ископаемого или по породе под некоторым углом к горизонту.
Примечание - Наклонные выработки включают наклонный ствол, бремсберг, уклон, ходок, скат, восстающий, печь, рудоспуск.
51
наклонный шахтный ствол: Подземная капитальная горная выработка, имеющая непосредственный выход на земную поверхность, проводимая, как правило, для вскрытия месторождения полезного ископаемого или его части.
Примечание - На пластовых месторождениях наклонный ствол может быть вскрывающей и подготовительной горной выработкой одновременно. Наклонный ствол может быть предназначен для транспортировки полезного ископаемого, спуска-подъема материалов и оборудования, перевозки людей, вентиляции.
52
бремсберг: Наклонная выработка, не имеющая выхода на земную поверхность, проведенная, как правило, по направлению падения пласта или залежи и предназначенная для спуска полезного ископаемого на откаточный горизонт шахты, расположенного ниже отрабатываемой части шахтного поля при помощи механических устройств, а также используется для подачи свежего воздуха с основного горизонта выработки выемочного поля.
Примечание - В зависимости от назначения и расположения выделяют главный (обслуживающий всю бремсберговую часть шахтного поля), панельный (обслуживающий панель), участковый и вспомогательный бремсберги.
53
вспомогательный бремсберг: Выработка, проведенная параллельно бремсбергу и предназначенная для спуска породы и других грузов на откаточный горизонт этажа или шахты, а также для подъема оборудования и материалов в обратном направлении.
Примечание - Вспомогательный бремсберг может быть оснащен различными видами вспомогательного транспорта (концевая откатка, монорельсовая подвесная дорога, канатно-кресельная дорога и т.д.) и используется для подачи свежего воздуха с нижних горизонтов на верхние.
54
участковый (промежуточный)
бремсберг: Выработка, обслуживающая выемочное поле и служащая главным образом для транспортирования полезного ископаемого из-под этажей выемочного поля на этажный штрек.
55
спуск: Наклонная выработка, не имеющая непосредственного выхода на земную поверхность, предназначенная для спуска разных грузов при помощи механических устройств.
56
капитальный спуск: Спуск, обслуживающий этажи, расположенные выше уровня рабочего горизонта.
57
панельный спуск: Спуск, обслуживающий панель.
58
полевой спуск: Спуск, проводимый по пустым породам на некотором расстоянии от залежи полезного ископаемого.
59
промежуточный спуск: Спуск, обслуживающий выемочное поле.
60
уклон (Нрк.
наклон): Наклонная выработка, не имеющая непосредственного выхода на земную поверхность, пройденная по восстанию или падению пласта, и предназначенная для транспортирования горной массы с нижних горизонтов на вышерасположенные при помощи механических устройств.
Примечания
1 Уклоны проводятся либо с квершлага, либо с полевого штрека.
2 Уклон оснащен конвейерной установкой или канатной откаткой в вагонетках или скипах.
3 В некоторых схемах подготовки шахтных полей уклоны могут выполнять вспомогательные функции (доставка людей и материалов и оборудования, вентиляция (подачи свежего воздуха с верхних горизонтов на нижние) и др.).
61
капитальный уклон: Уклон, предназначенный для транспортирования угля, добываемого в уклонной части шахтного поля, до горизонта околоствольного двора.
62
панельный уклон: Уклон, предназначенный для транспортирования угля, добываемого в пределах уклонных панелей, до главного откаточного штрека.
63
полевой уклон: Уклон, проводимый по пустым породам на некотором расстоянии от залежи полезного ископаемого.
64
участковый (промежуточный)
уклон: Уклон, обслуживающий выемочное поле и служит главным образом для транспортирования полезного ископаемого из подэтажей выемочного поля на этажный штрек.
65
вспомогательный уклон: Выработка, проводимая параллельно уклону и предназначенная для спуска или подъема материалов и оборудования или только людей.
Примечание - Вспомогательный уклон может быть оснащен различными видами вспомогательного транспорта (концевая откатка, монорельсовая подвесная дорога, канатно-кресельная дорога и т.д.) и используется для подачи свежего или выдачи исходящего воздуха.
66
скат: Наклонная выработка, не имеющая непосредственного выхода на земную поверхность, проведенная по падению или восстанию залежи по ее почве и предназначенная для спуска разных грузов под действием собственной массы, а также для проветривания очистных забоев.
Примечание - Скат сооружают в том случае, если угол его наклона достаточен для движения вниз грузов самотеком (более 30°). Скат может быть пластовым и полевым.
67
полевой скат: Скат, проводимый по пустым породам на некотором расстоянии от залежи полезного ископаемого.
68
ходок: Наклонная выработка, не имеющая непосредственного выхода на земную поверхность, проводимая параллельно бремсбергу или уклону на расстоянии от него 20 - 40 м, служащая преимущественно для передвижения людей, а также доставки грузов, проветривания и других целей.
Примечание - В зависимости от назначения различают людской и грузовой ходок.
69
полевой ходок: Ходок, проводимый по пустым породам.
70
восстающий: Наклонная или вертикальная горная выработка, не имеющая непосредственного выхода на земную поверхность, проводимая по восстанию залежи или вмещающим породам, служащая для перепуска угля или породы на ниже расположенные горизонты, доставки оборудования, закладочных и других материалов с одного горизонта на другой, передвижения людей, вентиляции, размещения трубопроводов и электрических кабелей и в разведочных целях.
71
разрезной восстающий [отрезной восстающий]: Восстающий, проводимый по полезному ископаемому для подготовки очистной выемки.
Примечания
1 Отрезными выработками, как правило, являются восстающие, расширяемые в вертикальную или наклонную отрезную щель на всю ширину очистного пространства с целью создания обнаженной плоскости для последующей отбойки на нее руды.
2 Из разрезного (отрезного) восстающего начинают работы по созданию дополнительной вертикальной плоскости обнажения массива, а также начального компенсационного пространства.
3 В качестве компенсационного пространства используют также отрезную щель, которая является вертикальной или наклонной выработкой, предназначенной для развития очистной выемки.
72
печь: Подземная горная выработка, проводимая по полезному ископаемому, по восстанию пласта или залежи, и предназначенная для проветривания, передвижения людей, транспортирования грузов, а также соединения двух горизонтальных параллельно проводимых выработок: транспортный этажный, подэтажный или ярусный штрек с просеком; транспортный штрек вышележащего этажа (яруса, подэтажа) с вентиляционным нижележащего.
Примечание - В зависимости от основного назначения различают: ходовые, вентиляционные, пульпоспускные, обходные, разрезные печи.
73
разрезная печь: Печь, проводимая по полезному ископаемому на границе выемочного столба между транспортным и вентиляционным штреками, подэтажа или яруса и предназначенная только для монтажа очистного оборудования.
74
рудоспуск: Наклонная выработка, не имеющая непосредственного выхода на поверхность и предназначенная для спуска руды под действием силы собственной массы.
Примечание - Рудоспуск служит для тех же целей, что и скат. Часто проводится вертикально.
Подземные горные выработки. Вспомогательные выработки
75
околоствольный двор: Взаимосвязанный комплекс капитальных горных выработок, расположенных непосредственно у ствола на определенном горизонте, специально оборудованных и соединяющих ствол с главными выработками горизонта и предназначенных для обслуживания горных работ на горизонте в соответствии с назначением ствола.
Примечания
1 Главная функция околоствольного двора - передача грузов между подъемами от магистрального транспорта к подъему, что предопределяет их тип, расположение и размеры основных откаточных выработок, механизацию маневровых и разгрузочных работ. Кроме того околоствольный двор выполняет ряд других функций: подачу свежего и вывод отработанного воздуха, подвод, трансформацию и передачу на горные выработки электроэнергии, аккумуляцию и откачку на поверхность шахтных вод. В околоствольном дворе располагаются: санчасть, камера ожидания, депо электровозов, насосная и т.п.
2 Околоствольные дворы при вертикальных стволах различают в зависимости: от типа подъемных сосудов клетевые, скиповые и скипо-клетевые; числа въездов в околоствольный двор - односторонние и двухсторонние; расположения и конфигурации выработок - круговые, тупиковые, прямолинейные; числа путей в основных выработках - одно-, двух- и многопутные.
3 Околоствольные дворы при наклонных стволах различают в зависимости от вида используемого транспорта: конвейерном, скиповом и вагонеточном подъеме.
76
раскоска: Вспомогательная выработка, проводимая по пласту или залежи полезного ископаемого общим забоем с основной выработкой и предназначенная для закладки пустой породы, получаемой при проведении основной выработки.
77
косовичник: Вспомогательная выработка небольшой площади сечения, образуемая в раскоске горизонтальной или наклонной выработки между угольным массивом и стеной из закладочного материала для проветривания, доставки угля и передвижения людей.
78
просек: Горная выработка, проводимая в толще полезного ископаемого в направлении простирания пласта или залежи параллельно откаточному или конвейерному штреку и предназначенная для вентиляции, передвижения людей, транспортирования грузов, а также и для соединения горных выработок в процессе их проходки.
Примечание - От штреков просек отличается меньшими размерами поперечного сечения.
79
разрезной просек: Просек, проводимый для подготовки очистных забоев.
80
косовичный просек: Просек, представляющий собою часть раскоски и ограниченный с одной стороны закладкой.
81
косовичный ходок: Горная выработка небольшого поперечного сечения, расположенная в закладочном массиве в раскоске, служащая для соединения косовичника с примыкающей выработкой.
Примечание - В большинстве случаев подрыв боковых пород в косовичном ходке не производится.
82
сбойка: Короткая, как правило, не более 50 м, выработка, соединяющая между собой две другие параллельные, значительной длины горные выработки различного назначения и служащая для вентиляции, транспортирования грузов и движения людей.
83
камера: Выработка незначительной длины при сравнительно больших поперечных сечениях, не имеющих непосредственного выхода на поверхность и предназначенная для размещения оборудования, материалов, инвентаря и других целей.
84
камера дробления: Горная выработка, предназначенная для измельчения полезного ископаемого.
85
водосборник: Горная выработка или группа выработок, предназначенная для сбора вод.
86
вентиляционная выработка: Выработка, основным назначением которой является доставка свежей струи воздуха к местам производства работ - на выемочный участок и к вентиляторам местного проветривания подготовительного забоя, а также для выдачи исходящей струи воздуха из выработок шахты.
87
буровая выработка: Выработка для размещения бурового оборудования и обслуживающего персонала.
Примечание - Сечение буровой выработки определяется типом бурового оборудования и его размерами.
88
аккумулирующая выработка: Выработка для накопления полезного ископаемого, поступающего из нескольких очистных забоев или других выработок до откаточной выработки.
Примечание - Аккумулирующая выработка может быть горизонтальной (штрек, орт), наклонной или вертикальной (восстающей). Горизонтальные аккумулирующие выработки обычно оборудуются для повторной механической доставки скреперными или конвейерными установками.
89
дренажная выработка: Выработка для извлечения и отвода воды или газа при осушении и дегазации месторождений.
90
камера-убежище: Изолированная подземная камера для укрытия людей в случае подземной аварии.
Примечание - Различают: баррикадные камеры, сооружаемые во время аварии в тупиковых или на легко изолированных участках выработок; заранее построенные камеры легкого типа (на 15 - 50 человек) и центральные (на 100 и более человек), оборудованные герметически закрывающимися дверями, устройствами для обеспечения людей свежим воздухом, самоспасателями, запасами воды и медикаментами.
91
шпур: Искусственное цилиндрическое углубление в горной породе диаметром до 75 мм и глубиной до 5 м и предназначенное для размещения заряда взрывчатого вещества, используется также для нагнетания воды в пласт и при прогнозе горно-динамических явлений, разведки и т.д.
Примечание - Шпуры разделяются: по направлению на горизонтальные, вертикальные и наклонные (последние могут быть падающие и восстающие); по назначению на врубовые, вспомогательные и отбойные.
92
врубовый шпур: Шпур, предназначенный для образования дополнительных поверхностей обнажения в разрушаемой среде при помощи взрыва.
93
отбойный шпур: Шпур, предназначенный для отбойки горной породы в направлении открытой поверхности, образованной врубом.
Элементы выработки
94
кровля выработки: Поверхность горных пород, ограничивающая выработку сверху.
95
подошва выработки [почва выработки]: Поверхность горных пород, ограничивающая выработку снизу.
96
бок выработки: Поверхность горных пород, ограничивающая выработку сбоку.
97
устье выработки: Место примыкания подземной выработки к земной поверхности или к другой подземной выработке.
98
сопряжение выработок: Место соединения, разветвления или пересечения подземных горных выработок, если выработки не имеют выхода на поверхность.
Примечание - Взаимное расположение выработок определяет тип сопряжения по конфигурации: прямое сопряжение, прямое пересечение, одностороннее сопряжение, двухстороннее косое сопряжение, треугольный узел, косое пересечение.
99
устье ствола: Сопряжение ствола с земной поверхностью.
100
зумпф [колодец]: Часть шахтного ствола, расположенная ниже почвы выработок нижнего околоствольного двора и используемая для размещения подъемного сосуда в момент загрузки и разгрузки, а также для собирания стекающей по стволу воды.
101
ниша: Углубление в забое очистной или в боку подготовительной выработки, необходимое соответственно для производства концевых операций очистной выемки или расположения и укрытия людей, механизмов и материалов.
102
разминовка: Часть горной выработки, расширяющаяся на определенном протяжении для устройства разъезда при рельсовом транспорте.
Открытые горные выработки
103
карьер: Горное предприятие, представляющее собой совокупность разнообразных горных выработок в земной коре и технологических служб, осуществляющее разработку месторождения полезного ископаемого открытым способом.
Примечание - При добыче угля и россыпей карьер называют разрезом.
104
разрез: Совокупность открытых горных выработок карьера, служащих для эксплуатации месторождения угольных и рассыпных ископаемых открытыми горными работами.
105
траншея: Открытая горная выработка, трапециевидного поперечного сечения с незамкнутым контуром, значительной длины по сравнению с шириной и глубиной, ограниченная снизу подошвой и с боков наклонными плоскостями: по длине - бортами, по ширине - торцами.
106
капитальная траншея: Траншея, проводимая для вскрытия карьерного поля, создающая доступ транспорту с поверхности к разрабатываемому горизонту месторождения.
Примечание - Капитальные траншеи обычно соответствуют сроку эксплуатации месторождения.
107
траншея внешнего заложения: Капитальная траншея, расположенная вне контура карьера.
108
траншея внутреннего заложения: Капитальная наклонная траншея, расположенная в контуре карьера.
109
полутраншея: Траншея внутреннего заложения, проводимая по борту карьера или на косогоре.
110
наклонная траншея: Капитальная траншея, проводимая с углом продольного наклона до

.
111
крутая траншея: Капитальная траншея, проводимая с большим наклоном, свыше

, и предназначенная для транспортирования грузов с помощью стационарных механических установок.
112
разведочная траншея: Траншея, проводимая в целях разведки месторождения полезных ископаемых.
113
разрезная траншея: Траншея, проводимая с целью создания первоначального фронта вскрышных и/или очистных работ и для размещения горного и транспортного оборудования.
114
очистная траншея: Траншея, проходимая с целью создания фронта очистных работ.
115
тупиковые траншеи: Наклонные траншеи, зигзагообразно соединенные между собой тупиками.
116
дренажная траншея: Траншея, проходимая с целью дренажа (осушения) или водоотлива.
117
спиральная траншея: Наклонная криволинейная траншея, продольная ось которой образует спираль.
118
копуша: Открытая геологоразведочная выработка, проходимая обычно для вскрытия выходов коренных пород и полезных ископаемых путем удаления перекрывающего их маломощного слоя рыхлых отложений, а также с целью изучения покровного слоя и взятия пробы коренных пород.
Примечание - Размеры копуши: поверху от 0,8 x 0,8 м до 1 x 1 м; понизу 0,5 x 0,6 м; глубина от 0,5 до 1,0 м.
119
канава: Открытая горная выработка небольшого по сравнению с длиной поперечного сечения трапециевидной, реже прямоугольной, формы, проводимая с целью дренажа или геологической разведки.
Примечание - Различают: разведочные, нагорные, дренажные, водоотводные, водосборные.
120
разведочная канава: Канава, служащая для зарисовки геологического строения пород и апробирования полезного ископаемого.
121
нагорная канава: Канава, служащая для перехвата вод атмосферных осадков и талых вод.
122
дренажная канава: Канава, служащая для понижения уровня вод.
123
водосборная канава: Канава, служащая для сбора вод, вытекающих из почвы и стенок горных выработок, забивных и сквозных фильтров.
124
водоотводная канава: Канава, служащая для отвода карьерных и шахтных вод за пределы радиуса влияния карьерного и шахтного водоотвода.
125
расчистка: Открытая горная выработка в виде выемки, длина и ширина которой значительно превышают ее глубину.
Элементы карьера
126
борт карьера: Боковая поверхность, ограничивающая карьер, образованная совокупностью откосов и площадок уступов.
Примечание - Различают рабочий (перемещающийся в пространстве вследствие выемки угольного пласта и породы), нерабочий (расположенный у границы карьерного поля) и торцевой (для размещения бермы для связи скрышных уступов) борт карьера.
127
дно карьера: Площадка нижнего уступа карьера.
128
верхний контур карьера: Линия пересечения бортов карьера с земной поверхностью.
129
нижний контур карьера: Линия пересечения бортов карьера с его подошвой.
130
угол наклона борта карьера: Угол наклона поверхности, определяющий общее расположение борта карьера к горизонту.
131
рабочий горизонт карьера: Горизонтальная плоскость, пересекающая массив горных пород в контурах карьера на уровни установки выемочно-погрузочного и транспортного оборудования, предназначенного для разработки уступа.
Примечание - На рабочем горизонте карьера располагаются рабочие площадки.
132
бровка уступа карьера: Линия пересечения откоса уступа карьера с его кровлей или подошвой.
133
верхняя бровка карьера: Линия пересечения борта карьера с вышележащей неразработанной поверхностью.
134
нижняя бровка карьера: Линия пересечения борта карьера с его подошвой.
135
откос борта карьера: Условная поверхность, касательная к верхней и нижней бровкам карьера.
136
уступ карьера: Часть борта карьера в форме ступени, разрабатываемая самостоятельными средствами отбойки, погрузки и транспорта.
Примечание - Уступы карьера разделяются на рабочие, на котором производится выемка пород или добыча полезного ископаемого и нерабочие (погашенные), достигшие своего предельного положения.
137
подуступ: Часть уступа по его высоте, разрабатываемая самостоятельными средствами отбойки и погрузки и обслуживаемая транспортом, общим для всего уступа.
Примечание - Деление уступа на подуступы может применяться для раздельной выемки полезного ископаемого с целью повышения полноты и качества извлечения его запасов из недр.
138
откос уступа: Фронтальная наклонная поверхность уступа карьера.
139
площадка уступа карьера: Горизонтальная часть поверхности уступа карьера.
Примечание - Различают верхнюю и нижнюю площадку уступа. Площадка рабочего уступа, на которой размещается выемочно-погрузочное оборудование, называется рабочей. Свободная площадка называется нерабочей. Ширину рабочей площадки принимают в 2 - 4 раза больше высоты уступа.
140
кровля уступа: Верхняя, обычно горизонтальная, часть поверхности уступа.
141
подошва уступа: Нижняя, обычно горизонтальная, часть поверхности уступа.
142
берма: Горизонтальная площадка на нерабочем борту или нерабочих участках бортов карьера, разделяющая смежные по высоте уступы.
Примечание - Различают предохранительные и транспортные бермы.
143
угол откоса уступа: Угол наклона откоса уступа к горизонтальной плоскости.
144
зумпф: Углубление на площадке уступа, в которое поступает пульпа от забоя при гидромониторной разработке.
Примечание - На карьерах зумпфы используются не только для временного аккумулирования гидросмеси, поступающей из забоев, но и для образования ее из горной массы и воды, подаваемых в емкость раздельно.
145
забой: Рабочая поверхность уступа от нижней до верхней площадки, с которой вынимается горная масса, составляющая тело уступа.
146
заходка при открытой разработке: Часть уступа или подуступа, на которые он разделен по ширине в зависимости от рабочих параметров выемочно-погрузочных машин.
Примечание - По расположению относительно фронта работ заходки могут быть продольными, т.е. их направление совпадает с направлением фронта работ, и поперечными, т.е. расположенными перпендикулярно к нему.
147
пай заходка: Часть заходки, разрабатываемая одним выемочным механизмом или машиной.
148
слой: Объем горных пород в пределах карьерного поля, соответствующий одному уступу.
Алфавитный указатель терминов
берма | |
бок выработки | |
борт карьера | |
бремсберг | |
бремсберг вспомогательный | |
бремсберг участковый (промежуточный) | |
бровка карьера верхняя | |
бровка карьера нижняя | |
бровка уступа карьера | |
водосборник | |
восстающий | |
восстающий разрезной [восстающий отрезной] | |
выработка аккумулирующая | |
выработка буровая | |
выработка вентиляционная | |
выработка вертикальная | |
выработка вскрывающая | |
выработка горизонтальная | |
выработка горная | |
выработка групповая | |
выработка дренажная | |
выработка капитальная | |
выработка наклонная | |
выработка нарезная | |
выработка окаймляющая | |
выработка откаточная | |
выработка открытая | |
выработка очистная | |
выработка пластовая | |
выработка погашенная [старая] | |
выработка подготовительная | |
выработка подземная | |
выработка полевая | |
выработка разведочная | |
выработка эксплуатационная | |
гезенк | |
горизонт карьера рабочий | |
двор околоствольный | |
дно карьера | |
дучка [выпускная дучка] | |
забой (для открытых работ) | |
забой (для подземных работ) | |
забой узкий | |
забой широкий | |
заходка при открытой разработке | |
заходка (для подземных работ) | |
зумпф (для открытых работ) | |
зумпф [колодец] (для подземных работ) | |
камера | |
камера дробления | |
камера очистная | |
камера-убежище | |
канава | |
канава водоотводная | |
канава водосборная | |
канава дренажная | |
канава нагорная | |
канава разведочная | |
карьер | |
квершлаг (Нрк. поперечная) | |
квершлаг промежуточный | |
квершлаг этажный | |
контур карьера верхний | |
контур карьера нижний | |
копуша | |
косовичник | |
кровля выработки | |
кровля уступа | |
лава | |
ниша | |
орт | |
откос борта карьера | |
откос уступа | |
пай заходка | |
печь | |
печь разрезная | |
площадка уступа карьера | |
подошва выработки [почва выработки] | |
подошва уступа | |
подуступ | |
полутраншея | |
поперечник | |
просек | |
просек косовичный | |
просек разрезной | |
разминовка | |
разрез | |
раскоска | |
расчистка | |
рудоспуск | |
рукав | |
сбойка | |
скат | |
скат полевой | |
скважина | |
слой | |
сопряжение выработок | |
спуск | |
спуск капитальный | |
спуск панельный | |
спуск полевой | |
спуск промежуточный | |
ствол вентиляционный | |
ствол вспомогательный | |
ствол главный | |
ствол закладочный | |
ствол шахтный | |
ствол шахтный наклонный | |
ствол шахтный слепой | |
траншеи тупиковые | |
траншея | |
траншея внешнего залегания | |
траншея внутреннего залегания | |
траншея дренажная | |
траншея капитальная | |
траншея крутая | |
траншея наклонная | |
траншея очистная | |
траншея разведочная | |
траншея разрезная | |
траншея спиральная | |
угол наклона борта карьера | |
угол откоса уступа | |
уклон вспомогательный | |
уклон (Нрк. наклон) | |
уклон капитальный | |
уклон панельный | |
уклон полевой | |
уклон участковый (промежуточный) | |
уступ карьера | |
устье выработки | |
устье ствола | |
ходок | |
ходок косовичный | |
ходок полевой | |
шпур | |
шпур врубовый | |
шпур отбойный | |
штольня | |
штрек (Нрк. продольная) | |
штрек вентиляционный главный | |
штрек главный | |
штрек групповой | |
штрек полевой | |
штрек промежуточный | |
штрек транспортный | |
штрек этажный | |
шурф | |
(справочное)
НЕОБХОДИМЫЕ ДЛЯ ПОНИМАНИЯ ТЕКСТА СТАНДАРТА
А.1 Общие термины и их определения, необходимые для понимания стандарта
А.1.1 выемочное поле: Часть этажа, в пределах которой разработка пласта осуществляется на один участковый бремсберг, уклон, скат или квершлаг.
А.1.2 выемочный участок: Оконтуренный горными выработками столб полезного ископаемого, находящийся в стадии эксплуатации.
Примечание - При разработке горизонтальных залежей полезного ископаемого выемочный участок представляет собой оконтуренный штреками столб полезного ископаемого, находящийся в стадии эксплуатации.
А.1.3 выработанное пространство: Пространство, образующееся после извлечения полезных ископаемых или вмещающих горных пород, в результате ведения очистных работ.
А.1.4 высота очистной выработки: Кратчайшее расстояние между кровлей и почвой выработки.
А.1.5 горизонт: Совокупность горных выработок, расположенных на одном уровне и предназначенных для осуществления в процессе выемки полезного ископаемого определенных операций, необходимых для ведения горных работ.
Примечание - По назначению различают горизонт: откаточный, вторичного дробления, выпуска, подсечки и скреперования.
А.1.6 длина лавы [длина забоя лавы]: Расстояние между примыкающими к лаве подготовительными выработками.
А.1.7 изолированная горная выработка: Неконтролируемая горная выработка, исключенная из системы действующих горных выработок шахты.
А.1.8 крыло этажа: Часть этажа, заключенная между его границей по простиранию и капитальной выработкой, предназначенной в основном для транспортирования грузов.
А.1.9 очистные работы: Работы в очистных выработках, связанные с добыванием полезных ископаемых.
А.1.10 ось выработки: Геометрическое место точек, соответствующих центрам поперечных сечений выработки.
А.1.11 панель: Часть пласта в пределах шахтного поля или горизонта, обслуживаемая самостоятельным комплексом горизонтальных или наклонных транспортных и вентиляционных выработок.
А.1.12 пласт: Форма залегания осадочных горных пород в виде плиты, ограниченной двумя более или менее параллельными поверхностями, горизонтально или с различным наклоном.
А.1.13 предохранительный целик: Отдельная часть залежей полезных ископаемых, оставляемая в процессе разработки месторождений по тем или иным причинам не извлеченной или временно не извлекаемой для поддержания кровли.
А.1.14 призабойное пространство: Часть выработанного пространства, непосредственно прилегающая к забою и предназначенная для размещения оборудования, перемещению по нему людей и производства работ.
А.1.15 расположение выработки в выработанном пространстве: Расположение выработки, при котором с обеих ее сторон находится выработанное пространство.
А.1.16 расположение выработки в массиве: Расположение выработки, при котором с обеих ее сторон находится нетронутый массив горных пород.
А.1.17 расположение подготовительной выработки: Характеристика положения подготовительной выработки в пространстве относительно угольного пласта и выработанного пространства.
Примечание - Различают: пластовое в массиве, пластовое в выработанном пространстве, пластовое в целиках, пластовое вприсечку к выработанному пространству и полевое расположение.
А.1.18 расположение подготовительной выработки вприсечку к выработанному пространству: Расположение выработки, при котором с ее одной стороны находится нетронутый угольный массив, а с другой - выработанное пространство.
А.1.19 форма забоя очистной выработки: Характеристика геометрических особенностей вертикальной и горизонтальной проекций забоя очистной выработки.
А.1.20 предохранительный целик: Отдельная часть залежей полезных ископаемых, оставляемая в процессе разработки месторождений по тем или иным причинам не извлеченной или временно не извлекаемой для поддержания кровли.
А.1.21 шахтное поле: Часть месторождения, отводимая какой-либо шахте для разработки.
А.1.22 ширина камеры: Расстояние между примыкающими к камере целиками угля.
А.1.23 ширина призабойного пространства: Расстояние от забоя лавы до последнего ряда крепи или до ограждений механизированной крепи.
А.1.24 этаж: Часть шахтного поля или рудничного поля, ограниченная по простиранию - техническими границами шахтного поля, по падению - вентиляционным и ближайшим нижележащим откаточным штреками.
А.1.25 ярус: Часть панели, ограниченная по падению транспортным и вентиляционным штреками, по простиранию - границами панели.
Примечание - При однокрылых панелях очистную выемку в ярусе ведут одним очистным забоем, при двукрылых - двумя.
А.2 Примерные схемы подземных горных выработок
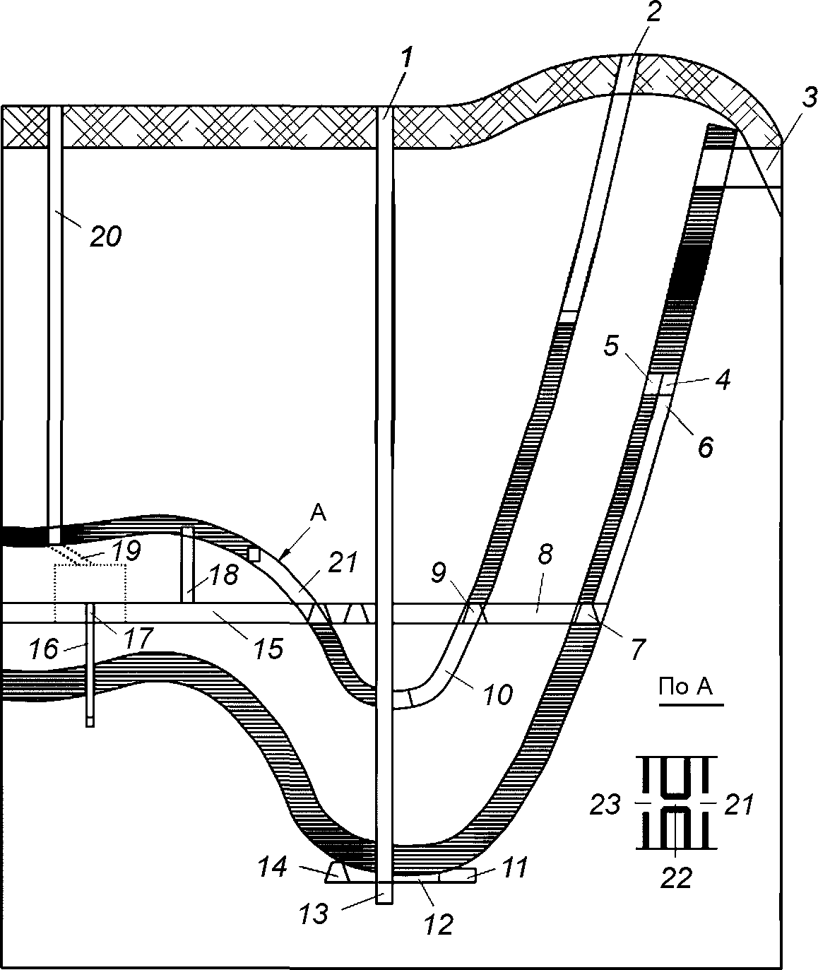
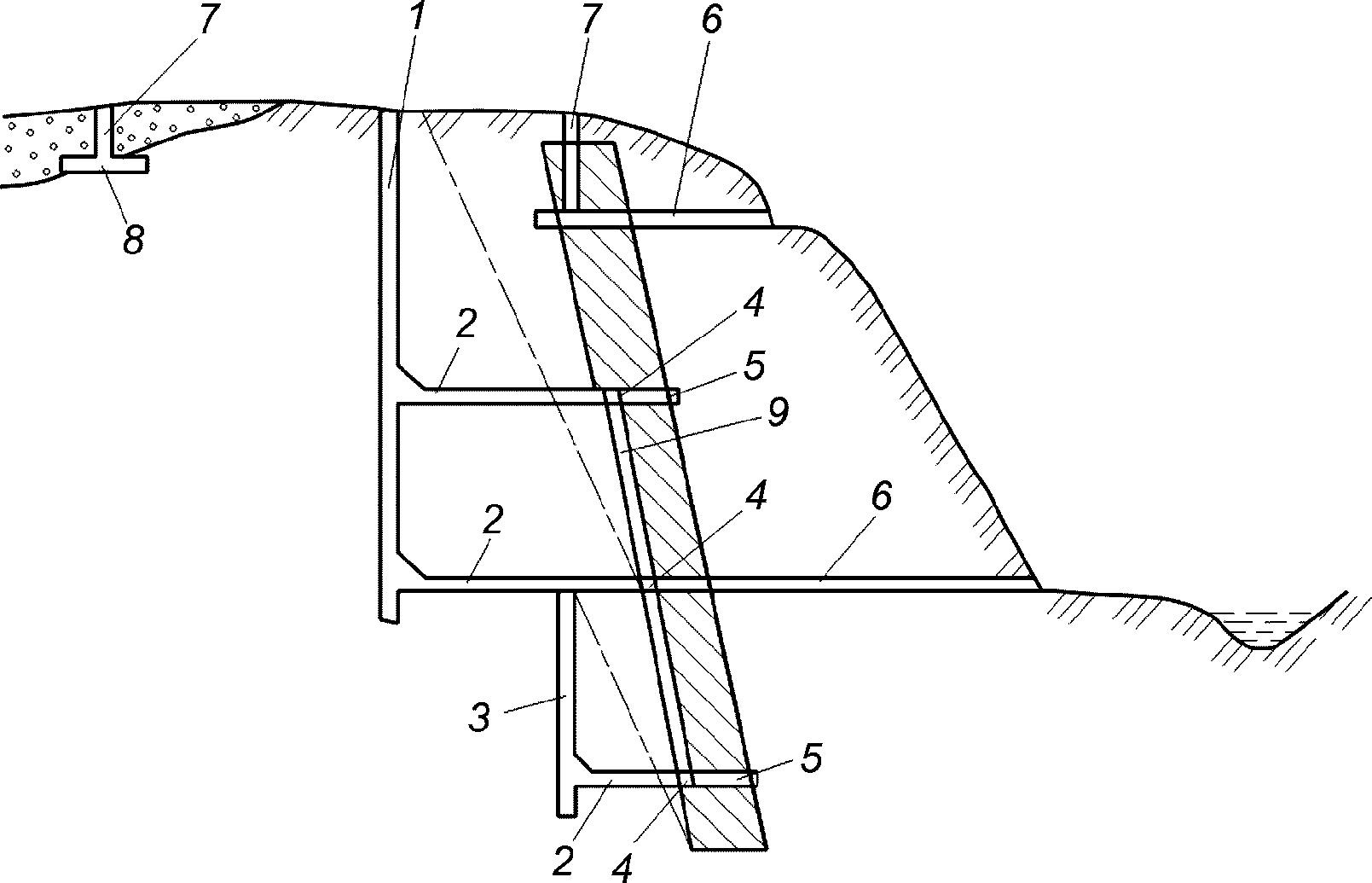
1 - ствол шахты; 2 - квершлаги; 3 - слепой ствол;
4 - штреки; 5 - орты; 6 - штольни; 7 - шурфы;
8 - рассечка; 9 - восстающий
Рисунок А.2.1 - Схема расположения
подземных горных выработок
1, 2, 16 - стволы (вертикальный, наклонный и слепой);
3 - штольня; 4, 7, 9, 14 - штреки (вентиляционный,
откаточный, промежуточный и полевой); 5 - орт; 6 - скат;
8, 12, 15 - квершлаги (восточный, околоствольный
и западный); 10 - уклон; 11 - камера; 13 - зумпф;
17, 23 - ходки (камерный и бремсберговый); 18 - гезенк;
19 - сбойка; 20 - шурф; 21 - бремсберг; 22 - просек
Рисунок А.2.2 - Схема расположения
подземных горных выработок
1 - вертикальный ствол; 2 - восстающий; 3 - шурф;
4 - штольня; 5 - квершлаг; 6 - полевой штрек;
7 - штрек; 8 - орт; 9 - околоствольный двор
Рисунок А.2.3 - Схема расположения
подземных горных выработок
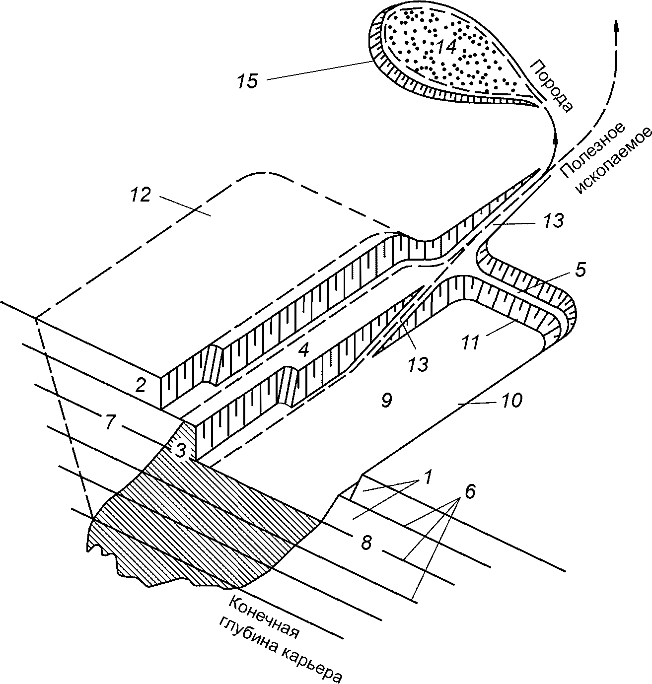
А.3 Элементы карьера
1 - нерабочие уступы; 2 - вскрышной уступ; 3 - добычной
уступ; 4 - рабочие площадки; 5 - берма; 6 - горизонты
разработки карьера; 7 - рабочий борт; 8 - нерабочий борт;
9 - дно карьера; 10 - верхний контур; 11 - нижний контур
карьера; 12 - конечный контур карьера; 13 - капитальная
траншея; 14 - породный отвал; 15 - отвальный уступ
Рисунок А.3.1 - Элементы карьера
1 - верхняя площадка уступа; 2 - нижняя площадка
уступа; 3 - откос уступа; 4 - верхняя бровка уступа;
5 - нижняя бровка уступа; 6 - забой;

- угол откоса уступа;
h - высота уступа
Рисунок А.3.2 - Элементы уступа
УДК 622.25 (622.26):001.4 | |
Ключевые слова: стандарт, горное дело, подземные и открытые горные выработки, элементы выработок, термины и определения, не рекомендуемые термины, алфавитный указатель терминов |